JP2010002989A - フレキシブルプリント配線板、タッチパネル、表示パネルおよび表示装置 - Google Patents

フレキシブルプリント配線板、タッチパネル、表示パネルおよび表示装置 Download PDF

Info

Publication number
JP2010002989A
JP2010002989A JP2008159299A JP2008159299A JP2010002989A JP 2010002989 A JP2010002989 A JP 2010002989A JP 2008159299 A JP2008159299 A JP 2008159299A JP 2008159299 A JP2008159299 A JP 2008159299A JP 2010002989 A JP2010002989 A JP 2010002989A
Authority
JP
Japan
Prior art keywords
wiring layer
conductive member
substrate
layer
wiring
Prior art date
Legal status (The legal status is an assumption and is not a legal conclusion. Google has not performed a legal analysis and makes no representation as to the accuracy of the status listed.)
Granted
Application number
JP2008159299A
Other languages
English (en)
Other versions
JP4711149B2 (ja
Inventor
Harutoshi Oikawa
治利 及川
Kiyohiro Kimura
清広 木村
Current Assignee (The listed assignees may be inaccurate. Google has not performed a legal analysis and makes no representation or warranty as to the accuracy of the list.)
Sony Corp
Original Assignee
Sony Corp
Priority date (The priority date is an assumption and is not a legal conclusion. Google has not performed a legal analysis and makes no representation as to the accuracy of the date listed.)
Filing date
Publication date
Application filed by Sony Corp filed Critical Sony Corp
Priority to JP2008159299A priority Critical patent/JP4711149B2/ja
Priority to TW098119582A priority patent/TWI373995B/zh
Priority to KR1020090052825A priority patent/KR20090131647A/ko
Priority to US12/485,624 priority patent/US8274634B2/en
Priority to CN2009101461983A priority patent/CN101610634B/zh
Publication of JP2010002989A publication Critical patent/JP2010002989A/ja
Application granted granted Critical
Publication of JP4711149B2 publication Critical patent/JP4711149B2/ja
Expired - Fee Related legal-status Critical Current
Anticipated expiration legal-status Critical

Links

Images

Classifications

    • HELECTRICITY
    • H05ELECTRIC TECHNIQUES NOT OTHERWISE PROVIDED FOR
    • H05KPRINTED CIRCUITS; CASINGS OR CONSTRUCTIONAL DETAILS OF ELECTRIC APPARATUS; MANUFACTURE OF ASSEMBLAGES OF ELECTRICAL COMPONENTS
    • H05K3/00Apparatus or processes for manufacturing printed circuits
    • H05K3/36Assembling printed circuits with other printed circuits
    • H05K3/361Assembling flexible printed circuits with other printed circuits
    • GPHYSICS
    • G06COMPUTING OR CALCULATING; COUNTING
    • G06FELECTRIC DIGITAL DATA PROCESSING
    • G06F3/00Input arrangements for transferring data to be processed into a form capable of being handled by the computer; Output arrangements for transferring data from processing unit to output unit, e.g. interface arrangements
    • G06F3/01Input arrangements or combined input and output arrangements for interaction between user and computer
    • G06F3/03Arrangements for converting the position or the displacement of a member into a coded form
    • G06F3/041Digitisers, e.g. for touch screens or touch pads, characterised by the transducing means
    • G06F3/045Digitisers, e.g. for touch screens or touch pads, characterised by the transducing means using resistive elements, e.g. a single continuous surface or two parallel surfaces put in contact
    • HELECTRICITY
    • H05ELECTRIC TECHNIQUES NOT OTHERWISE PROVIDED FOR
    • H05KPRINTED CIRCUITS; CASINGS OR CONSTRUCTIONAL DETAILS OF ELECTRIC APPARATUS; MANUFACTURE OF ASSEMBLAGES OF ELECTRICAL COMPONENTS
    • H05K3/00Apparatus or processes for manufacturing printed circuits
    • H05K3/36Assembling printed circuits with other printed circuits
    • HELECTRICITY
    • H05ELECTRIC TECHNIQUES NOT OTHERWISE PROVIDED FOR
    • H05KPRINTED CIRCUITS; CASINGS OR CONSTRUCTIONAL DETAILS OF ELECTRIC APPARATUS; MANUFACTURE OF ASSEMBLAGES OF ELECTRICAL COMPONENTS
    • H05K2201/00Indexing scheme relating to printed circuits covered by H05K1/00
    • H05K2201/03Conductive materials
    • H05K2201/0332Structure of the conductor
    • H05K2201/0388Other aspects of conductors
    • H05K2201/0394Conductor crossing over a hole in the substrate or a gap between two separate substrate parts
    • HELECTRICITY
    • H05ELECTRIC TECHNIQUES NOT OTHERWISE PROVIDED FOR
    • H05KPRINTED CIRCUITS; CASINGS OR CONSTRUCTIONAL DETAILS OF ELECTRIC APPARATUS; MANUFACTURE OF ASSEMBLAGES OF ELECTRICAL COMPONENTS
    • H05K2201/00Indexing scheme relating to printed circuits covered by H05K1/00
    • H05K2201/09Shape and layout
    • H05K2201/09209Shape and layout details of conductors
    • H05K2201/09372Pads and lands
    • H05K2201/09472Recessed pad for surface mounting; Recessed electrode of component
    • HELECTRICITY
    • H05ELECTRIC TECHNIQUES NOT OTHERWISE PROVIDED FOR
    • H05KPRINTED CIRCUITS; CASINGS OR CONSTRUCTIONAL DETAILS OF ELECTRIC APPARATUS; MANUFACTURE OF ASSEMBLAGES OF ELECTRICAL COMPONENTS
    • H05K2201/00Indexing scheme relating to printed circuits covered by H05K1/00
    • H05K2201/09Shape and layout
    • H05K2201/09209Shape and layout details of conductors
    • H05K2201/09372Pads and lands
    • H05K2201/09481Via in pad; Pad over filled via
    • HELECTRICITY
    • H05ELECTRIC TECHNIQUES NOT OTHERWISE PROVIDED FOR
    • H05KPRINTED CIRCUITS; CASINGS OR CONSTRUCTIONAL DETAILS OF ELECTRIC APPARATUS; MANUFACTURE OF ASSEMBLAGES OF ELECTRICAL COMPONENTS
    • H05K2201/00Indexing scheme relating to printed circuits covered by H05K1/00
    • H05K2201/09Shape and layout
    • H05K2201/09209Shape and layout details of conductors
    • H05K2201/095Conductive through-holes or vias
    • H05K2201/09563Metal filled via
    • HELECTRICITY
    • H05ELECTRIC TECHNIQUES NOT OTHERWISE PROVIDED FOR
    • H05KPRINTED CIRCUITS; CASINGS OR CONSTRUCTIONAL DETAILS OF ELECTRIC APPARATUS; MANUFACTURE OF ASSEMBLAGES OF ELECTRICAL COMPONENTS
    • H05K2201/00Indexing scheme relating to printed circuits covered by H05K1/00
    • H05K2201/09Shape and layout
    • H05K2201/09209Shape and layout details of conductors
    • H05K2201/09654Shape and layout details of conductors covering at least two types of conductors provided for in H05K2201/09218 - H05K2201/095
    • H05K2201/097Alternating conductors, e.g. alternating different shaped pads, twisted pairs; Alternating components
    • HELECTRICITY
    • H05ELECTRIC TECHNIQUES NOT OTHERWISE PROVIDED FOR
    • H05KPRINTED CIRCUITS; CASINGS OR CONSTRUCTIONAL DETAILS OF ELECTRIC APPARATUS; MANUFACTURE OF ASSEMBLAGES OF ELECTRICAL COMPONENTS
    • H05K2201/00Indexing scheme relating to printed circuits covered by H05K1/00
    • H05K2201/09Shape and layout
    • H05K2201/09209Shape and layout details of conductors
    • H05K2201/09654Shape and layout details of conductors covering at least two types of conductors provided for in H05K2201/09218 - H05K2201/095
    • H05K2201/0979Redundant conductors or connections, i.e. more than one current path between two points
    • HELECTRICITY
    • H05ELECTRIC TECHNIQUES NOT OTHERWISE PROVIDED FOR
    • H05KPRINTED CIRCUITS; CASINGS OR CONSTRUCTIONAL DETAILS OF ELECTRIC APPARATUS; MANUFACTURE OF ASSEMBLAGES OF ELECTRICAL COMPONENTS
    • H05K2203/00Indexing scheme relating to apparatus or processes for manufacturing printed circuits covered by H05K3/00
    • H05K2203/15Position of the PCB during processing
    • H05K2203/1572Processing both sides of a PCB by the same process; Providing a similar arrangement of components on both sides; Making interlayer connections from two sides
    • HELECTRICITY
    • H05ELECTRIC TECHNIQUES NOT OTHERWISE PROVIDED FOR
    • H05KPRINTED CIRCUITS; CASINGS OR CONSTRUCTIONAL DETAILS OF ELECTRIC APPARATUS; MANUFACTURE OF ASSEMBLAGES OF ELECTRICAL COMPONENTS
    • H05K3/00Apparatus or processes for manufacturing printed circuits
    • H05K3/22Secondary treatment of printed circuits
    • H05K3/28Applying non-metallic protective coatings
    • H05K3/281Applying non-metallic protective coatings by means of a preformed insulating foil
    • HELECTRICITY
    • H05ELECTRIC TECHNIQUES NOT OTHERWISE PROVIDED FOR
    • H05KPRINTED CIRCUITS; CASINGS OR CONSTRUCTIONAL DETAILS OF ELECTRIC APPARATUS; MANUFACTURE OF ASSEMBLAGES OF ELECTRICAL COMPONENTS
    • H05K3/00Apparatus or processes for manufacturing printed circuits
    • H05K3/30Assembling printed circuits with electric components, e.g. with resistor
    • H05K3/32Assembling printed circuits with electric components, e.g. with resistor electrically connecting electric components or wires to printed circuits
    • H05K3/321Assembling printed circuits with electric components, e.g. with resistor electrically connecting electric components or wires to printed circuits by conductive adhesives
    • H05K3/323Assembling printed circuits with electric components, e.g. with resistor electrically connecting electric components or wires to printed circuits by conductive adhesives by applying an anisotropic conductive adhesive layer over an array of pads
    • HELECTRICITY
    • H05ELECTRIC TECHNIQUES NOT OTHERWISE PROVIDED FOR
    • H05KPRINTED CIRCUITS; CASINGS OR CONSTRUCTIONAL DETAILS OF ELECTRIC APPARATUS; MANUFACTURE OF ASSEMBLAGES OF ELECTRICAL COMPONENTS
    • H05K3/00Apparatus or processes for manufacturing printed circuits
    • H05K3/40Forming printed elements for providing electric connections to or between printed circuits
    • H05K3/42Plated through-holes or plated via connections
    • H05K3/421Blind plated via connections

Landscapes

  • Engineering & Computer Science (AREA)
  • General Engineering & Computer Science (AREA)
  • Theoretical Computer Science (AREA)
  • Manufacturing & Machinery (AREA)
  • Microelectronics & Electronic Packaging (AREA)
  • Human Computer Interaction (AREA)
  • Physics & Mathematics (AREA)
  • General Physics & Mathematics (AREA)
  • Position Input By Displaying (AREA)
  • Devices For Indicating Variable Information By Combining Individual Elements (AREA)
  • Push-Button Switches (AREA)
  • Electroluminescent Light Sources (AREA)

Abstract

【課題】表面に生じる窪みを小さくすることの可能なフレキシブルプリント配線板ならびにそれを備えたタッチパネル、表示パネルおよび表示装置を提供する。
【解決手段】配線層33側のカバーレイ38が、スルーホール接触の配線層33およびめっき層34とスルーホール非接触の配線層33およびめっき層34との間隙に延在して形成されており、配線層33側のカバーレイ38に接する接着層37にも、切り欠き38Aに対応して切り欠き37Aが設けられている。また、配線層32側のカバーレイ38が、スルーホール接触の配線層32およびめっき層34とスルーホール非接触の配線層32およびめっき層34との間隙に延在して形成されており、配線層32側のカバーレイ38に接する接着層37にも、切り欠き38Aに対応して切り欠き37Aが設けられている。
【選択図】図4

Description

本発明は、一のデバイスから他のデバイスへの信号伝送を行うフレキシブルプリント配線板ならびにそれを備えたタッチパネル、表示パネルおよび表示装置に関する。
従来から、指やペンなどの検出対象物が表示装置の表示面に接触した位置を検出する技術が知られている。その中でも代表的で一般に広く普及している技術として、タッチパネルを備えた表示装置が挙げられる。このタッチパネルも種々のタイプのものが存在するが、一般に普及しているものとして抵抗膜方式が挙げられる。この方式では、パネル表面が、例えば、互いに対向するガラスとフィルムとの間に非常に小さなスペーサを挟み込んだ積層構造となっており、ガラスおよびフィルムの互いに向かい合う面に、透明な電極格子が設けられている。そして、指やペンでフィルムの表面に接触することで、フィルムがたわみ、フィルム面の透明電極とガラス面の透明電極とが互いに接触し、電流が流れるので、ガラス面、フィルム面それぞれの透明電極の抵抗による分圧比を測定することで、指やペンの位置を検出することができる。したがって、このようなタッチパネルを用いることで、ユーザは直感的に操作することが可能である。
図62は、上記した抵抗膜方式のタッチパネルの断面構成の一例を表したものである。図62に記載のタッチパネル100は、所定の間隙を介して対向配置された一対の透明基板200,300と、この一対の透明基板200,300の対向面にそれぞれ設けられた抵抗膜(図示せず)と、各抵抗膜に電気的に接続された接続端子210,310と、接続端子210,310と電気的に接続されたフレキシブルプリント配線板(FPC)400と、FPC400を挟み込んだ状態で透明基板200,300同士を接着する接着層(図示せず)とを有している。
接続端子210は、透明基板200の表面のうち抵抗膜が設けられている面と同一面内に4つ、等間隔で設けられており、FPC400の一方の面に設けられた異方性伝導膜410(後述)に接着接続されている。また、4つの接続端子210のうちの2つ(図62では、左から2、4番目の接続端子210)が、透明基板200上の抵抗膜の端部に連結されており、4つの接続端子210のうちの残りの2つ(図62では、左から1、3番目の接続端子210)は、いわゆるダミー端子であり、透明基板200と、FPC400の異方性伝導膜410との間隙を一定に保つために設けられている。
接続端子310は、透明基板300の表面のうち抵抗膜が設けられている面と同一面内に4つ、等間隔で設けられており、FPC400の他方の面に設けられた異方性伝導膜410に接着接続されている。また、4つの接続端子310のうちの2つ(図62では、左から2、4番目の接続端子310)が、透明基板300上の抵抗膜の端部に連結されており、4つの接続端子310のうちの残りの2つ(図62では、左から1、3番目の接続端子310)は、いわゆるダミー端子であり、透明基板300と、FPC400の異方性伝導膜410との間隙を一定に保つために設けられている。
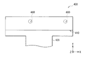
FPC400は、図63〜図66に示したように、一の方向に延在する帯状の形状となっている。なお、図63は、FPC400の一端の一の表面の概略構成を表したものであり、図64は、図62の裏面の概略構成を表したものである。図63は図62のA−A矢視方向の断面構成を、図64は図62のB−B矢視方向の断面構成をそれぞれ表したものである。FPC400の一端が一対の透明基板200,300に挟まれており、その他端がタッチパネル100からの出力信号を処理するデバイス(図示せず)に接続されるようになっている。FPC400は、当該FPC400の延在方向に延在する可撓性のベースフィルム420を有している。このベースフィルム420の一方の端部が一対の透明基板200,300に挟まれている。
ベースフィルム420のうち一対の透明基板200,300に挟まれている方の端部(以下、透明基板側端部と称する。)を間にして互いに対向配置された配線層430,440が4組、設けられている。透明基板200側の配線層430は、透明基板側端部であって、かつ接続端子210との対向領域に島状に4つ形成されている。一方、透明基板300側の配線層440は、接続端子310との対向領域から、ベースフィルム420のうち透明基板側端部とは反対側の端部にかけて線状に4つ形成されている。
配線層430,440のうち少なくとも透明基板側端部側の表面には、めっき層450が設けられている。ベースフィルム420の透明基板側端部には、当該ベースフィルム420を貫通するスルーホール460が2つ設けられている。2つのスルーホール460は、4組の配線層430,440のうち2つ(図62では、左から2、4番目の配線層430,440)を一つずつ貫通しており、当該スルーホール460が貫通している配線層430,440と接して設けられためっき層450と一体に形成されている。これにより、4組の配線層430,440のうち2つ(図62では、左から2、4番目の配線層430,440)がスルーホール460を介して互いに電気的に接続されている。
なお、4組の配線層430,440のうちスルーホール460の貫通していないもの(図62では、左から1、3番目の配線層430,440)は、互いに電気的に分離されている。従って、4つの配線層430のうちスルーホール460の貫通していないもの(図62では、左から1、3番目の配線層430)は、いわゆるダミー配線層であり、ベースフィルム420と、異方性伝導膜410との間隙を一定に保つために設けられている。
めっき層450の表面には更にめっき層470が設けられている。透明基板200側のめっき層470が透明基板200の表面に形成された異方性導電膜410に連結されており、透明基板300側のめっき層470が透明基板300の表面に形成された異方性導電膜410に連結されている。従って、このタッチパネル100では、透明基板200側の抵抗膜に連結された2つの接続端子210(図62では、左から2、4番目の接続端子210)がスルーホール460を介して2つの配線層440(図62では、左から2、4番目の配線層440)に電気的に接続されており、透明基板300側の抵抗膜に連結された2つの接続端子310(図62では、左から1、3番目の接続端子310)がスルーホール460を介さず、めっき層450,470を介して2つの配線層440(図62では、左から1、3番目の配線層440)に電気的に接続されている。
さらに、このFPC400は、図61〜図63に示したように、FPC400の配線層440側の表面に、配線層440およびめっき層450を外部から保護するカバーレイ490が接着層480によって接着されている。
なお、抵抗膜方式のタッチパネルの一般的な構成については、例えば、以下に示した特許文献1などにも記載されている。
特開2002−182854号公報
ところで、図62で例示したタッチパネル100は、FPC400の端部を一対の透明電極200,300で挟み込んだ状態で押圧し、接続端子210,310と異方性導電膜410とを圧着することにより形成される。ここで、FPC400にはダミー配線層が設けられているので、そのようなものが設けられていない場合と比べて、圧着の際にベースフィルム420と異方性伝導膜410との間隙を配線層440の配列方向(図62の左右方向)においてある程度一定に保つことができる。しかし、配線層430同士の間や配線層440同士の間には空隙が存在しているので、図67に例示したように、圧着時に異方性導電膜410や透明基板200,300がその空隙側に撓み、その撓みに応じて透明基板200,300の表面に窪み200A,300Aが生じてしまう。その結果、透明基板200の上面全体をデバイスの筐体の一部として用いた場合に、筐体表面のフラット感が損なわれてしまうという問題があった。
本発明はかかる問題点に鑑みてなされたものであり、その目的は、表面に生じる窪みを小さくすることの可能なフレキシブルプリント配線板ならびにそれを備えたタッチパネル、表示パネルおよび表示装置を提供することにある。
本発明のフレキシブルプリント配線板は、第1端部および第2端部を有し、かつ第1端部から第2端部にかけて延在する帯状の可撓性基板を備えている。このフレキシブルプリント配線板には、第1配線層、第2配線層、第3配線層、第4配線層、スルーホール、第1導電性部材、第2導電性部材および絶縁層が設けられている。第1配線層は、可撓性基板の一方の面に接しており、第1端部から第2端部にかけて延在している。第2配線層は、可撓性基板のうち第1配線層と同一面に接しており、第1端部から第2端部にかけて延在している。第3配線層は、可撓性基板の他方の面に接しており、第1配線層との対向領域のうち第1端部近傍に形成されている。第4配線層は、可撓性基板のうち第3配線層と同一面に接しており、第2配線層との対向領域のうち第1端部近傍に形成されている。スルーホールは、第1端部、第2配線層および第4配線層を貫通して形成されている。第1導電性部材は、第2配線層および第4配線層のうちスルーホール近傍の表面上に形成されている。第2導電性部材は、第1配線層および第3配線層のうち第1端部近傍の表面上に形成されている。絶縁層は、第1配線層および第2導電性部材と第2配線層および第1導電性部材との間隙と、第3配線層および第2導電性部材と第4配線層および第1導電性部材との間隙との間に形成されている。
本発明のタッチパネルは、離間して対向配置された第1透明基板および第2透明基板を備えている。第1透明基板のうち第2透明基板との対向面に第1接続端子が設けられており、第2透明基板のうち第1透明基板との対向面に第2接続端子が設けられている。第1透明基板および第2透明基板の間隙であって、かつ第1接続端子および第2接続端子との対向領域を含む領域にフレキシブルプリント配線板が設けられている。フレキシブルプリント配線板は、第1透明基板および第2透明基板に挟まれた第1端部と、第2端部とを有し、かつ第1端部から第2端部にかけて延在する帯状の可撓性基板を有している。このフレキシブルプリント配線板には、第1配線層、第2配線層、第3配線層、第4配線層、スルーホール、第1導電性部材、第2導電性部材および絶縁層が設けられている。第1配線層は、可撓性基板の一方の面に接しており、第1端部から第2端部にかけて延在している。第2配線層は、可撓性基板のうち第1配線層と同一面に接しており、第1端部から第2端部にかけて延在している。第3配線層は、可撓性基板の他方の面に接しており、第1配線層との対向領域のうち第1端部近傍に形成されている。第4配線層は、可撓性基板のうち第3配線層と同一面に接しており、第2配線層との対向領域のうち第1端部近傍に形成されている。スルーホールは、第1端部、第2配線層および第4配線層を貫通して形成されている。第1導電性部材は、第2配線層および第4配線層のうちスルーホール近傍の表面上に形成されている。第2導電性部材は、第1配線層および第3配線層のうち第1端部近傍の表面上に形成されている。絶縁層は、第1配線層および第2導電性部材と第2配線層および第1導電性部材との間隙と、第3配線層および第2導電性部材と第4配線層および第1導電性部材との間隙との間に形成されている。
本発明の表示パネルは、マトリクス状に画素回路が形成された画素領域と画素領域の周囲に画素回路と接続された接続端子が形成された端子領域とを有する画素基板と、画素基板に固定されたフレキシブルプリント配線板とを備えている。フレキシブルプリント配線板は、画素基板に固定された第1端部と、第2端部とを有し、かつ第1端部から第2端部にかけて延在する帯状の可撓性基板を有している。このフレキシブルプリント配線板には、第1配線層、第2配線層、第3配線層、第4配線層、スルーホール、第1導電性部材、第2導電性部材および絶縁層が設けられている。第1配線層は、可撓性基板の一方の面に接しており、第1端部から第2端部にかけて延在している。第2配線層は、可撓性基板のうち第1配線層と同一面に接しており、第1端部から第2端部にかけて延在している。第3配線層は、可撓性基板の他方の面に接しており、第1配線層との対向領域のうち第1端部近傍に形成されている。第4配線層は、可撓性基板のうち第3配線層と同一面に接しており、第2配線層との対向領域のうち第1端部近傍に形成されている。スルーホールは、第1端部、第2配線層および第4配線層を貫通して形成されている。第1導電性部材は、第2配線層および第4配線層のうちスルーホール近傍の表面上に形成されている。第2導電性部材は、第1配線層および第3配線層のうち第1端部近傍の表面上に形成されている。絶縁層は、第1配線層および第2導電性部材と第2配線層および第1導電性部材との間隙と、第3配線層および第2導電性部材と第4配線層および第1導電性部材との間隙との間に形成されている。
本発明の第1の表示装置は、画像表示面を有する表示パネルと、画像表示面上に配置されたタッチパネルとを備えている。タッチパネルは、離間して対向配置された第1透明基板および第2透明基板を備えている。第1透明基板のうち第2透明基板との対向面に第1接続端子が設けられており、第2透明基板のうち第1透明基板との対向面に第2接続端子が設けられている。第1透明基板および第2透明基板の間隙であって、かつ第1接続端子および第2接続端子との対向領域を含む領域にフレキシブルプリント配線板が設けられている。フレキシブルプリント配線板は、第1透明基板および第2透明基板に挟まれた第1端部と、第2端部とを有し、かつ第1端部から第2端部にかけて延在する帯状の可撓性基板を有している。このフレキシブルプリント配線板には、第1配線層、第2配線層、第3配線層、第4配線層、スルーホール、第1導電性部材、第2導電性部材および絶縁層が設けられている。第1配線層は、可撓性基板の一方の面に接しており、第1端部から第2端部にかけて延在している。第2配線層は、可撓性基板のうち第1配線層と同一面に接しており、第1端部から第2端部にかけて延在している。第3配線層は、可撓性基板の他方の面に接しており、第1配線層との対向領域のうち第1端部近傍に形成されている。第4配線層は、可撓性基板のうち第3配線層と同一面に接しており、第2配線層との対向領域のうち第1端部近傍に形成されている。スルーホールは、第1端部、第2配線層および第4配線層を貫通して形成されている。第1導電性部材は、第2配線層および第4配線層のうちスルーホール近傍の表面上に形成されている。第2導電性部材は、第1配線層および第3配線層のうち第1端部近傍の表面上に形成されている。絶縁層は、第1配線層および第2導電性部材と第2配線層および第1導電性部材との間隙と、第3配線層および第2導電性部材と第4配線層および第1導電性部材との間隙との間に形成されている。
本発明の第2の表示装置は、画像表示面を有する表示パネルを備えている。表示パネルは、マトリクス状に画素回路が形成されると共に画像表示面に対応する画素領域と画素領域の周囲に画素回路と接続された接続端子が形成された端子領域とを有する画素基板と、画素基板に固定されたフレキシブルプリント配線板とを有している。フレキシブルプリント配線板は、画素基板に固定された第1端部と、第2端部とを有し、かつ第1端部から第2端部にかけて延在する帯状の可撓性基板を有している。このフレキシブルプリント配線板には、第1配線層、第2配線層、第3配線層、第4配線層、スルーホール、第1導電性部材、第2導電性部材および絶縁層が設けられている。第1配線層は、可撓性基板の一方の面に接しており、第1端部から第2端部にかけて延在している。第2配線層は、可撓性基板のうち第1配線層と同一面に接しており、第1端部から第2端部にかけて延在している。第3配線層は、可撓性基板の他方の面に接しており、第1配線層との対向領域のうち第1端部近傍に形成されている。第4配線層は、可撓性基板のうち第3配線層と同一面に接しており、第2配線層との対向領域のうち第1端部近傍に形成されている。スルーホールは、第1端部、第2配線層および第4配線層を貫通して形成されている。第1導電性部材は、第2配線層および第4配線層のうちスルーホール近傍の表面上に形成されている。第2導電性部材は、第1配線層および第3配線層のうち第1端部近傍の表面上に形成されている。絶縁層は、第1配線層および第2導電性部材と第2配線層および第1導電性部材との間隙と、第3配線層および第2導電性部材と第4配線層および第1導電性部材との間隙との間に形成されている。
本発明のフレキシブルプリント配線板、タッチパネル、表示パネル、第1の表示装置および第2の表示装置では、第1配線層および第2導電性部材と第2配線層および第1導電性部材との間隙と、第3配線層および第2導電性部材と第4配線層および第1導電性部材との間隙との間に絶縁層が形成されている。これにより、フレキシブルプリント配線板の内部に空隙を設けることなく、第1配線層および第2配線層の配列方向においてフレキシブルプリント配線板の厚さを一定にすることが可能である。
本発明のフレキシブルプリント配線板、タッチパネル、表示パネル、第1の表示装置および第2の表示装置によれば、フレキシブルプリント配線板の内部に空隙を設けることなく、第1配線層および第2配線層の配列方向においてフレキシブルプリント配線板の厚さを一定にすることができるようにしたので、フレキシブルプリント配線板の内部に空隙が設けられている従来のケースと比べて、製造工程において圧着接続を行ったときに、フレキシブルプリント配線板の表面に生じる窪みを小さくすることができる。その結果、透明基板の上面全体をデバイスの筐体の一部として用いた場合であっても、筐体表面のフラット感が損なわれる虞がない。
以下、本発明を実施するための最良の形態(以下、単に実施の形態という。)について、図面を参照して詳細に説明する。
[第1の実施の形態]
図1は、本発明の第1の実施の形態に係るタッチパネル1の概略構成を斜視的に表したものである。図2は、図1のタッチパネル1を分解して表したものである。本実施の形態のタッチパネル1は、例えば液晶パネルや有機ELパネル等を備えた表示装置の上に重ねて画面入力表示装置として用いられるものであり、指やペンなどでタッチパネル1の表面を押すことにより表示装置の表示画面上の表示の選択等を直接行うことができる。なお、タッチパネルの種類には、抵抗膜方式や静電容量方式などがあるが、本実施形態では、本発明を抵抗膜方式のタッチパネルに適用した場合を例示して説明する。
タッチパネル1は、例えば、所定の間隙を介して対向配置された一対の表側基板10および裏側基板20を備えている。一対の上側基板10および下側基板20の間には、フレキシブルプリント配線板(FPC)30と接着層40が設けられている。
上側基板10は、指やペンなどが接触する接触面10Aとなる透明基板11(第2透明基板)を有している。透明基板11のうち接触面10Aとは反対側の面(下面)には、抵抗膜12が設けられている。透明基板11の下面のうち抵抗膜12の周囲に、抵抗膜12に連結されると共に電気的に接続された接続端子13A,13B(第2接続端子)が設けられている。これら接続端子13A,13Bの一端が、図3に拡大して示したように、透明基板11の下面の一の端縁であって、かつFPC30の端部30A(透明基板側端部)との対向領域に設けられており、FPC30の異方性伝導膜39(後述)と接触している。
ここで、透明基板11は、例えば、軟質なポリエチレンテレフタレート(PET)などの可撓性透明樹脂によって構成されている。抵抗膜12は、例えば、酸化インジウムスズ(ITO;Indium Tin Oxide)などからなる。接続端子13A,13Bは、例えば、銀(Ag)などからなる。
下側基板20は、指やペンなどで上側基板10を接触した際に抵抗膜12が接触する抵抗膜22(後述)を支持する透明基板21(第1透明基板)を有している。透明基板21のうち上側基板10との対向面(上面)であって、かつ抵抗膜12との対向領域には、上記した抵抗膜22が設けられており、透明基板21の上面のうち抵抗膜22の周囲に、抵抗膜22に連結された接続端子23A,23B(第1接続端子)が設けられている。これら接続端子23A,23Bの一端が、透明基板21の上面の一の端縁であって、かつFPC30との対向領域に設けられており、FPC30の異方性伝導膜39と接触している。
ここで、透明基板21は、例えば、軟質なポリエチレンテレフタレート(PET)などの可撓性透明樹脂、アクリル板などの硬質透明樹脂材、または硬質な透明ガラスなどによって構成されている。抵抗膜22は、例えば、酸化インジウムスズ(ITO;Indium Tin Oxide)などからなる。接続端子23A,23Bは、例えば、銀(Ag)などからなる。
接着層40は、抵抗膜12との対向領域に開口40Aを有する環形状となっており、FPC30を挟んだ状態で透明基板11,21同士を接着している。この接着層40は、FPC30との対応領域に切り欠き40Bを有しており、FPC30と厚さ方向から見て重なり合わないようになっている。接着層40は、例えば、両面テープなどによって構成されている。
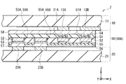
図4は、図3のA−A矢視方向の断面構成を表したものである。図4に示した断面構成は、タッチパネル1のうちFPC30の端部30Aに対応している。図5はFPC30の端部30Aのうち下側基板20側の表面構成を、図6は、FPC30の端部30Aのうち上側基板10の表面構成をそれぞれ表したものである。図7は図5のA−A矢視方向の断面構成を、図8は図5のB−B矢視方向の断面構成をそれぞれ表したものである。
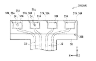
FPC30は、一の方向に延在する帯状のベースフィルム31(可撓性基板)を有している。このベースフィルム31は、当該ベースフィルム31の延在方向において互いに対向する一対の端部30A,30B(第1端部,第2端部)を有している。端部30Aは、例えば、ベースフィルム31の中央部分の幅よりも広い幅となっており、一対の透明基板11,21に挟まれている。他方、端部30Bは、例えば、端部30Aと同様、ベースフィルム31の中央部分の幅よりも広い幅となっており、タッチパネル1からの出力信号を処理するデバイス(図示せず)に接続可能となっている。ベースフィルム31は、例えば、ポリイミドなどからなる。
ベースフィルム31の下側基板20側の表面には、例えば、銅箔などからなる配線層33が4つ設けられている。4つの配線層33は、ベースフィルム31の下側基板20側の表面に接して形成されており、互いに同一面内に形成されている。また、4つの配線層33は、端部30A(具体的には、接続端子23A,23Bとの対向領域、もしくは接続端子13A,13Bとの対向領域)から、端部30Bにかけて線状に形成されている。さらに、4つの配線層33のうち端部50A側の端部33A(図5参照)がパッド形状となっており、端部33A以外の部分が端部33Aの幅と比べて若干、狭い幅で形成されている。
ベースフィルム31の上側基板10側の表面には、例えば、銅箔などからなる配線層32が4つ設けられている。4つの配線層32は、ベースフィルム31の上側基板10側の表面に接して形成されており、互いに同一面内に形成されている。また、4つの配線層32は、端部30A近傍(具体的には、配線層33の端部33Aとの対向領域)にパッド状に形成されている。従って、本実施の形態のFPC30には、導体パターンを両面に形成した両面構造のフレキシブル基板が用いられている。
さらに、FPC30には、ベースフィルム31の端部30A、配線層32,33を貫通するスルーホール35が2つ形成されている。4つの配線層33のうち接続端子23A,23Bとの対向領域に設けられた2つの配線層(以下、「スルーホール非接触の配線層33」と称する。)(第1配線層)は、スルーホール35を避けるようにして端部30Aから端部30Bにかけて延在している。また、4つの配線層33のうち接続端子13A,13Bとの対向領域に設けられた2つの配線層(以下、「スルーホール接触の配線層33」と称する。) (第2配線層)は、スルーホール35に接して端部30Aから端部30Bにかけて延在している。なお、スルーホール非接触の配線層33の厚さは、例えば、スルーホール接触の配線層33の厚さとほぼ同一となっている。一方、4つの配線層32のうち接続端子23A,23Bとの対向領域に設けられた2つの配線層(以下、「スルーホール非接触の配線層32」と称する。) (第3配線層)は、スルーホール35を避けるようにして端部30A近傍に形成されている。また、4つの配線層32のうち接続端子13A,13Bとの対向領域に設けられた2つの配線層(以下、「スルーホール接触の配線層32」と称する。) (第4配線層)は、端部30A近傍にスルーホール35に接して形成されている。なお、スルーホール非接触の配線層32の厚さは、例えば、スルーホール接触の配線層32の厚さとほぼ同一となっている。
また、スルーホール35内と、スルーホール接触の配線層32,33のうちスルーホール35近傍の表面上とに、めっき層34(第1導電性部材)が一体に形成されている。一方、スルーホール非接触の配線層32,33のうち端部30A近傍の表面上に、めっき層35(第2導電性部材)が形成されている。めっき層35は、例えば、製造過程において、めっき層34を形成する際に同時に一括して形成されるものであり、めっき層35の厚さは、例えば、めっき層34のうち配線層32,33の表面上に形成されている部分の厚さとほぼ同一となっている。めっき層34,35の表面上には、めっき層36が形成されている。
このFPC30には、FPC30の配線層33側の表面に、配線層33およびめっき層34,35を外部から保護するカバーレイ38(絶縁層)が接着層37によって接着されている。カバーレイ38は、例えば、ポリイミドなどからなる。このカバーレイ38はまた、ベースフィルム31の配線層33側にも設けられており、ベースフィルム31の配線層33側の表面に接着層37によって接着されている。配線層33側のカバーレイ38はさらに、スルーホール接触の配線層33およびめっき層34とスルーホール非接触の配線層33およびめっき層34との間隙に延在して形成されており、スルーホール接触の配線層33およびめっき層34と、スルーホール非接触の配線層33およびめっき層34とに対応して切り欠き38Aを有している。また、配線層33側のカバーレイ38に接する接着層37にも、切り欠き38Aに対応して切り欠き37Aが設けられている。一方、配線層32側のカバーレイ38(絶縁層)は、スルーホール接触の配線層32およびめっき層34とスルーホール非接触の配線層32およびめっき層34との間隙に延在して形成されており、スルーホール接触の配線層32およびめっき層34と、スルーホール非接触の配線層32およびめっき層34とに対応して切り欠き38Aを有している。また、配線層32側のカバーレイ38に接する接着層37にも、切り欠き38Aに対応して切り欠き37Aが設けられている。つまり、配線層32側に形成されている接着層37およびカバーレイ38は、配線層33側に形成されている接着層37およびカバーレイ38と、端部30A近傍において同一構造となっている。
なお、図4には、FPC30に切り欠き37A,38Aが設けられている場合が例示されているが、切り欠き37A,38Aの代わりに、配線層33およびめっき層34,35や、配線層32およびめっき層34,35に対応して開口が設けられていてもよい。
透明基板11側のめっき層36の表面およびカバーレイ38の表面には異方性導電膜39Aが形成されており、異方性導電膜39Aが接続端子13A,13Bに連結されている。一方、透明基板21側のめっき層36の表面およびカバーレイ38の表面には異方性導電膜39Bが形成されており、異方性導電膜39Bが接続端子23A,23Bに連結されている。
ここで、異方性導電膜39A,39Bは、例えば、シート状の異方性導電膜(ACF:Anisotropic conductive film)などにより構成されており、接着性を有し、厚さ方向に導電性を有し、かつ厚さと直交する方向に絶縁性を有している。そのため、図4に示したように、異方性導電膜39Aが接続端子13A,13Bに物理的に連結されていても、異方性導電膜39Aの面内方向には導通しない。異方性導電膜39Bについても同様で、異方性導電膜39Bが接続端子23A,23Bに物理的に連結されていても、異方性導電膜39Bの面内方向には導通しない。その結果、接続端子13Aは異方性導電膜39Aを介して接続端子13Aと対向するめっき層36とだけ電気的に接続され、接続端子13Bは異方性導電膜39Aを介して接続端子13Bと対向するめっき層36とだけ電気的に接続される。また、接続端子23Aは異方性導電膜39Bを介して接続端子23Aと対向するめっき層36とだけ電気的に接続され、接続端子23Bは異方性導電膜39Bを介して接続端子23Bと対向するめっき層36とだけ電気的に接続される。
従って、このタッチパネル1では、透明基板11側の抵抗膜12に連結された2つの接続端子13A,13Bがベースフィルム31および配線層32,33に設けられたスルーホール35を介して、スルーホール接触の2つの配線層33に電気的に接続されている。また、透明基板21側の抵抗膜22に連結された2つの接続端子23A,23Bがスルーホール35を介さず、異方性導電膜39Bおよびめっき層35,36を介して、スルーホール非接触の2つの配線層33に電気的に接続されている。
なお、図示しないが、異方性導電膜39A,39Bの代わりに、等方性の導電膜を用いてもよい。ただし、その場合には、導電膜の面内方向に導通してしまうので、導電膜を接続端子ごとに別体で設けることが必要となる。
また、図3〜図6には、接続端子13A、13B,23A,23Bのうち異方性導電膜35,36に接する部分が、図のX軸方向において、接続端子23A、接続端子13A、接続端子23B、接続端子13Bの順に並んでいるが、それとは異なる順に並んでいてもよい。例えば、図11〜図14に示したように、接続端子13A、13B,23A,23Bのうち異方性導電膜39A,39Bに接する部分が、図のX軸方向において、接続端子23A、接続端子23B、接続端子13A、接続端子13Bの順に並んでいてもよい。
次に、本実施の形態のタッチパネル1の製造方法の一例について説明する。
まず、透明基板11,21の一の面上に、スパッタリング法などの既知の方法でITOからなる抵抗膜12、22をそれぞれ成膜する。その後、透明基板11,21のうち抵抗膜12,22の形成面と同一面上であって、かつ抵抗膜12,22の周縁に、Agからなる接続端子13A,13B,23A,23Bを、スクリーン印刷法などの既知の方法で形成する。このようにして、上側基板10および下側基板20を形成する。
次に、下側基板20を抵抗膜22側が上を向くように載置台に配置し、接着層40を、透明基板21のうち抵抗膜22の周縁部に配置する。その後、上側基板10を抵抗膜12側が下を向くようにして、接着層40を介して下側基板20上に配置し、上側基板10と下側基板20とを接着層40によって接着する。
次に、FPC30の端部30Aを、接着層40の切り欠き40Bに挿入する。その後、圧着ヘッドによって端部30Aを押圧し、接続端子13A,13BおよびACF層(後に異方性導電膜39Aとなる層)と、接続端子23A,23BおよびACF層(後に異方性導電膜39Bとなる層)とをそれぞれ圧着接続する。これにより、ACF層が異方性導電膜39A,39Bとなるので、接続端子13Aが異方性導電膜39Aを介して接続端子13Aと対向するめっき層36とだけ電気的に接続され、接続端子13Bが異方性導電膜39Aを介して接続端子13Bと対向するめっき層36とだけ電気的に接続され、接続端子23Aが異方性導電膜39Bを介して接続端子23Aと対向するめっき層36とだけ電気的に接続され、接続端子23Bが異方性導電膜39Bを介して接続端子23Bと対向するめっき層36とだけ電気的に接続される。このようにして、本実施の形態のタッチパネル1が製造される。
本実施の形態のタッチパネル1では、配線層33側のカバーレイ38および接着層37が、スルーホール接触の配線層33およびめっき層34とスルーホール非接触の配線層33およびめっき層34との間隙に延在して形成されている。また、配線層32側のカバーレイ38および接着層37も、スルーホール接触の配線層32およびめっき層34とスルーホール非接触の配線層32およびめっき層34との間隙に延在して形成されている。これにより、FPC30の内部に空隙を設けることなく、配線層32,33の配列方向(図4のX軸方向)においてFPC30の厚さを一定にすることが可能である。その結果、フレキシブルプリント配線板の内部に空隙が設けられている従来のケースと比べて、製造工程において圧着接続を行ったときに、FPC30の表面に生じる窪みを小さくすることができる。従って、透明基板11の上面(接触面10A)全体をデバイスの筐体の一部として用いた場合であっても、筐体表面のフラット感が損なわれる虞がない。
[第2の実施の形態]
図15は、本発明の第2の実施の形態に係るタッチパネル2の断面構成の一例を表したものである。本実施の形態のタッチパネル2は、上記実施の形態のFPC30の代わりに、フレキシブルプリント配線板(FPC)50を備えている点で、上記実施の形態のタッチパネル1の構成と相違する。そこで、以下では、上記実施の形態との相違点について主に説明し、上記実施の形態との共通点についての説明を適宜省略するものとする。
図15に示した断面構成は、タッチパネル2のうちFPC50の端部50A(FPC30の端部30Aに相当する箇所)に対応している。図16は端部50Aのうち下側基板20側の表面構成を、図17は、端部50Aのうち上側基板10の表面構成をそれぞれ表したものである。図18は図16のA−A矢視方向の断面構成を、図19は図16のB−B矢視方向の断面構成を、図20は図16のC−C矢視方向の断面構成を、図21は図16のD−D矢視方向の断面構成をそれぞれ表したものである。
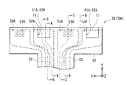
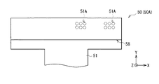
FPC50は、一の方向に延在する帯状のベースフィルム51(可撓性基板)を有している。このベースフィルム51は、当該ベースフィルム51の延在方向において互いに対向する一対の端部(第1端部,第2端部)を有している。一対の端部のうち一方(端部50A)は、例えば、ベースフィルム51の中央部分の幅よりも広い幅となっており、一対の透明基板11,21に挟まれている。他方の端部は、例えば、端部50Aと同様、ベースフィルム51の中央部分の幅よりも広い幅となっており、タッチパネル2からの出力信号を処理するデバイス(図示せず)に接続可能となっている。ベースフィルム51は、例えば、ポリイミドなどからなる。
また、ベースフィルム51の端部50Aにおいて、接続端子13A,13Bの端部(FPC50の異方性伝導膜58(後述)と接触している部分)との対向領域に、複数(図6、図7では6つ)の開口51Aがそれぞれ設けられている。開口51Aは、ベースフィルム51へレーザ照射したり、ベースフィルム51を径の小さなドリルなどで切削加工したりすることよって形成されたものである。
ベースフィルム51の下側基板20側の表面には、例えば、銅箔などからなる配線層52が4つ設けられている。4つの配線層52は、ベースフィルム51の下側基板20側の表面に接して形成されており、互いに同一面内に形成されている。また、4つの配線層52は、一方の端部50A(具体的には、接続端子23A,23B,ダミー端子23Cとの対向領域、もしくは接続端子13A,13B,ダミー端子23Cとの対向領域)から、他の端部にかけて線状に形成されている。さらに、4つの配線層52において、少なくとも端部50A側の端部52Aがパッド形状となっており、端部52A以外の部分が端部52Aの幅と比べて十分に狭い幅で形成されている(図16参照)。なお、ベースフィルム51の上側基板10側の表面には、配線層52と共通する材料によって構成された配線層は特に設けられていない。従って、本実施の形態のFPC50では、導体パターンを一方のみに形成した片面構造のフレキシブル基板が用いられている。
4つの配線層52のうち接続端子23A,23Bとの対向領域に設けられた2つの配線層(以下、「開口非対向の配線層52」と称する。)は、開口51Aを避けるようにして一方の端部50Aから他方の端部にかけて延在している。一方、4つの配線層52のうち接続端子13A,13Bとの対向領域に設けられた2つの配線層(以下、「開口対向の配線層52」と称する。)は、開口51Aの上側基板10側を塞ぐようにして一方の端部50Aから他方の端部にかけて延在している。従って、開口51Aの底面には、配線層52が露出している。
開口非対向の2つの配線層52の端部52Aの表面には、めっき層53が設けられている。また、開口対向の2つの配線層52のうち開口51A底面に露出している部分には、めっき層54が設けられている。めっき層53,43はいずれも薄く、開口51Aや後述の切り欠き55A,56Aを埋め込むほどの厚さを有していない。
FPC50の配線層52側の表面には、配線層52を外部から保護するカバーレイ56が接着層55によって接着されている。接着層55には、開口非対向の2つの配線層52のうち端部52Aに対応して切り欠き55Aが設けられている。また、カバーレイ56にも、切り欠き55Aに対応して切り欠き56Aが設けられている。カバーレイ56は、例えば、ポリイミドなどからなる。
透明基板21側のめっき層53の表面と、カバーレイ56の表面とを含む表面上には異方性導電膜57が形成されており、異方性導電膜57が接続端子23A,23Bに連結されている。一方、透明基板11側のめっき層54の表面およびベースフィルム51の透明基板11側の表面には異方性導電膜58が形成されており、異方性導電膜58が接続端子13A,13Bに連結されている。さらに、開口51Aは異方性導電膜58によって埋め込まれており、切り欠き55A,56Aは異方性導電膜57によって埋め込まれている。
ここで、異方性導電膜57,58は、例えば、シート状の異方性導電膜(ACF)などにより構成されており、接着性を有し、厚さ方向に導電性を有し、かつ厚さと直交する方向に絶縁性を有している。そのため、図15に示したように、異方性導電膜58が接続端子13A,13Bに物理的に連結されていても、異方性導電膜58の面内方向には導通しない。異方性導電膜57についても同様で、異方性導電膜57が接続端子23A,23Bに物理的に連結されていても、異方性導電膜57の面内方向には導通しない。その結果、接続端子13Aは異方性導電膜58を介して接続端子13Aと対向するめっき層54とだけ電気的に接続され、接続端子13Bは異方性導電膜58を介して接続端子13Bと対向するめっき層54とだけ電気的に接続される。また、接続端子23Aは異方性導電膜57を介して接続端子23Aと対向するめっき層53とだけ電気的に接続され、接続端子23Bは異方性導電膜57を介して接続端子23Bと対向するめっき層53とだけ電気的に接続される。
従って、このタッチパネル2では、透明基板11側の抵抗膜12に連結された2つの接続端子13A,13Bがベースフィルム51に設けられた開口51Aを介して、開口対向の2つの配線層52に電気的に接続されている。また、透明基板21側の抵抗膜22に連結された2つの接続端子23A,23Bがベースフィルム51に設けられた開口51Aを介さず、異方性導電膜57およびめっき層53を介して、開口非対向の2つの配線層52に電気的に接続されている。
なお、図示しないが、異方性導電膜57,58の代わりに、等方性の導電膜を用いてもよい。ただし、その場合には、導電膜の面内方向に導通してしまうので、導電膜を接続端子ごとに別体で設けることが必要となる。
また、図15〜図17には、接続端子13A、13B,23A,23Bのうち異方性導電膜57,58に接する部分が、図のX軸方向において、接続端子23A、接続端子13A、接続端子23B、接続端子13Bの順に並んでいるが、それとは異なる順に並んでいてもよい。例えば、図22〜図24に示したように、接続端子13A、13B,23A,23Bのうち異方性導電膜57,58に接する部分が、図のX軸方向において、接続端子23A、接続端子23B、接続端子13A、接続端子13Bの順に並んでいてもよい。
本実施の形態のタッチパネル2では、配線層52がベースフィルム51の一方の面にだけ接して設けられた片面構造のフレキシブル基板がFPC50に用いられている。さらに、ベースフィルム51の一方の面に設けられた異方性導電膜57がベースフィルム51の一方の面に設けられた開口非対向の2つの配線層52に電気的に接続されており、他方、ベースフィルム51の他方の面に設けられた異方性導電膜58はベースフィルム51に設けられた開口51Aを介してベースフィルム51の一方の面に設けられた開口対向の2つの配線層52に電気的に接続されている。このように、本実施の形態では、従来ように、配線層をベースフィルムの両面に設けたり、さらにスルーホールおよびスルーホールめっきを設けたりする代わりに、ベースフィルム51に開口51Aを設けることにより、ベースフィルム51の他方の面に設けられた異方性導電膜58がベースフィルム51の一方の面に設けられた配線層52に電気的に接続されている。その結果、一の配線層の厚さおよびスルーホールめっきの厚さの合計厚さの分だけFPC50を薄くすることができる。従って、従来よりも薄いFPC50を実現することができる。
また、本実施の形態では、図15に示したように、FPC50の端部50Aにおいて、ベースフィルム51に関して配線層52側に設けられた異方性導電膜57と、ベースフィルム51との間に、カバーレイ56および接着層55が設けられている。これにより、配線層52同士の間隙に、カバーレイ56および接着層55を設けることができるので、FPC50の内部に空隙を設けることなく、4つの配線層52の配列方向(横方向)においてFPC50の厚さを一定にすることが可能である。その結果、フレキシブルプリント配線板の内部に空隙が設けられている従来のケースと比べて、製造工程において圧着接続を行ったときに、タッチパネル2の表面に生じる窪みを小さくすることができる。従って、透明基板11の上面(接触面10A)全体をデバイスの筐体の一部として用いた場合であっても、筐体表面のフラット感が損なわれる虞がない。
[第3の実施の形態]
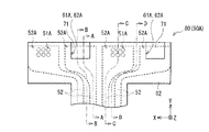
図25は、本発明の第3の実施の形態に係るタッチパネル3の断面構成の一例を表したものである。本実施の形態のタッチパネル3は、上記第2の実施の形態のFPC50の代わりに、フレキシブルプリント配線板(FPC)60を備えている点で、上記第2の実施の形態のタッチパネル2の構成と相違する。そこで、以下では、上記第2の実施の形態との相違点について主に説明し、上記第2の実施の形態との共通点についての説明を適宜省略するものとする。
図25に示した断面構成は、タッチパネル3のうちFPC60の端部60A(FPC50の端部50Aに相当する箇所)に対応している。図26は端部60Aのうち下側基板20側の表面構成を、図27は、端部60Aのうち上側基板10の表面構成をそれぞれ表したものである。図28は図26のA−A矢視方向の断面構成を、図29は図26のB−B矢視方向の断面構成を、図30は図26のC−C矢視方向の断面構成を、図31は図26のD−D矢視方向の断面構成をそれぞれ表したものである。
本実施の形態では、端部52Aの幅(4つの配線層52の配列方向の幅)が上記第2の実施の形態の端部52Aの幅よりも広くなっており、端部52A同士の間隙が上記第2の実施の形態の端部52A同士の間隙よりも狭くなっている。一方で、端部52Aの表面上に設けられているめっき層53の幅は、上記第2の実施の形態のめっき層53の幅と等しいか、同等であり、本実施の形態の端部52Aの幅よりも狭くなっている。
また、FPC60の配線層52側の表面には、配線層52を外部から保護するカバーレイ62が接着層61によって接着されている。接着層61には、開口非対向の2つの配線層52の端部52Aのめっき膜53に対応して切り欠き61Aが設けられている。また、カバーレイ62にも、切り欠き61Aに対応して切り欠き62Aが設けられている。カバーレイ62は、例えば、ポリイミドなどからなる。
透明基板21側のめっき層53の表面と、カバーレイ62の表面とを含む表面上には異方性導電膜57が形成されており、異方性導電膜57が接続端子23A,23Bに連結されている。一方、透明基板11側のめっき層54の表面およびベースフィルム51の透明基板11側の表面には異方性導電膜58が形成されており、異方性導電膜58が接続端子13A,13Bに連結されている。さらに、開口51Aは異方性導電膜58によって埋め込まれており、切り欠き61A,62Aは異方性導電膜57によって埋め込まれている。
なお、本実施の形態においても、図示しないが、異方性導電膜57,58の代わりに、等方性の導電膜を用いてもよい。ただし、その場合には、導電膜の面内方向に導通してしまうので、導電膜を接続端子ごとに別体で設けることが必要となる。
また、図25〜図27には、接続端子13A、13B,23A,23Bのうち異方性導電膜57,58に接する部分が、図のX軸方向において、接続端子23A、接続端子13A、接続端子23B、接続端子13Bの順に並んでいるが、それとは異なる順に並んでいてもよい。例えば、図32〜図34に示したように、接続端子13A、13B,23A,23Bのうち異方性導電膜57,58に接する部分が、図のX軸方向において、接続端子23A、接続端子23B、接続端子13A、接続端子13Bの順に並んでいてもよい。
本実施の形態のタッチパネル3では、配線層52がベースフィルム51の一方の面にだけ接して設けられた片面構造のフレキシブル基板がFPC60に用いられている。さらに、ベースフィルム51の一方の面に設けられた異方性導電膜57がベースフィルム51の一方の面に設けられた開口非対向の2つの配線層52に電気的に接続されており、他方、ベースフィルム51の他方の面に設けられた異方性導電膜58はベースフィルム51に設けられた開口51Aを介してベースフィルム51の一方の面に設けられた開口対向の2つの配線層52に電気的に接続されている。このように、本実施の形態では、従来ように、配線層をベースフィルムの両面に設けたり、さらにスルーホールおよびスルーホールめっきを設けたりする代わりに、ベースフィルム51に開口51Aを設けることにより、ベースフィルム51の他方の面に設けられた異方性導電膜58がベースフィルム51の一方の面に設けられた配線層52に電気的に接続されている。その結果、一の配線層の厚さおよびスルーホールめっきの厚さの合計厚さの分だけFPC60を薄くすることができる。従って、従来よりも薄いFPC60を実現することができる。
また、本実施の形態では、図25に示したように、FPC60の端部60Aにおいて、ベースフィルム51に関して配線層52側に設けられた異方性導電膜57と、ベースフィルム51との間に、カバーレイ62および接着層61が設けられている。これにより、配線層52同士の間隙に、カバーレイ62および接着層61を設けることができるので、FPC60の内部に空隙を設けることなく、4つの配線層52の配列方向(横方向)においてFPC60の厚さを一定にすることが可能である。その結果、フレキシブルプリント配線板の内部に空隙が設けられている従来のケースと比べて、製造工程において圧着接続を行ったときに、タッチパネル3の表面に生じる窪みを小さくすることができる。従って、透明基板11の上面(接触面10A)全体をデバイスの筐体の一部として用いた場合であっても、筐体表面のフラット感が損なわれる虞がない。
[第4の実施の形態]
図35は、本発明の第4の実施の形態に係るタッチパネル4の断面構成の一例を表したものである。本実施の形態のタッチパネル4は、上記第3の実施の形態のFPC60の代わりに、フレキシブルプリント配線板(FPC)70を備えている点で、上記第3の実施の形態のタッチパネル3の構成と相違する。そこで、以下では、上記第3の実施の形態との相違点について主に説明し、上記第3の実施の形態との共通点についての説明を適宜省略するものとする。
図35に示した断面構成は、タッチパネル4のうちFPC70の端部70A(FPC60の端部60Aに相当する箇所)に対応している。図36は端部70Aのうち下側基板20側の表面構成を、図37は、端部70Aのうち上側基板10の表面構成をそれぞれ表したものである。図38は図36のA−A矢視方向の断面構成を、図39は図36のB−B矢視方向の断面構成を、図40は図36のC−C矢視方向の断面構成を、図41は図36のD−D矢視方向の断面構成をそれぞれ表したものである。
本実施の形態では、上記第3の実施の形態の異方性導電膜57の代わりに、異方性導電膜71が設けられている。この異方性導電膜71は、開口対向の配線層52との対向領域に形成されており、かつ切り欠き61A,62Aの内部に埋め込まれている。従って、異方性導電膜71は、カバーレイ62および接着層61と同一面内に形成されており、カバーレイ62の表面上には形成されていない。
この異方性導電膜71は、異方性導電膜57と同様、例えば、シート状の異方性導電膜(ACF)などにより構成されており、接着性を有し、厚さ方向に導電性を有し、かつ厚さと直交する方向に絶縁性を有している。これにより、接続端子23Aは異方性導電膜71を介して接続端子23Aと対向するめっき層53とだけ電気的に接続され、接続端子23Bは異方性導電膜71を介して接続端子23Bと対向するめっき層53とだけ電気的に接続される。
従って、このタッチパネル4では、透明基板11側の抵抗膜12に連結された2つの接続端子13A,13Bがベースフィルム51に設けられた開口51Aを介して、開口対向の2つの配線層52に電気的に接続されている。また、透明基板21側の抵抗膜22に連結された2つの接続端子23A,23Bがベースフィルム51に設けられた開口51Aを介さず、異方性導電膜71およびめっき層53を介して、開口非対向の2つの配線層52に電気的に接続されている。
なお、図示しないが、異方性導電膜58,71の代わりに、等方性の導電膜を用いてもよい。ただし、異方性導電膜58を等方性の導電膜に変えた場合には、導電膜の面内方向に導通してしまうので、導電膜を接続端子ごとに別体で設けることが必要となる。一方、異方性導電膜71を等方性の導電膜に変えた場合には、導電膜の面内方向に導通したとしても、隣接する開口対向の配線層52と電気的に接続される虞はない。
また、図35〜図37には、接続端子13A、13B,23A,23Bのうち異方性導電膜58,71に接する部分が、図のX軸方向において、接続端子23A、接続端子13A、接続端子23B、接続端子13Bの順に並んでいるが、それとは異なる順に並んでいてもよい。例えば、図42〜図44に示したように、接続端子13A、13B,23A,23Bのうち異方性導電膜58,71に接する部分が、図のX軸方向において、接続端子23A、接続端子23B、接続端子13A、接続端子13Bの順に並んでいてもよい。
本実施の形態のタッチパネル4では、配線層52がベースフィルム51の一方の面にだけ接して設けられた片面構造のフレキシブル基板がFPC70に用いられている。さらに、ベースフィルム51の一方の面に設けられた異方性導電膜71がベースフィルム51の一方の面に設けられた開口非対向の2つの配線層52に電気的に接続されており、他方、ベースフィルム51の他方の面に設けられた異方性導電膜58はベースフィルム51に設けられた開口51Aを介してベースフィルム51の一方の面に設けられた開口対向の2つの配線層52に電気的に接続されている。このように、本実施の形態では、従来ように、配線層をベースフィルムの両面に設けたり、さらにスルーホールおよびスルーホールめっきを設けたりする代わりに、ベースフィルム51に開口51Aを設けることにより、ベースフィルム51の他方の面に設けられた異方性導電膜58がベースフィルム51の一方の面に設けられた配線層52に電気的に接続されている。その結果、一の配線層の厚さおよびスルーホールめっきの厚さの合計厚さの分だけFPC70を薄くすることができる。従って、従来よりも薄いFPC70を実現することができる。さらに、上記第3の実施の形態のFPC60よりも、異方性導電膜57の厚さの分だけ薄くすることができる。
また、本実施の形態では、図35に示したように、FPC70の端部70Aにおいて、異方性導電膜71が接着層61およびカバーレイ62の開口61A,62Aの内部に埋め込まれている。これにより、カバーレイ62および異方性導電膜71のそれぞれの表面を同一面内に隙間なく設けることができるので、FPC70の内部に空隙を設けることなく、4つの配線層52の配列方向(横方向)においてFPC70の厚さを一定にすることが可能である。その結果、フレキシブルプリント配線板の内部に空隙が設けられている従来のケースと比べて、製造工程において圧着接続を行ったときに、タッチパネル4の表面に生じる窪みを小さくすることができる。従って、透明基板11の上面(接触面10A)全体をデバイスの筐体の一部として用いた場合であっても、筐体表面のフラット感が損なわれる虞がない。
[第5の実施の形態]
図45は、本発明の第5の実施の形態に係るタッチパネル5の断面構成の一例を表したものである。本実施の形態のタッチパネル5は、上記第4の実施の形態のFPC70の代わりに、フレキシブルプリント配線板(FPC)80を備えている点で、上記第4の実施の形態のタッチパネル4の構成と相違する。そこで、以下では、上記第4の実施の形態との相違点について主に説明し、上記第4の実施の形態との共通点についての説明を適宜省略するものとする。
図45に示した断面構成は、タッチパネル5のうちFPC80の端部80A(FPC70の端部70Aに相当する箇所)に対応している。図46は端部80Aのうち下側基板20側の表面構成を、図47は、端部80Aのうち上側基板10の表面構成をそれぞれ表したものである。図48は図46のA−A矢視方向の断面構成を、図49は図46のB−B矢視方向の断面構成を、図50は図46のC−C矢視方向の断面構成を、図51は図46のD−D矢視方向の断面構成をそれぞれ表したものである。
本実施の形態では、上記第4の実施の形態の異方性導電膜71の代わりに、めっき層81が設けられている。このめっき層81は、開口51Aの内部に埋め込まれており、ベースフィルム51の表面上には設けられていない。これにより、接続端子13Aはめっき層81を介して接続端子13Aと対向する配線層52に電気的に接続され、接続端子13Bはめっき層81を介して接続端子13Bと対向する配線層52に電気的に接続される。
従って、このタッチパネル5では、透明基板11側の抵抗膜12に連結された2つの接続端子13A,13Bがベースフィルム51に設けられた開口51Aを介して、開口対向の2つの配線層52に電気的に接続されている。また、透明基板21側の抵抗膜22に連結された2つの接続端子23A,23Bがベースフィルム51に設けられた開口51Aを介さず、異方性導電膜71およびめっき層53を介して、開口非対向の2つの配線層52に電気的に接続されている。
なお、図示しないが、異方性導電膜71の代わりに、等方性の導電膜を用いてもよい。異方性導電膜71を等方性の導電膜に変えた場合には、導電膜の面内方向に導通したとしても、隣接する開口対向の配線層52と電気的に接続される虞はない。
また、図45〜図47には、接続端子13A、13B,23A,23Bのうち異方性導電膜71およびめっき膜81に接する部分が、図のX軸方向において、接続端子23A、接続端子13A、接続端子23B、接続端子13Bの順に並んでいるが、それとは異なる順に並んでいてもよい。例えば、図52〜図54に示したように、接続端子13A、13B,23A,23Bのうち異方性導電膜71およびめっき膜81に接する部分が、図のX軸方向において、接続端子23A、接続端子23B、接続端子13A、接続端子13Bの順に並んでいてもよい。
本実施の形態のタッチパネル5では、配線層52がベースフィルム51の一方の面にだけ接して設けられた片面構造のフレキシブル基板がFPC80に用いられている。さらに、ベースフィルム51の一方の面に設けられた異方性導電膜71がベースフィルム51の一方の面に設けられた開口非対向の2つの配線層52に電気的に接続されており、他方、ベースフィルム51の他方の面に設けられためっき膜81はベースフィルム51に設けられた開口51Aを介してベースフィルム51の一方の面に設けられた開口対向の2つの配線層52に電気的に接続されている。このように、本実施の形態では、従来ように、配線層をベースフィルムの両面に設けたり、さらにスルーホールおよびスルーホールめっきを設けたりする代わりに、ベースフィルム51に開口51Aを設けることにより、ベースフィルム51の他方の面に設けられためっき膜81がベースフィルム51の一方の面に設けられた配線層52に電気的に接続されている。その結果、一の配線層の厚さおよびスルーホールめっきの厚さの合計厚さの分だけFPC80を薄くすることができる。従って、従来よりも薄いFPC80を実現することができる。さらに、上記第3の実施の形態のFPC60よりも、異方性導電膜57の厚さの分だけ薄くすることができ、上記第4の実施の形態のFPC70よりも、異方性導電膜58の厚さの分だけ薄くすることがでる。
また、本実施の形態では、図45に示したように、FPC80の端部80Aにおいて、異方性導電膜71が接着層61およびカバーレイ62の開口61A,62Aの内部に埋め込まれている。さらに、FPC80の端部80Aにおいて、めっき膜81がベースフィルム51の開口51Aの内部に埋め込まれている。これにより、カバーレイ62および異方性導電膜71のそれぞれの表面を同一面内に設けることができ、さらに、ベースフィルム51およびめっき膜81のそれぞれの表面を同一面内に隙間なく設けることができるので、FPC80の内部に空隙を設けることなく、4つの配線層52の配列方向(横方向)においてFPC80の厚さを一定にすることが可能である。その結果、フレキシブルプリント配線板の内部に空隙が設けられている従来のケースと比べて、製造工程において圧着接続を行ったときに、タッチパネル5の表面に生じる窪みを小さくすることができる。従って、透明基板11の上面全体をデバイスの筐体の一部として用いた場合であっても、筐体表面のフラット感が損なわれる虞がない。
[第1の適用例]
図55は、上記各実施の形態に係るタッチパネル1,2,3,4または5を表示装置に適用した場合の一適用例を表したものである。図55の表示装置6は、画像表示面64Aを有する液晶表示パネル64(表示パネル)と、画像表示面64A上に配置されたタッチパネル1,2,3,4または5と、表示パネル64の背面に配置されたバックライト63と、これら液晶表示パネル64、タッチパネル1,2,3,4または5、バックライト63を支持する筐体65とを備えている。本適用例では、上記各実施の形態に係るタッチパネル1,2,3,4または5が用いられているので、図55に示したように、タッチパネル1,2,3,4または5を筐体65の凹部65Aに固定し、タッチパネル1,2,3,4または5の接触面10A全体を筐体65の一部として用いた場合であっても、接触面10Aに凹凸がほとんどないので、筐体表面のフラット感が損なわれる虞がない。
ところで、従来では、図56の表示装置600に示したように、タッチパネル630の周囲が、表示装置620、バックライト610およびタッチパネル630を支持する筐体640の凸部640Aによって押さえられていた。そのため、その凸部640の厚さの分だけ表示装置が厚くなっていたが、表示装置を薄くするために、従来のタッチパネル630を図55の表示装置6に適用すると、タッチパネル630の外縁にFPC(図示せず)の凹凸が生じてしまい、筐体表面のフラット感が損なわれてしまう。
一方、本適用例では、接触面10Aに凹凸がほとんどないので、図55に示したように、タッチパネル1,2,3,4または5の接触面10A全体を筐体65の一部として用いた場合であっても、筐体表面のフラット感が損なわれる虞がない。
[第2の適用例]
上記各実施の形態に係るFPC30,40,50,60,70または80は、液晶表示パネルの信号入出力用にも適用可能である。図57は、上記各実施の形態に係るFPC30,40,50,60,70または80を液晶表示パネルの信号入出力用に適用した場合の一適用例を表したものである。図57の液晶表示パネル7は、画素基板72と、上記各実施の形態に係るFPC30,40,50,60,70または80と、カラーフィルタ73とを備えている。画素基板72は、マトリクス状に画素回路が形成された画素領域72Aと、画素領域72Aの周囲に画素回路と接続された接続端子が形成された端子領域72Bとを有しており、上記各実施の形態に係るFPC30,40,50,60,70または80は、端子領域72B内の接続端子と電気的に接続されている。カラーフィルタ73の表面が画像表示面7Aとなっている。
[第3の適用例]
上記各実施の形態に係るFPC30,40,50,60,70または80は、有機ELパネルの信号入出力用にも適用可能である。図58は、上記各実施の形態に係るFPC30,40,50,60,70または80を有機ELパネルの信号入出力用に適用した場合の一適用例を表したものである。図58の有機ELパネル8は、画素基板82と、上記各実施の形態に係るFPC30,40,50,60,70または80とを備えている。画素基板82は、マトリクス状に画素回路が形成された画素領域82Aと、画素領域82Aの周囲に画素回路と接続された接続端子が形成された端子領域82Bとを有しており、上記各実施の形態に係るFPC30,40,50,60,70または80は、端子領域82B内の接続端子と電気的に接続されている。画素領域82Aの表面が画像表示面8Aとなっている。
[第4の適用例]
図59は、上記適用例に係る液晶表示パネル7を表示装置に適用した場合の一適用例を表したものである。図59の表示装置9Aは、上記適用例に係る液晶表示パネル7と、この液晶表示パネル7の背後に配置されたバックライト91と、これら液晶表示パネル7およびバックライト91を支持する筐体92とを備えている。
[第5の適用例]
図60は、上記適用例に係る有機ELパネル8を表示装置に適用した場合の一適用例を表したものである。図60の表示装置9Bは、上記適用例に係る有機ELパネル8と、この有機ELパネル8を支持する筐体93とを備えている。
以上、実施の形態およびその変形例ならびに適用例を挙げて本発明を説明したが、本発明は実施の形態等に限定されるものではなく、種々の変形が可能である。
例えば、上記各実施の形態等では、ベースフィルム51に設けた開口51Aの数が、1または6個となっていたが、それ以外の数であってもよい。例えば、図61(A)〜(E)に示したように、開口51Aの数は、例えば、1〜5の範囲内で変更可能である。
また、上記各実施の形態等では、ベースフィルム51に開口51Aを設けていたが、開口51Aの代わりに切り欠きを設けてもよい。
本発明の第1の実施の形態に係るタッチパネルの斜視図である。 図1のタッチパネルの展開図である。 図1のタッチパネルの一部を拡大して表した拡大図である。 図3のタッチパネルのA−A矢視方向の断面図である。 図1のFPCの一の端部の一方の面の平面図である。 図1のFPCの一の端部の他方の面の平面図である。 図5のFPCのA−A矢視方向の断面図である。 図5のFPCのB−B矢視方向の断面図である。 図5のFPCのC−C矢視方向の断面図である。 図5のFPCのD−D矢視方向の断面図である。 図1のタッチパネルの他の構成例の一部を拡大して表した拡大図である。 図11のタッチパネルのA−A矢視方向の断面図である。 図11のFPCの一の端部の一方の面の平面図である。 図11のFPCの一の端部の他方の面の平面図である。 本発明の第2の実施の形態に係るタッチパネルの断面図である。 図15のFPCの一の端部の一方の面の平面図である。 図15のFPCの一の端部の他方の面の平面図である。 図16のFPCのA−A矢視方向の断面図である。 図16のFPCのB−B矢視方向の断面図である。 図16のFPCのC−C矢視方向の断面図である。 図16のFPCのD−D矢視方向の断面図である。 図15のタッチパネルの他の構成例の断面図である。 図22のFPCの一の端部の一方の面の平面図である。 図22のFPCの一の端部の他方の面の平面図である。 本発明の第3の実施の形態に係るタッチパネルの断面図である。 図25のFPCの一の端部の一方の面の平面図である。 図25のFPCの一の端部の他方の面の平面図である。 図26のFPCのA−A矢視方向の断面図である。 図26のFPCのB−B矢視方向の断面図である。 図26のFPCのC−C矢視方向の断面図である。 図26のFPCのD−D矢視方向の断面図である。 図25のタッチパネルの他の構成例の断面図である。 図32のFPCの一の端部の一方の面の平面図である。 図32のFPCの一の端部の他方の面の平面図である。 本発明の第4の実施の形態に係るタッチパネルの断面図である。 図35のFPCの一の端部の一方の面の平面図である。 図35のFPCの一の端部の他方の面の平面図である。 図36のFPCのA−A矢視方向の断面図である。 図36のFPCのB−B矢視方向の断面図である。 図36のFPCのC−C矢視方向の断面図である。 図36のFPCのD−D矢視方向の断面図である。 図35のタッチパネルの他の構成例の断面図である。 図42のFPCの一の端部の一方の面の平面図である。 図42のFPCの一の端部の他方の面の平面図である。 本発明の第5の実施の形態に係るタッチパネルの断面図である。 図45のFPCの一の端部の一方の面の平面図である。 図45のFPCの一の端部の他方の面の平面図である。 図46のFPCのA−A矢視方向の断面図である。 図46のFPCのB−B矢視方向の断面図である。 図46のFPCのC−C矢視方向の断面図である。 図46のFPCのD−D矢視方向の断面図である。 図45のタッチパネルの他の構成例の断面図である。 図52のFPCの一の端部の一方の面の平面図である。 図52のFPCの一の端部の他方の面の平面図である。 一適用例に係る表示装置の断面図である。 従来の表示装置の断面図である。 他の適用例に係る液晶表示パネルの断面図である。 その他の適用例に係る有機ELパネルの断面図である。 その他の適用例に係る表示装置の断面図である。 さらにその他の適用例に係る表示装置の断面図である。 ベースフィルムの開口の種々の変形例を表す断面図である。 従来のタッチパネルの断面図である。 図62のFPCの一の端部の一方の面の平面図である。 図62のFPCの一の端部の他方の面の平面図である。 図63のFPCのA−A矢視方向の断面図である。 図63のFPCのB−B矢視方向の断面図である。 従来のタッチパネルに窪みができた様子を表す断面図である。
符号の説明
1〜5…タッチパネル、6,9A,9B…表示装置、7…液晶表示パネル、7A,64A,8A…画像表示面、8…有機ELパネル、10…上側基板、10A…接触面、11,21…透明基板、12,22…抵抗膜、13A,13B,23A,23B…接続端子、20…下側基板、30,50,60,70,80…フレキシブルプリント配線板(FPC)、30A,30B…端部、31,51…ベースフィルム、31A…スルーホール、32,33,52…配線層、34,35,36,53,54,81…めっき層、37,40,55,61…接着層、37A,38A,40B,55A,56A,61A,62A…切欠き,38,56,62…カバーレイ、39A,39B,57,58,71…異方性導電膜、39…金属ペースト、40A…開口、51A…開口、63,91…バックライト、64…液晶表示パネル、65,92,93…筐体、65A…凹部,72,82…画素基板、73…カラーフィルタ、82A…画素領域、82B…端子領域。
@

Claims (7)

  1. 第1端部および第2端部を有し、かつ前記第1端部から前記第2端部にかけて延在する帯状の可撓性基板と、
    前記可撓性基板の一方の面に接すると共に前記第1端部から前記第2端部にかけて延在する線状の第1配線層と、
    前記可撓性基板のうち前記第1配線層と同一面に接すると共に前記第1端部から前記第2端部にかけて延在する線状の第2配線層と、
    前記可撓性基板の他方の面に接すると共に前記第1配線層との対向領域のうち前記第1端部近傍に形成された第3配線層と、
    前記可撓性基板のうち前記第3配線層と同一面に接すると共に前記第2配線層との対向領域のうち前記第1端部近傍に形成された第4配線層と、
    前記第1端部、前記第2配線層および前記第4配線層を貫通するスルーホールと、
    前記第2配線層および前記第4配線層のうち前記スルーホール近傍の表面上に形成された第1導電性部材と、
    前記第1配線層および前記第3配線層のうち前記第1端部近傍の表面上に形成された第2導電性部材と、
    前記第1配線層および前記第2導電性部材と前記第2配線層および前記第1導電性部材との間隙と、前記第3配線層および前記第2導電性部材と前記第4配線層および前記第1導電性部材との間隙との間に形成された絶縁層と
    を備えたフレキシブルプリント配線板。
  2. 前記絶縁層のうち前記第1配線層と前記第2配線層との間隙に形成されている部分は、前記第1配線層および前記第2配線層の双方の延在部分を保護するカバーレイを含んで構成され、
    前記絶縁層のうち前記第3配線層と前記第4配線層との間隙に形成されている部分は、前記絶縁層のうち前記第1配線層と前記第2配線層との間隙に形成されている部分と同一の構造によって形成されている請求項1に記載のフレキシブルプリント配線板。
  3. 離間して対向配置された第1透明基板および第2透明基板と、
    前記第1透明基板のうち前記第2透明基板との対向面に設けられた第1接続端子と、
    前記第2透明基板のうち前記第1透明基板との対向面に設けられた第2接続端子と、
    前記第1透明基板および前記第2透明基板の間隙であって、かつ前記第1接続端子および前記第2接続端子との対向領域を含む領域に設けられたフレキシブルプリント配線板と
    を備え、
    前記フレキシブルプリント配線板は、
    前記第1透明基板および前記第2透明基板に挟まれた第1端部と、第2端部とを有し、かつ前記第1端部から前記第2端部にかけて延在する帯状の可撓性基板と、
    前記可撓性基板の一方の面に接すると共に前記第1端部から前記第2端部にかけて延在する線状の第1配線層と、
    前記可撓性基板のうち前記第1配線層と同一面に接すると共に前記第1端部から前記第2端部にかけて延在する線状の第2配線層と、
    前記可撓性基板の他方の面に接すると共に前記第1配線層との対向領域のうち前記第1端部近傍に形成された第3配線層と、
    前記可撓性基板のうち前記第3配線層と同一面に接すると共に前記第2配線層との対向領域のうち前記第1端部近傍に形成された第4配線層と、
    前記第1端部、前記第2配線層および前記第4配線層を貫通するスルーホールと、
    前記第2配線層および前記第4配線層のうち前記スルーホール近傍の表面上に形成された第1導電性部材と、
    前記第1配線層および前記第3配線層のうち前記第1端部近傍の表面上に形成された第2導電性部材と、
    前記第1配線層および前記第2導電性部材と前記第2配線層および前記第1導電性部材との間隙と、前記第3配線層および前記第2導電性部材と前記第4配線層および前記第1導電性部材との間隙との間に形成された絶縁層と
    を有するタッチパネル。
  4. 前記フレキシブルプリント配線板を挟んだ状態で前記第1透明基板および前記第2透明基板同士を接着する接着層を備え、
    前記接着層は、周縁部のうち前記フレキシブルプリント配線板に対応して切り欠きを有する請求項3に記載のタッチパネル。
  5. マトリクス状に画素回路が形成された画素領域と前記画素領域の周囲に前記画素回路と接続された接続端子が形成された端子領域とを有する画素基板と、
    前記画素基板に固定されたフレキシブルプリント配線板と
    を備え、
    前記フレキシブルプリント配線板は、
    前記画素基板に固定された第1端部と、第2端部とを有し、かつ前記第1端部から前記第2端部にかけて延在する帯状の可撓性基板と、
    前記可撓性基板の一方の面に接すると共に前記第1端部から前記第2端部にかけて延在する線状の第1配線層と、
    前記可撓性基板のうち前記第1配線層と同一面に接すると共に前記第1端部から前記第2端部にかけて延在する線状の第2配線層と、
    前記可撓性基板の他方の面に接すると共に前記第1配線層との対向領域のうち前記第1端部近傍に形成された第3配線層と、
    前記可撓性基板のうち前記第3配線層と同一面に接すると共に前記第2配線層との対向領域のうち前記第1端部近傍に形成された第4配線層と、
    前記第1端部、前記第2配線層および前記第4配線層を貫通するスルーホールと、
    前記第2配線層および前記第4配線層のうち前記スルーホール近傍の表面上に形成された第1導電性部材と、
    前記第1配線層および前記第3配線層のうち前記第1端部近傍の表面上に形成された第2導電性部材と、
    前記第1配線層および前記第2導電性部材と前記第2配線層および前記第1導電性部材との間隙と、前記第3配線層および前記第2導電性部材と前記第4配線層および前記第1導電性部材との間隙との間に形成された絶縁層と
    を有する表示パネル。
  6. 画像表示面を有する表示パネルと、
    前記画像表示面上に配置されたタッチパネルと
    を備え、
    前記タッチパネルは、
    離間して対向配置された第1透明基板および第2透明基板と、
    前記第1透明基板のうち前記第2透明基板との対向面に設けられた第1接続端子と、
    前記第2透明基板のうち前記第1透明基板との対向面に設けられた第2接続端子と、
    前記第1透明基板および前記第2透明基板の間隙であって、かつ前記第1接続端子および前記第2接続端子との対向領域を含む領域に設けられたフレキシブルプリント配線板と
    を備え、
    前記フレキシブルプリント配線板は、
    前記第1透明基板および前記第2透明基板に挟まれた第1端部と、第2端部とを有し、かつ前記第1端部から前記第2端部にかけて延在する帯状の可撓性基板と、
    前記可撓性基板の一方の面に接すると共に前記第1端部から前記第2端部にかけて延在する線状の第1配線層と、
    前記可撓性基板のうち前記第1配線層と同一面に接すると共に前記第1端部から前記第2端部にかけて延在する線状の第2配線層と、
    前記可撓性基板の他方の面に接すると共に前記第1配線層との対向領域のうち前記第1端部近傍に形成された第3配線層と、
    前記可撓性基板のうち前記第3配線層と同一面に接すると共に前記第2配線層との対向領域のうち前記第1端部近傍に形成された第4配線層と、
    前記第1端部、前記第2配線層および前記第4配線層を貫通するスルーホールと、
    前記第2配線層および前記第4配線層のうち前記スルーホール近傍の表面上に形成された第1導電性部材と、
    前記第1配線層および前記第3配線層のうち前記第1端部近傍の表面上に形成された第2導電性部材と、
    前記第1配線層および前記第2導電性部材と前記第2配線層および前記第1導電性部材との間隙と、前記第3配線層および前記第2導電性部材と前記第4配線層および前記第1導電性部材との間隙との間に形成された絶縁層と
    を備えた表示装置。
  7. 画像表示面を有する表示パネルを備え、
    前記表示パネルは、
    マトリクス状に画素回路が形成されると共に前記画像表示面に対応する画素領域と前記画素領域の周囲に前記画素回路と接続された接続端子が形成された端子領域とを有する画素基板と、
    前記画素基板に固定されたフレキシブルプリント配線板と
    を有し、
    前記フレキシブルプリント配線板は、
    前記画素基板に固定された第1端部と、第2端部とを有し、かつ前記第1端部から前記第2端部にかけて延在する帯状の可撓性基板と、
    前記可撓性基板の一方の面に接すると共に前記第1端部から前記第2端部にかけて延在する線状の第1配線層と、
    前記可撓性基板のうち前記第1配線層と同一面に接すると共に前記第1端部から前記第2端部にかけて延在する線状の第2配線層と、
    前記可撓性基板の他方の面に接すると共に前記第1配線層との対向領域のうち前記第1端部近傍に形成された第3配線層と、
    前記可撓性基板のうち前記第3配線層と同一面に接すると共に前記第2配線層との対向領域のうち前記第1端部近傍に形成された第4配線層と、
    前記第1端部、前記第2配線層および前記第4配線層を貫通するスルーホールと、
    前記第2配線層および前記第4配線層のうち前記スルーホール近傍の表面上に形成された第1導電性部材と、
    前記第1配線層および前記第3配線層のうち前記第1端部近傍の表面上に形成された第2導電性部材と、
    前記第1配線層および前記第2導電性部材と前記第2配線層および前記第1導電性部材との間隙と、前記第3配線層および前記第2導電性部材と前記第4配線層および前記第1導電性部材との間隙との間に形成された絶縁層と
    を備えた表示装置。
JP2008159299A 2008-06-18 2008-06-18 フレキシブルプリント配線板、タッチパネル、表示パネルおよび表示装置 Expired - Fee Related JP4711149B2 (ja)

Priority Applications (5)

Application Number Priority Date Filing Date Title
JP2008159299A JP4711149B2 (ja) 2008-06-18 2008-06-18 フレキシブルプリント配線板、タッチパネル、表示パネルおよび表示装置
TW098119582A TWI373995B (en) 2008-06-18 2009-06-11 Flexible printed circuit, touch panel, display panel and display
KR1020090052825A KR20090131647A (ko) 2008-06-18 2009-06-15 플렉시블 프린트 회로, 터치 패널, 표시 패널 및 표시 장치
US12/485,624 US8274634B2 (en) 2008-06-18 2009-06-16 Flexible printed circuit, touch panel, display panel and display
CN2009101461983A CN101610634B (zh) 2008-06-18 2009-06-18 柔性印刷电路板、触摸板、显示面板和显示器

Applications Claiming Priority (1)

Application Number Priority Date Filing Date Title
JP2008159299A JP4711149B2 (ja) 2008-06-18 2008-06-18 フレキシブルプリント配線板、タッチパネル、表示パネルおよび表示装置

Publications (2)

Publication Number Publication Date
JP2010002989A true JP2010002989A (ja) 2010-01-07
JP4711149B2 JP4711149B2 (ja) 2011-06-29

Family

ID=41430729

Family Applications (1)

Application Number Title Priority Date Filing Date
JP2008159299A Expired - Fee Related JP4711149B2 (ja) 2008-06-18 2008-06-18 フレキシブルプリント配線板、タッチパネル、表示パネルおよび表示装置

Country Status (5)

Country Link
US (1) US8274634B2 (ja)
JP (1) JP4711149B2 (ja)
KR (1) KR20090131647A (ja)
CN (1) CN101610634B (ja)
TW (1) TWI373995B (ja)

Cited By (1)

* Cited by examiner, † Cited by third party
Publication number Priority date Publication date Assignee Title
JP2022047630A (ja) * 2020-09-14 2022-03-25 Nkkスイッチズ株式会社 タッチパネル用接続部品、及びタッチパネル

Families Citing this family (37)

* Cited by examiner, † Cited by third party
Publication number Priority date Publication date Assignee Title
TWI374379B (en) 2007-12-24 2012-10-11 Wintek Corp Transparent capacitive touch panel and manufacturing method thereof
JP2011154442A (ja) * 2010-01-26 2011-08-11 Sony Corp センサ素子及び表示装置
TW201102698A (en) * 2010-01-26 2011-01-16 Mastouch Optoelectronics Technologies Co Ltd Single-layer projected capacitive touch panel and fabricating method thereof
US8970508B2 (en) * 2010-02-11 2015-03-03 Lg Display Co., Ltd. Touch screen panel
US8947399B2 (en) 2010-05-11 2015-02-03 Tpk Touch Solutions Inc. Dual-substrate capacitive touch panel
TW201102702A (en) 2010-05-11 2011-01-16 Mastouch Optoelectronics Technologies Co Ltd Capacitive touch panel
WO2011152175A1 (ja) * 2010-05-31 2011-12-08 アルプス電気株式会社 入力装置
US9563315B2 (en) * 2010-11-09 2017-02-07 Tpk Touch Solutions Inc. Capacitive touch panel and method for producing the same
KR20120065008A (ko) * 2010-12-10 2012-06-20 삼성모바일디스플레이주식회사 터치 스크린 패널
TWI471775B (zh) * 2010-12-21 2015-02-01 Wintek Corp 觸控裝置及其製造方法
TWI411843B (zh) 2010-12-30 2013-10-11 Au Optronics Corp 顯示器
JP2012145779A (ja) * 2011-01-12 2012-08-02 Japan Display East Co Ltd 液晶表示装置
JP2013041476A (ja) * 2011-08-17 2013-02-28 Fujitsu Component Ltd フレキシブル基板、及び、タッチパネル
CN106406594B (zh) * 2011-11-27 2019-07-16 宸鸿科技(厦门)有限公司 触控感测装置及其制造方法
JP5753501B2 (ja) * 2012-02-10 2015-07-22 ホシデン株式会社 部品モジュール
TWI437681B (zh) * 2012-03-28 2014-05-11 禾瑞亞科技股份有限公司 觸控晶片的走線
JP6029842B2 (ja) * 2012-03-30 2016-11-24 アルプス電気株式会社 静電容量式入力装置
KR101469487B1 (ko) * 2012-09-18 2014-12-05 엘지디스플레이 주식회사 유기 발광 표시 장치
CN103677368B (zh) * 2012-09-20 2016-11-23 瀚宇彩晶股份有限公司 触控面板与软性电路板的接合结构
US20140085317A1 (en) * 2012-09-27 2014-03-27 Kristopher A. Lavery Transparent multi-layer structure with transparent electrical routing
KR101996988B1 (ko) * 2012-11-22 2019-07-08 엘지이노텍 주식회사 터치 패널
KR101972449B1 (ko) * 2013-01-24 2019-04-25 엘지디스플레이 주식회사 액정표시장치
US9179557B2 (en) * 2013-03-30 2015-11-03 Shenzhen O-Film Tech Co., Ltd. Touch screen and method of producing the same
CN104238806A (zh) * 2013-06-20 2014-12-24 启耀光电股份有限公司 触控显示面板及触控显示装置
US9196584B2 (en) * 2013-07-12 2015-11-24 Panasonic Intellectual Property Management Co., Ltd. Light-emitting device and lighting apparatus using the same
KR101448137B1 (ko) * 2014-02-28 2014-10-08 에스맥 (주) 터치스크린 패널
KR102209305B1 (ko) * 2014-08-14 2021-01-29 엘지전자 주식회사 전도성 필름, 그리고 이를 포함하는 터치 패널 및 디스플레이 장치
CN104200767B (zh) * 2014-09-18 2017-10-31 南京中电熊猫液晶显示科技有限公司 阵列基板、显示装置及其检测方法
JP6322555B2 (ja) * 2014-11-26 2018-05-09 株式会社ジャパンディスプレイ 検出装置及び検出機能付き表示装置
CN106155405B (zh) * 2015-04-28 2024-04-26 安徽精卓光显技术有限责任公司 柔性电路板及应用该柔性电路板的电子设备
JP6605126B2 (ja) 2016-04-13 2019-11-13 アルプスアルパイン株式会社 センサーユニットとそのセンサーユニットを備えた入力装置
US11013128B2 (en) 2016-08-31 2021-05-18 Amosense Co., Ltd Method for manufacturing flexible printed circuit board and flexible printed circuit board manufactured by same
US11307706B2 (en) * 2018-03-23 2022-04-19 Shenzhen Startek Electronic Technology Co., Ltd. FPC connector, touch-sensitive screen and display device
KR102654597B1 (ko) * 2019-07-25 2024-04-04 동우 화인켐 주식회사 터치센서 및 이를 포함하는 윈도우 적층체, 화상 표시 장치
US11462606B2 (en) * 2019-11-27 2022-10-04 Samsung Display Co., Ltd. Display device
CN115132069B (zh) * 2021-03-26 2024-04-19 虹软科技股份有限公司 适用于屏下传感器的柔性显示器
CN117460150B (zh) * 2023-10-31 2025-04-25 武汉华星光电半导体显示技术有限公司 柔性电路板、显示模组以及电子装置

Citations (2)

* Cited by examiner, † Cited by third party
Publication number Priority date Publication date Assignee Title
JP2007072494A (ja) * 2003-12-25 2007-03-22 Nissha Printing Co Ltd タッチパネル
JP2008077574A (ja) * 2006-09-25 2008-04-03 Gunze Ltd タッチパネル及びフレキシブルコネクタ

Family Cites Families (5)

* Cited by examiner, † Cited by third party
Publication number Priority date Publication date Assignee Title
EP1085788A3 (en) * 1999-09-14 2003-01-02 Seiko Epson Corporation Composite flexible wiring board, method of manufacturing the same, electro-optical device, and electronic equipment
WO2001045478A1 (en) * 1999-12-14 2001-06-21 Matsushita Electric Industrial Co. Ltd. Multilayered printed wiring board and production method therefor
JP2002182854A (ja) 2000-12-18 2002-06-28 Hitachi Ltd タッチパネルおよび画面入力型表示装置
JP2005108924A (ja) * 2003-09-29 2005-04-21 Ibiden Co Ltd 多層プリント配線板およびその製造方法
US7095476B2 (en) * 2004-10-15 2006-08-22 Wintek Corporation Liquid crystal module

Patent Citations (2)

* Cited by examiner, † Cited by third party
Publication number Priority date Publication date Assignee Title
JP2007072494A (ja) * 2003-12-25 2007-03-22 Nissha Printing Co Ltd タッチパネル
JP2008077574A (ja) * 2006-09-25 2008-04-03 Gunze Ltd タッチパネル及びフレキシブルコネクタ

Cited By (2)

* Cited by examiner, † Cited by third party
Publication number Priority date Publication date Assignee Title
JP2022047630A (ja) * 2020-09-14 2022-03-25 Nkkスイッチズ株式会社 タッチパネル用接続部品、及びタッチパネル
JP7594272B2 (ja) 2020-09-14 2024-12-04 Nkkスイッチズ株式会社 タッチパネル用接続部品、及びタッチパネル

Also Published As

Publication number Publication date
TWI373995B (en) 2012-10-01
TW201004525A (en) 2010-01-16
JP4711149B2 (ja) 2011-06-29
US8274634B2 (en) 2012-09-25
KR20090131647A (ko) 2009-12-29
CN101610634B (zh) 2012-06-13
US20090315856A1 (en) 2009-12-24
CN101610634A (zh) 2009-12-23

Similar Documents

Publication Publication Date Title
JP4711149B2 (ja) フレキシブルプリント配線板、タッチパネル、表示パネルおよび表示装置
JP5151721B2 (ja) フレキシブルプリント配線板、タッチパネル、表示パネルおよび表示装置
JP4711150B2 (ja) タッチパネルおよび表示装置
JP5163174B2 (ja) タッチパネル及びその製造方法
US8049127B2 (en) Touch panel
JP2015007945A (ja) 端子接続構造及びタッチセンサ内蔵表示装置
JPWO2005017732A1 (ja) 透明タッチパネル及び電子機器
JP2012141690A (ja) 入力装置
US8735730B2 (en) Touch panel and method of manufacturing the same
JP2009099498A (ja) タッチパネル及びタッチパネルの製造方法
US20090051670A1 (en) Liquid crystal display incorporating touch pad
US7746662B2 (en) Touch panel
US8223135B2 (en) Touch panel
JP2008033777A (ja) 電極基板、電極基板の製造方法、表示装置および表示装置の製造方法
JP4893082B2 (ja) タッチパネル
KR101510894B1 (ko) 표시장치용 터치 패널
JP2008242906A (ja) 電子機器
WO2022014161A1 (ja) タッチセンサおよびタッチパネル装置
KR20100001669A (ko) 터치입력장치
JP2006285608A (ja) タッチパネルの製造方法及びタッチパネル
JP2012150780A (ja) 入力装置

Legal Events

Date Code Title Description
A977 Report on retrieval

Free format text: JAPANESE INTERMEDIATE CODE: A971007

Effective date: 20100415

A131 Notification of reasons for refusal

Free format text: JAPANESE INTERMEDIATE CODE: A131

Effective date: 20100511

A521 Written amendment

Free format text: JAPANESE INTERMEDIATE CODE: A523

Effective date: 20100712

A01 Written decision to grant a patent or to grant a registration (utility model)

Free format text: JAPANESE INTERMEDIATE CODE: A01

Effective date: 20110224

A61 First payment of annual fees (during grant procedure)

Free format text: JAPANESE INTERMEDIATE CODE: A61

Effective date: 20110309

FPAY Renewal fee payment (event date is renewal date of database)

Free format text: PAYMENT UNTIL: 20140401

Year of fee payment: 3

R250 Receipt of annual fees

Free format text: JAPANESE INTERMEDIATE CODE: R250

LAPS Cancellation because of no payment of annual fees