JP2010002041A - ディスクブレーキ装置 - Google Patents

ディスクブレーキ装置 Download PDF

Info

Publication number
JP2010002041A
JP2010002041A JP2008163575A JP2008163575A JP2010002041A JP 2010002041 A JP2010002041 A JP 2010002041A JP 2008163575 A JP2008163575 A JP 2008163575A JP 2008163575 A JP2008163575 A JP 2008163575A JP 2010002041 A JP2010002041 A JP 2010002041A
Authority
JP
Japan
Prior art keywords
lining
guide plate
brake device
lining holding
disc brake
Prior art date
Legal status (The legal status is an assumption and is not a legal conclusion. Google has not performed a legal analysis and makes no representation as to the accuracy of the status listed.)
Granted
Application number
JP2008163575A
Other languages
English (en)
Other versions
JP4854709B2 (ja
Inventor
Toshifumi Maehara
利史 前原
Current Assignee (The listed assignees may be inaccurate. Google has not performed a legal analysis and makes no representation or warranty as to the accuracy of the list.)
Akebono Brake Industry Co Ltd
Original Assignee
Akebono Brake Industry Co Ltd
Priority date (The priority date is an assumption and is not a legal conclusion. Google has not performed a legal analysis and makes no representation as to the accuracy of the date listed.)
Filing date
Publication date
Application filed by Akebono Brake Industry Co Ltd filed Critical Akebono Brake Industry Co Ltd
Priority to JP2008163575A priority Critical patent/JP4854709B2/ja
Publication of JP2010002041A publication Critical patent/JP2010002041A/ja
Application granted granted Critical
Publication of JP4854709B2 publication Critical patent/JP4854709B2/ja
Active legal-status Critical Current
Anticipated expiration legal-status Critical

Links

Images

Landscapes

  • Braking Arrangements (AREA)

Abstract

【課題】ライニング本体とディスクロータとの接触面積が低減することを抑止することができるディスクブレーキ装置を得る。
【解決手段】インナ側及びアウタ側の各キャリパ3,5に、2個以上のピストン11が装備されるピストン対向型のディスクブレーキ装置1において、各キャリパ3,5のピストン配置に対応して複数個のライニング保持孔21,22,23が貫通形成されて各キャリパ3,5に固定されるガイドプレート27と、各ライニング保持孔21,22,23の内周に摺動可能に嵌合保持されるライニング保持スプリング31,32,33と、各ライニング保持スプリング31,32,33に保持されるライニング15,16,17とを備える。
【選択図】図1

Description

本発明は、ディスクロータを跨いで対向するインナキャリパ部とアウタキャリパ部が各々にシリンダを有し、各シリンダに装着されたピストンでライニングをディスクロータに押圧して制動力を得るピストン対向型のディスクブレーキ装置に関する。
図12及び図13は、ピストン対向型のディスクブレーキ装置の従来例を示したものである。
ここに示したディスクブレーキ装置100は、下記特許文献1に開示されたもので、車輪と一体回転するディスクロータ101を跨いで対向するインナキャリパ103とアウタキャリパ104の各々が2個のシリンダ106を有している。そして、該ディスクブレーキ装置100は、インナ側及びアウタ側のそれぞれのライニング111,113を、各シリンダ106に装着されたピストン108でディスクロータ101に押圧して、制動力を得る。
各ライニング111,113は、表面がディスクロータ101に押圧される一体構造のライニング本体111a,113aの裏面に、2個のピストン108から押圧力を受ける1枚のプレッシャープレート111b,113bを接着剤により固着させた構成で、プレッシャープレート111b,113bが各キャリパのガイド機構によりディスクロータ101に向かって進退自在に支持される。
特開平5−106661号公報
ところが、上記従来例のように、インナ側及びアウタ側のそれぞれのライニング111,113が、一体構造のライニング本体111a,113aを用いた構成では、ライニング本体111a,113a自体が大型化してしまい、複数個のピストン108で押圧しても、ディスクロータ101の摺動面の凹凸や熱変形によって、摺動面の面圧の均一性を保つことが難しく、その結果、ライニング本体111a,113aとディスクロータ101との接触面積が低減して、接触面積の低減による制動性能の低下を招く虞があった。
また、上記のようにライニング111,113を直接各キャリア103,104に摺動可能に取り付ける構成のディスクブレーキ装置100において、非制動時にライニングの引き摺りの発生を防止するためには、制動解除時にディスクロータ101から離れる方向に各ライニング111,113を引き戻すための戻しばね機構を各キャリア103,104と各ライニング111,113との間に組み込まなければならず、そのための専用の戻しばね機構の組み込みに手間がかかると、ブレーキ装置の組立性の低下を招く虞があった。
更に、近年では資源のリサイクル化のために、使用済みのライニング111,113はライニング本体111a,113aとプレッシャープレート111b,113bとを分離回収することが要求されているが、上記のようにライニング本体111a,113aの裏面に接着剤によりプレッシャープレート111b,113bを固着した構成では、ライニング本体とプレッシャープレートとの分離が困難で、リサイクル化の障害になるという問題もあった。
本発明の目的は上記課題を解消することに係り、ディスクロータの摺動面の凹凸や熱変形によってライニング本体とディスクロータとの接触面積の低減による制動性能の低下を防止することができるディスクブレーキ装置を提供すること、更に、組立性の低下を招くことなく引き摺りの発生を防止でき、また、ライニングのリサイクル化も容易なディスクブレーキ装置を提供することにある。
上記目的は下記構成により達成される。
(1)本発明に係るディスクブレーキ装置は、インナキャリパ部とアウタキャリパ部の各々が2個以上のシリンダを有し、それぞれのシリンダに装着されたピストンでライニングをディスクロータに押圧して制動力を得るピストン対向型のディスクブレーキであって、
複数個のライニング保持孔が貫通形成されて各キャリパに固定されるガイドプレートと、
各ガイドプレートの各ライニング保持孔の内周に沿う略リング状に湾曲成形されると共に、各ライニング保持孔の貫通方向に摺動可能に嵌合保持される複数個のライニング保持スプリングと、
前記ライニング保持スプリングに保持される複数個のライニングとを備え、
前記ライニング保持スプリングは、孔の前記ガイドプレートの板厚分に、制動動作時の前記ライニングの移動分を加算した幅寸法を備えていることを特徴とする。
(2)更に、上記(1)に記載のディスクブレーキ装置において、前記ライニング保持スプリングには、ディスクロータ側に面した前記ガイドプレートの表面に当接して前記ライニング保持スプリングの後退位置を規制する後退規制爪と、前記ガイドプレートの裏面に当接して前記ライニング保持スプリングの進出位置を規制する進出規制爪と、制動解除時に前記後退規制爪が前記ガイドプレートの表面に当接する位置に戻るように前記ガイドプレートの裏面を押圧する戻しスプリング爪とが一体形成されていることを特徴とする。
(3)更に、上記(1)又は(2)に記載のディスクブレーキ装置において、前記ライニング保持スプリングは前記ライニングを進退可能に嵌合していることを特徴とする。
(4)更に、上記(1)〜(3)に記載のディスクブレーキ装置において、各ガイドプレートのライニング保持孔に取り付けられる各ライニングが、表面がディスクロータに押圧されるライニング本体と、該ライニング本体の裏面に嵌合保持されて前記ピストンからの押圧力を受ける補強板とで構成されていることを特徴とする。
上記に記載のディスクブレーキ装置では、制動時には、ピストンから押圧力を受けた各ライニングは、該ライニングを保持しているライニング保持スプリングと一体に、キャリパに固定されているガイドプレートのライニング保持孔上をディスクロータ側に移動して、ディスクロータに押圧されて、制動力を発生する。
そして、ディスクロータに押圧されるライニングは、キャリパに装備される複数個のピストン毎に独立した小型のもので、ピストン毎にディスクロータに押圧されるため、複数個のピストンで一つの一体化したライニング本体をディスクロータに押圧する従来のディスクブレーキ装置と比較すると、ディスクロータの摺動面の凹凸や熱変形によってライニング本体とディスクロータとの接触面積が低減することを抑止することができ、よって、接触面積の低減による制動性能の低下を防止することができる。
また、ガイドプレートのライニング本体を保持するライニング保持スプリングは、ガイドプレートの板厚分に、制動動作時のライニングの移動分を加算した幅寸法を備えているため、制動時のライニング本体の移動動作で、ライニング本体の外周部がガイドプレートに擦れることを防止でき、よって、ガイドプレートとの擦れによってライニング本体の外周面が傷つくことがなく、ライニング本体の外周面の傷つきによる破損を防止することができる。
以下、本発明に係るディスクブレーキ装置の好適な実施の形態について、図面を参照して詳細に説明する。
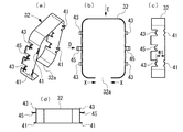
図1は本発明に係るピストン対向型のディスクブレーキ装置の一実施の形態の斜め上方から見た斜視図、図2は図1のA矢視図、図3は図2のB−B断面図,図4は図1に示したインナ側のライニング組立体の裏面側からの斜視図、図5は図4に示したライニング組立体の側面図、図6は図4に示したライニング組立体の正面図、図7は図4に示したライニング組立体の裏面図、図8は図4に示したライニング組立体の分解斜視図である。また、図9(a)は図8に示した第2のライニング本体の正面側からの斜視図、図9(b)は同ライニング本体の裏面側からの斜視図、図10(a)は図8に示した第2のライニング保持スプリングの斜視図、図10(b)は同ライニング保持スプリングの正面図、図10(c)は図10(b)のD矢視図、図10(d)は図10(b)のE矢視図である。また、図11はライニング組立体におけるガイドプレートに対するライニング保持スプリングの位置の説明図で、(a)は初期位置、(b)は制動時の位置、(c)は戻り時の位置の説明図である。
この実施の形態のディスクブレーキ装置1は、所謂ピストン対向型のディスクブレーキ装置で、不図示のディスクロータを跨いで対向するインナキャリパ部3とアウタキャリパ部5の各々が3個のシリンダ7を有し、それぞれのシリンダ7に装着されたピストン11でインナ側及びアウタ側のそれぞれのライニング組立体13をディスクロータ側に移動し、各ライニング組立体13上のライニング15,16,17をディスクロータに押圧して制動力を得る。
各キャリパ3,5に装備される3個のシリンダ7相互は、ディスクロータの周方向に離間して配置されている。
インナ側及びアウタ側のそれぞれのライニング組立体13は、図4乃至図8に示すように、各キャリパ3,5のピストン配置に対応して3個のライニング保持孔21,22,23が貫通形成されてインナ側及びアウタ側の各キャリパ3,5にボルト25により固定されるガイドプレート27と、各ガイドプレート27の各ライニング保持孔21,22,23に嵌合保持されたライニング保持スプリング31,32,33と、ライニング保持スプリング31,32,33に保持されるライニング15,16,17とを備えている。
ライニング保持スプリング31,32,33は、各ガイドプレート27のライニング保持孔21,22,23毎に帯状板材をそれぞれのライニング保持孔の内周に沿う略リング状に湾曲成形して形成されたもので、各ライニング保持孔21,22,23に該孔の貫通方向に摺動可能に嵌合保持されている。
また、各ライニング保持スプリング31,32,33は、図8及び図10(b)に示すように、一部に切り離された離間部31a,32a,33aを有しており、この離間部31a,32a,33aを有していることにより、縮径方向及び拡径方向に弾性変形可能になっている。
各ライニング保持スプリング31,32,33には、ディスクロータ側に面したガイドプレート27の表面27aに当接してライニング15,16,17の後退位置を規制する後退規制爪(規制部材)41と、制動時にディスクロータ側にライニング保持孔21,22,23内を摺動移動した際にガイドプレート27の裏面27bに当接してライニング保持スプリング31,32,33の最大進出位置を規制する進出規制爪(規制部材)43と、制動解除時に後退規制爪41がガイドプレート27の表面27aに当接する位置に戻るようにガイドプレート27の裏面27bを押圧する戻しスプリング爪45と、が一体形成されている。
これらの後退規制爪41、進出規制爪43、戻しスプリング爪45は、帯状板材の両側縁に形成された突片を、折曲げ成形することにより形成されている。
後退規制爪41と進出規制爪43との間の幅寸法W1(図10(c)参照)は、ガイドプレート27の板厚分t(図8参照)に、制動動作時のライニング15,16,17の移動分s(図11参照)を加算した値に設定されている。
即ち、W1=t+sとなっている。
本実施の形態のライニング保持スプリング31,32,33は、図10(b)に矢印Xで示すように、離間部31a,32a,33a側を内側に付勢して、縮径した状態で、ガイドプレート27のライニング保持孔21,22,23に挿通させた状態にし、その状態で縮径状態を解除すると、各スプリングにおける後退規制爪41及び戻しスプリング爪45がライニング保持孔の周縁部を挟持した状態になり、各ライニング保持孔21,22,23に脱落不能に保持される。
そして、ライニング保持孔21,22,23にライニング保持スプリング31,32,33を装着した状態で、各ライニング保持スプリング31,32,33の内側にライニング15,16,17を嵌合装着すると、各ライニング保持スプリング31,32,33が嵌合摩擦力により各ライニング15,16,17を保持し、結果的に、各ライニング保持孔21,22,23にライニング15,16,17が保持された状態になる。
また、ライニング保持スプリング31,32,33は各ライニング15,16,17を進退可能にも嵌合しており、各ライニング15,16,17の磨耗が進行すると、ライニング保持スプリング31,32,33に対して摩耗分進出できるように保持している。
ライニング保持スプリング31,32,33を介してライニング15,16,17をガイドプレート27に装着した初期状態では、戻しスプリング爪45による付勢力により、ライニング保持スプリング31,32,33は、後退規制爪41をガイドプレート27の表面27aに当接させて、最大限に後退した位置にあり、図11(a)に示すように、進出規制爪43と裏面27bとの間には、隙間sが確保されている。
ライニング保持スプリング31,32,33に使用する帯状板材は、バネ特性に優れたものが好ましく、例えば、ばね用の鋼板やステンレス鋼板やりん青銅板などが使用される。
また、本実施の形態における各ライニング15,16,17は、図8に示すように、表面がディスクロータに押圧されるライニング本体15a,16a,17aと、これらのライニング本体15a,16a,17aの裏面に嵌合保持されてピストン11からの押圧力を受ける補強板15b,16b,17bとで構成されている。
ライニング本体15a,16a,17aは、図7及び図9(b)に示すように、その裏面に、補強板15b,16b,17bが嵌合する凹部15c,16c,17cを形成している。
補強板15b,16b,17bは、凹部15c,16c,17cに嵌合することで、ライニング本体15a,16a,17aに一体化される。
以上に説明したディスクブレーキ装置1では、制動時には、キャリパに支持されたピストン11から押圧力を受けた各ライニング15,16,17は、該ライニング15,16,17を保持しているライニング保持スプリング31,32,33と一体に、キャリパに固定されているガイドプレート27のライニング保持孔21,22,23上をディスクロータ側に摺動移動して、ディスクロータに押圧されて、制動力を発生する。
制動時に、ライニング保持スプリング31,32,33が最大限にディスクロータ側に移動した時には、図11(b)に示すように、進出規制爪43がガイドプレート27の裏面27bに当接して、進出規制爪43と裏面27bとの間の隙間sは無くなる。
ライニング保持スプリング31,32,33に保持された各ライニング15,16,17は、更に摩耗が進むと、ライニング保持スプリング31,32,33自体の進出規制爪43による進出規制を受けるが、先に説明したように、ライニング保持スプリング31,32,33に進退可能に嵌合されているため、ライニング保持スプリング31,32,33に対し摩耗分進出できる。
そして、上記構成のディスクブレーキ装置1では、ディスクロータに押圧されるライニング15,16,17は、キャリパに装備される複数個のピストン11毎に独立した小型のもので、ピストン11毎にディスクロータに押圧されるため、複数個のピストンで一つの一体化したライニング本体をディスクロータに押圧する従来のディスクブレーキ装置と比較すると、ディスクロータの摺動面の凹凸や熱変形によってライニング本体15a,16a,17aとディスクロータとの接触面積が低減することを抑止することができ、よって、接触面積の低減による制動性能の低下を防止することができる。
また、ガイドプレート27のライニング保持孔21,22,23内にライニング本体15a,16a,17aを保持するライニング保持スプリング31,32,33は、ガイドプレート27の板厚分tに、制動動作時のライニング15,16,17の移動分sを加算した幅寸法W1を備えているため、制動時のライニング本体15a,16a,17aの移動動作で、ライニング本体15a,16a,17aの外周部がガイドプレート27に擦れることを防止でき、よって、ガイドプレート27との擦れによってライニング本体15a,16a,17aの外周面が傷つくことがなく、ライニング本体15a,16a,17aの外周面の傷つきによる破損を防止することができる。
更に、上記ディスクブレーキ装置1では、制動時にライニング本体15a,16a,17aと一体にライニング保持スプリング31,32,33がディスクロータ側に移動したときに、戻しスプリング爪45がガイドプレート27の裏面27bに押圧されて弾性変形し、制動解除時には、この戻しスプリング爪45の復元力で、ライニング保持スプリング31,32,33がライニング本体15a,16a,17aを保持してディスクロータから離間する方向に引き戻され、図11(c)に示すように、進出規制爪43とガイドプレート27の裏面27bとの間に隙間sが確保された状態に戻る。
そのため、非制動時にライニング本体15a,16a,17aがディスクロータに接触してしまう引き摺りの発生を防止することができる。
そして、制動解除時にライニング本体15a,16a,17aをディスクロータから引き離す戻しスプリング爪45は、ライニング本体15a,16a,17aをライニング保持孔21,22,23に保持させるために、ライニング保持孔21,22,23に装着されるライニング保持スプリング31,32,33に一体形成されたものであるため、部品の増加を招かない。また、ライニング保持スプリング31,32,33は、帯状板材をライニング保持孔21,22,23の内周に沿う略リング状に湾曲成形したもので、先に説明したように、縮径方向に弾性変形させた状態でライニング保持孔21,22,23に挿通させた後、縮径方向の弾性変形を解除することにより、簡単にガイドプレート27に採り付けることができる。
即ち、スプリング爪45を備えたことで、組立性の低下を招く要因である部品の増加や組立て工程の増加などが発生することがない。従って、組立性の低下を招くことなく引き摺りの発生を防止することができる。
また、上記ディスクブレーキ装置1では、ライニング本体15a,16a,17aの裏面に装着されてピストン11からの押圧力を受ける補強板15b,16b,17bは、ライニング本体15a,16a,17aの裏面の凹部15c,16c,17cに嵌合保持されて、使用済みのライニング15,16,17においてライニング本体15a,16a,17aと補強板15b,16b,17bとに分離することが比較的に容易にでき、ライニング15,16,17のリサイクル化も容易になる。
なお、上記実施の形態に示したディスクブレーキ装置1は、インナキャリパ部3及びアウタキャリパ部5のそれぞれに、3個のシリンダ7を備えた構成のピストン対向型のディスクブレーキ装置であった。しかし、各キャリパに装備されるシリンダの数量は、上記実施の形態に限定しない。
即ち、本発明に係るピストン対向型のディスクブレーキ装置において、各キャリパに装備されるシリンダの数量は、任意の数量に設定することが可能で、シリンダ数に相応して、シリンダ毎に独立してライニングを装備するようにすれば良い。
本発明の一実施の形態に係るディスクブレーキ装置の斜め上方から見た斜視図である。 図1のA矢視図である。 図2のB−B断面図である。 図1に示したインナ側のライニング組立体の裏面側からの斜視図である。 図4に示したライニング組立体の側面図である。 図4に示したライニング組立体の正面図である。 図4に示したライニング組立体の裏面図である。 図4に示したライニング組立体の分解斜視図である。 (a)は図8に示した第2のライニング本体の正面側からの斜視図、(b)は同ライニング本体の裏面側からの斜視図である。 (a)は図8に示した第2のライニング保持スプリングの斜視図、(b)は同ライニング保持スプリングの正面図、(c)は(b)のD矢視図、(d)は(b)のE矢視図である。 ライニング組立体におけるガイドプレートに対するライニング保持スプリングの位置の説明図で、(a)は初期位置、(b)は制動時の位置、(c)は戻り時の位置の説明図である。 従来のピストン対向型のディスクブレーキ装置の部分破断平面図である。 図12に示したディスクブレーキ装置の側面図である。
符号の説明
1 ディスクブレーキ装置
3 インナキャリパ部
5 アウタキャリパ部
7 シリンダ
11 ピストン
13 ライニング組立体
15,16,17 ライニング
15a,16a,17a ライニング本体
15b,16b,17b 補強板
15c,16c,17c 凹部
21,22,23 ライニング保持孔
31,32,33 ライニング保持スプリング
31a,32a,33a 離間部
41 後退規制爪(規制部材)
43 進出規制爪(規制部材)
45 戻しスプリング爪

Claims (4)

  1. インナキャリパ部とアウタキャリパ部の各々が2個以上のシリンダを有し、それぞれのシリンダに装着されたピストンでライニングをディスクロータに押圧して制動力を得るピストン対向型のディスクブレーキであって、
    複数個のライニング保持孔が貫通形成されて各キャリパに固定されるガイドプレートと、
    各ガイドプレートの各ライニング保持孔の内周に沿う略リング状に湾曲成形されると共に、各ライニング保持孔の貫通方向に摺動可能に嵌合保持される複数個のライニング保持スプリングと、
    前記ライニング保持スプリングに保持される複数個のライニングとを備え、
    前記ライニング保持スプリングは、前記ガイドプレートの板厚分に、制動動作時の前記ライニングの移動分を加算した幅寸法を備えていることを特徴とするディスクブレーキ装置。
  2. 前記ライニング保持スプリングには、ディスクロータ側に面した前記ガイドプレートの表面に当接して前記ライニング保持スプリングの後退位置を規制する後退規制爪と、前記ガイドプレートの裏面に当接して前記ライニング保持スプリングの進出位置を規制する進出規制爪と、制動解除時に前記後退規制爪が前記ガイドプレートの表面に当接する位置に戻るように前記ガイドプレートの裏面を押圧する戻しスプリング爪と、が一体形成されていることを特徴とする請求項1に記載のディスクブレーキ装置。
  3. 前記ライニング保持スプリングは前記ライニングを進退可能に嵌合していることを特徴とする請求項1又は2に記載のディスクブレーキ装置。
  4. 各ガイドプレートのライニング保持孔に嵌合保持される前記ライニングが、表面がディスクロータに押圧されるライニング本体と、該ライニング本体の裏面に保持されて前記ピストンからの押圧力を受ける補強板とで構成されていることを特徴とする請求項1〜3のいずれか1項に記載のディスクブレーキ装置。
JP2008163575A 2008-06-23 2008-06-23 ディスクブレーキ装置 Active JP4854709B2 (ja)

Priority Applications (1)

Application Number Priority Date Filing Date Title
JP2008163575A JP4854709B2 (ja) 2008-06-23 2008-06-23 ディスクブレーキ装置

Applications Claiming Priority (1)

Application Number Priority Date Filing Date Title
JP2008163575A JP4854709B2 (ja) 2008-06-23 2008-06-23 ディスクブレーキ装置

Publications (2)

Publication Number Publication Date
JP2010002041A true JP2010002041A (ja) 2010-01-07
JP4854709B2 JP4854709B2 (ja) 2012-01-18

Family

ID=41583915

Family Applications (1)

Application Number Title Priority Date Filing Date
JP2008163575A Active JP4854709B2 (ja) 2008-06-23 2008-06-23 ディスクブレーキ装置

Country Status (1)

Country Link
JP (1) JP4854709B2 (ja)

Citations (5)

* Cited by examiner, † Cited by third party
Publication number Priority date Publication date Assignee Title
JPS5012625Y1 (ja) * 1968-05-30 1975-04-18
JPS56148127A (en) * 1980-04-18 1981-11-17 Meidensha Electric Mfg Co Ltd Method of countermeasuring malfunction of breaker of power distribution line
JPH03130927A (ja) * 1989-10-14 1991-06-04 Nikon Corp 記録再生装置
JP2006207655A (ja) * 2005-01-26 2006-08-10 Hitachi Ltd ディスクブレーキおよびブレーキパッド
JP2008106850A (ja) * 2006-10-25 2008-05-08 Akebono Brake Ind Co Ltd ディスクブレーキ用摩擦パッド組立体及び車両用ディスクブレーキ装置

Patent Citations (5)

* Cited by examiner, † Cited by third party
Publication number Priority date Publication date Assignee Title
JPS5012625Y1 (ja) * 1968-05-30 1975-04-18
JPS56148127A (en) * 1980-04-18 1981-11-17 Meidensha Electric Mfg Co Ltd Method of countermeasuring malfunction of breaker of power distribution line
JPH03130927A (ja) * 1989-10-14 1991-06-04 Nikon Corp 記録再生装置
JP2006207655A (ja) * 2005-01-26 2006-08-10 Hitachi Ltd ディスクブレーキおよびブレーキパッド
JP2008106850A (ja) * 2006-10-25 2008-05-08 Akebono Brake Ind Co Ltd ディスクブレーキ用摩擦パッド組立体及び車両用ディスクブレーキ装置

Also Published As

Publication number Publication date
JP4854709B2 (ja) 2012-01-18

Similar Documents

Publication Publication Date Title
JP4715124B2 (ja) ディスクブレーキ用の積層シムと該積層シムを備えるパッドユニット
US9568059B2 (en) Disc brake
US9862362B2 (en) Vehicle disc brake
US20140020989A1 (en) Disc brake
JP4765888B2 (ja) ディスクブレーキ用パッドセット
KR101570632B1 (ko) 철도 차량용 브레이크 라이닝 및 그것을 구비한 디스크 브레이크
US9822832B2 (en) Disc brake device
JP4854709B2 (ja) ディスクブレーキ装置
KR101405205B1 (ko) 차량용 디스크 브레이크
JP2010203559A (ja) フローティングキャリパ型ディスクブレーキ
JP2012072848A (ja) ディスクブレーキおよび摩擦パッド
KR20140036632A (ko) 차량용 캘리퍼 브레이크
JP4844900B2 (ja) ディスクブレーキ
JP5112384B2 (ja) 車両用ディスクブレーキ
JP5988028B2 (ja) ディスクブレーキ及びパッドサポート
JP2009174610A (ja) ディスクブレーキ
JP7213994B2 (ja) ディスクブレーキ
JP2017150589A (ja) ディスクブレーキ
JP3976047B2 (ja) ディスクブレーキ装置
JPH07280004A (ja) ディスクブレーキ
JP2008208970A (ja) ディスクブレーキ装置用パッドスプリング
KR20130029827A (ko) 차량용 브레이크 장치의 캘리퍼
KR101818979B1 (ko) 디스크 브레이크
KR20130048315A (ko) 디스크 브레이크
JP2012167739A (ja) ディスクブレーキ

Legal Events

Date Code Title Description
A621 Written request for application examination

Free format text: JAPANESE INTERMEDIATE CODE: A621

Effective date: 20110307

TRDD Decision of grant or rejection written
A977 Report on retrieval

Free format text: JAPANESE INTERMEDIATE CODE: A971007

Effective date: 20111013

A01 Written decision to grant a patent or to grant a registration (utility model)

Free format text: JAPANESE INTERMEDIATE CODE: A01

Effective date: 20111018

A01 Written decision to grant a patent or to grant a registration (utility model)

Free format text: JAPANESE INTERMEDIATE CODE: A01

A61 First payment of annual fees (during grant procedure)

Free format text: JAPANESE INTERMEDIATE CODE: A61

Effective date: 20111025

FPAY Renewal fee payment (event date is renewal date of database)

Free format text: PAYMENT UNTIL: 20141104

Year of fee payment: 3

R150 Certificate of patent or registration of utility model

Ref document number: 4854709

Country of ref document: JP

Free format text: JAPANESE INTERMEDIATE CODE: R150

Free format text: JAPANESE INTERMEDIATE CODE: R150

R250 Receipt of annual fees

Free format text: JAPANESE INTERMEDIATE CODE: R250

R250 Receipt of annual fees

Free format text: JAPANESE INTERMEDIATE CODE: R250

R250 Receipt of annual fees

Free format text: JAPANESE INTERMEDIATE CODE: R250

R250 Receipt of annual fees

Free format text: JAPANESE INTERMEDIATE CODE: R250

R250 Receipt of annual fees

Free format text: JAPANESE INTERMEDIATE CODE: R250