JP2010001975A - サイレントチェーン - Google Patents

サイレントチェーン Download PDF

Info

Publication number
JP2010001975A
JP2010001975A JP2008161656A JP2008161656A JP2010001975A JP 2010001975 A JP2010001975 A JP 2010001975A JP 2008161656 A JP2008161656 A JP 2008161656A JP 2008161656 A JP2008161656 A JP 2008161656A JP 2010001975 A JP2010001975 A JP 2010001975A
Authority
JP
Japan
Prior art keywords
chain
guide
plate
guide plate
silent chain
Prior art date
Legal status (The legal status is an assumption and is not a legal conclusion. Google has not performed a legal analysis and makes no representation as to the accuracy of the status listed.)
Granted
Application number
JP2008161656A
Other languages
English (en)
Other versions
JP5386116B2 (ja
Inventor
Toshikazu Tokita
俊和 時田
Yukio Yoshida
吉田  幸生
Akio Matsuda
昭雄 松田
Current Assignee (The listed assignees may be inaccurate. Google has not performed a legal analysis and makes no representation or warranty as to the accuracy of the list.)
BorgWarner Inc
Original Assignee
BorgWarner Inc
Priority date (The priority date is an assumption and is not a legal conclusion. Google has not performed a legal analysis and makes no representation as to the accuracy of the date listed.)
Filing date
Publication date
Application filed by BorgWarner Inc filed Critical BorgWarner Inc
Priority to JP2008161656A priority Critical patent/JP5386116B2/ja
Priority to CN200980121646.2A priority patent/CN102057181B/zh
Priority to PCT/US2009/047358 priority patent/WO2009155238A2/en
Priority to US12/997,308 priority patent/US8979691B2/en
Priority to KR1020117000886A priority patent/KR101541703B1/ko
Priority to EP09767548A priority patent/EP2300733B1/en
Publication of JP2010001975A publication Critical patent/JP2010001975A/ja
Application granted granted Critical
Publication of JP5386116B2 publication Critical patent/JP5386116B2/ja
Expired - Fee Related legal-status Critical Current
Anticipated expiration legal-status Critical

Links

Images

Classifications

    • FMECHANICAL ENGINEERING; LIGHTING; HEATING; WEAPONS; BLASTING
    • F16ENGINEERING ELEMENTS AND UNITS; GENERAL MEASURES FOR PRODUCING AND MAINTAINING EFFECTIVE FUNCTIONING OF MACHINES OR INSTALLATIONS; THERMAL INSULATION IN GENERAL
    • F16GBELTS, CABLES, OR ROPES, PREDOMINANTLY USED FOR DRIVING PURPOSES; CHAINS; FITTINGS PREDOMINANTLY USED THEREFOR
    • F16G13/00Chains
    • F16G13/02Driving-chains
    • F16G13/04Toothed chains

Landscapes

  • Engineering & Computer Science (AREA)
  • General Engineering & Computer Science (AREA)
  • Mechanical Engineering (AREA)
  • Devices For Conveying Motion By Means Of Endless Flexible Members (AREA)

Abstract

【課題】 サイレントチェーンにおいて、プリストレス運転後のピッチバランスを均等にし、かつ、走行中にテンショナアームおよびチェーンガイドとの摺動抵抗を低減させる。
【解決手段】 一対の歯部22およびピン孔21を有する多数のリンクプレート2を厚み方向および長手方向に積層して連結ピン3で連結するとともに、連結ピン2にガイドプレート4を取り付けることによりサイレントチェーン1を構成する。この場合において、ガイドプレート4をガイド列Gの幅方向中央位置および幅方向両端位置に配置し、各ガイドプレート4の背部の高さHをリンクプレート2の背部の高さhよりも高くする。
【選択図】 図6

Description

本発明は、一対の歯部およびピン孔を有する多数のリンクプレートを厚み方向および長手方向に積層して連結ピンで連結してなるサイレントチェーンに関し、とくに、プリストレス運転後のピッチバランスを均等にしかつチェーン走行時のテンショナアームおよびチェーンガイドとの摺動抵抗を低減させるための構造の改良に関する。
自動車や自動二輪車等のタイミングチェーンとして、サイレントチェーンが用いられている。サイレントチェーンは、一般に、各々一対の歯部およびピン孔を有する多数のリンクプレートを各ピン孔内に挿入した連結ピンで各々枢支可能に連結するとともに、最外側のリンクプレートの外側にガイドプレートを配置して連結ピンの端部に固着することにより構成されている。ガイドプレートは、サイレントチェーンがスプロケットに巻き付く際にサイレントチェーンをスプロケットに対して位置決めするためのものであり、スプロケットと噛み合う歯部を有していない。
したがって、一般に、サイレントチェーンは、ガイドプレートを含む、チェーン幅方向の複数のリンクプレートからなるガイド列と、ガイドプレートを含まない、チェーン幅方向の複数のリンクプレートからなるノンガイド列とをチェーン長手方向に交互に配列することにより構成されている。
サイレントチェーンの組立後は、サイレントチェーンのリンクプレート間のピッチのばらつきを低減させかつサイレントチェーンの疲労強度を向上させるために、サイレントチェーン全体に過大な引張荷重を作用させるいわゆるプリストレス運転が行われている。
しかしながら、サイレントチェーンにおいては、歯部を有しないガイドプレートの剛性が、歯部を有するリンクプレートの剛性よりも高く、このため、プリストレス運転時に過大な引張荷重が作用すると、リンクプレートのピッチは変化しても、ガイドプレートのピッチはほとんど変化しない。また、この場合、連結ピンの中央付近のリンクプレートについてはピッチの変化が大きいが、連結ピンの端部寄りのリンクプレートについては、ガイドプレートと同様にピッチの変化があまりなく、ピッチバランスが不均等になる。その結果、プリストレス運転後には、連結ピンが湾曲する事象が発生することになる。
その一方、サイレントチェーンの走行中は、サイレントチェーンの背面側部分がテンショナアームおよびチェーンガイドの各チェーン摺動面上を摺動しつつ走行することにより、チェーンの弛み側スパンの弛みが除去されるとともに、張り側スパンの走行がガイドされるようになっている。
ところが、従来のサイレントチェーンにおいては、サイレントチェーンの背面側部分の全面がテンショナアームやチェーンガイドのチェーン摺動面に当接しており、このため、チェーン走行時の摺動抵抗が大きいという欠点がある。
そこで、特開平10−122308号公報に示すサイレントチェーンにおいては、背部高さの高いリンクプレートと、背部高さの低いリンクプレートとを組み合わせることにより構成しており、テンショナアームおよびチェーンガイドとの接触時には、背部高さの高いリンクプレートのみがテンショナアームおよびチェーンガイドの各チェーン摺動面と接触するようになっており、これにより、チェーン走行時の摺動抵抗を低減させている。また、この場合、背部高さの低いリンクプレートの厚みを背部高さの高いリンクプレートの厚みよりも厚くすることで、両リンクプレートの剛性を同程度にしている。
特開平11−182634号公報に示すサイレントチェーンにおいては、リンク列リンクプレートの背部高さを高くし、またはガイド列リンクプレートおよびガイドプレートの各背部高さを高くしており、これにより、テンショナアームおよびチェーンガイドの各チェーン摺動面との摺動抵抗を減少させている。
上述した各公報に記載の発明はいずれも、サイレントチェーンの背部がテンショナアームおよびチェーンガイドと接触する際の摺動抵抗を低減させる観点から、一部のリンクプレート(およびガイドプレート)の背部高さを相対的に高くしている。しかしながら、一部のリンクプレート(およびガイドプレート)の背部高さを高くすることによって、プリストレス運転後のピッチバランスは不均等になる。
特開平10−122308号公報に示すものでは、背部高さの低いリンクプレートの厚みを背部高さの高いリンクプレートの厚みよりも厚くすることで両リンクプレートの剛性を同程度にする旨の記載はあるが、この場合は結局、連結ピンの両端に高剛性のガイドプレートが配置された従来のサイレントチェーンに帰着することになって、プリストレス運転後のピッチバランスは不均等になる。
特開平11−182634号公報に示すものでは、リンク列リンクプレートの背部高さを高くした場合には、ガイド列リンクプレートの剛性が相対的に低くなるため、プリストレス運転後は、ガイド列リンクプレートのピッチの変化が相対的に大きくなって、ピッチバランスが不均等になる。また、ガイド列リンクプレートおよびガイドプレートの各背部高さを高くした場合には、リンク列リンクプレートの剛性が相対的に低くなるため、プリストレス運転後は、リンク列リンクプレートのピッチの変化が相対的に大きくなって、同様に、ピッチバランスが不均等になる。
特開平10−122308号公報(図3および図4参照) 特開平11−182634号公報(図1および図3参照)
本発明は、このような従来の実情に鑑みてなされたもので、本発明が解決しようとする課題は、プリストレス運転後のピッチバランスを均等にできるとともに、走行中にテンショナアームおよびチェーンガイドとの摺動抵抗を低減できるサイレントチェーンを提供する点にある。
請求項1の発明に係るサイレントチェーンは、各々一対の歯部およびピン孔を有し、厚み方向および長手方向に積層されるとともに、連結ピンで各々枢支可能に連結された多数のリンクプレートと、連結ピンに取り付けられ、サイレントチェーンがスプロケットに巻き付く際にサイレントチェーンをスプロケットに対して位置決めするためのガイドプレートとを備えており、ガイドプレートを含むチェーン幅方向の複数のリンクプレートからなるガイド列と、ガイドプレートを含まないチェーン幅方向の複数のリンクプレートからなるノンガイド列とをチェーン長手方向に交互に配列することにより構成されている。ガイドプレートは、ガイド列のチェーン幅方向両端位置およびチェーン幅方向中央位置に配置されており、各ガイドプレートの背部の高さは、ガイド列およびノンガイド列内のリンクプレートの背部の高さよりも高くなっている。
請求項1の発明によれば、ガイドプレートが、ガイド列のチェーン幅方向両端位置のみならず、チェーン幅方向中央位置にも配置されている。この場合、プリストレス運転時には、チェーン幅方向中央位置のガイドプレートによって、連結ピンの中央付近のリンクプレートのピッチ変化が抑えられ、これにより、各リンクプレートのピッチバランスを均等にできる。しかも、この場合には、各ガイドプレートの背部の高さが、ガイド列およびノンガイド列内のリンクプレートの背部の高さよりも高くなっているので、サイレントチェーンがテンショナアームおよびチェーンガイドと接触する際には、ガイドプレートの背部のみがテンショナアームおよびチェーンガイドの各チェーン摺動面上を摺動するので、チェーン走行時の摺動抵抗を低減できる。
請求項2の発明では、請求項1において、ガイドプレートの厚みがリンクプレートの厚みよりも薄くなっている。
ガイドプレートは、サイレントチェーンをスプロケットに対して位置決めする必要から、形状的にリンクプレートよりも剛性が大きくなっているが、請求項2の発明によれば、ガイドプレートの厚みをリンクプレートの厚みよりも薄くしているので、ガイドプレート全体の剛性を下げることがで、これにより、プリストレス運転後のピッチバランスを向上できる。
請求項3の発明では、請求項2において、ガイドプレートがリンクプレートの厚みの60〜70%の厚みを有している。
この場合には、ガイドプレートの剛性をリンクプレートの剛性と同程度にすることができ、これにより、プリストレス運転後のピッチバランスをさらに向上できる。
請求項4の発明では、請求項1ないし3のいずれかにおいて、ガイドプレートが、歯部を有しない概略矩形状のプレートである。
請求項5の発明では、請求項1ないし4のいずれかにおいて、ガイドプレートの少なくとも背部は仕上げ加工されているが、リンクプレートの背部は仕上げ加工されていない。
この場合には、テンショナアームおよびチェーンガイドの各チェーン摺動面と接触するガイドプレートの背部のみに仕上げ加工が施されるので、各チェーン摺動面の摩耗を低減できるとともに、製造コストを低減できる。
本発明に係るサイレントチェーンによれば、ガイドプレートをガイド列のチェーン幅方向両端位置のみならずチェーン幅方向中央位置にも配置するようにしたので、プリストレス運転時には、チェーン幅方向中央位置のガイドプレートによって、連結ピンの中央付近のリンクプレートのピッチ変化が抑えられ、これにより、各リンクプレートのピッチバランスを均等にできる。しかも、この場合には、各ガイドプレートの背部の高さが、ガイド列およびノンガイド列内のリンクプレートの背部の高さよりも高くなっているので、サイレントチェーンがテンショナアームおよびチェーンガイドと接触する際には、ガイドプレートの背部のみがテンショナアームおよびチェーンガイドの各チェーン摺動面上を摺動し、これにより、チェーン走行時の摺動抵抗を低減できる。
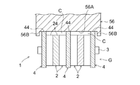
図1ないし図6は、本発明の一実施例によるサイレントチェーンを説明するための図であって、図1は本実施例によるサイレントチェーンを採用するエンジンのカムシャフトタイミングシステムの概略構成図、図2および図3はサイレントチェーンの斜視部分図、図4(a)はリンクプレートの正面図、(b)はその側面図、図5(a)はガイドプレートの正面図、(b)はその側面図、図6は図1のVI-VI 線断面図である。
図1に示すように、本実施例によるサイレントチェーンを採用するエンジンのカムシャフトタイミングシステム100は、クランクシャフト50に取り付けられたクランクスプロケット51と、2本のカムシャフト52,53にそれぞれ取り付けられたカムスプロケット54,55と、これらのスプロケット51,54,55の周りに巻き掛けられたサイレントチェーン1とを備えている。なお、図1中、時計回りの各矢印は各スプロケット51,54,55の回転方向を示している。
サイレントチェーン1の張り側スパンには、チェーン1の走行をガイドするためのチェーンガイド56が配設されている。チェーンガイド56は、その両端側に設けられた固定ボルト56a,56bを介してエンジン側の部材に固定されている。チェーンガイド56は、走行中のチェーン1が摺動するチェーン摺動面56Aと、その左右両側縁部に配設されかつチェーン摺動面56Aから立ち上がる一対のガイド壁部56Bとを有している。
サイレントチェーン1の弛み側スパンには、チェーン1の張力を維持するためのテンショナアーム57が配設されている。テンショナアーム57は、その枢支端側に設けられた枢支ボルト57aを介してエンジン側の部材に揺動自在に取り付けられている。テンショナアーム57の自由端側には、テンショナアーム57に押付力を作用させるテンショナ58が設けられている。テンショナ58のピストンロッド58aの先端は、テンショナアーム57の自由端に当接している。テンショナアーム57は、走行中のチェーン1が摺動するチェーン摺動面57Aと、その左右両側縁部に配設されかつチェーン摺動面57Aから立ち上がる一対のガイド壁部57Bとを有している。
図2および図3に示すように、このサイレントチェーン1は、多数のリンクプレート2を厚み方向(図2矢印A方向)および長手方向(同図矢印B方向)に積層し、これらのリンクプレート2を連結ピン3で各々枢支可能に連結するとともに、その最外側およびチェーン幅方向(同図矢印A方向)中央にガイドプレート4を配置して連結ピン3に取り付けることにより構成されている。最外側のガイドプレート4は、連結ピン3の両端部にかしめ等により固着されている。なお、ここでは、連結ピン3として、断面円形状の丸ピンを例にとって説明するが、本発明は、長短一対のジョイントピンおよびロッカーピンからなるロッカージョイントを用いたサイレントチェーンにも同様に適用可能である。
サイレントチェーン1は、ガイドプレート4と同じチェーン長手方向(図2矢印B方向)位置に配置され、リンクプレート2およびガイドプレート4から構成される複数のガイド列Gと、チェーン長手方向に隣り合う各ガイド列Gの間に配置され、ガイドプレート4を含まず、リンクプレート2のみから構成される複数のノンガイド列Lとを有している。各ガイド列Gおよび各ノンガイド列Lはチェーン長手方向に交互に配置されている。
リンクプレート2は、図4(a)に示すように、一対のピン孔21および歯部22を有している。各ピン孔21には、連結ピン3が挿入される。各歯部22は、図示しないスプロケット歯と噛み合う内側フランク面22aおよび外側フランク面22bからそれぞれ構成されており、各内側フランク面22aはクロック部23を介して連結されている。同図(b)に示すように、リンクプレート2の背部24の高さはhであり、厚みはtである。
ガイドプレート4は、図5(a)に示すように、一対のピン孔41を有する概略矩形状のプレートであって、歯部を有しておらず、その底部には、サイレントチェーン1がスプロケットに巻き付く際に、サイレントチェーン1をスプロケットに対して位置決めするためのガイド部43が形成されている。同図(b)に示すように、ガイドプレート4の背部44の高さはHであって、高さHは、リンクプレート2の背部24の高さhよりも高い(つまりH>h)。また、ガイドプレート4の厚みはTであって、厚みTは、リンクプレート2の厚みtよりも薄い(つまりT<t)。好ましくは、ガイドプレート4の厚みTは、リンクプレート2の厚みtの60〜70%になっている。すなわち、T=(0.6〜0.7)×tになっている。
図6は、ガイドプレート4の中央部を通るチェーン幅方向断面をチェーンガイド56と併せて示している。同図中、ガイド列G内のリンクプレート2およびガイドプレート4は斜線で示されており、これらとチェーン長手方向に隣り合うノンガイド列Lのリンクプレート2は白抜きで示されている。同図に示すように、ガイドプレート4は、ガイド列G内において、最外側の2個所および中央位置の1個所の計3個所に設けられている。また、チェーンガイド56のチェーン摺動面56Aには、ガイドプレート4の背部44のみが当接している。
次に、本実施例の作用効果について説明する。
図2および図3に示すようにサイレントチェーン1を組み立てた後、サイレントチェーン1には、過大な引張荷重をかけるためのプリストレス運転が実行される。このとき、サイレントチェーン1には、ガイドプレート4が、ガイド列Gのチェーン幅方向両端位置のみならず、チェーン幅方向中央位置にも配置されている。
この場合、プリストレス運転時には、チェーン幅方向両端位置のガイドプレート4によって、連結ピン3の両端寄りのリンクプレート2のピッチ変化が抑えられるが、このとき、チェーン幅方向中央位置のガイドプレート4によって、連結ピン3の中央付近のリンクプレート2のピッチ変化も抑えられており、これにより、各リンクプレート2のピッチバランスを均等にできる。しかも、この場合には、ガイドプレート4の厚みTをリンクプレート2の厚みtよりも薄くしたので、ガイドプレート4の剛性を下げることができ(とくに、厚みTを厚みtの60〜70%にした場合には、ガイドプレート4の剛性をリンクプレート2の剛性と同程度にすることができ)、プリストレス運転時のピッチバランスをさらに向上できる。
また、サイレントチェーン1の運転時には、サイレントチェーン1は、チェーンガイド56およびテンショナアーム57上を摺動しつつ走行する。
ここで、サイレントチェーン1とチェーンガイド56との接触状態を図6を用いて説明する。同図に示すように、サイレントチェーン1がチェーンガイド56上を走行する際には、チェーンガイド56のチェーン摺動面56Aには、サイレントチェーン1のガイドプレート4の背部44のみが接触しており、リンクプレート2の背部24はチェーン摺動面56Aに接触していない。また、チェーンガイド56上のサイレントチェーン1の走行は、チェーン摺動面56Aの左右両側縁部の各ガイド壁部56Bがガイドプレート4の移動をガイドすることにより、ガイドされる。
この場合には、各ガイドプレート4の背部44の高さが、ガイド列Gおよびノンガイド列L内のリンクプレート2の背部24の高さよりも高くなっているので、サイレントチェーン1がチェーンガイド56と接触する際には、ガイドプレート4の背部44のみがチェーンガイド56のチェーン摺動面56A上を摺動することになり、これにより、チェーン走行時の摺動抵抗を低減でき、フリクションロスを低減できる。
なお、リンクプレート2およびガイドプレート4の製作時においては、リンクプレート2の背部24には仕上げ加工を施さずに、ガイドプレート4の少なくとも背部44にのみ仕上げ加工(例えばファインブランキングによる打抜き加工)を施すようにしてもよい。
この場合、サイレントチェーン1の製造コストを低減できるとともに、ガイドプレート4の背部44が摺動するチェーンガイド56およびテンショナアーム57の各チェーン摺動面56A、57Aの摩耗を低減できる。
また、サイレントチェーン1がチェーンガイド56およびテンショナアーム57の各チェーン摺動面56A、57Aと接触しているとき、サイレントチェーン1のリンクプレート2の背部24とチェーン摺動面56A、57Aとの間には、隙間C(図6参照)が形成されているので、この隙間Cによって、サイレントチェーン背面部とチェーン摺動面56A、57Aとの間で発生した熱を各チェーン摺動面56A、57Aの外に放出させることができ、これにより、発熱を抑えることができ、オイルの酸化を防止できる。また、この隙間C内に新鮮なオイルを供給することができるので、オイルの劣化を防止できる。
前記実施例では、ガイドプレート4として、つま先部を有しない概略矩形状のガイドプレートを例にとって説明したが、本発明が適用されるガイドプレートとしては、上側につま先部を有するいわゆる低剛性ガイドプレートであってもよい。
本発明の一実施例によるサイレントチェーンを採用するエンジンのカムシャフトタイミングシステムの概略構成図である。 本発明の一実施例によるサイレントチェーンを背部側から見た斜視部分図である。 サイレントチェーン(図2)を底部側から見た斜視部分図である。 (a)はサイレントチェーンを構成するリンクプレートの正面拡大図、(b)はその側面拡大図である。 (a)はサイレントチェーンを構成するガイドプレートの正面拡大図、(b)はその側面拡大図である。 サイレントチェーンとチェーンガイドとの接触状態を説明するための図であって、図1のVI-VI線断面に相当する図である。
符号の説明
1: サイレントチェーン

2: リンクプレート
21: ピン孔
22: 歯部
24: 背部
h: 背部高さ
t: 厚み
L: ノンガイド列

3: 連結ピン

4: ガイドプレート
41: ピン孔
44: 背部
H: 背部高さ
T: 厚み
G: ガイド列

51、54、55: スプロケット

56: チェーンガイド
56A: チェーン摺動面
56B: ガイド部

57: テンショナアーム
57A: チェーン摺動面
57B: ガイド部

A: 厚み方向
B: 長手方向

Claims (5)

  1. サイレントチェーンにおいて、
    各々一対の歯部およびピン孔を有し、厚み方向および長手方向に積層されるとともに、連結ピンで各々枢支可能に連結された多数のリンクプレートと、
    連結ピンに取り付けられ、サイレントチェーンがスプロケットに巻き付く際にサイレントチェーンをスプロケットに対して位置決めするためのガイドプレートとを備え、
    サイレントチェーンが、ガイドプレートを含む、チェーン幅方向の複数のリンクプレートからなるガイド列と、ガイドプレートを含まない、チェーン幅方向の複数のリンクプレートからなるノンガイド列とをチェーン長手方向に交互に配列することにより構成されるとともに、
    ガイドプレートが、ガイド列のチェーン幅方向両端位置およびチェーン幅方向中央位置に配置されるとともに、各ガイドプレートの背部の高さが、ガイド列およびノンガイド列内のリンクプレートの背部の高さよりも高くなっている、
    ことを特徴とするサイレントチェーン。
  2. 請求項1において、
    ガイドプレートの厚みがリンクプレートの厚みよりも薄くなっている、
    ことを特徴とするサイレントチェーン。
  3. 請求項2において、
    ガイドプレートが、リンクプレートの厚みの60〜70%の厚みを有している、
    ことを特徴とするサイレントチェーン。
  4. 請求項1ないし3のいずれかにおいて、
    ガイドプレートが、歯部を有しない概略矩形状のプレートである、
    ことを特徴とするサイレントチェーン。
  5. 請求項1ないし4のいずれかにおいて、
    ガイドプレートの少なくとも背部が仕上げ加工されており、リンクプレートの背部は仕上げ加工されていない、
    ことを特徴とするサイレントチェーン。
JP2008161656A 2008-06-20 2008-06-20 サイレントチェーン Expired - Fee Related JP5386116B2 (ja)

Priority Applications (6)

Application Number Priority Date Filing Date Title
JP2008161656A JP5386116B2 (ja) 2008-06-20 2008-06-20 サイレントチェーン
CN200980121646.2A CN102057181B (zh) 2008-06-20 2009-06-15 无声链
PCT/US2009/047358 WO2009155238A2 (en) 2008-06-20 2009-06-15 Silent chain
US12/997,308 US8979691B2 (en) 2008-06-20 2009-06-15 Silent chain
KR1020117000886A KR101541703B1 (ko) 2008-06-20 2009-06-15 사일런트 체인
EP09767548A EP2300733B1 (en) 2008-06-20 2009-06-15 Silent chain

Applications Claiming Priority (1)

Application Number Priority Date Filing Date Title
JP2008161656A JP5386116B2 (ja) 2008-06-20 2008-06-20 サイレントチェーン

Publications (2)

Publication Number Publication Date
JP2010001975A true JP2010001975A (ja) 2010-01-07
JP5386116B2 JP5386116B2 (ja) 2014-01-15

Family

ID=41434676

Family Applications (1)

Application Number Title Priority Date Filing Date
JP2008161656A Expired - Fee Related JP5386116B2 (ja) 2008-06-20 2008-06-20 サイレントチェーン

Country Status (6)

Country Link
US (1) US8979691B2 (ja)
EP (1) EP2300733B1 (ja)
JP (1) JP5386116B2 (ja)
KR (1) KR101541703B1 (ja)
CN (1) CN102057181B (ja)
WO (1) WO2009155238A2 (ja)

Cited By (3)

* Cited by examiner, † Cited by third party
Publication number Priority date Publication date Assignee Title
JP2012082929A (ja) * 2010-10-14 2012-04-26 Nissan Motor Co Ltd 無段変速伝動機構
DE102013205477A1 (de) 2012-04-04 2013-10-10 Tsubakimoto Chain Co. Geräuscharme Kette
WO2020194412A1 (ja) * 2019-03-22 2020-10-01 大同工業株式会社 チェーン伝動装置

Families Citing this family (7)

* Cited by examiner, † Cited by third party
Publication number Priority date Publication date Assignee Title
JP5520428B2 (ja) * 2009-08-31 2014-06-11 ボーグワーナー インコーポレーテッド サイレントチェーン
JP5421448B1 (ja) * 2012-11-22 2014-02-19 大同工業株式会社 サイレントチェーン及びサイレントチェーン伝動装置
WO2016028421A2 (en) * 2014-08-22 2016-02-25 Schaeffler Technologies AG & Co. KG High strength inverted tooth chain having a press-fit middle plate
DE202015003932U1 (de) * 2015-05-29 2015-06-19 Iwis Motorsysteme Gmbh & Co. Kg Gelenkkette mit Dehnungs-Außenlasche
US10359097B2 (en) * 2016-06-07 2019-07-23 Hall Labs Llc Silent chain profile for linear movement
KR101937780B1 (ko) 2016-12-29 2019-01-15 유신정밀공업 주식회사 사일런트 체인
DE102017116245A1 (de) * 2017-07-19 2019-01-24 Schaeffler Technologies AG & Co. KG Kette eines Kettentriebs, die über Mittellaschen geführt ist

Citations (3)

* Cited by examiner, † Cited by third party
Publication number Priority date Publication date Assignee Title
JPH10122308A (ja) * 1996-09-30 1998-05-15 Borg Warner Automot Inc サイレントチェーン
JPH11182634A (ja) * 1997-12-16 1999-07-06 Tsubakimoto Chain Co サイレントチェーン
JP2006132637A (ja) * 2004-11-04 2006-05-25 Tsubakimoto Chain Co サイレントチェーン

Family Cites Families (42)

* Cited by examiner, † Cited by third party
Publication number Priority date Publication date Assignee Title
US1840081A (en) * 1926-10-14 1932-01-05 Chrysler Corp Chain
US1956942A (en) * 1929-08-17 1934-05-01 Whitney Mfg Co Chain drive and chain for use thereon
US2525561A (en) * 1946-09-05 1950-10-10 Link Belt Co Drive chain
US2718153A (en) * 1953-06-02 1955-09-20 George A Dean Drive mechanism
US2770977A (en) * 1953-11-27 1956-11-20 Continental Gummi Werke Ag Belt transmissions
US3120409A (en) * 1962-04-23 1964-02-04 Charles T Beall Belt drive for track type tractor
GB1283520A (en) * 1969-07-29 1972-07-26 Honda Motor Co Ltd Improvements in or relating to silent chain transmissions
US3597985A (en) * 1970-02-05 1971-08-10 Borg Warner Flexible power transmission drive
JPS6422308A (en) 1987-07-20 1989-01-25 Organo Kk Hollow yarn module using crimped hollow yarn
DE3909950C2 (de) * 1989-03-25 1993-12-23 Breco Kunststoff Riementrieb bestehend aus einem Zahnriemen und einer Zahnscheibe
DE3909949C2 (de) * 1989-03-25 1993-12-23 Breco Kunststoff Riementrieb bestehend aus einem Zahnriemen und einer Zahnscheibe
US5170883A (en) * 1990-05-29 1992-12-15 The Laitram Corporation Laminated metal sprocket for plastic modular conveyor belts and methods of operating belt systems
US5427580A (en) * 1992-05-19 1995-06-27 Borg-Warner Automotive, Inc. Phased chain assemblies
US5456638A (en) * 1994-07-21 1995-10-10 Osborn; Merritt A. Composite gear with restraining member
JP3271892B2 (ja) * 1996-03-18 2002-04-08 本田技研工業株式会社 サイレントチェーン
EP0926394B1 (en) * 1997-12-25 2003-04-02 Tsubakimoto Chain Co. Double-meshing-type silent chain and sprocket for meshing with the chain along outer circumference thereof
US6106425A (en) * 1998-09-18 2000-08-22 Borg-Warner Automotive, Inc. Single assembly phased chain
US6364800B1 (en) * 1998-09-21 2002-04-02 Borgwarner Inc. Interior guided chain system for lateral chain control
GB2348261B (en) * 1998-12-24 2002-12-18 Tsubakimoto Chain Co Double-meshing-type silent chain drive and sprocket used therein
JP3468456B2 (ja) * 1999-07-14 2003-11-17 本田技研工業株式会社 車両用動力伝達装置の停止制御装置
DE10019458A1 (de) * 2000-04-19 2001-12-20 Winklhofer & Soehne Gmbh Kettentrieb, insbesondere Nockenwellen/Nockenwellentrieb für einen Kraftfahrzeugmotor
JP2001349384A (ja) * 2000-06-05 2001-12-21 Borg Warner Automotive Kk 背面駆動型サイレントチェーン
JP3878796B2 (ja) * 2000-06-14 2007-02-07 本田技研工業株式会社 軸受構造
JP3226039B1 (ja) * 2000-08-29 2001-11-05 株式会社椿本チエイン 両面噛み合い型サイレントチェーン
DE10139123A1 (de) 2000-09-06 2002-03-14 Luk Lamellen & Kupplungsbau Laschenkette
JP2002130385A (ja) * 2000-10-26 2002-05-09 Tsubakimoto Chain Co 耐摩耗伸びサイレントチェーン
JP2002235813A (ja) * 2001-02-09 2002-08-23 Tsubakimoto Chain Co サイレントチェーン、サイレントチェーン用スプロケット、及びサイレントチェーン伝動装置
US6575861B2 (en) * 2001-03-30 2003-06-10 Borgwarner, Inc. Sprocket and chain for limiting chordal fall motion
JP2003166600A (ja) * 2001-11-30 2003-06-13 Tsubakimoto Chain Co サイレントチェーン
JP3734760B2 (ja) * 2002-03-12 2006-01-11 ボルグワーナー・モールステック・ジャパン株式会社 サイレントチェーン
US6939260B2 (en) * 2002-04-16 2005-09-06 Tesma International Inc. Silent drive chain assembly having flexible links
WO2003095867A1 (en) * 2002-05-06 2003-11-20 Cloyes Gear And Products, Inc. Cushioned sprocket and improved inverted tooth chain for use with same
JP3954928B2 (ja) * 2002-08-20 2007-08-08 本田技研工業株式会社 車両の動力伝達装置
US20040166978A1 (en) * 2002-10-24 2004-08-26 Borgwarner Morse Tec Japan K.K. Silent chain and method of producing the same
US20050049098A1 (en) * 2003-08-28 2005-03-03 Borgwarner Inc. High-performance silent chain
US7789783B2 (en) * 2004-09-24 2010-09-07 Cloyes Gear And Products, Inc. Inverted tooth chain system with inside flank engagement
JP2006144852A (ja) * 2004-11-17 2006-06-08 Tsubakimoto Chain Co サイレントチェーン
JP3980033B2 (ja) * 2005-03-16 2007-09-19 株式会社椿本チエイン サイレントチェーン
JP2007092798A (ja) * 2005-09-27 2007-04-12 Tsubakimoto Chain Co サイレントチェーン
JP2007187181A (ja) * 2006-01-11 2007-07-26 Tsubakimoto Chain Co サイレントチェーン
JP4498385B2 (ja) * 2007-05-22 2010-07-07 ジヤトコ株式会社 オイルポンプ駆動機構
JP4832378B2 (ja) * 2007-08-08 2011-12-07 株式会社椿本チエイン サイレントチェーン

Patent Citations (3)

* Cited by examiner, † Cited by third party
Publication number Priority date Publication date Assignee Title
JPH10122308A (ja) * 1996-09-30 1998-05-15 Borg Warner Automot Inc サイレントチェーン
JPH11182634A (ja) * 1997-12-16 1999-07-06 Tsubakimoto Chain Co サイレントチェーン
JP2006132637A (ja) * 2004-11-04 2006-05-25 Tsubakimoto Chain Co サイレントチェーン

Cited By (9)

* Cited by examiner, † Cited by third party
Publication number Priority date Publication date Assignee Title
JP2012082929A (ja) * 2010-10-14 2012-04-26 Nissan Motor Co Ltd 無段変速伝動機構
DE102013205477A1 (de) 2012-04-04 2013-10-10 Tsubakimoto Chain Co. Geräuscharme Kette
DE102013205477B4 (de) 2012-04-04 2023-01-19 Tsubakimoto Chain Co. Zahnkettte
WO2020194412A1 (ja) * 2019-03-22 2020-10-01 大同工業株式会社 チェーン伝動装置
CN113574291A (zh) * 2019-03-22 2021-10-29 大同工业株式会社 链条传动装置
KR20210138715A (ko) * 2019-03-22 2021-11-19 다이도고교가부시키가이샤 체인 전동 장치
US11927244B2 (en) 2019-03-22 2024-03-12 Daido Kogyo Co., Ltd. Chain transmission device
KR102648862B1 (ko) * 2019-03-22 2024-03-19 다이도고교가부시키가이샤 체인 전동 장치
CN113574291B (zh) * 2019-03-22 2024-03-29 大同工业株式会社 链条传动装置

Also Published As

Publication number Publication date
WO2009155238A2 (en) 2009-12-23
US20110224041A1 (en) 2011-09-15
EP2300733B1 (en) 2012-09-05
US8979691B2 (en) 2015-03-17
WO2009155238A3 (en) 2010-03-11
KR101541703B1 (ko) 2015-08-04
KR20110020911A (ko) 2011-03-03
CN102057181A (zh) 2011-05-11
JP5386116B2 (ja) 2014-01-15
EP2300733A4 (en) 2011-11-16
EP2300733A2 (en) 2011-03-30
CN102057181B (zh) 2015-07-15

Similar Documents

Publication Publication Date Title
JP5386116B2 (ja) サイレントチェーン
JP5259775B2 (ja) 動力伝達チェーン
CN101563552B (zh) 无声链
JP5675059B2 (ja) サイレントチェーン
JP5944200B2 (ja) サイレントチェーン
JP5520428B2 (ja) サイレントチェーン
JP5626805B2 (ja) サイレントチェーン
JP4420946B2 (ja) 両面噛合い型サイレントチェーン
JP2006144852A (ja) サイレントチェーン
US9347523B2 (en) Chain
JP6200302B2 (ja) チェーン
JP4762294B2 (ja) ブシュ付きサイレントチェーン
JP2010276043A (ja) 防振型サイレントチェーン
JP2007187181A (ja) サイレントチェーン
JP6374727B2 (ja) サイレントチェーン伝動装置
JP6071057B2 (ja) チェーン伝動装置
JP2015121292A (ja) チェーン
JP5570120B2 (ja) リンクプレートチェーン
JP2007100881A (ja) サイレントチェーン
JP2016038005A (ja) サイレントチェーン伝動装置

Legal Events

Date Code Title Description
A621 Written request for application examination

Free format text: JAPANESE INTERMEDIATE CODE: A621

Effective date: 20110425

A521 Request for written amendment filed

Free format text: JAPANESE INTERMEDIATE CODE: A523

Effective date: 20120329

A131 Notification of reasons for refusal

Free format text: JAPANESE INTERMEDIATE CODE: A131

Effective date: 20130226

A977 Report on retrieval

Free format text: JAPANESE INTERMEDIATE CODE: A971007

Effective date: 20130228

TRDD Decision of grant or rejection written
A01 Written decision to grant a patent or to grant a registration (utility model)

Free format text: JAPANESE INTERMEDIATE CODE: A01

Effective date: 20130924

A61 First payment of annual fees (during grant procedure)

Free format text: JAPANESE INTERMEDIATE CODE: A61

Effective date: 20131007

R150 Certificate of patent or registration of utility model

Ref document number: 5386116

Country of ref document: JP

Free format text: JAPANESE INTERMEDIATE CODE: R150

Free format text: JAPANESE INTERMEDIATE CODE: R150

R250 Receipt of annual fees

Free format text: JAPANESE INTERMEDIATE CODE: R250

R250 Receipt of annual fees

Free format text: JAPANESE INTERMEDIATE CODE: R250

R250 Receipt of annual fees

Free format text: JAPANESE INTERMEDIATE CODE: R250

R250 Receipt of annual fees

Free format text: JAPANESE INTERMEDIATE CODE: R250

R250 Receipt of annual fees

Free format text: JAPANESE INTERMEDIATE CODE: R250

LAPS Cancellation because of no payment of annual fees