JP2010001070A - 鉄筋結束機 - Google Patents

鉄筋結束機 Download PDF

Info

Publication number
JP2010001070A
JP2010001070A JP2009028658A JP2009028658A JP2010001070A JP 2010001070 A JP2010001070 A JP 2010001070A JP 2009028658 A JP2009028658 A JP 2009028658A JP 2009028658 A JP2009028658 A JP 2009028658A JP 2010001070 A JP2010001070 A JP 2010001070A
Authority
JP
Japan
Prior art keywords
wire
guide
guide pin
binding machine
pin
Prior art date
Legal status (The legal status is an assumption and is not a legal conclusion. Google has not performed a legal analysis and makes no representation as to the accuracy of the status listed.)
Granted
Application number
JP2009028658A
Other languages
English (en)
Other versions
JP5126101B2 (ja
Inventor
Ichiro Kusakari
一郎 草刈
Current Assignee (The listed assignees may be inaccurate. Google has not performed a legal analysis and makes no representation or warranty as to the accuracy of the list.)
Max Co Ltd
Original Assignee
Max Co Ltd
Priority date (The priority date is an assumption and is not a legal conclusion. Google has not performed a legal analysis and makes no representation as to the accuracy of the date listed.)
Filing date
Publication date
Application filed by Max Co Ltd filed Critical Max Co Ltd
Priority to JP2009028658A priority Critical patent/JP5126101B2/ja
Priority to TW098113998A priority patent/TWI494490B/zh
Priority to TW103143617A priority patent/TWI530608B/zh
Priority to TW105101348A priority patent/TWI605181B/zh
Priority to EP14001797.1A priority patent/EP2789771B1/en
Priority to DK09005934.6T priority patent/DK2123849T3/da
Priority to ES09005934.6T priority patent/ES2498675T3/es
Priority to EP09005934.6A priority patent/EP2123849B1/en
Priority to PL09005934T priority patent/PL2123849T3/pl
Priority to EP15000795.3A priority patent/EP2927392B1/en
Priority to PT90059346T priority patent/PT2123849E/pt
Priority to CA2665028A priority patent/CA2665028C/en
Priority to US12/465,887 priority patent/US8127803B2/en
Priority to BRPI0901500-0A priority patent/BRPI0901500B1/pt
Priority to RU2009118695/02A priority patent/RU2491145C2/ru
Priority to ARP090101775A priority patent/AR071821A1/es
Priority to CL2009001209A priority patent/CL2009001209A1/es
Priority to KR1020090043709A priority patent/KR101567604B1/ko
Priority to CN2009102030833A priority patent/CN101585422B/zh
Priority to PCT/JP2009/059220 priority patent/WO2009142215A1/ja
Publication of JP2010001070A publication Critical patent/JP2010001070A/ja
Application granted granted Critical
Publication of JP5126101B2 publication Critical patent/JP5126101B2/ja
Priority to CY20141100785T priority patent/CY1115603T1/el
Priority to KR1020150152891A priority patent/KR101666766B1/ko
Active legal-status Critical Current
Anticipated expiration legal-status Critical

Links

Images

Classifications

    • EFIXED CONSTRUCTIONS
    • E04BUILDING
    • E04GSCAFFOLDING; FORMS; SHUTTERING; BUILDING IMPLEMENTS OR AIDS, OR THEIR USE; HANDLING BUILDING MATERIALS ON THE SITE; REPAIRING, BREAKING-UP OR OTHER WORK ON EXISTING BUILDINGS
    • E04G21/00Preparing, conveying, or working-up building materials or building elements in situ; Other devices or measures for constructional work
    • E04G21/12Mounting of reinforcing inserts; Prestressing
    • E04G21/122Machines for joining reinforcing bars
    • EFIXED CONSTRUCTIONS
    • E04BUILDING
    • E04GSCAFFOLDING; FORMS; SHUTTERING; BUILDING IMPLEMENTS OR AIDS, OR THEIR USE; HANDLING BUILDING MATERIALS ON THE SITE; REPAIRING, BREAKING-UP OR OTHER WORK ON EXISTING BUILDINGS
    • E04G21/00Preparing, conveying, or working-up building materials or building elements in situ; Other devices or measures for constructional work
    • E04G21/12Mounting of reinforcing inserts; Prestressing
    • E04G21/122Machines for joining reinforcing bars
    • E04G21/123Wire twisting tools
    • YGENERAL TAGGING OF NEW TECHNOLOGICAL DEVELOPMENTS; GENERAL TAGGING OF CROSS-SECTIONAL TECHNOLOGIES SPANNING OVER SEVERAL SECTIONS OF THE IPC; TECHNICAL SUBJECTS COVERED BY FORMER USPC CROSS-REFERENCE ART COLLECTIONS [XRACs] AND DIGESTS
    • Y10TECHNICAL SUBJECTS COVERED BY FORMER USPC
    • Y10TTECHNICAL SUBJECTS COVERED BY FORMER US CLASSIFICATION
    • Y10T29/00Metal working
    • Y10T29/51Plural diverse manufacturing apparatus including means for metal shaping or assembling
    • Y10T29/5102Binding or covering and cutting
    • Y10T29/5103Cutting covering material only

Landscapes

  • Engineering & Computer Science (AREA)
  • Architecture (AREA)
  • Mechanical Engineering (AREA)
  • Civil Engineering (AREA)
  • Structural Engineering (AREA)
  • Basic Packing Technique (AREA)
  • Wire Processing (AREA)
  • Processing Of Stones Or Stones Resemblance Materials (AREA)
  • Winding, Rewinding, Material Storage Devices (AREA)

Abstract

【課題】ワイヤに対して高い精度で巻き癖を付ける。
【解決手段】ワイヤ5のガイド部6で巻き癖を付けて鉄筋7のまわりに送り出してその周囲に巻き回した後にワイヤ5の元側を切断するとともに、巻き回した部分を捩って結束する鉄筋結束機において、ガイド部6には、ワイヤ5の送りをガイドする案内管8の端部と、所定量のワイヤ5を送り出した後に切断するためのワイヤ切断機構11と、ワイヤ切断機構11から送られたワイヤ5を湾曲させるカールガイド12とを順に配置し、案内管8の端部又はその近傍に、ワイヤ5の曲げの外側と内側となる外側面と内側面とをそれぞれガイドする第1のガイドピン23と第2のガイドピン24とを配置し、カールガイド12の先端内側にはワイヤ5の曲げの外側面をガイドする第3のガイドピン25を設け、ワイヤ5の送り時に第1〜第3のガイドピン23〜25にワイヤ5を接触させる。
【選択図】図4

Description

本発明は、ワイヤリールから引き出したワイヤを結束機本体の先端に設けたガイド部に送り、該ガイド部でワイヤに巻き癖を付けてガイド部の内側に配置された鉄筋のまわりに送り出してその周囲にループ状に巻き回した後に捩って鉄筋を結束する鉄筋結束機に関する。
鉄筋結束用のワイヤはワイヤリールから引き出されて結束機先端のガイド部からカールした状態で送り出されて鉄筋のまわりにループ状に巻き回されるように構成されているが、ガイド部ではカール状に巻き癖を付けて送り出す必要がある。このように巻き癖を付けるには少なくとも3点が必要となる。
すなわち、ガイド部には、ワイヤリールからのワイヤの送りをガイドする案内管の端部と、所定量のワイヤを送り出した後に切断するためのワイヤ切断機構と、ワイヤ切断機構から送られたワイヤを湾曲させるカールガイドの3つの部品が順に配置されている(特許文献1参照)。そして、これらの3部品にはワイヤの切断、ワイヤのガイドなどの機能があり、これらをポイント的に利用して癖付けをしていた。
特許第496463号公報
しかしながら、上記構成によれば次のような問題があった。
上記3つの部品は複雑な形状になっているほか、部品寸法のバラつきや、部品の取付位置にバラつきが出やすい。このため、ガイド部から送り出されたワイヤのカール径が小さくなりすぎてフックがワイヤを掴めないとか、カール径が大きくなりすぎて、ループ状に周回して戻ってきたワイヤの端部がガイド部のカール拾いこみガイドに入らないとかの問題が発生する恐れがある。したがって、寸法管理が非常に面倒で部品コストが高くなってしまうという問題がある。
また、巻き癖を付ける3部品は鉄製のワイヤによって常に擦られているため磨耗してしまい、特に、ワイヤをカール状に癖付けする部分は磨耗が激しく、磨耗の進行はワイヤの送り抵抗を大きくしてワイヤ送りの円滑性を低下させ、また、使用を繰り返すうちに癖付けが弱まり、ワイヤのカール径が大きくなっていくので、ワイヤのガイドのために部品交換をしなければならない。部品を硬化処理して対応することは可能であるが、部品の形状が複雑なので、材質(硬さ)の選択が限られてしまう。
さらに、ワイヤの癖付けのためには、必ず1点はワイヤの内側(カールの内側となる部分)に配置しなければならない。この部分がワイヤの切断機構の先に配置されると、ワイヤの切りカスがガイド部に残ってしまうことがある。この場合、知らずに次の結束作業をすると、ガイド部で次のワイヤが詰まってしまい、取出しが面倒になる。
本発明は上記問題点を解消し、ワイヤに対して高い精度で巻き癖を付けることができる鉄筋結束機を提供することをその課題とする。
上記課題を解決するため、請求項1に係る発明は、鉄筋を結束する結束機本体に装着したワイヤリールからワイヤを引き出して結束機本体の先端に設けたガイド部に送り、該ガイド部でワイヤに巻き癖を付けてガイド部の内側に配置された鉄筋のまわりに送り出してその周囲に巻き回した後にワイヤの元側を切断するとともに、巻き回した部分を捩って上記鉄筋を結束する鉄筋結束機において、上記ガイド部には、ワイヤリールからのワイヤの送りをガイドする案内管の端部と、所定量のワイヤを送り出した後に切断するためのワイヤ切断機構と、ワイヤ切断機構から送られたワイヤをカールするように案内するカールガイドとを順に配置し、上記案内管の端部又はその近傍に、ワイヤの曲げの外側と内側となる外側面と内側面とをそれぞれガイドする第1のガイドピンと第2のガイドピンとを配置し、カールガイドの先端内側にはワイヤの曲げの外側面をガイドする第3のガイドピンを設け、ワイヤの送り時に上記第1のガイドピンと第2のガイドピンと第3のガイドピンにワイヤを接触させることを特徴とする。
請求項2に係る発明は、請求項1において、上記第2のガイドピンは上記案内管とワイヤ切断機構との間に配置したことを特徴とする。
請求項3に係る発明は、請求項1又は2において、上記第1のガイドピンと第2のガイドピンと第3のガイドピンを硬度の高い材料から構成したことを特徴とする。
請求項4に係る発明は、請求項1ないし3に記載のいずれかにおいて、上記第1のガイドピンと第2のガイドピンと第3のガイドピンの断面形状が非円形であることを特徴とする。
請求項5に係る発明は、請求項1ないし4に記載のいずれかにおいて、上記第1のガイドピンと第2のガイドピン間のガイド部側壁に硬度の高い材料からなる磨耗防止板を嵌め込み固定したことを特徴とする。
請求項6に係る発明は、請求項5において、上記磨耗防止板は上記側壁に形成された凹部に嵌合されるとともに、上記摩耗防止板の表面は上記第1のガイドピンと第2のガイドピンの先端で押圧固定されていることを特徴とする。
請求項1に係る発明は、ガイド部に、ワイヤリールからのワイヤの送りをガイドする案内管の端部と、所定量のワイヤを送り出した後に切断するためのワイヤ切断機構と、ワイヤ切断機構から送られたワイヤをカールするように案内するカールガイドとを順に配置し、上記案内管の端部又はその近傍に、ワイヤの外側面と内側面とをそれぞれガイドする第1のガイドピンと第2のガイドピンとを配置し、カールガイドの先端内側にはワイヤの外側面をガイドする第3のガイドピンを設け、ワイヤの送り時に上記第1のガイドピンと第2のガイドピンと第3のガイドピンにワイヤを接触させるものである。
このように、第1〜第3のガイドピンは形状が簡単であるから、寸法のバラつきが簡単に抑えられ、またガイド部に第1〜第3のガイドピンを取り付ける取付位置のみで寸法精度が決まるので、容易に精度を出すことができる。したがって、ワイヤが接触する第1〜第3のガイドピンが正しい位置に設けられ、巻き癖は正しく付けられ、カール径は安定する。しかも、第1〜第3のガイドピンは単純形状であるため、硬度の高いものを自由に選択することができる。
請求項2に係る発明によれば、第2のガイドピンはワイヤの内側面をガイドするものであるが、上記案内管とワイヤ切断機構との間に配置されているので、切断機構とカールガイドとの間にワイヤの内側面に接触する部材はない。このため、切断されたワイヤの切りカスはガイド部から必ず落ちるので、ワイヤの詰りが発生することがない。
請求項3に係る発明によれば、第1のガイドピンと第2のガイドピンと第3のガイドピンを超硬ピンやセラミックピンのように硬度が高い材料から構成したので、これらのガイドピンがほとんど磨耗せず、またワイヤの案内管やワイヤ切断機構やカールガイドはワイヤに接触して磨耗し易い部分に直接ワイヤが接触しないので耐久性を大幅に向上させることができる。しかも、硬度が高い材料でもピン形状のものであれば、比較的安価に入手できるので、コストも低く抑えることができる。
請求項4に係る発明によれば、上記第1のガイドピンと第2のガイドピンと第3のガイドピンの断面形状は、正方形、矩形、楕円形などの非円形であるから、ガイドピンの緩みが効果的に抑制される。つまり、嵌合固定(カシメ等)により取付けられた断面円形のガイドピンに発生しがちな長期使用による回転による緩みの発生が、非円形の断面形状のピンでは回転し難いので、回転による緩みは効果的に抑えられる。
請求項5に係る発明によれば、上記第1のガイドピンと第2のガイドピン間のガイド部側壁に硬度の高い材料からなる磨耗防止板を嵌め込み固定したから、ワイヤの巻き癖付けにおいてワイヤが常に接触するポイントであるガイド部の側壁は殆んど磨耗しないので、長期に亘り正常なワイヤの癖付けを行うことができ、結果として結束機の耐久性を向上させる。
請求項6に係る発明によれば、上記磨耗防止板は上記側壁に形成された凹部に嵌合されるとともに、上記摩耗防止板の表面は上記第1のガイドピンと第2のガイドピンの先端で押圧固定されているから、ネジ止め、溶接等の固定手段によらずに簡単かつ確実に磨耗防止板を固定することができるとともに、磨耗防止板の表面は上記側壁部の壁面と面一となってワイヤを円滑に通過させることができる。
本発明に係る鉄筋結束機の一側のカバーを外した状態の斜視図 上記鉄筋結束機の上面の要部を示した平面図 上記鉄筋結束機の側面図 癖付け機構の要部の側面図 ワイヤガイド部を下から見た斜視図 (a)(b)(c)は捩り機構の要部を上から見た作動説明図 別の実施形態のワイヤガイド部を示す図4と同様の図で、(a)はワイヤガイド部の平面図、(b)はフレーム板の一方を外したときの側面図、(c)は(b)のA−A断面図、(d)は(b)のB−B断面図 別の実施形態のワイヤガイド部を示す図4と同様の図で、(a)は断面形状が正方形のガイドピンを使用した図、(b)は断面形状が楕円形であるガイドピンを使用した図
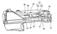
図1〜図3において符号1は鉄筋結束機を示す。鉄筋結束機1は、結束機本体2に設けられた収納室3に、鉄筋結束用のワイヤ5を巻き付けたワイヤリール4を装着し、上記ワイヤリール4を回転させながらワイヤ5を結束機本体2の先端に設けられたガイド部6に送り、該ガイド部6でワイヤ5に巻き癖を付けてガイド部6の内側に配置された鉄筋7のまわりに送り出してその周囲に巻き回した後にワイヤ5の元側を切断するとともに、巻き回した部分を捩って上記鉄筋7を結束するものである。
結束機本体2にはワイヤリール4から引き出されたワイヤ5を通す案内管8が設けられている。案内管8の一端8p(図1参照)は収納室3に開口し、他端はガイド部6の手前に位置している。案内管8の中途部には、ワイヤ5の送り手段として図2に示すように1対の送りギア10が配設されている。1対のワイヤ送りギア10に形成された送り溝にワイヤ5を挟んだ状態になっており、電動モータ(図示せず)によりワイヤ5を前方に送り出すようになっている。
トリガTによってスイッチがONすると、電動モータ(図示せず)が回転してワイヤ送りギア10が回転する。そして、ワイヤ送りギア10の回転により、収納室3内に収納されたワイヤリール4に巻かれているワイヤ5が案内管8を通じて結束機本体2の前方に送られる。
案内管8の先には、結束機本体2に送り込まれたワイヤ5がカールして出て行くように巻き癖を付けるガイド部6が形成されている。ガイド部6はガイドフレーム13により形成されており、ガイドフレーム13は1対のフレーム板13a、13bを有しており(図4、5参照)、一側のフレーム板13aに他側のフレーム板13bが組付けられて構成され、ガイド部6の先端は、円弧状に湾曲しており、ここで巻き癖を付けて下部ガイド9との間で鉄筋7のまわりを周回させるようになっている。
ところで、ガイド部6には案内管8の内部に真直状にガイドされて通ってきたワイヤ5をカールさせて巻き癖を付けて送り出す癖付け機構が設けられている。
すなわち、図4及び図5に示されるように、ガイド部6を形成するガイドフレーム13には、ワイヤリールからのワイヤ5の送りをガイドする案内管8の端部と、所定量のワイヤ5を送り出した後に切断するためのワイヤ切断機構11と、ワイヤ切断機構11を経て送られたワイヤ5を湾曲させるカールガイド12とが順に配置固定されている。
案内管8の端部はガイドフレーム13の先端に近い湾曲部の基部に配置されている。また、案内管8の端部は絞られてワイヤ5が決められた位置から導出されるようになっている。導出されたワイヤ5は所定量送り出されて鉄筋7に巻き回された後、切断機構11によって切断される。
ワイヤ切断機構11は、ワイヤ5の送り量が所定量に達すると、ワイヤ5を切断するように構成されている。すなわち、ワイヤ切断機構11はガイドフレーム13に固定された軸状の切断型14と、切断型14の周囲に回動可能に設けられたカッタ本体15とカッタ本体15を回動させる駆動レバー16とから構成されている。切断型14には、ワイヤ5の送り方向に沿ってワイヤ貫通孔17が貫通形成されている。カッタ本体15は回動することによって刃部分がワイヤ貫通孔17のカールガイド12側の端部を開口面18に沿って移動するように作動するもので、ワイヤ貫通孔17にワイヤ5を貫通させた後に、駆動レバー16によりカッタ本体15を回動させ、その刃部分をワイヤ貫通孔17のカールガイド12側の端部を開口面に沿って移動するので、ワイヤ5が切断されるようになっている。ワイヤ貫通孔17の一端は案内管8の端部に向かって開口し、他端はカールガイド12に向かって開口している。また、ワイヤ貫通孔17の径は、案内管8から送られたワイヤ5が貫通して通過するときにワイヤ5が接触しない程度に形成されている。
次に、カールガイド12はガイドフレーム13の湾曲部13pに固定され、図5に示されるように、ガイドフレーム13の両側のフレーム板13a、13bを溝壁としてワイヤ5が1本通過できる程度のガイド溝20が形成されている。そして、溝底には切断型14を貫通したワイヤ5をカールする方向に案内するガイド面21が円弧状に湾曲形成されている。
なお、図5に示すように、ガイド部6には、カールガイド12の隣にカール拾いこみガイド22が形成されている。これは、カールガイド12から送り出され、ループ状に周回して戻ってきたワイヤ5の端部を拾い込み、再び次の周回送りのためにガイドするものである。
上記構成において、案内管8から送り出されたワイヤ5は切断型14のワイヤ貫通孔17を通ってカールガイド12のガイド面21に沿ってさらに送り出されるが、ガイド面にはワイヤ5の送り速度に伴い一定の圧力で接するので、ワイヤ5には湾曲状に曲げられて巻き癖が付けられる。
ところで、上記案内管8の端部には、図4の上部に第1のガイドピン23が設けられ、また下部には第2のガイドピン24が設けられている。案内管8の先端上部8aは切り欠きされ、下部8bの方が延伸されている。第1のガイドピン23と第2のガイドピン24はそれぞれ断面円形の円柱状部材からなり、その両端がガイドフレーム13の両側のフレーム板13a、13bに形成した孔26に嵌合固定され、第1のガイドピン23の周面は案内管8の先端上部8aの端部面に当接し、また第2のガイドピン24の周面が案内管8の先端下部8bの端部面に当接してそれぞれ案内管8の内側に突出し、第1のガイドピン23の周面の下端と第2のガイドピン24の周面の上端との間の寸法αはワイヤ5の直径とほぼ同じ間隔に設定されている。これにより、ワイヤ5の曲げの外側を構成する外側面は第1のガイドピン23により、またワイヤ5の曲げの内側を構成する内側面は第2のガイドピン24にガイドされて通る。なお、両端がそれぞれ両フレーム板13a、13bに固定された第1、第2のガイドピン23、24は、フレーム板13aもしくは13bの一方のみに固定したものとすることができる。
また、カールガイド12の先端内側には第3のガイドピン25が設けられている。第3のガイドピン25もガイドフレーム13に形成した孔26に嵌合固定され、カールガイド12のガイド面よりもわずかに内側に突出するように取り付けられている。したがって、カールガイド12のガイド面21に沿って送り出されたワイヤ5の曲げの外側面は第3のガイドピン25に接触して図4の下方に送られる。
上記第1〜第3のガイドピン23〜25は超硬ピンやセラミックピンのように硬度が高い材料から構成するのが好ましい。
このようにして、ワイヤ5は第1のガイドピン23と第2のガイドピン24と第3のガイドピン25に接触し、ワイヤ5に巻き癖を付けるものである。ワイヤ5の案内管8の先端部やワイヤ切断型14のワイヤ貫通孔17やカールガイド12の先端部のように、従来ワイヤ5に接触して磨耗した部分が直接にワイヤ5に接触しない。
以上のように、案内管8から送り出されるとき、案内管8の先端には第1のガイドピン23と第2のガイドピン24が配置され、ワイヤ5は案内管8の先端に直接接触することなく、第1のガイドピン23と第2のガイドピン24とによりガイドされて切断型14を通過する。このとき、第1のガイドピン23の下端と第2のガイドピン24の上端との間の寸法はワイヤ5の直径とほぼ同じ間隔に設定され、第1のガイドピン23と第2のガイドピン24とによりワイヤ5の曲げの外側面と内側面とが接してガイドされるから、送りは正確に行われる。このため、ワイヤ5は切断型14のワイヤ貫通孔17の内面に接触することなく送られる。そして、ワイヤ5はカールガイド12の先端を擦るようにして送り出され、強く曲げの癖が付けられる。したがって、案内管8の先端や切断型14のワイヤ貫通孔17、あるいはカールガイド12のガイド面21の先端は繰り返しの摩擦によって摩耗しやすく、この部分が磨り減るとカール径に影響が出るが、しかし、案内管8の先端には第1のガイドピン23と第2のガイドピン24が、またカールガイド12の先端内側には第3のガイドピン25が設けられ、ワイヤ5は第1〜第3のガイドピン23〜25に接触し、案内管8の先端や切断型14やガイド面21に直接に接触することはない。したがって、ガイド面の先端は磨耗しない。
以上のように、第1〜第3のガイドピン23〜25が正しい位置に設けられれば、カール径は安定することになる。第1〜第3のガイドピン23〜25は形状が簡単であるから、寸法のバラつきが簡単に抑えられ、またガイド部6に第1〜第3のガイドピン23〜25を取り付ける取付位置のみで寸法精度が決まるので、容易に精度を出すことができるので、カール径が安定する。しかも、第1〜第3のガイドピン23〜25は単純形状であるため、硬度の高いものを自由に選択することができる。
また、第2のガイドピン24はワイヤ5の内側面をガイドするものであるが、案内管8と切断型14との間に配置されているので、切断機構11とカールガイド12との間にワイヤ5の内側面に接触するものは何もない。このため、切断されたワイヤ5の切りカスはガイド部6から必ず落ちるので、ワイヤ5の詰りが発生することがない。
さらに、第1のガイドピン23と第2のガイドピン24と第3のガイドピン25を超硬ピンやセラミックピンのように硬度が高い材料から構成することにより、これらのガイドピンがほとんど磨耗せず、またワイヤ5の案内管8やワイヤ切断機構11やカールガイド12はワイヤ5に接触して磨耗した部分が直接にワイヤ5に接触しないので耐久性を大幅に向上させることができる。しかも、硬度が高い材料でもピン形状のものであれば、比較的安価に入手できるので、コストも低く抑えることができる。
なお、ガイド部6でワイヤ5に巻き癖を付けてガイド部6の内側に配置された鉄筋7のまわりに送り出してその周囲に巻き回した後、ワイヤ5の元側は切断機構11によって切断されるとともに、巻き回された部分は捩り装置により捩られて上記鉄筋7を結束するものである。
ワイヤ捩り装置は、図6(a)(b)に示されるように、1対のフック28を開閉自在に枢着したスリーブ29を電動モータにより前進移動させてフック28を閉じ作動させることにより、同図(c)のように鉄筋のまわりにループ状に巻き回されたワイヤ5を把持した後、スリーブ29とともにフック28を回転させてワイヤ5を捩って鉄筋を結束し、その後フック28を逆回転させるとともにスリーブ29を後退移動させてワイヤ5から離脱させて初期位置に戻すようにしたものである。そして、上記スリーブが前進するときに上述の切断機構11の駆動レバー16を作動させてワイヤ5を切断するのである。
なお、上記送りギア10の回転、ワイヤ5の切断、ワイヤ捩り装置27の作動等は図示しない制御回路(図示せず)によってシーケンス制御されている。また、制御回路は、送りギア10の回転量にもとづいてワイヤ5の送り量も測定している。
また、上記癖付け機構において、ガイドピンはワイヤ5の曲げの外側と内側をガイドするものであればよく、上述の形態に限定されない。つまり、上記実施形態においては、図4に示されるように、第1のガイドピン23と第2のガイドピン24をそれぞれ案内管8の先端上部8aの端部面と先端下部8bの端部面に当接して、内側に突出するように設けているが、上記形態に限定されない。例えば、図7(b)(c)に示されるように、第1のガイドピン23と第2のガイドピン24をそれぞれ、案内管8の先端上部8aの端部や先端下部8bの端部の近傍に設けてもよい。第1のガイドピン23と第2のガイドピン24の一方を案内管8の上又は下の端部に、他方を下又は上の端部近傍に設けてもよい。また、ガイドピンの数は3本以上であってもよく、第1のガイドピン23を第2のガイドピン24よりも切断型14に近い位置にしてもよい。
また、上記実施形態において、ワイヤ送り通路のさらなる磨耗を防ぐための対策として、ワイヤ5の進行方向を変化させるポイントである上記ガイドピンに加えて、例えば、ワイヤ5をカール状に癖付けするワイヤ接触部分等に耐磨耗処理を施すのが好ましい。すなわち、図7(a)〜(d)に示されるように、ワイヤ5の通過時に常時ワイヤ5が接触するガイド部6の第1のガイドピン23と第2のガイドピン24間の溝の側壁(フレーム13a)に、超硬プレートやセラミックプレートのような硬度の高い材料からなる磨耗防止板27を配設するのがよい。
磨耗防止板27は、ガイド部6の一側壁を形成するフレーム板13aの内側面に形成された凹部13eに嵌合され、他側のフレーム板13bが上記フレーム板13aに対して組付けられたときに、図7(b)(c)に示されたように、他側のフレーム板13bに固定された第1のガイドピン23と第2のガイドピン24の先端の一部を磨耗防止板27の両端部に当接させて押圧固定している。これにより磨耗防止板27は、ネジ止め、溶接等の固定手段によらずに簡単かつ確実に磨耗防止板27を固定することができるとともに、磨耗防止板27の表面は上記側壁部(フレーム板13a)の壁面と面一となってワイヤ5を円滑に通過させることができる。
上記磨耗防止板27によりワイヤ5の接触による磨耗は殆んどなくなるので、ワイヤ送り通路の変形が防止されて該通路の耐久性が向上し、ワイヤ5の送りを円滑にして長期に亘りワイヤ5に正常なカールの癖付けを行うことができる。
なお、ワイヤ送り通路における耐磨耗処理を施す部分は、ガイド部6の上記側壁に限られるものではなく、適宜必要に応じて適切な部分を選択すればよい。
さらに、上記実施形態においては、第1のガイドピン23と第2のガイドピン24、さらには第3のガイドピン25のピン部材の断面形状は円形であるが、これらの断面形状は非円形でもよい。例えば、図8(a)に図示するように正方形、もしくは矩形とすることができ、さらには図8(b)に図示するような楕円形とすることができ、その他の断面形状の部材であってもガイドピンとして使用可能であればよい。
5 ワイヤ
6 ガイド部
8 案内管
11 ワイヤ切断機構
23 第1のガイドピン
24 第2のガイドピン
25 第3のガイドピン

Claims (6)

  1. 鉄筋を結束する結束機本体に装着したワイヤリールからワイヤを引き出して結束機本体の先端に設けたガイド部に送り、該ガイド部でワイヤに巻き癖を付けてガイド部の内側に配置された鉄筋のまわりに送り出してその周囲に巻き回した後にワイヤの元側を切断するとともに、巻き回した部分を捩って上記鉄筋を結束する鉄筋結束機において、
    上記ガイド部には、ワイヤリールからのワイヤの送りをガイドする案内管の端部と、所定量のワイヤを送り出した後に切断するためのワイヤ切断機構と、ワイヤ切断機構から送られたワイヤをカールするように案内するカールガイドとを順に配置し、上記案内管の端部又はその近傍に、ワイヤの曲げの外側と内側となる外側面と内側面とをそれぞれガイドする第1のガイドピンと第2のガイドピンとを配置し、カールガイドの先端内側にはワイヤの曲げの外側面をガイドする第3のガイドピンを設け、ワイヤの送り時に上記第1のガイドピンと第2のガイドピンと第3のガイドピンにワイヤを接触させることを特徴とする鉄筋結束機。
  2. 上記第2のガイドピンは上記案内管とワイヤ切断機構との間に配置したことを特徴とする、請求項1に記載の鉄筋結束機。
  3. 上記第1のガイドピンと第2のガイドピンと第3のガイドピンを硬度の高い材料から構成したことを特徴とする、請求項1又は2に記載の鉄筋結束機。
  4. 上記第1のガイドピンと第2のガイドピンと第3のガイドピンの断面形状が非円形であることを特徴とする、請求項1ないし3のいずれかに記載の鉄筋結束機。
  5. 上記第1のガイドピンと第2のガイドピン間のガイド部側壁に硬度の高い材料からなる磨耗防止板を嵌め込み固定したことを特徴とする、請求項1ないし4のいずれかに記載の鉄筋結束機。
  6. 上記磨耗防止板は上記側壁に形成された凹部に嵌合されるとともに、上記摩耗防止板の表面は上記第1のガイドピンと第2のガイドピンの先端で押圧固定されていることを特徴とする、請求項5に記載の鉄筋結束機。
JP2009028658A 2008-05-19 2009-02-10 鉄筋結束機 Active JP5126101B2 (ja)

Priority Applications (22)

Application Number Priority Date Filing Date Title
JP2009028658A JP5126101B2 (ja) 2008-05-19 2009-02-10 鉄筋結束機
TW103143617A TWI530608B (zh) 2008-05-19 2009-04-28 鐵筋捆紮機
TW105101348A TWI605181B (zh) 2008-05-19 2009-04-28 鐵筋捆紮機
TW098113998A TWI494490B (zh) 2008-05-19 2009-04-28 鐵筋捆紮機
EP14001797.1A EP2789771B1 (en) 2008-05-19 2009-04-29 Reinforcing bar binding machine
DK09005934.6T DK2123849T3 (da) 2008-05-19 2009-04-29 Armeringsstang-bindemaskine
ES09005934.6T ES2498675T3 (es) 2008-05-19 2009-04-29 Máquina de unión de barras de refuerzo
EP09005934.6A EP2123849B1 (en) 2008-05-19 2009-04-29 Reinforcing bar binding machine
PL09005934T PL2123849T3 (pl) 2008-05-19 2009-04-29 Maszyna do wiązania prętów zbrojeniowych
EP15000795.3A EP2927392B1 (en) 2008-05-19 2009-04-29 Reinforcing bar binding machine
PT90059346T PT2123849E (pt) 2008-05-19 2009-04-29 Máquina para ligar varões para armadura
CA2665028A CA2665028C (en) 2008-05-19 2009-04-30 Reinforcing bar binding machine
US12/465,887 US8127803B2 (en) 2008-05-19 2009-05-14 Reinforcing bar binding machine
BRPI0901500-0A BRPI0901500B1 (pt) 2008-05-19 2009-05-15 Máquina de atar barra de reforço
ARP090101775A AR071821A1 (es) 2008-05-19 2009-05-18 Maquina de union de barras de refuerzo
CL2009001209A CL2009001209A1 (es) 2008-05-19 2009-05-18 Maquina de union de barras de refuerzo de hormigon que comprende: un tubo guia, una guia de arqueo, un mecanismo de corte de alambre, un primer perno guia, un segundo perno guia entre el tubo guia y el mecanismo de corte, y un tercer perno guia dispuesto dentro de la guia de arqueo, con el alambre en contacto con los tres pernos.
RU2009118695/02A RU2491145C2 (ru) 2008-05-19 2009-05-18 Машина для обвязки арматурных прутков
CN2009102030833A CN101585422B (zh) 2008-05-19 2009-05-19 钢筋捆扎机
KR1020090043709A KR101567604B1 (ko) 2008-05-19 2009-05-19 철근 결속기
PCT/JP2009/059220 WO2009142215A1 (ja) 2008-05-19 2009-05-19 鉄筋結束機
CY20141100785T CY1115603T1 (el) 2008-05-19 2014-09-25 Μηχανη περιδεσης ενισχυτικων ραβδων
KR1020150152891A KR101666766B1 (ko) 2008-05-19 2015-11-02 철근 결속기

Applications Claiming Priority (3)

Application Number Priority Date Filing Date Title
JP2008130644 2008-05-19
JP2008130644 2008-05-19
JP2009028658A JP5126101B2 (ja) 2008-05-19 2009-02-10 鉄筋結束機

Publications (2)

Publication Number Publication Date
JP2010001070A true JP2010001070A (ja) 2010-01-07
JP5126101B2 JP5126101B2 (ja) 2013-01-23

Family

ID=40940617

Family Applications (1)

Application Number Title Priority Date Filing Date
JP2009028658A Active JP5126101B2 (ja) 2008-05-19 2009-02-10 鉄筋結束機

Country Status (17)

Country Link
US (1) US8127803B2 (ja)
EP (3) EP2927392B1 (ja)
JP (1) JP5126101B2 (ja)
KR (2) KR101567604B1 (ja)
CN (1) CN101585422B (ja)
AR (1) AR071821A1 (ja)
BR (1) BRPI0901500B1 (ja)
CA (1) CA2665028C (ja)
CL (1) CL2009001209A1 (ja)
CY (1) CY1115603T1 (ja)
DK (1) DK2123849T3 (ja)
ES (1) ES2498675T3 (ja)
PL (1) PL2123849T3 (ja)
PT (1) PT2123849E (ja)
RU (1) RU2491145C2 (ja)
TW (3) TWI605181B (ja)
WO (1) WO2009142215A1 (ja)

Cited By (6)

* Cited by examiner, † Cited by third party
Publication number Priority date Publication date Assignee Title
EP2980335A1 (en) 2014-07-31 2016-02-03 Max Co., Ltd. Reinforcing bar binding machine
JP2016210442A (ja) * 2015-04-30 2016-12-15 マックス株式会社 鉄筋結束機
JP2019002276A (ja) * 2018-10-11 2019-01-10 マックス株式会社 鉄筋結束機
JP2019116326A (ja) * 2019-04-24 2019-07-18 マックス株式会社 鉄筋結束機
US10604285B2 (en) 2014-07-31 2020-03-31 Max Co., Ltd. Reinforcing bar binding machine
JP2020147297A (ja) * 2019-03-11 2020-09-17 マックス株式会社 結束機

Families Citing this family (28)

* Cited by examiner, † Cited by third party
Publication number Priority date Publication date Assignee Title
TWI516415B (zh) 2008-12-12 2016-01-11 美克司股份有限公司 鐵筋捆紮機
JP5310525B2 (ja) * 2009-12-17 2013-10-09 マックス株式会社 鉄筋結束機におけるイニシャライズ方法
US9404275B2 (en) * 2010-11-30 2016-08-02 Pneutools, Incorporated Reinforcing bar wire tying apparatus
CN104343241A (zh) * 2013-07-31 2015-02-11 宁波三泰电子科技有限公司 一种全自动钢筋捆扎机的出丝结构
WO2017014268A1 (ja) * 2015-07-22 2017-01-26 マックス株式会社 結束機
CA2990149C (en) * 2015-07-22 2020-01-28 Max Co., Ltd. Binding machine
CN111691677B (zh) * 2015-07-22 2023-08-01 美克司株式会社 捆扎机
DE102016214732A1 (de) * 2016-08-09 2018-02-15 Robert Bosch Gmbh Tragbare Werkzeugmaschine
JP6926446B2 (ja) 2016-11-10 2021-08-25 マックス株式会社 結束機
CN106592983B (zh) * 2016-12-02 2019-03-01 台州市新大陆电子科技有限公司 一种一体式出丝导丝机构及钢筋捆扎机
JP6972553B2 (ja) * 2016-12-29 2021-11-24 マックス株式会社 結束機
JP6932925B2 (ja) * 2016-12-29 2021-09-08 マックス株式会社 結束機
JP6922221B2 (ja) 2016-12-29 2021-08-18 マックス株式会社 結束機
JP6972552B2 (ja) 2016-12-29 2021-11-24 マックス株式会社 結束機
JP7087736B2 (ja) * 2018-06-29 2022-06-21 マックス株式会社 結束機
JP7275486B2 (ja) 2018-07-18 2023-05-18 マックス株式会社 結束機
JP7255101B2 (ja) * 2018-07-31 2023-04-11 マックス株式会社 結束機
JP7354687B2 (ja) 2018-09-07 2023-10-03 マックス株式会社 結束機
DE202019105122U1 (de) 2019-09-16 2019-10-28 KYOCERA UNIMERCO Fastening A/S Bindemaschine
CN110589064B (zh) * 2019-09-17 2021-11-09 太原科技大学 一种锚杆打捆装置
WO2021070481A1 (ja) 2019-10-11 2021-04-15 株式会社マキタ 鉄筋結束機
CN111056066A (zh) * 2019-11-06 2020-04-24 四川韦克电缆有限公司 一种用于捆扎电缆的设备
KR20210055168A (ko) 2019-11-07 2021-05-17 김연득 결속기용 가이드 장치
JP7508800B2 (ja) 2020-02-10 2024-07-02 マックス株式会社 結束機
DE102020127740A1 (de) 2020-10-21 2022-04-21 KYOCERA UNIMERCO Fastening A/S Drahtvorratseinrichtung für eine bindemaschine, bindemaschine mit der drahtvorratseinrichtung und verfahren zum abwickeln eines drahts in einer bindemaschine
JP2023184171A (ja) * 2022-06-17 2023-12-28 株式会社マキタ 鉄筋結束機
JP1768705S (ja) * 2023-06-13 2024-04-22 鉄筋結束機
JP1766305S (ja) * 2023-06-13 2024-03-25 鉄筋結束機本体

Citations (3)

* Cited by examiner, † Cited by third party
Publication number Priority date Publication date Assignee Title
JPH072201U (ja) * 1993-06-10 1995-01-13 マックス株式会社 結束機の捩りフックの作動機構
JPH08277632A (ja) * 1995-04-08 1996-10-22 Yahiro Kosan Kk 鉄筋メッシュ用結束機
JP2000064617A (ja) * 1998-08-26 2000-02-29 Japan Life Kk 鉄筋メッシュ用結束機

Family Cites Families (11)

* Cited by examiner, † Cited by third party
Publication number Priority date Publication date Assignee Title
US4586667A (en) * 1980-10-27 1986-05-06 General Electric Company Flyer method
JPH0310353A (ja) 1989-06-08 1991-01-17 Toshiba Corp 伝送制御装置
JPH072201A (ja) 1992-06-08 1995-01-06 Kyushu Kogyo Service Kk 連続包装方法および装置
JPH0748931A (ja) * 1993-08-09 1995-02-21 Naotake Kitajima 鉄筋結束装置
US5694983A (en) * 1995-03-10 1997-12-09 Max Co., Ltd. Reinforcing bar binding machine
FR2738456B1 (fr) * 1995-09-12 1997-10-24 Pellenc Sa Appareil pour la pose d'attaches, par exemple pour l'attachage de la vigne
JP2923242B2 (ja) * 1996-03-15 1999-07-26 大木樹脂工業株式会社 鉄筋結束機
RU2112721C1 (ru) * 1997-03-12 1998-06-10 Открытое акционерное общество "Западно-Сибирский металлургический комбинат" Машина для обвязки проволокой длинномерных изделий
JP3496463B2 (ja) * 1997-06-18 2004-02-09 マックス株式会社 鉄筋結束機の針金捩り装置
CN1122618C (zh) * 1999-04-28 2003-10-01 肖广勇 钢筋绑扎器
BRPI0617434A2 (pt) * 2005-10-10 2011-07-26 Tymatic Ltd amarraÇço

Patent Citations (3)

* Cited by examiner, † Cited by third party
Publication number Priority date Publication date Assignee Title
JPH072201U (ja) * 1993-06-10 1995-01-13 マックス株式会社 結束機の捩りフックの作動機構
JPH08277632A (ja) * 1995-04-08 1996-10-22 Yahiro Kosan Kk 鉄筋メッシュ用結束機
JP2000064617A (ja) * 1998-08-26 2000-02-29 Japan Life Kk 鉄筋メッシュ用結束機

Cited By (12)

* Cited by examiner, † Cited by third party
Publication number Priority date Publication date Assignee Title
EP2980335A1 (en) 2014-07-31 2016-02-03 Max Co., Ltd. Reinforcing bar binding machine
JP2016033320A (ja) * 2014-07-31 2016-03-10 マックス株式会社 鉄筋結束機
EP3336281A1 (en) 2014-07-31 2018-06-20 Max Co., Ltd. Reinforcing bar binding machine
US10604285B2 (en) 2014-07-31 2020-03-31 Max Co., Ltd. Reinforcing bar binding machine
EP3656949A1 (en) 2014-07-31 2020-05-27 Max Co., Ltd. Reinforcing bar binding machine
US10689139B2 (en) 2014-07-31 2020-06-23 Max Co., Ltd. Reinforcing bar binding machine
US11225344B2 (en) 2014-07-31 2022-01-18 Max Co., Ltd. Reinforcing bar binding machine
JP2016210442A (ja) * 2015-04-30 2016-12-15 マックス株式会社 鉄筋結束機
JP2019002276A (ja) * 2018-10-11 2019-01-10 マックス株式会社 鉄筋結束機
JP2020147297A (ja) * 2019-03-11 2020-09-17 マックス株式会社 結束機
JP7459454B2 (ja) 2019-03-11 2024-04-02 マックス株式会社 結束機
JP2019116326A (ja) * 2019-04-24 2019-07-18 マックス株式会社 鉄筋結束機

Also Published As

Publication number Publication date
CN101585422B (zh) 2011-06-08
EP2789771B1 (en) 2019-11-27
RU2009118695A (ru) 2010-11-27
TWI530608B (zh) 2016-04-21
CA2665028C (en) 2016-09-06
DK2123849T3 (da) 2014-10-13
WO2009142215A1 (ja) 2009-11-26
EP2123849B1 (en) 2014-07-02
EP2927392A1 (en) 2015-10-07
KR101567604B1 (ko) 2015-11-09
KR20090120429A (ko) 2009-11-24
KR101666766B1 (ko) 2016-10-14
KR20150129299A (ko) 2015-11-19
ES2498675T3 (es) 2014-09-25
PT2123849E (pt) 2014-09-30
BRPI0901500B1 (pt) 2019-06-18
CL2009001209A1 (es) 2010-06-25
EP2123849A1 (en) 2009-11-25
PL2123849T3 (pl) 2014-11-28
CA2665028A1 (en) 2009-11-19
TW201514364A (zh) 2015-04-16
AR071821A1 (es) 2010-07-14
TWI494490B (zh) 2015-08-01
CN101585422A (zh) 2009-11-25
EP2789771A1 (en) 2014-10-15
BRPI0901500A2 (pt) 2010-04-06
TW201006997A (en) 2010-02-16
CY1115603T1 (el) 2017-01-04
US8127803B2 (en) 2012-03-06
EP2927392B1 (en) 2019-11-27
TWI605181B (zh) 2017-11-11
JP5126101B2 (ja) 2013-01-23
US20090283168A1 (en) 2009-11-19
TW201615943A (zh) 2016-05-01
RU2491145C2 (ru) 2013-08-27

Similar Documents

Publication Publication Date Title
JP5126101B2 (ja) 鉄筋結束機
JP6417772B2 (ja) 鉄筋結束機
JP7279744B2 (ja) 結束機および結束機用補助部材
CN117246566A (zh) 钢筋捆扎机
JP4760439B2 (ja) 結束機におけるワイヤのカール径調整機構
JP6398435B2 (ja) 鉄筋結束機
JP6747485B2 (ja) 鉄筋結束機
JP2016210442A (ja) 鉄筋結束機
JP2019014536A (ja) 鉄筋結束機

Legal Events

Date Code Title Description
A621 Written request for application examination

Free format text: JAPANESE INTERMEDIATE CODE: A621

Effective date: 20110801

TRDD Decision of grant or rejection written
A01 Written decision to grant a patent or to grant a registration (utility model)

Free format text: JAPANESE INTERMEDIATE CODE: A01

Effective date: 20121002

A01 Written decision to grant a patent or to grant a registration (utility model)

Free format text: JAPANESE INTERMEDIATE CODE: A01

A61 First payment of annual fees (during grant procedure)

Free format text: JAPANESE INTERMEDIATE CODE: A61

Effective date: 20121015

R150 Certificate of patent or registration of utility model

Free format text: JAPANESE INTERMEDIATE CODE: R150

Ref document number: 5126101

Country of ref document: JP

Free format text: JAPANESE INTERMEDIATE CODE: R150

FPAY Renewal fee payment (event date is renewal date of database)

Free format text: PAYMENT UNTIL: 20151109

Year of fee payment: 3