JP2010000552A - 部品引き抜き装置用の雄ネジ治具 - Google Patents

部品引き抜き装置用の雄ネジ治具 Download PDF

Info

Publication number
JP2010000552A
JP2010000552A JP2008159708A JP2008159708A JP2010000552A JP 2010000552 A JP2010000552 A JP 2010000552A JP 2008159708 A JP2008159708 A JP 2008159708A JP 2008159708 A JP2008159708 A JP 2008159708A JP 2010000552 A JP2010000552 A JP 2010000552A
Authority
JP
Japan
Prior art keywords
component
male screw
shaft
workpiece
main body
Prior art date
Legal status (The legal status is an assumption and is not a legal conclusion. Google has not performed a legal analysis and makes no representation as to the accuracy of the status listed.)
Granted
Application number
JP2008159708A
Other languages
English (en)
Other versions
JP4300256B1 (ja
Inventor
Hideo Oguri
英雄 小栗
Yuichi Goto
雄一 後藤
Current Assignee (The listed assignees may be inaccurate. Google has not performed a legal analysis and makes no representation or warranty as to the accuracy of the list.)
Kuritakoki Co Ltd
Original Assignee
Kuritakoki Co Ltd
Priority date (The priority date is an assumption and is not a legal conclusion. Google has not performed a legal analysis and makes no representation as to the accuracy of the date listed.)
Filing date
Publication date
Application filed by Kuritakoki Co Ltd filed Critical Kuritakoki Co Ltd
Priority to JP2008159708A priority Critical patent/JP4300256B1/ja
Priority to US12/483,612 priority patent/US8230566B2/en
Application granted granted Critical
Publication of JP4300256B1 publication Critical patent/JP4300256B1/ja
Publication of JP2010000552A publication Critical patent/JP2010000552A/ja
Active legal-status Critical Current
Anticipated expiration legal-status Critical

Links

Images

Landscapes

  • Hand Tools For Fitting Together And Separating, Or Other Hand Tools (AREA)

Abstract

【課題】孔内に挿入されたファスナやスリーブ等を簡単に引き抜くことが可能な部品引き抜き装置および雄ネジ治具を提供する。
【解決手段】孔内に挿入された部品に引っ掛けてその部品を引き抜くための雄ネジ治具40は、先端側ほど軸径が小さく、ネジ山44が全て一定の高さとされている雄ネジ部43を有する。各ネジ山44は、先端側の面が軸本体の軸心に対してなす角度rが、基端側の面が軸本体の軸心に対してなす角度tより小さくなるように形成されているとともに、各ネジ山44の頂部には平坦部45が形成されている。
【選択図】図8

Description

本発明は、工作物の孔内に挿入されたボルトやスリーブ等の部品を引き抜くための部品引き抜き装置およびそれに用いる雄ネジ治具に関する。
近年、航空機の構造材は軽量化のためにアルミ合金から炭素繊維強化プラスチック(CFRP)へと変わりつつあり、燃料が搭載される航空機の主翼部分においてもCFRP複合材が使用されつつある。この場合、主翼部分は、アルミ合金製I型補強リブの上下に一対のCFRP板を配置する構成とされ、I型補強リブにCFRP複合板を接合させる手段として、図12に示す構成がある。これは、CFRP複合板102とアルミ合金103との積層部に貫通孔101を開けてCFRP102側の端面をテーパ状にざぐり、その孔内101にステンレス製のスリーブSを嵌め込み、そこに締結部材としてのチタン製のファスナーFを押し込む構成である。これにより、主翼部分の内部の液密構造が達成可能となる。
ところで、上述したような航空機の主翼に用いられるスリーブは厚さが0.1〜0.2mm程と非常に薄いため、ファスナーを孔内に押し込む際にスリーブが孔の内壁に押しつけられて中間部で亀裂が生じて破断し、ファスナー挿入側の反対側の端面側から出てきたり、CFRPの端面のざぐりが不十分で、スリーブが孔内に収まらずに表面から突き出てしまう場合がある。このような場合には、ファスナーおよびスリーブを一旦孔内から引き抜いて、新しいものに交換したり、貫通孔のざぐり加工をし直したりする必要がある。
このような場合、孔内に圧入された部材を引き抜く装置としては、例えば登録実用新案第3016627号に開示されているものがある。このものは、図13に示すように、ネジ軸2の一方の端部を座板3に貫通させるとともに、他端部にタップ1を取り付け、タップ1を引き抜きたい部品に螺着して支持脚5,5を部品が圧入されている孔の縁に宛い、ネジ軸2の座板3側に螺合した締付用ナット4を締め付けることにより、部品を引き抜く構成である。
このような引き抜き装置は、上記公報に記載されているような、例えば船舶のスタンチューブに圧入されているブッシュ等、比較的大きくて厚い部品を引き抜く際には有効である。しかしながら、上述した航空機の主翼に使用されているような非常に小さく、薄いスリーブ等においては、そのような装置で取り出すのは容易ではなく、作業中にスリーブが破断したり、孔の内壁に傷がついてしまうという問題が懸念され、到底、実用に供し得ないものである。
また、一旦圧入されたファスナーを上記装置によって引き抜くことも、容易ではない。
登録実用新案第3016627号公報
本発明は上記のような事情に基づいて完成されたものであって、工作物に形成された孔内に挿入されたファスナーやスリーブ等の部品を確実に引き抜くことが可能な部品引き抜き装置およびそのための雄ネジ治具を提供することを目的とするものである。
上記課題を解決するためになされた本発明は、工作物に形成された孔内に挿入された部品を引き抜くための部品引き抜き装置であって、前記工作物の表面に設置可能な支持フレームと、この支持フレームのうち前記工作物の表面から離れた位置に軸心が上下に向くように設けられた軸受け装置と、前記軸受け装置によって上下動が規制された状態で回転可能に設けられたナット部材と、前記ナット部材を回転させるナット操作ハンドルと、前記ナット部材に螺合されそのナット部材を回転させることにより上下方向に螺進するネジロッドと、前記ネジロッドの上部に設けられて前記ネジロッドを回転操作するためのロッド操作ハンドルと、前記ネジロッドの下端に設けられ前記工作物の孔内の部品に係合する係合部を有する引掛け部材とを備えるところに特徴を有する。
工作物の孔内に挿入された部品を本発明の部品引き抜き装置を使用して引き抜くには次のようにする。まず、この装置の支持フレームを工作物の引き抜こうとする部品の近くにセットし、ロッド操作ハンドルを操作してネジロッドを回転させることで、その下端の引掛け部材を部品近くに下降させる。そして、引き抜こうとする部品に引掛け部材の係合部を引っ掛け、ナット操作ハンドルによってナット部材をネジロッドの下端が工作物表面から離れる方向に回転させる。すると、ナット部材に引っ掛けられた部品は、ナット部材の回転に伴い孔からゆっくりと引き出される。
なお、上記部品がボルト等の頭部付き締結部品である場合には、上記引っ掛け部材を、前記頭部の下側に引掛け可能な二叉状のフォーク部を備える構成とし、そのフォーク部を前記頭部の下側に差し込むことにより、部品と引掛け部材とを係合させるようにすればよい。
また、円筒状のスリーブ部品を工作物の孔内から引き抜く場合には、引掛け部材を、前記フォーク部と、このフォーク部に対して回転規制された状態で着脱可能に装着されスリーブの内部に螺合されてスリーブの内周面に係合する雄ネジ治具とから構成することができる。
あるいは、引掛け部材を、ネジロッドの下端に設けられスリーブの内部に螺合されてスリーブの内周面に係合する雄ネジ治具としてもよい。
また、上記雄ネジ治具を、軸本体の外周面に螺旋状のネジ山を形成した形態とし、前記ネジ山の高さを一定としつつ前記軸本体の軸径を先端側ほど細くすることで先細のテーパ状とし、かつ、前記ネジ山のうち前記軸本体の先端側の面が前記軸本体の軸心に対してなす角度が、基端側の面が前記軸本体の軸心に対してなす角度より小さくなるように形成することが好ましい。
このように雄ネジ治具を先端側ほど軸本体の軸径が細い先細のテーパ状とすると、雄ネジ治具を孔内へ進入させた場合に、雄ネジ治具をスリーブの内周面に確実に引っ掛けることができる。すなわち、ネジ山が例えば図14に示すような通常のタップの形状である場合には、スリーブ等の部品を切り込み過ぎて傷つけたり、ネジ山の高さが高い部分(図14中上方部分)で引っ掛けると、ネジ山の先端が細くなっているため、切り込み過ぎるだけでなくネジ山が欠けやすい場合がある。
これに対し本発明の雄ネジ治具のネジ山は、例えば図7に示すように、各ネジ山の高さが軸方向のどの部分においても一定とされている上、各ネジ山のうち軸本体の先端側の面が軸本体の軸心に対してなす角度が、基端側の面が軸本体の軸心に対してなす角度より小さくなるように形成されているから、雄ネジ治具を孔内に挿入する際には、ネジ山が部品に対して小さい角度で緩やかに当接し、部品が傷つきにくい。また逆に引き抜く際には、力がかかるネジ山の基端側の面は部品との接触角度が大きく、滑りにくくなっているから、部品をしっかりと引っ掛けた状態で引き抜くことができる。
さらに、ネジ山の頂部に平坦部を形成することにより、より部品に傷が付き難く、滑り難いことに加え、ネジ山が欠け難いという効果も奏する。
また、雄ネジ治具に、軸方向に沿う逃がし溝を下端部において開放するように設けることにより、切り屑等が発生した場合にその切り屑を逃がすことができる。
また、前記ネジロッドの下端には、前記引掛け部材を着脱可能に装着するための取付座を交換可能に設けてもよい。これにより、ネジロッドに対する引掛け部材の着脱を繰り返してもネジロッドの下端の摩耗・損傷を防止することができるから、ネジロッドの寿命が長くなる。なお、取付座が摩耗・損傷した場合には、それのみを交換すればよいから、ネジロッドを交換することに比較して安価に済ませることができる。
<実施形態1>
本発明の実施形態1を図1ないし図5によって説明する。
本実施形態の部品引抜装置10の正面図を示す図1において、11はアルミ合金製の筒状部材からなる支持フレームであり、その底面は略円盤状のテフロン(登録商標)樹脂製の底面カバー12により覆われている。支持フレーム11および底面カバー12の一部には、図1および図2に示すように、側面から下面にかけて連続して開放されるようにそれぞれU字形状の作業窓13が形成されており、後述する支持フレーム11の内部の部品を取り替えられるようになっている。
支持フレーム11の上端部には、軸受け装置18が設けられている。この軸受け装置18は、アウターレース19内に複数個のボール18Bを介して円筒形のインナーレース18Aを回転可能かつ軸方向に移動不能に保持してなるものである。アウターレース19のフランジ部19Aは、ボルト19Bによって支持フレーム11の上端面に固定されている。インナーレース18A内には、後述するネジロッド14と螺合可能なネジ溝が内周面に形成されたナット部材が設けられている。インナーレース18Aの上端部には、アウターレース19のフランジ部19Aを上方から覆うように軸受けカバー20がボルト20Aにより固定され、この軸受けカバー20にナット操作ハンドル21が水平方向に延びるように取り付けられている。
前記ネジロッド14の上端には、ネジロッド14を回転させるための円盤状のロッド操作ハンドル15が固定され、このロッド操作ハンドル15を前記軸受装置18のインナーレース18Aに対して相対的に回転させることで、ネジロッド14を昇降させることができる。なお、ネジロッド14とロッド操作ハンドル15との境界部付近には、ネジロッド14よりやや径大のストッパ16が設けられており、これを軸受装置18のインナーレース18Aの上端面に当接させることで、ネジロッド14の下方向への移動を規制している。
一方、ネジロッド14の下端にはサルベージフックアダプタ22(本発明の取付座に相当)を介してサルベージフック30(本発明の引掛け部材に相当)が取り付けられている。
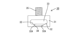
サルベージフック30は、図3(A)〜(C)に示すように、角柱状のフック本体31の底部を正面に向けてU字状に開放させることで、一対のフォーク部32を形成したものである。各フォーク部32の互いに対向する側の側面には、斜面部32Aが形成されている。また、フック本体31のフォーク部32の上方には、フォーク部32間の間隔よりも広い主要空間33が備えられており、ここに例えばボルト等の締結具の頭部を収容することができる。そして、フック本体31の上面には雄ねじ部35が突設されている。
一方、サルベージフックアダプタ22は、円柱状のアダプタ本体23の下面に上述したサルベージフック25の雄ねじ部35と螺合可能なネジ孔24が設けられているとともに、上部にはスパナ等の工具によって把持可能な六角板状のフランジ25部が設けられている。サルベージフックアダプタ22の上面には、前記ネジロッド14の下端面に設けられたネジ孔と螺合可能な雄ねじ部26が突設されている。
本実施形態の部品引抜装置10は以上のような構成であって、次に、この部品引抜装置10の使用方法について説明する。ここでは、図4に示すように、工作物100に設けられた貫通孔101に挿入されたスリーブSとファスナーFとを引き抜く手順について説明する。なお、ここで工作物100は飛行機の主翼構造の一部をなしており、アルミ合金製のリブ102にCFRP製のスキン103を固定してなる構造で、貫通孔101にはステンレス製のスリーブSが挿入され、そのスリーブS内に挿入したファスナーFによってリブ102とスキン103とが締結される。
予め、図4に示すように、ファスナーFの頭部が工作物100の表面から突出した状態とされている。そこで、ロッド操作ハンドル15を回転させてネジロッド14を軸方向に移動させ、図1に示すように、ネジロッド14を支持フレーム11の作業窓13からサルベージフック30の収容空間33が正面に見え、かつ、サルベージフック30の下端部が底面カバ12ーの下端部とほぼ同位置となる高さに調整する。
そして、部品引抜装置10を工作物100上でスライドさせることで、サルベージフック30の正面をファスナーFの頭部に向かって接近させて、フォーク部32をファスナーFの頭部の下に潜り込ませる。ファスナーFの頭部が収容空間33の奥に突き当たるまで進入させたら、正しい位置へセットされたこととなる(図4参照)。
次に、ナット操作ハンドル21をネジロッド14を中心にして引き上げ方向に旋回させると、サルベージフック30のフォーク部32に引っ掛けられたファスナFーが孔内からゆっくりと引き抜かれる(図5参照)。
このように、本実施形態の部品引抜装置10によれば、部品引抜装置10をスライドさせてファスナーFの頭部に引っ掛け、支持フレーム11を設置してナット操作ハンドル21を回転させるという簡単な操作により、孔内からファスナーFを引き抜くことができる。しかも、ファスナーFを孔102に対して回転させずにまっすぐ引き抜くことができるので、スリーブSや孔102の内壁に傷をつけてしまうこともない。
<実施形態2>
次に、本発明の実施形態2の雄ネジ治具40について、図6ないし図9を参照して説明する。部品引抜装置10については上記実施形態1と同様であって、図中同符号を用い説明を省略する。
本実施形態の雄ネジ治具40は、例えばスリーブSのような筒状の部材を引き抜く際に引っ掛けるための治具であって、上記実施形態1の部品引抜装置10に直接連結して使用することができるものである。
図6にはこの雄ネジ治具40の全体図が示されている。この雄ネジ治具40は、六角板状をなす頭部41の一方の面に軸部42が突設されており、その軸部42のうち約半分より先端部側に、外周面に螺旋状のネジ山44を形成した形態の雄ネジ部43が形成されたものである。この雄ネジ部43は、図7の部分拡大図に示すように、先端側ほど軸本体の軸径が細くなっているとともに、ネジ山44の高さHは基端側と先端側とで等しくされている。また、ネジ山44は、軸本体の先端側の面が軸本体の軸心に対してなす角度rが、基端側の面が軸本体の軸心に対してなす角度tより小さくなる(r<t)ように形成されているとともに、各ネジ山44の頂部には軸本体の軸径から一定の高さHとなるように平坦部45が形成されている。さらに、雄ネジ部43の外周部には軸方向に沿う逃がし溝46が等間隔に3本、先端部において開放するように設けられている。
このような本実施形態の雄ネジ治具40は、部品引抜装置10に対して、上述したファスナーFと同様に、横方向からサルベージフック30の収容空間33内に進入させることにより取り付けられる。そのために、頭部41の外形寸法はサルベージフック30の収容空間33の内径寸法よりも小さく設定され、軸部42の上半部の外形寸法はサルベージフック30のフォーク部32の間隔寸法とほぼ等しく設定されている。
取り付けの際、雄ネジ治具40はその頭部41の一辺がサルベージフック30の収容空間33の最奥に当接する位置まで進入させ、正規位置とする。これにより、雄ネジ治具40に回転する方向の力が加わった場合でも、頭部41の一辺が収容空間33の壁部に押しつけられた状態となるから、雄ネジ治具40のサルベージフック30に対する回転が規制される。また、孔内に挿入されたスリーブSを引き抜く際には、ロッド操作ハンドル15を回転させて雄ネジ治具40の先端が僅かに底面カバー12から飛び出た状態とし、孔101と雄ネジ治具40の位置を目視しながら合わせて、雄ネジ治具40の先端を孔内に軽く挿入する。この状態で、支持フレーム11の底面カバー12が工作物100の表面にぴったり密着するように支持フレーム11を設置する。そして、装置上部のロッド操作ハンドル15をゆっくりと回転させて、雄ネジ治具40を孔内に挿入させる。雄ネジ治具40の雄ネジ部43がスリーブS内を下降し、ネジ山44の一部がスリーブSに当接する(図6および図8参照)と、ロッド操作ハンドル15の回転の抵抗が増すので、その時点で回転を停止させる。このとき、ネジ山44の進入側(先端側)の面の軸本体に対してなす角度rは小さいため、ネジ山44はスリーブS対して緩やかに当接し、スリーブSを傷つけることはない。
このように、雄ネジ部43とスリーブSとが当接したら、今度はロッド操作ハンドル15に指を掛けて回り止め状態としておきながら、ナット操作ハンドル21を所定方向に回転させる。これにより、ネジロッド14は回転することなく、貫通孔102から離れる方向へとまっすぐ移動し、雄ネジ治具40とスリーブSとが孔内から引き抜かれる(図9参照)。このような引き抜き時には、ネジ山44の基端側の角部に力がかかるが、本実施形態のネジ山44の基端側はスリーブSとの接触角度が大きくなるように設定されているから、互いに滑り難く、スリーブSをしっかりと引っ掛けた状態で引き抜くことができる。さらに、ネジ山44の頂部には平坦部45が形成されているからスリーブSとの接触面積が大きくなって滑り難い上、傷もつき難く、ネジ山44自体も欠け難い。
このように、本実施形態の雄ネジ治具40によれば、スリーブS等の筒状部材でも簡単に、かつ部品や孔の内壁を傷つけることなく引き抜くことができる。
<他の実施形態>
本発明は上記記述及び図面によって説明した実施形態に限定されるものではなく、例えば次のような実施形態も本発明の技術的範囲に含まれる。
(1)スリーブのような筒状部材は、上記実施形態2のような雄ネジ治具40を用いなくても、上記実施形態1で使用したサルベージフック30で引き抜くこともできる。例えば図10および図11にその様子が示されており、スリーブSを直接サルベージフック30のフォーク部32に引っ掛けて抜くようにしてもよい。
(2)上記第2実施形態では、雄ネジ治具40をサルベージフック30に取り付ける構成としたが、ネジロッド14に直接取り付ける構成としてもよい。
(3)上記実施形態では、サルベージフックアダプタ22を介してサルベージフック30を取り付ける構成としたが、サルベージフックアダプタ22は必ずしも必要ではなく、サルベージフック30をネジロッド14に直接に取り付けてもよい。
本発明の実施形態1の部品引き抜き装置の正面図 同じく部品引き抜き装置の断側面図 同じくサルベージフックの正面図 同じくサルベージフックの側面図 同じくサルベージフックの下面図 同じくファスナーをサルベージフックに引っ掛けた状態を示す断面図 同じくファスナーを引き抜いた状態を示す断面図 本発明の実施形態2の雄ネジ治具をスリーブ内に挿入した状態を示す拡大図 同じく雄ネジ治具の雄ネジ部の一部拡大図 同じくスリーブを雄ネジ治具に引っ掛けた状態を示す断面図 同じくスリーブを引き抜いた状態を示す断面図 他の実施形態のスリーブをサルベージフックに引っ掛けた状態を示す断面図 同じくスリーブを引き抜いた状態を示す断面図 航空機の主翼部分のCFRPおよびアルミ合金の積層部分の接合方法を示す一部拡大断面図 従来の補修用工具の斜視図 従来のタップの雄ネジ部を示す一部拡大図
符号の説明
10…部品引き抜き装置
11…支持フレーム
14…ネジロッド
15…ロッド操作ハンドル
18…軸受け装置
19…支持部材
21…ナット操作ハンドル
22…サルベージフックアダプタ(取付座)
30…サルベージフック(引掛け部材)
32…フォーク部(係合部)
33…収容部
34…案内溝
40…雄ネジ治具(引掛け部材)
41…頭部
42…軸部
43…雄ネジ部(係合部)
44…ネジ山
45…平坦部
46…逃がし溝
F…ファスナー(頭部付き締結部品)
S…スリーブ(スリーブ部品)

Claims (9)

  1. 工作物に形成された孔内に挿入された部品を引き抜くための部品引き抜き装置であって、
    前記工作物の表面に設置可能な支持フレームと、
    この支持フレームのうち前記工作物の表面から離れた位置に軸心が上下に向くように設けられた軸受け装置と、
    前記軸受け装置によって上下動が規制された状態で回転可能に設けられたナット部材と、
    前記ナット部材を回転させるナット操作ハンドルと、
    前記ナット部材に螺合されそのナット部材を回転させることにより上下方向に螺進するネジロッドと、
    前記ネジロッドの上部に設けられて前記ネジロッドを回転操作するためのロッド操作ハンドルと、
    前記ネジロッドの下端に設けられ前記工作物の孔内の部品に係合する係合部を有する引掛け部材とを備える部品引き抜き装置。
  2. 前記引掛け部材は、ボルト等の頭部付き締結部品の前記頭部の下側に差し込んで前記頭部の下側に引掛け可能な二叉状のフォーク部を備えることを特徴とする請求項1記載の部品引き抜き装置。
  3. 前記引掛け部材は、前記フォーク部と、このフォーク部に対して回転規制された状態で着脱可能に装着され前記工作物の孔内に挿入された円筒状のスリーブ部品の内部に螺合されて前記スリーブの内周面に係合する雄ネジ治具とからなることを特徴とする請求項2記載の部品引き抜き装置。
  4. 前記引掛け部材は、前記ネジロッドの下端に設けられ前記工作物の孔内に挿入された円筒状のスリーブ部品の内部に螺合されて前記スリーブの内周面に係合する雄ネジ治具であることを特徴とする請求項1記載の部品引き抜き装置。
  5. 請求項3または請求項4記載の雄ネジ治具は、軸本体の外周面に螺旋状のネジ山を形成した形態であり、前記ネジ山の高さを一定としつつ前記軸本体の軸径を先端側ほど細くすることで先細のテーパ状とされ、かつ、前記ネジ山のうち前記軸本体の先端側の面が前記軸本体の軸心に対してなす角度が、基端側の面が前記軸本体の軸心に対してなす角度より小さくなるように形成されていることを特徴とする部品引き抜き装置。
  6. 前記雄ネジ治具の前記ネジ山の頂部には平坦部が形成されていることを特徴とする請求項5に記載の部品引き抜き装置。
  7. 前記雄ネジ治具には軸方向に沿う逃がし溝が下端部において開放して設けられていることを特徴とする請求項3ないし請求項6のいずれか一項に記載の部品引き抜き装置。
  8. 前記ネジロッドの下端には、前記引掛け部材を着脱可能に装着するための取付座が交換可能に設けられていることを特徴とする請求項1ないし請求項7のいずれか一項に記載の部品引き抜き装置。
  9. 工作物に形成された孔内に挿入された円筒状のスリーブ部品を引き抜くために前記スリーブ部品の内部に螺合されて前記スリーブの内周面に係合する雄ネジ治具であって、軸本体の外周面に螺旋状のネジ山を形成した形態をなし、前記ネジ山の高さを一定としつつ前記軸本体の軸径を先端側ほど細くすることで先細のテーパ状とされ、かつ、前記ネジ山のうち前記軸本体の先端側の面が前記軸本体の軸心に対してなす角度が、基端側の面が前記軸本体の軸心に対してなす角度より小さくなるように形成されていることを特徴とする部品引き抜き装置用の雄ネジ治具。
JP2008159708A 2008-06-18 2008-06-18 部品引き抜き装置用の雄ネジ治具 Active JP4300256B1 (ja)

Priority Applications (2)

Application Number Priority Date Filing Date Title
JP2008159708A JP4300256B1 (ja) 2008-06-18 2008-06-18 部品引き抜き装置用の雄ネジ治具
US12/483,612 US8230566B2 (en) 2008-06-18 2009-06-12 Sleeve puller

Applications Claiming Priority (1)

Application Number Priority Date Filing Date Title
JP2008159708A JP4300256B1 (ja) 2008-06-18 2008-06-18 部品引き抜き装置用の雄ネジ治具

Publications (2)

Publication Number Publication Date
JP4300256B1 JP4300256B1 (ja) 2009-07-22
JP2010000552A true JP2010000552A (ja) 2010-01-07

Family

ID=40972376

Family Applications (1)

Application Number Title Priority Date Filing Date
JP2008159708A Active JP4300256B1 (ja) 2008-06-18 2008-06-18 部品引き抜き装置用の雄ネジ治具

Country Status (1)

Country Link
JP (1) JP4300256B1 (ja)

Cited By (9)

* Cited by examiner, † Cited by third party
Publication number Priority date Publication date Assignee Title
JP2016109028A (ja) * 2014-12-05 2016-06-20 中国電力株式会社 ガイドベーンキー引き抜き工具
JP2017213669A (ja) * 2016-02-29 2017-12-07 ザ・ボーイング・カンパニーThe Boeing Company テーパー処理された抜去装置
KR101921464B1 (ko) * 2017-05-19 2018-11-23 주식회사 태일정밀 부품 분리 장치
JP2019029587A (ja) * 2017-08-02 2019-02-21 日本電気株式会社 入出力回路特性調整装置および入出力回路特性調整方法
CN110370010A (zh) * 2019-07-31 2019-10-25 中国商用飞机有限责任公司北京民用飞机技术研究中心 一种飞机紧固件拆除装置及飞机紧固件拆除方法
CN110405697A (zh) * 2019-07-31 2019-11-05 中国商用飞机有限责任公司北京民用飞机技术研究中心 一种起钉装置及其使用方法
WO2019229937A1 (ja) * 2018-05-31 2019-12-05 株式会社京岡 スリーブ部品引き抜き治具
JP2020142331A (ja) * 2019-03-07 2020-09-10 日本パワーファスニング株式会社 拡張式アンカーの抜去装置及び抜去方法
KR20210076244A (ko) * 2019-12-13 2021-06-24 한전케이피에스 주식회사 밸브의 시트 링용 인출 툴

Families Citing this family (4)

* Cited by examiner, † Cited by third party
Publication number Priority date Publication date Assignee Title
JP7251994B2 (ja) * 2019-01-31 2023-04-04 ダイハツ工業株式会社 内燃機関用のオイルシール抜き取り装置
CN112296926A (zh) * 2020-11-12 2021-02-02 江南工业集团有限公司 一种动力装置后盖与壳体装卸装置及其操作方法
CN113062914B (zh) * 2021-03-24 2024-08-09 森创特锐精工科技(西安)有限公司 防盗螺母、防盗紧固件及安装夹具
CN114473953B (zh) * 2022-02-24 2024-04-02 库卡机器人(广东)有限公司 插拔销的拔销工具

Cited By (17)

* Cited by examiner, † Cited by third party
Publication number Priority date Publication date Assignee Title
JP2016109028A (ja) * 2014-12-05 2016-06-20 中国電力株式会社 ガイドベーンキー引き抜き工具
JP2017213669A (ja) * 2016-02-29 2017-12-07 ザ・ボーイング・カンパニーThe Boeing Company テーパー処理された抜去装置
KR101921464B1 (ko) * 2017-05-19 2018-11-23 주식회사 태일정밀 부품 분리 장치
JP7035363B2 (ja) 2017-08-02 2022-03-15 日本電気株式会社 入出力回路特性調整装置および入出力回路特性調整方法
JP2019029587A (ja) * 2017-08-02 2019-02-21 日本電気株式会社 入出力回路特性調整装置および入出力回路特性調整方法
WO2019229937A1 (ja) * 2018-05-31 2019-12-05 株式会社京岡 スリーブ部品引き抜き治具
US11701764B2 (en) 2018-05-31 2023-07-18 KYOOKA Co., Ltd. Sleeve-component extracting jig
JP6626589B1 (ja) * 2018-05-31 2019-12-25 株式会社京岡 スリーブ部品引き抜き治具
CN110785263A (zh) * 2018-05-31 2020-02-11 株式会社京冈 套筒部件拔出夹具
CN110785263B (zh) * 2018-05-31 2021-03-02 株式会社京冈 套筒部件拔出夹具
EP3670086A4 (en) * 2018-05-31 2021-04-28 KYOOKA Co., Ltd. SLEEVE PART EXTRACTION TEMPLATE
JP2020142331A (ja) * 2019-03-07 2020-09-10 日本パワーファスニング株式会社 拡張式アンカーの抜去装置及び抜去方法
JP7304613B2 (ja) 2019-03-07 2023-07-07 日本パワーファスニング株式会社 拡張式アンカーの抜去装置
CN110370010A (zh) * 2019-07-31 2019-10-25 中国商用飞机有限责任公司北京民用飞机技术研究中心 一种飞机紧固件拆除装置及飞机紧固件拆除方法
CN110405697A (zh) * 2019-07-31 2019-11-05 中国商用飞机有限责任公司北京民用飞机技术研究中心 一种起钉装置及其使用方法
KR102288215B1 (ko) * 2019-12-13 2021-08-10 한전케이피에스 주식회사 밸브의 시트 링용 인출 툴
KR20210076244A (ko) * 2019-12-13 2021-06-24 한전케이피에스 주식회사 밸브의 시트 링용 인출 툴

Also Published As

Publication number Publication date
JP4300256B1 (ja) 2009-07-22

Similar Documents

Publication Publication Date Title
JP4300256B1 (ja) 部品引き抜き装置用の雄ネジ治具
US8230566B2 (en) Sleeve puller
CN108772687B (zh) 一种可旋式螺母认帽退出装置
US20130071195A1 (en) Drill force indicator for hand-operated drills
EP2692459A2 (en) Hand-held rivet nut (rivet bolt) tool with quick-change mandrel
US9091292B2 (en) Captive screw
TW201413124A (zh) 平頭螺絲
CN201357239Y (zh) 自动夹紧卡头
CN114992207A (zh) 无铆钉紧固件和安装工具
KR20060052070A (ko) 성능이 향상된 수리 공구
JP2010264582A (ja) スリーブ部品引き抜き装置
JP6267955B2 (ja) アタッチメント型螺合部材保持具
CN210334511U (zh) 三刃铣刀
TWI880951B (zh) 螺絲釘及製造螺絲釘的方法
US2384037A (en) Blind rivet puller
EP2567788A2 (en) Positioning assembly of a hand rivet nut tool
CN206083924U (zh) 飞机薄板沉头孔切削装置
CN212351855U (zh) 一种设有分体式台阶套的轴承拆卸工具
EP2278176A1 (en) Method of preloading a coupling assembly
JP2017221988A (ja) 取り外し用ねじ回し工具
GB2572401A (en) Fastener
EP2998070A1 (en) Assembly tool for wheel hub
US9943913B2 (en) Fastener removal aid devices
CN110842529A (zh) 一种多功能拆装航空设备外壳的维修工具
CN218428028U (zh) 一种轴承加工装配辅助结构

Legal Events

Date Code Title Description
TRDD Decision of grant or rejection written
A01 Written decision to grant a patent or to grant a registration (utility model)

Free format text: JAPANESE INTERMEDIATE CODE: A01

A521 Request for written amendment filed

Free format text: JAPANESE INTERMEDIATE CODE: A523

Effective date: 20090330

FPAY Renewal fee payment (event date is renewal date of database)

Free format text: PAYMENT UNTIL: 20120501

Year of fee payment: 3

R150 Certificate of patent or registration of utility model

Ref document number: 4300256

Country of ref document: JP

Free format text: JAPANESE INTERMEDIATE CODE: R150

Free format text: JAPANESE INTERMEDIATE CODE: R150

FPAY Renewal fee payment (event date is renewal date of database)

Free format text: PAYMENT UNTIL: 20170501

Year of fee payment: 8

R250 Receipt of annual fees

Free format text: JAPANESE INTERMEDIATE CODE: R250

R250 Receipt of annual fees

Free format text: JAPANESE INTERMEDIATE CODE: R250

R250 Receipt of annual fees

Free format text: JAPANESE INTERMEDIATE CODE: R250

R250 Receipt of annual fees

Free format text: JAPANESE INTERMEDIATE CODE: R250

R250 Receipt of annual fees

Free format text: JAPANESE INTERMEDIATE CODE: R250

R250 Receipt of annual fees

Free format text: JAPANESE INTERMEDIATE CODE: R250

R250 Receipt of annual fees

Free format text: JAPANESE INTERMEDIATE CODE: R250