JP2008288564A - 電力半導体モジュール及びプリント回路基板の配置、及び電力半導体モジュール - Google Patents

電力半導体モジュール及びプリント回路基板の配置、及び電力半導体モジュール Download PDF

Info

Publication number
JP2008288564A
JP2008288564A JP2008084723A JP2008084723A JP2008288564A JP 2008288564 A JP2008288564 A JP 2008288564A JP 2008084723 A JP2008084723 A JP 2008084723A JP 2008084723 A JP2008084723 A JP 2008084723A JP 2008288564 A JP2008288564 A JP 2008288564A
Authority
JP
Japan
Prior art keywords
housing
power semiconductor
semiconductor module
circuit board
printed circuit
Prior art date
Legal status (The legal status is an assumption and is not a legal conclusion. Google has not performed a legal analysis and makes no representation as to the accuracy of the status listed.)
Granted
Application number
JP2008084723A
Other languages
English (en)
Other versions
JP5108586B2 (ja
Inventor
Olaf Zschieschang
ツィーシャンク オラフ
Andreas Laschek-Enders
ラシェク−エンデルス アンドレアス
Current Assignee (The listed assignees may be inaccurate. Google has not performed a legal analysis and makes no representation or warranty as to the accuracy of the list.)
IXYS Semiconductor GmbH
Original Assignee
IXYS Semiconductor GmbH
Priority date (The priority date is an assumption and is not a legal conclusion. Google has not performed a legal analysis and makes no representation as to the accuracy of the date listed.)
Filing date
Publication date
Application filed by IXYS Semiconductor GmbH filed Critical IXYS Semiconductor GmbH
Publication of JP2008288564A publication Critical patent/JP2008288564A/ja
Application granted granted Critical
Publication of JP5108586B2 publication Critical patent/JP5108586B2/ja
Expired - Fee Related legal-status Critical Current
Anticipated expiration legal-status Critical

Links

Images

Classifications

    • HELECTRICITY
    • H01ELECTRIC ELEMENTS
    • H01LSEMICONDUCTOR DEVICES NOT COVERED BY CLASS H10
    • H01L23/00Details of semiconductor or other solid state devices
    • H01L23/34Arrangements for cooling, heating, ventilating or temperature compensation ; Temperature sensing arrangements
    • H01L23/42Fillings or auxiliary members in containers or encapsulations selected or arranged to facilitate heating or cooling
    • H01L23/433Auxiliary members in containers characterised by their shape, e.g. pistons
    • HELECTRICITY
    • H01ELECTRIC ELEMENTS
    • H01LSEMICONDUCTOR DEVICES NOT COVERED BY CLASS H10
    • H01L23/00Details of semiconductor or other solid state devices
    • H01L23/34Arrangements for cooling, heating, ventilating or temperature compensation ; Temperature sensing arrangements
    • H01L23/36Selection of materials, or shaping, to facilitate cooling or heating, e.g. heatsinks
    • H01L23/367Cooling facilitated by shape of device
    • HELECTRICITY
    • H05ELECTRIC TECHNIQUES NOT OTHERWISE PROVIDED FOR
    • H05KPRINTED CIRCUITS; CASINGS OR CONSTRUCTIONAL DETAILS OF ELECTRIC APPARATUS; MANUFACTURE OF ASSEMBLAGES OF ELECTRICAL COMPONENTS
    • H05K3/00Apparatus or processes for manufacturing printed circuits
    • H05K3/30Assembling printed circuits with electric components, e.g. with resistor
    • H05K3/303Surface mounted components, e.g. affixing before soldering, aligning means, spacing means
    • HELECTRICITY
    • H05ELECTRIC TECHNIQUES NOT OTHERWISE PROVIDED FOR
    • H05KPRINTED CIRCUITS; CASINGS OR CONSTRUCTIONAL DETAILS OF ELECTRIC APPARATUS; MANUFACTURE OF ASSEMBLAGES OF ELECTRICAL COMPONENTS
    • H05K3/00Apparatus or processes for manufacturing printed circuits
    • H05K3/30Assembling printed circuits with electric components, e.g. with resistor
    • H05K3/32Assembling printed circuits with electric components, e.g. with resistor electrically connecting electric components or wires to printed circuits
    • H05K3/34Assembling printed circuits with electric components, e.g. with resistor electrically connecting electric components or wires to printed circuits by soldering
    • H05K3/341Surface mounted components
    • H05K3/3421Leaded components
    • HELECTRICITY
    • H01ELECTRIC ELEMENTS
    • H01LSEMICONDUCTOR DEVICES NOT COVERED BY CLASS H10
    • H01L2224/00Indexing scheme for arrangements for connecting or disconnecting semiconductor or solid-state bodies and methods related thereto as covered by H01L24/00
    • H01L2224/01Means for bonding being attached to, or being formed on, the surface to be connected, e.g. chip-to-package, die-attach, "first-level" interconnects; Manufacturing methods related thereto
    • H01L2224/42Wire connectors; Manufacturing methods related thereto
    • H01L2224/47Structure, shape, material or disposition of the wire connectors after the connecting process
    • H01L2224/48Structure, shape, material or disposition of the wire connectors after the connecting process of an individual wire connector
    • H01L2224/4805Shape
    • H01L2224/4809Loop shape
    • H01L2224/48091Arched
    • HELECTRICITY
    • H01ELECTRIC ELEMENTS
    • H01LSEMICONDUCTOR DEVICES NOT COVERED BY CLASS H10
    • H01L23/00Details of semiconductor or other solid state devices
    • H01L23/34Arrangements for cooling, heating, ventilating or temperature compensation ; Temperature sensing arrangements
    • H01L23/40Mountings or securing means for detachable cooling or heating arrangements ; fixed by friction, plugs or springs
    • H01L23/4093Snap-on arrangements, e.g. clips
    • HELECTRICITY
    • H01ELECTRIC ELEMENTS
    • H01LSEMICONDUCTOR DEVICES NOT COVERED BY CLASS H10
    • H01L24/00Arrangements for connecting or disconnecting semiconductor or solid-state bodies; Methods or apparatus related thereto
    • H01L24/01Means for bonding being attached to, or being formed on, the surface to be connected, e.g. chip-to-package, die-attach, "first-level" interconnects; Manufacturing methods related thereto
    • H01L24/42Wire connectors; Manufacturing methods related thereto
    • H01L24/47Structure, shape, material or disposition of the wire connectors after the connecting process
    • H01L24/48Structure, shape, material or disposition of the wire connectors after the connecting process of an individual wire connector
    • HELECTRICITY
    • H01ELECTRIC ELEMENTS
    • H01LSEMICONDUCTOR DEVICES NOT COVERED BY CLASS H10
    • H01L2924/00Indexing scheme for arrangements or methods for connecting or disconnecting semiconductor or solid-state bodies as covered by H01L24/00
    • H01L2924/0001Technical content checked by a classifier
    • H01L2924/00014Technical content checked by a classifier the subject-matter covered by the group, the symbol of which is combined with the symbol of this group, being disclosed without further technical details
    • HELECTRICITY
    • H01ELECTRIC ELEMENTS
    • H01LSEMICONDUCTOR DEVICES NOT COVERED BY CLASS H10
    • H01L2924/00Indexing scheme for arrangements or methods for connecting or disconnecting semiconductor or solid-state bodies as covered by H01L24/00
    • H01L2924/15Details of package parts other than the semiconductor or other solid state devices to be connected
    • H01L2924/151Die mounting substrate
    • H01L2924/153Connection portion
    • H01L2924/1532Connection portion the connection portion being formed on the die mounting surface of the substrate
    • HELECTRICITY
    • H01ELECTRIC ELEMENTS
    • H01LSEMICONDUCTOR DEVICES NOT COVERED BY CLASS H10
    • H01L2924/00Indexing scheme for arrangements or methods for connecting or disconnecting semiconductor or solid-state bodies as covered by H01L24/00
    • H01L2924/15Details of package parts other than the semiconductor or other solid state devices to be connected
    • H01L2924/181Encapsulation
    • HELECTRICITY
    • H05ELECTRIC TECHNIQUES NOT OTHERWISE PROVIDED FOR
    • H05KPRINTED CIRCUITS; CASINGS OR CONSTRUCTIONAL DETAILS OF ELECTRIC APPARATUS; MANUFACTURE OF ASSEMBLAGES OF ELECTRICAL COMPONENTS
    • H05K2201/00Indexing scheme relating to printed circuits covered by H05K1/00
    • H05K2201/03Conductive materials
    • H05K2201/0302Properties and characteristics in general
    • H05K2201/0311Metallic part with specific elastic properties, e.g. bent piece of metal as electrical contact
    • HELECTRICITY
    • H05ELECTRIC TECHNIQUES NOT OTHERWISE PROVIDED FOR
    • H05KPRINTED CIRCUITS; CASINGS OR CONSTRUCTIONAL DETAILS OF ELECTRIC APPARATUS; MANUFACTURE OF ASSEMBLAGES OF ELECTRICAL COMPONENTS
    • H05K2201/00Indexing scheme relating to printed circuits covered by H05K1/00
    • H05K2201/10Details of components or other objects attached to or integrated in a printed circuit board
    • H05K2201/10613Details of electrical connections of non-printed components, e.g. special leads
    • H05K2201/10621Components characterised by their electrical contacts
    • H05K2201/10689Leaded Integrated Circuit [IC] package, e.g. dual-in-line [DIL]
    • HELECTRICITY
    • H05ELECTRIC TECHNIQUES NOT OTHERWISE PROVIDED FOR
    • H05KPRINTED CIRCUITS; CASINGS OR CONSTRUCTIONAL DETAILS OF ELECTRIC APPARATUS; MANUFACTURE OF ASSEMBLAGES OF ELECTRICAL COMPONENTS
    • H05K2201/00Indexing scheme relating to printed circuits covered by H05K1/00
    • H05K2201/20Details of printed circuits not provided for in H05K2201/01 - H05K2201/10
    • H05K2201/2036Permanent spacer or stand-off in a printed circuit or printed circuit assembly
    • HELECTRICITY
    • H05ELECTRIC TECHNIQUES NOT OTHERWISE PROVIDED FOR
    • H05KPRINTED CIRCUITS; CASINGS OR CONSTRUCTIONAL DETAILS OF ELECTRIC APPARATUS; MANUFACTURE OF ASSEMBLAGES OF ELECTRICAL COMPONENTS
    • H05K2203/00Indexing scheme relating to apparatus or processes for manufacturing printed circuits covered by H05K3/00
    • H05K2203/02Details related to mechanical or acoustic processing, e.g. drilling, punching, cutting, using ultrasound
    • H05K2203/0278Flat pressure, e.g. for connecting terminals with anisotropic conductive adhesive
    • YGENERAL TAGGING OF NEW TECHNOLOGICAL DEVELOPMENTS; GENERAL TAGGING OF CROSS-SECTIONAL TECHNOLOGIES SPANNING OVER SEVERAL SECTIONS OF THE IPC; TECHNICAL SUBJECTS COVERED BY FORMER USPC CROSS-REFERENCE ART COLLECTIONS [XRACs] AND DIGESTS
    • Y02TECHNOLOGIES OR APPLICATIONS FOR MITIGATION OR ADAPTATION AGAINST CLIMATE CHANGE
    • Y02PCLIMATE CHANGE MITIGATION TECHNOLOGIES IN THE PRODUCTION OR PROCESSING OF GOODS
    • Y02P70/00Climate change mitigation technologies in the production process for final industrial or consumer products
    • Y02P70/50Manufacturing or production processes characterised by the final manufactured product

Landscapes

  • Engineering & Computer Science (AREA)
  • Microelectronics & Electronic Packaging (AREA)
  • Computer Hardware Design (AREA)
  • Physics & Mathematics (AREA)
  • Condensed Matter Physics & Semiconductors (AREA)
  • General Physics & Mathematics (AREA)
  • Power Engineering (AREA)
  • Manufacturing & Machinery (AREA)
  • Chemical & Material Sciences (AREA)
  • Materials Engineering (AREA)
  • Cooling Or The Like Of Semiconductors Or Solid State Devices (AREA)
  • Inverter Devices (AREA)
  • Structures For Mounting Electric Components On Printed Circuit Boards (AREA)
  • Cooling Or The Like Of Electrical Apparatus (AREA)

Abstract

【課題】技術的特性が向上した電力半導体モジュール及びプリント回路基板の配置を提供する。
【解決手段】少なくとも1つの電力半導体モジュール1及びストリップ導体を備えたプリント回路基板3からなる配置に関し、電力半導体モジュール1は、電力端子を有したハウジングを備え、電力端子が前記ハウジングを通って外部へ延設されると共に前記プリント回路基板3のストリップ導体に接触している。弾性又は塑性変形手段4Bが前記電力半導体モジュール1のハウジングとプリント回路基板3との間に配置され、前記プリント回路基板3からハウジングへ接触圧を伝達することを特徴とする。
【選択図】図6

Description

本発明は、電力半導体モジュールと共に少なくとも1つの電力半導体モジュール及びプリント回路基板の配置に関する。
このような配置は、電気工学の種々の領域、例えば電動モータ用の駆動制御装置において見られる。このような駆動制御装置の回路装置は、例えば整流器、インバーター、及びブレーキングコントローラ等の種々の機能ブロックからなっている。これらの機能ブロックは、電力半導体部品及び/又は電力半導体モジュールによって形成され、電力半導体モジュールは全ての必要な電力半導体及び追加的な部品、例えば温度及び/又は電流センサーからなる電力半導体を監視するための部品を含む。電力半導体部品及び/又は電力半導体モジュールは、通常プリント回路基板上に配置されると共にねじ止め、差し込み、或いは半田付けによって、プリント回路基板に接続される。
EP 0 513 410B1及びDE 196 46 396 C2より、電力半導体部品を有した回路装置が配設された電気絶縁基板を備えた電力半導体モジュールが知られている。前記基板は、回路装置を包囲する合成樹脂のハウジングの底部を形成している。前記回路装置と接触しているモジュールの電力端子は、ハウジングを介して外部に延設されている。前記ハウジングは、回路装置を保護するためにキャスティングコンパウンドによって満たされている。前記ハウジング上の締結箇所は、前記モジュールをヒートシンクにねじ止めするために用いられる。いくつかのモジュールは、より広い回路を形成するために、導体バーによって相互に接続されている。このようなバー接続は、電気絶縁の目的で十分なエアギャップ及び沿面距離を確保するために、ヒートシンクから距離を置いて第2の平面上に形成されている。同一平面上又は第2の平面上には、例えば、電力半導体部品をコントロールため或いはそれらを監視するための配線装置及び電子プリント回路基板が続く。
この既知の電力半導体部品及び/又は保護装置及び制御電子回路を含む電力半導体モジュールの設計では、材料、及び生産における多数の中間ステップ、ねじ止め、半田付け及びアセンブリステップに多額の費用を必要とする。さらに、電力半導体モジュールの動作中の電力損失によって生じた発熱は、通常相対的に小さい領域に集中する。この発熱は、全体のシステムのパワー及び電力半導体モジュールの信頼性を低減させる。従って、これらの電力半導体モジュールの冷却において極めて多額の費用が必要となる。
これに代えて、いわゆる個別電力半導体部品は、例えば適宜構築された付属部品内で用いられる。一般に、これらは、いずれの場合にも1つのハウジング内において個々の機能を画している。ここで、電力半導体は、金属製キャリアプレート上に直接半田付けされ、保護のために封入されている。これらの部品は、電力配置において空間的に分散されており、ヒートシンクにおいてより優れた熱の分散を達成する。この場合は、適正な冷却の実施においての費用を低減することができる。それらは、機械的に強固な構造により特徴付けられ、大ユニット量の結果として、最もバリエーションに富んだ回路機能用の規格化された構造のエレメントとして低コストが可能となる。欠点は、熱の分散を行うキャリアプレートが、電力半導体に対して電気的に絶縁されておらず、電位をもたらすことである。従って、かかる個別電力半導体部品の共通のヒートシンク上へのアッセンブリには、付加的な絶縁体が必要となるが、ヒートシンクに対する熱の放出において著しく不利になる。一般に、これらの部品は、ねじ又はクランプアッセンブリによってヒートシンク上に固定され、小さい絶縁板及び/又は熱伝導材料、ねじ、アッセンブリクランプ等の追加的なアッセンブリ部品及び対応したアッセンブリ費用が必要となる。さらに、一般に、半田付け処理に関する制約に応じる必要がある。絶縁体不足より、寸法及び他の特性において前記部品と同程度の部品が使用されるが、固体の金属製キャリアプレートは使用されず、両側に金属被膜が形成されたセラミック製ベースプレートが使用される。このような部品は、例えば、DE 196 25 240B4及びUS6 404 065に記載されている。上記構成にもかかわらず、ヒートシンク上へのアッセンブリのため及びプリント回路基板への半田付けのために、付加的なアセンブリ部品及び特別なアセンブリステップも必要となる。
電気的結合のために使用される部品の櫛状端子は、一般に、側方へ平面的に引き出される。従って、多くの用途に対し、一方では種々の電位を有する端子間、他方では用途における前記端子と金属被膜を有するキャリアプレート又はヒートシンクとの間のエアギャップ及び沿面距離の確保の問題がある。
WO94/29901には、ストリップ導体を備えたプリント回路基板、前記プリント回路基板上に設置された半導体部品、及びストリップ導体とヒートシンクとの接触からなる配置について記載している。プリント回路基板は、T字状のヒートシンクの1つの脚部にねじ止めされている。ヒートシンクとプリント回路基板との間には、曲げ及びプレテンションによって半導体をヒートシンクに対して押し付ける2つの横バネ舌部からなるばねエレメントが配置されている。
US6,035,523Aより、プリント回路基板、半導体モジュール、及びヒートシンクからなり、半導体部品とプリント回路基板との間に、半導体部品を支持する熱可塑性材料が導入された配置が知られている。
欧州特許第0513410号 独国特許発明第19646396号 特国特許発明第19625240号 米国特許第6404065号 国際公開第94/29901号 米国特許第6035523号
本発明は、技術的特性が向上した電力半導体モジュール及びプリント回路基板の配置の提供を課題とする。本発明は、費用効果をより向上させ、アッセンブリ費用をより低減させることが必要な電力半導体モジュール及びプリント回路基板のよりコンパクトな配置の提供も課題とする。さらに、本発明は、そのような配置のための電力半導体モジュールの提供を課題とする。
本発明によれば、これらの課題は、請求項1及び11に記載された特徴によって達成される。本発明の好適な実施形態は、従属請求項の主題である。
本発明に係る配置は、少なくとも1つの電力半導体モジュールと、ストリップ導体を有したプリント回路基板とを備えている。前記電力半導体モジュールは、電力端子を有したハウジングを備え、前記電力端子は、前記ハウジングを通って外部へ延設されると共に前記プリント回路基板のストリップ導体に接触している。
本発明に係る配置は、弾性又は塑性変形手段が前記電力半導体モジュールのハウジングと前記プリント回路基板との間に配置され、前記弾性又は塑性変形手段を介して前記プリント回路基板からハウジングへ接触圧を伝達することを特徴とする。このようにして、電力半導体モジュールの電力端子への負荷が軽減され、端子エレメントの曲げのおそれがなくなる。さらに、端子エレメント及び前記プリント回路基板の金属被膜との間の予め設定された間隔が確実に保持される。これは、弾性又は塑性変形手段が熱伝導材料からなる場合に有利である。
さらに、前記配置は、前記プリント回路基板の反電力半導体モジュール側に配置された少なくとも1つの接触圧エレメントと、前記電力半導体モジュールの反プリント回路基板側に配置された少なくとも1つのヒートシンクとを備えている。前記接触圧エレメントは、ハウジングの第1のハウジング部に一体に設けられている一方、前記ヒートシンクは、前記ハウジングの第2のハウジング部に一体に設けられている。2つのハウジング部は、前記プリント回路基板上に備えられた電子部品と共に前記プリント回路基板を封入している。
前記弾性又は塑性変形手段は、本発明に係る配置のプリント回路基板上に接触圧が働くときに、前記電力端子上の負荷を軽減する全ての手段を意味していると解する。前記手段は、弾性変形可能であり、復元力を働かせることができるのが好ましい。しかしながら、原理上は、前記手段が塑性変形可能であり、前記プリント回路基板を前記端子エレメント上ではなく塑性変形手段上に支持することも可能である。
好適な実施形態においては、弾性又は塑性変形手段が、少なくとも1つのばねエレメントとして具体的に示される。ばねエレメントは、前記プリント回路基板の据付用としての少なくとも1つの外側アーチ状領域を備え、該据付領域が圧力下においてバネのような動作で退避するように変形する。前記ばねエレメントは、前記電力半導体モジュールのハウジング上にクランプ方式によって設置するのが好ましい。この目的のために、前記ばねエレメントは、ハウジング上で側面に沿って係合するクランプを備えている。ばねエレメントは、金属、例えばばね鋼からなるのが好ましい。
前記ばねエレメントは、例えば、外側へ曲げられた金属クランプである。
代替的な実施形態は、弾性又は塑性変形手段が、電力半導体モジュールとプリント回路基板との間の少なくとも1つの弾性又は塑性変形クッションによって具体的に示される。前記弾性又は塑性変形クッションは、前記電力半導体モジュールのハウジングの表面に固定或いはハウジングの切欠又は凹部に挿入される。前記クッションは、前記電力半導体モジュールのハウジングに接着するのが好ましい。しかしながら、前記クッションは、前記電力半導体モジュールの配置を、プリント回路基板との半田付け後に、弾性変形可能且つ電気絶縁性を備えたコンパウンド、例えばシリコンゴムによって、鋳造することでも形成することができる。
前記弾性又は塑性変形クッションは、可塑性及び/又は弾性、及び好ましくは電気絶縁特性を備えた異なる材料から形成することができる。重要なのは、クッションが、接触圧エレメントによって前記電力半導体モジュールのハウジング上に働く力を吸収し、熱的結合の向上のための冷却プレートに対してハウジングを恒久的に押し付けることである。これによっても、電力半導体モジュールの電力端子エレメントの負荷は軽減される。加えて、電気絶縁クッションは、電気的動作のために必要な電力端子とプリント回路基板との間のエアギャップ及び沿面距離のための絶縁距離を確実に保持する。さらに、クッションは、電力端子と共に、電力半導体モジュールの温度関連の変形に対する補正を行い、前記電力半導体モジュールに含まれている材料の種々の熱膨張係数に対応することができる。
前記少なくとも1つの電力半導体モジュールは、前記ハウジングの底部を形成する絶縁セラミック基材からなるキャリアプレートを備えているのが好ましい。キャリアプレートは、一側に前記電力半導体モジュールの回路装置に対応して構成された金属層を備え、この一側と反対側、すなわち外側に電力半導体モジュールのヒートシンクに対する熱的結合のために用いられる連続的な金属層を備えている。少なくとも1つの電力半導体部品は、一側に構成された金属層上に配置され、該金属層に対して、下側で半田付けされ且つ上側で好ましくはボンドワイヤとして具体的に示される電気的接続エレメントによって接触する。
弾性又は塑性変形手段は、前記プリント回路基板と接触圧エレメントとの間に部品公差によって生じるギャップ補正のために、前記プリント回路基板の反電力半導体モジュール側において前記接触圧エレメントとプリント回路基板との間にも配置されている。従って、部品公差とは無関係に、接触圧エレメントが十分に大きい力をプリント回路基板に確実に及ぼすことができる。
以下、本発明の実施例については、図面を参照してより詳細に説明する。
本発明に係る電力半導体モジュール1は、好ましくはエポキシ樹脂化合物からなるハウジング9と、絶縁セラミック基板からなりハウジング9の底部を形成するキャリアプレート5とを備えている。原理上は、ハウジング9とキャリアプレート5は金属から形成することもできる。キャリアプレート5は、ハウジング9に対向する側及び反ハウジング9側、すなわち外側の双方に金属層5.2、5.3を備えている。第1の金属層5.2は、回路装置のストリップ導体として構成されている。この金属層5.2上には、電力半導体部品6が設置され、電力半導体部品6は、下側で金属層5.2に対して半田付けされている。上側において、電力半導体部品6は、好ましくはボンドワイヤ8によって、金属層5.2のストリップ導体に接触している。ボンドワイヤ8は、電力半導体部品6とストリップ導体とにそれぞれ半田付けされている。2つの電力端子7は、好ましくはブラケット形状であり、電力半導体モジュール1の電力端子を形成している。2つの電力端子7は、それぞれハウジング9内の端部において回路装置のストリップ導体に半田付けされると共にハウジング9を通って好ましくは外部へ側方に延設されている。前記2つの電力端子7の外側の端部は、半田付けされる接触領域を備えた表面実装部品又はSMD(Surface Mounted Device)部品の端子として形成されている。原理上は、電力半導体モジュール1の電力端子7はSMD部品として具体的に示される必要はない。それどころか、電力端子7を、プリント回路基板3にねじ止めして電力半導体モジュールを設置するか或いはプリント回路基板3内に挿入することができる。
ハウジング9内に位置している電力端子7の部分とキャリアプレート5との間及びハウジング9外に位置している電力端子7の部分とヒートシンク11だけでなくプリント回路基板3との間のエアギャップ及び沿面距離のための絶縁距離を確保するために、電力端子7は、まず、ハウジング9内でキャリアプレート5から縦方向に延設され、次いで、基本的にハウジング9を通って外部へ横方向に延設され、その後、基本的にプリント回路基板3まで縦方向へ延設されるように形成されている。前記絶縁距離は、電気的動作のために必要なものである。
ハウジング9は、反キャリアプレート5側の外側に、2つのクション4を備えている。2つのクッションは、相互間に間隔をおいて配置され、弾性又は塑性変形可能な材料からなっている。2つのクッションは、接触圧エレメント12によってハウジング9がヒートシンク11に対して押し付けられるときに、プリント回路基板3を支持する働きを行う。2つのクッションは、ハウジング9の外側には、2つのクッションを据え付けるための2つの凹部が備えられている。2つのクッション4は、それぞれ接着層によってモジュール側に備えられ、ハウジング9の外側に接着されている。クッション4をハウジングに接着し電力半導体モジュール1の製造が早ければ、配置の組み付けを簡素化することができる。
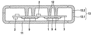
図2の実施例では、本発明に係る電力半導体モジュール1が、プリント回路基板3のストリップ導体3aに半田付けされている。半田付けは、両クッション4が電力半導体モジュール1のハウジング9とプリント回路基板3との間に配置されるようにして行われる。接触圧エレメント12は、プリント回路基板3の反電力半導体モジュール1側に配置されており、プリント回路基板3を両クッション4に対して押し付け、これによって電力半導体モジュール1をヒートシンク11に対して押し付けている。キャリアプレート5の外側は、ヒートシンク11に隣接している。キャリアプレート5の金属製の外側とヒートシンク11との間は、熱伝導ペーストが位置され、熱伝導性を向上させている。
両クッション4は、接触圧エレメント12により電力半導体モジュール1のハウジング9に対して及ぶ力を吸収し、電力半導体モジュール1の電力端子7への負荷を軽減する。
従って、電力端子7は、変形が防止され、電力半導体モジュール1のプリント回路基板3に対する間隔をおいた配置が維持される。すなわち、クッション4は、電気的動作のために必要な電力端子7とプリント回路基板3との間のエアギャップ及び沿面距離のための絶縁体距離を確実に保持することができる。さらに、クッション4は、電力端子7と共に、電力半導体モジュール1の熱関連の変形のための補正を行い、電力半導体モジュール1に含まれている材料の種々の熱膨張係数に対応することができる。
付加的なクッション4’は、弾性及び/又は可塑性材料からなり、接触圧エレメント12とプリント回路基板との間に配置されている。付加的なクッション4’は、部品公差によって生じるプリント回路基板3と接触圧エレメント12との間のギャップ補正を行い、接触圧エレメント12がプリント回路基板3上に対して十分に大きい力を確実に及ぼすことができる。しかしながら、接触圧エレメント及びプリント回路基板間の付加的なクッションは、一般に部品公差が実際に存在している場合に必要というわけではない。
図3は、本発明に係る配置の代替的な実施例を示し、接触圧エレメント12が第1のハウジング部13.2と一体に設けられている。第1のハウジング部13.2は金属、好ましくは鋳鉄からなり、ハウジング13の上部を形成している。一方、ヒートシンク11は、ハウジング13の第2のハウジング部13.1と一体に設けられている。2つのハウジング部13.1,13.2は、プリント回路基板3上に備えられた電子部品1,2と共にプリント回路基板3を封入している。図2に係る独創的な配置に対し、この配置では、接触圧エレメント12が、各クッション4に対して備えられている。
図4は、本発明に係る電力半導体モジュールの実施例2を示し、前記の図面と対応する構成には同一符号を付す。この実施例は、クッションに代えてばねエレメント4Aを備えたことで図1の実施例と異なっている。ばねエレメント4Aは、ばね鋼からなる薄肉プレートであり、ジグザグ形状で、その端部が側面に沿って下方に折り曲げられている。ばねエレメントの2つの端部は、側面に沿って下方に折り曲げられたクランプ14を形成している。クランプ14は、電力半導体モジュールのハウジングの周囲で側面に沿って係合し、ばねエレメントをハウジングに対して固定している。ばね鋼からなる薄肉プレートは、接触圧が上方から及ぶときに圧縮するように変形する。2つのクランプ14は、内側に曲がり易くなっているため、ばねエレメントがハウジング上で押圧されるときに、十分なクランプテンションを達成することもできる。
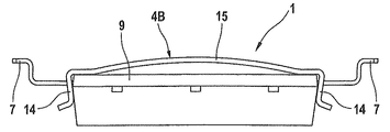
図5は、図4の実施例とはばねエレメントが異なる代替的な実施例を示す。図5のばねエレメント4Bは、端部が下方に折り曲げられたばね鋼の薄肉板である。薄肉プレートは、2つの端部間が外側へのアーチ状となっており、ばねエレメントをハウジングに固定するためのクランプ14として動作する。従って、外側アーチ状据付領域15は、プリント回路基板のために形成され、圧縮応力下で退避する。
図4及び図5のばねエレメント4A,4Bは、例えば、大量の射出成形部品として、柔軟性のある弾性変形可能な樹脂からコスト効率よく生産される。それらは、ジグザグ形状の区域又は外側アーチ状区域を備え、或いはジグザグ形状区域又は外側アーチ状区域の複数の部分をそれぞれ備えることができる。
図6は、本発明に係る配置を示している。図6の配置は、図5の電力半導体モジュール1と、プリント回路基板3と、プリント回路基板及び電力半導体モジュール1のハウジング9間に配置されたばねエレメント4Bとからなる。プリント回路基板3は、ばねエレメント4Bの外側アーチ状据付エリア15上に設置されている。一方、図5の電力半導体モジュールに代えて、配置は、図4の電力半導体モジュールを備えることもできる。
本発明に係る電力半導体モジュールを示している(実施例1)。 図1の電力半導体モジュール及びプリント回路基板からなる本発明に係る配置を示している(実施例1)。 本発明に係る図1の電力半導体モジュールを備えた本発明に係る配置の代替的な実施例を示している(実施例1)。 本発明に係る電力半導体モジュールを示している(実施例2)。 本発明に係る電力半導体モジュールの他の実施例を示している(実施例2)。 図5の電力半導体モジュールとプリント回路基板とからなる本発明に係る配置示している(実施例2)。

Claims (16)

  1. ストリップ導体を有したプリント回路基板(3)と、
    電力端子(7)を有するハウジング(9)を備え、前記電力端子(7)が前記ハウジング(9)を通って外部に延設されると共に前記プリント回路基板(3)のストリップ導体(3a)に接触する少なくとも1つの電力半導体モジュール(1)と、
    前記電力半導体モジュールの反プリント回路基板側に配置された少なくとも1つのヒートシンク(11)と、
    前記電力半導体モジュール(1)のハウジング(9)と前記プリント回路基板(3)との間に配置され、前記プリント回路基板からハウジングへ接触圧を伝達して前記電力端子(7)への負荷を軽減する弾性又は塑性変形手段(4)とを備えた配置であって、
    前記プリント回路基板(3)の反電力半導体モジュール(1)側に配置された少なくとも1つの接触圧エレメント(12)を備え、
    前記接触圧エレメント(12)は、前記ハウジング(13)の第1のハウジング部(13.2)に一体に設けられ、
    前記ヒートシンク(11)は、前記ハウジング(13)の第2のハウジング部(13.1)に一体に設けられ、
    前記2つのハウジング部は、前記プリント回路基板(3)を封入する
    ことを特徴とする配置。
  2. 請求項1記載の配置であって、
    前記弾性又は塑性変形手段(4)は、少なくとも1つのばねエレメント(4A,4B)であり、前記プリント回路基板(3)の据付のための少なくとも1つの外側アーチ状領域(15)を備え、前記据付領域が圧力下でバネのような動作で退避するように変形する
    ことを特徴とする配置。
  3. 請求項2記載の配置であって、
    前記ばねエレメント(4A,4B)は、前記電力半導体モジュール(1)のハウジング(9)上にクランプ方式によって設置される
    ことを特徴とする配置。
  4. 請求項2又は3記載の配置であって、
    前記ばねエレメント(4A,4B)は、前記ハウジング(9)上で側面に沿って係合するクランプ(15)を備えている
    ことを特徴とする配置。
  5. 請求項2〜4の何れかに記載の配置であって、
    前記ばねエレメント(4A,4B)は、金属からなる
    ことを特徴とする配置。
  6. 請求項1記載の配置であって、
    前記弾性又は塑性変形手段(4)は、少なくとも1つの弾性又は塑性変形クッションからなる
    ことを特徴とする配置。
  7. 請求項6記載の配置であって、
    前記少なくとも1つの弾性又は塑性変形クッション(4)は、前記ハウジング(9)の外側に接着された
    ことを特徴とする配置。
  8. 請求項1〜7の何れかに記載の配置であって、
    前記電力半導体モジュール(1)は、前記電力半導体モジュール(1)のハウジング(9)の底部を形成し絶縁セラミックからなるキャリアプレート(5)を備え、
    前記キャリアプレート(5)は、回路装置として構成された金属層(5.2)を備え、
    前記電力半導体モジュール(1)は、前記キャリアプレート(5)の金属層(5.2)上に配置され、下方で前記金属層に半田付けされると共に上方で電気接続エレメント(7.1)によって前記金属層に接触する少なくとも1つの電力半導体部品(6)を備えた
    ことを特徴とする配置。
  9. 請求項1〜8の何れかに記載の配置であって、
    前記電力半導体モジュール(1)の電力端子(7)は、表面実装部品の端子として設けられ、前記ハウジングの外部へ側方に延設された部分を備え、該部分に対して直角に伸びる部分が続く
    ことを特徴とする配置。
  10. 請求項1〜9の何れかに記載の配置であって、
    前記ハウジング(9)は、エポキシ樹脂化合物からなる或いは金属ハウジングである
    ことを特徴とする配置。
  11. ハウジング(9)と、該ハウジング(9)を通って外部に延設されると共にプリント回路基板のストリップ導体に接触する電力端子(7)と、組み付けを通じて前記ハウジング(9)の前記プリント回路基板に対向する側に配置され、前記プリント回路基板からハウジングへ接触圧を伝達して前記電力端子(7)への負荷を軽減する弾性又は塑性変形手段(4)とを備えた電力半導体モジュールであって、
    前記弾性又は塑性変形手段(4)は、少なくとも1つのばねエレメント(4A,4B)であり、前記プリント回路基板の据付のための少なくとも1つの外側アーチ状領域(15)を備え、前記据付領域が圧力下でバネのような動作で退避するように変形し、
    前記ばねエレメント(4A,4B)は、前記ハウジング(9)上にクランプ方式によって設置された
    ことを特徴とする電力半導体モジュール。
  12. 請求項1記載の電力半導体モジュールであって、
    前記ばねエレメント(4A,4B)は、前記ハウジング(9)上で側面に沿って係合するクランプ(15)を備えている
    ことを特徴とする電力半導体モジュール。
  13. 請求項11又は12記載の電力半導体モジュールであって、
    前記ばねエレメント(4A,4B)が、金属からなる
    ことを特徴とする電力半導体モジュール。
  14. 請求項11〜13の何れかに記載の電力半導体モジュールであって、
    前記ハウジング(9)の底部を形成し絶縁セラミックからなるキャリアプレート(5)を備え、
    前記キャリアプレート(5)は、回路装置として構成された金属層(5.2)を備え、
    前記キャリアプレート(5)の金属層(5.2)上に配置され、下方で前記金属層に半田付けされると共に上方で電気接続エレメント(7.1)によって前記金属層に接触する少なくとも1つの電力半導体部品(6)を備えた
    ことを特徴とする電力半導体モジュール。
  15. 請求項11〜14の何れかに記載の電力半導体モジュールであって、
    前記電力端子(7)は、表面実装部品の端子として設けられ、前記ハウジングの外部へ側方に延設された部分を備え、該部分に対して直角に伸びる部分に続く
    ことを特徴とする電力半導体モジュール。
  16. 請求項11〜15の何れかに記載の電力半導体モジュールであって、
    前記ハウジング(9)は、エポキシ樹脂化合物からなる或いは金属ハウジングである
    ことを特徴とする電力半導体モジュール。
JP2008084723A 2007-03-28 2008-03-27 電力半導体モジュール及びプリント回路基板の配置、及び電力半導体モジュール Expired - Fee Related JP5108586B2 (ja)

Applications Claiming Priority (2)

Application Number Priority Date Filing Date Title
DE102007014789.0 2007-03-28
DE102007014789A DE102007014789B3 (de) 2007-03-28 2007-03-28 Anordnung mindestens eines Leistungshalbleitermoduls und einer Leiterplatte und Leistungshalbleitermodul

Publications (2)

Publication Number Publication Date
JP2008288564A true JP2008288564A (ja) 2008-11-27
JP5108586B2 JP5108586B2 (ja) 2012-12-26

Family

ID=39561858

Family Applications (1)

Application Number Title Priority Date Filing Date
JP2008084723A Expired - Fee Related JP5108586B2 (ja) 2007-03-28 2008-03-27 電力半導体モジュール及びプリント回路基板の配置、及び電力半導体モジュール

Country Status (4)

Country Link
US (1) US7780469B2 (ja)
EP (1) EP1976358B1 (ja)
JP (1) JP5108586B2 (ja)
DE (1) DE102007014789B3 (ja)

Cited By (4)

* Cited by examiner, † Cited by third party
Publication number Priority date Publication date Assignee Title
JP2010199330A (ja) * 2009-02-25 2010-09-09 Brother Ind Ltd ヒートシンク保持部材および液体吐出装置
KR101228841B1 (ko) 2011-10-04 2013-02-04 엘에스산전 주식회사 일체형 탄성클립을 이용한 전력용반도체 고정장치
KR200472484Y1 (ko) * 2012-06-14 2014-05-02 엘에스산전 주식회사 전력용 반도체 고정기구
JP2017184392A (ja) * 2016-03-29 2017-10-05 アイシン・エィ・ダブリュ株式会社 インバータ装置、及び、インバータ装置の製造方法

Families Citing this family (21)

* Cited by examiner, † Cited by third party
Publication number Priority date Publication date Assignee Title
US8536768B2 (en) 2008-10-14 2013-09-17 Koninklijke Philips N.V. System for heat conduction between two connectable members
JP4789997B2 (ja) * 2008-11-20 2011-10-12 三菱電機株式会社 電子基板装置
DE102009047703A1 (de) * 2009-12-09 2011-06-16 Robert Bosch Gmbh Befestigungsanordnung für leiterplattenmontierte Bauteile mit verbessertem Kühlkonzept
US20110279980A1 (en) * 2010-05-11 2011-11-17 Silicon Integrated Systems Corp. Heat dissipation structure for liquid crystal television
DE202011100820U1 (de) 2011-05-17 2011-12-01 Ixys Semiconductor Gmbh Leistungshalbleiter
JP5529208B2 (ja) * 2011-08-25 2014-06-25 トヨタ自動車株式会社 パワーモジュールの構造及び成形方法
JP5686127B2 (ja) * 2012-11-16 2015-03-18 日立金属株式会社 信号伝送装置
US9147630B2 (en) * 2013-03-05 2015-09-29 Infineon Technologies Ag Power semiconductor assembly and module
DE202014003171U1 (de) 2014-04-15 2014-05-14 Ixys Semiconductor Gmbh Leistungshalbleitermodul
EP2933836B1 (de) 2014-04-15 2020-10-14 IXYS Semiconductor GmbH Leistungshalbleitermodul
DE102015200548A1 (de) * 2015-01-15 2016-07-21 Zf Friedrichshafen Ag Anordnung zum Entwärmen von zumindest einem elektronischen Bauteil
US9913361B2 (en) 2016-01-06 2018-03-06 International Business Machines Corporation Integrated circuit device assembly
US10021803B2 (en) * 2016-02-26 2018-07-10 Delta Electronics, Inc. Power supply
KR101841836B1 (ko) * 2016-07-05 2018-03-26 김구용 다면 방열구조를 갖는 pcb 모듈, 및 이 모듈에 사용되는 방열 플레이트, 다층 pcb 어셈블리, 및 모듈 케이스
CA3091748A1 (en) * 2018-03-05 2019-09-12 Sew-Eurodrive Gmbh & Co. Kg Electrical appliance arrangement having an electrical appliance which can be fastened to a support element, in particular a wall
DE202019101524U1 (de) 2019-03-18 2019-04-29 Andreas Groch System zum Aufstellen eines Solarmoduls
DE102019206523A1 (de) * 2019-05-07 2020-11-12 Zf Friedrichshafen Ag Leistungsmodul mit gehäusten Leistungshalbleitern zur steuerbaren elektrischen Leistungsversorgung eines Verbrauchers
CN111987523A (zh) * 2019-05-24 2020-11-24 泰科电子(上海)有限公司 连接器、散热器
DE102020206145A1 (de) 2020-05-15 2021-11-18 Zf Friedrichshafen Ag Verfahren zur Herstellung eines Leistungsmoduls, Leistungsmodul, elektrische Vorrichtung sowie Kraftfahrzeug
DE102021129117A1 (de) 2021-11-09 2023-05-11 Rolls-Royce Deutschland Ltd & Co Kg Leiterplattenanordnung
US12279360B2 (en) * 2022-09-27 2025-04-15 Prime World International Holdings Ltd. Optical transceiver including heat dissipation components thermally coupled to opposite sides of housing

Citations (3)

* Cited by examiner, † Cited by third party
Publication number Priority date Publication date Assignee Title
JP2006093255A (ja) * 2004-09-22 2006-04-06 Fuji Electric Device Technology Co Ltd パワー半導体モジュールおよびその製造方法
JP2007027261A (ja) * 2005-07-13 2007-02-01 Mitsubishi Electric Corp パワーモジュール
JP2007295639A (ja) * 2006-04-20 2007-11-08 Denso Corp 車両用モータ駆動装置

Family Cites Families (22)

* Cited by examiner, † Cited by third party
Publication number Priority date Publication date Assignee Title
DE3378871D1 (en) * 1982-09-09 1989-02-09 Siemens Ag Cooling device for a plurality of integrated components assembled as a flat structure
US4750089A (en) * 1985-11-22 1988-06-07 Texas Instruments Incorporated Circuit board with a chip carrier and mounting structure connected to the chip carrier
DE3604313A1 (de) * 1986-02-12 1987-08-13 Bbc Brown Boveri & Cie Leistungshalbleitermodul
US5184211A (en) * 1988-03-01 1993-02-02 Digital Equipment Corporation Apparatus for packaging and cooling integrated circuit chips
EP0513410B1 (de) * 1991-05-15 1993-12-15 IXYS Semiconductor GmbH Leistungshalbleitermodul und Verfahren zur Herstellung eines solchen Moduls
DE9112099U1 (de) * 1991-09-27 1991-12-05 Siemens Nixdorf Informationssysteme AG, 4790 Paderborn Flachbaugruppe
WO1994029901A1 (de) * 1993-06-07 1994-12-22 Melcher Ag Befestigungsvorrichtung für halbleiter-schaltelemente
US5396404A (en) * 1993-09-20 1995-03-07 Delco Electronics Corp. Heat sinking assembly for electrical components
US5483103A (en) * 1994-02-24 1996-01-09 Harris Corporation Means for clamping a semi-conductor to a support
US5504653A (en) * 1994-11-21 1996-04-02 Delco Electronics Corp. Heat sinking assembly for electrical components
US6035523A (en) * 1995-06-16 2000-03-14 Apple Computer, Inc. Method and apparatus for supporting a component on a substrate
JP3429921B2 (ja) * 1995-10-26 2003-07-28 三菱電機株式会社 半導体装置
DE19646396C2 (de) * 1996-11-11 2001-06-28 Semikron Elektronik Gmbh Leistungshalbleitermodul für verschiedene Schaltungsvarianten
US5889652A (en) * 1997-04-21 1999-03-30 Intel Corporation C4-GT stand off rigid flex interposer
US6180436B1 (en) * 1998-05-04 2001-01-30 Delco Electronics Corporation Method for removing heat from a flip chip semiconductor device
US6404065B1 (en) * 1998-07-31 2002-06-11 I-Xys Corporation Electrically isolated power semiconductor package
US6566879B1 (en) * 2000-02-29 2003-05-20 Koninklijke Philips Electronics, N.V. Apparatus for effecting heat transfer from power semiconductors
US6631078B2 (en) * 2002-01-10 2003-10-07 International Business Machines Corporation Electronic package with thermally conductive standoff
US7023699B2 (en) * 2002-06-10 2006-04-04 Visteon Global Technologies, Inc. Liquid cooled metal thermal stack for high-power dies
US6633485B1 (en) * 2002-11-20 2003-10-14 Illinois Tool Works Inc. Snap-in heat sink for semiconductor mounting
EP1424728A1 (de) * 2002-11-27 2004-06-02 Abb Research Ltd. Leistungshalbleitermodul
US7696532B2 (en) * 2004-12-16 2010-04-13 Abb Research Ltd Power semiconductor module

Patent Citations (3)

* Cited by examiner, † Cited by third party
Publication number Priority date Publication date Assignee Title
JP2006093255A (ja) * 2004-09-22 2006-04-06 Fuji Electric Device Technology Co Ltd パワー半導体モジュールおよびその製造方法
JP2007027261A (ja) * 2005-07-13 2007-02-01 Mitsubishi Electric Corp パワーモジュール
JP2007295639A (ja) * 2006-04-20 2007-11-08 Denso Corp 車両用モータ駆動装置

Cited By (4)

* Cited by examiner, † Cited by third party
Publication number Priority date Publication date Assignee Title
JP2010199330A (ja) * 2009-02-25 2010-09-09 Brother Ind Ltd ヒートシンク保持部材および液体吐出装置
KR101228841B1 (ko) 2011-10-04 2013-02-04 엘에스산전 주식회사 일체형 탄성클립을 이용한 전력용반도체 고정장치
KR200472484Y1 (ko) * 2012-06-14 2014-05-02 엘에스산전 주식회사 전력용 반도체 고정기구
JP2017184392A (ja) * 2016-03-29 2017-10-05 アイシン・エィ・ダブリュ株式会社 インバータ装置、及び、インバータ装置の製造方法

Also Published As

Publication number Publication date
EP1976358A3 (de) 2010-07-07
DE102007014789B3 (de) 2008-11-06
US20080293261A1 (en) 2008-11-27
EP1976358B1 (de) 2013-04-24
EP1976358A2 (de) 2008-10-01
JP5108586B2 (ja) 2012-12-26
US7780469B2 (en) 2010-08-24

Similar Documents

Publication Publication Date Title
JP5108586B2 (ja) 電力半導体モジュール及びプリント回路基板の配置、及び電力半導体モジュール
CN100579350C (zh) 元件装置和电子模块
US6703699B2 (en) Semiconductor device
US6369411B2 (en) Semiconductor device for controlling high-power electricity with improved heat dissipation
US6797880B2 (en) Plastic frame for the mounting of an electronic heavy-current control unit
US20080112132A1 (en) Electric Power Module
KR101384818B1 (ko) 접촉 스프링을 구비한 전력 반도체 모듈
CN110933900B (zh) 电气设备和散热器
JP5709739B2 (ja) パワー半導体装置
KR20120128568A (ko) 전력 반도체
US8254126B2 (en) Electronic circuit device
EP2706828B1 (en) Coupling assembly of power semiconductor device and PCB and method for manufacturing the same
JP2010034557A (ja) パワー半導体モジュールと接続装置とを有する装置
JP4069070B2 (ja) 電力半導体モジュール
JP2002198477A (ja) 半導体装置
KR20100056410A (ko) 보조접촉스프링이 초기응력을 받는 전력반도체 스프링
JP5186877B2 (ja) 半導体装置
CN100517669C (zh) 半导体装置
RU2350055C1 (ru) Модуль, состоящий из подложки, силовых приборов, электрической схемы и теплоотвода
US20220022337A1 (en) Circuit board
JP7771709B2 (ja) 実装基板、及び実装基板を搭載した電気機器
KR20140139649A (ko) 일체형 단자 프레임 및 이를 구비하는 전력 모듈
JP2012054262A (ja) 半導体装置
JP2002314035A (ja) パワー半導体モジュール
JP2004179492A (ja) 半導体装置およびその実装体

Legal Events

Date Code Title Description
A521 Request for written amendment filed

Free format text: JAPANESE INTERMEDIATE CODE: A523

Effective date: 20080718

A711 Notification of change in applicant

Free format text: JAPANESE INTERMEDIATE CODE: A711

Effective date: 20081008

A521 Request for written amendment filed

Free format text: JAPANESE INTERMEDIATE CODE: A821

Effective date: 20081008

A621 Written request for application examination

Free format text: JAPANESE INTERMEDIATE CODE: A621

Effective date: 20110309

A977 Report on retrieval

Free format text: JAPANESE INTERMEDIATE CODE: A971007

Effective date: 20120528

A131 Notification of reasons for refusal

Free format text: JAPANESE INTERMEDIATE CODE: A131

Effective date: 20120605

A521 Request for written amendment filed

Free format text: JAPANESE INTERMEDIATE CODE: A523

Effective date: 20120822

TRDD Decision of grant or rejection written
A01 Written decision to grant a patent or to grant a registration (utility model)

Free format text: JAPANESE INTERMEDIATE CODE: A01

Effective date: 20120911

A01 Written decision to grant a patent or to grant a registration (utility model)

Free format text: JAPANESE INTERMEDIATE CODE: A01

A61 First payment of annual fees (during grant procedure)

Free format text: JAPANESE INTERMEDIATE CODE: A61

Effective date: 20121005

R150 Certificate of patent or registration of utility model

Ref document number: 5108586

Country of ref document: JP

Free format text: JAPANESE INTERMEDIATE CODE: R150

Free format text: JAPANESE INTERMEDIATE CODE: R150

FPAY Renewal fee payment (event date is renewal date of database)

Free format text: PAYMENT UNTIL: 20151012

Year of fee payment: 3

R250 Receipt of annual fees

Free format text: JAPANESE INTERMEDIATE CODE: R250

R250 Receipt of annual fees

Free format text: JAPANESE INTERMEDIATE CODE: R250

R250 Receipt of annual fees

Free format text: JAPANESE INTERMEDIATE CODE: R250

R250 Receipt of annual fees

Free format text: JAPANESE INTERMEDIATE CODE: R250

R250 Receipt of annual fees

Free format text: JAPANESE INTERMEDIATE CODE: R250

R250 Receipt of annual fees

Free format text: JAPANESE INTERMEDIATE CODE: R250

R250 Receipt of annual fees

Free format text: JAPANESE INTERMEDIATE CODE: R250

R250 Receipt of annual fees

Free format text: JAPANESE INTERMEDIATE CODE: R250

R250 Receipt of annual fees

Free format text: JAPANESE INTERMEDIATE CODE: R250

LAPS Cancellation because of no payment of annual fees