JP2008228564A - 自動車の駆動系の熱的過負荷保護のための方法及び装置 - Google Patents

自動車の駆動系の熱的過負荷保護のための方法及び装置 Download PDF

Info

Publication number
JP2008228564A
JP2008228564A JP2008058129A JP2008058129A JP2008228564A JP 2008228564 A JP2008228564 A JP 2008228564A JP 2008058129 A JP2008058129 A JP 2008058129A JP 2008058129 A JP2008058129 A JP 2008058129A JP 2008228564 A JP2008228564 A JP 2008228564A
Authority
JP
Japan
Prior art keywords
drive system
thermal
temperature
limit value
protection
Prior art date
Legal status (The legal status is an assumption and is not a legal conclusion. Google has not performed a legal analysis and makes no representation as to the accuracy of the status listed.)
Granted
Application number
JP2008058129A
Other languages
English (en)
Other versions
JP2008228564A5 (ja
JP5285930B2 (ja
Inventor
Andre Eberlein
エバーライン アンドレ
Christof Frick
フリック クリストフ
Current Assignee (The listed assignees may be inaccurate. Google has not performed a legal analysis and makes no representation or warranty as to the accuracy of the list.)
Brose Fahrzeugteile SE and Co KG
Original Assignee
Brose Fahrzeugteile SE and Co KG
Priority date (The priority date is an assumption and is not a legal conclusion. Google has not performed a legal analysis and makes no representation as to the accuracy of the date listed.)
Filing date
Publication date
Application filed by Brose Fahrzeugteile SE and Co KG filed Critical Brose Fahrzeugteile SE and Co KG
Publication of JP2008228564A publication Critical patent/JP2008228564A/ja
Publication of JP2008228564A5 publication Critical patent/JP2008228564A5/ja
Application granted granted Critical
Publication of JP5285930B2 publication Critical patent/JP5285930B2/ja
Expired - Fee Related legal-status Critical Current
Anticipated expiration legal-status Critical

Links

Images

Classifications

    • HELECTRICITY
    • H02GENERATION; CONVERSION OR DISTRIBUTION OF ELECTRIC POWER
    • H02HEMERGENCY PROTECTIVE CIRCUIT ARRANGEMENTS
    • H02H7/00Emergency protective circuit arrangements specially adapted for specific types of electric machines or apparatus or for sectionalised protection of cable or line systems, and effecting automatic switching in the event of an undesired change from normal working conditions
    • H02H7/08Emergency protective circuit arrangements specially adapted for specific types of electric machines or apparatus or for sectionalised protection of cable or line systems, and effecting automatic switching in the event of an undesired change from normal working conditions for dynamo-electric motors
    • H02H7/085Emergency protective circuit arrangements specially adapted for specific types of electric machines or apparatus or for sectionalised protection of cable or line systems, and effecting automatic switching in the event of an undesired change from normal working conditions for dynamo-electric motors against excessive load
    • H02H7/0851Emergency protective circuit arrangements specially adapted for specific types of electric machines or apparatus or for sectionalised protection of cable or line systems, and effecting automatic switching in the event of an undesired change from normal working conditions for dynamo-electric motors against excessive load for motors actuating a movable member between two end positions, e.g. detecting an end position or obstruction by overload signal
    • HELECTRICITY
    • H02GENERATION; CONVERSION OR DISTRIBUTION OF ELECTRIC POWER
    • H02HEMERGENCY PROTECTIVE CIRCUIT ARRANGEMENTS
    • H02H7/00Emergency protective circuit arrangements specially adapted for specific types of electric machines or apparatus or for sectionalised protection of cable or line systems, and effecting automatic switching in the event of an undesired change from normal working conditions
    • H02H7/08Emergency protective circuit arrangements specially adapted for specific types of electric machines or apparatus or for sectionalised protection of cable or line systems, and effecting automatic switching in the event of an undesired change from normal working conditions for dynamo-electric motors
    • H02H7/085Emergency protective circuit arrangements specially adapted for specific types of electric machines or apparatus or for sectionalised protection of cable or line systems, and effecting automatic switching in the event of an undesired change from normal working conditions for dynamo-electric motors against excessive load
    • H02H7/0852Emergency protective circuit arrangements specially adapted for specific types of electric machines or apparatus or for sectionalised protection of cable or line systems, and effecting automatic switching in the event of an undesired change from normal working conditions for dynamo-electric motors against excessive load directly responsive to abnormal temperature by using a temperature sensor

Landscapes

  • Control Of Direct Current Motors (AREA)
  • Protection Of Generators And Motors (AREA)
  • Stopping Of Electric Motors (AREA)
  • Control Of Electric Motors In General (AREA)

Abstract

【課題】熱的過負荷保護のための装置及び方法である。
【解決手段】電子式の挟み込み保護を備えた調整装置の駆動系、特に自動車の窓開閉駆動部、の熱的過負荷保護のための装置及び方法を提供する。駆動系1の運転温度(TB)が決定され、温度限界値(T1)に達したとき駆動系1が非能動化され、一方電子式の挟み込み保護は能動化状態にとどまり、また温度限界値(T1)を越えたときは駆動系1へのエネルギー供給は伸長線又はヒューズの様式の安全要素14を用いて遮断される。
【選択図】図1

Description

本発明は、電子式の挟み込み保護を備えた自動車の調整装置の駆動系の熱的過負荷保護のための装置及び方法に関する。
自動車の電動式に駆動される調整系、特に窓開閉装置、シート調整器、ドア駆動装置又はスライド開閉式屋根等は、通常、電子式に制御又は調節される電動機及びこの電動機によって駆動される調整機構に加え、電子式の挟み込み保護を備えている。この保護機構によって、挟み込み事故が監視され、場合によっては駆動系は非能動化されたり、逆駆動されたりする。このことは、駆動部ないし電動機の現下の回転方向が逆にされ、挟み込まれた対象が解放されることを意味する。
このような駆動系はさらに過負荷保護を備えることができ、この過負荷保護は特に、通常直流電動機として構成された駆動系の電動機を熱的過負荷から保護する。そのような熱的過負荷保護は種々の方法で、例えば温度検出部のセンサ信号の評価によって、又は例えばPTC又はNTC抵抗のようなサーミスタを駆動系の制御部中に、ないしは電動機に対する電圧源又は電流源の出力結合部中に包み込むことによって実施することができるにもかかわらず、このような対策は駆動系の保護すべき構成部分の通常僅かな場所の関係やコスト上の理由に基いて問題にならない。
それにもかかわらず、駆動系ないし保護すべき構成部分、特に電動機の適切な過負荷保護を実現するため、構成部分ないし電動機の負荷状態についての信頼性のある且つ再現性可能な表示のため、保護すべき構成部分の目下の温度を、構成部分の特徴量、特に熱抵抗、熱伝導度及び熱容積を考慮したアルゴリズムを用いて計算することは欧州特許第0559762 B1号明細書から知られている。
そのような知的ソフトウエア熱的保護はマイクロコントローラ又はマイクロプロセッサを活用し、それらがアルゴリズムを用いて構成部分ないし電動機を過熱から保護する。その際同時に挟み込み保護は少なくとも過熱の初期にはその機能を果たす能力があり、その結果挟み込み事故において少なくとも駆動系の逆駆動が確保される。
本発明は、冒頭に述べたような駆動系の熱的過負荷保護のための装置及び方法を提起することを課題とし、その際現存の熱的過負荷保護が突然故障した場合に対しても、特に電動機の火災又は煙の発生を確実に阻止し得るようにするものである。
装置に関してこの課題は本発明によれば請求項1の特徴によって解決される。有利な形態及び変形は、請求項1を引用する従属請求項の対象とするものである。
方法に関して上述の課題は本発明によれば請求項6の特徴によって解決される。目的に適った発展形態は、請求項6を引用する従属請求項の対象とするものである。
それに関して本発明は、運転温度を計算によって確定し、且つ過負荷発生時に駆動系を挟み込み保護の同時の非能動化を避けながら無電流式に制御する熱的過負荷保護に加えて、別の保護機構を備え、この保護機構は実際上、上述の、以下ソフトウエア熱的保護ともいう保護システムが完全に故障した場合にのみ駆動系を完全に作動しないようになっている。
本発明はその際、挟み込み保護を含む熱的過負荷保護が故障した場合には、電動機が煙を出したり火災の危険は、自動車において通常対応する電流路中に存在するヒューズによっては確実には阻止できないという考慮から出発する。その理由は、煙を出すまでに過負荷された電動機は、対応するヒューズの引き外しに必要な電流限界に達する十分に高い負荷ないしモータ電流を生じないということにある。
ソフトウエア熱的保護はしたがって優先的であり、その結果この保護は常に最高の優先度を持ち、一方別の保護システムは、一方では先に述べた保護システムが完全に故障し、他方では駆動系ないし電動機又は構成部分の現下の運転温度が特定の温度限界値に達するかそれを越えるという条件が満たされるときのみ能動化される。この温度限界値は、先に述べた保護システムの保護、即ちその引き外し動作が定められている温度限界値の上方に置かれている。
ソフトウエア熱的保護、即ち監視すべき又は保護すべき構成部分の負荷状態や運転温度を決定するための相応するアルゴリズムに基いて動作する熱的過負荷保護は約140℃の温度において、この温度限界値に達したとき電動機へのエネルギー供給が制御技術的に遮断されるかぎり能動化される。なおその際挟み込み保護が非能動化されることはない。電動機ないし構成部分又は駆動系の運転温度がこの温度限界値を特定の温度値だけ越えると、熱的過負荷保護のための第2のシステムが能動化される。この熱的過負荷保護のための第2のシステムが能動化される好ましい温度は約190℃の値である。この温度値はその際基本的に、一方では電動機の過負荷による煙の発生が確実に阻止され、また他方では望ましくない誤引き外しが起こらないように調整されている。
第2の過負荷保護として熱的安全要素が設けられるのが有利であり、この安全要素はこの第2の温度しきい値に達したとき駆動系ないし電動機又は構成部分へのエネルギー供給を確実に遮断する。その際この遮断は非可逆的であるのが目的にかなっている。しかしながらまた、可逆的な遮断も目的にかなっており、それは例えばサーミスタ又はバイメタルによって実現可能である。
熱的安全要素の有利な変形は、電流導体又は導電路部分の熱的所定破断箇所の様式で効力を生じる断面狭隘部である。その際熱的安全要素は伸長線又はヒューズの様式で作用する。この変形は特に電流担体の全体を構成する構成要素として適しており、電流担体は導電路状の結合部として、特に電動機のロータの電機子巻線と接触する電動機のコミュテータブラシに通じている。それ故この変形は既に存在するブラシ保持器中に有利に組み込むことができ、このブラシ保持器は既に導電路状の電流担体をブラシと制御される電力段又は例えばリレーの形の電力部との間の電気的結合部として有する。
本発明によって得られる利点は、特に、段階をつけられその引き外しに関して優先度を有する2つの異なるシステムを用意することによって、一方では駆動系ないし電動機又は構成部分の確実な熱的過負荷保護と同時に確実な挟み込み保護が、そして他方では火災の危険又は煙の発生の確実な防止が達成される点にある。挟み込み保護を含む熱的保護システム(ソフトウエア熱的保護)により高い優先度を持たせることに基いて、第2の、下位の熱的過負荷保護は、上位の、より高い優先度を持たせた過負荷保護が例えばハードウエア欠陥に基いて故障したとき初めて能動化されることが保証される。
したがって本発明による装置及び本発明による方法は、一方では信頼し得る過負荷保護に加えて同時に常に必要な挟み込み保護を確保し、他方では過負荷保護を含む過負荷保護の故障の際望ましくない煙の発生等に対する少なくとも対人保護が確保される。このため目的にかなうように、駆動系ないし構成部分の駆動出力や負荷状態を特徴付ける運転パラメータ(nist、Iist、TA)が検出される。検出された運転パラメータに基いて、駆動系の現下の運転温度を表す温度が確定される。
以下本発明の実施例を図面に基いて詳細に説明する。
互いに相応する部分はすべての図において同符号が付されている。
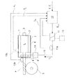
図1は電動機又は直流電動機1を概略的に示し、ウオーム歯車5を駆動するためモータ軸3を介してウオーム4と結合されたロータ2を有する。ウオーム歯車5は伝動装置の部分であり、この伝動装置は自動車の、特に窓開閉装置の調整要素のための調整システムの力の流れ内に接続されている。モータハウジング又は電動機1の極ヘッド6内にはさらにステータ7、コミュテータ8及びコミュテータブラシを有するブラシ保持器9が存在する。
自動車において車両バッテリ10を介して行われる電動機1の電圧供給は、リレー又はパワー半導体素子の形の電力段11及び操作電子回路12によって調整される、即ち制御又は調節される。操作電子回路12には挟み込み保護と熱的過負荷保護のための計算機ユニットとが、例えば分離されたマイクロコントローラ等として組み込まれている。
熱的過負荷(以下ソフトウエア熱的保護という)は、特に欧州特許第0559762 B1号明細書に詳細に記載されているような特定のアルゴリズムにしたがって動作し、同明細書の内容についてすべてが関連する。このアルゴリズムは動作条件パラメータに基いて、特に、電流センサ13aによって検出される負荷又は実際電流Iist、例えばホールセンサ13bによって検出される現下のモータ回転速度nist、並びに例えば電動機1の周囲に置かれた温度センサ13cに基いて、電動機1の運転温度TBないし先ずその負荷状態及びそれに基いて運転温度TBを計算する。周囲温度や外部温度TAを検出するセンサ13cは、利用できる取り付け空間に応じてうまくゆけば電動機1のモータハウジング6内に、又は少なくともモータハウジングのすぐ近傍に配置される。
アルゴリズム又は操作電子回路12のソフトウエアに基いて確定又は計算された電動機1の動作温度TBが第1の予め与えられた温度しきい値T1を上回ると、操作電子回路は出力又はエネルギー供給、即ち電力段11からブラシないしブラシ保持器9を介してコミュテータ8へ、またコミュテータ8を介してロータ2の巻線に導かれる実際又はモータ電流IMを遮断するための制御信号SOFFを発生する。そのような過負荷状態において、電動機1によって駆動される駆動機構の調整システム内に物体又は対象の挟み込みの危険が存在することによって操作電子回路12が挟み込み事故を識別すると、電動機1は停止するのみならず、さらにその以前の回転方向の反転によって少なくともわずか逆転され、その結果場合によって挟み込まれた対象は解放される。
操作電子回路12ないしソフトウエア熱的保護を担当するハードウエア構成部分が故障した場合に対して、熱的過負荷保護は付加の安全要素14によって引き受けられる。この安全要素14は電力段11とコミュテータブラシないしブラシ保持器9との間の電流又は出力路15内に接続されている。
熱的安全要素14は伸長線又はヒューズの原理にしたがって目的にかなうように動作し、熱的安全要素14を表す機能モジュール内に破線によって示されているようなものである。
熱的安全要素14は電動機1への電流又は出力路中に結び付けられたばね要素として形成することができる。このばね要素はその際、たとえば導電路部分として形成された電流路内に両側で2つのろう付け点間に保持され、そこに電気的に接触されるようにすることができる。過負荷が生じた場合、即ち相応に高い電流値の負荷又はモータ電流が特定の時間流れる場合、ろう付け点のいずれかのろうが溶け、その結果安全要素14のばねバイアスによって接触が自然発生的に遮断される。
例えば図2及び3はバイアスをかけられたばね要素141を示し、そのばね端141a、141bは電流路15内に対応するろうパッド16a及び16bの形のろう接触を用いて機械的に保持されかつ電気的に接触している。電動機1の運転温度TBが第1の温度限界値T1より高い値にある第2の温度しきい値T2を上回ると、ろうパッドのいずれか(ここではろうパッド16a)が溶ける。この結果、ばねバイアスに基いてばね要素141は図示矢印の方向に収縮し、したがって電流路15はこの場所において負荷ないしモータ電流IMのさらなる電流供給に対し遮断される。
図4及び5に従う実施形態においては、熱的安全要素は板ばね又はたわみばね142として形成されている。ここでも両側でろうパッド16a、16bによって機械的に保持されかつ電流路15内に電気的に接触するばね要素142は、第2の温度限界値T2に達するか上回ると、電動機1の相応の熱発生に続いてろうパッド16のいずれか(ここではろうパッド16b)が溶けることによって、電流路15内の電流供給を遮断する。
図5及び6に従う実施形態においては、電流路15自体が断面を狭めることによって形成された所定破断箇所143により作り上げられており、この破断箇所が熱的安全要素14となる。電動機1の相応の熱発生に続いて運転温度TBの到達又は上回りが、ここでは安全要素14を形成する所定破断箇所143の熱的に引き起こされたほどけに導き、その結果電流IM及び従って電動機1へのエネルギー供給が非可逆的に遮断される。
ソフトウエア熱的保護の第1の温度限界値T1は例えば約140℃に指定されているのに対し、付加の、しかし下位の熱的過負荷保護が作動する第2の温度限界値T2は例えば約190℃の値である。その際第1の温度限界値T1と第2の温度限界値T2との間の温度差ΔT12は、挟み込み保護を確保するため、上位の可逆的のソフトウエア熱的保護が熱的安全要素14によって実現される下位の過負荷保護に対し常に優先的であるように定められている。したがって、安全要素14の形の付加された下位の熱的過負荷保護によって、上位の熱的過負荷保護が特にソフトウエアの誤り又はハードウエア欠陥に基いて故障したとき、電動機1の火災の危険又は煙の発生が確実に回避される。それによってここでも相応の対人保護が保証されている。
図8は有利な実施形態を示し、この実施形態においては、図2〜7、とりわけ図6及び7に示されているような安全要素14が電動機1のブラシ保持器9内に組み込まれている。安全要素14は所定破断箇所の様式で、或は伸長線又はヒューズの機能様式で、ブラシ保持器9内においてコミュテータブラシに通じる電流路15の導電路部分17内に収容されていることが認められる。
自動車における電気式の窓開閉駆動部のための電動機及び2段階の熱的過負荷保護を有する電動機の操作装置の機能要素の概略図である。 2つのろう付け箇所間のばね素子として形成された熱的安全要素の引き外されていない状態の説明図である。 2つのろう付け箇所間のばね素子として形成された熱的安全要素の引き外された状態の説明図である。 板ばねとして形成された熱的安全要素の引き外されていない状態の説明図である。 板ばねとして形成された熱的安全要素の引き外された状態の説明図である。 熱式所定破断箇所として形成された安全要素の引き外されていない状態の説明図である。 熱式所定破断箇所として形成された安全要素の引き外された状態の説明図である。 ブラシ保持器の全体の構成部分としての図6及び7による安全要素の説明図である。
符号の説明
1 電動機
2 ロータ
3 モータ軸
4 ウオーム
5 ウオーム歯車
6 モータハウジング/極ヘッド
7 ステータ
8 コミュテータ
9 ブラシ保持器
10 バッテリ
11 電力段
12 操作電子回路
13a 電流センサ
13b ホールセンサ
13c 温度センサ
14 安全要素
15 電流路
16 ろうパッド
17 導電路部分
141 ばね要素
142 板/たわみばね
143 所定破断箇所
Iist 実際/負荷電流
ist モータ回転速度
IM 負荷/モータ電流
TA 周囲/外部温度
TB 運転温度
T1 第1の温度限界値
T2 第2の温度限界値

Claims (7)

  1. 電子式の挟み込み保護を備えた調整装置の駆動系、特に自動車の窓開閉駆動部、の熱的過負荷保護のための装置において、電動機(1)と、計算機ユニット(12)と、熱的安全要素(14)とを有し、
    ・計算機ユニット(12)は、運転に条件付けられるパラメータ(Iist、TA)を考慮したアルゴリズムを用いて、駆動系又は駆動系の構成部分の運転温度(TB)を決定し、第1の温度限界値(T1)に達したとき駆動系を非能動化し、その際電子式の挟み込み保護は能動化状態にとどまるように設けられ、
    ・熱的安全要素(14)は、第2の温度限界値(T2)に達したとき駆動系へのエネルギー供給を遮断し、その際第2の温度限界値(T2)は第1の温度限界値(T1)より高い位置にある
    ことを特徴とする駆動系の熱的過負荷保護装置。
  2. 計算ユニット(12)は、挟み込み事故が検出され第1の温度限界値(T1)に達したとき、挟み込まれた対象を解放する方向に駆動系を操作するように設けられていることを特徴とする請求項1記載の装置。
  3. 熱的安全要素(14)が電動機(1)の負荷電流(IM)を導く電流担体(15、16)中に組み込まれており、この電流担体は導電路状の結合部として電動機(1)のコミュテータブラシ(9)に通じていることを特徴とする請求項1又は2記載の装置。
  4. 調整装置の駆動系、特に自動車の窓開閉駆動部、の熱的過負荷保護のための方法において、
    ・駆動系の運転の間対象の挟み込みが監視され、挟み込み事故の際には駆動系を非能動化ないし逆駆動させる電子式の挟み込み保護が能動化され、
    ・駆動系又はその構成部分、特に電動機、の運転温度(TB)が確定され、
    ・確定された運転温度(TB)が(第1の)温度限界値(T1)と比較され、現下の運転温度(TB)が温度限界値(T1)に達するとき駆動系が非能動化され、その際電子式の挟み込み保護は能動化状態にとどまっており、
    ・駆動系が能動化されており、同時に運転温度(TB)が温度限界値(T1)を特定の温度値(ΔT12)だけ越えたとき、熱的安全要素(14)が引き外され、駆動系へのエネルギー供給が遮断される
    ことを特徴とする駆動系の熱的過負荷保護方法。
  5. 運転温度(TB)が第1の温度限界値(T1)の上でかつ駆動系(1)ないし構成部分の火災の危険又は煙発生に対し置かれた第2の温度限界値(T2)の下方に達したとき、熱的安全要素(14)が引き外されることを特徴とする請求項4記載の方法。
  6. 現下の負荷電流(Iist、TB)、モータ回転速度(nist)及び駆動系の周囲温度(TA)の少なくともいずれかが運転パラメータとして検出されることを特徴とする請求項4又は5記載の方法。
  7. 運転温度(Iist、TA)が、駆動系ないし構成部分の負荷又は負荷に依存する熱特性を写像するモデルに基いて及びアルゴリズムを用いての少なくとも一方により計算されることを特徴とする請求項4〜6のいずれか1つに記載の方法。
JP2008058129A 2007-03-09 2008-03-07 自動車の駆動系の熱的過負荷保護のための方法及び装置 Expired - Fee Related JP5285930B2 (ja)

Applications Claiming Priority (2)

Application Number Priority Date Filing Date Title
DE102007011548.4 2007-03-09
DE102007011548.4A DE102007011548B4 (de) 2007-03-09 2007-03-09 Verfahren und Vorrichtung zum thermischen Überlastschutz eines Antriebssystems eines Kraftfahrzeugs

Publications (3)

Publication Number Publication Date
JP2008228564A true JP2008228564A (ja) 2008-09-25
JP2008228564A5 JP2008228564A5 (ja) 2010-11-11
JP5285930B2 JP5285930B2 (ja) 2013-09-11

Family

ID=39677980

Family Applications (1)

Application Number Title Priority Date Filing Date
JP2008058129A Expired - Fee Related JP5285930B2 (ja) 2007-03-09 2008-03-07 自動車の駆動系の熱的過負荷保護のための方法及び装置

Country Status (2)

Country Link
JP (1) JP5285930B2 (ja)
DE (1) DE102007011548B4 (ja)

Cited By (2)

* Cited by examiner, † Cited by third party
Publication number Priority date Publication date Assignee Title
US10873286B2 (en) 2016-12-16 2020-12-22 Siemens Aktiengesellschaft Method and device for the computer-assisted operation of an electric motor
CN114530967A (zh) * 2022-01-21 2022-05-24 东阳市联宜机电有限公司 有刷电机后端盖总成

Families Citing this family (13)

* Cited by examiner, † Cited by third party
Publication number Priority date Publication date Assignee Title
DE102010003241A1 (de) 2009-04-01 2010-10-07 Continental Teves Ag & Co. Ohg Schaltung für einen bürstenlosen Motor und Verfahren zu deren Betrieb
DE202010002664U1 (de) 2010-02-23 2011-07-12 Brose Fahrzeugteile GmbH & Co. Kommanditgesellschaft, Würzburg Elektromotor zum Antrieb einer Kraftfahrzeugkomponente
DE102010002993A1 (de) 2010-03-18 2011-09-22 Continental Automotive Gmbh Schaltung für einen bürstenlosen Motor und Verfahren zu deren Betrieb
DE202010009326U1 (de) 2010-06-21 2011-10-20 Brose Fahrzeugteile GmbH & Co. Kommanditgesellschaft, Würzburg Schmelzsicherung zur Unterbrechung einer gebrückten Unterbrechungsstelle im Stromkreis eines elektrischen Gerätes
DE202011001820U1 (de) 2011-01-21 2012-04-27 Brose Fahrzeugteile GmbH & Co. Kommanditgesellschaft, Würzburg Schutzvorrichtung für die Steuerelektronik einer Kraftfahrzeugkomponente
FR2973603B1 (fr) * 2011-03-31 2014-08-08 Faurecia Bloc Avant Porte-balais de moteur electrique et moteur electrique comportant un tel porte-balais
FR2989536B1 (fr) * 2012-04-13 2018-01-05 Faurecia Bloc Avant Plaque porte-balai, destinee a equiper un moteur electrique, notamment pour un vehicule automobile
DE102012211861A1 (de) * 2012-07-06 2014-01-09 Brose Fahrzeugteile Gmbh & Co. Kg, Würzburg Schutzvorrichtung und elektrische Antriebsanordnung
DE102012025110A1 (de) * 2012-12-21 2014-06-26 Brose Fahrzeugteile Gmbh & Co. Kommanditgesellschaft, Hallstadt Thermischer Überlastschutz
DE102013222629A1 (de) * 2013-11-07 2015-05-07 Robert Bosch Gmbh Kommutierungseinrichtung in einer elektrischen Maschine
DE102015211106B4 (de) * 2015-06-17 2025-11-06 Robert Bosch Gmbh Verfahren zum Betreiben eines elektromotorischen Stellgebers für ein Schiebedachsystem in einem Kraftfahrzeug
DE102020211504B4 (de) 2020-09-14 2022-07-07 Fronius International Gmbh Photovoltaik-Schutzvorrichtung
DE102020133376A1 (de) * 2020-12-14 2022-06-15 Brose Fahrzeugteile Se & Co. Kommanditgesellschaft, Bamberg Verfahren für den Betrieb einer motorischen Klappenanordnung eines Kraftfahrzeugs

Citations (2)

* Cited by examiner, † Cited by third party
Publication number Priority date Publication date Assignee Title
JPH11289790A (ja) * 1998-04-03 1999-10-19 Lumitter Ind Corp Ltd モータの過熱保護装置
JP2007014057A (ja) * 2005-06-28 2007-01-18 Asmo Co Ltd モータ制御装置

Family Cites Families (4)

* Cited by examiner, † Cited by third party
Publication number Priority date Publication date Assignee Title
US5156636A (en) 1990-11-26 1992-10-20 Combustion Engineering, Inc. Ultrasonic method and apparatus for measuring outside diameter and wall thickness of a tube and having temperature compensation
DE19635924C2 (de) * 1996-09-04 2000-11-02 Siemens Ag Stellantrieb mit vor Überlastung geschütztem Elektromotor
DE202005010174U1 (de) * 2005-06-29 2006-11-23 Brose Fahrzeugteile Gmbh & Co. Kommanditgesellschaft, Coburg Steuerungssystem für Fensterheber eines Kraftfahrzeugs
DE202005011235U1 (de) * 2005-07-16 2006-12-07 Brose Fahrzeugteile Gmbh & Co. Kommanditgesellschaft, Coburg Vorrichtung zum Überlastschutz einer Versorgungsleitung für eine elektrische Last in einem Kraftfahrzeug

Patent Citations (2)

* Cited by examiner, † Cited by third party
Publication number Priority date Publication date Assignee Title
JPH11289790A (ja) * 1998-04-03 1999-10-19 Lumitter Ind Corp Ltd モータの過熱保護装置
JP2007014057A (ja) * 2005-06-28 2007-01-18 Asmo Co Ltd モータ制御装置

Cited By (3)

* Cited by examiner, † Cited by third party
Publication number Priority date Publication date Assignee Title
US10873286B2 (en) 2016-12-16 2020-12-22 Siemens Aktiengesellschaft Method and device for the computer-assisted operation of an electric motor
CN114530967A (zh) * 2022-01-21 2022-05-24 东阳市联宜机电有限公司 有刷电机后端盖总成
CN114530967B (zh) * 2022-01-21 2023-08-22 浙江联宜电机有限公司 有刷电机后端盖总成

Also Published As

Publication number Publication date
DE102007011548A1 (de) 2008-09-11
JP5285930B2 (ja) 2013-09-11
DE102007011548B4 (de) 2015-08-27

Similar Documents

Publication Publication Date Title
JP5285930B2 (ja) 自動車の駆動系の熱的過負荷保護のための方法及び装置
JP5955502B2 (ja) 負荷回路の断線検出装置
JP4185741B2 (ja) 電子回路遮断器
JP5314695B2 (ja) 平常時off型保護素子及びそれを備えた制御ユニット
US7630185B2 (en) Electronic circuit breaker
JP4736006B2 (ja) モータ始動制御装置およびモータ始動における保護方法
CN104332954B (zh) 用于对电机进行热保护及功率调节的电路
EP2842210B1 (en) Switching circuit protector
US10424914B2 (en) Overtemperature protection
JP2010158108A (ja) 負荷回路の保護装置
JP2013229964A (ja) 通電回路の保護装置
KR102098049B1 (ko) 과전류 발생시 모터 구동 전원을 차단하는 eps 제어 장치 및 방법
JP2012236590A (ja) 自動車のステアリングホイールの構成要素に電流を伝達するための伝達装置および伝達方法
CN113644621A (zh) 汽车电路保护装置、系统和方法
JP5269189B2 (ja) 操作装置
US7705549B2 (en) Series resistor assembly for an electric motor, circuit arrangement comprising a series resistor assembly for operating an electric motor and use of said assembly
JP3715155B2 (ja) 回路保護装置
US2166323A (en) Control apparatus
JP2003274683A (ja) 電動機の保護装置
JP2010172049A (ja) 電線保護回路および電線の保護方法
GB2428311A (en) Electronic power switching unit
JP2013207854A (ja) 過電流保護装置及びロボット制御装置
JPH11287196A (ja) 故障警報付送風機
JP4100029B2 (ja) スタータ
JP2023059025A (ja) 電源制御装置

Legal Events

Date Code Title Description
A521 Request for written amendment filed

Free format text: JAPANESE INTERMEDIATE CODE: A523

Effective date: 20100929

A621 Written request for application examination

Free format text: JAPANESE INTERMEDIATE CODE: A621

Effective date: 20100929

A131 Notification of reasons for refusal

Free format text: JAPANESE INTERMEDIATE CODE: A131

Effective date: 20120710

A02 Decision of refusal

Free format text: JAPANESE INTERMEDIATE CODE: A02

Effective date: 20121204

A521 Request for written amendment filed

Free format text: JAPANESE INTERMEDIATE CODE: A523

Effective date: 20121213

A521 Request for written amendment filed

Free format text: JAPANESE INTERMEDIATE CODE: A523

Effective date: 20121228

A521 Request for written amendment filed

Free format text: JAPANESE INTERMEDIATE CODE: A821

Effective date: 20121228

A911 Transfer to examiner for re-examination before appeal (zenchi)

Free format text: JAPANESE INTERMEDIATE CODE: A911

Effective date: 20130301

A131 Notification of reasons for refusal

Free format text: JAPANESE INTERMEDIATE CODE: A131

Effective date: 20130416

A521 Request for written amendment filed

Free format text: JAPANESE INTERMEDIATE CODE: A523

Effective date: 20130418

TRDD Decision of grant or rejection written
A01 Written decision to grant a patent or to grant a registration (utility model)

Free format text: JAPANESE INTERMEDIATE CODE: A01

Effective date: 20130514

A61 First payment of annual fees (during grant procedure)

Free format text: JAPANESE INTERMEDIATE CODE: A61

Effective date: 20130603

R150 Certificate of patent or registration of utility model

Ref document number: 5285930

Country of ref document: JP

Free format text: JAPANESE INTERMEDIATE CODE: R150

R250 Receipt of annual fees

Free format text: JAPANESE INTERMEDIATE CODE: R250

R250 Receipt of annual fees

Free format text: JAPANESE INTERMEDIATE CODE: R250

R250 Receipt of annual fees

Free format text: JAPANESE INTERMEDIATE CODE: R250

R250 Receipt of annual fees

Free format text: JAPANESE INTERMEDIATE CODE: R250

R250 Receipt of annual fees

Free format text: JAPANESE INTERMEDIATE CODE: R250

R250 Receipt of annual fees

Free format text: JAPANESE INTERMEDIATE CODE: R250

R250 Receipt of annual fees

Free format text: JAPANESE INTERMEDIATE CODE: R250

R250 Receipt of annual fees

Free format text: JAPANESE INTERMEDIATE CODE: R250

R250 Receipt of annual fees

Free format text: JAPANESE INTERMEDIATE CODE: R250

LAPS Cancellation because of no payment of annual fees