JP2008123718A - 車両用灯具 - Google Patents
車両用灯具 Download PDFInfo
- Publication number
- JP2008123718A JP2008123718A JP2006303071A JP2006303071A JP2008123718A JP 2008123718 A JP2008123718 A JP 2008123718A JP 2006303071 A JP2006303071 A JP 2006303071A JP 2006303071 A JP2006303071 A JP 2006303071A JP 2008123718 A JP2008123718 A JP 2008123718A
- Authority
- JP
- Japan
- Prior art keywords
- light
- light source
- semiconductor
- lamp
- light emitting
- Prior art date
- Legal status (The legal status is an assumption and is not a legal conclusion. Google has not performed a legal analysis and makes no representation as to the accuracy of the status listed.)
- Pending
Links
- 239000004065 semiconductor Substances 0.000 claims abstract description 58
- 230000003287 optical effect Effects 0.000 claims description 12
- 238000005192 partition Methods 0.000 claims 1
- 230000001154 acute effect Effects 0.000 description 5
- 238000005452 bending Methods 0.000 description 4
- 230000004907 flux Effects 0.000 description 3
- 238000009434 installation Methods 0.000 description 3
- 229920003002 synthetic resin Polymers 0.000 description 3
- 239000000057 synthetic resin Substances 0.000 description 3
- NIXOWILDQLNWCW-UHFFFAOYSA-N acrylic acid group Chemical group C(C=C)(=O)O NIXOWILDQLNWCW-UHFFFAOYSA-N 0.000 description 1
- 238000009792 diffusion process Methods 0.000 description 1
- 230000000694 effects Effects 0.000 description 1
- 230000004313 glare Effects 0.000 description 1
- 229910052736 halogen Inorganic materials 0.000 description 1
- 150000002367 halogens Chemical class 0.000 description 1
- 230000007257 malfunction Effects 0.000 description 1
- 238000004519 manufacturing process Methods 0.000 description 1
- 239000003550 marker Substances 0.000 description 1
Images
Landscapes
- Non-Portable Lighting Devices Or Systems Thereof (AREA)
Abstract
【課題】従来の車両用灯具では、LEDからの光を高効率に利用する上で課題がある。
【解決手段】この発明は、インナーレンズ5と半導体型光源6とを備える。インナーレンズ5は、半導体型光源6が配置されている一端側のリフレクタ部11と、他端側の発光部12と、から構成されている。リフレクタ部11は、半導体型光源6からの光を内部に入射させる入射面13と、入射面13から入射した光L1を発光部12中に内面反射させる第1内面反射面14と、を有する。発光部12は、裏面側に設けられていて第1内面反射面14からの内面反射光L2を表面側に内面反射させる第2内面反射面16および第3内面反射面18と、表面側に設けられていて第2内面反射面14および第3内面反射面18からの内面反射光L3、L4を外部に出射させる出射面18と、を有する。この結果、この発明は、半導体型光源からの光を高効率に利用することができる。
【選択図】 図4
【解決手段】この発明は、インナーレンズ5と半導体型光源6とを備える。インナーレンズ5は、半導体型光源6が配置されている一端側のリフレクタ部11と、他端側の発光部12と、から構成されている。リフレクタ部11は、半導体型光源6からの光を内部に入射させる入射面13と、入射面13から入射した光L1を発光部12中に内面反射させる第1内面反射面14と、を有する。発光部12は、裏面側に設けられていて第1内面反射面14からの内面反射光L2を表面側に内面反射させる第2内面反射面16および第3内面反射面18と、表面側に設けられていて第2内面反射面14および第3内面反射面18からの内面反射光L3、L4を外部に出射させる出射面18と、を有する。この結果、この発明は、半導体型光源からの光を高効率に利用することができる。
【選択図】 図4
Description
この発明は、光源としてたとえばLEDなどの半導体型光源を使用し、かつ、導光部材のインナーレンズと半導体型光源とを備える車両用灯具に関するものである。
この種の車両用灯具は、従来からある(たとえば、特許文献1)。以下、この車両用灯具について説明する。従来の車両用灯具は、導光体と、その導光体の一端に配置されているLEDと、を備えるものである。LEDを発光させると、LEDからの光が導光体内に導光されかつその導光体の内面で反射され、その反射光が導光体から出射して自動車の前方を照明する。
ところが、従来の車両用灯具は、LEDからの光をただ単に導光体内に入射させるものであるから、LEDからの光の一部が導光体内に入射しない場合がある。このために、従来の車両用灯具は、LEDからの光を高効率に利用する上で課題がある。
この発明が解決しようとする問題点は、従来の車両用灯具では、LEDからの光を高効率に利用する上で課題があるという点にある。
この発明(請求項1にかかる発明)は、インナーレンズが、半導体型光源が配置されている一端側のリフレクタ部と、他端側の発光部と、から構成されており、リフレクタ部が、半導体型光源からの光を内部に入射させる入射面と、入射面から入射した光を発光部中に内面反射させる第1内面反射面を有し、発光部が、裏面側に設けられていて第1内面反射面からの内面反射光を表面側に内面反射させる第2内面反射面と、表面側に設けられていて第2内面反射面からの内面反射光を外部に出射させる出射面と、を有する、ことを特徴とする。
また、この発明(請求項2にかかる発明)は、灯室を区画するランプハウジングおよびアウターレンズと、灯室内に配置されていて中央に開口部を有するインナーハウジングと、灯室内に配置されている導光性部材のインナーレンズと、灯室内であってインナーレンズの一端に配置されている半導体型光源と、を備え、インナーレンズが、半導体型光源が配置されている一端側のリフレクタ部と、他端側の発光部と、から構成されており、リフレクタ部が、半導体型光源と共にインナーハウジングの裏側に配置されていて、半導体型光源からの光を内部に入射させる入射面と、入射面から入射した光を発光部中に内面反射させる第1内面反射面を有し、発光部が、アウターレンズに沿ってかつインナーハウジングの開口部の縁に沿って配置されていて、裏面側に設けられていて第1内面反射面からの内面反射光を表面側に内面反射させる第2内面反射面と、表面側に設けられていて第2内面反射面からの内面反射光を外部に出射させる出射面と、を有する、ことを特徴とする。
さらに、この発明(請求項3にかかる発明)は、発光部の第2内面反射面と出射面との間には、スリットが第1内面反射面からの内面反射光の光路に対して交差する方向に設けられていて、スリットが、第2内面反射面からの内面反射光を出射面側に内面反射させる第3内面反射面と、第1内面反射面からの内面反射光であって第3内面反射面から屈折して外部に出射した光を再び内部に入射させる再入射面と、を有する、ことを特徴とする。
さらにまた、この発明(請求項4にかかる発明)は、発光部のリフレクタ部との接続部の形状が発光部のリフレクタ部と反対側の端部の形状よりも小型であり、発光部の接続部と端部との間には、内面反射により導かれた光を発散(拡散、分散)させるための湾曲部が設けられている、ことを特徴とする。
さらにまた、この発明(請求項5にかかる発明)は、第2内面反射面が多数個の2平面プリズムからなり、2平面プリズムの角度が複数の異なる角度に設定されていて、出射面が発散系プリズムからなり、第2内面反射面からの内面反射光の発散方向と出射面からの出射光の発散方向とが交差する、ことを特徴とする。
この発明(請求項1にかかる発明)の車両用灯具は、前記の課題を解決するための手段により、半導体型光源からの光ほとんど全部をリフレクタ部の入射面から入射させてかつリフレクタ部の第1内面反射面で発光部中に内面反射させることができるので、半導体型光源からの光ほとんど全部を発光部の第2内面反射面で内面反射させてかつ発光部の出射面から外部に出射させることができる。このために、この発明(請求項1にかかる発明)の車両用灯具は、半導体型光源からの光を高効率に利用することができるので、輝度(光度、照度、光束)が高く、すなわち明るく、視認性もしくは被視認性(以下、単に「視認性」と称する)に優れ、これにより、交通安全に貢献することができる。
また、この発明(請求項2にかかる発明)の車両用灯具は、前記の課題を解決するための手段により、前記の請求項1にかかる発明の車両用灯具と同様に、半導体型光源からの光を高効率に利用することができるので、輝度(光度、照度、光束)が高く、すなわち明るく、視認性に優れ、これにより、交通安全に貢献することができる。しかも、この発明(請求項2にかかる発明)の車両用灯具は、リフレクタ部が半導体型光源と共にインナーハウジングの裏側に配置されている。このために、この発明(請求項2にかかる発明)の車両用灯具は、リフレクタ部および半導体型光源がインナーハウジングに隠れていてアウターレンズを通して見えないので、見栄えが向上される。また、この発明(請求項2にかかる発明)の車両用灯具は、発光部がアウターレンズに沿ってかつインナーハウジングの開口部の縁に沿って配置されている。このために、この発明(請求項2にかかる発明)の車両用灯具は、アウターレンズが上下または左右または上下左右にスラントしている場合であっても、発光部がアウターレンズのスラントに追従することができ、かつ、発光部がインナーハウジングの開口部の縁に沿うことができるので、車両用灯具の設計の自由度が向上される。その上、灯室内に他の機能のランプユニットを配置したコンビネーションタイプの車両用灯具の場合においては、他のランプユニットの機能を十分に満足させることができると共に、インナーレンズおよび半導体型光源からなるランプユニットの機能をも十分に満足させることができる。
さらに、この発明(請求項3にかかる発明)の車両用灯具は、発光部の第2内面反射面および第3内面反射面により、第1内面反射面からの内面反射光を出射面から、第1内面反射面からの内面反射光の光路に対して鋭角に出射させることができる(図7参照)。このために、この発明(請求項3にかかる発明)の車両用灯具は、インナーレンズが上下にスラントしている場合(インナーレンズが側面視でスラントしている場合)において、半導体型光源を上下にスラントしているインナーレンズの下側に配置することができる。すなわち、上下にスラントしているインナーレンズの下側に配置されている半導体型光源からの光であって第1内面反射面からの内面反射光を、発光部の第2内面反射面および第3内面反射面により、出射面から、第1内面反射面からの内面反射光の光路(下から斜め上に進む光路)に対して鋭角に(前方に)出射させることができる。このために、この発明(請求項3にかかる発明)の車両用灯具は、灯室内に他の機能のランプユニットを配置したコンビネーションタイプの車両用灯具の場合において、他のランプユニットの光源で発生した熱が上方に行くので、上下にスラントしているインナーレンズの下側に配置されている半導体型光源は、他のランプユニットの光源の熱の影響を受け難く、発光性能を低下させることが無い。また、灯室の上方は、フードやラジコアアッパーなどの他の部品がレイアウトされているのに対して、灯室の下方は、他の部品のレイアウトが無く、半導体型光源の設置スペースが広いので、半導体型光源の設置設計の自由度が向上される。
しかも、この発明(請求項3にかかる発明)の車両用灯具は、再入射面により、第1内面反射面からの内面反射光であって第3内面反射面から屈折して外部に出射した光を再び発光部の内部に入射させることができるので、半導体型光源からの光の損失を防ぐことができ、半導体型光源からの光を高効率に利用することができる。その上、この発明(請求項3にかかる発明)の車両用灯具は、発光部のスリットの第3内面反射面および再入射面を複数個設定することにより、発光部の距離を伸ばすことができるので、発光部の発光面積を広げることができ、視認性が向上される。
さらにまた、この発明(請求項4にかかる発明)の車両用灯具は、発光部のリフレクタ部との接続部の形状が発光部のリフレクタ部と反対側の端部の形状よりも小型であるので、半導体型光源からの光であって第1内面反射面からの内面反射光が発光部中に入射する効率が向上する。すなわち、導光体の光入射側の形状が大型であると、半導体型光源からの光が導光体の光入射側に入射する際のロス(光が導光体に入射してもその導光体から抜けていくロス)が大きい。しかも、この発明(請求項4にかかる発明)の車両用灯具は、発光部のリフレクタ部との接続部の形状が小型であっても、発光部のリフレクタ部と反対側の端部の形状が大型であるから、発光部の発光面積を広くすることができ、視認性が向上される。その上、この発明(請求項4にかかる発明)の車両用灯具は、発光部の接続部と端部との間の湾曲部により、内面反射で発光部中において導かれた光を発散させることができるので、発光部の発光面積を広くすることができ、視認性が向上される。
さらにまた、この発明(請求項5にかかる発明)の車両用灯具は、前記の課題を解決するための手段により、発光部の出射面から出射する光を交差する2方向に発散させることができるので、発光部の発光面積をさらに広げることができ、視認性がさらに向上される。
以下に、この発明にかかる車両用灯具の実施例を図面に基づいて詳細に説明する。なお、この実施例によりこの発明が限定されるものではない。なお、この明細書中「前、後、上、下、左、右」は、車両用灯具を車両(自動車)に装備した際の車両の「前、後、上、下、左、右」である。また、明細書および図面中において、符号「X」、「Y」、「Z」は、3次元直交座標のX軸(車両の前後方向であって後方向を正方向とする)、Y軸(車両の左右方向であって右方向を正方向とする)、Z軸(車両の上下方向であって上方向を正方向とする)を示す。
以下、この実施例にかかる車両用灯具の構成について説明する。この例は、たとえば、フロントコンビネーションタイプの自動車用前照灯について説明する。図において、符号1は、この実施例にかかる車両用灯具である。前記車両用灯具1は、車両の前部の左右両側にそれぞれ装備されるものである。以下、車両の前部の右側に装備される右側の車両用灯具1について説明する。なお、車両の前部の左側に装備される左側の車両用灯具は、右側の車両用灯具1の構造とほぼ左右逆である。このために、左側の車両用灯具の構成の説明は、省略する。
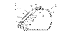
なお、図1においては、ランプハウジングおよびアウターレンズの図示は省略してある。図11(I)は、インナーレンズの正面図、図11(A)は、図11(I)におけるA−A線断面図、図11(A)は、図11(I)におけるA−A線断面図、図11(B)は、図11(I)におけるB−B線断面図、図11(C)は、図11(I)におけるC−C線断面図、図11(D)は、図11(I)におけるD−D線断面図、図11(E)は、図11(I)におけるE−E線断面図である。図12(I)は、インナーレンズを左側斜め下から見た斜視図、図12(F)は、図12(I)におけるF−F線断面図、図12(G)は、図12(I)におけるG−G線断面図、図12(H)は、図12(I)におけるH−H線断面図である。
前記車両用灯具1は、図1〜図3に示すように、ランプハウジング2と、アウターレンズ3と、インナーハウジング4と、導光性部材のインナーレンズ5と、半導体型光源6と、すれ違い用ランプユニット7と、走行用ランプユニット8と、を備えるものである。前記車両用灯具1は、車両の前部の右側に装備される右側の車両用灯具であるから、図1において、図の右側(すなわち、前記車両用灯具1の左側)は、車両の前部の中央側であり、図の左側(すなわち、前記車両用灯具1の右側)は、車両の前部の外側である。
前記ランプハウジング2は、たとえば、光不透過性の合成樹脂からなる。前記ランプハウジング2は、図2および図3に示すように、前面側が開口し、その他の5面(後面、上面、下面、左面、右面)側が閉塞した中空形状をなす。なお、図3において、右側の図示は、省略されている。
前記アウターレンズ3は、たとえば、光透過性の合成樹脂からなる。前記アウターレンズ3は、図2および図3に示すように、後面側が開口し、その他の5面(前面、上面、下面、左面、右面)側が閉塞した凹形状をなす。前記アウターレンズ3は、素通しのカバーからなる。前記アウターレンズ3は、図2に示すように、側面視(縦断面視、垂直断面視)上下にスラントしている。すなわち、前記アウターレンズ3は、上側が後側に位置しかつ下側が前側に位置するようにスラントしている。また、前記アウターレンズ3は、図3に示すように、平面視(横断面視、水平断面視)左右にスラントしている。すなわち、前記アウターレンズ3は、右側が後側に位置しかつ左側が前側に位置するようにスラントしている。なお、図3において、右側の図示は、省略されている。
前記ランプハウジング2の前面開口部の縁と前記アウターレンズ3の後面開口部の縁とが固定されている。前記ランプハウジング2と前記アウターレンズ3とにより灯室9が区画されている。前記灯室9内には、前記インナーハウジング4および前記インナーレンズ5および前記半導体型光源6および前記すれ違い用ランプユニット7および前記走行用ランプユニット8がそれぞれ配置されている。
前記インナーハウジング4は、たとえば、光不透過性の合成樹脂からなる。前記インナーハウジング4は、図1〜図3に示すように、中央に開口部10を有する板形状もしくは前記アウターレンズ3に類似した凹形状をなす。前記インナーハウジング4は、前記ランプハウジング2に適宜の取付手段(ボルトナット、スクリュー、加締め、嵌合、接着など)により取り付けられている。前記インナーハウジング4は、前記アウターレンズ3を通して前記車両用灯具1の内部構造が見えないように、前記内部構造を隠して見栄えを向上させるものであって、インナーパネルやエクステンションなどとも呼ばれている。
前記インナーレンズ5および前記半導体型光源6は、この例では、信号灯のクリアランスランプのランプユニットを構成する。前記インナーレンズ5は、導光性部材たとえばアクリルからなる。また、前記半導体型光源6は、前記インナーレンズ5の一端に配置されている。
前記インナーレンズ5は、図に示すように、前記半導体型光源6が配置されている一端側のリフレクタ部11と、他端側の発光部12と、から構成されている。前記リフレクタ部11と前記発光部12とは、図5に示すように、正面視鈍角にL字形状に折れ曲がって一体に接続されている。
前記リフレクタ部11は、図1〜図3に示すように、前記半導体型光源6と共に前記インナーハウジング4の裏側(前記アウターレンズ3と対向する側と反対側)に配置されている。前記リフレクタ部11は、たとえば、回転放物もしくは回転放物に近似した形状をなす。前記リフレクタ部11の一端(回転放物の頂端)には、半球形の凹部の入射面13が設けられている。前記入射面13は、前記半導体型光源6からの光を前記インナーレンズ5の前記リフレクタ部11の内部に入射させるものである。半球形の凹部の前記入射面13中には、前記半導体型光源6が位置する。
この結果、前記半導体型光源6からの光は、ほとんど全部が前記入射面13から前記リフレクタ部11の内部に入射することができる。すなわち、前記半導体型光源6からの光の指向角(拡散角)が0°軸に対して通常30°〜35°である。そこで、前記リフレクタ部11の形状を、前記半導体型光源6が位置する箇所を頂端として、前記半導体型光源5からの光の指向角を覆う回転放物もしくは回転放物に近似した形状とすることにより、前記半導体型光源6からの光ほとんど全部を前記入射面13から前記リフレクタ部11の内部に入射させることができる。
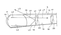
前記リフレクタ部11の他端(回転放物の底端)側には、平面の第1内面反射面14が前記リフレクタ部11の回転放物の軸に対して傾斜させて設けられている。前記第1内面反射面14は、前記入射面13から入射した光L1を前記発光部12中に内面反射させるものである。また、前記リフレクタ部11の正面および背面には、平面の補助内面反射面15が相互に平行に設けられている。前記補助内面反射面15は、前記入射光L1のうち、前記リフレクタ部11の正面および背面側に進んだ光を前記第1内面反射面14側に内面反射させるものである。
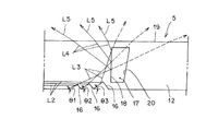
前記発光部12は、図1〜図3に示すように、前記アウターレンズ3の上下左右のスラントに沿って、かつ、前記インナーハウジング4の前記開口部10の左側から上側の一部にかけての縁に沿って配置されている。前記発光部12の裏面(前記アウターレンズ3と対向する面すなわち表面と反対側の面)側には、第2内面反射面16が設けられている。前記第2内面反射面16は、図9および図14および図15に示すように、多数個の2平面プリズムからなり、前記第1内面反射面14からの内面反射光L2を前記発光部12の表面側に内面反射させるものである。
前記発光部12の裏面側の前記第2内面反射面16と表面との間には、複数個のスリット17が前記第1内面反射面14からの内面反射光L2の光路に対して交差する方向(直交する方向もしくはほぼ直交する方向)に設けられている。前記スリット17は、前記第1内面反射面14からの内面反射光L2の光路に対して交差する方向の2平面を有する。前記スリット17の前記リフレクタ部11側の平面には、第3内面反射面18が設けられている。前記第3内面反射面18は、前記第2内面反射面16からの内面反射光L3を前記発光部12の表面側に内面反射させるものである。
前記発光部12の表面側には、出射面19が設けられている。前記第3内面反射面18からの内面反射光L4を照射光L5として外部に出射させるものである。前記スリット17の前記リフレクタ部11側と反対側の平面には、再入射面20が設けられている。前記再入射面20は、前記第1内面反射面14からの内面反射光L2であって前記第3内面反射面18から屈折して外部すなわち前記スリット17側に出射した光L6を再び内部に入射させるものである。なお、符号L7は、前記再入射面20から前記発光部12の内部に再度入射された光である。
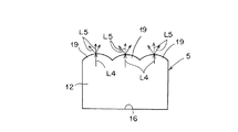
図5に示すように、前記発光部12の前記リフレクタ部11との接続部の形状すなわち正面視の幅21は、前記発光部12の前記リフレクタ部11と反対側の端部の形状すなわち正面視の幅22よりも小型すなわち狭い。また、前記発光部12の前記接続部と前記端部との間には、湾曲部23が設けられている。前記湾曲部23は、内面反射により導かれた光L8を発散させるための湾曲部23が設けられている。
前記第2内面反射面16の多数個の2平面プリズムの角度は、図7に示すように、複数の異なる角度θ1、θ2、θ3に設定されている。なお、図7においては、2平面プリズムの角度が3つの異なる角度θ1、θ2、θ3に設定されているが、複数の異なる角度としては、2つもしくは4つ以上でも良い。また、前記出射面19は、図6に示すように、発散系プリズムたとえば3条のシリンドリカルプリズム(凸かまぼこ型のプリズム)からなる。前記第2内面反射面16からの内面反射光L3、すなわち、前記第3内面反射面18からの内面反射光L4の発散方向(図7参照)と、前記出射面19からの出射光L5の発散方向とは、交差すなわち直交もしくはほぼ直交する。
前記インナーレンズ5は、取付部24を介して前記インナーハウジング4またはおよび前記ランプハウジング2に取り付けられている。また、前記半導体型光源6は、取付部(図示せず)を介して前記インナーハウジング4またはおよび前記ランプハウジング2に取り付けられている。
前記すれ違い用ランプユニット7および前記走行用ランプユニット8は、前記インナーレンズ5および前記半導体型光源6からなる信号灯のクリアランスランプのランプユニットの機能と異なるランプ機能を有する。すなわち、前記すれ違い用ランプユニット7は、すれ違い用配光パターン(図示せず)を車両の前方に照射するものである。また、前記走行用ランプユニット8は、走行用配光パターン(図示せず)を車両の前方に照射するものである。前記すれ違い用ランプユニット7および前記走行用ランプユニット8は、半導体型光源や放電灯やハロゲンバルブなどの光源からなるリフレクタタイプのランプユニットもしくはプロジェクタタイプのランプユニットから構成されている。
この実施例にかかる車両用灯具1は、以上のごとき構成からなり、以下、その作用について説明する。
まず、車両用灯具1の半導体型光源6を点灯発光させる。すると、半導体型光源6から放射された光は、インナーレンズ5の入射面13からインナーレンズ5のリフレクタ部11の内部中に入射する。インナーレンズ5のリフレクタ部11の内部中に入射した光L1は、インナーレンズ5の導光作用により、直接もしくは補助内面反射面15で反射されて第1内面反射面14に進む(図5参照)。
リフレクタ部11中の第1内面反射面14に進んだ入射光L1は、この第1内面反射面14において発光部12中に内面反射する(図5参照)。この第1内面反射面14からの内面反射光L2は、インナーレンズ5の導光作用により、発光部12中を第2内面反射面16に進む(図7〜図9参照)。
発光部12中の第2内面反射面16に進んだ光(第1内面反射面14からの内面反射光)L2は、この第2内面反射面16において出射面19側に内面反射する(図7〜図9参照)。この第2内面反射面16からの内面反射光L3は、インナーレンズ5の導光作用により、発光部12中を第3内面反射面18に進む(図7〜図9参照)。このとき、第2内面反射面16の2平面プリズムの角度が複数の異なる角度θ1、θ2、θ3に設定されているので、発光部12中の第3内面反射面18に進んだ光(第2内面反射面16からの内面反射光)L3は、発散されている。
発散しながら発光部12中の第3内面反射面18に進んだ光L3は、この第3内面反射面18において出射面19側に内面反射する(図7〜図9参照)。この第3内面反射面18からの内面反射光L4は、インナーレンズ5の導光作用により、発光部12中を出射面19に進み、この出射面19から出射光L5として外部に発散しながら出射する(図6〜図9参照)。このとき、第3内面反射面18からの内面反射光L4の発散方向(図7参照)と、出射面19からの出射光L5の発散方向とは、交差するので、出射光L5は、発光部12の出射面19から2方向に発散しながら外部に出射する。
また、インナーレンズ5の導光作用により、発光部12中を第3内面反射面18に進む第1内面反射面14からの内面反射光L2は、この第3内面反射面18から屈折してから外部(スリット17内)に出射する(図7〜図9参照)。そして、この第3内面反射面18から屈折して外部に出射した光L6は、スリット17の再入射面20から発光部12中に再度入射する(図7〜図9参照)。このとき、再入射面20の補正作用により、第3内面反射面18から屈折して外部に出射した光L6は、第1内面反射面14からの内面反射光L2と平行な光として、再入射面20から発光部12中に再び入射する。このために、再入射面20から発光部12中に再度入射した光L7は、第1内面反射面14からの内面反射光L2と平行である。
再入射面20から発光部12中に再度入射した光L7は、第1内面反射面14からの内面反射光L2と同様に、第2反射面16で内面反射され、かつ、第3反射面18で反射され、出射面19から外部に出射し、または、第3内面反射面18から屈折してから外部に出射する。
半導体型光源6からの光は、インナーレンズ5の導光作用により、リフレクタ部11から発光部12中を発光部12の端部まで内面反射により導かれながら出射面19から外部に発散出射する。内面反射により導かれた光L8は、発光部12の接続部と端部との間の湾曲部23で発散してかつ出射面19から外部に発散出射する。この結果、インナーレンズ5の発光部12の表面の出射面19が全範囲に亘って発光する。これにより、クリアランスランプの機能を果たすことができる。
また、すれ違い用ランプユニット7の光源を点灯すると、すれ違い用ランプユニット7からすれ違い用配光パターンが車両の前方に照射される。一方、走行用ランプユニット8の光源を点灯すると、走行用ランプユニット8から走行用配光パターンが車両の前方に照射される。
この実施例にかかる車両用灯具1は、以上のごとき構成および作用からなり、以下、その効果について説明する。
この実施例にかかる車両用灯具1は、半導体型光源6からの光ほとんど全部をインナーレンズ5のリフレクタ部11の入射面13から入射させてかつリフレクタ部11の第1内面反射面14で発光部12中に内面反射させることができる。このために、この実施例にかかる車両用灯具1は、半導体型光源6からの光ほとんど全部を発光部12の第2内面反射面16および第3内面反射面18で内面反射させてかつ発光部12の出射面19から外部に出射させることができる。この結果、この実施例にかかる車両用灯具1は、半導体型光源6からの光を高効率に利用することができるので、輝度(光度、照度、光束)が高く、すなわち明るく、視認性もしくは被視認性(以下、単に「視認性」と称する)に優れ、これにより、交通安全に貢献することができる。しかも、この実施例にかかる車両用灯具1は、半導体型光源6からの光を高効率に利用することができるので、使用する半導体型光源6が1個でも、インナーレンズ5の発光部12を十分に明るく発光させることができ、半導体型光源6の個数を低減することができ、その分製造コストを安価にすることができる。
また、この実施例にかかる車両用灯具1は、インナーレンズ5のリフレクタ部11が半導体型光源6と共にインナーハウジング4の裏側に配置されているので、インナーレンズ5のリフレクタ部11および半導体型光源6がインナーハウジング4に隠れていてアウターレンズ3を通して見えず、見栄えが向上される。
さらに、この実施例にかかる車両用灯具1は、インナーレンズ5の発光部12がアウターレンズ5の上下左右のスラントに沿って、かつ、インナーハウジング4の開口部10の左側から上側の一部にかけての縁に沿って配置されている。このために、この実施例にかかる車両用灯具1は、アウターレンズ3が上下左右にスラントしている場合であっても、インナーレンズ5の発光部12がアウターレンズ3のスラントに追従することができ、かつ、インナーレンズ5の発光部12がインナーハウジング4の開口部10の縁に沿うことができるので、車両用灯具の設計の自由度が向上される。その上、この実施例にかかる車両用灯具1は、灯室9内に、インナーレンズ5および半導体型光源6からなるクリアランスランプ以外に、すれ違い用ランプユニット7および走行用ランプユニット8を配置したコンビネーションタイプの車両用灯具であるが、すれ違い用ランプユニット7および走行用ランプユニット8などの他のランプユニットの機能を十分に満足させることができると共に、インナーレンズ5および半導体型光源6からなるクリアランスランプのランプユニットの機能をも十分に満足させることができる。
さらにまた、この実施例にかかる車両用灯具1は、インナーレンズ5の発光部12の第2内面反射面16および第3内面反射面18により、第1内面反射面14からの内面反射光L2を出射面19から出射光L5として、第1内面反射面14からの内面反射光L2の光路に対して鋭角に出射させることができる(図7参照)。このために、この実施例にかかる車両用灯具1は、インナーレンズ5が上下にスラントしている場合(インナーレンズ5が図2に示すように側面視でスラントしている場合)において、半導体型光源6を上下にスラントしているインナーレンズ5の下側に配置することができる。すなわち、この実施例にかかる車両用灯具1は、上下にスラントしているインナーレンズ5の下側に配置されている半導体型光源6からの光であって第1内面反射面14からの内面反射光L2を、発光部12の第2内面反射面16および第3内面反射面18により、出射面19から出射光L5として、第1内面反射面14からの内面反射光L2の光路(下から斜め上に進む光路)に対して鋭角に(前方に)出射させることができる。
これにより、この実施例にかかる車両用灯具1は、インナーレンズ5が上下にスラントしている場合において、半導体型光源6を上下にスラントしているインナーレンズ5の下側に配置することができる。これに対して、第3内面反射面18(およびスリット17および再入射面20)が無いインナーレンズの場合には、半導体型光源を、上下にスラントしているインナーレンズの下側に配置することができず、上下にスラントしているインナーレンズの上側にしか配置することができない。以下、その理由について、図10を参照して説明する。
インナーレンズの導光作用を利用して、半導体型光源からの光をインナーレンズの裏面で内面反射させてインナーレンズの表面から外部に前方に出射させるためには、インナーレンズの裏面の内面反射面の臨界角の要件により、半導体型光源からの光をインナーレンズの裏面の内面反射面に鈍角で入射させる必要がある。このために、図10に示すように、上下にスラントしているインナーレンズ25の場合、半導体型光源26を上下にスラントしているインナーレンズ25の下側に配置する。すると、下側の半導体型光源26からの光L9は、インナーレンズ25の裏面27の内面反射面に鈍角で入射して表面28側に内面反射し、その内面反射光L10は、インナーレンズ25の表面28の出射面から出射光L11として外部に上方に出射する。この出射光L11では、グレアとなる。
そこで、図10に示すように、上下にスラントしているインナーレンズ25の場合、半導体型光源26を上下にスラントしているインナーレンズ25の上側に配置する必要がある。半導体型光源26を上下にスラントしているインナーレンズ25の上側に配置する。すると、上側の半導体型光源26からの光L12は、インナーレンズ25の裏面27の内面反射面に鈍角で入射して表面28側に内面反射し、その内面反射光L13は、インナーレンズ25の表面28の出射面から出射光L14として外部に前方に出射する。この出射光L14は、車両の前方を照明することができる。
このように、上下にスラントしているインナーレンズの場合、半導体型光源を上下にスラントしているインナーレンズの下側に配置することができず上側にしか配置することができない。これに対して、この実施例にかかる車両用灯具1は、インナーレンズ5が上下にスラントしている場合において、半導体型光源6を上下にスラントしているインナーレンズ5の下側に配置することができる。
このために、この実施例にかかる車両用灯具1は、灯室9内に他の機能のランプユニット、たとえば、すれ違い用ランプユニット7および走行用ランプユニット8を配置したコンビネーションタイプの車両用灯具(車両用前照灯)の場合。この場合において、他のランプユニット7および8の光源で発生した熱が上方に行くので、上下にスラントしているインナーレンズ5の下側に配置されている半導体型光源6は、他のランプユニット7および8の光源の熱の影響を受け難く、発光性能を低下させることが無い。また、灯室9の上方は、フードやラジコアアッパーなどの他の部品がレイアウトされているのに対して、灯室9の下方は、他の部品のレイアウトが無く、半導体型光源6の設置スペースが広いので、半導体型光源6の設置設計の自由度が向上される。
さらにまた、この実施例にかかる車両用灯具1は、インナーレンズ5の発光部12の再入射面20により、第1内面反射面14からの内面反射光L2であって第3内面反射面18から屈折して外部すなわちスリット17側に出射した光L6を再び発光部12の内部に入射させることができる。この結果、この実施例にかかる車両用灯具1は、半導体型光源6からの光の損失を防ぐことができ、半導体型光源6からの光を高効率に利用することができる。その上、この実施例にかかる車両用灯具1は、インナーレンズ5の発光部12のスリット17の第3内面反射面18および再入射面20を複数個設定することにより、インナーレンズ5の発光部12の距離を伸ばすことができるので、インナーレンズ5の発光部12の発光面積を広げることができ、視認性が向上される。
さらにまた、この実施例にかかる車両用灯具1は、インナーレンズ5の発光部12のリフレクタ部11との接続部の形状すなわち正面視の幅21がインナーレンズ5の発光部12のリフレクタ部11と反対側の端部の形状すなわち正面視の幅22よりも小型すなわち狭い。このために、この実施例にかかる車両用灯具1は、半導体型光源6からの光であって第1内面反射面14からの内面反射光L2がインナーレンズ5の発光部12中に入射する効率が向上する。すなわち、この実施例にかかる車両用灯具1は、導光体の光入射側の形状が大型であると、半導体型光源からの光が導光体の光入射側に入射する際のロス(光が導光体に入射してもその導光体から抜けていくロス)が大きい。
しかも、この実施例にかかる車両用灯具1は、インナーレンズ5の発光部12のリフレクタ部11との接続部の形状すなわち正面視の幅21が小型すなわち狭くても、インナーレンズ5の発光部12のリフレクタ部11と反対側の端部の形状すなわち正面視の幅22が大型すなわち広いから、インナーレンズ5の発光部12の発光面積を広くすることができ、視認性が向上される。その上、この実施例にかかる車両用灯具1は、インナーレンズ5の発光部12の接続部と端部との間の湾曲部23により、内面反射でインナーレンズ5の発光部12中において導かれた光L8を発散させることができるので、インナーレンズ5の発光部12の発光面積を広くすることができ、視認性が向上される。
さらにまた、この実施例にかかる車両用灯具1は、インナーレンズ5の発光部12の出射面19から出射する光L5を交差すなわち直交もしくはほぼ直交する2方向に発散させることができるので、インナーレンズ5の発光部12の発光面積をさらに広げることができ、視認性がさらに向上される。
なお、前記の実施例においては、インナーレンズ5と半導体型光源6とからなる車両用灯具としてクリアランスランプの信号灯について説明するものである。ところが、この発明においては、車両用灯具として、クリアランスランプの信号灯以外の車両用灯具、たとえば、デイタイムランニングランプ、フロントターンシグナルランプ、リアターンシグナルランプ、サイドマーカーランプ、テールランプ、ストップランプ、ドアミラーなどのアウトサイドミラー装置に内蔵されるサイドターンシグナルランプなどであっても良い。
また、前記の実施例においては、インナーレンズ5および半導体型光源6からなるクリアランスランプと、すれ違い用ランプユニット7および走行用ランプユニット8と、を配置したフロントコンビネーションタイプの自動車用前照灯としての車両用灯具について説明するものである。ところが、この発明においては、インナーレンズ5および半導体型光源6からなるクリアランスランプのみのシングルタイプの車両用灯具でも良い。
さらに、前記の実施例においては、使用する半導体型光源6が1個の例について説明するものである。ところが、この発明においては、使用する半導体型光源が複数個でも良い。
さらにまた、前記の実施例においては、1個の半導体型光源6と1個のリフレクタ部11とが1ペアの例について説明するものである。ところが、この発明においては、複数個の半導体型光源を1個のリフレクタ部に設けたり、1個の半導体型光源と1個のリフレクタ部とを複数ペア設けたりしても良い。
さらにまた、前記の実施例においては、半導体型光源6をインナーレンズ5の下側に配置した例について説明するものである。ところが、この発明においては、半導体型光源をインナーレンズの上側や左側や右側に配置しても良い。
さらにまた、前記の実施例においては、アウターレンズ3が上下左右にスラントしている例について説明するものである。ところが、この発明においては、上下にスラントしているアウターレンズ、左右にスラントしているアウターレンズ、スラントしていないアウターレンズでも良い。
さらにまた、前記の実施例においては、第2内面反射面16からの内面反射光L3を第1内面反射面14からの内面反射光L2に対して鋭角に出射させるために、インナーレンズ5の発光部12にスリット17および第3内面反射面18を設けた例について説明するものである。ところが、この発明においては、インナーレンズの発光部にスリットおよび第3内面反射面を設けなくとも良い。この場合、第2内面反射面16からの内面反射光L3が、図7中の破線矢印に示すように、第1内面反射面14からの内面反射光L2に対して鈍角に出射するので、半導体型光源がインナーレンズの下側に位置し、かつ、アウターレンズが上下にスラントする車両用灯具には適さない。
1 車両用灯具
2 ランプハウジング
3 アウターレンズ
4 インナーハウジング
5 インナーレンズ
6 半導体型光源
7 すれ違い用ランプユニット
8 走行用ランプユニット
9 灯室
10 開口部
11 リフレクタ部
12 発光部
13 入射面
14 第1内面反射面
15 補助内面反射面
16 第2内面反射面
17 スリット
18 第3内面反射面
19 出射面
20 再入射面
21 接続部の幅
22 端部の幅
23 湾曲部
24 取付部
25 アウターレンズ
26 半導体型光源
27 裏面
28 表面
L1 入射面からの入射光
L2 第1内面反射面からの内面反射光
L3 第2内面反射面からの内面反射光
L4 第3内面反射面からの内面反射光
L5 出射面からの出射光
L6 第3内面反射面からの屈折光
L7 再入射面からの再入射光
L8 インナーレンズの発光部中の内面反射光
L9 アウターレンズの下側に配置された半導体型光源からの入射光
L10 アウターレンズの裏面からの内面反射光
L11 アウターレンズの表面面からの出射光
L12 アウターレンズの上側に配置された半導体型光源からの入射光
L13 アウターレンズの裏面からの内面反射光
L14 アウターレンズの表面面からの出射光
2 ランプハウジング
3 アウターレンズ
4 インナーハウジング
5 インナーレンズ
6 半導体型光源
7 すれ違い用ランプユニット
8 走行用ランプユニット
9 灯室
10 開口部
11 リフレクタ部
12 発光部
13 入射面
14 第1内面反射面
15 補助内面反射面
16 第2内面反射面
17 スリット
18 第3内面反射面
19 出射面
20 再入射面
21 接続部の幅
22 端部の幅
23 湾曲部
24 取付部
25 アウターレンズ
26 半導体型光源
27 裏面
28 表面
L1 入射面からの入射光
L2 第1内面反射面からの内面反射光
L3 第2内面反射面からの内面反射光
L4 第3内面反射面からの内面反射光
L5 出射面からの出射光
L6 第3内面反射面からの屈折光
L7 再入射面からの再入射光
L8 インナーレンズの発光部中の内面反射光
L9 アウターレンズの下側に配置された半導体型光源からの入射光
L10 アウターレンズの裏面からの内面反射光
L11 アウターレンズの表面面からの出射光
L12 アウターレンズの上側に配置された半導体型光源からの入射光
L13 アウターレンズの裏面からの内面反射光
L14 アウターレンズの表面面からの出射光
Claims (5)
- 光源として半導体型光源を使用する車両用灯具において、
導光性部材のインナーレンズと、前記インナーレンズの一端に配置されている前記半導体型光源と、を備え、
前記インナーレンズは、前記半導体型光源が配置されている一端側のリフレクタ部と、他端側の発光部と、から構成されており、
前記リフレクタ部は、前記半導体型光源からの光を内部に入射させる入射面と、前記入射面から入射した光を前記発光部中に内面反射させる第1内面反射面を有し、
前記発光部は、裏面側に設けられていて前記第1内面反射面からの内面反射光を表面側に内面反射させる第2内面反射面と、表面側に設けられていて前記第2内面反射面からの内面反射光を外部に出射させる出射面と、を有する、
ことを特徴とする車両用灯具。 - 光源として半導体型光源を使用する車両用灯具において、
灯室を区画するランプハウジングおよびアウターレンズと、
前記灯室内に配置されていて中央に開口部を有するインナーハウジングと、
前記灯室内に配置されている導光性部材のインナーレンズと、
前記灯室内であって前記インナーレンズの一端に配置されている前記半導体型光源と、
を備え、
前記インナーレンズは、前記半導体型光源が配置されている一端側のリフレクタ部と、他端側の発光部と、から構成されており、
前記リフレクタ部は、前記半導体型光源と共に前記インナーハウジングの裏側に配置されていて、前記半導体型光源からの光を内部に入射させる入射面と、前記入射面から入射した光を前記発光部中に内面反射させる第1内面反射面を有し、
前記発光部は、前記アウターレンズに沿ってかつ前記インナーハウジングの開口部の縁に沿って配置されていて、裏面側に設けられていて前記第1内面反射面からの内面反射光を表面側に内面反射させる第2内面反射面と、表面側に設けられていて前記第2内面反射面からの内面反射光を外部に出射させる出射面と、を有する、
ことを特徴とする車両用灯具。 - 前記発光部の前記第2内面反射面と前記出射面との間には、スリットが前記第1内面反射面からの内面反射光の光路に対して交差する方向に設けられていて、
前記スリットは、前記第2内面反射面からの内面反射光を前記出射面側に内面反射させる第3内面反射面と、前記第1内面反射面からの内面反射光であって前記第3内面反射面から屈折して外部に出射した光を再び内部に入射させる再入射面と、を有する、
ことを特徴とする請求項1または2に記載の車両用灯具。 - 前記発光部の前記リフレクタ部との接続部の形状は、前記発光部の前記リフレクタ部と反対側の端部の形状よりも小型であり、
前記発光部の前記接続部と前記端部との間には、内面反射により導かれた光を発散させるための湾曲部が設けられている、
ことを特徴とする請求項1〜3のいずれか1項に記載の車両用灯具。 - 前記第2内面反射面が多数個の2平面プリズムからなり、前記2平面プリズムの角度が複数の異なる角度に設定されていて、
前記出射面が発散系プリズムからなり、
前記第2内面反射面からの内面反射光の発散方向と前記出射面からの出射光の発散方向とが交差する、
ことを特徴とする請求項1〜4のいずれか1項に記載の車両用灯具。
Priority Applications (1)
| Application Number | Priority Date | Filing Date | Title |
|---|---|---|---|
| JP2006303071A JP2008123718A (ja) | 2006-11-08 | 2006-11-08 | 車両用灯具 |
Applications Claiming Priority (1)
| Application Number | Priority Date | Filing Date | Title |
|---|---|---|---|
| JP2006303071A JP2008123718A (ja) | 2006-11-08 | 2006-11-08 | 車両用灯具 |
Publications (1)
| Publication Number | Publication Date |
|---|---|
| JP2008123718A true JP2008123718A (ja) | 2008-05-29 |
Family
ID=39508271
Family Applications (1)
| Application Number | Title | Priority Date | Filing Date |
|---|---|---|---|
| JP2006303071A Pending JP2008123718A (ja) | 2006-11-08 | 2006-11-08 | 車両用灯具 |
Country Status (1)
| Country | Link |
|---|---|
| JP (1) | JP2008123718A (ja) |
Cited By (10)
| Publication number | Priority date | Publication date | Assignee | Title |
|---|---|---|---|---|
| JP2010050009A (ja) * | 2008-08-25 | 2010-03-04 | Koito Mfg Co Ltd | 灯具 |
| JP2010052444A (ja) * | 2008-08-26 | 2010-03-11 | Mitsuba Corp | 車両用ランプおよび車両用ランプが組込まれたドアミラー |
| JP2010052443A (ja) * | 2008-08-26 | 2010-03-11 | Mitsuba Corp | 車両用ランプおよび車両用ランプが組込まれたドアミラー |
| JP2010165488A (ja) * | 2009-01-14 | 2010-07-29 | Mitsuba Corp | 車両用ランプ |
| JP2010282880A (ja) * | 2009-06-05 | 2010-12-16 | Koito Mfg Co Ltd | 車両用灯具 |
| KR101500387B1 (ko) * | 2013-09-12 | 2015-03-09 | 기아자동차 주식회사 | 헤드 라이트 모듈 |
| JP2015077911A (ja) * | 2013-10-17 | 2015-04-23 | 株式会社小糸製作所 | 車両用灯具 |
| JP2016100256A (ja) * | 2014-11-25 | 2016-05-30 | 市光工業株式会社 | 車両用灯具 |
| KR20160076086A (ko) * | 2014-12-22 | 2016-06-30 | 에스엘 주식회사 | 차량용 램프 장치 |
| DE102014114345B4 (de) | 2014-10-02 | 2025-06-26 | Hyundai Motor Company | Frontscheinwerfer-Modul |
Citations (13)
| Publication number | Priority date | Publication date | Assignee | Title |
|---|---|---|---|---|
| JPS6180504U (ja) * | 1984-10-31 | 1986-05-29 | ||
| JPH01161129U (ja) * | 1988-04-30 | 1989-11-09 | ||
| JPH0414301U (ja) * | 1990-05-28 | 1992-02-05 | ||
| JPH04127902U (ja) * | 1991-05-16 | 1992-11-20 | 株式会社小糸製作所 | 車両用灯具 |
| JPH0589703A (ja) * | 1991-09-30 | 1993-04-09 | Koito Mfg Co Ltd | 車輌用灯具 |
| US6097549A (en) * | 1997-08-12 | 2000-08-01 | Breault Research Organization, Inc. | Bireflective lens element |
| JP2002025323A (ja) * | 2000-07-04 | 2002-01-25 | Nidec Copal Corp | 導光板及びこれを用いた面発光装置 |
| JP2003097910A (ja) * | 2001-09-25 | 2003-04-03 | Canon Inc | 線光源、シート検出装置および画像形成装置 |
| JP2004001710A (ja) * | 2002-04-11 | 2004-01-08 | Iisamu:Kk | サイドミラーカバー並びにサイドミラー本体及びこれらに用いられるランプ |
| JP2004039503A (ja) * | 2002-07-04 | 2004-02-05 | Koito Mfg Co Ltd | 車両用灯具 |
| JP2005353544A (ja) * | 2004-06-14 | 2005-12-22 | Omron Corp | 面光源装置及び当該装置を用いた機器 |
| JP2006059541A (ja) * | 2004-08-17 | 2006-03-02 | Ichikoh Ind Ltd | 導光体及びそれを備えたled光源ユニット |
| JP2006202659A (ja) * | 2005-01-24 | 2006-08-03 | Citizen Electronics Co Ltd | 面状光源 |
-
2006
- 2006-11-08 JP JP2006303071A patent/JP2008123718A/ja active Pending
Patent Citations (13)
| Publication number | Priority date | Publication date | Assignee | Title |
|---|---|---|---|---|
| JPS6180504U (ja) * | 1984-10-31 | 1986-05-29 | ||
| JPH01161129U (ja) * | 1988-04-30 | 1989-11-09 | ||
| JPH0414301U (ja) * | 1990-05-28 | 1992-02-05 | ||
| JPH04127902U (ja) * | 1991-05-16 | 1992-11-20 | 株式会社小糸製作所 | 車両用灯具 |
| JPH0589703A (ja) * | 1991-09-30 | 1993-04-09 | Koito Mfg Co Ltd | 車輌用灯具 |
| US6097549A (en) * | 1997-08-12 | 2000-08-01 | Breault Research Organization, Inc. | Bireflective lens element |
| JP2002025323A (ja) * | 2000-07-04 | 2002-01-25 | Nidec Copal Corp | 導光板及びこれを用いた面発光装置 |
| JP2003097910A (ja) * | 2001-09-25 | 2003-04-03 | Canon Inc | 線光源、シート検出装置および画像形成装置 |
| JP2004001710A (ja) * | 2002-04-11 | 2004-01-08 | Iisamu:Kk | サイドミラーカバー並びにサイドミラー本体及びこれらに用いられるランプ |
| JP2004039503A (ja) * | 2002-07-04 | 2004-02-05 | Koito Mfg Co Ltd | 車両用灯具 |
| JP2005353544A (ja) * | 2004-06-14 | 2005-12-22 | Omron Corp | 面光源装置及び当該装置を用いた機器 |
| JP2006059541A (ja) * | 2004-08-17 | 2006-03-02 | Ichikoh Ind Ltd | 導光体及びそれを備えたled光源ユニット |
| JP2006202659A (ja) * | 2005-01-24 | 2006-08-03 | Citizen Electronics Co Ltd | 面状光源 |
Cited By (12)
| Publication number | Priority date | Publication date | Assignee | Title |
|---|---|---|---|---|
| JP2010050009A (ja) * | 2008-08-25 | 2010-03-04 | Koito Mfg Co Ltd | 灯具 |
| JP2010052444A (ja) * | 2008-08-26 | 2010-03-11 | Mitsuba Corp | 車両用ランプおよび車両用ランプが組込まれたドアミラー |
| JP2010052443A (ja) * | 2008-08-26 | 2010-03-11 | Mitsuba Corp | 車両用ランプおよび車両用ランプが組込まれたドアミラー |
| JP2010165488A (ja) * | 2009-01-14 | 2010-07-29 | Mitsuba Corp | 車両用ランプ |
| JP2010282880A (ja) * | 2009-06-05 | 2010-12-16 | Koito Mfg Co Ltd | 車両用灯具 |
| KR101500387B1 (ko) * | 2013-09-12 | 2015-03-09 | 기아자동차 주식회사 | 헤드 라이트 모듈 |
| US9616803B2 (en) | 2013-09-12 | 2017-04-11 | Hyundai Motor Company | Head light module |
| JP2015077911A (ja) * | 2013-10-17 | 2015-04-23 | 株式会社小糸製作所 | 車両用灯具 |
| DE102014114345B4 (de) | 2014-10-02 | 2025-06-26 | Hyundai Motor Company | Frontscheinwerfer-Modul |
| JP2016100256A (ja) * | 2014-11-25 | 2016-05-30 | 市光工業株式会社 | 車両用灯具 |
| KR20160076086A (ko) * | 2014-12-22 | 2016-06-30 | 에스엘 주식회사 | 차량용 램프 장치 |
| KR101666511B1 (ko) * | 2014-12-22 | 2016-10-17 | 에스엘 주식회사 | 차량용 램프 장치 |
Similar Documents
| Publication | Publication Date | Title |
|---|---|---|
| CN108087838B (zh) | 车辆用灯具 | |
| EP2143991B1 (en) | Lamp | |
| EP2157363B1 (en) | Optical element for vehicle lamp | |
| US9341336B2 (en) | Vehicle headlamp | |
| US10569706B2 (en) | Overhead console and vehicle-body upper structure | |
| CN101457892A (zh) | 车辆用灯具 | |
| CN101666454A (zh) | 车辆用灯具 | |
| JP6855404B2 (ja) | 車両用灯具 | |
| JP2018092883A (ja) | 車両用灯具 | |
| JP4784570B2 (ja) | 車両用灯具 | |
| EP2075500B1 (en) | Vehicle headlamp | |
| JP2022022493A (ja) | 車両用灯具 | |
| EP2187117B1 (en) | Vehicle headlamp | |
| JP2008123718A (ja) | 車両用灯具 | |
| JP2013122872A (ja) | 車両用照明灯具 | |
| JP2006019052A (ja) | 車両用灯具 | |
| JP2022053395A (ja) | 車両用灯具 | |
| CN108916810B (zh) | 用于车灯的光学模块的光反射器、车灯和机动车辆 | |
| JP4831130B2 (ja) | 車両用灯具 | |
| JP4586808B2 (ja) | 車両用灯具 | |
| JP2008171723A (ja) | 車両用前照灯の灯具ユニット | |
| JP4715866B2 (ja) | 車両用灯具 | |
| CN223826107U (en) | Lighting structure, far and near light module and car light | |
| WO2024140814A1 (en) | Lighting module, lamp device and vehicle | |
| JP2008108470A (ja) | 車両用灯具 |
Legal Events
| Date | Code | Title | Description |
|---|---|---|---|
| A621 | Written request for application examination |
Free format text: JAPANESE INTERMEDIATE CODE: A621 Effective date: 20081104 |
|
| A977 | Report on retrieval |
Free format text: JAPANESE INTERMEDIATE CODE: A971007 Effective date: 20100609 |
|
| A131 | Notification of reasons for refusal |
Free format text: JAPANESE INTERMEDIATE CODE: A131 Effective date: 20100622 |
|
| A02 | Decision of refusal |
Free format text: JAPANESE INTERMEDIATE CODE: A02 Effective date: 20110111 |