JP2008049941A - ガス発生器 - Google Patents
ガス発生器 Download PDFInfo
- Publication number
- JP2008049941A JP2008049941A JP2006230326A JP2006230326A JP2008049941A JP 2008049941 A JP2008049941 A JP 2008049941A JP 2006230326 A JP2006230326 A JP 2006230326A JP 2006230326 A JP2006230326 A JP 2006230326A JP 2008049941 A JP2008049941 A JP 2008049941A
- Authority
- JP
- Japan
- Prior art keywords
- holder
- annular substrate
- housing
- igniter assembly
- igniter
- Prior art date
- Legal status (The legal status is an assumption and is not a legal conclusion. Google has not performed a legal analysis and makes no representation as to the accuracy of the status listed.)
- Pending
Links
- 210000000078 claw Anatomy 0.000 claims abstract description 71
- 238000000034 method Methods 0.000 claims abstract description 35
- 238000003466 welding Methods 0.000 claims abstract description 20
- 238000003825 pressing Methods 0.000 claims abstract description 5
- 239000000758 substrate Substances 0.000 claims description 65
- 239000011347 resin Substances 0.000 claims description 25
- 229920005989 resin Polymers 0.000 claims description 25
- 238000002485 combustion reaction Methods 0.000 claims description 17
- 239000003795 chemical substances by application Substances 0.000 claims description 16
- 230000002093 peripheral effect Effects 0.000 claims description 14
- 229910052751 metal Inorganic materials 0.000 claims description 9
- 239000002184 metal Substances 0.000 claims description 9
- 239000013013 elastic material Substances 0.000 claims description 8
- 238000003860 storage Methods 0.000 claims description 6
- 239000003814 drug Substances 0.000 claims description 5
- 230000000712 assembly Effects 0.000 claims description 2
- 238000000429 assembly Methods 0.000 claims description 2
- 238000005304 joining Methods 0.000 claims description 2
- 239000007787 solid Substances 0.000 claims description 2
- 238000003892 spreading Methods 0.000 claims description 2
- 239000000126 substance Substances 0.000 claims 1
- 230000004308 accommodation Effects 0.000 description 9
- 230000009977 dual effect Effects 0.000 description 3
- 229940079593 drug Drugs 0.000 description 2
- 229910052782 aluminium Inorganic materials 0.000 description 1
- XAGFODPZIPBFFR-UHFFFAOYSA-N aluminium Chemical compound [Al] XAGFODPZIPBFFR-UHFFFAOYSA-N 0.000 description 1
- 230000008878 coupling Effects 0.000 description 1
- 238000010168 coupling process Methods 0.000 description 1
- 238000005859 coupling reaction Methods 0.000 description 1
- 125000004122 cyclic group Chemical group 0.000 description 1
- 238000010586 diagram Methods 0.000 description 1
- WABPQHHGFIMREM-UHFFFAOYSA-N lead(0) Chemical compound [Pb] WABPQHHGFIMREM-UHFFFAOYSA-N 0.000 description 1
- 229910001220 stainless steel Inorganic materials 0.000 description 1
- 239000010935 stainless steel Substances 0.000 description 1
Images
Classifications
-
- B—PERFORMING OPERATIONS; TRANSPORTING
- B60—VEHICLES IN GENERAL
- B60R—VEHICLES, VEHICLE FITTINGS, OR VEHICLE PARTS, NOT OTHERWISE PROVIDED FOR
- B60R21/00—Arrangements or fittings on vehicles for protecting or preventing injuries to occupants or pedestrians in case of accidents or other traffic risks
- B60R21/02—Occupant safety arrangements or fittings, e.g. crash pads
- B60R21/16—Inflatable occupant restraints or confinements designed to inflate upon impact or impending impact, e.g. air bags
- B60R21/26—Inflatable occupant restraints or confinements designed to inflate upon impact or impending impact, e.g. air bags characterised by the inflation fluid source or means to control inflation fluid flow
-
- B—PERFORMING OPERATIONS; TRANSPORTING
- B60—VEHICLES IN GENERAL
- B60R—VEHICLES, VEHICLE FITTINGS, OR VEHICLE PARTS, NOT OTHERWISE PROVIDED FOR
- B60R21/00—Arrangements or fittings on vehicles for protecting or preventing injuries to occupants or pedestrians in case of accidents or other traffic risks
- B60R21/02—Occupant safety arrangements or fittings, e.g. crash pads
- B60R21/16—Inflatable occupant restraints or confinements designed to inflate upon impact or impending impact, e.g. air bags
- B60R21/26—Inflatable occupant restraints or confinements designed to inflate upon impact or impending impact, e.g. air bags characterised by the inflation fluid source or means to control inflation fluid flow
- B60R2021/26011—Inflatable occupant restraints or confinements designed to inflate upon impact or impending impact, e.g. air bags characterised by the inflation fluid source or means to control inflation fluid flow using a filter through which the inflation gas passes
-
- B—PERFORMING OPERATIONS; TRANSPORTING
- B60—VEHICLES IN GENERAL
- B60R—VEHICLES, VEHICLE FITTINGS, OR VEHICLE PARTS, NOT OTHERWISE PROVIDED FOR
- B60R21/00—Arrangements or fittings on vehicles for protecting or preventing injuries to occupants or pedestrians in case of accidents or other traffic risks
- B60R21/02—Occupant safety arrangements or fittings, e.g. crash pads
- B60R21/16—Inflatable occupant restraints or confinements designed to inflate upon impact or impending impact, e.g. air bags
- B60R21/26—Inflatable occupant restraints or confinements designed to inflate upon impact or impending impact, e.g. air bags characterised by the inflation fluid source or means to control inflation fluid flow
- B60R2021/26029—Ignitors
Landscapes
- Physics & Mathematics (AREA)
- Fluid Mechanics (AREA)
- Engineering & Computer Science (AREA)
- Mechanical Engineering (AREA)
- Air Bags (AREA)
Abstract
【課題】 溶接が不要な点火器組立体の固定方法の提供。
【解決手段】 点火器組立体30にOリング39を嵌めたものをクロージャシェル13上に配置した後、開口部18からホルダ40を嵌め込む。爪部44、45の凹凸とホルダ収容空間36a内の凹凸が噛み合うことと、弾力性のある爪部44、45による押圧力で、点火器組立体30が固定される。
【選択図】 図3
【解決手段】 点火器組立体30にOリング39を嵌めたものをクロージャシェル13上に配置した後、開口部18からホルダ40を嵌め込む。爪部44、45の凹凸とホルダ収容空間36a内の凹凸が噛み合うことと、弾力性のある爪部44、45による押圧力で、点火器組立体30が固定される。
【選択図】 図3
Description
本発明は、ガス発生器と、前記ガス発生器の組立法として適した点火器組立体の固定方法に関する。
自動車に搭載するエアバッグ装置には、ガス発生源としてのガス発生剤を備えたガス発生器が使用されており、更に前記ガス発生剤を着火燃焼させるための電気式点火器を備えている。電気式点火器は、金属部材と樹脂により固定されたものが汎用されており、前記金属部材をガス発生器のハウジングに溶接固定することで取り付けられている
特公平8−22662号公報
特公平8−13625号公報
ハウジングに対して、溶接法により点火器を固定するとき、溶接時の熱により、点火器の樹脂部分が変形したり、点火器の着火薬が燃焼したりするおそれもある。
本発明は、溶接法を適用することなく、ハウジングに点火器組立体が固定されたガス発生器を提供することを課題とする。
また、本発明は、ハウジングに点火器組立体を固定する方法を提供することを他の課題とする。
本発明は、課題の解決手段として、
ガス排出口を有するハウジングと、ガス発生剤が収容された1又は2以上の燃焼室と、前記ガス排出口と前記燃焼室の間に配置された筒状フィルタと、前記ガス発生剤を着火燃焼させるための1又は2以上の点火手段として、電気式点火器が金属部材と樹脂で包囲固定されている点火器組立体を有するガス発生器であって、
前記点火器組立体が、樹脂部分にホルダ収容空間を有しており、前記ハウジング底部に形成された開口部に前記ホルダ収容空間が正対するように配置され、前記開口部に対して外側から嵌め込んだホルダで固定されたものであり、
前記ホルダ収容空間の内壁面が凹凸部を有し、前記ホルダが凹凸部を有しており、前記ホルダ収容空間の内壁面の凹凸部と前記ホルダの凹凸部が互いに噛み合った状態になっていることで、前記点火器組立体が前記ハウジング底部に溶接されることなく固定されているガス発生器を提供する。
ガス排出口を有するハウジングと、ガス発生剤が収容された1又は2以上の燃焼室と、前記ガス排出口と前記燃焼室の間に配置された筒状フィルタと、前記ガス発生剤を着火燃焼させるための1又は2以上の点火手段として、電気式点火器が金属部材と樹脂で包囲固定されている点火器組立体を有するガス発生器であって、
前記点火器組立体が、樹脂部分にホルダ収容空間を有しており、前記ハウジング底部に形成された開口部に前記ホルダ収容空間が正対するように配置され、前記開口部に対して外側から嵌め込んだホルダで固定されたものであり、
前記ホルダ収容空間の内壁面が凹凸部を有し、前記ホルダが凹凸部を有しており、前記ホルダ収容空間の内壁面の凹凸部と前記ホルダの凹凸部が互いに噛み合った状態になっていることで、前記点火器組立体が前記ハウジング底部に溶接されることなく固定されているガス発生器を提供する。
本発明のガス発生器は、ホルダを使用することで、抵抗溶接やレーザ溶接等の溶接法を適用することなく、ハウジング底部に点火器組立体が固定されているものであり、ガス発生剤が充填された燃焼室が1つで点火器が1つのシングル型、ガス発生剤が充填された燃焼室が2つで点火器が2つのデュアル型のガス発生器のいずれでもよい。ホルダ収容空間にホルダを嵌め込んだあとの空間が、リードワイヤを介して電源と接続する手段となるコネクタの接続空間となる。
ホルダ収容空間の内壁面に形成された凹凸は、周方向に連続した複数の溝の組み合わせでもよいし、独立した複数の凹部と凸部の組み合わせでもよいし、又は溝と、独立した凹部と凸部の組み合わせでもよい。
ホルダの形状は特に制限されず、ホルダ収容空間に嵌め込むことができ、ホルダ収容空間の内壁面の凹凸部と、ホルダの凹凸部が互いに噛み合った状態にできるものであればよい。ホルダは、ホルダ収容空間に嵌め込むものであり、前記空間の内壁面は樹脂製であるから、ホルダ自体も樹脂製にすることが好ましい。
本発明は、課題の他の解決手段として、
前記ホルダが、環状基板と、前記環状基板上の2箇所以上に突設された爪部を有し、前記爪部が、弾力性のある材質からなり、凹凸を有する板状のもので、先端部が前記環状基板の外周縁方向に拡げられるように突設されたものであり、
前記ホルダの環状基板が、前記ハウジング底部に形成された開口部に外側から嵌め込まれており、
前記ホルダ収容空間の内壁面の凹凸部と前記爪部の凹凸部が互いに噛み合った状態であり、かつ前記爪部の先端部が外側に拡がる力により、前記ホルダ収容空間の内壁面が押圧されていることで、前記点火器組立体が前記ハウジング底部に溶接されることなく固定されている請求項1記載のガス発生器を提供する。
前記ホルダが、環状基板と、前記環状基板上の2箇所以上に突設された爪部を有し、前記爪部が、弾力性のある材質からなり、凹凸を有する板状のもので、先端部が前記環状基板の外周縁方向に拡げられるように突設されたものであり、
前記ホルダの環状基板が、前記ハウジング底部に形成された開口部に外側から嵌め込まれており、
前記ホルダ収容空間の内壁面の凹凸部と前記爪部の凹凸部が互いに噛み合った状態であり、かつ前記爪部の先端部が外側に拡がる力により、前記ホルダ収容空間の内壁面が押圧されていることで、前記点火器組立体が前記ハウジング底部に溶接されることなく固定されている請求項1記載のガス発生器を提供する。
ホルダは、環状基板上の2箇所以上に爪部を有するものであり、例えば、対向する位置に2箇所の爪部を有するもの、等間隔で周方向に分離配置された3つ、4つ又はそれ以上の爪部を有するものを用いることができる。
例えば、対向する位置に形成された2つの爪部先端部の間隔は、ホルダ収容空間の間隔よりも広くなっている。このため、ホルダ収容空間にホルダを嵌め込むときは、互いの間隔を小さくするように2つの爪部を両側から押し縮めながら嵌め込むと、今度は押し縮められた2つの爪部が外側に拡がるように変形するため、上記したとおり、爪部の先端部が外側に拡がる力により、前記ホルダ収容空間の内壁面が押圧される。
このようにすることで、ホルダ収容空間の内壁面と爪部の凹凸同士が噛み合うことに加えて、爪部がコネクタ収容空間の内壁面を押圧するため、点火器組立体の固定強度がより高められる。
本発明は、課題の他の解決手段として、
前記ホルダが、第1環状基板と、前記第1環状基板上に形成された、前記第1環状基板よりも小さな径の第2環状基板と、前記第2環状基板上の2箇所以上に突設された爪部を有し、前記爪部が、弾力性のある材質からなり、凹凸を有する板状のもので、先端部が前記第2環状基板の外周縁方向に拡げられるように突設されたものであり、
前記ハウジング底部の外表面に対して、前記第1環状基板と前記第2環状基板の段差面が当接され、前記ハウジング底部に形成された開口部に前記第2環状基板が嵌め込まれており、
前記ホルダ収容空間の内壁面の凹凸部と前記爪部の凹凸部が互いに噛み合った状態であり、かつ前記爪部の先端部が外側に拡がる力により、前記ホルダ収容空間の内壁面が押圧されていることで、前記点火器組立体が前記ハウジング底部に溶接されることなく固定されている請求項1記載のガス発生器を提供する。
前記ホルダが、第1環状基板と、前記第1環状基板上に形成された、前記第1環状基板よりも小さな径の第2環状基板と、前記第2環状基板上の2箇所以上に突設された爪部を有し、前記爪部が、弾力性のある材質からなり、凹凸を有する板状のもので、先端部が前記第2環状基板の外周縁方向に拡げられるように突設されたものであり、
前記ハウジング底部の外表面に対して、前記第1環状基板と前記第2環状基板の段差面が当接され、前記ハウジング底部に形成された開口部に前記第2環状基板が嵌め込まれており、
前記ホルダ収容空間の内壁面の凹凸部と前記爪部の凹凸部が互いに噛み合った状態であり、かつ前記爪部の先端部が外側に拡がる力により、前記ホルダ収容空間の内壁面が押圧されていることで、前記点火器組立体が前記ハウジング底部に溶接されることなく固定されている請求項1記載のガス発生器を提供する。
ホルダとして、第1環状基板、第2環状基板及び爪部を有するものを用いることにより、ハウジング底部への取り付け作業が容易になる。そして、ホルダ収容空間の内壁面と爪部の凹凸同士が噛み合うことに加えて、爪部がコネクタ収容空間の内壁面を押圧するため、点火器組立体の固定強度がより高められる。
本発明は、課題の他の解決手段として、更に薬剤収容室を形成するカップ部材を有しており、前記カップ部材が、底面が前記ハウジング天井面に当接され、開口部周縁が前記点火器カラーに当接されて配置されている請求項1〜3のいずれかに記載のガス発生器を提供する。
このようにしてカップ部材を配置することで、カップ部材により、ホルダによる点火器組立体の固定を補助することができる。なお、カップ部材により形成される薬剤収容室は、例えば、シングル型のガス発生器の場合には、燃焼室と連通された伝火薬収容室であり、デュアル型のガス発生器の場合には、ガス発生剤が収容された2つの燃焼室の内の一方である。
本発明は、他の課題の解決手段として、
ガス発生器のハウジングに対して、溶接法を適用することなく、1又は2以上の点火器組立体を固定する方法であって、
前記ハウジングが、点火手段を固定する開口部を有するクロージャシェルと、ガス排出口を有するディフューザシェルが接合一体化されてなるものであり、前記点火手段が、電気式点火器が金属部材と樹脂で包囲固定されており、前記樹脂部分がホルダ収容空間を有しているものであり、
前記点火器組立体を、前記ホルダ収容空間が前記クロージャシェルの開口部に正対する位置になるように配置する工程、
前記開口部に外側から前記ホルダを嵌め込んで、前記点火器組立体を前記クロージャシェル底面に固定する工程を有しており、前記工程において、前記ホルダ収容空間の内壁面の凹凸部に前記ホルダの凹凸部が互いに噛み合うように嵌め込むことで、前記点火器組立体を前記ハウジング底部に溶接することなく固定する点火器組立体の固定方法を提供する。
ガス発生器のハウジングに対して、溶接法を適用することなく、1又は2以上の点火器組立体を固定する方法であって、
前記ハウジングが、点火手段を固定する開口部を有するクロージャシェルと、ガス排出口を有するディフューザシェルが接合一体化されてなるものであり、前記点火手段が、電気式点火器が金属部材と樹脂で包囲固定されており、前記樹脂部分がホルダ収容空間を有しているものであり、
前記点火器組立体を、前記ホルダ収容空間が前記クロージャシェルの開口部に正対する位置になるように配置する工程、
前記開口部に外側から前記ホルダを嵌め込んで、前記点火器組立体を前記クロージャシェル底面に固定する工程を有しており、前記工程において、前記ホルダ収容空間の内壁面の凹凸部に前記ホルダの凹凸部が互いに噛み合うように嵌め込むことで、前記点火器組立体を前記ハウジング底部に溶接することなく固定する点火器組立体の固定方法を提供する。
本発明の点火器組立体の固定方法は、ホルダを使用することで、溶接法を適用することなく、ハウジング底部に点火器組立体を固定する方法であり、ガス発生剤が充填された燃焼室が1つで点火器が1つのシングル型、ガス発生剤が充填された燃焼室が2つで点火器が2つのデュアル型のガス発生器のいずれの組立工程にも適用できる。
ホルダ収容空間の内壁面に形成された凹凸は、周方向に連続した複数の溝の組み合わせでもよいし、独立した複数の凹部と凸部の組み合わせでもよいし、又は溝と、独立した凹部と凸部の組み合わせでもよい。
ホルダの形状は特に制限されず、ホルダ収容空間に嵌め込むことができ、ホルダ収容空間の内壁面の凹凸部と、ホルダの凹凸部が互いに噛み合った状態にできるものであればよい。ホルダは、ホルダ収容空間に嵌め込むものであり、前記空間の内壁面は樹脂製であるから、ホルダ自体も樹脂製にすることが好ましい。
本発明は、他の課題の他の解決手段として、
前記ホルダとして、環状基板と、前記環状基板上の2箇所以上に突設された爪部を有し、前記爪部が、弾力性のある材質からなり、凹凸を有する板状のもので、先端部が前記環状基板の外周縁方向に拡げられるように突設されたものを使用し、
前記点火器組立体を前記クロージャシェル底面に固定する工程において、前記ホルダを、前記ホルダ収容空間の内壁面の凹凸部と前記爪部の凹凸部が互いに噛み合うように嵌め込み、前記爪部の先端部が外側に拡がる力により、前記ホルダ収容空間の内壁面を押圧することで、前記点火器組立体を前記クロージャシェル底面に固定する請求項5記載の点火器組立体の固定方法を提供する。
前記ホルダとして、環状基板と、前記環状基板上の2箇所以上に突設された爪部を有し、前記爪部が、弾力性のある材質からなり、凹凸を有する板状のもので、先端部が前記環状基板の外周縁方向に拡げられるように突設されたものを使用し、
前記点火器組立体を前記クロージャシェル底面に固定する工程において、前記ホルダを、前記ホルダ収容空間の内壁面の凹凸部と前記爪部の凹凸部が互いに噛み合うように嵌め込み、前記爪部の先端部が外側に拡がる力により、前記ホルダ収容空間の内壁面を押圧することで、前記点火器組立体を前記クロージャシェル底面に固定する請求項5記載の点火器組立体の固定方法を提供する。
ホルダは、環状基板上の2箇所以上に爪部を有するものであり、例えば、対向する位置に2箇所の爪部を有するもの、等間隔で周方向に分離配置された3つ、4つ又はそれ以上の爪部を有するものを用いることができる。
例えば、対向する位置に形成された2つの爪部先端部の間隔は、ホルダ収容空間の間隔よりも広くなっている。このため、ホルダ収容空間にホルダを嵌め込むときは、互いの間隔を小さくするように2つの爪部を両側から押し縮めながら嵌め込むと、今度は押し縮められた2つの爪部が外側に拡がるように変形するため、上記したとおり、爪部の先端部が外側に拡がる力により、前記ホルダ収容空間の内壁面が押圧される。
このようにすることで、ホルダ収容空間の内壁面と爪部の凹凸同士が噛み合うことに加えて、爪部がコネクタ収容空間の内壁面を押圧するため、点火器組立体の固定強度がより高められる。
本発明は、他の課題の他の解決手段として、
前記ホルダとして、第1環状基板と、前記第1環状基板上に形成された、前記第1環状基板よりも小さな径の第2環状基板と、前記第2環状基板上の2箇所以上に突設された爪部を有し、前記爪部が、弾力性のある材質からなり、凹凸を有する板状のもので、先端部が前記第2環状基板の外周縁方向に拡げられるように突設されたものを使用し、
前記点火器組立体を前記クロージャシェル底面に固定する工程において、前記ホルダを、前記ハウジング底部の外表面に対して第1環状基板と第2環状基板の段差面を当接させ、前記ホルダ収容空間の内壁面の凹凸部と前記爪部の凹凸部が互いに噛み合うように嵌め込み、前記爪部の先端部が外側に拡がる力により、前記ホルダ収容空間の内壁面を押圧することで、前記点火器組立体を前記クロージャシェル底面に固定する請求項5記載の点火器組立体の固定方法を提供する。
前記ホルダとして、第1環状基板と、前記第1環状基板上に形成された、前記第1環状基板よりも小さな径の第2環状基板と、前記第2環状基板上の2箇所以上に突設された爪部を有し、前記爪部が、弾力性のある材質からなり、凹凸を有する板状のもので、先端部が前記第2環状基板の外周縁方向に拡げられるように突設されたものを使用し、
前記点火器組立体を前記クロージャシェル底面に固定する工程において、前記ホルダを、前記ハウジング底部の外表面に対して第1環状基板と第2環状基板の段差面を当接させ、前記ホルダ収容空間の内壁面の凹凸部と前記爪部の凹凸部が互いに噛み合うように嵌め込み、前記爪部の先端部が外側に拡がる力により、前記ホルダ収容空間の内壁面を押圧することで、前記点火器組立体を前記クロージャシェル底面に固定する請求項5記載の点火器組立体の固定方法を提供する。
ホルダとして、第1環状基板、第2環状基板及び爪部を有するものを用いることにより、ハウジング底部への取り付け作業が容易になる。そして、ホルダ収容空間の内壁面と爪部の凹凸同士が噛み合うことに加えて、爪部がコネクタ収容空間の内壁面を押圧するため、点火器組立体の固定強度がより高められる。
本発明は、他の課題の他の解決手段として、前記ホルダを使用し、前記点火器組立体を前記クロージャシェル底面に固定する工程の後、更に薬剤収容室を形成するカップ部材を、底面を前記ハウジング天井面に当接させ、開口部周縁を前記点火器カラーに当接させて配置する工程を有する請求項5〜7のいずれかに記載の点火器組立体の固定方法を提供する。
このようにしてカップ部材を配置することで、カップ部材により、ホルダによる点火器組立体の固定を補助することができる。なお、カップ部材により形成される薬剤収容室は、例えば、シングル型のガス発生器の場合には、燃焼室と連通された伝火薬収容室であり、デュアル型のガス発生器の場合には、ガス発生剤が収容された2つの燃焼室の内の一方である。
本発明のガス発生器は、ハウジングに点火器組立体を取り付けるとき、公知の溶接法を適用する必要が無く、ホルダを嵌め込むだけで点火器組立体を取り付けることができるため、組立工程が簡略化でき、溶接時の熱により、点火器組立体の樹脂が熱変形したり、着火薬が燃焼したりするおそれもなくなる。
(1)ガス発生器
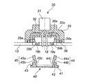
図1、図2により、本発明のガス発生器の実施形態を説明する。図1は、ガス発生器10の縦断面図、図2は、点火器組立体とホルダの固定状態を説明するための縦断面図である。
図1、図2により、本発明のガス発生器の実施形態を説明する。図1は、ガス発生器10の縦断面図、図2は、点火器組立体とホルダの固定状態を説明するための縦断面図である。
ガス発生器10の外殻を形成するハウジング11は、ディフューザシェル12とクロージャシェル13が、溶接により、接合一体化されたものである。ディフューザシェル12は、複数のガス排出口14を有しており、ガス排出口14は、内側からアルミニウムテープやステンレステープ等の閉塞部材15で閉塞されている。
ハウジング11内には、筒状フィルタ16が配置されている。筒状フィルタ16とガス排出口14及び閉塞部材15との間には、間隙17が形成されている。
ハウジング11の中央部にはカップ部材21が配置され、内部は伝火薬収容室21となっており、図示していない伝火薬が充填されている。カップ部材21の周面には複数の伝火孔24が形成されており、天井面22側にはクッション部材25が配置されている。
カップ部材21と筒状フィルタ16の間は燃焼室25であり、図示していないガス発生剤が充填されている。燃焼室25の天井面側のリテーナ26は、ガス発生剤の燃焼により発生したガスがフィルタ16とディフューザシェル12との接触面から漏れ出ることを防止するためのショートパス防止部材であり、底面側のリテーナ27は、ガス発生剤の充填量に応じて燃焼室容量を調整するためのものである。
クロージャシェル13の底面13aの中央部には開口部18が形成されており、前記開口部18に臨む底面13a上には、点火器組立体30が固定されている。開口部18の周面には、2つの凸部19a、19bが形成されている。
点火器組立体30は、1対の導電ピンを有する電気式点火器31が、底部に導電ピンを通すための穴を有するカップ状の金属部材32と樹脂部33で包囲固定されたものである。金属部材32、樹脂部33及び底面13aで囲まれた環状溝には、Oリング39が嵌め込まれている。
樹脂部33の外表表面には段差が付けられ、環状の段差面33aが形成されている。樹脂部33内には、ホルダ40が嵌め込まれる前にはホルダ収容空間36a(図2参照)が形成されており、ホルダ40が嵌め込まれたあとに、コネクタ接続空間36(図1参照)が形成されている。
ホルダ収容空間36aは、開口部18に正対している。ホルダ収容空間36aの内壁面には、対向する位置において、凹部34aと凸部34b、凹部35aと凸部35bが形成されている。
ホルダ40は、第1環状基板41と、第1環状基板41上に同心円を形成するように積層された、第1環状基板41よりも小さな径の第2環状基板42と、第2環状基板42上の対向する2箇所に突設された板状の爪部44、45を有している。第1環状基板41と第2環状基板42の直径の大小に起因して、環状段差面43が形成されている。
ホルダ40は全体が樹脂製であり、爪部44は、外側凸部44a、外側凹部44b、内側凹部44cを有し、爪部45は、外側凸部45a、外側凹部45b、内側凹部45cを有している。そして、爪部44と爪部45は、いずれも外方向(第2環状基板42の周縁方向)に反った状態で突設されているため、ホルダ収容空間36aに嵌め込む前は、ホルダ収容空間36aの最大内径よりも、2つの爪部44、45の間隔(外側凸部44aと外側凸部45aの間隔)の方が大きくなっている。
ホルダ40は、環状段差面43がクロージャシェル13の底部外側面に当接され、第2環状基板42が開口部18に嵌め込まれた状態で、ホルダ収容空間36aに嵌め込まれている。
爪部44の外側凸部44a、外側凹部44b、内側凹部44cは、それぞれホルダ収容空間36aの内壁面の凹部34a、凸部34b、開口部周縁の凸部19aと噛み合っている。爪部45の外側凸部45a、外側凹部45b、内側凹部45cは、それぞれホルダ収容空間36aの内壁面の凹部35a、凸部35b、開口部周縁の凸部19bと噛み合っている。そして、爪部44、45は、外側に拡がるように変形しようとするため、爪部44、45により、ホルダ収容空間36aの内壁面は押圧されており、このような押圧力が、上記した凹凸同士の噛み合いによる結合力を高めている。
カップ部材21は、天井面22がディフューザシェル12の天井面に当接され、開口部周縁23が樹脂部33の環状の段差面33aに当接されている。このため、樹脂部33は、上方からカップ部材21で押し付けられた状態になっており、この押し付ける力が点火組立体20のクロージャシェル13への固定を補助している。
ガス発生器10では、点火器組立体30はクロージャシェル13に対して、溶接することなく、ホルダ40によって固定されている。
(2)点火器組立体の固定方法
図3により、本発明の点火器組立体の固定方法の実施形態を説明する。図3(a)〜(d)は、ガス発生器に点火器組立体を固定する方法の工程図である。なお、クロージャシェル13は、組立方法を理解し易いように、一部のみを表示している。
図3により、本発明の点火器組立体の固定方法の実施形態を説明する。図3(a)〜(d)は、ガス発生器に点火器組立体を固定する方法の工程図である。なお、クロージャシェル13は、組立方法を理解し易いように、一部のみを表示している。
図3(a)で示す工程は、点火器組立体30をクロージャシェル13に取り付ける前の準備工程であり、樹脂部33と金属部材32との間の環状溝に、防湿性付与のためのOリングを嵌め込む。
次に、図3(b)で示す工程において、点火器組立体30のホルダ収容空間36aがクロージャシェル13の開口部18に正対する位置になるように、点火器組立体30をクロージャシェル13上に配置する。
次に、図3(c)に示す工程において、ホルダ40を開口部18に嵌め込んで、点火器組立体3をクロージャシェル13の底面13aに固定する。このとき、ホルダ40の第1環状基板41はクロージャシェル底面13a(但し、外側表面)に当接させ、対向する2つの爪部44、45を互いに近接させるように押し縮めながらホルダ収容空間36a内に入れ、第2環状基板42は開口部18に嵌め込む。
このとき、開口部18の周面にある2つの凸部19a、19bに、爪部44の凹部44c、爪部45の凹部45cが嵌め込まれ、ホルダ収容空間36aの内壁面の凹凸部に、ホルダ40の2つの爪部44、45の凹凸部が嵌め込まれる。そして、押し縮められた2つの爪部44、45には、外に拡がろうとする力が生じるため、爪部44、45によりホルダ収容空間36aの内壁面が押圧され、凹凸同士の噛み合いによる結合力が高められる。
このため、点火器組立体30は、溶接することなく、ホルダ40のみでクロージャシェル13に対して強固に固定することができる。よって、溶接が不要になるため、組立工程が簡略化でき、溶接時の熱により、点火器組立体30の樹脂部33が熱変形したり、点火器31の着火薬が燃焼したりするおそれもなくなる。
10 ガス発生器
11 ハウジング
12 ディフューザシェル
13 クロージャシェル
14 ガス排出口
16 フィルタ
25 燃焼室
30 点火器組立体
31 電気式点火器
36 コネクタ接続空間
36a ホルダ収容空間
40 ホルダ
44、45 爪部
11 ハウジング
12 ディフューザシェル
13 クロージャシェル
14 ガス排出口
16 フィルタ
25 燃焼室
30 点火器組立体
31 電気式点火器
36 コネクタ接続空間
36a ホルダ収容空間
40 ホルダ
44、45 爪部
Claims (8)
- ガス排出口を有するハウジングと、ガス発生剤が収容された1又は2以上の燃焼室と、前記ガス排出口と前記燃焼室の間に配置された筒状フィルタと、前記ガス発生剤を着火燃焼させるための1又は2以上の点火手段として、電気式点火器が金属部材と樹脂で包囲固定されている点火器組立体を有するガス発生器であって、
前記点火器組立体が、樹脂部分にホルダ収容空間を有しており、前記ハウジング底部に形成された開口部に前記ホルダ収容空間が正対するように配置され、前記開口部に対して外側から嵌め込んだホルダで固定されたものであり、
前記ホルダ収容空間の内壁面が凹凸部を有し、前記ホルダが凹凸部を有しており、前記ホルダ収容空間の内壁面の凹凸部と前記ホルダの凹凸部が互いに噛み合った状態になっていることで、前記点火器組立体が前記ハウジング底部に溶接されることなく固定されているガス発生器。 - 前記ホルダが、環状基板と、前記環状基板上の2箇所以上に突設された爪部を有し、前記爪部が、弾力性のある材質からなり、凹凸を有する板状のもので、先端部が前記環状基板の外周縁方向に拡げられるように突設されたものであり、
前記ホルダの環状基板が、前記ハウジング底部に形成された開口部に外側から嵌め込まれており、
前記ホルダ収容空間の内壁面の凹凸部と前記爪部の凹凸部が互いに噛み合った状態であり、かつ前記爪部の先端部が外側に拡がる力により、前記ホルダ収容空間の内壁面が押圧されていることで、前記点火器組立体が前記ハウジング底部に溶接されることなく固定されている請求項1記載のガス発生器。 - 前記ホルダが、第1環状基板と、前記第1環状基板上に形成された、前記第1環状基板よりも小さな径の第2環状基板と、前記第2環状基板上の2箇所以上に突設された爪部を有し、前記爪部が、弾力性のある材質からなり、凹凸を有する板状のもので、先端部が前記第2環状基板の外周縁方向に拡げられるように突設されたものであり、
前記ハウジング底部の外表面に対して、前記第1環状基板と前記第2環状基板の段差面が当接され、前記ハウジング底部に形成された開口部に前記第2環状基板が嵌め込まれており、
前記ホルダ収容空間の内壁面の凹凸部と前記爪部の凹凸部が互いに噛み合った状態であり、かつ前記爪部の先端部が外側に拡がる力により、前記ホルダ収容空間の内壁面が押圧されていることで、前記点火器組立体が前記ハウジング底部に溶接されることなく固定されている請求項1記載のガス発生器。 - 更に薬剤収容室を形成するカップ部材を有しており、前記カップ部材が、底面が前記ハウジング天井面に当接され、開口部周縁が前記点火器カラーに当接されて配置されている請求項1〜3のいずれかに記載のガス発生器。
- ガス発生器のハウジングに対して、溶接法を適用することなく、1又は2以上の点火器組立体を固定する方法であって、
前記ハウジングが、点火手段を固定する開口部を有するクロージャシェルと、ガス排出口を有するディフューザシェルが接合一体化されてなるものであり、前記点火手段が、電気式点火器が金属部材と樹脂で包囲固定されており、前記樹脂部分がホルダ収容空間を有しているものであり、
前記点火器組立体を、前記ホルダ収容空間が前記クロージャシェルの開口部に正対する位置になるように配置する工程、
前記開口部に外側から前記ホルダを嵌め込んで、前記点火器組立体を前記クロージャシェル底面に固定する工程を有しており、前記工程において、前記ホルダ収容空間の内壁面の凹凸部に前記ホルダの凹凸部が互いに噛み合うように嵌め込むことで、前記点火器組立体を前記ハウジング底部に溶接することなく固定する点火器組立体の固定方法。 - 前記ホルダとして、環状基板と、前記環状基板上の2箇所以上に突設された爪部を有し、前記爪部が、弾力性のある材質からなり、凹凸を有する板状のもので、先端部が前記環状基板の外周縁方向に拡げられるように突設されたものを使用し、
前記点火器組立体を前記クロージャシェル底面に固定する工程において、前記ホルダを、前記ホルダ収容空間の内壁面の凹凸部と前記爪部の凹凸部が互いに噛み合うように嵌め込み、前記爪部の先端部が外側に拡がる力により、前記ホルダ収容空間の内壁面を押圧することで、前記点火器組立体を前記クロージャシェル底面に固定する請求項5記載の点火器組立体の固定方法。 - 前記ホルダとして、第1環状基板と、前記第1環状基板上に形成された、前記第1環状基板よりも小さな径の第2環状基板と、前記第2環状基板上の2箇所以上に突設された爪部を有し、前記爪部が、弾力性のある材質からなり、凹凸を有する板状のもので、先端部が前記第2環状基板の外周縁方向に拡げられるように突設されたものを使用し、
前記点火器組立体を前記クロージャシェル底面に固定する工程において、前記ホルダを、前記ハウジング底部の外表面に対して第1環状基板と第2環状基板の段差面を当接させ、前記ホルダ収容空間の内壁面の凹凸部と前記爪部の凹凸部が互いに噛み合うように嵌め込み、前記爪部の先端部が外側に拡がる力により、前記ホルダ収容空間の内壁面を押圧することで、前記点火器組立体を前記クロージャシェル底面に固定する請求項5記載の点火器組立体の固定方法。 - 前記ホルダを使用し、前記点火器組立体を前記クロージャシェル底面に固定する工程の後、更に薬剤収容室を形成するカップ部材を、底面を前記ハウジング天井面に当接させ、開口部周縁を前記点火器カラーに当接させて配置する工程を有する請求項5〜7のいずれかに記載の点火器組立体の固定方法。
Priority Applications (3)
| Application Number | Priority Date | Filing Date | Title |
|---|---|---|---|
| JP2006230326A JP2008049941A (ja) | 2006-08-28 | 2006-08-28 | ガス発生器 |
| US11/892,770 US7614875B2 (en) | 2006-08-28 | 2007-08-27 | Gas generator |
| DE102007040381A DE102007040381A1 (de) | 2006-08-28 | 2007-08-27 | Gasgenerator |
Applications Claiming Priority (1)
| Application Number | Priority Date | Filing Date | Title |
|---|---|---|---|
| JP2006230326A JP2008049941A (ja) | 2006-08-28 | 2006-08-28 | ガス発生器 |
Publications (1)
| Publication Number | Publication Date |
|---|---|
| JP2008049941A true JP2008049941A (ja) | 2008-03-06 |
Family
ID=38989809
Family Applications (1)
| Application Number | Title | Priority Date | Filing Date |
|---|---|---|---|
| JP2006230326A Pending JP2008049941A (ja) | 2006-08-28 | 2006-08-28 | ガス発生器 |
Country Status (3)
| Country | Link |
|---|---|
| US (1) | US7614875B2 (ja) |
| JP (1) | JP2008049941A (ja) |
| DE (1) | DE102007040381A1 (ja) |
Cited By (2)
| Publication number | Priority date | Publication date | Assignee | Title |
|---|---|---|---|---|
| JP2012102961A (ja) * | 2010-11-12 | 2012-05-31 | Daicel Corp | 点火器組立体 |
| WO2014157648A1 (ja) | 2013-03-29 | 2014-10-02 | 日本化薬株式会社 | ガス発生器 |
Families Citing this family (13)
| Publication number | Priority date | Publication date | Assignee | Title |
|---|---|---|---|---|
| JP4775080B2 (ja) * | 2006-04-03 | 2011-09-21 | 日産自動車株式会社 | 燃料タンク構造 |
| JP2008062685A (ja) * | 2006-09-05 | 2008-03-21 | Daicel Chem Ind Ltd | 点火器組立体を備えた装置 |
| US8172262B2 (en) | 2008-11-13 | 2012-05-08 | Tk Holdings, Inc. | Initiator housing assembly |
| JP5324930B2 (ja) * | 2009-01-15 | 2013-10-23 | 株式会社ダイセル | 車両の人員拘束装置用ガス発生器 |
| US8944718B2 (en) | 2010-09-23 | 2015-02-03 | C-Flex Bearing Co., Inc. | Clamping bushing |
| JP5638996B2 (ja) * | 2011-03-30 | 2014-12-10 | 株式会社ダイセル | 人員拘束装置用ガス発生器 |
| DE102013020526A1 (de) * | 2013-12-11 | 2015-06-11 | Trw Airbag Systems Gmbh | Polkörper für einen pyrotechnischen anzünder eines gasgenerators, anzünder, gasgenerator und gassackmodul mit einem derartigen polkörper |
| KR20180107092A (ko) * | 2016-01-26 | 2018-10-01 | 주식회사 다이셀 | 가스 발생기 |
| JP6749788B2 (ja) * | 2016-05-18 | 2020-09-02 | 株式会社ダイセル | ガス発生器 |
| US11484855B2 (en) * | 2018-05-29 | 2022-11-01 | Daicel Corporation | Gas generator |
| BR102018074738B1 (pt) * | 2018-11-29 | 2022-04-26 | Embraco Indústria De Compressores E Soluções Em Refrigeração Ltda | Arranjo para montagem de aterramento elétrico para compressor alternativo |
| DE102019134899A1 (de) * | 2019-12-18 | 2021-06-24 | Zf Airbag Germany Gmbh | Gasgenerator insbesondere für ein fahrzeugsicherheitssystem |
| CN115782806A (zh) * | 2022-11-25 | 2023-03-14 | 延锋汽车智能安全系统有限责任公司 | 点火系统及其制造方法、气体发生器和安全气囊 |
Family Cites Families (79)
| Publication number | Priority date | Publication date | Assignee | Title |
|---|---|---|---|---|
| US699617A (en) * | 1900-09-28 | 1902-05-06 | Oliver C Earl | Bolt. |
| US3091795A (en) * | 1960-08-05 | 1963-06-04 | Gilbert G Budwig | Grommet |
| US4296084A (en) * | 1979-10-29 | 1981-10-20 | Thiokol Corporation | Method of and apparatus for gas generation |
| JPH0315847Y2 (ja) * | 1986-03-31 | 1991-04-05 | ||
| US4656689A (en) * | 1986-04-01 | 1987-04-14 | Molded Products Company | Grommet |
| US4749075A (en) * | 1987-06-04 | 1988-06-07 | Foster Raymond K | Hold down member for a reciprocating floor conveyor |
| US4907691A (en) * | 1987-07-01 | 1990-03-13 | Foster Raymond K | Reciprocating floor conveyor with snap-on floor members |
| JPH0310578Y2 (ja) * | 1987-07-15 | 1991-03-15 | ||
| US5070049A (en) * | 1987-12-16 | 1991-12-03 | Ibiden, Co. Ltd. | Starting composition for the production of silicon carbide and method of producing the same |
| US4902036A (en) * | 1988-01-19 | 1990-02-20 | Talley Automotive Products, Inc. | Deflector ring for use with inflators with passive restraint devices |
| US5062367A (en) * | 1988-12-05 | 1991-11-05 | Nippon Koki, Co., Ltd. | Air bag inflation gas generator |
| US5234247A (en) * | 1991-09-09 | 1993-08-10 | Dfm Corporation | Quick release deflector shield |
| DE4038159A1 (de) * | 1990-11-30 | 1992-06-11 | Raymond A & Cie | Zweiteiliger halteclip zur befestigung von schutz- oder zierleisten |
| DE4141620C2 (de) | 1990-12-18 | 1996-04-11 | Trw Inc | Startvorrichtungs- oder Initiatoranordnung für eine Airbagaufblasvorrichtung |
| US5269560A (en) * | 1990-12-18 | 1993-12-14 | Twr Inc. | Initiator assembly for air bag inflator |
| US5131679A (en) * | 1990-12-18 | 1992-07-21 | Trw Inc. | Initiator assembly for air bag inflator |
| US5200574A (en) * | 1991-04-05 | 1993-04-06 | Morton International, Inc. | Universal squib connector |
| US5178547A (en) * | 1991-09-13 | 1993-01-12 | Trw Inc. | Initiator assembly with connector interface element |
| FR2686662B1 (fr) * | 1992-01-24 | 1995-08-04 | Clip Off | Dispositif de fixation sur une piece, en vue, notamment, d'en assurer l'assemblage avec une autre piece. |
| US5236675A (en) * | 1992-04-08 | 1993-08-17 | Daicel Chemical Industries, Ltd. | Gas generator with circumferential joints |
| US5275575A (en) * | 1992-10-09 | 1994-01-04 | Trw Inc. | Electrical connection system with safety interlock |
| KR0148835B1 (ko) * | 1993-08-20 | 1998-10-15 | 제임스 엠. 루즈벨트 | 팽창 기구를 팽창시키는 장치 |
| US5387008A (en) * | 1994-03-14 | 1995-02-07 | Morton International, Inc. | Generant preload and tolerance takeup assembly for vehicular airbag installation |
| US5531473A (en) * | 1994-05-31 | 1996-07-02 | Morton International, Inc. | Fluid fuel-containing initiator device for an air bag inflator |
| JP3010415B2 (ja) * | 1994-12-06 | 2000-02-21 | 矢崎総業株式会社 | クリップ |
| US5462307A (en) * | 1994-12-27 | 1995-10-31 | General Motors Corporation | Supplemental inflation restraint inflator |
| US5645296A (en) * | 1995-05-08 | 1997-07-08 | Nippon Koki Co., Ltd. | Air bag inflation gas generator |
| US5616045A (en) * | 1995-07-14 | 1997-04-01 | Augat Inc. | Squib connector for automotive air bag assembly |
| US5590900A (en) * | 1995-07-21 | 1997-01-07 | Avibank Mfg., Inc. | Air bag mounting system |
| US5558366A (en) * | 1995-08-22 | 1996-09-24 | Trw Inc. | Initiator assembly for air bag inflator |
| US5733135A (en) * | 1995-12-06 | 1998-03-31 | Trw Inc. | Air bag inflator assembly with shorting clip |
| US5947509A (en) * | 1996-09-24 | 1999-09-07 | Autoliv Asp, Inc. | Airbag inflator with snap-on mounting attachment |
| USD410194S (en) * | 1996-12-10 | 1999-05-25 | Caldwell Investments Plc | Male clip fastener |
| US5881989A (en) * | 1997-03-04 | 1999-03-16 | Apple Computer, Inc. | Audio enclosure assembly mounting system and method |
| US5893583A (en) * | 1997-04-23 | 1999-04-13 | Trw Vehicle Safety Systems Inc. | Inflator for an inflatable vehicle occupant protection device |
| US5944545A (en) * | 1997-08-29 | 1999-08-31 | Talley Defense Systems, Inc. | Single pin coaxial initiator, retainer and connector and method of operation |
| JP2963086B1 (ja) * | 1997-12-26 | 1999-10-12 | ダイセル化学工業株式会社 | エアバッグ用ガス発生器及びエアバッグ装置 |
| US6056314A (en) * | 1998-02-20 | 2000-05-02 | Trw Inc. | Initiator retainer for air bag inflator |
| US6073963A (en) * | 1998-03-19 | 2000-06-13 | Oea, Inc. | Initiator with injection molded insert member |
| US6164208A (en) * | 1998-07-14 | 2000-12-26 | Chung Shan Institute Of Science & Technology | Igniter for vehicle airbag inflator |
| US6250665B1 (en) * | 1998-12-15 | 2001-06-26 | Trw Vehicle Safety Systems Inc. | Retainer structure for an inflatable vehicle occupant protection device |
| US6123746A (en) * | 1999-03-04 | 2000-09-26 | Siemens Westinghouse Power Corporation | Filter holder and gasket assembly for candle tube filters |
| JP2000292100A (ja) * | 1999-04-09 | 2000-10-20 | Showa Kinzoku Kogyo Kk | 電気点火式ガス発生装置 |
| US6213800B1 (en) * | 1999-06-30 | 2001-04-10 | Trw Inc. | Shorting clip for air bag inflator |
| US6257910B1 (en) * | 1999-07-02 | 2001-07-10 | Trw Inc. | Shorting clip for air bag inflator |
| DE19936848C1 (de) * | 1999-08-05 | 2000-11-16 | Framatome Connectors Int | Kurzschlußkontaktträger für einen Steckansatz eines Zündersockels |
| JP4426079B2 (ja) * | 1999-09-27 | 2010-03-03 | ダイセル化学工業株式会社 | イニシエータ組立体 |
| TW469235B (en) * | 1999-10-04 | 2001-12-21 | Daicel Chem | Gas generator for air bag and air bag device |
| USD449238S1 (en) * | 2000-01-14 | 2001-10-16 | World Kitchen, Inc. | Ring guard for utensil |
| US6217388B1 (en) * | 2000-02-04 | 2001-04-17 | Delphi Technologies, Inc. | Low profile SIR connector and terminal |
| JP4375695B2 (ja) * | 2000-07-21 | 2009-12-02 | 株式会社ニフコ | 部品の取付装置 |
| JP3679322B2 (ja) * | 2000-08-31 | 2005-08-03 | 日本圧着端子製造株式会社 | スクイブのシャント |
| US6644198B1 (en) * | 2000-10-31 | 2003-11-11 | Special Devices, Inc. | Integral pyrotechnic initiator with molded connector |
| US6508175B1 (en) * | 2000-10-31 | 2003-01-21 | Special Devices, Inc. | Pyrotechnic initiator for use in high pressure environments |
| WO2002036525A2 (en) * | 2000-10-31 | 2002-05-10 | Special Devices, Inc. | Multi-unit pyrotechnic initiation system |
| US6695343B1 (en) * | 2000-11-20 | 2004-02-24 | Trw Vehicle Safety Systems Inc. | Snap-in air bag module |
| JP2002319459A (ja) * | 2001-04-20 | 2002-10-31 | Jst Mfg Co Ltd | スクイブ用コネクタおよびその部品 |
| US6604634B2 (en) * | 2001-07-18 | 2003-08-12 | Fu-Long Su | Receiving bag with enhanced airtight effect |
| US6964430B2 (en) * | 2002-03-27 | 2005-11-15 | Automotive Systems Laboratory, Inc. | Weld-less driver-side inflator |
| US6736525B2 (en) * | 2002-05-13 | 2004-05-18 | Unity Opto Technology Co., Ltd. | Energy efficient tubular light |
| DE20216754U1 (de) * | 2002-10-30 | 2003-03-20 | TRW Automotive Safety Systems GmbH & Co. KG, 63743 Aschaffenburg | Gassackmodul und Fahrzeuglenkrad mit einem Gassackmodul |
| US7125041B2 (en) * | 2003-01-15 | 2006-10-24 | Daicel Chemical Industries, Ltd. | Gas generator |
| US20040244624A1 (en) * | 2003-01-31 | 2004-12-09 | Hiroshi Harada | Parts of igniter |
| JP4091859B2 (ja) * | 2003-03-03 | 2008-05-28 | 株式会社パイオラックス | 締結具 |
| US6886856B2 (en) * | 2003-04-01 | 2005-05-03 | Key Safety Systems, Inc. | Dual stage inflator |
| US7401810B2 (en) * | 2003-07-07 | 2008-07-22 | Autoliv Asp, Inc. | Ultrasonic welded initiator and connector socket |
| US7077428B2 (en) * | 2003-07-07 | 2006-07-18 | Autoliv Asp, Inc. | Airbag initiator cover attachment apparatus and method |
| US6815615B1 (en) * | 2003-08-29 | 2004-11-09 | Yazaki North America, Inc. | Two-part grommet |
| US7237796B2 (en) * | 2003-09-04 | 2007-07-03 | Autoliv Asp, Inc. | Actuatable locking fastener |
| EP1693644A1 (en) * | 2003-11-26 | 2006-08-23 | Nippon Kayaku Kabushiki Kaisha | Igniter and gas producing device |
| US7510211B2 (en) * | 2003-12-11 | 2009-03-31 | Autoliv Asp, Inc. | Snap-locking initiator assemblies for inflator devices |
| US7192054B2 (en) * | 2003-12-11 | 2007-03-20 | Autoliv Asp, Inc. | Locking initiator assembly for an airbag inflator device |
| US7806435B2 (en) * | 2003-12-19 | 2010-10-05 | Daicel Chemical Industries, Ltd. | Gas generator |
| US7404574B2 (en) * | 2003-12-22 | 2008-07-29 | Daicel Chemical Industries, Ltd. | Gas generator for airbag |
| US7347448B2 (en) * | 2004-10-19 | 2008-03-25 | Autoliv Asp, Inc. | Inflator device for airbag installations |
| US7520530B2 (en) * | 2004-12-20 | 2009-04-21 | Daicel Chemical Industries, Ltd. | Gas generator for air bag |
| US20060249938A1 (en) * | 2005-04-15 | 2006-11-09 | Daicel Chemical Industries, Ltd. | Gas generator for air bag |
| US20070001439A1 (en) * | 2005-06-16 | 2007-01-04 | Daicel Chemical Industries, Ltd. | Gas generator for air bag |
| US20070024038A1 (en) * | 2005-07-26 | 2007-02-01 | Daicel Chemical Industries, Ltd. | Gas generator |
-
2006
- 2006-08-28 JP JP2006230326A patent/JP2008049941A/ja active Pending
-
2007
- 2007-08-27 DE DE102007040381A patent/DE102007040381A1/de not_active Withdrawn
- 2007-08-27 US US11/892,770 patent/US7614875B2/en active Active
Cited By (4)
| Publication number | Priority date | Publication date | Assignee | Title |
|---|---|---|---|---|
| JP2012102961A (ja) * | 2010-11-12 | 2012-05-31 | Daicel Corp | 点火器組立体 |
| US8863664B2 (en) | 2010-11-12 | 2014-10-21 | Daicel Corporation | Igniter assembly |
| WO2014157648A1 (ja) | 2013-03-29 | 2014-10-02 | 日本化薬株式会社 | ガス発生器 |
| US9656626B2 (en) | 2013-03-29 | 2017-05-23 | Nippon Kayaku Kabushiki Kaisha | Gas generator |
Also Published As
| Publication number | Publication date |
|---|---|
| US20080063993A1 (en) | 2008-03-13 |
| DE102007040381A1 (de) | 2008-03-06 |
| US7614875B2 (en) | 2009-11-10 |
Similar Documents
| Publication | Publication Date | Title |
|---|---|---|
| JP2008049941A (ja) | ガス発生器 | |
| CN103442956B (zh) | 用于约束装置的气体发生器 | |
| JP6031250B2 (ja) | ガス発生器 | |
| KR102093194B1 (ko) | 가스 발생기와 그의 조립 방법 | |
| WO2001031282A1 (en) | Electric type initiator and pretensioner | |
| JP2008062685A (ja) | 点火器組立体を備えた装置 | |
| WO2013118405A1 (en) | Gas generator | |
| CN102883922B (zh) | 气体发生器及其装配方法 | |
| JP2021062814A (ja) | ガス発生器、及びガス発生器の組立方法 | |
| CN110573387B (zh) | 气体发生器 | |
| US10196030B2 (en) | Igniter assembly and gas generator using the same | |
| CN108883739A (zh) | 气体发生器 | |
| CN111556829B (zh) | 火工装置用的筒状过滤器及其制造方法以及火工装置 | |
| JP5021447B2 (ja) | ガス発生器 | |
| JP6710167B2 (ja) | ガス発生器 | |
| CN111655552A (zh) | 用于安全系统的气体发生器 | |
| JP2018537347A (ja) | ガス発生器 | |
| JP2012158238A (ja) | インフレーター | |
| JP2007160954A (ja) | 車両の乗員拘束装置用ガス発生器 | |
| JP2015202825A (ja) | ガス発生器 | |
| WO2016076149A1 (ja) | 点火器組立体とそれを使用したガス発生器 |