JP2007309420A - 自動車の内装部材と車体パネルとの連結構造 - Google Patents
自動車の内装部材と車体パネルとの連結構造 Download PDFInfo
- Publication number
- JP2007309420A JP2007309420A JP2006139076A JP2006139076A JP2007309420A JP 2007309420 A JP2007309420 A JP 2007309420A JP 2006139076 A JP2006139076 A JP 2006139076A JP 2006139076 A JP2006139076 A JP 2006139076A JP 2007309420 A JP2007309420 A JP 2007309420A
- Authority
- JP
- Japan
- Prior art keywords
- vehicle body
- interior
- mounting seat
- body panel
- engagement member
- Prior art date
- Legal status (The legal status is an assumption and is not a legal conclusion. Google has not performed a legal analysis and makes no representation as to the accuracy of the status listed.)
- Pending
Links
- 239000000758 substrate Substances 0.000 description 6
- 230000002265 prevention Effects 0.000 description 4
- 230000009466 transformation Effects 0.000 description 3
- 230000000295 complement effect Effects 0.000 description 2
- 230000002093 peripheral effect Effects 0.000 description 2
- 230000002159 abnormal effect Effects 0.000 description 1
- 230000004308 accommodation Effects 0.000 description 1
- 230000001154 acute effect Effects 0.000 description 1
- 230000008901 benefit Effects 0.000 description 1
- 230000033228 biological regulation Effects 0.000 description 1
- 230000008878 coupling Effects 0.000 description 1
- 238000010168 coupling process Methods 0.000 description 1
- 238000005859 coupling reaction Methods 0.000 description 1
- 230000007423 decrease Effects 0.000 description 1
- 230000006866 deterioration Effects 0.000 description 1
- 230000004048 modification Effects 0.000 description 1
- 238000012986 modification Methods 0.000 description 1
- 230000009467 reduction Effects 0.000 description 1
- 230000007480 spreading Effects 0.000 description 1
- 230000001629 suppression Effects 0.000 description 1
- 238000003466 welding Methods 0.000 description 1
Images
Landscapes
- Vehicle Interior And Exterior Ornaments, Soundproofing, And Insulation (AREA)
- Air Bags (AREA)
- Connection Of Plates (AREA)
- Snaps, Bayonet Connections, Set Pins, And Snap Rings (AREA)
Abstract
【課題】内装部材と車体パネルとの連結構造を提供することである。
【解決手段】本発明による、内装部材と車体パネルとの連結構造は、車体パネルの取付孔に挿入されて車体パネルと係合するようになった車体側係合部材と、内装部材に設けられる取付座と、取付座と一体に又は着脱可能に取り付けられ、車体側係合部材と係合するようになった内装側係合部材と、車体側係合部材と、取付座又は内装側係合部材とを連結する連結バンドとを有し、車体パネルと車体側係合部材との間の係合力が、車体側係合部材と内装側係合部材との間の係合力よりも大きく、車体側係合部材が車体パネルに取り付けられ、内装側係合部材が車体側係合部材に取り付けられたときに、少なくとも一部が車体パネルに面当接する延設部が取付座に設けられている、ことを特徴とする。
【選択図】図1
【解決手段】本発明による、内装部材と車体パネルとの連結構造は、車体パネルの取付孔に挿入されて車体パネルと係合するようになった車体側係合部材と、内装部材に設けられる取付座と、取付座と一体に又は着脱可能に取り付けられ、車体側係合部材と係合するようになった内装側係合部材と、車体側係合部材と、取付座又は内装側係合部材とを連結する連結バンドとを有し、車体パネルと車体側係合部材との間の係合力が、車体側係合部材と内装側係合部材との間の係合力よりも大きく、車体側係合部材が車体パネルに取り付けられ、内装側係合部材が車体側係合部材に取り付けられたときに、少なくとも一部が車体パネルに面当接する延設部が取付座に設けられている、ことを特徴とする。
【選択図】図1
Description
本発明は、自動車のカバー等の内装部材と車体パネルとの連結構造に関し、特に、エアバッグが間に収容される、内装部材と車体パネルとの連結構造に関する。
エアバッグが設けられる車体パネルと、このエアバッグを覆うカバーとを連結する構造の一例が特許文献1に開示されている。この特許文献1開示の連結構造は、車体パネルに取付けられる雄部材と、内装部材に形成された取付座に取付けられる雌部材と、雄部材と雌部材とを連結する連結バンドとを有し、雄部材は、車体パネルの開口に係合する車体パネル係合部と、雌部材に脱着可能に係合される雌部材係合部とを備える。
カバーを車体パネルに取付ける際には、連結バンドを撓ませながら雌部材に雄部材の雌部材係合部を係合させ、続いて、雄部材の車体パネル係合部を車体パネルの開口に係合させて、内装部材を雌部材及び雄部材を介して車体パネルに取付ける。
かかる連結構造では、内装部材と車体パネルとの間に格納されたエアバッグが衝突事故等によって膨張されると、内装部材が車体パネルから離れるように移動されることになるが、内装部材は連結バンドによって車体パネルに連結されているので、内装部材の車室方向への移動が規制され、乗員の安全が確保される。
しかしながら、上記連結構造では、内装部材の取付座に雌部材を取付け、この雌部材に取り付けられた雄部材の一部であるクリップのみによって、雄部材を、ひいては、内装部材を車体パネルに取り付けているため、雄部材、ひいては、内装部材と車体パネルとの間にガタつきが生じ、異音発生の原因となることがあった。
本発明は、上述した課題を解決するために発明されたものであって、内装部材と車体パネルとの間のガタツキを抑制する、内装部材と車体パネルとの連結構造を提供することを目的とする。
上記目的を達成するため、本発明による、内装部材と車体パネルとの間に設けられ、前記内装部材を押圧して車室に展開するエアバッグを備えた車両における前記内装部材と前記車体パネルとの連結構造は、前記車体パネルの取付孔に挿入されて前記車体パネルと係合するようになった車体側係合部材と、前記内装部材に設けられる取付座と、該取付座と一体に又は着脱可能に取り付けられ、前記車体側係合部材と係合するようになった内装側係合部材と、前記車体側係合部材と、前記取付座又は前記内装側係合部材とを連結する連結バンドとを有し、前記車体パネルと前記車体側係合部材との間の係合力が、前記車体側係合部材と前記内装側係合部材との間の係合力よりも大きく、前記車体側係合部材が前記車体パネルに取り付けられ、前記内装側係合部材が前記車体側係合部材に取り付けられたときに、少なくとも一部が前記車体パネルに面当接する延設部が前記取付座に設けられている、ことを特徴とする。
本発明では、少なくとも一部が車体パネルに面当接する延設部を取付座に設けたので、エアバッグの展開前における取付座、ひいては、内装部材と車体パネルとの間のガタツキを抑制することができる。
本発明では、少なくとも一部が車体パネルに面当接する延設部を取付座に設けたので、エアバッグの展開前における取付座、ひいては、内装部材と車体パネルとの間のガタツキを抑制することができる。
本発明では、前記取付座の前記延設部は、前記内装側係合部材が前記取付座に取り付けられたときに、前記内装側係合部材を横方向から挟持するように、形状決めされているのが好ましい。
この構成によれば、取付座への車体側係合部の取付時に車体側係合部が取付座に対して回転してしまい取付け性が悪化するのを防止することができ、同取付後、取付座と内装側係合部材との間の横方向のガタつきを抑制することができる。
この構成によれば、取付座への車体側係合部の取付時に車体側係合部が取付座に対して回転してしまい取付け性が悪化するのを防止することができ、同取付後、取付座と内装側係合部材との間の横方向のガタつきを抑制することができる。
また、前記連結バンドは、前記内装側係合部材が前記取付座に取り付けられる方向、又は、前記方向と対向する方向に延びるのが好ましい。
この構成によれば、内装側係合部材と車体側係合部材とを係合させた状態で、内装側係合部材を取付座に取り付けるときに、連結バンドが邪魔にならず、取付性を向上させることができる。
この構成によれば、内装側係合部材と車体側係合部材とを係合させた状態で、内装側係合部材を取付座に取り付けるときに、連結バンドが邪魔にならず、取付性を向上させることができる。
更に、調整スロットが前記内装部材から遠ざかる方向に延びるように前記取付座に形成され、前記連結バンドが、前記車体側係合部材から延び、前記取付座の前記調整スロットに摺動自在に係止されるようになっている、のが好ましい。
この構成によれば、取付座の長さを調整することによって連結バンドの長さを変えることなくエアバッグ展開時の内装部材の最大移動量を調整できるので、連結バンドに関する部品の共用化を図ることができ、また、同一の連結バンドを使用することにより連結バンドの誤組付の問題をなくすことができる。
この構成によれば、取付座の長さを調整することによって連結バンドの長さを変えることなくエアバッグ展開時の内装部材の最大移動量を調整できるので、連結バンドに関する部品の共用化を図ることができ、また、同一の連結バンドを使用することにより連結バンドの誤組付の問題をなくすことができる。
本発明によれば、内装部材と車体パネルとの間のガタツキを抑制する、内装部材と車体パネルとの連結構造を提供することができる。
以下、添付図面を参照して、本発明の実施形態について説明する。本実施形態は、本発明を、車体パネルとトリムカバーとの間にカーテンエアバッグを設けた車両に適用したものである。
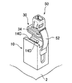
図1を参照すると、車両のフロント(A)ピラー、ルーフレール部、又は、リア(C)ピラーの車体側パネル、室内側パネルを夫々構成する、車体パネル1と、トリムカバー2とがパネル連結手段を介して連結されている。
パネル連結手段は、トリムカバー2に設けられた取付座10と、この取付座10に取り付けられる内装側係合部材、すなわち、内装側雄型係合部材30と、車体パネル1に取り付けられ、内装側雄型係合部材30と係合される車体側係合部材、すなわち、車体側雌型係合部材50とを有する。
図1及び図2から良くわかるように、取付座10は、トリムカバー2の裏面、すなわち、内面2Aに一体形成された枠型部材からなる。取付座10は、トリムカバー2と別個に成型し、溶接や接着などによって、或いは、ネジ等の締結手段を用いてトリムカバー2に取り付けても良い。
枠型部材である取付座10は、トリムカバー2から延びる一対の対向する前壁11、後壁12と、これらの前壁11、後壁12の各右端部間に延びる右側壁13と、これらの壁11〜13の頂部に形成された頂壁14とを有する。取付座10は、右側壁13に対向する左側壁を有さず、従って、全体的にコの字状の横断面形状を有する。尚、パネル連結手段の各要素については、便宜上、図1、図2で見たとき、手前側を「前」、奥側を「後」、右側を「右」、左側を「左」、上側を「上又は頂」、下側を「下又は底」と表すこととする。
前壁11、後壁12は、頂壁14を越えて上方に延びる延設部15、16を有する。延設部15、16は夫々、上端面が平坦な車体パネル当接面17、17を、また、内端面が平坦な雄型係合部材案内保持面18、18を構成する。
図3から最も良くわかるように、取付座10の頂壁14には、その左側縁部14Aから右側縁部14Bに向って延びる細長の案内スロット14Cが、また、案内スロット14Cの右端部と連通して保持スロット14Dが形成されている。保持スロット14Dはほぼ円形で、その最大径は案内スロット14Cの幅よりも大きい。また、頂壁14の左側縁部14Aは、頂部が、図1乃至図3に示されるように、左縁に向って肉厚を減少させるようにテーパされている。
取付座10の右側壁13には、図2で良くわかるように、その下部から上部に向って高さ方向に延びる細長い調整スロット13Aが形成され、この調整スロット13Aは幅13Wを有する。
次に、パネル連結手段を構成する内装側雄型係合部材30は、一対の対向する底壁31、頂壁32と、これらの壁31、32の各左端部間に延びる連結壁33と、底壁31と頂壁32との間に延びる案内円柱部34とを有する。
底壁31と頂壁32との間隔は取付座10の頂壁14の厚さに実質的に相当し、案内円柱部34の横断面形状は取付座10の頂壁14の保持スロット14Dに実質的に相当し、また、頂壁32の幅32Wは取付座10の延設部15、16の案内保持面18、18間の間隔CLに実質的に相当する。
内装側雄型係合部材30の頂壁32からは係合雄部材35が上方に延びる。係合雄部材35は、図2、図4に示すように、上方から見たとき全体的に長方形形状をなし、左右側面に一対の対向する係合突部35A、35Aが形成されている。そして、各係合突部35Aに隣接して係合雄部材35内には内部空間35Bが形成されている。尚、この実施形態では、係合雄部材35と案内円柱部34とは共通中心軸線CAを有する。
次に、パネル連結手段の車体側雌型係合部材50について説明する。
車体側雌型係合部材50は、内装側雄型係合部材30の係合雄部材35と相補形状の内部孔を備えるスリーブ51と、このスリーブ51に連結された帯状の連結バンド52とを有する。
車体側雌型係合部材50は、内装側雄型係合部材30の係合雄部材35と相補形状の内部孔を備えるスリーブ51と、このスリーブ51に連結された帯状の連結バンド52とを有する。
スリーブ51の左右側壁には一対の対向する係合穴51A、51Aが形成され、これらの係合穴51A、51Aは、内装側雄型係合部材30の係合雄部材35がスリーブ51内に下方から挿入されたときに、係合雄部材35の係合突部35A、35Aが嵌るように、寸法形状決めされている。スリーブ51の左右側壁間の間隔は、係合雄部材35の左右側壁間の間隔とほぼ等しく、係合雄部材35の係合突部35A、35A間の幅よりも若干小さいので、係合雄部材35がスリーブ51に押し入れられ、係合突部35A、35Aに内向きの圧力が作用すると、各係合突部35Aは隣接する内部空間35Bに向って移動される(若干内方に変形される)。係合雄部材35が更にスリーブ51内を上方に摺動され、各係合突部35Aがスリーブ51の係合穴51Aに達すると、係合突部35Aは、上記内向きの圧力から解放されてスリーブ51の係合穴51A、51Aに嵌り込む、すなわち、係合される。
図2に示されるように、スリーブ51の前壁、後壁には、夫々、U字形の貫通スリット53が形成され、貫通スリット53に囲まれた部分によって弾性係止部54が構成される。各弾性係止部54は、初期状態(無負荷状態)において、貫通スリット53の間隔を隔てた上縁間を結ぶ仮想の垂直方向軸線から下方外方に延びるように形成されている。
スリーブ51の下端部には外方に突出する矩形周フランジ55が形成され、連結バンド52はこの矩形フランジ55の右側端面から外方に延びる。フランジ55は、延設部15、16の案内保持面18、18間の間隔CLと実質的に等しいの幅55Wを有する。尚、この実施形態では、スリーブ51の外周全周に亘って形成されているが、一対の、或いは、二対以上の対向するフランジ部から構成されても良いところ、この場合でも、フランジ部の幅は間隔CLと実質的に等しいのが好ましい。
連結バンド52は、可撓性であり、その自由端部に平坦な基板52Aを備える。基板52Aは、その左端面、すなわち、内面に、基板52Aに対して垂直に延びる円柱軸部52Bを備え、この円柱軸部52Bは更に、基板52Aと平行な係合板52Cを備える。
円柱軸部52Bは調整スロット13Aの幅13Wよりも僅かに小さい直径を有し、係合板52Cは、調整スロット13Aの幅13Wよりも僅かに小さい高さ52CHと、調整スロット13Aの幅13Wよりも大きい長さ52CLとを有する。
次に、上述したパネル連結手段を用いて車体パネル1とトリムカバー2とを図1に示す状態に連結する仕方を、図4乃至図7を参照して、説明する。
先ず、車体側雌型係合部材50のスリーブ51に下方から内装側雄型係合部材30の係合雄部材35を挿入して、図4に示すように、係合雄部材35の係合突部35A、35Aをスリーブ51の係合穴51A、51Aに嵌り込ませる、すなわち、係合させる。
次に、図5に示すように、互いに係合された、内装側雄型係合部材30/車体側雌型係合部材50を後方に傾けて、連結バンド52の係合板52Cの高さ52CHを取付座10の調整スロット13Aの幅13Wに整合させる。
続いて、連結バンド52の係合板52Cを調整スロット13Aに通し、基板52Aを取付座10の右側壁13に当接させた後、内装側雄型係合部材30/車体側雌型係合部材50を、図6に示すように、前方に傾け戻す。すると、内装側雄型係合部材30/車体側雌型係合部材50に対して右方向の力が加わっても、連結バンド52の係合板52Cが取付座10の右側壁13(の内面)に引っかかり、取付座10からの連結バンド52の抜けを阻止することができる。
次に、内装側雄型係合部材30を取付座10に取り付ける。この取付は、先ず、内装側雄型係合部材30の案内円柱部34を取付座10の頂壁14の案内スロット14Cに通すように、相対的に内装側雄型係合部材30を取付座10に対して移動させる。内装側雄型係合部材30を取付座10に対して更に移動させると、案内円柱部34が保持スロット14Dに保持され、図7に示すように、内装側雄型係合部材30が取付座10に取り付けられる。尚、案内円柱部34の移動中、案内スロット14Cは外方に若干広げられることになる。
内装側雄型係合部材30の底壁31と頂壁32との間隔は取付座10の頂壁14の厚さに実質的に相当するので、内装側雄型係合部材30と取付座10との間の上下方向のガタつきを阻止することができ、また、内装側雄型係合部材30の頂壁32の幅32Wは取付座10の延設部15、16の案内保持面18、18間の間隔CLに実質的に相当するので、内装側雄型係合部材30と取付座10との間の前後方向のガタつきも阻止することができ、案内円柱部34が保持スロット14Dに保持されるので、内装側雄型係合部材30と取付座10との間の前後左右方向のガタつきもまた阻止することができる。
最後に、互いに係合された、取付座10(トリムカバー2)/内装側雄型係合部材30/車体側雌型係合部材50を車体パネル1に取り付ける。
この取付は、車体側雌型係合部材50を車体パネル1に形成された貫通取付孔1A(図1)に下方から挿入することによって行われる。貫通取付孔1Aは、平面視における車体側雌型係合部材50(弾性係止部54を除く)の輪郭形状と実質的に相補形状を有する。
この取付は、車体側雌型係合部材50を車体パネル1に形成された貫通取付孔1A(図1)に下方から挿入することによって行われる。貫通取付孔1Aは、平面視における車体側雌型係合部材50(弾性係止部54を除く)の輪郭形状と実質的に相補形状を有する。
車体側雌型係合部材50を車体パネル1に形成された貫通取付孔1Aに下方から挿入すると、車体側雌型係合部材50の弾性係止部54は貫通取付孔1Aを構成する車体パネル1の周縁部によって内方に押圧される。車体側雌型係合部材50を更に上方に移動させ、車体側雌型係合部材50の弾性係止部54全体が貫通取付孔1Aを越えると、弾性係止部54は、内向き押圧力から解放されて外方に移動して初期状態に復帰する。また、弾性係止部54全体が貫通取付孔1Aを越えるのとほぼ同時に、取付座10の車体パネル当接面17、17が車体パネル1の下面に当接する。図1は、このようにして取付座10の車体パネル当接面17、17が車体パネル1の下面に当接された状態を示す。
この弾性係止部54の初期状態への復帰により、弾性係止部54は車体パネル1の頂面上で貫通取付孔1Aよりも外方に位置することになるので、この弾性係止部54は、車体側雌型係合部材50が車体パネル1から下方に抜けないように車体パネル1に作用することになる。同様に、内装側雄型係合部材30の係合突部35A、35Aは内装側雄型係合部材30が車体側雌型係合部材50から下方に抜けないように車体側雌型係合部材50に作用するけれども、弾性係止部54は、その車体パネル1に作用する抜け防止力が係合突部35A、35Aが車体側雌型係合部材50に作用する抜け防止力よりも大きくなるように、寸法形状決めされている。
また、車体側雌型係合部材50が弾性係止部54を介して車体パネル1に係合されたとき、取付座10の車体パネル当接面17、17が車体パネル1の下面に面当接するように、取付座10(特に延設部15、16の高さ)、内装側雄型係合部材30(特に頂壁32の厚さ)、車体側雌型係合部材50(特にフランジ55の厚さ)が寸法形状決めされているので、取付座10が上方に移動にすることによる車体パネル1と取付座10との間のガタつきを抑制することができる。
更に、車体パネル1と車体側雌型係合部材50との係合部及び車体側雌型係合部材50と内装側雄型係合部材30との係合部の両方が、車体パネル1の頂面側、すなわち、裏面側に配置されるので、車体パネル1とトリムカバー2との間隔を短くすることができ、車体パネル1とトリムカバー2との間隔を小さくせざるを得ない設計においても適用可能となる。
更に、車体パネル1と車体側雌型係合部材50との係合部及び車体側雌型係合部材50と内装側雄型係合部材30との係合部の両方が、車体パネル1の頂面側、すなわち、裏面側に配置されるので、車体パネル1とトリムカバー2との間隔を短くすることができ、車体パネル1とトリムカバー2との間隔を小さくせざるを得ない設計においても適用可能となる。
尚、取付座10(トリムカバー2)、内装側雄型係合部材30、車体側雌型係合部材50の取付順序は上述した仕方に特に限定されるものではなく、例えば、最初に車体側雌型係合部材50を車体パネル1に取り付け、これに内装側雄型係合部材30、或いは、互いに係合された、取付座10(トリムカバー2)/内装側雄型係合部材30を取り付けても良い。
次に、上述した仕方で、図1に示されるように、パネル連結手段を用いて車体パネル1とトリムカバー2とが連結された車両の側面に、例えば、他の車両が衝突した場合におけるような、衝撃が加わり、車体パネル1とトリムカバー2との間に設けられたカーテンエアバッグ(図示せず)が膨張展開された際の動作について説明する。
すなわち、カーテンエアバッグ(図示せず)が車両の適所に設けられたインフレータ(図示せず)によって膨張展開されると、トリムカバー2にはこれを車室内に向けて移動させる(図1、8では下向きの)押圧力が作用する。この結果、トリムカバー2に固定された取付座10及びこれに取り付けられた内装側雄型係合部材30にもまた下向きの押圧力が作用し、この下向きの押圧力が、係合突部35A、35Aによる内装側雄型係合部材30と車体側雌型係合部材50との係合力に打ち勝つことにより、図8に示すように、内装側雄型係合部材30が車体側雌型係合部材50から下方に外れる。他方、上述したように、係合突部35A、35Aによる抜け防止力よりも大きい抜け防止力を有する弾性係止部54は、カーテンエアバッグ膨張による下向きの押圧力を受けたときでも、この押圧力に打ち勝ち、車体側雌型係合部材50が車体パネル1から下方に抜け落ちるのを阻止する。換言すると、弾性係止部54は、カーテンエアバッグが膨張されたときでさえ車体側雌型係合部材50が車体パネル1から下方に抜け落ちるのを阻止するように、寸法形状決めされている。
すなわち、カーテンエアバッグ(図示せず)が車両の適所に設けられたインフレータ(図示せず)によって膨張展開されると、トリムカバー2にはこれを車室内に向けて移動させる(図1、8では下向きの)押圧力が作用する。この結果、トリムカバー2に固定された取付座10及びこれに取り付けられた内装側雄型係合部材30にもまた下向きの押圧力が作用し、この下向きの押圧力が、係合突部35A、35Aによる内装側雄型係合部材30と車体側雌型係合部材50との係合力に打ち勝つことにより、図8に示すように、内装側雄型係合部材30が車体側雌型係合部材50から下方に外れる。他方、上述したように、係合突部35A、35Aによる抜け防止力よりも大きい抜け防止力を有する弾性係止部54は、カーテンエアバッグ膨張による下向きの押圧力を受けたときでも、この押圧力に打ち勝ち、車体側雌型係合部材50が車体パネル1から下方に抜け落ちるのを阻止する。換言すると、弾性係止部54は、カーテンエアバッグが膨張されたときでさえ車体側雌型係合部材50が車体パネル1から下方に抜け落ちるのを阻止するように、寸法形状決めされている。
内装側雄型係合部材30が車体側雌型係合部材50から下方に外れ、内装側雄型係合部材30が車体側雌型係合部材50に対して下方に移動されると、相対的に、車体側雌型係合部材50の連結バンド52の基板52A、円柱軸部52B、係合板52Cが、取付座10の調整スロット13Aを上方に摺動し、ついには、図8に示すように、円柱軸部52Bが調整スロット13Aの上端と衝合するが、基板52A、係合板52Cは調整スロット13Aの幅13Wよりも大きいので連結バンド52が調整スロット13Aから外れることはない、すなわち、トリムカバー2が車体パネル1から外れることはない。
従って、トリムカバー2を車体パネル1から離れるように移動させることによって両者の間に、カーテンエアバッグが膨張展開し、車内に広がるための隙間を提供することを可能にしながら、車体パネル1から離れる方向に移動するトリムカバー2の移動量を規制することによって乗員の安全を確保することができる。また、調整スロット13Aの上下方向長さを変えることによって、トリムカバー2の移動量の規制を容易に制御することができ、また、車種毎に車体パネル1とトリムカバー2との間の距離が異なる場合や、同一車種でも部位毎に車体パネル1とトリムカバー2との間の距離が異なる場合にも、同一寸法の連結バンド52を備えた車体側雌型係合部材50を用いることができ、部品共用化によるコストダウンを図ることができる。
また、膨張展開するカーテンエアバッグによってトリムカバー2が付勢される方向は必ずしも一定ではないけれども、トリムカバー2が付勢移動される際、取付座10は円柱軸部52Bを中心に回転されるので、移動されるトリムカバー2の方向如何によって連結バンド52が捩じられるのを、ひいては、連結バンド52が破損する恐れを低減させることができる。
図9は、パネル連結手段の変形実施形態を示す。
この変形実施形態では、図1乃至図8に示した構成要素と同一の構成要素については同一の参照番号を付すと共に、その構成、作用については説明を省略する。
この変形実施形態では、図1乃至図8に示した構成要素と同一の構成要素については同一の参照番号を付すと共に、その構成、作用については説明を省略する。
この変形実施例では、上述した内装側雄型係合部材30、車体側雌型係合部材50が一体部品として構成され、一端がスリーブ51のフランジ55に接続された連結バンド52の他端は内装側雄型係合部材30頂壁32の右端面に接続されている。従って、この変形実施例では、取付座10に調整スロット13Aは形成されていない。この実施形態の構成では、内装側雄型係合部材30、車体側雌型係合部材50を一体部品として構成することにより部品点数を少なくすることができ、また、取付座10に調整スロット13Aを形成しないことにより、取付座10の製造を容易にすることができる。
カーテンエアバッグが膨張展開すると、内装側雄型係合部材30(に相当する部分)が車体側雌型係合部材50 (に相当する部分)から下方に外れ、他方、車体側雌型係合部材50(に相当する部分)が車体パネル1から外れないのは先に説明した実施形態におけるのと同様である。
図10乃至図12は、パネル連結手段の第2変形実施形態を示す。
この変形実施例では、内装側「雄」型係合部材30が内装側「雌」型係合部材30'として構成され、また、車体側「雌」型係合部材50が車体側「雄」型係合部材50'として構成されている点が、先の実施形態におけるのと異なる。
この変形実施例では、内装側「雄」型係合部材30が内装側「雌」型係合部材30'として構成され、また、車体側「雌」型係合部材50が車体側「雄」型係合部材50'として構成されている点が、先の実施形態におけるのと異なる。
内装側雌型係合部材30'は、ブロック状部材からなり、前端面61、後端面62に夫々水平に延びる案内溝63が形成され、中央部には上下方向に延びる貫通係合穴64が形成されている。貫通係合穴64は、下方外方に広がるように形成されている。
取付座10に対応する取付座10'の頂壁14には、案内スロット14C、保持スロット14Dは形成されず、代わりに、内装側雌型係合部材30'の案内溝63と係合する係合レール71が形成されている。
車体側「雄」型係合部材50'は、第1係合部材80と、第2係合部材90とを有する。第1係合部材80は、互いに鋭角をなすように接合された一対の下向きプレート81、82と、プレート81、82の接合部からこれらの間を上方に延びる中間プレート83とを有する。第2係合部材90は、中間プレート83の上端部に接続された、前後方向に圧縮弾性可能に形作られた扁平ループ状部材91と、中間プレート83と扁平ループ状部材91との接合部から前後方向に延びる車体パネル下方係合プレート92、92とを有する。各車体パネル下方係合プレート92は、先端部92Aが下方に湾曲している。
連結バンド52に対応する連結バンド52'は、一方端がブロック状雌型係合部材30'の左側端面に接合され、他方端が、車体パネル下方係合プレート92、92の右側端面に接合されている。
この第2変形実施形態のパネル連結手段を組み立てるには、車体側雄型係合部材50'の扁平ループ状部材91を内装側雌型係合部材30'の貫通係合穴64に挿入することによって、これに係合させ、次いで、内装側雌型係合部材30'の案内溝63を取付座10の係合レール71に係合させる。最後に、車体側雄型係合部材50'の第1係合部80を車体パネル1の貫通取付孔1Aに下方から挿入することによって、一対のプレート81、82の自由端を車体パネル1の頂面又は裏面に、車体パネル下方係合プレート92の先端部92Aを車体パネル1の下面又は表面に、夫々、当接させる。この状態において、取付座10の車体パネル当接面17、17が車体パネル1の下面に面当接し、これにより、上述した実施形態と同様に、車体パネル1と取付座10との間のガタつきを抑制することができる。
カーテンエアバッグが膨張展開すると、内装側雌型係合部材30'の貫通係合穴64が車体側雄型係合部材50'の扁平ループ状部材91から下方に外れるが、プレート81、82と車体パネル1との係合は解かれず、車体側雄型係合部材50'は車体パネル1から外れない。
本発明は、上述した実施形態に限定されることなく以下のような種々の変更が可能である。
例えば、上記実施形態の連結バンド52、連結バンド52'は、薄い、比較的幅広の形態のものであったけれども、ひも状のものでも良い。
また、上述した実施形態では、調整スロット13Aは、上記実施形態では垂直方向にまっすぐ延びていたが、斜めに、或いは、湾曲させながら上下方向に延ばしても良い。
更に、上述した実施形態では、内装側雄型係合部材30、30'は、取付座10と別個の部材として形成されていたけれども、取付座10と一体に形成されても良い。従ってまた、図9に示した変形実施形態において、一体に形成した内装側雄型係合部材/車体側雄型係合部材を取付座10と一体に形成しても良い。
例えば、上記実施形態の連結バンド52、連結バンド52'は、薄い、比較的幅広の形態のものであったけれども、ひも状のものでも良い。
また、上述した実施形態では、調整スロット13Aは、上記実施形態では垂直方向にまっすぐ延びていたが、斜めに、或いは、湾曲させながら上下方向に延ばしても良い。
更に、上述した実施形態では、内装側雄型係合部材30、30'は、取付座10と別個の部材として形成されていたけれども、取付座10と一体に形成されても良い。従ってまた、図9に示した変形実施形態において、一体に形成した内装側雄型係合部材/車体側雄型係合部材を取付座10と一体に形成しても良い。
上述した実施形態では、本発明を、車体パネルとトリムカバーとの間にカーテンエアバッグを設けた車両に適用したものであるけれども、収容されるのはカーテンエアバッグに限定されものではなく、例えば、サイドエアバッグを収容した車両に適用することもできる。
1 車体パネル
2 トリムカバー(内装部材)
1A 貫通取付孔(取付孔)
10 取付座
15、16 延設部
30 内装側雄型係合部材、30' 内装側雌型係合部材(内装側係合部材)
50 車体側雌型係合部材、50' 車体側「雄」型係合部材(車体側係合部材)
52 連結バンド
2 トリムカバー(内装部材)
1A 貫通取付孔(取付孔)
10 取付座
15、16 延設部
30 内装側雄型係合部材、30' 内装側雌型係合部材(内装側係合部材)
50 車体側雌型係合部材、50' 車体側「雄」型係合部材(車体側係合部材)
52 連結バンド
Claims (4)
- 内装部材と車体パネルとの間に設けられ、前記内装部材を押圧して車室に展開するエアバッグを備えた車両における前記内装部材と前記車体パネルとの連結構造であって、
前記車体パネルの取付孔に挿入されて前記車体パネルと係合するようになった車体側係合部材と、
前記内装部材に設けられる取付座と、
該取付座と一体に又は着脱可能に取り付けられ、前記車体側係合部材と係合するようになった内装側係合部材と、
前記車体側係合部材と、前記取付座又は前記内装側係合部材とを連結する連結バンドとを有し、
前記車体パネルと前記車体側係合部材との間の係合力が、前記車体側係合部材と前記内装側係合部材との間の係合力よりも大きく、
前記車体側係合部材が前記車体パネルに取り付けられ、前記内装側係合部材が前記車体側係合部材に取り付けられたときに、少なくとも一部が前記車体パネルに面当接する延設部が前記取付座に設けられている、
連結構造。 - 前記取付座の前記延設部は、前記内装側係合部材が前記取付座に取り付けられたときに、前記内装側係合部材を横方向から挟持するように、形状決めされている、請求項1記載の連結構造。
- 前記連結バンドは、前記内装側係合部材が前記取付座に取り付けられる方向、又は、前記方向と対向する方向に延びる、請求項2記載の連結構造。
- 調整スロットが前記内装部材から遠ざかる方向に延びるように前記取付座に形成され、
前記連結バンドが、前記車体側係合部材から延び、前記取付座の前記調整スロットに摺動自在に係止されるようになっている、
請求項1乃至請求項3のいずれか一項に記載の連結構造。
Priority Applications (1)
| Application Number | Priority Date | Filing Date | Title |
|---|---|---|---|
| JP2006139076A JP2007309420A (ja) | 2006-05-18 | 2006-05-18 | 自動車の内装部材と車体パネルとの連結構造 |
Applications Claiming Priority (1)
| Application Number | Priority Date | Filing Date | Title |
|---|---|---|---|
| JP2006139076A JP2007309420A (ja) | 2006-05-18 | 2006-05-18 | 自動車の内装部材と車体パネルとの連結構造 |
Publications (1)
| Publication Number | Publication Date |
|---|---|
| JP2007309420A true JP2007309420A (ja) | 2007-11-29 |
Family
ID=38842471
Family Applications (1)
| Application Number | Title | Priority Date | Filing Date |
|---|---|---|---|
| JP2006139076A Pending JP2007309420A (ja) | 2006-05-18 | 2006-05-18 | 自動車の内装部材と車体パネルとの連結構造 |
Country Status (1)
| Country | Link |
|---|---|
| JP (1) | JP2007309420A (ja) |
Cited By (8)
| Publication number | Priority date | Publication date | Assignee | Title |
|---|---|---|---|---|
| JP2010047135A (ja) * | 2008-08-22 | 2010-03-04 | Mazda Motor Corp | カーテンエアバッグ装置を備えた車両の内装材取付け構造 |
| JP2012037002A (ja) * | 2010-08-09 | 2012-02-23 | Bridgestone Corp | 発泡成形部材、その取付用クリップ、発泡成形部材の製造方法並びに発泡成形部材の取付構造 |
| JP2012037001A (ja) * | 2010-08-09 | 2012-02-23 | Bridgestone Corp | 発泡成形部材、その取付用クリップ、発泡成形部材の製造方法並びに発泡成形部材の取付構造 |
| JP2012037000A (ja) * | 2010-08-09 | 2012-02-23 | Bridgestone Corp | 発泡成形部材、その取付用クリップ、発泡成形部材の製造方法並びに発泡成形部材の取付構造 |
| JP2012036999A (ja) * | 2010-08-09 | 2012-02-23 | Bridgestone Corp | 発泡成形部材、その取付用クリップ、発泡成形部材の製造方法並びに発泡成形部材の取付構造 |
| JP2012036998A (ja) * | 2010-08-09 | 2012-02-23 | Bridgestone Corp | 発泡成形部材、その取付用クリップ、発泡成形部材の製造方法並びに発泡成形部材の取付構造 |
| JP2012153188A (ja) * | 2011-01-24 | 2012-08-16 | Honda Motor Co Ltd | 固定用クリップ |
| JP2022077160A (ja) * | 2020-11-11 | 2022-05-23 | 株式会社Subaru | クリップ装置 |
Citations (3)
| Publication number | Priority date | Publication date | Assignee | Title |
|---|---|---|---|---|
| JP2002249011A (ja) * | 2001-02-23 | 2002-09-03 | Toyoda Gosei Co Ltd | ピラーガーニッシュ |
| JP2004161141A (ja) * | 2002-11-13 | 2004-06-10 | Toyoda Gosei Co Ltd | エアバッグカバーの取付構造 |
| JP2006103426A (ja) * | 2004-10-01 | 2006-04-20 | Mitsubishi Motors Corp | 乗員拘束装置 |
-
2006
- 2006-05-18 JP JP2006139076A patent/JP2007309420A/ja active Pending
Patent Citations (3)
| Publication number | Priority date | Publication date | Assignee | Title |
|---|---|---|---|---|
| JP2002249011A (ja) * | 2001-02-23 | 2002-09-03 | Toyoda Gosei Co Ltd | ピラーガーニッシュ |
| JP2004161141A (ja) * | 2002-11-13 | 2004-06-10 | Toyoda Gosei Co Ltd | エアバッグカバーの取付構造 |
| JP2006103426A (ja) * | 2004-10-01 | 2006-04-20 | Mitsubishi Motors Corp | 乗員拘束装置 |
Cited By (9)
| Publication number | Priority date | Publication date | Assignee | Title |
|---|---|---|---|---|
| JP2010047135A (ja) * | 2008-08-22 | 2010-03-04 | Mazda Motor Corp | カーテンエアバッグ装置を備えた車両の内装材取付け構造 |
| JP2012037002A (ja) * | 2010-08-09 | 2012-02-23 | Bridgestone Corp | 発泡成形部材、その取付用クリップ、発泡成形部材の製造方法並びに発泡成形部材の取付構造 |
| JP2012037001A (ja) * | 2010-08-09 | 2012-02-23 | Bridgestone Corp | 発泡成形部材、その取付用クリップ、発泡成形部材の製造方法並びに発泡成形部材の取付構造 |
| JP2012037000A (ja) * | 2010-08-09 | 2012-02-23 | Bridgestone Corp | 発泡成形部材、その取付用クリップ、発泡成形部材の製造方法並びに発泡成形部材の取付構造 |
| JP2012036999A (ja) * | 2010-08-09 | 2012-02-23 | Bridgestone Corp | 発泡成形部材、その取付用クリップ、発泡成形部材の製造方法並びに発泡成形部材の取付構造 |
| JP2012036998A (ja) * | 2010-08-09 | 2012-02-23 | Bridgestone Corp | 発泡成形部材、その取付用クリップ、発泡成形部材の製造方法並びに発泡成形部材の取付構造 |
| JP2012153188A (ja) * | 2011-01-24 | 2012-08-16 | Honda Motor Co Ltd | 固定用クリップ |
| JP2022077160A (ja) * | 2020-11-11 | 2022-05-23 | 株式会社Subaru | クリップ装置 |
| JP7502970B2 (ja) | 2020-11-11 | 2024-06-19 | 株式会社Subaru | クリップ装置 |
Similar Documents
| Publication | Publication Date | Title |
|---|---|---|
| CN102667183B (zh) | 卡夹 | |
| US9630584B2 (en) | Mounting structure of air bag device on vehicle body | |
| US8430421B2 (en) | Fastener clip | |
| JP2006298131A (ja) | 自動車の内装部品と車体パネルとの連結構造 | |
| US20150191131A1 (en) | Clip and pillar garnish mounting structure | |
| WO2010064488A1 (ja) | 運転席用エアバッグ装置の取付構造及びステアリングホイール | |
| US9302632B2 (en) | Tether clip and pillar garnish mounting structure | |
| US9464647B2 (en) | Pillar garnish mounting structure and tether clip | |
| JP2009029417A (ja) | 自動車用制御盤装置 | |
| JP5576026B2 (ja) | 車両のステアリング装置 | |
| JP5015261B2 (ja) | エアバッグ装置の取付け構造 | |
| JP5410493B2 (ja) | 助手席用エアバッグ装置 | |
| JP2007309420A (ja) | 自動車の内装部材と車体パネルとの連結構造 | |
| JP2009113714A (ja) | 自動車の内装トリム取付構造 | |
| JP5576307B2 (ja) | 固定用クリップ | |
| JP6235202B2 (ja) | 車両用のシート及びエアバッグケース | |
| JP2009029328A (ja) | カーテンサイドエアバッグ用トリムに適したトリムクリップ | |
| JP2009051272A (ja) | カーテンサイドエアバッグ用トリム等のトリムクリップ | |
| JP2005162201A (ja) | 車両のフロントピラートリム結合構造 | |
| WO2013094338A1 (ja) | エアバッグ装置及びそのモジュールカバー | |
| JP7311836B2 (ja) | 車両のピラー構造 | |
| JP4865659B2 (ja) | 車両用内装部品の取付構造 | |
| KR100552053B1 (ko) | 커튼 에어백이 장착된 차량의 헤드 라이닝 구조 | |
| US12377807B2 (en) | Installation structure | |
| JP2013248963A (ja) | 車両内装部材 |
Legal Events
| Date | Code | Title | Description |
|---|---|---|---|
| A621 | Written request for application examination |
Free format text: JAPANESE INTERMEDIATE CODE: A621 Effective date: 20090305 |
|
| A131 | Notification of reasons for refusal |
Free format text: JAPANESE INTERMEDIATE CODE: A131 Effective date: 20101118 |
|
| A977 | Report on retrieval |
Free format text: JAPANESE INTERMEDIATE CODE: A971007 Effective date: 20101125 |
|
| A02 | Decision of refusal |
Free format text: JAPANESE INTERMEDIATE CODE: A02 Effective date: 20110331 |