JP2007284974A - 土質ブロック - Google Patents
土質ブロック Download PDFInfo
- Publication number
- JP2007284974A JP2007284974A JP2006112645A JP2006112645A JP2007284974A JP 2007284974 A JP2007284974 A JP 2007284974A JP 2006112645 A JP2006112645 A JP 2006112645A JP 2006112645 A JP2006112645 A JP 2006112645A JP 2007284974 A JP2007284974 A JP 2007284974A
- Authority
- JP
- Japan
- Prior art keywords
- soil block
- soil
- moss
- bacteria
- cement
- Prior art date
- Legal status (The legal status is an assumption and is not a legal conclusion. Google has not performed a legal analysis and makes no representation as to the accuracy of the status listed.)
- Pending
Links
Images
Landscapes
- Curing Cements, Concrete, And Artificial Stone (AREA)
- Road Paving Structures (AREA)
Abstract
【課題】自然環境との調和性に優れた外観を有し、透水性、および保水性を兼備し、防カビ性・防苔性も備えた土質ブロックを提供する。
【解決手段】土系骨材10、セメント系固化材11および防カビ性・防苔性を有する細菌類16をミキサ12に投入して充分に撹拌、混合した後、団粒化剤14を添加し、さらに撹拌、混練することによってスラリー状の混合物15を形成する。このようにして得られた混合物15を振動プレス装置の型枠内に投入して所定形状に成形した後、固化させることによって土質ブロックを形成する。土質ブロック1は立体網目構造を備えているため、優れた透水性および保水性を発揮し、土系骨材10を含むことにより、自然環境との調和性に優れた外観性を呈する。さらに、防カビ性・防苔性を有する細菌類16を含むことにより、施工後、長期間にわたって優れた防カビ性および防苔性を発揮する。
【選択図】図1
【解決手段】土系骨材10、セメント系固化材11および防カビ性・防苔性を有する細菌類16をミキサ12に投入して充分に撹拌、混合した後、団粒化剤14を添加し、さらに撹拌、混練することによってスラリー状の混合物15を形成する。このようにして得られた混合物15を振動プレス装置の型枠内に投入して所定形状に成形した後、固化させることによって土質ブロックを形成する。土質ブロック1は立体網目構造を備えているため、優れた透水性および保水性を発揮し、土系骨材10を含むことにより、自然環境との調和性に優れた外観性を呈する。さらに、防カビ性・防苔性を有する細菌類16を含むことにより、施工後、長期間にわたって優れた防カビ性および防苔性を発揮する。
【選択図】図1
Description
本発明は、透水性および保水性を兼備するとともに防カビ性なども備えた土質ブロックに関する。
歩道、公園内の通路、駐車場などの舗装材として使用される透水性ブロックは、従来、採石や砂などの石系骨材をセメントや合成樹脂などの固化材で固化させることによって形成されている。従来の透水性ブロックは、その内部に多数の気孔を有する多孔質構造のものが一般的であるが、ブロック表面が滑りやすい、歩行感が悪いなどの欠点がある。
そこで、本発明者は、セメント系固化材、ガラス粉末および団粒化剤を含む混合物を固化させることによって形成される透水性ブロックを提案している(例えば、特許文献1参照。)。
従来の透水性ブロックはコンクリート製品であるため、無機質で冷たい印象があり、外観性に劣る。特に、自然環境との外観的調和が求められる場所に配置されたコンクリート製品は周囲の景色に馴染まず、違和感を与えることが多い。また、歩道などのように人間が歩く場所に敷設した場合、舗装面から視覚を通じて受ける印象によって歩く感触が左右されることが多いため、従来の透水性ブロックは、硬質で歩きにくいような感じを与えている。さらに、従来の透水性ブロックは多孔質構造であるが故に、水分を長期間にわたって保持することがあるため、その表面にカビが生えたり、苔が生えたりすることもある。このような状況は、特許文献1に記載の透水性ブロックの場合も同様である。
本発明が解決しようとする課題は、自然環境との調和性に優れた外観を有し、透水性、および保水性を兼備し、防カビ性・防苔性も備えた土質ブロックを提供することにある。
本発明の土質ブロックは、セメント系固化材、セメント、消石灰のうちの1以上と、土系骨材と、団粒化剤と、防カビ性および防苔性を有する細菌類とを含む混合物を固化させて形成したことを特徴とする。このような構成とすれば、セメント系固化材、セメント、消石灰のうちの1以上と、土質骨材と、団粒化剤とを含む混合物においては、団粒化剤に含まれるイオンの作用により、セメント系固化材、セメント、消石灰のうちの1以上と土系骨材の粒子とが立体的な団粒構造を形成するため、連続した空隙が発生する。従って、これらの混合物を固化させることにより、透水性と保水性とをバランス良く兼備したブロックを得ることができる。また、土系骨材を含むことにより、天然土に似た特有の外観、色調、質感を発現するため、自然環境との調和性に優れた外観性を得ることができる。さらに、防カビ性および防苔性を有する細菌類を含んでいるため、施工後も長期間にわたって防カビ性・防苔性を発揮する。
なお、本発明の土質ブロックに含まれる土系骨材は一定形状のブロックを形成する主材料となり、団粒化剤は土系骨材とセメント系固化材の粒子を立体的な団粒構造へと変化させる作用を果たし、セメント系固化材、セメント、消石灰はそれぞれ、団粒化剤によって形成された団粒構造を外力で破壊されない強度に固める作用を果たす。なお、セメント系固化材、セメント、消石灰は、土系骨材の種類、当該土質ブロックの用途などに応じて使い分けることが望ましく、2以上を混合して使用することもできる。
ここで、前記細菌類として、バチルススパリカス、バチルスサブチルス、バチルスツリュゲナイセスのうちの1以上を用いることが望ましい。これらの細菌類は、土質ブロックの構成成分中においても防カビ作用および防苔作用を失うことがないので、長期間にわたって防カビ性および防苔性を維持することができる。
一方、前記土系骨材としては、砂質土、粘土、ヘドロのうちの1以上を用いることができる。砂質土、粘土を用いればこれらの素材が具備する独特の質感を備えたブロックを形成することができる。また、ヘドロを用いれば、廃棄物の有効活用を図ることができる。
また、前記団粒化剤として、アクリル酸・メタクリル酸ジメチルアミノエチル共重合物のマグネシウム塩とポリエチレンイミンとの複合体を含む高分子化合物を用いることにより、比較的強固な団粒構造を形成することができる。
本発明により、自然環境との調和性に優れた外観を有し、透水性、および保水性を兼備し、防カビ性・防苔性も備えた土質ブロックを提供することができる。
以下、図面に基づいて、本発明の実施の形態について説明する。図1は本発明の実施の形態である土質ブロックの製造工程の一部を示す図、図2は本発明の実施の形態である土質ブロックを示す斜視図、図3は図2に示す土質ブロックを用いて形成した舗装構造の一例を示す垂直断面図である。
図1に示すように、土系骨材10、セメント系固化材11および防カビ性・防苔性を有する細菌類16をミキサ12に投入して充分に撹拌、混合する。ミキサ12はモータ13などを用いた撹拌駆動機構を有する一般的なものを用いることができる。土系骨材10とセメント系固化材11とがムラ無く混合されたら、団粒化剤14を添加し、さらに撹拌、混練することによってスラリー状の混合物15を形成する。このようにして得られた混合物15を振動プレス装置(図示せず)の型枠内に投入して所定形状に成形した後、固化させる。
型枠(図示せず)内に投入された混合物15中においては、団粒化剤14の団粒化作用により、土系骨材10、セメント系固化材11などの粒子群が互いに結合して団粒化しながら立体網目構造が形成されていき、この過程において、さらに結合、連結が進行して、大小の間隙を有する多孔質状の粗大粒子が形成され、養生過程を経ることによって固化する。従って、型枠(図示せず)内の混合物15が充分に固化した後、脱型して取り出すと図2に示すような土質ブロック1が完成する。
このような工程を経て形成された土質ブロック1は立体網目構造を備えているため、この立体網目構造内に存在する連続した空隙により、水分を効率的に吸収したり、透過したりする機能が生じ、優れた透水性および保水性を発揮する。また、土質ブロック1は、土系骨材10を含むことにより、天然土に似た外観、色調、質感を発現するため、自然環境との調和性に優れた外観性を呈する。さらに、防カビ性・防苔性を有する細菌類16を含んでいるため、施工後、長期間にわたって優れた防カビ性および防苔性を発揮する。そのほか、防カビ性・防苔性を有する細菌類16は、近傍の臭気を分解したり、水質を浄化したりする作用も有しているため、悪臭軽減や周辺環境の浄化などの効果も得ることができる。
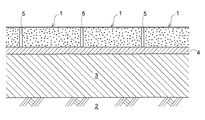
図2に示す土質ブロック1は長さ20cm、幅10cm、高さ6cmの直方体形状であるが、形状、サイズはこれに限定するものではなく、また、その用途も様々であるが、例えば、図3に示すような舗装構造の建設用資材として土質ブロック1を使用することができる。図3に示す舗装構造は、路床2の上にクラッシャーランを敷設することによって路盤3を形成し、この路盤3の上面にクッションサンド層4を敷設し、さらにクッションサンド層4の上面に複数の土質ブロック1を配列することによって形成されている。
舗装面上に降った雨水などは土質ブロック1中に速やかに吸収され、立体網目構造内に存在する連続した空隙によって保水されるとともに、保水しきれない雨水は下方へ浸透させることができるため、透水性と保水性のバランスの良好な舗装構造を形成することができる。また、土系骨材10を含むことにより、天然土に似た外観、色調、質感を発現するため、自然環境との調和性に優れた外観性が得られる。さらに、夏季などの気温の高い時期には、土質ブロック1中に保持されている水分が表面から蒸発し、その際に気化熱を奪うので、舗装部分の温度上昇を抑制することができる。このため、いわゆるヒートアイランド現象の防止にも有効である。
一方、土質ブロック1中に含まれている、防カビ性・防苔性を有する細菌類16は、近傍の臭気を分解したり、水質を浄化したりする作用も有しているため、土質ブロック1が敷設された現場付近の悪臭軽減や環境浄化などの効果も得ることができる。なお、図3に示すように、水平方向に隣り合う土質ブロック1の間の隙間5には、例えば、砂などの目地材を充填することが望ましい。
図1に示す混合工程で形成される混合物15の組成は特に限定するものではないが、本実施形態においては、土系骨材10として砂質土を用い、セメント系固化材11として高炉セメントを使用し、団粒化剤14として有限会社グローバル研究所の「商品名:GB−2000」を用い、細菌類16としてバチルススパリカス、バチルスサブチルス、バチルスツリュゲナイセスを含む細菌類(株式会社ビッグバイオの粉末状細菌)を用いたところ、強固な団粒構造が形成されるとともに、優れた防カビ性・防苔性を得ることができた。なお、「GB−2000」はアクリル酸・メタクリル酸ジメチルアミノエチル共重合物のマグネシウム塩とポリエチレンイミンとの複合体からなる高分子化合物である。「GB−2000」は原液のまま、あるいは水溶液にして使用することができる。
なお、本実施形態において、混合物15を構成する各成分の混合比率は次の通りであるが、これに限定するものではないので、土質ブロック1の用途、土系骨材10の種類、性状などによって変更することができる。
土系骨材10(砂質土):1000kg〜1500kg
高炉セメント:100kg〜200kg
団粒化剤14(GB−2000の原液):1リットル〜10リットル
細菌類16(株式会社ビッグバイオの粉末状細菌):1kg〜100kg
水:適量(混合物15の固さ、流動性を確認しながら添加量を調節する。)
土系骨材10(砂質土):1000kg〜1500kg
高炉セメント:100kg〜200kg
団粒化剤14(GB−2000の原液):1リットル〜10リットル
細菌類16(株式会社ビッグバイオの粉末状細菌):1kg〜100kg
水:適量(混合物15の固さ、流動性を確認しながら添加量を調節する。)
本実施形態においては、混合物15を成形、固化させて作られた土質ブロック1の性質、用途などについて説明したが、スラリー状の混合物15をそのまま地盤上などに打設することも可能であり、これによって、防草目的の舗装面あるいは歩道などを形成することができる。また、混合物15を形成する際に植物系や樹脂系などの繊維材を入れることも可能であり、繊維材を混入させた混合物15を前記と同様の工程を経て成形、固化させれば、土質ブロック1の強度を上げることができる。
本発明の土質ブロックは、歩道、駐車場などの舗装資材、河川の護岸工事や斜面保護工事用の資材、防草目的の敷設資材などとして広く利用することができる。
1 土質ブロック
2 路床
3 路盤
4 クッションサンド層
5 隙間
10 土系骨材
11 セメント系固化材
12 ミキサ
13 モータ
14 団粒化剤
15 混合物
16 細菌類
2 路床
3 路盤
4 クッションサンド層
5 隙間
10 土系骨材
11 セメント系固化材
12 ミキサ
13 モータ
14 団粒化剤
15 混合物
16 細菌類
Claims (4)
- セメント系固化材、セメント、消石灰のうちの1以上と、土系骨材と、団粒化剤と、防カビ性および防苔性を有する細菌類とを含む混合物を固化させて形成したことを特徴とする土質ブロック。
- 前記細菌類として、バチルススパリカス、バチルスサブチルス、バチルスツリュゲナイセスのうちの1以上を用いた請求項1記載の土質ブロック。
- 前記土系骨材として、砂質土、粘土、ヘドロのうちの1以上を用いた請求項1または2記載の土質ブロック。
- 前記団粒化剤として、アクリル酸・メタクリル酸ジメチルアミノエチル共重合物のマグネシウム塩とポリエチレンイミンとの複合体を含む高分子化合物を用いた請求項1〜3の何れかに記載の土質ブロック。
Priority Applications (1)
| Application Number | Priority Date | Filing Date | Title |
|---|---|---|---|
| JP2006112645A JP2007284974A (ja) | 2006-04-14 | 2006-04-14 | 土質ブロック |
Applications Claiming Priority (1)
| Application Number | Priority Date | Filing Date | Title |
|---|---|---|---|
| JP2006112645A JP2007284974A (ja) | 2006-04-14 | 2006-04-14 | 土質ブロック |
Publications (1)
| Publication Number | Publication Date |
|---|---|
| JP2007284974A true JP2007284974A (ja) | 2007-11-01 |
Family
ID=38757009
Family Applications (1)
| Application Number | Title | Priority Date | Filing Date |
|---|---|---|---|
| JP2006112645A Pending JP2007284974A (ja) | 2006-04-14 | 2006-04-14 | 土質ブロック |
Country Status (1)
| Country | Link |
|---|---|
| JP (1) | JP2007284974A (ja) |
Cited By (10)
| Publication number | Priority date | Publication date | Assignee | Title |
|---|---|---|---|---|
| JP2009221685A (ja) * | 2008-03-14 | 2009-10-01 | Infratec Co Ltd | 透水性舗装を備える側溝の施工方法 |
| JP2009270302A (ja) * | 2008-05-02 | 2009-11-19 | Shiima Consultant:Kk | 舗装構造 |
| JP2010203195A (ja) * | 2009-03-05 | 2010-09-16 | Shiima Consultant:Kk | ブロック |
| JP2012107396A (ja) * | 2010-11-15 | 2012-06-07 | Hayashi Kensetsu Kk | 法面工法及び法面構造 |
| JP2018513096A (ja) * | 2015-03-10 | 2018-05-24 | バイオメイソン インコーポレイテッド | 防塵および建築材製造のための組成物および方法 |
| CN111501454A (zh) * | 2020-04-23 | 2020-08-07 | 山东交通学院 | 一种基于生物酶固化材料的桥头路基过渡段软土路基处理方法及施工工艺 |
| US11472738B2 (en) | 2010-04-27 | 2022-10-18 | Biomason Inc. | Methods for the manufacture of colorfast masonry |
| JP2022163975A (ja) * | 2021-04-15 | 2022-10-27 | 株式会社シーマコンサルタント | 土木用資材及び土木用資材製造方法 |
| US11518687B2 (en) | 2017-10-05 | 2022-12-06 | Biomason Inc. | Biocementation method and system |
| US11795108B2 (en) | 2016-10-31 | 2023-10-24 | Biomason Inc. | Microorganism loaded aggregate and manufacturing methods |
Citations (4)
| Publication number | Priority date | Publication date | Assignee | Title |
|---|---|---|---|---|
| JPH1045454A (ja) * | 1996-08-02 | 1998-02-17 | Kassei Kk | 防水性セメント調合物の製法及びそれを用いる工法 |
| JP2002029809A (ja) * | 2000-07-10 | 2002-01-29 | Shiima Consultant:Kk | 透水性ブロックおよび透水性ブロックの製造方法 |
| WO2002048069A1 (en) * | 2000-12-12 | 2002-06-20 | Koyoh Corporation Ltd. | Cement paste containing microbial cells |
| JP2004346580A (ja) * | 2003-05-21 | 2004-12-09 | Shibayama Cement Seihin Kojo:Kk | 舗装構造及びその施工方法 |
-
2006
- 2006-04-14 JP JP2006112645A patent/JP2007284974A/ja active Pending
Patent Citations (4)
| Publication number | Priority date | Publication date | Assignee | Title |
|---|---|---|---|---|
| JPH1045454A (ja) * | 1996-08-02 | 1998-02-17 | Kassei Kk | 防水性セメント調合物の製法及びそれを用いる工法 |
| JP2002029809A (ja) * | 2000-07-10 | 2002-01-29 | Shiima Consultant:Kk | 透水性ブロックおよび透水性ブロックの製造方法 |
| WO2002048069A1 (en) * | 2000-12-12 | 2002-06-20 | Koyoh Corporation Ltd. | Cement paste containing microbial cells |
| JP2004346580A (ja) * | 2003-05-21 | 2004-12-09 | Shibayama Cement Seihin Kojo:Kk | 舗装構造及びその施工方法 |
Cited By (12)
| Publication number | Priority date | Publication date | Assignee | Title |
|---|---|---|---|---|
| JP2009221685A (ja) * | 2008-03-14 | 2009-10-01 | Infratec Co Ltd | 透水性舗装を備える側溝の施工方法 |
| JP2009270302A (ja) * | 2008-05-02 | 2009-11-19 | Shiima Consultant:Kk | 舗装構造 |
| JP2010203195A (ja) * | 2009-03-05 | 2010-09-16 | Shiima Consultant:Kk | ブロック |
| US11472738B2 (en) | 2010-04-27 | 2022-10-18 | Biomason Inc. | Methods for the manufacture of colorfast masonry |
| JP2012107396A (ja) * | 2010-11-15 | 2012-06-07 | Hayashi Kensetsu Kk | 法面工法及び法面構造 |
| JP2018513096A (ja) * | 2015-03-10 | 2018-05-24 | バイオメイソン インコーポレイテッド | 防塵および建築材製造のための組成物および方法 |
| US12195392B2 (en) | 2015-03-10 | 2025-01-14 | Biomason Inc. | Compositions and methods for dust control |
| US11795108B2 (en) | 2016-10-31 | 2023-10-24 | Biomason Inc. | Microorganism loaded aggregate and manufacturing methods |
| US11518687B2 (en) | 2017-10-05 | 2022-12-06 | Biomason Inc. | Biocementation method and system |
| US12187620B2 (en) | 2017-10-05 | 2025-01-07 | Biomason Inc. | Biocementation method and system |
| CN111501454A (zh) * | 2020-04-23 | 2020-08-07 | 山东交通学院 | 一种基于生物酶固化材料的桥头路基过渡段软土路基处理方法及施工工艺 |
| JP2022163975A (ja) * | 2021-04-15 | 2022-10-27 | 株式会社シーマコンサルタント | 土木用資材及び土木用資材製造方法 |
Similar Documents
| Publication | Publication Date | Title |
|---|---|---|
| JP2007284974A (ja) | 土質ブロック | |
| JP5769999B2 (ja) | 舗装構造 | |
| KR20190006233A (ko) | 안전성, 경제성 및 시공성이 우수한 보도 및 차도용 투수성 포장 시공 공법 | |
| JP2009270302A (ja) | 舗装構造 | |
| KR101902799B1 (ko) | 스포츠용 바닥재 및 그 시공 방법 | |
| KR101726392B1 (ko) | 운동장 우수 관리 및 재활용 시스템의 시공 방법 및 운동장 우수 관리 및 재활용 시스템 | |
| JPH0648793A (ja) | 透水性コンクリートの製造方法 | |
| KR101064560B1 (ko) | 활성고령토를 이용한 투수성 무색소 콘크리트 도로포장재 조성물 및 이를 이용한 콘크리트 포장 시공방법 | |
| JP4785817B2 (ja) | 舗装構造 | |
| KR100621963B1 (ko) | 수재 슬래그를 이용한 흙포장재용 조성물 및 그를 이용한바닥 포장방법 | |
| JP3754693B2 (ja) | 保水性舗装構造 | |
| JP2006241700A (ja) | 土質ブロック | |
| JP2004225283A (ja) | コンクリートブロック | |
| JP2002128560A (ja) | 吸水性を有する成形体及びその製造方法 | |
| JP2010120820A (ja) | 保水性ブロック | |
| JP2004067909A (ja) | 土壌改良材とこれを用いたマルチング工法 | |
| JP5440832B2 (ja) | 土系舗装材 | |
| JP4387995B2 (ja) | 瓦舗装材 | |
| JP3638935B2 (ja) | 保水性舗装構造 | |
| JP2007008733A (ja) | 保水性および透水性が調節可能な水分保水調節コンクリート製品 | |
| KR100916356B1 (ko) | 풍토를 이용한 도로포장방법 | |
| JP2003313809A (ja) | 透水性アスファルト舗装の保水性充填材及びこれが充填された透水性アスファルト舗装体 | |
| JPH02157301A (ja) | 路盤または路床の透水性表層安定処理工法 | |
| JP2002069907A (ja) | 透水性の土層を有する歩道用平板 | |
| JP3514521B2 (ja) | 簡易舗装材および簡易舗装方法 |
Legal Events
| Date | Code | Title | Description |
|---|---|---|---|
| A621 | Written request for application examination |
Effective date: 20090331 Free format text: JAPANESE INTERMEDIATE CODE: A621 |
|
| A977 | Report on retrieval |
Effective date: 20100818 Free format text: JAPANESE INTERMEDIATE CODE: A971007 |
|
| A131 | Notification of reasons for refusal |
Free format text: JAPANESE INTERMEDIATE CODE: A131 Effective date: 20100824 |
|
| A02 | Decision of refusal |
Effective date: 20101221 Free format text: JAPANESE INTERMEDIATE CODE: A02 |