JP2006228551A - 集電端子及び該端子を備えた蓄電装置 - Google Patents

集電端子及び該端子を備えた蓄電装置 Download PDF

Info

Publication number
JP2006228551A
JP2006228551A JP2005040470A JP2005040470A JP2006228551A JP 2006228551 A JP2006228551 A JP 2006228551A JP 2005040470 A JP2005040470 A JP 2005040470A JP 2005040470 A JP2005040470 A JP 2005040470A JP 2006228551 A JP2006228551 A JP 2006228551A
Authority
JP
Japan
Prior art keywords
current collector
collector foil
slits
power storage
terminal
Prior art date
Legal status (The legal status is an assumption and is not a legal conclusion. Google has not performed a legal analysis and makes no representation as to the accuracy of the status listed.)
Granted
Application number
JP2005040470A
Other languages
English (en)
Other versions
JP4661257B2 (ja
Inventor
Tomoyoshi Ueki
智善 上木
Current Assignee (The listed assignees may be inaccurate. Google has not performed a legal analysis and makes no representation or warranty as to the accuracy of the list.)
Toyota Motor Corp
Original Assignee
Toyota Motor Corp
Priority date (The priority date is an assumption and is not a legal conclusion. Google has not performed a legal analysis and makes no representation as to the accuracy of the date listed.)
Filing date
Publication date
Application filed by Toyota Motor Corp filed Critical Toyota Motor Corp
Priority to JP2005040470A priority Critical patent/JP4661257B2/ja
Publication of JP2006228551A publication Critical patent/JP2006228551A/ja
Application granted granted Critical
Publication of JP4661257B2 publication Critical patent/JP4661257B2/ja
Anticipated expiration legal-status Critical
Expired - Fee Related legal-status Critical Current

Links

Images

Classifications

    • YGENERAL TAGGING OF NEW TECHNOLOGICAL DEVELOPMENTS; GENERAL TAGGING OF CROSS-SECTIONAL TECHNOLOGIES SPANNING OVER SEVERAL SECTIONS OF THE IPC; TECHNICAL SUBJECTS COVERED BY FORMER USPC CROSS-REFERENCE ART COLLECTIONS [XRACs] AND DIGESTS
    • Y02TECHNOLOGIES OR APPLICATIONS FOR MITIGATION OR ADAPTATION AGAINST CLIMATE CHANGE
    • Y02EREDUCTION OF GREENHOUSE GAS [GHG] EMISSIONS, RELATED TO ENERGY GENERATION, TRANSMISSION OR DISTRIBUTION
    • Y02E60/00Enabling technologies; Technologies with a potential or indirect contribution to GHG emissions mitigation
    • Y02E60/10Energy storage using batteries

Landscapes

  • Electric Double-Layer Capacitors Or The Like (AREA)
  • Connection Of Batteries Or Terminals (AREA)

Abstract

【課題】 一つの集電端子に設けられた複数の集電箔挿入用スリット間において、集電箔の接合構造にばらつき(不揃い)が生じない蓄電装置を提供すること。
【解決手段】 本発明の捲回型又は積層型蓄電装置では、正負極の少なくとも一方の集電端子20に設けられた複数のスリット28a,28bに集電箔端部15が適当数ずつ区分して挿入されており、該集電箔端部と該端部に隣接するスリット内壁面とは溶接によって接合されている。ここで、該溶接部分15bはスリット内に挿入されている集電箔端部のほぼ中央付近から該スリットの開口部付近に至る領域に形成されており、且つ、互いに隣接する少なくとも二つのスリットでの各溶接部分は、スリット開口部の長手方向に対してほぼ直交する集電端子の横断面において集電箔端部挿入方向に対してほぼ直交する横方向にほぼ直線状に並ぶように形成されている。
【選択図】 図4

Description

本発明は、複数の集電箔を束ねて集電端子と接合させた構造を有する二次電池その他の蓄電装置に関する。また、そのような蓄電装置に使用される集電端子に関する。また、そのような集電端子と複数の集電箔との接合方法に関する。
種々の電池(例えばリチウム二次電池)や電気二重層キャパシタ等の蓄電装置は、電気を駆動源とする車両、パソコンその他の電気製品等に搭載される電源として利用される。このような蓄電装置を高出力化するための典型的な形態として、シート状の正極及び負極がセパレータを挟んで複数回捲回されたもの(捲回型)或いはシート状の正極及び負極がセパレータを挟んで複数積層されたもの(積層型)が挙げられる。
これら蓄電装置では、正負極それぞれが捲回又は積層された結果として、正負極を構成する集電箔(集電体)の端部が当該蓄電装置の電極体コア部分(例えば正負極活物質、電解質等を含む蓄電素子(セル)の正負極から成る電極体を構成する中心部分に相当する。以下同じ。)から外方に複数並列して張り出している。そして、かかる正負極それぞれの多数の集電箔端部(以下、機能的観点から当該端部を単に集電箔という場合がある。)をいくつかに束ねると共にそれらを所定の正負極集電端子(即ち外部出力用端子)にそれぞれ接合する。これにより、多数の集電部位(即ち集電箔端部)から集電端子に集電することが可能となり、蓄電装置の高出力化を図ることができる。例えば、特許文献1〜5には、多数の正負極集電箔端部をそれぞれ正負極集電端子に接合して成る捲回型電池が記載されている。
これら特許文献に記載されるような従来の捲回型又は積層型の蓄電装置(二次電池等)では、集電端子に設けられた幾つかの並列する集電箔挿入用スリット(溝部)のそれぞれに適当数の集電箔端部を挟み込み、次いで溶接又はかしめによって集電端子と集電箔とを接合し、これら部材間の電気的接続を実現している。
しかしながら、従来の捲回型及び積層型蓄電装置における上記集電端子と集電箔端部との接合法は、個々の集電箔挿入用スリット(溝部)に挟み込まれた一束の集電箔端部をいかに確実に接合するかという点に着目されて開発・実施されてきた技術であり、当該スリットの内壁と当該一束の集電箔端部とから成る接合構造を、一つの集電端子が有する複数のスリット間で均一化することに配慮したものではなかった。このため、一つの集電端子が有するいくつかのスリット間で、集電端子(各スリットの内壁)と該スリットに挿入された一束の集電箔端部とから成る接合構造(例えば、スリットに挿入された集電箔の先端から実際にスリット内壁と溶接された部分までの距離、当該溶接部分の大きさ、該溶接部分から上記電極体コア部分に至るまでの集電箔に生じ得る弛みの規模)にばらつきが生じ得るものであった。
かかる接合構造におけるスリット間のばらつき即ち不揃いは、当該ばらついた複数の接合構造を有する集電端子付き蓄電装置(典型的には電極)内における電流密度分布及び内部抵抗分布の不均一化を招く虞がある。かかる不均一化は、充放電に伴う局所的な体積変化(エネルギー変化)、延いては局部的な材料劣化を促進し得るため好ましくない。
特開平10−270048号公報 特開平10−261441号公報 特開平10−106536号公報 特開2000−82486号公報 特開2000−82487号公報
そこで本発明は、上記のような集電箔端部と集電端子との接合構造に関する問題点を解決すべく創出されたものである。即ち、本発明の目的は、一つの集電端子に設けられた上記複数のスリット間の接合構造のばらつき(不揃い)を解消し、そのことに起因する蓄電装置(電池等)内における電流密度分布及び内部抵抗分布の不均一化を防止することである。そして本発明の他の目的は、そのようなばらつき(不揃い)のない接合構造を形成する方法(接合方法)および該接合構造を備えた蓄電装置を提供することである。また、本発明の他の目的は、かかるばらつき(不揃い)のない接合構造を形成するのに適する集電端子を提供することである。
本発明によって提供される一つの蓄電装置は、集電箔を含むシート状の正極及び負極が捲回され或いは複数積層されることによって正極及び負極が複数重ねられて成る電極体コア部分と、該コア部分から正負極それぞれ別方向に複数並列に張り出した集電箔の端部と、該並列に張り出した複数の集電箔端部と電気的に接続される正負極それぞれの集電端子とを備える蓄電装置である。
そして、本発明の蓄電装置に装備される上記正負極の少なくとも一方の集電端子には、対応する極側の上記複数の集電箔端部を適当数ずつ区分して挿入する複数の集電箔挿入用スリットが該集電箔端部の配列方向に並んで相互に平行に形成されている。また、上記複数のスリットのそれぞれに適当数の集電箔端部が挿入され、該挿入された適当数の集電箔端部と該端部に隣接するスリット内壁面とは溶接によって接合されている。また、該溶接部分は上記集電箔端部における上記スリット内に挿入されている部分のほぼ中央付近から該スリットの開口部(入り口)付近に至る領域に形成されており、且つ、互いに隣接する少なくとも二つのスリットでの各溶接部分は、スリット開口部の長手方向に対してほぼ直交する集電端子の横断面において集電箔端部挿入方向に対してほぼ直交する横方向にほぼ直線状に並ぶように形成されている。
なお、本明細書において「蓄電装置」とは、所定の電気エネルギーを取り出し得る蓄電素子(典型的には電池(セル)或いはキャパシタ)を備える装置をいい、特定の蓄電機構に限定されない。リチウム二次電池その他の電池、或いは、電気二重層キャパシタ等のキャパシタ(物理電池)は、ここでいう蓄電装置に包含される典型例である。また、これら蓄電素子を電気的に接続した状態で複数配列させた蓄電素子集合体、即ち、蓄電モジュールも本蓄電装置に包含される。
また、本明細書において「集電箔(集電体ともいう。)」とは、正負極を構成する集電部材であって上記電極体コア部分より電気を取り出すための端部を有する導電性部材をいう。また、本明細書において「集電端子」とは、上記集電箔端部と接続されて外部に電気を取り出すための端子をいう。
かかる構成の本発明の蓄電装置では、正極用及び/又は負極用集電端子に設けられた複数の集電箔挿入用スリットのそれぞれと該スリットに収容され溶接された適当数の集電箔端部とから成る接合構造が当該複数のスリット間で均一化されている。このため、本構成の蓄電装置によると、かかる接合構造のスリット間でのばらつき(不揃い)から生じる電流密度分布及び内部抵抗分布の不均一化が防止され、局所的な体積変化(エネルギー変化)や材料劣化を抑制して高い信頼性を実現することができる。
ここで開示される蓄電装置の好ましい一つの態様では、上記集電箔端部における上記コア部分からほぼフラットな状態で張り出される領域の先端部分の実質上全ての部分が上記複数のスリットのいずれかに挿入されるようにして上記集電端子が備えられている。
かかる構成の蓄電装置では、集電箔端部のうちフラットな先端部分の実質上全て(例えば、積層型蓄電装置における集電箔端部先端部分の幅方向のサイズの80%以上好ましくは90%以上、或いは、捲回型蓄電装置における捲回後の扁平化した状態での集電箔端部先端部分における湾曲した部分を除く幅方向のサイズの80%以上好ましくは90%以上)が集電端子のいずれかのスリットに挿入され、溶接によってスリット間でほぼ等しく接合されている。これにより、本構成の蓄電装置によると、より信頼性の高い集電端子と集電箔との接合構造(電気的接続構造)を実現することができる。
また、ここで開示される蓄電装置のさらに好ましい一つの態様では、上記溶接部分が少なくとも二つのスリットが包含されるようにして上記横方向(即ち上記集電端子横断面における集電箔端部挿入方向(スリット深さ方向)に対する直交方向)に通電する抵抗溶接によって形成されている。
なお、本明細書において「抵抗溶接」は、溶接分野で通常用いられる場合と同様の意味の技術用語であり、典型的には、複数の被溶接材を相互に接触させつつ所定の電流を流して当該接触部分を電気抵抗によって生じる熱で溶接することをいう。
かかる構成の蓄電装置では、隣接する二以上のスリットにおける各接合構造(溶接部分)が抵抗溶接によって高度に均一化される。これにより、本構成の蓄電装置によると、より信頼性の高い集電端子と集電箔との接合構造を実現することができる。
また、本発明は他の側面として集電端子用部材を提供する。すなわち、集電箔を含むシート状の正極及び負極が捲回され或いは複数積層されることによって正極及び負極が複数重ねられて成る電極体コア部分と、該コア部分から正負極それぞれ別方向に複数張り出した集電箔の端部とを備える蓄電装置に装備され、該集電箔端部と電気的に接続されて正負極いずれかの集電端子を構成する集電端子用部材である。
この集電端子用部材では、いずれかの極側の上記複数の集電箔端部を幾つかずつ区分して挿入するための複数の集電箔挿入用スリットが該集電箔端部の配列方向に並ぶようにして相互に平行に形成されている。また、該複数のスリットが形成されている面とは反対の面には、上記複数のスリットのうち少なくとも二つのスリットを挟んでスリット開口部の長手方向に対してほぼ直交する横方向に抵抗溶接を行うための電極を配置し得る凹部が一又は二以上形成されている。そして、上記一の凹部に抵抗溶接用電極を配置するとともに集電端子側面又は他の同様の凹部に別の抵抗溶接用電極を配置してこれら両電極間に通電することによって該電極間に存在する二以上のスリットにそれぞれ挿入された集電箔端部とスリット内壁とを上記横方向にほぼ直線状に抵抗溶接可能に構成されていることを特徴とする。
かかる構成の集電端子用部材を正極集電端子及び/又は負極集電端子として使用することによって、上述したような蓄電装置を構築することができる。従って、本発明は他の側面として、ここで開示される集電端子用部材を使用することを特徴とする捲回型又は積層型の電池その他の蓄電装置と該蓄電装置の製造方法を提供する。
また、ここで開示される集電端子用部材の好ましい一つの態様では、上記複数のスリットの開口部(入り口)は、上記集電箔端部における上記コア部分からほぼフラットな状態で張り出される領域の先端部分の実質上全ての部分が挿入され得る長さに形成されている。
かかる構成の集電端子用部材によると、当該端子用部材のスリット内壁と集電箔端部との接合部分の容積を高めることができる。このため、電流密度分布及び内部抵抗分布を均一化した電池その他の蓄電装置を構築することが容易となる。
以下、本発明の好適な実施形態を説明する。なお、本明細書において特に言及している事項(例えば集電端子の形状)以外の事柄であって本発明の実施に必要な事柄(例えば抵抗溶接方法、リチウム二次電池等の電池その他の蓄電装置の基本的構成やその構築方法)は、当該分野における従来技術に基づく当業者の設計事項として把握され得る。本発明は、本明細書に開示されている内容と当該分野における技術常識とに基づいて実施することができる。
本発明は、集電箔(集電体)を支持材とする正極及び負極を有する捲回型又は積層型蓄電装置に幅広く適用し得る。ここで開示される典型的な蓄電装置としては、一次電池(例えばリチウム一次電池、マンガン電池、アルカリ電池)、二次電池(例えばリチウム二次電池、ニッケル水素電池)、或いはキャパシタ(例えば電気二重層キャパシタ)挙げることができる。これら蓄電装置の形態は特に限定されない。
本発明の蓄電装置は、上述したような構成の電極体コア部分、集電箔及び集電端子を備える限りにおいて、本発明とは本質的に関連性のない他の構成要素を備え得る。例えば本発明により提供される蓄電装置は、典型的には、少なくとも電極体コア部分を収容し得る種々の形態の外装用ケースを備える。ケースとしては所望される部位に適当な絶縁処理が施された金属製ケース、樹脂製ケース、或いはリチウム二次電池等で採用され得るラミネートフィルム製のケースが挙げられる。
また、典型的には、シート状正極及び負極とともに更に適当なセパレータを捲回又は複数積層して電極体コア部分が形成される。リチウム二次電池(リチウムイオン二次電池ともいう)その他の電池に適用する場合の好適な態様では、典型的には、電極体コア部分には正負極及びセパレータと共に種々の電解質(電解液、固体電解質等)が備えられる。かかる電解質の内容は電池等の蓄電装置の種類に応じて異なり得る。
そして、積層又は捲回の態様に応じて、複数の集電箔の端部を正負極それぞれ異なる方向に当該コア部分から張り出させることができる。なお、張り出された複数の集電箔端部は、その先端部において予め幾つかに束ねられていることが取扱い性の向上の観点から好ましい。例えば、複数の集電箔端部を幾つかに区分するとともに、それらの先端を適当な溶接手段(例えば超音波溶接、レーザ溶接)によって溶接しておくことが好ましい。
従って、本発明によって提供される蓄電装置の好ましい一つの態様は、幾つかに束ねられた集電箔端部の先端部分が相互に溶接されていることを特徴とし、更に該溶接により束ねられた集電箔端部における上記スリット内に挿入されている部分のほぼ中央付近から該スリットの開口部(入り口)付近に至る領域に該集電箔端部と集電端子との接合(溶接)部分が形成されていることを特徴とする。このような蓄電装置では、各集電箔端部は十分に張った状態でスリット内に挿入され且つ集電箔端部相互及びスリット内壁と溶接されている。このため、集電箔端部の一部(特に、スリット開口部と電極体コア部分との間に配置される部分)に電流密度分布の不均一化の原因となり得るような弛みが発生するのを防止することができる。
また、電極体コア部分と該コア部分から外方に張り出している正負極それぞれの集電箔端部とを備える限り、それらの形状やサイズには特に制限はない。
集電箔を構成する材料(典型的には導電性のよい金属単体又は合金)は特に限定されず、一般的に蓄電装置の内容(種類)に応じて異なり得るとともに正極と負極とで異なり得る。例えばリチウム二次電池等の電池では正極用集電箔としてアルミニウム箔が使用され、負極用集電箔として銅箔が好ましく使用される。
そのような集電箔を含む正負極の内容(活物質等の構成要素)は所望する蓄電装置の種類に応じて異なり、所定の電力を貯蔵及び放出し得る正負極の構成要素たり得るものであれば特に限定されない。
本発明の実施に適用される集電端子用部材は、幾つかの集電箔端部を挿入し得るスリットが相互に平行して複数形成されており、スリット開口部の長手方向に対してほぼ直交する方向に直線状に抵抗溶接可能なものであればよく、当該部材の材質は限定されない。従来の蓄電装置(二次電池等)で使用されている集電端子と同様の材質で形成することができる。好ましくは、接合対象の集電箔と同じ材質で構成される。例えば、電池(リチウム二次電池等)の負極集電端子は銅製であることが好ましく、正極集電端子はアルミニウム製であることが好ましい。一つの集電端子に設けられるスリットの数、スリット幅又は深さは、電極体コア部分から引き出される集電箔端部の数量や集電箔の形状(面積、厚さ)によって異なるため特に限定されない。
また、正負極の重なる電極体コア部分から張り出した複数の集電箔端部と集電端子との溶接部分容積(即ち電気的接続部分の容積)を増大させるようにスリット開口部が細長いものが好適である。例えば、電極体コア部分からフラットな状態(即ち湾曲のない状態)で張り出される領域の集電箔端部先端部分を全て挿入し得る開口サイズのスリットが好適である。このことにより、集電箔と集電端子との溶接部分を集電箔幅方向に充分確保することが可能となり、より信頼性の高い接合構造を実現することができる。
好ましい態様において、集電端子に一又は二以上設けられる上記電極配置用凹部は、スリットの形成方向(長手方向)に沿って長溝状に形成される。これにより、該スリットの形成方向に沿って任意の一箇所又は数箇所の位置においてスポット的に、或いはスリットに沿って連続的に、集電箔と集電端子(スリット内壁)とを抵抗溶接によって接合することができる。
また、かかる凹部と凹部、又は凹部と集電端子側面(抵抗溶接のための電極が配置可能な側面をいう。以下同じ。)との間に配置するスリットの数は、抵抗溶接時に付与する電力レベル、集電箔の数や厚さ等によって異なるため特に制限はなく、二又はそれ以上の数のスリットを二つの凹部間又は凹部と集電端子側面との間に設けることができる。また、凹部の深さは、その凹部の底面が隣接するスリットの開口部近くに配置される程度に深いことが好ましい。これにより、集電箔端部のスリット内に挿入されている部分のうちほぼ中央付近から該スリットの開口部(入り口)付近に至る領域に容易に溶接部分を形成することができる。
以下、本発明に関する好適な実施例を図面を参照しつつ説明するが、本発明をかかる図面に示すものに限定することを意図したものではない。
図1及び図2に示す本実施例に係る蓄電装置10は、捲回型の電極体11を有するリチウム二次電池である。図1は、図示しない所定のケースに収容する前の蓄電装置10を模式的に示す部分斜視図であり、該電極体11の正極側の端部に後述する形状の正極集電端子20が装着された状態を示している。なお、負極側を図示していないが、同様の形状の負極集電端子が装着されている。
即ち、本実施例に係る蓄電装置10は、リチウム二次電池用として適する各種成分(例えば正極活物質としてニッケル酸リチウム等のリチウム複合酸化物、負極活物質としてグラファイト等の炭素系材料)を含む正極シート(正極)と負極シート(負極)をセパレータ(例えば多孔質オレフィン系樹脂製シート)と共に積層し、さらに正極シートと負極シートとをややずらしつつ捲回して作製される一般的な捲回型リチウム二次電池である。かかる捲回された正負極及びセパレータから成る電極体11の捲回方向に対する横方向の一方の端面には、上記のようにややずらしつつ捲回された結果として、正極シートを構成する集電箔15の一部がコア部分12から外方に張り出している。かかる張り出し部分が本実施例に係る正極側集電箔(アルミニウム製)の端部15を構成する。図示していないが、負極側にも同様の集電箔(銅製)の端部がコア部分12から張り出されて形成されている。従って本実施例において、本発明を特徴付ける構成を説明するには正極側のみの図示で十分であり、以下の説明は全て正極側についてのみ行う。それにより当業者には負極側の状態も理解することができる。
図2に示すように、この電極体の正極側端部及び負極側端部には、捲回の結果として複数の集電箔端部15がコア部分12から相互に重なり合って張り出している。そして、捲回された正負極シート(電極体)を側面から押しつぶすことによって、図示されるように、正負極側の端面から見て中心部分に細長い間隙18が形成されるとともに、その間隙18の周囲において重なり合った集電箔端部15から成る幅広のほぼフラットな領域(以下、単に「フラット領域」という。)と、間隙18を挟んで対向する二つのフラット領域の間に形成される湾曲した領域とを有する扁平な電極体11が形成される。
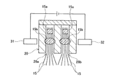
本実施例に係る正極用集電端子20はアルミニウム製(図示しない負極用集電端子は銅製)の部材で構成されている。図1及び図2に示すように、この集電端子20は、電極体端面の長径に対応する長さの大まかに見て角柱状である本体部21と該本体部21から突出する外部接続用のリード端子部22とを備える。この集電端子20の本体部21の表面側には、後述する抵抗溶接用電極32を配置し得る凹部23a,23bが長手方向に沿って形成されている。凹部23a,23bの長手方向中央には支持部26が形成されている。かかる凹部23a,23bは、後述するスリット28a,28b,28c,28dの開口部(即ち本体部21の裏面)近くに底部(ボトム部)27が形成されるように深い長溝状に形成されている。
一方、この集電端子20の本体部21の裏面(即ち電極体11と対向する面)側には、上記電極配置用凹部23a,23bのボトム部27を挟んで本体部21長手方向の左右に二つずつ合計四つの長溝状のスリット28a,28b,28c,28dが相互に平行に形成されている。これらスリット28a,28b,28c,28dの開口部の長さは、上記扁平にされた後の集電箔端部15におけるフラット領域の先端部分が実質上全て挿入される(図1参照)ように設計されている。また、集電端子本体部21のリード端子部22寄りの部分には、集電箔端部15の湾曲した部分を挟み込むための係合溝25が形成されている。
而して、図1及び図2に示すように、上記係合溝25に対応する集電箔端部15の湾曲した部分に挟み込むとともに、電極体11の捲回中心に生じる間隙18に上記ボトム部27を嵌め込むことにより電極体11の正極側端部に集電端子20を装着することができる。このとき、正極集電箔端部15は、一束がほぼ均等な数(この種の捲回型リチウム二次電池の場合は典型的には10〜20)となるように四つの束に区分し、それらを対応するいずれかのスリット28a,28b,28c,28dに挿入する(図4)。好ましくは、図4に示すように、予め幾つかに区分してまとめた集電箔端部15の先端部分同士を適当な溶接手段(例えば超音波溶接)によって好ましくはスポット状又はライン状に溶接し、相互に固着しておくことが好ましい。図4に示すように、このような固着(溶接)部15aを有する一束(一塊)の集電箔端部15は、不用な弛みを生じさせることなくスムーズに所定のスリット28a、28b内に挿入することができる。なお、かかる固着手段は溶接に限られず、他の適当な接着手段、例えば半田付けによってもよい。
次いで、各スリット28a〜28dに挿入した集電箔端部15と集電端子20(即ちスリット内壁)とを抵抗溶接により接合する。図3及び図4に示すように、本実施例では、集電端子20の一方の側面と上記凹部23a,23bにそれぞれ電極31,32を配置し、これら電極間に適当な電力を付与する(通電する)ことによって電極31,32間に存在する二つのスリット(図3,4では28a,28b)において集電箔端部15とスリット内壁(即ち集電端子20)との抵抗溶接を行う。また、同時に又は逐次的に、集電端子20の他方の側面と上記凹部23a,23bにそれぞれ電極31,32を配置し、残りの二つのスリット(即ち符号28c,28dで示すスリット)においても同様に集電箔端部15とスリット内壁(集電端子20)との抵抗溶接を行う。
抵抗溶接時には、スリット28a,28b,28c,28dの深さ方向及び開口部形成方向(長手方向)に対してそれぞれ直交するように直線状に一対の電極31,32を配置することが好ましい。これにより、図4に示すように、互いに隣接する二つのスリット(図では28a,28b)での各溶接部分15bは、スリット28a,28b開口部の形成方向(長手方向)に対してほぼ直交する集電端子20の横断面において集電箔端部15の挿入方向に対してほぼ直交する横方向にほぼ直線状に並ぶように形成される。換言すれば、図4に示すように、かかる溶接部分15bの形成位置をスリット28a,28b間で均一にすることができる。
また、図4に示すように、抵抗溶接は、集電箔端部15におけるスリット28a,28b内に挿入されている部分のほぼ中央付近から該スリットの開口部(入り口)付近に至る領域に溶接部分15bが形成されるように、電極32を凹部23aの底又はその近傍に配置することが好ましい。
なお、抵抗溶接は、一対の電極31,32が被溶接材に接触(即ち通電可能な状態)していれば実行することができるが、これら電極31,32で被溶接材を挟んで強く加圧しながら行ってもよい。また、電極31,32をスリットの長手方向に沿って集電端子側面及び凹部23a,23b内において適宜移動させつつ抵抗溶接を実行することによって、スポット溶接部分を多数形成することが可能であり、或いは、集電箔端部の幅方向に延びるライン状の連続する溶接部分を形成することができる。
このような抵抗溶接を正極集電端子側及び図示しない負極集電端子側についてそれぞれ行った後、これら集電端子を備えた電極体を適当なケース(例えば樹脂製ケース)に収容し、適当な電解液(例えばLiPF等のリチウム塩を適当量含むジエチルカーボネートとエチレンカーボネートとの混合溶媒のような非水電解液)を注入して封止することによって本実施例に係る蓄電装置10(リチウム二次電池)が構築される。
以上の説明と図面から明らかなように、本実施例に係る集電端子20を使用するとともに上述のように抵抗溶接を行うことによって、二以上のスリット間において、各スリットに挿入した幾つかの集電箔端部と集電端子との接合構造を均一にすることができる。これにより、かかる接合構造のスリット間での不均一によって生じ得る電流密度分布の偏りを防止することができる。従って、本発明によると、電流密度分布の偏りに起因して蓄電装置(電極体コア部分)で局所的な反応が生じて材料(活物質等)の劣化(例えば活物質の結晶構造の変化)が促進されることを防止することができる。
以上、本発明の好適な実施態様を詳細に説明したが、これらは例示にすぎず、特許請求の範囲を限定するものではない。特許請求の範囲に記載の技術には、以上に例示した態様を様々に変形、変更したものが含まれる。例えば、上述の実施例は捲回型蓄電装置(二次電池)の例であるが、電極体の基本的構成が異なる外は同様の構成の積層型蓄電装置を構築し得る。
また、本明細書または図面に説明した技術要素は、単独であるいは各種の組み合わせによって技術的有用性を発揮するものであり、出願時請求項記載の組み合わせに限定されるものではない。また、本明細書または図面に例示した技術は複数目的を同時に達成するものであり、そのうちの一つの目的を達成すること自体で技術的有用性を持つものである。
一実施例に係る蓄電装置(外装ケースに収容される前のリチウム二次電池の主要部分)の構成を模式的に示す一部破断の斜視図である。 一実施例に係る蓄電装置(リチウム二次電池)の構成要素を模式的に示す分解斜視図である。 一実施例に係る集電端子のスリット内に集電箔端部が挿入されている状態と溶接用の一対の電極が配置される状態を模式的に示す説明図(部分斜視図)である。 一実施例に係る集電端子のスリット内における溶接部分の形成位置を模式的に示す説明図(断面図)である。
符号の説明
10 蓄電装置(リチウム二次電池)
11 電極体
12 コア部分
15 集電箔端部
15b 溶接部分
20 集電端子
23a,23b 凹部
28a,28b,28c,28d スリット
31,32 抵抗溶接用電極

Claims (5)

  1. 集電箔を含むシート状の正極及び負極が捲回され或いは複数積層されることによって正極及び負極が複数重ねられて成る電極体コア部分と、該コア部分から正負極それぞれ別方向に複数並列に張り出した集電箔の端部と、該並列に張り出した複数の集電箔端部と電気的に接続される正負極それぞれの集電端子と、を備える蓄電装置であって、
    前記正負極の少なくとも一方の集電端子には、対応する極側の前記複数の集電箔端部を適当数ずつ区分して挿入する複数の集電箔挿入用スリットが該集電箔端部の配列方向に並んで相互に平行に形成されており、
    前記複数のスリットのそれぞれに適当数の集電箔端部が挿入され、該挿入された適当数の集電箔端部と該端部に隣接するスリット内壁面とは溶接によって接合されており、
    ここで該溶接部分は前記集電箔端部における前記スリット内に挿入されている部分のほぼ中央付近から該スリットの開口部付近に至る領域に形成されており、且つ、
    互いに隣接する少なくとも二つのスリットでの各溶接部分は、スリット開口部の長手方向に対してほぼ直交する集電端子の横断面において集電箔端部挿入方向に対してほぼ直交する横方向にほぼ直線状に並ぶように形成されている、蓄電装置。
  2. 前記集電箔端部における前記コア部分からほぼフラットな状態で張り出される領域の先端部分の実質上全ての部分が前記複数のスリットのいずれかに挿入されるようにして前記集電端子が備えられている、請求項1に記載の蓄電装置。
  3. 前記溶接部分は、少なくとも二つの前記スリットを包含しつつ前記横方向に通電する抵抗溶接によって形成されている、請求項1又は2に記載の蓄電装置。
  4. 集電箔を含むシート状の正極及び負極が捲回され或いは複数積層されることによって正極及び負極が複数重ねられて成る電極体コア部分と、該コア部分から正負極それぞれ別方向に複数張り出した集電箔の端部とを備える蓄電装置に装備され、該集電箔端部と電気的に接続されて正負極いずれかの集電端子を構成する集電端子用部材であって、
    いずれかの極側の前記複数の集電箔端部を幾つかずつ区分して挿入するための複数の集電箔挿入用スリットが該集電箔端部の配列方向に並ぶようにして相互に平行に形成されており、
    該複数のスリットが形成されている面とは反対の面には、前記複数のスリットのうち少なくとも二つのスリットを挟んでスリット開口部の長手方向に対してほぼ直交する横方向に抵抗溶接を行うための電極を配置し得る凹部が一又は二以上形成されており、
    前記一の凹部に抵抗溶接用電極を配置するとともに集電端子側面又は他の同様の凹部に別の抵抗溶接用電極を配置してこれら両電極間に通電することによって該電極間に存在する二以上のスリットにそれぞれ挿入された集電箔端部とスリット内壁とを前記横方向にほぼ直線状に抵抗溶接可能に構成されている、集電端子用部材。
  5. 前記複数のスリットの開口部は、前記集電箔端部における前記コア部分からほぼフラットな状態で張り出される領域の先端部分の実質上全ての部分が挿入され得る長さに形成されている、請求項4に記載の端子用部材。
JP2005040470A 2005-02-17 2005-02-17 集電端子及び該端子を備えた蓄電装置 Expired - Fee Related JP4661257B2 (ja)

Priority Applications (1)

Application Number Priority Date Filing Date Title
JP2005040470A JP4661257B2 (ja) 2005-02-17 2005-02-17 集電端子及び該端子を備えた蓄電装置

Applications Claiming Priority (1)

Application Number Priority Date Filing Date Title
JP2005040470A JP4661257B2 (ja) 2005-02-17 2005-02-17 集電端子及び該端子を備えた蓄電装置

Publications (2)

Publication Number Publication Date
JP2006228551A true JP2006228551A (ja) 2006-08-31
JP4661257B2 JP4661257B2 (ja) 2011-03-30

Family

ID=36989748

Family Applications (1)

Application Number Title Priority Date Filing Date
JP2005040470A Expired - Fee Related JP4661257B2 (ja) 2005-02-17 2005-02-17 集電端子及び該端子を備えた蓄電装置

Country Status (1)

Country Link
JP (1) JP4661257B2 (ja)

Cited By (30)

* Cited by examiner, † Cited by third party
Publication number Priority date Publication date Assignee Title
JP2009032670A (ja) * 2007-06-29 2009-02-12 Sanyo Electric Co Ltd 密閉型電池及びその製造方法
JP2009032640A (ja) * 2007-06-27 2009-02-12 Sanyo Electric Co Ltd 密閉電池及びその製造方法
EP2228852A1 (en) * 2009-03-11 2010-09-15 SB LiMotive Co., Ltd. Rechargeable battery comprising current collecting plates with improved structure
EP2346110A1 (en) * 2010-01-12 2011-07-20 SB LiMotive Co., Ltd. Recharcheable battery
CN102148407A (zh) * 2010-02-10 2011-08-10 三洋电机株式会社 方形密闭二次电池及方形密闭二次电池的制造方法
JP2011192517A (ja) * 2010-03-15 2011-09-29 Hitachi Vehicle Energy Ltd 角形電池およびその製造方法
WO2012023392A1 (ja) * 2010-08-19 2012-02-23 株式会社Gsユアサ 集電部材を備える蓄電素子及び集電部材の製造方法
KR101116533B1 (ko) 2010-01-27 2012-02-24 에스비리모티브 주식회사 이차 전지 및 그 제조 방법
CN102403526A (zh) * 2010-07-14 2012-04-04 三洋电机株式会社 方形密封二次电池及其制造方法
WO2012090600A1 (ja) * 2010-12-29 2012-07-05 三洋電機株式会社 角形二次電池及びその製造方法
EP2482366A1 (en) * 2011-01-26 2012-08-01 SB LiMotive Co., Ltd. Secondary Battery
JP2012190636A (ja) * 2011-03-10 2012-10-04 Gs Yuasa Corp 電池および電池の製造方法
WO2012176704A1 (ja) * 2011-06-24 2012-12-27 日立ビークルエナジー株式会社 二次電池
JP2013115030A (ja) * 2011-12-01 2013-06-10 Gs Yuasa Corp 蓄電素子、蓄電素子の製造方法
JP2014022179A (ja) * 2012-07-18 2014-02-03 Toyota Motor Corp 二次電池、及び、二次電池の集電端子構造
JP2015504582A (ja) * 2011-11-25 2015-02-12 シェンゼェン ビーワイディー オート アールアンドディー カンパニーリミテッド 電気コネクタおよびそれを備える電池
KR101495294B1 (ko) * 2011-11-08 2015-02-25 주식회사 엘지화학 전극 탭 보호 장치 및 이를 포함하는 이차 전지
US8968914B2 (en) 2010-07-29 2015-03-03 Sanyo Electric Co., Ltd. Prismatic sealed secondary battery
JP2015056288A (ja) * 2013-09-12 2015-03-23 株式会社Gsユアサ 蓄電素子および蓄電素子の製造方法
JP2015195218A (ja) * 2015-06-19 2015-11-05 三菱自動車工業株式会社 電池
JP2016006793A (ja) * 2015-09-03 2016-01-14 三洋電機株式会社 角形二次電池
JP2016033923A (ja) * 2015-11-02 2016-03-10 三洋電機株式会社 角形二次電池
DE102015209032A1 (de) * 2015-05-18 2016-11-24 Robert Bosch Gmbh Kollektor für ein Batteriesystem
JP2017143063A (ja) * 2011-08-31 2017-08-17 株式会社Gsユアサ 蓄電素子、及び蓄電素子の製造方法
JP2018022696A (ja) * 2011-10-04 2018-02-08 株式会社Gsユアサ 電気化学装置
WO2019088047A1 (ja) * 2017-10-30 2019-05-09 株式会社東芝 電池
WO2021241904A1 (ko) * 2020-05-25 2021-12-02 주식회사 엘지에너지솔루션 배터리 셀 이송 장치
US11289734B2 (en) 2016-07-29 2022-03-29 Sanyo Electric Co., Ltd. Method for producing secondary battery
US11394090B2 (en) 2016-07-29 2022-07-19 Sanyo Electric Co., Ltd. Secondary battery
US11437652B2 (en) 2016-09-30 2022-09-06 Sanyo Electric Co., Ltd. Method of manufacturing square secondary battery

Citations (6)

* Cited by examiner, † Cited by third party
Publication number Priority date Publication date Assignee Title
JP2001006654A (ja) * 1999-06-18 2001-01-12 Ngk Insulators Ltd リチウム二次電池
JP2002170544A (ja) * 2000-11-29 2002-06-14 Yuasa Corp 電 池
JP2003173765A (ja) * 2001-12-05 2003-06-20 Yuasa Corp 密閉形電池
JP2003187778A (ja) * 2001-12-21 2003-07-04 Japan Storage Battery Co Ltd 電 池
JP2004071199A (ja) * 2002-08-02 2004-03-04 Japan Storage Battery Co Ltd 電池
JP2004111300A (ja) * 2002-09-20 2004-04-08 Japan Storage Battery Co Ltd 非水電解質二次電池

Patent Citations (6)

* Cited by examiner, † Cited by third party
Publication number Priority date Publication date Assignee Title
JP2001006654A (ja) * 1999-06-18 2001-01-12 Ngk Insulators Ltd リチウム二次電池
JP2002170544A (ja) * 2000-11-29 2002-06-14 Yuasa Corp 電 池
JP2003173765A (ja) * 2001-12-05 2003-06-20 Yuasa Corp 密閉形電池
JP2003187778A (ja) * 2001-12-21 2003-07-04 Japan Storage Battery Co Ltd 電 池
JP2004071199A (ja) * 2002-08-02 2004-03-04 Japan Storage Battery Co Ltd 電池
JP2004111300A (ja) * 2002-09-20 2004-04-08 Japan Storage Battery Co Ltd 非水電解質二次電池

Cited By (57)

* Cited by examiner, † Cited by third party
Publication number Priority date Publication date Assignee Title
JP2009032640A (ja) * 2007-06-27 2009-02-12 Sanyo Electric Co Ltd 密閉電池及びその製造方法
JP2009032670A (ja) * 2007-06-29 2009-02-12 Sanyo Electric Co Ltd 密閉型電池及びその製造方法
EP2228852A1 (en) * 2009-03-11 2010-09-15 SB LiMotive Co., Ltd. Rechargeable battery comprising current collecting plates with improved structure
CN101834305A (zh) * 2009-03-11 2010-09-15 Sb锂摩托有限公司 可再充电电池
JP2010212241A (ja) * 2009-03-11 2010-09-24 Sb Limotive Co Ltd 2次電池
US8822065B2 (en) 2009-03-11 2014-09-02 Samsung Sdi Co., Ltd. Rechargeable battery with current collector plate
KR101181805B1 (ko) * 2009-03-11 2012-09-11 에스비리모티브 주식회사 이차 전지
US8232000B2 (en) 2010-01-12 2012-07-31 Sb Limotive Co., Ltd. Rechargeable battery with terminal junction and prong
EP2346110A1 (en) * 2010-01-12 2011-07-20 SB LiMotive Co., Ltd. Recharcheable battery
US8765290B2 (en) 2010-01-12 2014-07-01 Samsung Sdi Co., Ltd. Rechargeable battery with terminal junction and prong
US8614015B2 (en) 2010-01-27 2013-12-24 Samsung Sdi Co., Ltd. Secondary battery and method of manufacturing secondary battery
KR101116533B1 (ko) 2010-01-27 2012-02-24 에스비리모티브 주식회사 이차 전지 및 그 제조 방법
US8815426B2 (en) 2010-02-10 2014-08-26 Sanyo Electric Co., Ltd. Prismatic sealed secondary cell and method of manufacturing the same
CN102148407A (zh) * 2010-02-10 2011-08-10 三洋电机株式会社 方形密闭二次电池及方形密闭二次电池的制造方法
JP2011165515A (ja) * 2010-02-10 2011-08-25 Sanyo Electric Co Ltd 角形密閉二次電池及び角形密閉二次電池の製造方法
JP2011192517A (ja) * 2010-03-15 2011-09-29 Hitachi Vehicle Energy Ltd 角形電池およびその製造方法
US8986874B2 (en) 2010-03-15 2015-03-24 Hitachi Automotive Systems, Ltd. Prismatic cell and production method for the same
CN102403526A (zh) * 2010-07-14 2012-04-04 三洋电机株式会社 方形密封二次电池及其制造方法
US10756324B2 (en) 2010-07-29 2020-08-25 Sanyo Electric Co., Ltd. Prismatic sealed secondary battery
US9871230B2 (en) 2010-07-29 2018-01-16 Sanyo Electric Co., Ltd. Prismatic sealed secondary battery
US8968914B2 (en) 2010-07-29 2015-03-03 Sanyo Electric Co., Ltd. Prismatic sealed secondary battery
US8828590B2 (en) 2010-08-19 2014-09-09 Gs Yuasa International Ltd. Electric storage device provided with current collecting member, and method for manufacturing current collecting member
KR101858482B1 (ko) 2010-08-19 2018-05-16 가부시키가이샤 지에스 유아사 집전 부재를 구비하는 축전 소자 및 집전 부재의 제조 방법
JPWO2012023392A1 (ja) * 2010-08-19 2013-10-28 株式会社Gsユアサ 集電部材を備える蓄電素子及び集電部材の製造方法
WO2012023392A1 (ja) * 2010-08-19 2012-02-23 株式会社Gsユアサ 集電部材を備える蓄電素子及び集電部材の製造方法
US9123475B2 (en) 2010-08-19 2015-09-01 Gs Yuasa International Ltd. Electric storage device provided with current collecting member, and method for manufacturing current collecting member
US20120258342A1 (en) * 2010-08-19 2012-10-11 Masakazu Tstsumi Electric storage device provided with current collecting member, and method for manufacturing current collecting member
US20150024244A1 (en) * 2010-08-19 2015-01-22 Gs Yuasa International Ltd. Electric storage device provided with current collecting member, and method for manufacturing current collecting member
CN102668177A (zh) * 2010-08-19 2012-09-12 株式会社杰士汤浅国际 具备集电部件的蓄电元件及集电部件的制造方法
WO2012090600A1 (ja) * 2010-12-29 2012-07-05 三洋電機株式会社 角形二次電池及びその製造方法
US8741475B2 (en) 2011-01-26 2014-06-03 Samsung Sdi Co., Ltd. Secondary battery
EP2482366A1 (en) * 2011-01-26 2012-08-01 SB LiMotive Co., Ltd. Secondary Battery
JP2012190636A (ja) * 2011-03-10 2012-10-04 Gs Yuasa Corp 電池および電池の製造方法
WO2012176704A1 (ja) * 2011-06-24 2012-12-27 日立ビークルエナジー株式会社 二次電池
US9252453B2 (en) 2011-06-24 2016-02-02 Hitachi Automotive Systems, Ltd. Rechargeable battery
JP2013008559A (ja) * 2011-06-24 2013-01-10 Hitachi Vehicle Energy Ltd 二次電池
JP2017143063A (ja) * 2011-08-31 2017-08-17 株式会社Gsユアサ 蓄電素子、及び蓄電素子の製造方法
JP2018022696A (ja) * 2011-10-04 2018-02-08 株式会社Gsユアサ 電気化学装置
KR101495294B1 (ko) * 2011-11-08 2015-02-25 주식회사 엘지화학 전극 탭 보호 장치 및 이를 포함하는 이차 전지
JP2015504582A (ja) * 2011-11-25 2015-02-12 シェンゼェン ビーワイディー オート アールアンドディー カンパニーリミテッド 電気コネクタおよびそれを備える電池
JP2013115030A (ja) * 2011-12-01 2013-06-10 Gs Yuasa Corp 蓄電素子、蓄電素子の製造方法
JP2014022179A (ja) * 2012-07-18 2014-02-03 Toyota Motor Corp 二次電池、及び、二次電池の集電端子構造
JP2015056288A (ja) * 2013-09-12 2015-03-23 株式会社Gsユアサ 蓄電素子および蓄電素子の製造方法
DE102015209032A1 (de) * 2015-05-18 2016-11-24 Robert Bosch Gmbh Kollektor für ein Batteriesystem
JP2015195218A (ja) * 2015-06-19 2015-11-05 三菱自動車工業株式会社 電池
JP2016006793A (ja) * 2015-09-03 2016-01-14 三洋電機株式会社 角形二次電池
JP2016033923A (ja) * 2015-11-02 2016-03-10 三洋電機株式会社 角形二次電池
US11289734B2 (en) 2016-07-29 2022-03-29 Sanyo Electric Co., Ltd. Method for producing secondary battery
US11394090B2 (en) 2016-07-29 2022-07-19 Sanyo Electric Co., Ltd. Secondary battery
US11942662B2 (en) 2016-07-29 2024-03-26 Sanyo Electric Co., Ltd. Secondary battery comprising a current collector comprising a current collector protrusion and a current collector opening
US11437652B2 (en) 2016-09-30 2022-09-06 Sanyo Electric Co., Ltd. Method of manufacturing square secondary battery
US11715846B2 (en) 2016-09-30 2023-08-01 Sanyo Electric Co., Ltd. Method of manufacturing square secondary battery
US12308393B2 (en) 2016-09-30 2025-05-20 Sanyo Electric Co., Ltd. Method of manufacturing square secondary battery
JPWO2019088047A1 (ja) * 2017-10-30 2020-04-16 株式会社東芝 電池
CN110959206A (zh) * 2017-10-30 2020-04-03 株式会社东芝 电池
WO2019088047A1 (ja) * 2017-10-30 2019-05-09 株式会社東芝 電池
WO2021241904A1 (ko) * 2020-05-25 2021-12-02 주식회사 엘지에너지솔루션 배터리 셀 이송 장치

Also Published As

Publication number Publication date
JP4661257B2 (ja) 2011-03-30

Similar Documents

Publication Publication Date Title
JP4661257B2 (ja) 集電端子及び該端子を備えた蓄電装置
KR101244549B1 (ko) 각형 전지
US8815426B2 (en) Prismatic sealed secondary cell and method of manufacturing the same
JP5858158B2 (ja) 二次電池の集電構造
JP5699909B2 (ja) 二次電池用電極体及び二次電池並びに車両
US20180026308A1 (en) Layered cell and method of manufacturing the same
JP6582443B2 (ja) 二次電池及びその製造方法
US11121439B2 (en) Secondary battery
KR101484437B1 (ko) 2차 전지
JPWO2013111256A1 (ja) 二次電池
US20150188116A1 (en) Joint structure, joining method, secondary battery, and method of manufacturing secondary battery
JPWO2009031442A1 (ja) 積層型電池
CN103797616B (zh) 方形电池
US20190260086A1 (en) Secondary battery
JP7455032B2 (ja) 電池
KR20180032083A (ko) 이차전지
JP5699955B2 (ja) 蓄電装置及び車両
CN108028347A (zh) 能量储存装置和能量储存装置生产方法
WO2018062231A1 (ja) 角形二次電池
JP2015118773A (ja) 二次電池モジュール
JP2004241150A (ja) 電池
JP5621759B2 (ja) 蓄電装置用電極体及び蓄電装置並びに車両
WO2009048303A2 (en) Electrochemical cell
JP2013239266A (ja) 電池および電池の製造方法
JP2014222620A (ja) 角形二次電池

Legal Events

Date Code Title Description
A621 Written request for application examination

Free format text: JAPANESE INTERMEDIATE CODE: A621

Effective date: 20070425

A977 Report on retrieval

Free format text: JAPANESE INTERMEDIATE CODE: A971007

Effective date: 20100402

A131 Notification of reasons for refusal

Free format text: JAPANESE INTERMEDIATE CODE: A131

Effective date: 20100727

A521 Request for written amendment filed

Free format text: JAPANESE INTERMEDIATE CODE: A523

Effective date: 20100902

TRDD Decision of grant or rejection written
A01 Written decision to grant a patent or to grant a registration (utility model)

Free format text: JAPANESE INTERMEDIATE CODE: A01

Effective date: 20101207

A01 Written decision to grant a patent or to grant a registration (utility model)

Free format text: JAPANESE INTERMEDIATE CODE: A01

A61 First payment of annual fees (during grant procedure)

Free format text: JAPANESE INTERMEDIATE CODE: A61

Effective date: 20101220

FPAY Renewal fee payment (event date is renewal date of database)

Free format text: PAYMENT UNTIL: 20140114

Year of fee payment: 3

LAPS Cancellation because of no payment of annual fees