JP2005299975A - 空気調和機の室内機 - Google Patents

空気調和機の室内機 Download PDF

Info

Publication number
JP2005299975A
JP2005299975A JP2004113982A JP2004113982A JP2005299975A JP 2005299975 A JP2005299975 A JP 2005299975A JP 2004113982 A JP2004113982 A JP 2004113982A JP 2004113982 A JP2004113982 A JP 2004113982A JP 2005299975 A JP2005299975 A JP 2005299975A
Authority
JP
Japan
Prior art keywords
indoor unit
air conditioner
casing
front panel
panel
Prior art date
Legal status (The legal status is an assumption and is not a legal conclusion. Google has not performed a legal analysis and makes no representation as to the accuracy of the status listed.)
Granted
Application number
JP2004113982A
Other languages
English (en)
Other versions
JP3714354B2 (ja
Inventor
Yuichi Murai
雄一 村井
Current Assignee (The listed assignees may be inaccurate. Google has not performed a legal analysis and makes no representation or warranty as to the accuracy of the list.)
Daikin Industries Ltd
Original Assignee
Daikin Industries Ltd
Priority date (The priority date is an assumption and is not a legal conclusion. Google has not performed a legal analysis and makes no representation as to the accuracy of the date listed.)
Filing date
Publication date
Priority to JP2004113982A priority Critical patent/JP3714354B2/ja
Application filed by Daikin Industries Ltd filed Critical Daikin Industries Ltd
Priority to RU2006139144/06A priority patent/RU2327932C1/ru
Priority to KR1020067019741A priority patent/KR100750785B1/ko
Priority to PCT/JP2005/006915 priority patent/WO2005098319A1/ja
Priority to US10/594,712 priority patent/US7716944B2/en
Priority to EP05728504.1A priority patent/EP1752713B1/en
Priority to ES05728504.1T priority patent/ES2650187T3/es
Priority to AU2005231286A priority patent/AU2005231286B2/en
Priority to CNB200580010175XA priority patent/CN100455912C/zh
Publication of JP2005299975A publication Critical patent/JP2005299975A/ja
Application granted granted Critical
Publication of JP3714354B2 publication Critical patent/JP3714354B2/ja
Anticipated expiration legal-status Critical
Expired - Fee Related legal-status Critical Current

Links

Images

Classifications

    • FMECHANICAL ENGINEERING; LIGHTING; HEATING; WEAPONS; BLASTING
    • F24HEATING; RANGES; VENTILATING
    • F24FAIR-CONDITIONING; AIR-HUMIDIFICATION; VENTILATION; USE OF AIR CURRENTS FOR SCREENING
    • F24F1/00Room units for air-conditioning, e.g. separate or self-contained units or units receiving primary air from a central station
    • F24F1/0007Indoor units, e.g. fan coil units
    • F24F1/0011Indoor units, e.g. fan coil units characterised by air outlets
    • FMECHANICAL ENGINEERING; LIGHTING; HEATING; WEAPONS; BLASTING
    • F24HEATING; RANGES; VENTILATING
    • F24FAIR-CONDITIONING; AIR-HUMIDIFICATION; VENTILATION; USE OF AIR CURRENTS FOR SCREENING
    • F24F1/00Room units for air-conditioning, e.g. separate or self-contained units or units receiving primary air from a central station
    • FMECHANICAL ENGINEERING; LIGHTING; HEATING; WEAPONS; BLASTING
    • F24HEATING; RANGES; VENTILATING
    • F24FAIR-CONDITIONING; AIR-HUMIDIFICATION; VENTILATION; USE OF AIR CURRENTS FOR SCREENING
    • F24F1/00Room units for air-conditioning, e.g. separate or self-contained units or units receiving primary air from a central station
    • F24F1/0007Indoor units, e.g. fan coil units
    • F24F1/0043Indoor units, e.g. fan coil units characterised by mounting arrangements
    • F24F1/0057Indoor units, e.g. fan coil units characterised by mounting arrangements mounted in or on a wall
    • FMECHANICAL ENGINEERING; LIGHTING; HEATING; WEAPONS; BLASTING
    • F24HEATING; RANGES; VENTILATING
    • F24FAIR-CONDITIONING; AIR-HUMIDIFICATION; VENTILATION; USE OF AIR CURRENTS FOR SCREENING
    • F24F13/00Details common to, or for air-conditioning, air-humidification, ventilation or use of air currents for screening
    • FMECHANICAL ENGINEERING; LIGHTING; HEATING; WEAPONS; BLASTING
    • F24HEATING; RANGES; VENTILATING
    • F24FAIR-CONDITIONING; AIR-HUMIDIFICATION; VENTILATION; USE OF AIR CURRENTS FOR SCREENING
    • F24F13/00Details common to, or for air-conditioning, air-humidification, ventilation or use of air currents for screening
    • F24F13/20Casings or covers
    • FMECHANICAL ENGINEERING; LIGHTING; HEATING; WEAPONS; BLASTING
    • F24HEATING; RANGES; VENTILATING
    • F24FAIR-CONDITIONING; AIR-HUMIDIFICATION; VENTILATION; USE OF AIR CURRENTS FOR SCREENING
    • F24F11/00Control or safety arrangements
    • F24F11/50Control or safety arrangements characterised by user interfaces or communication
    • F24F11/56Remote control

Landscapes

  • Engineering & Computer Science (AREA)
  • Chemical & Material Sciences (AREA)
  • Combustion & Propulsion (AREA)
  • Mechanical Engineering (AREA)
  • General Engineering & Computer Science (AREA)
  • Air Filters, Heat-Exchange Apparatuses, And Housings Of Air-Conditioning Units (AREA)
  • Air-Flow Control Members (AREA)
  • Air-Conditioning Room Units, And Self-Contained Units In General (AREA)

Abstract

【課題】 美観を向上させることができる空気調和機の室内機を提供する。
【解決手段】 空気調和機の室内機1は、室内機ケーシング2と、水平フラップ3と、正面パネル4とを備える。室内機ケーシング2は、室内へと吹き出される空気が通る吹出し口20を有する。水平フラップ3は、吹出し口20を開閉自在に設けられ、吹出し口20から吹き出される空気を案内する。正面パネル4は、閉状態において、室内機ケーシング2の少なくとも一部と、吹出し口20を閉じる水平フラップ3の少なくとも一端とを覆う。
【選択図】 図3

Description

本発明は、空気調和機の室内機に関する。
空気調和機の室内機は、室内へと吹き出される空気が通る吹出し口を有するケーシングと、吹出し口から吹き出される空気を案内するフラップとを備えることが多い。このフラップは、吹出し口を開閉自在に設けられ、閉状態においては吹出し口を閉じるように設けられる(特許文献1参照)。
特開2003−130382号公報(第1図)
しかし、フラップが吹出し口を閉じた状態においては、フラップと吹出し口との間に境界線が生じる。従来、この境界線は、空気調和機の室内機の外観に表れており、室内の居住者等の目に触れ易い。このため、この境界線が意匠上のノイズとなり空気調和機の室内機のインテリア性を低下させるなど美観を損なう要因となっている。
本発明の課題は、美観を向上させることができる空気調和機の室内機を提供することにある。
第1発明に係る空気調和機の室内機は、ケーシングと、フラップと、正面パネルとを備える。ケーシングは、室内へと吹き出される空気が通る吹出し口を有する。フラップは、吹出し口を開閉自在に設けられ、吹出し口から吹き出される空気を案内する。正面パネルは、閉状態において、ケーシングの少なくとも一部と、吹出し口を閉じるフラップの少なくとも一端とを覆う。
この空気調和機の室内機では、正面パネルが、ケーシングの少なくとも一部と、吹出し口を閉じるフラップの少なくとも一端とを覆うことによって、フラップと吹出し口との境界線を隠蔽して外部から見え難くすることができる。このため、この空気調和機の室内機では、境界線によって美観が損なわれることを抑えることができ、美観を向上させることができる。
第2発明に係る空気調和機の室内機は、第1発明の空気調和機の室内機であって、フラップは細長い形状を有する。そして、正面パネルは、少なくともフラップの長辺をなす一端を覆う。
この空気調和機の室内機では、正面パネルは、少なくともフラップの長辺をなす一端を覆うため、外見上、目に付き易いフラップの長辺をなす一端と吹出し口との境界線を隠蔽することができる。これにより、この空気調和機の室内機では、美観をより向上させることができる。
第3発明に係る空気調和機の室内機は、第1発明または第2発明の空気調和機の室内機であって、吹出し口を閉じるフラップとケーシングとの間には、フラップを動作可能とするための隙間が設けられている。そして、正面パネルは、閉状態においてこの隙間を覆う。
フラップによって吹出し口を開閉する場合、フラップを動作可能とするため隙間が設けられることがある。すなわち、動作するフラップがケーシングと接触することを防止するために、フラップとケーシングとの間に比較的大きな隙間が設けられる。
この空気調和機の室内機では、正面パネルは、閉状態においてこの隙間を覆うため、美観を損なう要因となる恐れの高い隙間を隠蔽することができる。これにより、この空気調和機の室内機では、フラップの動作を容易にすると共に美観をより向上させることができる。
第4発明に係る空気調和機の室内機は、第1発明から第3発明のいずれかの空気調和機の室内機であって、吹出し口はケーシングの下部に設けられている。そして、正面パネルは、閉状態において少なくともフラップの上端に重なる。
この空気調和機の室内機では、正面パネルは、閉状態において少なくともフラップの上端に重なる。このため、フラップの上端とケーシングとの間の隙間が正面パネルによって隠蔽される。これにより、この空気調和機の室内機では、フラップの上端とケーシングとの間の隙間によって美観が損なわれることを抑えることができ、美観をより向上させることができる。
第5発明に係る空気調和機の室内機は、第1発明から第4発明のいずれかの空気調和機の室内機であって、正面パネルは、閉状態において、フラップの少なくとも一端と、ケーシング内へ取り込まれる空気が通る吸込み口とを覆う。
この空気調和機の室内機では、正面パネルは、閉状態において、フラップの一端だけではなく吸込み口も覆う。このため、閉状態において、吸込み口も隠蔽することができる。これにより、この空気調和機の室内機では、美観をより向上させることができる。
第6発明に係る空気調和機の室内機は、第5発明の空気調和機の室内機であって、正面パネルは、フラップの少なくとも一端を覆う第1パネル部と、吸込み口を覆う第2パネル部とを有する。また、第1パネル部と第2パネル部とは一体化されている。
この空気調和機の室内機では、第1パネル部と第2パネル部とが一体化されている正面パネルによって、フラップの少なくとも一端および吸込み口を覆うことができる。従って、第1パネル部と第2パネル部とが別体とされる場合と比べて、部品構成を簡素化することができる。
第7発明に係る空気調和機の室内機は、第6発明の空気調和機の室内機であって、ケーシングは、第1ケーシング面と第2ケーシング面とを有する。第1ケーシング面には、吹出し口が設けられる。第2ケーシング面には、吸込み口が設けられ、第2ケーシング面は、第1ケーシング面に対して所定角度をなす。そして、第1パネル部と第2パネル部とは、閉状態において第1ケーシング面および第2ケーシング面に沿うように所定角度で一体化されている。
この空気調和機の室内機では、第1パネル部と第2パネル部とは、閉状態において第1ケーシング面および第2ケーシング面に沿うように所定角度で一体化されている。このため、正面パネルは、第1ケーシング面と第2ケーシング面とに沿った形状となっており、フラップの少なくとも一端および吸込み口を共に覆うことができる。
第8発明に係る空気調和機の室内機は、第7発明の空気調和機の室内機であって、正面パネルは、第1パネル部が第1ケーシング面に沿って移動すると共に第2パネル部が第2ケーシング面から離れるように移動することによって、吹出し口および吸込み口を開く。
この空気調和機の室内機では、正面パネルは、第1パネル部が第1ケーシング面に沿って移動すると共に第2パネル部が第2ケーシング面から離れるように移動することによって、吹出し口および吸込み口を開く。第1パネル部および第2パネル部が別体とされている場合には、吹出し口および吸込み口の開閉動作が複雑なものとなり易いが、この空気調和機の室内機では、一体化された正面パネルが上記のように移動することによって、吹出し口および吸込み口を簡易に開くことができる。これにより、この空気調和機の室内機では、正面パネルの簡易な動作によって、吹出し口及び吸込み口を開くことができる。
第9発明に係る空気調和機の室内機は、第8発明の空気調和機の室内機であって、第1パネル部は、正面パネルが吹出し口および吸込み口を開いた開状態において第2パネル部と第2ケーシング面との間を塞ぐ。
この空気調和機の室内機では、第1パネル部が、開状態において第2パネル部と第2ケーシングとの間を塞ぐことができる。これにより、この空気調和機の室内機では、吹出し口から吹き出された空気が第2パネル部と第2ケーシングとの間を通って吸込み口から吸い込まれることを抑えることができる。
第10発明に係る空気調和機の室内機は、第1発明から第9発明のいずれかの空気調和機の室内機であって、吹出し口は、ケーシングの幅方向に細長い形状を有する。そして、正面パネルは、幅方向に吹出し口よりも長い形状を有する。
この空気調和機の室内機では、正面パネルは、幅方向に吹出し口よりも長い形状を有する。このため、正面パネルによって、フラップと吹出し口との境界線をより広範囲に亘って隠蔽することができる。これにより、この空気調和機の室内機では、美観をより向上させることができる。
第11発明に係る空気調和機の室内機は、第10発明の空気調和機の室内機であって、正面パネルは、ケーシングの幅と略同じ幅を有する。
この空気調和機の室内機では、正面パネルは、ケーシングの幅と略同じ幅を有する。このため、正面パネルによって、ケーシングの表面に現れる美観を妨げる恐れのある要素をより広範囲に亘って隠蔽することができる。これにより、この空気調和機の室内機では、美観をより向上させることができる。
第12発明に係る空気調和機の室内機は、第1発明から第11発明のいずれかの空気調和機の室内機であって、正面パネルは正面視において上下方向に伸びる継ぎ目を有さない。
この空気調和機の室内機では、正面パネルは正面視において上下方向に伸びる継ぎ目を有さない。従って、この空気調和機の室内機では、外観上美観を妨げる恐れのある要素がより少なくなっている。これにより、この空気調和機の室内機では、美観をより向上させることができる。
第1発明に係る空気調和機の室内機では、正面パネルが、フラップと吹出し口との境界線を隠蔽して外部から見え難くすることができる。このため、この空気調和機の室内機では、境界線によって美観が損なわれることを抑えることができ、美観を向上させることができる。
第2発明に係る空気調和機の室内機では、正面パネルは、外見上、目に付き易いフラップの長辺をなす一端と吹出し口との境界線を隠蔽することができる。これにより、この空気調和機の室内機では、美観をより向上させることができる。
第3発明に係る空気調和機の室内機では、正面パネルは、美観を損なう要因となる恐れの高い隙間を隠蔽することができる。これにより、この空気調和機の室内機では、フラップの動作を容易にすると共に美観をより向上させることができる。
第4発明に係る空気調和機の室内機では、フラップの上端とケーシングとの間の隙間が正面パネルによって隠蔽される。これにより、この空気調和機の室内機では、フラップの上端とケーシングとの間の隙間によって美観が損なわれることを抑えることができ、美観をより向上させることができる。
第5発明に係る空気調和機の室内機では、正面パネルは、閉状態において、吸込み口も隠蔽することができる。これにより、この空気調和機の室内機では、美観をより向上させることができる。
第6発明に係る空気調和機の室内機では、第1パネル部と第2パネル部とが一体化されている正面パネルによって、フラップの少なくとも一端および吸込み口を覆うことができる。従って、第1パネル部と第2パネル部とが別体とされる場合と比べて、部品構成を簡素化することができる。
第7発明に係る空気調和機の室内機では、正面パネルは、第1ケーシング面と第2ケーシング面とに沿った形状となっており、フラップの少なくとも一端および吸込み口を共に覆うことができる。
第8発明に係る空気調和機の室内機では、一体化された正面パネルが移動することによって、吹出し口および吸込み口を簡易に開くことができる。これにより、この空気調和機の室内機では、正面パネルの簡易な動作によって、吹出し口及び吸込み口を開くことができる。
第9発明に係る空気調和機の室内機では、吹出し口から吹き出された空気が第2パネル部と第2ケーシングとの間を通って吸込み口から吸い込まれることを抑えることができる。
第10発明に係る空気調和機の室内機では、正面パネルによって、フラップと吹出し口との境界線をより広範囲に亘って隠蔽することができる。これにより、この空気調和機の室内機では、美観をより向上させることができる。
第11発明に係る空気調和機の室内機では、正面パネルによって、ケーシングの表面に現れる美観を妨げる恐れのある要素をより広範囲に亘って隠蔽することができる。これにより、この空気調和機の室内機では、美観をより向上させることができる。
第12発明に係る空気調和機の室内機では、外観上美観を妨げる恐れのある要素がより少なくなっている。これにより、この空気調和機の室内機では、美観をより向上させることができる。
<構成>
本発明の一実施形態にかかる空気調和機の室内機1を図1および図2に示す。図1は空気調和機の室内機1の正面図であり、図2は空気調和機の室内機1の側面図である。この空気調和機の室内機1は、室内の壁面に取り付けられる壁掛け型室内機であり、室内の冷暖房等の空気調和を行う。この空気調和機の室内機1は、室内機ケーシング2(ケーシング)と、水平フラップ3(フラップ)と、正面パネル4とを備えている。
[室内機ケーシング]
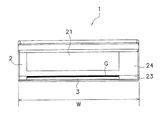
室内機ケーシング2は、図1に示すように、正面視において水平方向に長い長方形形状を有しており、図示しない室内熱交換器、室内ファン、制御部品などを収容する。室内機ケーシング2の正面には、正面パネル4が取り付けられている。正面パネル4については、後に詳細に説明する。室内機ケーシング2には、図3に示すように、吹出し口20、第1吸込み口21(吸込み口)および第2吸込み口22が設けられている。なお、図3は、室内機1の側面断面図である。
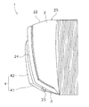
吹出し口20は、室内へと吹き出される空気が通る開口であり、第1ケーシング面23に設けられている。第1ケーシング面23は、図2に示すように、室内機ケーシング2の底面の前側部分を構成しており、吹出し口20は、室内機ケーシング2の下部に設けられている。第1ケーシング面23は、前端が上方に位置するように傾斜している。吹出し口20は、室内機ケーシング2の幅W方向(室内機ケーシング2の長手方向、図1参照)に細長い形状を有しており、水平フラップ3が設けられる。
図3に示す第1吸込み口21は、室内機ケーシング2内へと取り込まれる空気が通る開口であり、第2ケーシング面24に設けられている。第2ケーシング面24は、図2に示すように、室内機ケーシング2の正面を構成しており、第1吸込み口21は、室内機ケーシング2の正面に設けられる。第2ケーシング面24は、上下方向に伸びる略平坦な形状となっているが、上端が前方に位置するように僅かに傾斜している。第2ケーシング面24の下端は、第1ケーシング面23の上端と連続しており、第2ケーシング面24は、第1ケーシング面23に対して所定角度をなしている。すなわち、第1ケーシング面23と第2ケーシング面24とは、屈曲した形状となっており、90度以上180度未満の比較的緩やかな角度をなしている。
第2吸込み口22は、室内機ケーシング2内へと取り込まれる空気が通る開口であり、図4に示すように、室内機ケーシング2の天面25に設けられている。第2吸込み口22は、室内機ケーシング2の幅W方向に伸びる複数のスリットによって構成されている。
[水平フラップ]
水平フラップ3は、吹出し口20を開閉自在に設けられ、吹出し口20から吹き出される空気を案内する。水平フラップ3は、室内機ケーシング2の幅W方向に細長い略長方形形状を有し、室内機ケーシング2の幅W方向に平行な軸を中心に回動自在に吹出し口20に設けられる。水平フラップ3は、吹出し口20よりも僅かに小さい形状を有するが、図5に示すように、吹出し口20を閉じる水平フラップ3の上端と室内機ケーシング2との間には、隙間Gが設けられている。この隙間Gが設けられることによって、水平フラップ3は、吹出し口20において制限少なく回動可能となっている。なお、図5は、正面パネル4を取り外した状態における室内機1の正面図である。
[正面パネル]
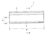
正面パネル4は、第1吸込み口21を開閉すると共に、閉状態において、室内機ケーシング2の少なくとも一部と、吹出し口20を閉じる水平フラップ3の少なくとも一端とを覆う。具体的には、正面パネル4は、図2および図3に示すように、水平フラップ3の長辺をなす上端近傍、第1ケーシング面23および第2ケーシング面24の途中までの部分に外側から重なる。従って、正面パネル4は、閉状態において、上述した水平フラップ3の上端と吹出し口20との間の隙間Gを覆う。正面パネル4は、室内機ケーシング2の第1ケーシング面23および第2ケーシング面24の屈曲に沿うように屈曲した形状を有している。正面パネル4は、室内機ケーシング2の幅W方向に吹出し口20よりも長い形状を有しており、室内機ケーシング2の幅Wと略同じ幅Wを有する。また、正面パネル4は、図1に示すように、正面視において上下方向に伸びる継ぎ目を有さない。正面パネル4は、第1パネル部41と第2パネル部42とを有する。
第1パネル部41は、正面パネル4の閉状態において、水平フラップ3の上端を覆う部分である。第1パネル部41は、正面パネル4の下部を構成している。
第2パネル部42は、正面パネル4の閉状態において、第1吸込み口21を覆う部分である。第2パネル部42は、正面パネル4の上部を構成している。
第1パネル部41の上端と第2パネル部42の下端とは連続しており、第1パネル部41と第2パネル部42とは、正面パネル4の閉状態において、第1ケーシング面23および第2ケーシング面24に沿うように所定角度で一体化されている。
なお、正面パネル4は、両側端をそれぞれ支持板43,44によって支持されている(図7参照)。2つの支持板43,44は、室内機ケーシング2の両側端に設けられており、それぞれ前後に移動可能に設けられている。これらの支持板43,44が移動することによって正面パネル4が移動する。
<開閉動作>
次に、正面パネル4の開閉動作について図6に基づいて詳細に説明する。
空気調和機の室内機1は、運転停止時に、水平フラップ3によって吹出し口20をと実と共に正面パネルを閉状態とする。正面パネル4は、閉状態において、図6(a)に示すように、第1吸込み口21を覆うと共に水平フラップ3の上端を覆う。この閉状態において、第1パネル部41は、水平フラップ3の上端、水平フラップ3の上端と吹出し口20との間の隙間Gおよび第1ケーシング面23の吹出し口20近傍を覆う。また、第2パネル部42は、第2ケーシング面24を覆う。正面パネル4は、屈曲した形状を有しており、閉状態では、第1ケーシング面23および第2ケーシング面24に沿って、第1ケーシング面23および第2ケーシング面24に近接した状態となる。これにより、室内機1の運転停止時に、水平フラップ3の上端から第1吸込み口21までの部分が外部から隠蔽される。
次に、空気調和機の室内機1は、運転開始時に、正面パネルを開状態とする。正面パネル4は、図6(b)に示すように、斜め上前方へと移動することにより開状態となる(矢印A1参照)。このとき、第1パネル部41が第1ケーシング面23に沿って斜め上前方へと移動すると共に第2パネル部42が第2ケーシング面24から離れるように斜め上前方へと移動することによって、正面パネル4は吹出し口20および第1吸込み口21を開く。このとき、第1パネル部41は、下端が吹出し口20の上端を越える位置まで移動して第1パネル部41が吹出し口20からの吹き出しを妨げないようにされると共に、第1パネル部41が第2パネル部42と第2ケーシング面24との間の下部を塞ぐ。そして、図6(c)に示すように、吹出し口20を閉じていた水平フラップ3が回動することによって、吹出し口20が開かれる。また、この状態においては、図7に示すように、第2パネル部42と第2ケーシング面24との間の上部は開かれており、第1吸込み口21から取り込まれる空気が通ることができる。なお、開状態においては、第2パネル部42と第2ケーシング面24との間の両側部は支持板43,44によって塞がれており、この支持板43,44が目隠し板となって外部から第1吸込み口21を通して室内機ケーシング2の内部が見えないようにされている。
室内機1の運転停止時には、水平フラップ3が回動して吹出し口20を閉じた後、正面パネル4が上記とは逆に移動して、水平フラップ3の上端から第1吸込み口21までの部分が再び外部から隠蔽される。
<特徴>
(1)
この空気調和機の室内機1では、運転停止時において、水平フラップ3の上端から第1吸込み口21までの部分が正面パネル4によって隠蔽される。このため、水平フラップ3を回動可能とするための比較的大きな隙間Gが外部から見え難くなる。これにより、この空気調和機の室内機1では、インテリア性が向上するなど美観が向上している。
また、上記のような正面パネル4が設けられていない場合にこのような隙間Gを正面に露出させないためには、隙間Gを小さくすることが必要となるが、この場合、水平フラップ3の回転方向に制限ができる。しかし、この空気調和機の室内機1では、そのような水平フラップ3の回転方向の制限が緩和されている。
(2)
この空気調和機の室内機1では、上述したように、水平フラップ3を回動可能とするための比較的大きな隙間Gが正面パネル4によって覆われる。このため、室内機1の運転停止における室内機ケーシング2内の密閉度が向上している。
また、室内機1の運転停止時において、隙間Gから虫などの小動物や埃などの室内機ケーシング2の内部への侵入を防止することができる。
(3)
この空気調和機の室内機1では、隙間Gを隠蔽するための第1パネル部41と第1吸込み口21を覆うための第2パネル部42とが一体化された正面パネル4によって、第1吸込み口21と水平フラップ3の上端との隠蔽が行われる。このため、第1パネル部41と第2パネル部42とが別々に動作する場合と比べて、簡素な動作によって吹出し口20および第1吸込み口21の開閉を行うことができる。
(4)
この空気調和機の室内機1では、正面パネル4が屈曲した形状となっている。このため、正面パネル4が斜め上前方へと移動することによって、第1パネル部41が、第2パネル部42と第2ケーシング面24との間の下端を塞ぐ状態となる。このため、開状態において、吹出し口20から吹き出された空気が、第2パネル部42と第2ケーシング面24との間の下部を通って再び第1吸込み口21から吸い込まれるショートサーキットの発生を防止することができる。また、ショートサーキットが防止されるため、正面パネル4を比較的大きく移動させることができ、第2パネル部42と第2ケーシング面24との間の上部に設けられる開口の面積を大きく確保することができる。
<他の実施形態>
上記の実施形態では、円滑な開閉動作のために正面パネル4の下端の長さが短くなっており、水平フラップ3の下端近傍は正面パネル4によって覆われていない。しかし、美観向上の観点からは、正面パネル4が水平フラップ3の全体を覆うものであってもよい。
本発明は、美観を向上させることができる効果を有し、空気調和機の室内機として有用である。
空気調和機の室内機の正面図。 空気調和機の室内機の側面図。 空気調和機の室内機の側面断面図。 閉状態における空気調和機の室内機の外観斜視図。 正面パネルが取り外された空気調和機の室内機の正面図。 空気調和機の室内機の正面パネルの開閉動作を示す図。 開状態における空気調和機の室内機の外観斜視図。
符号の説明
1 空気調和機の室内機
2 室内機ケーシング(ケーシング)
3 水平フラップ(フラップ)
4 正面パネル
20 吹出し口
21 第1吸込み口(吸込み口)
23 第1ケーシング面
24 第2ケーシング面
41 第1パネル部
42 第2パネル部
G 隙間
W ケーシングの幅
本発明は、空気調和機の室内機に関する。
空気調和機の室内機は、室内へと吹き出される空気が通る吹出し口を有するケーシングと、吹出し口から吹き出される空気を案内するフラップとを備えることが多い。このフラップは、吹出し口を開閉自在に設けられ、閉状態においては吹出し口を閉じるように設けられる(特許文献1参照)。
特開2003−130382号公報(第1図)
しかし、フラップが吹出し口を閉じた状態においては、フラップと吹出し口との間に境界線が生じる。従来、この境界線は、空気調和機の室内機の外観に表れており、室内の居住者等の目に触れ易い。このため、この境界線が意匠上のノイズとなり空気調和機の室内機のインテリア性を低下させるなど美観を損なう要因となっている。
本発明の課題は、美観を向上させることができる空気調和機の室内機を提供することにある。
第1発明に係る空気調和機の室内機は、ケーシングと、フラップと、正面パネルとを備える。ケーシングは、室内へと吹き出される空気が通る吹出し口を有する。フラップは、吹出し口を開閉自在に設けられ、吹出し口から吹き出される空気を案内する。正面パネルは、閉状態において、ケーシングの少なくとも一部と、吹出し口を閉じるフラップの少なくとも一端とを覆う。
この空気調和機の室内機では、正面パネルが、ケーシングの少なくとも一部と、吹出し口を閉じるフラップの少なくとも一端とを覆うことによって、フラップと吹出し口との境界線を隠蔽して外部から見え難くすることができる。このため、この空気調和機の室内機では、境界線によって美観が損なわれることを抑えることができ、美観を向上させることができる。
第2発明に係る空気調和機の室内機は、第1発明の空気調和機の室内機であって、フラップは細長い形状を有する。そして、正面パネルは、少なくともフラップの長辺をなす一端を覆う。
この空気調和機の室内機では、正面パネルは、少なくともフラップの長辺をなす一端を覆うため、外見上、目に付き易いフラップの長辺をなす一端と吹出し口との境界線を隠蔽することができる。これにより、この空気調和機の室内機では、美観をより向上させることができる。
第3発明に係る空気調和機の室内機は、第1発明または第2発明の空気調和機の室内機であって、吹出し口を閉じるフラップとケーシングとの間には隙間が設けられている。そして、正面パネルは、閉状態においてこの隙間を覆う。
この空気調和機の室内機では、正面パネルは、閉状態において隙間を覆うため、美観を損なう要因となる恐れの高い隙間を隠蔽することができる。これにより、この空気調和機の室内機では、フラップの動作を容易にすると共に美観をより向上させることができる。
第4発明に係る空気調和機の室内機は、第1発明から第3発明のいずれかの空気調和機の室内機であって、吹出し口はケーシングの下部に設けられている。そして、正面パネルは、閉状態において少なくともフラップの上端に重なる。
この空気調和機の室内機では、正面パネルは、閉状態において少なくともフラップの上端に重なる。このため、フラップの上端とケーシングとの間の隙間が正面パネルによって隠蔽される。これにより、この空気調和機の室内機では、フラップの上端とケーシングとの間の隙間によって美観が損なわれることを抑えることができ、美観をより向上させることができる。
第5発明に係る空気調和機の室内機は、第1発明から第4発明のいずれかの空気調和機の室内機であって、正面パネルは、閉状態において、フラップの少なくとも一端と、ケーシング内へ取り込まれる空気が通る吸込み口とを覆う。
この空気調和機の室内機では、正面パネルは、閉状態において、フラップの一端だけではなく吸込み口も覆う。このため、閉状態において、吸込み口も隠蔽することができる。これにより、この空気調和機の室内機では、美観をより向上させることができる。
第6発明に係る空気調和機の室内機は、第5発明の空気調和機の室内機であって、正面パネルは、フラップの少なくとも一端を覆う第1パネル部と、吸込み口を覆う第2パネル部とを有する。また、第1パネル部と第2パネル部とは一体化されている。
この空気調和機の室内機では、第1パネル部と第2パネル部とが一体化されている正面パネルによって、フラップの少なくとも一端および吸込み口を覆うことができる。従って、第1パネル部と第2パネル部とが別体とされる場合と比べて、部品構成を簡素化することができる。
第7発明に係る空気調和機の室内機は、第6発明の空気調和機の室内機であって、ケーシングは、第1ケーシング面と第2ケーシング面とを有する。第1ケーシング面には、吹出し口が設けられる。第2ケーシング面には、吸込み口が設けられ、第2ケーシング面は、第1ケーシング面に対して所定角度をなす。そして、第1パネル部と第2パネル部とは、閉状態において第1ケーシング面および第2ケーシング面に沿うように所定角度で一体化されている。
この空気調和機の室内機では、第1パネル部と第2パネル部とは、閉状態において第1ケーシング面および第2ケーシング面に沿うように所定角度で一体化されている。このため、正面パネルは、第1ケーシング面と第2ケーシング面とに沿った形状となっており、フラップの少なくとも一端および吸込み口を共に覆うことができる。
第8発明に係る空気調和機の室内機は、第7発明の空気調和機の室内機であって、正面パネルは、第1パネル部が第1ケーシング面に沿って移動すると共に第2パネル部が第2ケーシング面から離れるように移動することによって、吹出し口および吸込み口を開く。
この空気調和機の室内機では、正面パネルは、第1パネル部が第1ケーシング面に沿って移動すると共に第2パネル部が第2ケーシング面から離れるように移動することによって、吹出し口および吸込み口を開く。第1パネル部および第2パネル部が別体とされている場合には、吹出し口および吸込み口の開閉動作が複雑なものとなり易いが、この空気調和機の室内機では、一体化された正面パネルが上記のように移動することによって、吹出し口および吸込み口を簡易に開くことができる。これにより、この空気調和機の室内機では、正面パネルの簡易な動作によって、吹出し口及び吸込み口を開くことができる。
第9発明に係る空気調和機の室内機は、第8発明の空気調和機の室内機であって、第1パネル部は、正面パネルが吹出し口および吸込み口を開いた開状態において第2パネル部と第2ケーシング面との間を塞ぐ。
この空気調和機の室内機では、第1パネル部が、開状態において第2パネル部と第2ケーシングとの間を塞ぐことができる。これにより、この空気調和機の室内機では、吹出し口から吹き出された空気が第2パネル部と第2ケーシングとの間を通って吸込み口から吸い込まれることを抑えることができる。
第10発明に係る空気調和機の室内機は、第1発明から第9発明のいずれかの空気調和機の室内機であって、吹出し口は、ケーシングの幅方向に細長い形状を有する。そして、正面パネルは、幅方向に吹出し口よりも長い形状を有する。
この空気調和機の室内機では、正面パネルは、幅方向に吹出し口よりも長い形状を有する。このため、正面パネルによって、フラップと吹出し口との境界線をより広範囲に亘って隠蔽することができる。これにより、この空気調和機の室内機では、美観をより向上させることができる。
第11発明に係る空気調和機の室内機は、第10発明の空気調和機の室内機であって、正面パネルは、ケーシングの幅と略同じ幅を有する。
この空気調和機の室内機では、正面パネルは、ケーシングの幅と略同じ幅を有する。このため、正面パネルによって、ケーシングの表面に現れる美観を妨げる恐れのある要素をより広範囲に亘って隠蔽することができる。これにより、この空気調和機の室内機では、美観をより向上させることができる。
第12発明に係る空気調和機の室内機は、第1発明から第11発明のいずれかの空気調和機の室内機であって、正面パネルは正面視において上下方向に伸びる継ぎ目を有さない。
この空気調和機の室内機では、正面パネルは正面視において上下方向に伸びる継ぎ目を有さない。従って、この空気調和機の室内機では、外観上美観を妨げる恐れのある要素がより少なくなっている。これにより、この空気調和機の室内機では、美観をより向上させることができる。
第13発明に係る空気調和機の室内機は、第1発明から第12発明のいずれかの空気調和機の室内機であって、正面パネルはフラップの全体を覆う。
この空気調和機の室内機では、正面パネルはフラップの全体を覆うことによって、境界線によって美観が損なわれることを抑えることができ、美観を向上させることができる。
第1発明に係る空気調和機の室内機では、正面パネルが、フラップと吹出し口との境界線を隠蔽して外部から見え難くすることができる。このため、この空気調和機の室内機では、境界線によって美観が損なわれることを抑えることができ、美観を向上させることができる。
第2発明に係る空気調和機の室内機では、正面パネルは、外見上、目に付き易いフラップの長辺をなす一端と吹出し口との境界線を隠蔽することができる。これにより、この空気調和機の室内機では、美観をより向上させることができる。
第3発明に係る空気調和機の室内機では、正面パネルは、美観を損なう要因となる恐れの高い隙間を隠蔽することができる。これにより、この空気調和機の室内機では、フラップの動作を容易にすると共に美観をより向上させることができる。
第4発明に係る空気調和機の室内機では、フラップの上端とケーシングとの間の隙間が正面パネルによって隠蔽される。これにより、この空気調和機の室内機では、フラップの上端とケーシングとの間の隙間によって美観が損なわれることを抑えることができ、美観をより向上させることができる。
第5発明に係る空気調和機の室内機では、正面パネルは、閉状態において、吸込み口も隠蔽することができる。これにより、この空気調和機の室内機では、美観をより向上させることができる。
第6発明に係る空気調和機の室内機では、第1パネル部と第2パネル部とが一体化されている正面パネルによって、フラップの少なくとも一端および吸込み口を覆うことができる。従って、第1パネル部と第2パネル部とが別体とされる場合と比べて、部品構成を簡素化することができる。
第7発明に係る空気調和機の室内機では、正面パネルは、第1ケーシング面と第2ケーシング面とに沿った形状となっており、フラップの少なくとも一端および吸込み口を共に覆うことができる。
第8発明に係る空気調和機の室内機では、一体化された正面パネルが移動することによって、吹出し口および吸込み口を簡易に開くことができる。これにより、この空気調和機の室内機では、正面パネルの簡易な動作によって、吹出し口及び吸込み口を開くことができる。
第9発明に係る空気調和機の室内機では、吹出し口から吹き出された空気が第2パネル部と第2ケーシングとの間を通って吸込み口から吸い込まれることを抑えることができる。
第10発明に係る空気調和機の室内機では、正面パネルによって、フラップと吹出し口との境界線をより広範囲に亘って隠蔽することができる。これにより、この空気調和機の室内機では、美観をより向上させることができる。
第11発明に係る空気調和機の室内機では、正面パネルによって、ケーシングの表面に現れる美観を妨げる恐れのある要素をより広範囲に亘って隠蔽することができる。これにより、この空気調和機の室内機では、美観をより向上させることができる。
第12発明に係る空気調和機の室内機では、外観上美観を妨げる恐れのある要素がより少なくなっている。これにより、この空気調和機の室内機では、美観をより向上させることができる。
第13発明に係る空気調和機の室内機では、正面パネルがフラップの全体を覆うことによって、境界線によって美観が損なわれることを抑えることができ、美観を向上させることができる。
<構成>
本発明の一実施形態にかかる空気調和機の室内機1を図1および図2に示す。図1は空気調和機の室内機1の正面図であり、図2は空気調和機の室内機1の側面図である。この空気調和機の室内機1は、室内の壁面に取り付けられる壁掛け型室内機であり、室内の冷暖房等の空気調和を行う。この空気調和機の室内機1は、室内機ケーシング2(ケーシング)と、水平フラップ3(フラップ)と、正面パネル4とを備えている。
[室内機ケーシング]
室内機ケーシング2は、図1に示すように、正面視において水平方向に長い長方形形状を有しており、図示しない室内熱交換器、室内ファン、制御部品などを収容する。室内機ケーシング2の正面には、正面パネル4が取り付けられている。正面パネル4については、後に詳細に説明する。室内機ケーシング2には、図3に示すように、吹出し口20、第1吸込み口21(吸込み口)および第2吸込み口22が設けられている。なお、図3は、室内機1の側面断面図である。
吹出し口20は、室内へと吹き出される空気が通る開口であり、第1ケーシング面23に設けられている。第1ケーシング面23は、図2に示すように、室内機ケーシング2の底面の前側部分を構成しており、吹出し口20は、室内機ケーシング2の下部に設けられている。第1ケーシング面23は、前端が上方に位置するように傾斜している。吹出し口20は、室内機ケーシング2の幅W方向(室内機ケーシング2の長手方向、図1参照)に細長い形状を有しており、水平フラップ3が設けられる。
図3に示す第1吸込み口21は、室内機ケーシング2内へと取り込まれる空気が通る開口であり、第2ケーシング面24に設けられている。第2ケーシング面24は、図2に示すように、室内機ケーシング2の正面を構成しており、第1吸込み口21は、室内機ケーシング2の正面に設けられる。第2ケーシング面24は、上下方向に伸びる略平坦な形状となっているが、上端が前方に位置するように僅かに傾斜している。第2ケーシング面24の下端は、第1ケーシング面23の上端と連続しており、第2ケーシング面24は、第1ケーシング面23に対して所定角度をなしている。すなわち、第1ケーシング面23と第2ケーシング面24とは、屈曲した形状となっており、90度以上180度未満の比較的緩やかな角度をなしている。
第2吸込み口22は、室内機ケーシング2内へと取り込まれる空気が通る開口であり、図4に示すように、室内機ケーシング2の天面25に設けられている。第2吸込み口22は、室内機ケーシング2の幅W方向に伸びる複数のスリットによって構成されている。
[水平フラップ]
水平フラップ3は、吹出し口20を開閉自在に設けられ、吹出し口20から吹き出される空気を案内する。水平フラップ3は、室内機ケーシング2の幅W方向に細長い略長方形形状を有し、室内機ケーシング2の幅W方向に平行な軸を中心に回動自在に吹出し口20に設けられる。水平フラップ3は、吹出し口20よりも僅かに小さい形状を有するが、図5に示すように、吹出し口20を閉じる水平フラップ3の上端と室内機ケーシング2との間には、隙間Gが設けられている。この隙間Gが設けられることによって、水平フラップ3は、吹出し口20において制限少なく回動可能となっている。なお、図5は、正面パネル4を取り外した状態における室内機1の正面図である。
[正面パネル]
正面パネル4は、第1吸込み口21を開閉すると共に、閉状態において、室内機ケーシング2の少なくとも一部と、吹出し口20を閉じる水平フラップ3の少なくとも一端とを覆う。具体的には、正面パネル4は、図2および図3に示すように、水平フラップ3の長辺をなす上端近傍、第1ケーシング面23および第2ケーシング面24の途中までの部分に外側から重なる。従って、正面パネル4は、閉状態において、上述した水平フラップ3の上端と吹出し口20との間の隙間Gを覆う。正面パネル4は、室内機ケーシング2の第1ケーシング面23および第2ケーシング面24の屈曲に沿うように屈曲した形状を有している。正面パネル4は、室内機ケーシング2の幅W方向に吹出し口20よりも長い形状を有しており、室内機ケーシング2の幅Wと略同じ幅Wを有する。また、正面パネル4は、図1に示すように、正面視において上下方向に伸びる継ぎ目を有さない。正面パネル4は、第1パネル部41と第2パネル部42とを有する。
第1パネル部41は、正面パネル4の閉状態において、水平フラップ3の上端を覆う部分である。第1パネル部41は、正面パネル4の下部を構成している。
第2パネル部42は、正面パネル4の閉状態において、第1吸込み口21を覆う部分である。第2パネル部42は、正面パネル4の上部を構成している。
第1パネル部41の上端と第2パネル部42の下端とは連続しており、第1パネル部41と第2パネル部42とは、正面パネル4の閉状態において、第1ケーシング面23および第2ケーシング面24に沿うように所定角度で一体化されている。
なお、正面パネル4は、両側端をそれぞれ支持板43,44によって支持されている(図7参照)。2つの支持板43,44は、室内機ケーシング2の両側端に設けられており、それぞれ前後に移動可能に設けられている。これらの支持板43,44が移動することによって正面パネル4が移動する。
<開閉動作>
次に、正面パネル4の開閉動作について図6に基づいて詳細に説明する。
空気調和機の室内機1は、運転停止時に、水平フラップ3によって吹出し口20をと実と共に正面パネルを閉状態とする。正面パネル4は、閉状態において、図6(a)に示すように、第1吸込み口21を覆うと共に水平フラップ3の上端を覆う。この閉状態において、第1パネル部41は、水平フラップ3の上端、水平フラップ3の上端と吹出し口20との間の隙間Gおよび第1ケーシング面23の吹出し口20近傍を覆う。また、第2パネル部42は、第2ケーシング面24を覆う。正面パネル4は、屈曲した形状を有しており、閉状態では、第1ケーシング面23および第2ケーシング面24に沿って、第1ケーシング面23および第2ケーシング面24に近接した状態となる。これにより、室内機1の運転停止時に、水平フラップ3の上端から第1吸込み口21までの部分が外部から隠蔽される。
次に、空気調和機の室内機1は、運転開始時に、正面パネルを開状態とする。正面パネル4は、図6(b)に示すように、斜め上前方へと移動することにより開状態となる(矢印A1参照)。このとき、第1パネル部41が第1ケーシング面23に沿って斜め上前方へと移動すると共に第2パネル部42が第2ケーシング面24から離れるように斜め上前方へと移動することによって、正面パネル4は吹出し口20および第1吸込み口21を開く。このとき、第1パネル部41は、下端が吹出し口20の上端を越える位置まで移動して第1パネル部41が吹出し口20からの吹き出しを妨げないようにされると共に、第1パネル部41が第2パネル部42と第2ケーシング面24との間の下部を塞ぐ。そして、図6(c)に示すように、吹出し口20を閉じていた水平フラップ3が回動することによって、吹出し口20が開かれる。また、この状態においては、図7に示すように、第2パネル部42と第2ケーシング面24との間の上部は開かれており、第1吸込み口21から取り込まれる空気が通ることができる。なお、開状態においては、第2パネル部42と第2ケーシング面24との間の両側部は支持板43,44によって塞がれており、この支持板43,44が目隠し板となって外部から第1吸込み口21を通して室内機ケーシング2の内部が見えないようにされている。
室内機1の運転停止時には、水平フラップ3が回動して吹出し口20を閉じた後、正面パネル4が上記とは逆に移動して、水平フラップ3の上端から第1吸込み口21までの部分が再び外部から隠蔽される。
<特徴>
(1)
この空気調和機の室内機1では、運転停止時において、水平フラップ3の上端から第1吸込み口21までの部分が正面パネル4によって隠蔽される。このため、水平フラップ3を回動可能とするための比較的大きな隙間Gが外部から見え難くなる。これにより、この空気調和機の室内機1では、インテリア性が向上するなど美観が向上している。
また、上記のような正面パネル4が設けられていない場合にこのような隙間Gを正面に露出させないためには、隙間Gを小さくすることが必要となるが、この場合、水平フラップ3の回転方向に制限ができる。しかし、この空気調和機の室内機1では、そのような水平フラップ3の回転方向の制限が緩和されている。
(2)
この空気調和機の室内機1では、上述したように、水平フラップ3を回動可能とするための比較的大きな隙間Gが正面パネル4によって覆われる。このため、室内機1の運転停止における室内機ケーシング2内の密閉度が向上している。
また、室内機1の運転停止時において、隙間Gから虫などの小動物や埃などの室内機ケーシング2の内部への侵入を防止することができる。
(3)
この空気調和機の室内機1では、隙間Gを隠蔽するための第1パネル部41と第1吸込み口21を覆うための第2パネル部42とが一体化された正面パネル4によって、第1吸込み口21と水平フラップ3の上端との隠蔽が行われる。このため、第1パネル部41と第2パネル部42とが別々に動作する場合と比べて、簡素な動作によって吹出し口20および第1吸込み口21の開閉を行うことができる。
(4)
この空気調和機の室内機1では、正面パネル4が屈曲した形状となっている。このため、正面パネル4が斜め上前方へと移動することによって、第1パネル部41が、第2パネル部42と第2ケーシング面24との間の下端を塞ぐ状態となる。このため、開状態において、吹出し口20から吹き出された空気が、第2パネル部42と第2ケーシング面24との間の下部を通って再び第1吸込み口21から吸い込まれるショートサーキットの発生を防止することができる。また、ショートサーキットが防止されるため、正面パネル4を比較的大きく移動させることができ、第2パネル部42と第2ケーシング面24との間の上部に設けられる開口の面積を大きく確保することができる。
<他の実施形態>
上記の実施形態では、円滑な開閉動作のために正面パネル4の下端の長さが短くなっており、水平フラップ3の下端近傍は正面パネル4によって覆われていない。しかし、美観向上の観点からは、正面パネル4が水平フラップ3の全体を覆うものであってもよい。
本発明は、美観を向上させることができる効果を有し、空気調和機の室内機として有用である。
空気調和機の室内機の正面図。 空気調和機の室内機の側面図。 空気調和機の室内機の側面断面図。 閉状態における空気調和機の室内機の外観斜視図。 正面パネルが取り外された空気調和機の室内機の正面図。 空気調和機の室内機の正面パネルの開閉動作を示す図。 開状態における空気調和機の室内機の外観斜視図。
符号の説明
1 空気調和機の室内機
2 室内機ケーシング(ケーシング)
3 水平フラップ(フラップ)
4 正面パネル
20 吹出し口
21 第1吸込み口(吸込み口)
23 第1ケーシング面
24 第2ケーシング面
41 第1パネル部
42 第2パネル部
G 隙間
W ケーシングの幅
本発明は、空気調和機の室内機に関する。
空気調和機の室内機は、室内へと吹き出される空気が通る吹出し口を有するケーシングと、吹出し口から吹き出される空気を案内するフラップとを備えることが多い。このフラップは、吹出し口を開閉自在に設けられ、閉状態においては吹出し口を閉じるように設けられる(特許文献1参照)。
特開2003−130382号公報(第1図)
しかし、フラップが吹出し口を閉じた状態においては、フラップと吹出し口との間に境界線が生じる。従来、この境界線は、空気調和機の室内機の外観に表れており、室内の居住者等の目に触れ易い。このため、この境界線が意匠上のノイズとなり空気調和機の室内機のインテリア性を低下させるなど美観を損なう要因となっている。
本発明の課題は、美観を向上させることができる空気調和機の室内機を提供することにある。
第1発明に係る空気調和機の室内機は、ケーシングと、フラップと、正面パネルとを備える。ケーシングは、吹出し口が設けられ前端が上方に位置するように傾斜している第1ケーシング面と、吸込み口が設けられ第1ケーシング面と一体化された第2ケーシング面とを有する。フラップは、吹出し口を開閉自在に設けられ、吹出し口から吹き出される空気を案内する。正面パネルは、閉状態において、ケーシングの少なくとも一部と吹出し口を閉じるフラップの少なくとも一端とを覆う第1パネル部と、第1パネル部と一体化され吸込み口を覆う第2パネル部とを有し、第1ケーシング面と第2ケーシング面とに沿った形状である。そして、正面パネルは、第1パネル部が第1ケーシング面に沿って移動すると共に第2パネル部が第2ケーシング面から離れるように移動することによって、吹出し口および吸込み口を開く。
この空気調和機の室内機では、正面パネルが、ケーシングの少なくとも一部と、吹出し口を閉じるフラップの少なくとも一端とを覆うことによって、フラップと吹出し口との境界線を隠蔽して外部から見え難くすることができる。このため、この空気調和機の室内機では、境界線によって美観が損なわれることを抑えることができ、美観を向上させることができる。また、正面パネルは、閉状態において、フラップの一端だけではなく吸込み口も覆う。このため、閉状態において、吸込み口も隠蔽することができる。これにより、この空気調和機の室内機では、美観をより向上させることができる。
また、この空気調和機の室内機では、第1パネル部と第2パネル部とが一体化されている正面パネルによって、フラップの少なくとも一端および吸込み口を覆うことができる。従って、第1パネル部と第2パネル部とが別体とされる場合と比べて、部品構成を簡素化することができる。
さらに、この空気調和機の室内機では、正面パネルは、第1パネル部が第1ケーシング面に沿って移動すると共に第2パネル部が第2ケーシング面から離れるように移動することによって、吹出し口および吸込み口を開く。第1パネル部および第2パネル部が別体とされている場合には、吹出し口および吸込み口の開閉動作が複雑なものとなり易いが、この空気調和機の室内機では、一体化された正面パネルが上記のように移動することによって、吹出し口および吸込み口を簡易に開くことができる。これにより、この空気調和機の室内機では、正面パネルの簡易な動作によって、吹出し口及び吸込み口を開くことができる。
第2発明に係る空気調和機の室内機は、第1発明の空気調和機の室内機であって、フラップは細長い形状を有する。そして、正面パネルは、少なくともフラップの長辺をなす一端を覆う。
この空気調和機の室内機では、正面パネルは、少なくともフラップの長辺をなす一端を覆うため、外見上、目に付き易いフラップの長辺をなす一端と吹出し口との境界線を隠蔽することができる。これにより、この空気調和機の室内機では、美観をより向上させることができる。
第3発明に係る空気調和機の室内機は、第1発明または第2発明の空気調和機の室内機であって、吹出し口を閉じるフラップとケーシングとの間には隙間が設けられている。そして、正面パネルは、閉状態においてこの隙間を覆う。
この空気調和機の室内機では、正面パネルは、閉状態において隙間を覆うため、美観を損なう要因となる恐れの高い隙間を隠蔽することができる。これにより、この空気調和機の室内機では、フラップの動作を容易にすると共に美観をより向上させることができる。
第4発明に係る空気調和機の室内機は、第1発明から第3発明のいずれかの空気調和機の室内機であって、吹出し口はケーシングの下部に設けられている。そして、正面パネルは、閉状態において少なくともフラップの上端に重なる。
この空気調和機の室内機では、正面パネルは、閉状態において少なくともフラップの上端に重なる。このため、フラップの上端とケーシングとの間の隙間が正面パネルによって隠蔽される。これにより、この空気調和機の室内機では、フラップの上端とケーシングとの間の隙間によって美観が損なわれることを抑えることができ、美観をより向上させることができる。
第5発明に係る空気調和機の室内機は、第1発明から第4発明のいずれかの空気調和機の室内機であって、第2ケーシング面は、上下方向に伸びる略平坦な形状を有する。
第6発明に係る空気調和機の室内機は、第1発明から第5発明のいずれかの空気調和機の室内機であって、第2ケーシング面は、第1ケーシング面に対して所定角度をなしている。また、第1パネル部と第2パネル部とは、閉状態において第1ケーシング面および第2ケーシング面に沿うように所定角度で一体化されている。
この空気調和機の室内機では、第1パネル部と第2パネル部とは、閉状態において第1ケーシング面および第2ケーシング面に沿うように所定角度で一体化されている。このため、正面パネルは、第1ケーシング面と第2ケーシング面とに沿った形状となっており、フラップの少なくとも一端および吸込み口を共に覆うことができる。
発明に係る空気調和機の室内機は、第1発明から第6発明のいずれかの空気調和機の室内機であって、第1パネル部は、正面パネルが吹出し口および吸込み口を開いた開状態において第2パネル部と第2ケーシング面との間を塞ぐ。
この空気調和機の室内機では、第1パネル部が、開状態において第2パネル部と第2ケーシングとの間を塞ぐことができる。これにより、この空気調和機の室内機では、吹出し口から吹き出された空気が第2パネル部と第2ケーシングとの間を通って吸込み口から吸い込まれることを抑えることができる。
発明に係る空気調和機の室内機は、第1発明から第発明のいずれかの空気調和機の室内機であって、吹出し口は、ケーシングの幅方向に細長い形状を有する。そして、正面パネルは、幅方向に吹出し口よりも長い形状を有する。
この空気調和機の室内機では、正面パネルは、幅方向に吹出し口よりも長い形状を有する。このため、正面パネルによって、フラップと吹出し口との境界線をより広範囲に亘って隠蔽することができる。これにより、この空気調和機の室内機では、美観をより向上させることができる。
発明に係る空気調和機の室内機は、第1発明から第8発明のいずれかの空気調和機の室内機であって、正面パネルは、ケーシングの幅と略同じ幅を有する。
この空気調和機の室内機では、正面パネルは、ケーシングの幅と略同じ幅を有する。このため、正面パネルによって、ケーシングの表面に現れる美観を妨げる恐れのある要素をより広範囲に亘って隠蔽することができる。これにより、この空気調和機の室内機では、美観をより向上させることができる。
10発明に係る空気調和機の室内機は、第1発明から第発明のいずれかの空気調和機の室内機であって、正面パネルは正面視において上下方向に伸びる継ぎ目を有さない。
この空気調和機の室内機では、正面パネルは正面視において上下方向に伸びる継ぎ目を有さない。従って、この空気調和機の室内機では、外観上美観を妨げる恐れのある要素がより少なくなっている。これにより、この空気調和機の室内機では、美観をより向上させることができる。
11発明に係る空気調和機の室内機は、第1発明から第10発明のいずれかの空気調和機の室内機であって、正面パネルはフラップの全体を覆う。
この空気調和機の室内機では、正面パネルはフラップの全体を覆うことによって、境界線によって美観が損なわれることを抑えることができ、美観を向上させることができる。
第1発明に係る空気調和機の室内機では、正面パネルが、フラップと吹出し口との境界線を隠蔽して外部から見え難くすることができる。このため、この空気調和機の室内機では、境界線によって美観が損なわれることを抑えることができ、美観を向上させることができる。また、正面パネルは、閉状態において、吸込み口も隠蔽することができる。これにより、この空気調和機の室内機では、美観をより向上させることができる。また、第1パネル部と第2パネル部とが一体化されている正面パネルによって、フラップの少なくとも一端および吸込み口を覆うことができる。従って、第1パネル部と第2パネル部とが別体とされる場合と比べて、部品構成を簡素化することができる。さらに、一体化された正面パネルが移動することによって、吹出し口および吸込み口を簡易に開くことができる。これにより、この空気調和機の室内機では、正面パネルの簡易な動作によって、吹出し口及び吸込み口を開くことができる。
第2発明に係る空気調和機の室内機では、正面パネルは、外見上、目に付き易いフラップの長辺をなす一端と吹出し口との境界線を隠蔽することができる。これにより、この空気調和機の室内機では、美観をより向上させることができる。
第3発明に係る空気調和機の室内機では、正面パネルは、美観を損なう要因となる恐れの高い隙間を隠蔽することができる。これにより、この空気調和機の室内機では、フラップの動作を容易にすると共に美観をより向上させることができる。
第4発明に係る空気調和機の室内機では、フラップの上端とケーシングとの間の隙間が正面パネルによって隠蔽される。これにより、この空気調和機の室内機では、フラップの上端とケーシングとの間の隙間によって美観が損なわれることを抑えることができ、美観をより向上させることができる。
発明に係る空気調和機の室内機では、正面パネルは、第1ケーシング面と第2ケーシング面とに沿った形状となっており、フラップの少なくとも一端および吸込み口を共に覆うことができる。
発明に係る空気調和機の室内機では、吹出し口から吹き出された空気が第2パネル部と第2ケーシングとの間を通って吸込み口から吸い込まれることを抑えることができる。
発明に係る空気調和機の室内機では、正面パネルによって、フラップと吹出し口との境界線をより広範囲に亘って隠蔽することができる。これにより、この空気調和機の室内機では、美観をより向上させることができる。
発明に係る空気調和機の室内機では、正面パネルによって、ケーシングの表面に現れる美観を妨げる恐れのある要素をより広範囲に亘って隠蔽することができる。これにより、この空気調和機の室内機では、美観をより向上させることができる。
10発明に係る空気調和機の室内機では、外観上美観を妨げる恐れのある要素がより少なくなっている。これにより、この空気調和機の室内機では、美観をより向上させることができる。
11発明に係る空気調和機の室内機では、正面パネルがフラップの全体を覆うことによって、境界線によって美観が損なわれることを抑えることができ、美観を向上させることができる。
<構成>
本発明の一実施形態にかかる空気調和機の室内機1を図1および図2に示す。図1は空気調和機の室内機1の正面図であり、図2は空気調和機の室内機1の側面図である。この空気調和機の室内機1は、室内の壁面に取り付けられる壁掛け型室内機であり、室内の冷暖房等の空気調和を行う。この空気調和機の室内機1は、室内機ケーシング2(ケーシング)と、水平フラップ3(フラップ)と、正面パネル4とを備えている。
[室内機ケーシング]
室内機ケーシング2は、図1に示すように、正面視において水平方向に長い長方形形状を有しており、図示しない室内熱交換器、室内ファン、制御部品などを収容する。室内機ケーシング2の正面には、正面パネル4が取り付けられている。正面パネル4については、後に詳細に説明する。室内機ケーシング2には、図3に示すように、吹出し口20、第1吸込み口21(吸込み口)および第2吸込み口22が設けられている。なお、図3は、室内機1の側面断面図である。
吹出し口20は、室内へと吹き出される空気が通る開口であり、第1ケーシング面23に設けられている。第1ケーシング面23は、図2に示すように、室内機ケーシング2の底面の前側部分を構成しており、吹出し口20は、室内機ケーシング2の下部に設けられている。第1ケーシング面23は、前端が上方に位置するように傾斜している。吹出し口20は、室内機ケーシング2の幅W方向(室内機ケーシング2の長手方向、図1参照)に細長い形状を有しており、水平フラップ3が設けられる。
図3に示す第1吸込み口21は、室内機ケーシング2内へと取り込まれる空気が通る開口であり、第2ケーシング面24に設けられている。第2ケーシング面24は、図2に示すように、室内機ケーシング2の正面を構成しており、第1吸込み口21は、室内機ケーシング2の正面に設けられる。第2ケーシング面24は、上下方向に伸びる略平坦な形状となっているが、上端が前方に位置するように僅かに傾斜している。第2ケーシング面24の下端は、第1ケーシング面23の上端と連続しており、第2ケーシング面24は、第1ケーシング面23に対して所定角度をなしている。すなわち、第1ケーシング面23と第2ケーシング面24とは、屈曲した形状となっており、90度以上180度未満の比較的緩やかな角度をなしている。
第2吸込み口22は、室内機ケーシング2内へと取り込まれる空気が通る開口であり、図4に示すように、室内機ケーシング2の天面25に設けられている。第2吸込み口22は、室内機ケーシング2の幅W方向に伸びる複数のスリットによって構成されている。
[水平フラップ]
水平フラップ3は、吹出し口20を開閉自在に設けられ、吹出し口20から吹き出される空気を案内する。水平フラップ3は、室内機ケーシング2の幅W方向に細長い略長方形形状を有し、室内機ケーシング2の幅W方向に平行な軸を中心に回動自在に吹出し口20に設けられる。水平フラップ3は、吹出し口20よりも僅かに小さい形状を有するが、図5に示すように、吹出し口20を閉じる水平フラップ3の上端と室内機ケーシング2との間には、隙間Gが設けられている。この隙間Gが設けられることによって、水平フラップ3は、吹出し口20において制限少なく回動可能となっている。なお、図5は、正面パネル4を取り外した状態における室内機1の正面図である。
[正面パネル]
正面パネル4は、第1吸込み口21を開閉すると共に、閉状態において、室内機ケーシング2の少なくとも一部と、吹出し口20を閉じる水平フラップ3の少なくとも一端とを覆う。具体的には、正面パネル4は、図2および図3に示すように、水平フラップ3の長辺をなす上端近傍、第1ケーシング面23および第2ケーシング面24の途中までの部分に外側から重なる。従って、正面パネル4は、閉状態において、上述した水平フラップ3の上端と吹出し口20との間の隙間Gを覆う。正面パネル4は、室内機ケーシング2の第1ケーシング面23および第2ケーシング面24の屈曲に沿うように屈曲した形状を有している。正面パネル4は、室内機ケーシング2の幅W方向に吹出し口20よりも長い形状を有しており、室内機ケーシング2の幅Wと略同じ幅Wを有する。また、正面パネル4は、図1に示すように、正面視において上下方向に伸びる継ぎ目を有さない。正面パネル4は、第1パネル部41と第2パネル部42とを有する。
第1パネル部41は、正面パネル4の閉状態において、水平フラップ3の上端を覆う部分である。第1パネル部41は、正面パネル4の下部を構成している。
第2パネル部42は、正面パネル4の閉状態において、第1吸込み口21を覆う部分である。第2パネル部42は、正面パネル4の上部を構成している。
第1パネル部41の上端と第2パネル部42の下端とは連続しており、第1パネル部41と第2パネル部42とは、正面パネル4の閉状態において、第1ケーシング面23および第2ケーシング面24に沿うように所定角度で一体化されている。
なお、正面パネル4は、両側端をそれぞれ支持板43,44によって支持されている(図7参照)。2つの支持板43,44は、室内機ケーシング2の両側端に設けられており、それぞれ前後に移動可能に設けられている。これらの支持板43,44が移動することによって正面パネル4が移動する。
<開閉動作>
次に、正面パネル4の開閉動作について図6に基づいて詳細に説明する。
空気調和機の室内機1は、運転停止時に、水平フラップ3によって吹出し口20をと実と共に正面パネルを閉状態とする。正面パネル4は、閉状態において、図6(a)に示すように、第1吸込み口21を覆うと共に水平フラップ3の上端を覆う。この閉状態において、第1パネル部41は、水平フラップ3の上端、水平フラップ3の上端と吹出し口20との間の隙間Gおよび第1ケーシング面23の吹出し口20近傍を覆う。また、第2パネル部42は、第2ケーシング面24を覆う。正面パネル4は、屈曲した形状を有しており、閉状態では、第1ケーシング面23および第2ケーシング面24に沿って、第1ケーシング面23および第2ケーシング面24に近接した状態となる。これにより、室内機1の運転停止時に、水平フラップ3の上端から第1吸込み口21までの部分が外部から隠蔽される。
次に、空気調和機の室内機1は、運転開始時に、正面パネルを開状態とする。正面パネル4は、図6(b)に示すように、斜め上前方へと移動することにより開状態となる(矢印A1参照)。このとき、第1パネル部41が第1ケーシング面23に沿って斜め上前方へと移動すると共に第2パネル部42が第2ケーシング面24から離れるように斜め上前方へと移動することによって、正面パネル4は吹出し口20および第1吸込み口21を開く。このとき、第1パネル部41は、下端が吹出し口20の上端を越える位置まで移動して第1パネル部41が吹出し口20からの吹き出しを妨げないようにされると共に、第1パネル部41が第2パネル部42と第2ケーシング面24との間の下部を塞ぐ。そして、図6(c)に示すように、吹出し口20を閉じていた水平フラップ3が回動することによって、吹出し口20が開かれる。また、この状態においては、図7に示すように、第2パネル部42と第2ケーシング面24との間の上部は開かれており、第1吸込み口21から取り込まれる空気が通ることができる。なお、開状態においては、第2パネル部42と第2ケーシング面24との間の両側部は支持板43,44によって塞がれており、この支持板43,44が目隠し板となって外部から第1吸込み口21を通して室内機ケーシング2の内部が見えないようにされている。
室内機1の運転停止時には、水平フラップ3が回動して吹出し口20を閉じた後、正面パネル4が上記とは逆に移動して、水平フラップ3の上端から第1吸込み口21までの部分が再び外部から隠蔽される。
<特徴>
(1)
この空気調和機の室内機1では、運転停止時において、水平フラップ3の上端から第1吸込み口21までの部分が正面パネル4によって隠蔽される。このため、水平フラップ3を回動可能とするための比較的大きな隙間Gが外部から見え難くなる。これにより、この空気調和機の室内機1では、インテリア性が向上するなど美観が向上している。
また、上記のような正面パネル4が設けられていない場合にこのような隙間Gを正面に露出させないためには、隙間Gを小さくすることが必要となるが、この場合、水平フラップ3の回転方向に制限ができる。しかし、この空気調和機の室内機1では、そのような水平フラップ3の回転方向の制限が緩和されている。
(2)
この空気調和機の室内機1では、上述したように、水平フラップ3を回動可能とするための比較的大きな隙間Gが正面パネル4によって覆われる。このため、室内機1の運転停止における室内機ケーシング2内の密閉度が向上している。
また、室内機1の運転停止時において、隙間Gから虫などの小動物や埃などの室内機ケーシング2の内部への侵入を防止することができる。
(3)
この空気調和機の室内機1では、隙間Gを隠蔽するための第1パネル部41と第1吸込み口21を覆うための第2パネル部42とが一体化された正面パネル4によって、第1吸込み口21と水平フラップ3の上端との隠蔽が行われる。このため、第1パネル部41と第2パネル部42とが別々に動作する場合と比べて、簡素な動作によって吹出し口20および第1吸込み口21の開閉を行うことができる。
(4)
この空気調和機の室内機1では、正面パネル4が屈曲した形状となっている。このため、正面パネル4が斜め上前方へと移動することによって、第1パネル部41が、第2パネル部42と第2ケーシング面24との間の下端を塞ぐ状態となる。このため、開状態において、吹出し口20から吹き出された空気が、第2パネル部42と第2ケーシング面24との間の下部を通って再び第1吸込み口21から吸い込まれるショートサーキットの発生を防止することができる。また、ショートサーキットが防止されるため、正面パネル4を比較的大きく移動させることができ、第2パネル部42と第2ケーシング面24との間の上部に設けられる開口の面積を大きく確保することができる。
<他の実施形態>
上記の実施形態では、円滑な開閉動作のために正面パネル4の下端の長さが短くなっており、水平フラップ3の下端近傍は正面パネル4によって覆われていない。しかし、美観向上の観点からは、正面パネル4が水平フラップ3の全体を覆うものであってもよい。
本発明は、美観を向上させることができる効果を有し、空気調和機の室内機として有用である。
空気調和機の室内機の正面図。 空気調和機の室内機の側面図。 空気調和機の室内機の側面断面図。 閉状態における空気調和機の室内機の外観斜視図。 正面パネルが取り外された空気調和機の室内機の正面図。 空気調和機の室内機の正面パネルの開閉動作を示す図。 開状態における空気調和機の室内機の外観斜視図。
符号の説明
1 空気調和機の室内機
2 室内機ケーシング(ケーシング)
3 水平フラップ(フラップ)
4 正面パネル
20 吹出し口
21 第1吸込み口(吸込み口)
23 第1ケーシング面
24 第2ケーシング面
41 第1パネル部
42 第2パネル部
G 隙間
W ケーシングの幅

Claims (12)

  1. 室内へと吹き出される空気が通る吹出し口(20)を有するケーシング(2)と、
    前記吹出し口(20)を開閉自在に設けられ、前記吹出し口(20)から吹き出される空気を案内するフラップ(3)と、
    閉状態において、前記ケーシング(2)の少なくとも一部と、前記吹出し口(20)を閉じる前記フラップ(3)の少なくとも一端とを覆う正面パネル(4)と、
    を備える空気調和機の室内機(1)。
  2. 前記フラップ(3)は細長い形状を有し、
    前記正面パネル(4)は、少なくとも前記フラップ(3)の長辺をなす一端を覆う、
    請求項1に記載の空気調和機の室内機(1)。
  3. 前記吹出し口(20)を閉じる前記フラップ(3)と前記ケーシング(2)との間には、前記フラップ(3)を動作可能とするための隙間(G)が設けられており、
    前記正面パネル(4)は、前記閉状態において前記隙間(G)を覆う、
    請求項1または2に記載の空気調和機の室内機(1)。
  4. 前記吹出し口(20)は前記ケーシング(2)の下部に設けられており、
    前記正面パネル(4)は、前記閉状態において少なくとも前記フラップ(3)の上端に重なる、
    請求項1から3のいずれかに記載の空気調和機の室内機(1)。
  5. 前記正面パネル(4)は、前記閉状態において、前記フラップ(3)の少なくとも一端と、前記ケーシング(2)内へ取り込まれる空気が通る吸込み口(21)とを覆う、
    請求項1から4のいずれかに記載の空気調和機の室内機(1)。
  6. 前記正面パネル(4)は、前記フラップ(3)の少なくとも一端を覆う第1パネル部(41)と、前記吸込み口(21)を覆う第2パネル部(42)とを有し、
    前記第1パネル部(41)と前記第2パネル部(42)とは一体化されている、
    請求項5に記載の空気調和機の室内機(1)。
  7. 前記ケーシング(2)は、
    前記吹出し口(20)が設けられる第1ケーシング面(23)と、
    前記吸込み口(21)が設けられ前記第1ケーシング面(23)に対して所定角度をなす第2ケーシング面(24)と、
    を有し、
    前記第1パネル部(41)と前記第2パネル部(42)とは、前記閉状態において前記第1ケーシング面(23)および前記第2ケーシング面(24)に沿うように前記所定角度で一体化されている、
    請求項6に記載の空気調和機の室内機(1)。
  8. 前記正面パネル(4)は、前記第1パネル部(41)が前記第1ケーシング面(23)に沿って移動すると共に前記第2パネル部(42)が前記第2ケーシング面(24)から離れるように移動することによって、前記吹出し口(20)および前記吸込み口(21)を開く、
    請求項7に記載の空気調和機の室内機(1)。
  9. 前記第1パネル部(41)は、前記正面パネル(4)が前記吹出し口(20)および前記吸込み口(21)を開いた開状態において前記第2パネル部(42)と前記第2ケーシング面(24)との間を塞ぐ、
    請求項8に記載の空気調和機の室内機(1)。
  10. 前記吹出し口(20)は、前記ケーシング(2)の幅(W)方向に細長い形状を有し、
    前記正面パネル(4)は、前記幅(W)方向に前記吹出し口(20)よりも長い形状を有する、
    請求項1から9のいずれかに記載の空気調和機の室内機(1)。
  11. 前記正面パネル(4)は、前記ケーシング(2)の幅(W)と略同じ幅(W)を有する、
    請求項10に記載の空気調和機の室内機(1)。
  12. 前記正面パネル(4)は正面視において上下方向に伸びる継ぎ目を有さない、
    請求項1から11のいずれかに記載の空気調和機の室内機(1)。
JP2004113982A 2004-04-08 2004-04-08 空気調和機の室内機 Expired - Fee Related JP3714354B2 (ja)

Priority Applications (9)

Application Number Priority Date Filing Date Title
JP2004113982A JP3714354B2 (ja) 2004-04-08 2004-04-08 空気調和機の室内機
KR1020067019741A KR100750785B1 (ko) 2004-04-08 2005-04-08 공기 조화기의 실내기
PCT/JP2005/006915 WO2005098319A1 (ja) 2004-04-08 2005-04-08 空気調和機の室内機
US10/594,712 US7716944B2 (en) 2004-04-08 2005-04-08 Indoor unit of air conditioner
RU2006139144/06A RU2327932C1 (ru) 2004-04-08 2005-04-08 Комнатный блок кондиционера
EP05728504.1A EP1752713B1 (en) 2004-04-08 2005-04-08 Indoor unit of air conditioner
ES05728504.1T ES2650187T3 (es) 2004-04-08 2005-04-08 Unidad de interior de acondicionador de aire
AU2005231286A AU2005231286B2 (en) 2004-04-08 2005-04-08 Indoor unit of air conditioner
CNB200580010175XA CN100455912C (zh) 2004-04-08 2005-04-08 空调机的室内机

Applications Claiming Priority (1)

Application Number Priority Date Filing Date Title
JP2004113982A JP3714354B2 (ja) 2004-04-08 2004-04-08 空気調和機の室内機

Related Child Applications (1)

Application Number Title Priority Date Filing Date
JP2005111735A Division JP4333620B2 (ja) 2005-04-08 2005-04-08 空気調和機の室内機

Publications (2)

Publication Number Publication Date
JP2005299975A true JP2005299975A (ja) 2005-10-27
JP3714354B2 JP3714354B2 (ja) 2005-11-09

Family

ID=35125159

Family Applications (1)

Application Number Title Priority Date Filing Date
JP2004113982A Expired - Fee Related JP3714354B2 (ja) 2004-04-08 2004-04-08 空気調和機の室内機

Country Status (9)

Country Link
US (1) US7716944B2 (ja)
EP (1) EP1752713B1 (ja)
JP (1) JP3714354B2 (ja)
KR (1) KR100750785B1 (ja)
CN (1) CN100455912C (ja)
AU (1) AU2005231286B2 (ja)
ES (1) ES2650187T3 (ja)
RU (1) RU2327932C1 (ja)
WO (1) WO2005098319A1 (ja)

Cited By (4)

* Cited by examiner, † Cited by third party
Publication number Priority date Publication date Assignee Title
JP2006097980A (ja) * 2004-09-29 2006-04-13 Mitsubishi Electric Corp 空気調和機の室内機
JP2007155309A (ja) * 2005-11-11 2007-06-21 Daikin Ind Ltd 空気調和装置の室内パネル及び空気調和装置
WO2011055704A1 (ja) * 2009-11-04 2011-05-12 ダイキン工業株式会社 空気調和機
JP2011099588A (ja) * 2009-11-04 2011-05-19 Daikin Industries Ltd 空気調和機

Families Citing this family (14)

* Cited by examiner, † Cited by third party
Publication number Priority date Publication date Assignee Title
KR100751116B1 (ko) * 2006-05-20 2007-08-22 엘지전자 주식회사 공기 조화기의 실내기
JP4698721B2 (ja) * 2008-10-17 2011-06-08 三菱電機株式会社 空気調和機及びコーティング組成物
RU2525797C2 (ru) * 2008-11-17 2014-08-20 Панасоник Корпорэйшн Устройство очистки воздуха
EP2463599B1 (en) * 2009-08-05 2019-05-08 Mitsubishi Electric Corporation Wall-hanging air conditioner
CN103697537B (zh) * 2012-09-27 2016-10-05 珠海格力电器股份有限公司 空调器
CN103807992B (zh) * 2012-11-09 2016-09-14 珠海格力电器股份有限公司 空调器
CN103868217B (zh) * 2012-12-11 2016-12-21 珠海格力电器股份有限公司 空调器
JP5817815B2 (ja) * 2013-11-26 2015-11-18 ダイキン工業株式会社 室内機
JP5850032B2 (ja) * 2013-11-26 2016-02-03 ダイキン工業株式会社 室内機
JP6619224B2 (ja) * 2015-12-15 2019-12-11 シャープ株式会社 空気調和機
KR101890869B1 (ko) * 2016-10-27 2018-08-22 삼성전자주식회사 공기조화기
CN107120730B (zh) * 2017-06-09 2020-02-04 青岛海尔空调器有限总公司 壁挂式空调室内机及其控制方法
CN111102707A (zh) * 2020-01-19 2020-05-05 广东美的制冷设备有限公司 壳体组件及空调器
RU210250U1 (ru) * 2021-05-31 2022-04-04 Федеральное государственное автономное учреждение "Военный инновационный технополис "ЭРА" Устройство очистки воздуха

Citations (4)

* Cited by examiner, † Cited by third party
Publication number Priority date Publication date Assignee Title
JPH0420923U (ja) * 1990-06-13 1992-02-21
JPH0422205Y2 (ja) * 1986-12-26 1992-05-20
JPH09210402A (ja) * 1996-02-07 1997-08-12 Hitachi Ltd 壁設置型空気調和機
JP2000234760A (ja) * 1999-02-15 2000-08-29 Fujitsu General Ltd 空気調和機

Family Cites Families (16)

* Cited by examiner, † Cited by third party
Publication number Priority date Publication date Assignee Title
SU964365A1 (ru) 1981-03-13 1982-10-07 Донецкое Отделение Института "Гипроуглеавтоматизация" Кондиционер
JPH0397113U (ja) * 1990-01-19 1991-10-04
US5222374A (en) * 1990-05-11 1993-06-29 Whirlpool Corporation Assembly method and construction for a room air conditioner
JP2529737Y2 (ja) 1990-06-15 1997-03-19 大同コンクリート工業株式会社 コンクリートパイル
US5222373A (en) 1992-09-16 1993-06-29 Thermo King Corporation Transport refrigeration condenser unit suitable for horizontal and vertical mounting
JPH0712853U (ja) 1993-07-20 1995-03-03 株式会社富士通ゼネラル 空気調和機の風向板
JPH0798129A (ja) 1993-09-30 1995-04-11 Matsushita Seiko Co Ltd 分離型空気調和機
JPH10148349A (ja) * 1996-11-19 1998-06-02 Matsushita Electric Ind Co Ltd 空気調和機の風向変更装置
JP3669322B2 (ja) 2000-11-21 2005-07-06 ダイキン工業株式会社 空気調和機の室内機
US6357247B1 (en) * 2001-05-16 2002-03-19 Carrier Corporation Fan motor mount
RU2185574C1 (ru) 2001-07-09 2002-07-20 Харитонов Борис Петрович Способ работы кондиционера и кондиционер
JP2003097819A (ja) * 2001-09-25 2003-04-03 Hitachi Ltd 空気調和機
JP3731113B2 (ja) 2001-10-26 2006-01-05 ダイキン工業株式会社 空気調和機
CN2562111Y (zh) * 2002-07-09 2003-07-23 珠海格力电器股份有限公司 空调器室内机
JP3855972B2 (ja) 2003-07-16 2006-12-13 松下電器産業株式会社 空気調和機
JP3864951B2 (ja) 2003-11-19 2007-01-10 松下電器産業株式会社 空気調和機

Patent Citations (4)

* Cited by examiner, † Cited by third party
Publication number Priority date Publication date Assignee Title
JPH0422205Y2 (ja) * 1986-12-26 1992-05-20
JPH0420923U (ja) * 1990-06-13 1992-02-21
JPH09210402A (ja) * 1996-02-07 1997-08-12 Hitachi Ltd 壁設置型空気調和機
JP2000234760A (ja) * 1999-02-15 2000-08-29 Fujitsu General Ltd 空気調和機

Cited By (5)

* Cited by examiner, † Cited by third party
Publication number Priority date Publication date Assignee Title
JP2006097980A (ja) * 2004-09-29 2006-04-13 Mitsubishi Electric Corp 空気調和機の室内機
JP2007155309A (ja) * 2005-11-11 2007-06-21 Daikin Ind Ltd 空気調和装置の室内パネル及び空気調和装置
US8230693B2 (en) 2005-11-11 2012-07-31 Daikin Industries, Ltd. Interior panel of air conditioner and air conditioner
WO2011055704A1 (ja) * 2009-11-04 2011-05-12 ダイキン工業株式会社 空気調和機
JP2011099588A (ja) * 2009-11-04 2011-05-19 Daikin Industries Ltd 空気調和機

Also Published As

Publication number Publication date
KR100750785B1 (ko) 2007-08-20
EP1752713A1 (en) 2007-02-14
EP1752713A4 (en) 2011-02-23
AU2005231286A1 (en) 2005-10-20
EP1752713B1 (en) 2017-11-01
WO2005098319A1 (ja) 2005-10-20
JP3714354B2 (ja) 2005-11-09
RU2327932C1 (ru) 2008-06-27
AU2005231286B2 (en) 2008-03-13
CN100455912C (zh) 2009-01-28
US7716944B2 (en) 2010-05-18
CN1938551A (zh) 2007-03-28
KR20060132950A (ko) 2006-12-22
ES2650187T3 (es) 2018-01-17
US20080250808A1 (en) 2008-10-16

Similar Documents

Publication Publication Date Title
JP3714354B2 (ja) 空気調和機の室内機
KR100709885B1 (ko) 공기 조화기의 실내기
CN109520104A (zh) 一种空调器室内机导风结构及空调器
CN100485274C (zh) 空调机的室内机
JP6201644B2 (ja) 空気調和機
JP6164013B2 (ja) 空気調和機
JP4333620B2 (ja) 空気調和機の室内機
JP3815492B2 (ja) 空気調和機の室内機
JP2011214727A (ja) 空気調和機
JP4396669B2 (ja) 空気調和機の室内機
JP6418865B2 (ja) 空気調和機
JP2005300142A5 (ja)
JP3614167B1 (ja) 空気調和機の室内機
JP6864260B2 (ja) 空気調和機の室内機
JP4580379B2 (ja) 空気調和機
JP5234292B2 (ja) 空気調和機
JP6787077B2 (ja) 空気調和機の室内機
JP3815493B2 (ja) 空気調和機の室内機
JP3841094B2 (ja) 空気調和機の室内機
JP2006226562A (ja) 空気調和機の室内機および空気調和機の室内機の制御方法
JP3807427B2 (ja) 空気調和機の室内機
JP2005098683A (ja) 空気調和機の室内機
JP2005098684A (ja) 空気調和機の室内機

Legal Events

Date Code Title Description
TRDD Decision of grant or rejection written
A01 Written decision to grant a patent or to grant a registration (utility model)

Free format text: JAPANESE INTERMEDIATE CODE: A01

Effective date: 20050802

A61 First payment of annual fees (during grant procedure)

Free format text: JAPANESE INTERMEDIATE CODE: A61

Effective date: 20050815

R151 Written notification of patent or utility model registration

Ref document number: 3714354

Country of ref document: JP

Free format text: JAPANESE INTERMEDIATE CODE: R151

FPAY Renewal fee payment (event date is renewal date of database)

Free format text: PAYMENT UNTIL: 20090902

Year of fee payment: 4

FPAY Renewal fee payment (event date is renewal date of database)

Free format text: PAYMENT UNTIL: 20100902

Year of fee payment: 5

FPAY Renewal fee payment (event date is renewal date of database)

Free format text: PAYMENT UNTIL: 20100902

Year of fee payment: 5

FPAY Renewal fee payment (event date is renewal date of database)

Free format text: PAYMENT UNTIL: 20110902

Year of fee payment: 6

FPAY Renewal fee payment (event date is renewal date of database)

Free format text: PAYMENT UNTIL: 20110902

Year of fee payment: 6

FPAY Renewal fee payment (event date is renewal date of database)

Free format text: PAYMENT UNTIL: 20120902

Year of fee payment: 7

FPAY Renewal fee payment (event date is renewal date of database)

Free format text: PAYMENT UNTIL: 20130902

Year of fee payment: 8

LAPS Cancellation because of no payment of annual fees