JP2005299639A - 内燃機関のバルブタイミング制御装置 - Google Patents
内燃機関のバルブタイミング制御装置 Download PDFInfo
- Publication number
- JP2005299639A JP2005299639A JP2005036150A JP2005036150A JP2005299639A JP 2005299639 A JP2005299639 A JP 2005299639A JP 2005036150 A JP2005036150 A JP 2005036150A JP 2005036150 A JP2005036150 A JP 2005036150A JP 2005299639 A JP2005299639 A JP 2005299639A
- Authority
- JP
- Japan
- Prior art keywords
- rotation
- camshaft
- rotational phase
- detection means
- rotational
- Prior art date
- Legal status (The legal status is an assumption and is not a legal conclusion. Google has not performed a legal analysis and makes no representation as to the accuracy of the status listed.)
- Pending
Links
Images
Classifications
-
- F—MECHANICAL ENGINEERING; LIGHTING; HEATING; WEAPONS; BLASTING
- F01—MACHINES OR ENGINES IN GENERAL; ENGINE PLANTS IN GENERAL; STEAM ENGINES
- F01L—CYCLICALLY OPERATING VALVES FOR MACHINES OR ENGINES
- F01L1/00—Valve-gear or valve arrangements, e.g. lift-valve gear
- F01L1/34—Valve-gear or valve arrangements, e.g. lift-valve gear characterised by the provision of means for changing the timing of the valves without changing the duration of opening and without affecting the magnitude of the valve lift
-
- F—MECHANICAL ENGINEERING; LIGHTING; HEATING; WEAPONS; BLASTING
- F01—MACHINES OR ENGINES IN GENERAL; ENGINE PLANTS IN GENERAL; STEAM ENGINES
- F01L—CYCLICALLY OPERATING VALVES FOR MACHINES OR ENGINES
- F01L1/00—Valve-gear or valve arrangements, e.g. lift-valve gear
- F01L1/34—Valve-gear or valve arrangements, e.g. lift-valve gear characterised by the provision of means for changing the timing of the valves without changing the duration of opening and without affecting the magnitude of the valve lift
- F01L1/344—Valve-gear or valve arrangements, e.g. lift-valve gear characterised by the provision of means for changing the timing of the valves without changing the duration of opening and without affecting the magnitude of the valve lift changing the angular relationship between crankshaft and camshaft, e.g. using helicoidal gear
- F01L1/352—Valve-gear or valve arrangements, e.g. lift-valve gear characterised by the provision of means for changing the timing of the valves without changing the duration of opening and without affecting the magnitude of the valve lift changing the angular relationship between crankshaft and camshaft, e.g. using helicoidal gear using bevel or epicyclic gear
-
- F—MECHANICAL ENGINEERING; LIGHTING; HEATING; WEAPONS; BLASTING
- F01—MACHINES OR ENGINES IN GENERAL; ENGINE PLANTS IN GENERAL; STEAM ENGINES
- F01L—CYCLICALLY OPERATING VALVES FOR MACHINES OR ENGINES
- F01L1/00—Valve-gear or valve arrangements, e.g. lift-valve gear
- F01L1/34—Valve-gear or valve arrangements, e.g. lift-valve gear characterised by the provision of means for changing the timing of the valves without changing the duration of opening and without affecting the magnitude of the valve lift
- F01L1/344—Valve-gear or valve arrangements, e.g. lift-valve gear characterised by the provision of means for changing the timing of the valves without changing the duration of opening and without affecting the magnitude of the valve lift changing the angular relationship between crankshaft and camshaft, e.g. using helicoidal gear
- F01L1/352—Valve-gear or valve arrangements, e.g. lift-valve gear characterised by the provision of means for changing the timing of the valves without changing the duration of opening and without affecting the magnitude of the valve lift changing the angular relationship between crankshaft and camshaft, e.g. using helicoidal gear using bevel or epicyclic gear
- F01L2001/3522—Valve-gear or valve arrangements, e.g. lift-valve gear characterised by the provision of means for changing the timing of the valves without changing the duration of opening and without affecting the magnitude of the valve lift changing the angular relationship between crankshaft and camshaft, e.g. using helicoidal gear using bevel or epicyclic gear with electromagnetic brake
Landscapes
- Engineering & Computer Science (AREA)
- Mechanical Engineering (AREA)
- General Engineering & Computer Science (AREA)
- Valve Device For Special Equipments (AREA)
- Output Control And Ontrol Of Special Type Engine (AREA)
- Combined Controls Of Internal Combustion Engines (AREA)
Abstract
【課題】低回転時においても、高応答・高精度なバルブタイミング制御を行う。
【解決手段】クランク角センサ117及びカムセンサ132の出力信号に基づいて、カムシャフト132の回転周期毎にカムシャフト120に対するカムシャフト134の回転位相を検出できる第1回転位相検出手段と、カムシャフト134の回転周期にかかわらず、任意のタイミングで前記回転位相を検出できる第2回転位相検出手段と、を備える。そして、前記第1回転位相検出手段の検出した回転位相を基準に、前記第2回転位相検出手段の検出した回転位相を補正するための補正値を学習するようにし、低回転時等においては、前記第2回転位相検出手段の検出した回転位相を前記学習した補正値により補正してバルブタイミング制御を実行する。
【選択図】図1
【解決手段】クランク角センサ117及びカムセンサ132の出力信号に基づいて、カムシャフト132の回転周期毎にカムシャフト120に対するカムシャフト134の回転位相を検出できる第1回転位相検出手段と、カムシャフト134の回転周期にかかわらず、任意のタイミングで前記回転位相を検出できる第2回転位相検出手段と、を備える。そして、前記第1回転位相検出手段の検出した回転位相を基準に、前記第2回転位相検出手段の検出した回転位相を補正するための補正値を学習するようにし、低回転時等においては、前記第2回転位相検出手段の検出した回転位相を前記学習した補正値により補正してバルブタイミング制御を実行する。
【選択図】図1
Description
本発明は、内燃機関のクランクシャフトに対するカムシャフトの回転位相を変化させることで、機関の吸気バルブ又は排気バルブのバルブタイミング(開閉タイミング)を変化させる内燃機関のバルブタイミング制御装置に関する。
特許文献1に開示されているように、従来の内燃機関のバルブタイミング制御装置においては、クランクシャフトの基準回転位置でクランク角信号を出力するクランク角センサと、カムシャフトの基準回転位置でカム信号を出力するカムセンサと、を備え、その基準回転位置のずれ角に基づいて、クランクシャフトに対するカムシャフトの回転位相を検出していた。
特開2000−303865号公報
ところで、上記従来の構成のもとでは、一定のクランク角(カムシャフトの回転周期)毎に回転位相が検出されることになるが、かかる回転位相の検出結果に基づく可変バルブタイミング機構のフィードバック制御(バルブタイミング制御)は、一般に微少単位時間毎に実行される。
このため、低回転時においては、バルブタイミング制御の実行周期よりも回転位相の検出周期の方が長くなってしまい、制御上十分な頻度で回転位相を検出できない。このような場合には、実際とは異なる回転位相に基づいて目標回転位相との偏差が算出され、誤った偏差に基づいてフィードバック操作量が算出されることになって、制御性が悪化してしまうという問題があった。
このため、低回転時においては、バルブタイミング制御の実行周期よりも回転位相の検出周期の方が長くなってしまい、制御上十分な頻度で回転位相を検出できない。このような場合には、実際とは異なる回転位相に基づいて目標回転位相との偏差が算出され、誤った偏差に基づいてフィードバック操作量が算出されることになって、制御性が悪化してしまうという問題があった。
ここで、カムシャフトの回転周期とは無関係に任意のタイミングで回転位相の検出を可能とする回転位相検出手段を設け、バルブタイミング制御周期等の要求に応じて回転位相の検出を行うようにすることで、低回転時においても制御上十分な頻度で回転位相を検出することが可能となる。
しかし、任意のタイミングで回転位相を検出可能とした場合には、通常、上記従来のものに比べて、その回転位相検出手段(検出素子)の出力特性等が経時で変化する可能性が高く、この出力特性等の変化(ずれ)によって、回転位相の検出精度、ひいては、バルブタイミング制御の精度が悪化してしまうという新たな問題が生じる。
しかし、任意のタイミングで回転位相を検出可能とした場合には、通常、上記従来のものに比べて、その回転位相検出手段(検出素子)の出力特性等が経時で変化する可能性が高く、この出力特性等の変化(ずれ)によって、回転位相の検出精度、ひいては、バルブタイミング制御の精度が悪化してしまうという新たな問題が生じる。
本発明は、このような課題に着目してなされたものであり、任意のタイミングで回転位相を検出できる回転位相検出手段の出力特性等が変化してしまった場合であっても、これを修正することにより、低回転時においても、常に高応答・高精度のバルブタイミング制御を実現できるようにすることを目的とする。
このため、請求項1に記載の発明は、内燃機関のクランクシャフトに対するカムシャフトの回転位相を変化させることで、吸気バルブ又は排気バルブの開閉タイミングを変化させる内燃機関のバルブタイミング制御装置であって、クランクシャフトの基準回転位置を検出するクランク角センサ及びカムシャフトの基準回転位置を検出するカムセンサの出力信号に基づいて、カムシャフトの回転周期毎に前記回転位相を検出できる第1回転位相検出手段と、カムシャフトの回転周期にかかわらず、前記回転位相を任意のタイミングで検出できる第2回転位相検出手段と、を備え、第1回転位相検出手段により検出した回転位相に基づいて、第2回転位相検出手段により検出した回転位相を補正する。
かかる構成によると、その検出周期が機関回転に応じて変動するものの、従来から安定して正確に回転位相を検出できる第1回転位相検出手段によって検出した回転位相(第1回転位相)に基づいて、機関回転の影響を受けずに任意のタイミングで検出することが可能であるものの、その出力特性等が変化するおそれのある第2回転位相検出手段によって検出した回転位相(第2回転位相)を補正してバルブタイミング制御に用いることができる。つまり、第2回転位相検出手段の出力特性等が経時変化した場合であっても、第1回転位相検出手段により検出される第1回転位相が正しいものとして、この第1回転位相を基準に第2回転位相を修正し、これをバルブタイミング制御に用いることができるので、特に低回転時におけるバルブタイミング制御の精度を向上させることができる。
請求項2に記載の発明は、第1回転位相検出手段により検出した回転位相を基準として、第2回転位相検出手段の検出した回転位相を補正するための補正値を学習する。
かかる構成によると、第2回転位相を修正するための補正値を学習するので、第2回転位相検出手段の出力特性が経時変化等した場合であっても、第2回転位相を修正するための補正値を、常に、精度良く設定することができる。
かかる構成によると、第2回転位相を修正するための補正値を学習するので、第2回転位相検出手段の出力特性が経時変化等した場合であっても、第2回転位相を修正するための補正値を、常に、精度良く設定することができる。
請求項3に記載の発明は、前記第1回転位相検出手段又は前記第2回転位相検出手段の少なくとも一方により検出した回転位相の所定時間当たりの変化量が所定量以下であるときに、前記補正値の学習を行う。
かかる構成によると、例えば、検出した回転位相の前回値と今回値との差(制御時間当たりの変化量)があらかじめ設定した所定量以下であるとき(0に近いとき)に、すなわち、回転位相が所定時間(ほぼ)一定となっていることを条件に補正値の学習が行われることになる。これにより、適正な補正値の学習を安定して行うことができる。
かかる構成によると、例えば、検出した回転位相の前回値と今回値との差(制御時間当たりの変化量)があらかじめ設定した所定量以下であるとき(0に近いとき)に、すなわち、回転位相が所定時間(ほぼ)一定となっていることを条件に補正値の学習が行われることになる。これにより、適正な補正値の学習を安定して行うことができる。
請求項4に記載の発明は、検出した機関温度が所定範囲内にあるときに前記補正値の学習を行う。
このようにすると、第2回転位相検出手段の温度特性の影響を抑制して、適正な補正値の学習を安定して行うことができる。
このようにすると、第2回転位相検出手段の温度特性の影響を抑制して、適正な補正値の学習を安定して行うことができる。
以下、本発明の実施の形態を図に基づいて説明する。
図1は、実施形態における車両用内燃機関の構成図である。この図1において、内燃機関101の吸気管102には、スロットルモータ103aでスロットルバルブ103bを開閉駆動する電子制御スロットル104が介装され、該電子制御スロットル104及び吸気バルブ105を介して、燃焼室106内に空気が吸入される。
図1は、実施形態における車両用内燃機関の構成図である。この図1において、内燃機関101の吸気管102には、スロットルモータ103aでスロットルバルブ103bを開閉駆動する電子制御スロットル104が介装され、該電子制御スロットル104及び吸気バルブ105を介して、燃焼室106内に空気が吸入される。
機関の各燃焼室には点火プラグ133が設けられており、これにより火花点火して混合気を着火燃焼させる。燃焼排気は燃焼室106から排気バルブ107を介して排出され、フロント触媒108及びリア触媒109で浄化された後、大気中に放出される。
前記吸気バルブ105及び排気バルブ107は、それぞれ吸気側カムシャフト134、排気側カムシャフト110に設けられたカムによって開閉駆動されるが、吸気側カムシャフト134には、可変バルブタイミング機構(VTC)113が設けられている。
前記吸気バルブ105及び排気バルブ107は、それぞれ吸気側カムシャフト134、排気側カムシャフト110に設けられたカムによって開閉駆動されるが、吸気側カムシャフト134には、可変バルブタイミング機構(VTC)113が設けられている。
このVTC113は、クランクシャフト120に対する吸気側カムシャフト134の回転位相を変化させることで吸気バルブ105の開閉タイミングを変化させる機構であり、その詳細については後述する。
なお、本実施形態では吸気バルブ105側にのみVTC113を備える構成としたが、吸気バルブ105側に代えて又は吸気バルブ105側と共に、排気バルブ107側にVTC113を備える構成であっても良い。
なお、本実施形態では吸気バルブ105側にのみVTC113を備える構成としたが、吸気バルブ105側に代えて又は吸気バルブ105側と共に、排気バルブ107側にVTC113を備える構成であっても良い。
また、各気筒の吸気ポート130には、電磁式の燃料噴射弁131が設けられ、該燃料噴射弁131は、エンジンコントロールユニット(ECU)114からの噴射パルス信号によって開弁駆動されると、所定圧力に調整された燃料を吸気バルブ105に向けて噴射する。
マイクロコンピュータを内蔵するECU114には、各種センサからの検出信号(出力信号)が入力され、該信号に基づく演算処理によって、前記電子制御スロットル104、VTC113及び燃料噴射弁131等を制御する。
マイクロコンピュータを内蔵するECU114には、各種センサからの検出信号(出力信号)が入力され、該信号に基づく演算処理によって、前記電子制御スロットル104、VTC113及び燃料噴射弁131等を制御する。
前記各種センサとしては、アクセル開度を検出するアクセル開度センサAPS116、機関101の吸入空気量Qaを検出するエアフローメータ115、クランクシャフト120からクランク角180°毎の基準回転位置で基準クランク角信号REFを取り出すと共に単位クランク角度毎の単位角度信号POSを取り出すクランク角センサ117、スロットルバルブ103bの開度TVOを検出するスロットルセンサ118、機関101の冷却水温度Twを検出する水温センサ119、吸気側カムシャフト134からカム角90°(クランク角180°)毎の基準回転位置でカム信号CAMを取り出すカムセンサ132、燃焼室106内の燃焼圧力を検出する圧力センサ135、バッテリ電圧Vbを検出する電圧センサ136等が設けられている。なお、機関回転速度Neは、前記基準クランク角信号REFの周期、又は、単位時間当たりの単位角度信号POSの発生数に基づいて算出される。
次に、前記VTC113の構成を、図2〜図9に基づいて説明する。図2に示すように、本実施形態に係るVTC113は、前記吸気側カムシャフト(以下、単にカムシャフトという)134と、このカムシャフト134の前端部に相対回動できるように組み付けられ、タイミングチェーン(図示せず)を介してクランクシャフト120に連係されるタイミングスプロケット302(駆動回転体)と、このタイミングスプロケット302とカムシャフト134の前方側(図2において左側)に配置されて、カムシャフト134とタイミングスプロケット302との組付角を操作する組付角操作機構304と、この組付角操作機構304のさらに前方側に配置されて、同機構304を駆動する操作力付与手段305と、内燃機関の図外のシリンダヘッドとヘッドカバーの前面に跨って取り付けられて組付角操作機構304と操作力付与手段305の前面と周域を覆う図外のVTCカバーと、を備えている。なお、図3(及び図5)は図2のA−A断面に相当し、図4は図2のB−B断面に相当する。
タイミングスプロケット302は、段差状の挿通孔306を備えた短軸円筒状に形成され、外周には前記タイミングチェーンと噛み合う歯車部303を有している。そして、前記挿通孔306部分が、カムシャフト134の前端部に結合された従動軸部材307(従動回転体)に回転可能に組み付けられている。また、タイミングスプロケット302の前面(カムシャフト134と逆側の面)には、図3に示すように、対面する平行な側壁を有する3個の径方向溝308(径方向ガイド)がタイミングスプロケット302のほぼ半径方向に沿うように形成されている。
従動軸部材307は、図2に示すように、軸芯部を貫通するボルト310によってカムシャフト134に結合されている。また、カムシャフト134の前端部に突き合される基部側外周に拡径部307aが形成されると共に、その拡径部よりも前方側の外周面に放射状に突出する三つのレバー(突起部)309が一体に形成されている。
各突起部309には、三つのリンク311の基端がピン312によって回転可能に連結される。前記各リンク311の先端には、前記各径方向溝308に摺動自由に係合する円柱状の突出部313が一体に形成されている。
各突起部309には、三つのリンク311の基端がピン312によって回転可能に連結される。前記各リンク311の先端には、前記各径方向溝308に摺動自由に係合する円柱状の突出部313が一体に形成されている。
前記各リンク311は、各突出部313が対応する径方向溝308に係合した状態において、ピン312を介して従動軸部材307に連結されているため、リンク311の先端側が外力を受けて径方向溝308に沿って変位すると、タイミングスプロケット302と従動軸部材307とは、リンク311の作用によって相対回動する。
また、各リンク311の先端部には、軸方向前方側に開口する収容穴314が形成されている。この収容穴314には、後述する渦巻き溝315(渦巻き状ガイド)に係合する球面突起316aを有する係合ピン316(転動部材)と、この係合ピン316を前方側(渦巻き溝315側)に付勢するコイルばね317とが収容されている。
また、各リンク311の先端部には、軸方向前方側に開口する収容穴314が形成されている。この収容穴314には、後述する渦巻き溝315(渦巻き状ガイド)に係合する球面突起316aを有する係合ピン316(転動部材)と、この係合ピン316を前方側(渦巻き溝315側)に付勢するコイルばね317とが収容されている。
一方、従動軸部材307の突起部309よりも前方側には、フランジ部318aを有する円板状の中間回転体318が、軸受329を介して回転自在に支持されている。
この中間回転体318の後方側(カムシャフト134側)には、断面半円状の前述の渦巻き溝315が形成され、この渦巻き溝315に、前記各リンク311の先端の係合ピン316が転動自在に係合されている。
この中間回転体318の後方側(カムシャフト134側)には、断面半円状の前述の渦巻き溝315が形成され、この渦巻き溝315に、前記各リンク311の先端の係合ピン316が転動自在に係合されている。
渦巻き溝315は、タイミングスプロケット302の回転方向に沿って次第に縮径するように形成されている。
従って、各リンク311の先端の係合ピン316が渦巻き溝315に係合した状態において、中間回転体318がタイミングスプロケット302に対して遅れ方向に相対回転すると、各リンク311の先端部は、径方向溝308に案内されつつ、渦巻き溝315の渦巻き形状に誘導されて半径方向内側に移動する。逆に、中間回転体318が進み方向に相対変位すると、半径方向外側に移動する。
従って、各リンク311の先端の係合ピン316が渦巻き溝315に係合した状態において、中間回転体318がタイミングスプロケット302に対して遅れ方向に相対回転すると、各リンク311の先端部は、径方向溝308に案内されつつ、渦巻き溝315の渦巻き形状に誘導されて半径方向内側に移動する。逆に、中間回転体318が進み方向に相対変位すると、半径方向外側に移動する。
前記組付角操作機構304は、前記タイミングスプロケット302の径方向溝308、リンク311、突出部313、係合ピン316、突起部309、中間回転体318、渦巻き溝315等によって構成されている。
そして、前記操作力付与手段305から中間回転体318に対して回動操作力が入力されると、渦巻き溝315と係合ピン316との係合部を通して、リンク311の先端を径方向に変位させ、リンク311と突起部309との作用によって、タイミングスプロケット302と従動軸部材307(従って、カムシャフト134)との組付角を変化させる回動力として伝達する。
そして、前記操作力付与手段305から中間回転体318に対して回動操作力が入力されると、渦巻き溝315と係合ピン316との係合部を通して、リンク311の先端を径方向に変位させ、リンク311と突起部309との作用によって、タイミングスプロケット302と従動軸部材307(従って、カムシャフト134)との組付角を変化させる回動力として伝達する。
操作力付与手段305は、中間回転体318をタイミングスプロケット302の回転方向に付勢するゼンマイばね319と、中間回転体318をタイミングスプロケット302の回転方向とは逆方向に回動させる制動力を発生するヒステリシスブレーキ320と、を備えている。そして、ECU114が、内燃機関101の運転状態に応じてヒステリシスブレーキ320の制動力を制御することにより、中間回転体318をタイミングスプロケット302に対して相対回転させ、その回転位置を維持できるようになっている。
ゼンマイばね319は、タイミングスプロケット302に一体に取り付けられた円筒部材321にその外周端部が結合される一方で、内周端部が中間回転体318の円筒状の基部に結合され、全体が中間回転体318のフランジ壁318aの前方側スペースに配置されている。
ヒステリシスブレーキ320は、中間回転体318の前端部にリテーナプレート322を介して取り付けられた有底円筒状のヒステリシスリング323と、非回転部材である図外のVTCカバーに回転を規制した状態で取り付けられた磁界制御手段としての電磁コイル324と、電磁コイル324の磁気を誘導する磁気誘導部材であるコイルヨーク325と、を備える。そして、ECU114が、内燃機関101の運転状態に応じて前記電磁コイル324への通電を制御する。具体的には、ECU114は、電磁コイル324に対する通電量を、ディザ信号が重畳されたデューティ制御信号に基づいて制御する。
ヒステリシスブレーキ320は、中間回転体318の前端部にリテーナプレート322を介して取り付けられた有底円筒状のヒステリシスリング323と、非回転部材である図外のVTCカバーに回転を規制した状態で取り付けられた磁界制御手段としての電磁コイル324と、電磁コイル324の磁気を誘導する磁気誘導部材であるコイルヨーク325と、を備える。そして、ECU114が、内燃機関101の運転状態に応じて前記電磁コイル324への通電を制御する。具体的には、ECU114は、電磁コイル324に対する通電量を、ディザ信号が重畳されたデューティ制御信号に基づいて制御する。
ヒステリシスリング323は、図6に示すように、外部の磁界の変化に対して位相遅れをもって磁束力が変化する特性(磁気的ヒステリシス特性)を持つヒステリシス材(半硬質材)によって形成され、外周側の円筒部(壁)323aが前記コイルヨーク325によって制動作用を受けるようになっている。
コイルヨーク325は、電磁コイル324を取り囲むように全体が略円筒形状に形成され、その外周面が図外のシリンダヘッドに固定されている。また、コイルヨーク325の内周面は、軸受328を介して従動軸部材307の先端部に回転可能に支持されている。
コイルヨーク325は、電磁コイル324を取り囲むように全体が略円筒形状に形成され、その外周面が図外のシリンダヘッドに固定されている。また、コイルヨーク325の内周面は、軸受328を介して従動軸部材307の先端部に回転可能に支持されている。
そして、コイルヨーク315の後部面側(中間回転体318側)には、所定の隙間を有して向かい合う一対の対向面326、327が形成されている。
コイルヨーク325の両対向面326、327には、図4に示すように、夫々円周方向に沿って複数の凹凸が連続して形成され、これらの凹凸のうち凸部326a、327aが磁極(磁界発生部)を構成している。
コイルヨーク325の両対向面326、327には、図4に示すように、夫々円周方向に沿って複数の凹凸が連続して形成され、これらの凹凸のうち凸部326a、327aが磁極(磁界発生部)を構成している。
そして、一方の対向面326の凸部326aと他方の対向面327の凸部327aとは円周方向に交互に配置され、対向面326、327相互の近接する凸部326a,327aがすべて円周方向にずれている。
従って、両対向面326、327の近接する凸部326a、327a間には、電磁コイル24の励磁によって円周方向に傾きをもった向きの磁界が発生する(図7参照)。なお、前記ヒステリシスリング323の円筒部(壁)323aは、両対向面326、327間の隙間に非接触状態で介装されている。
従って、両対向面326、327の近接する凸部326a、327a間には、電磁コイル24の励磁によって円周方向に傾きをもった向きの磁界が発生する(図7参照)。なお、前記ヒステリシスリング323の円筒部(壁)323aは、両対向面326、327間の隙間に非接触状態で介装されている。
ここで、このヒステリシスブレーキ320の作動原理を図8により説明する。図8(a)はヒステリシスリング323(ヒステリシス材)に最初に磁界をかけた状態を示し、図8(b)は上記(a)の状態からヒステリシスリング323を変位(回転)させた状態を示す。
図8(a)の状態においては、コイルヨーク325の両対向面326、327間における磁界の向き(対向面327の凸部327aから他方の対向面326の凸部326aに向かう磁界の向き)に沿うようにヒステリシスリング323内に磁束の流れが生じる。
図8(a)の状態においては、コイルヨーク325の両対向面326、327間における磁界の向き(対向面327の凸部327aから他方の対向面326の凸部326aに向かう磁界の向き)に沿うようにヒステリシスリング323内に磁束の流れが生じる。
この状態からヒステリシスリング323が、外力F1を受けて図8(b)に示す状態に移動すると、外部磁界内をヒステリシスリング323が変位することとなるため、このときヒステリシスリング323の内部の磁束は位相遅れをもち、ヒステリシスリング323内部の磁束の向きは、対向面326、327間の磁界の向きに対してずれる(傾斜する)こととなる。
従って、対向面327の凸部327aからヒステリシスリング323に入る磁束の流れ(磁力線)と、ヒステリシスリング323から他方の対向面326の凸部326aに向かう磁束の流れ(磁力線)が歪められ、このとき、この磁束の流れの歪みを矯正するような引き合い力が対向面326、327とヒステリシスリング323との間に作用し、その引き合い力がヒステリシスリング323を制動する抗力F2として働く。
つまり、ヒステリシスブレーキ320は、以上説明したように、ヒステリシスリング323が対向面326、327間の磁界内を変位するときに、ヒステリシスリング323内部の磁束の向きと磁界の向きのずれによって制動力を発生するものである。そして、その制動力は、ヒステリシスリング323の回転速度(対向面326、327とヒステリシスリング323の相対速度)に関係なく、磁界の強さ、即ち、電磁コイル324の励磁電流の大きさに略比例した一定の値となる。
なお、図9は、ヒステリシスブレーキ320における回転速度と制動トルクの関係を、励磁電流をa〜d(a<b<c<d)に変化させて調べた試験結果である。この試験結果から明らかなように、このヒステリシスブレーキ320よれば、回転速度の影響を受けることがなく、常に励磁電流値に応じた制動力を得ることができる。
本実施形態に係るVTC113は以上のような構成となっており、機関回転中(例えば、停止前のアイドル運転中)にヒステリシスブレーキ320の電磁コイル324の励磁がオフされると、ゼンマイばね319の力によって中間回転体318がタイミングスプロケット302に対して機関回転方向に最大に回転される(図3参照)。これにより、クランクシャフト120に対するカムシャフト134の回転位相はバルブタイミングが最も遅れる最遅角側(吸気バルブ105のバルブタイミングは最遅角タイミング)に維持される。
本実施形態に係るVTC113は以上のような構成となっており、機関回転中(例えば、停止前のアイドル運転中)にヒステリシスブレーキ320の電磁コイル324の励磁がオフされると、ゼンマイばね319の力によって中間回転体318がタイミングスプロケット302に対して機関回転方向に最大に回転される(図3参照)。これにより、クランクシャフト120に対するカムシャフト134の回転位相はバルブタイミングが最も遅れる最遅角側(吸気バルブ105のバルブタイミングは最遅角タイミング)に維持される。
この状態から前記回転位相を最進角側に変更すべき指令が前記ECU114から発されると、ヒステリシスブレーキ320の電磁コイル324の励磁がオンにされて、ゼンマイばね319の力に抗する制動力が中間回転体318に付与される。これにより、中間回転体318がタイミングスプロケット302に対して回転移動し、それによってリンク311の先端の係合ピン316が渦巻き溝315に誘導されてリンク311の先端部が径方向溝308に沿って変位し、図5に示すように、リンク311の作用によってタイミングスプロケット302と従動軸部材307の組付角が最進角側に変更される。この結果、回転位相はバルブタイミングが最も進む最進角側(吸気バルブ105のバルブタイミングは最進角タイミング)に変更される。
一方、この状態(最進角側)から前記回転位相を最遅角側に変更すべき指令が前記ECU114から発されると、ヒステリシスブレーキ320の電磁コイル324の励磁がオフにされ、再度ゼンマイばね319の力によって中間回転体318が戻す方向に回転移動する。すると、渦巻き溝315による係合ピン316の誘導によってリンク311が上記と逆方向に揺動し、図3に示すように、そのリンク311の作用によってタイミングスプロケット302と従動軸部材307の組付角が再度最遅角側に変更される。
なお、このVTC113によって変更される(クランクシャフトに対するカムシャフト134の)回転位相は、以上説明した最遅角と最進角の二種の位相ばかりでなく、ヒステリシスブレーキ320の制動力の制御によって任意の位相に変更することができ、ゼンマイばね319の力とヒステリシスブレーキ320の制動力のバランスによってその位相を保持することもできる。
また、本実施形態に係るVTC113は、図10に示すように、カムシャフト134と共に回転する回転体401と、この回転体401の外周に近接配置された電磁式のギャップセンサ402とを備えている。
回転体401は直接又は他の部材を介して間接的にカムシャフト134に固定されており、その外周は、図10に示すように、カムシャフト134の中心からの距離が周方向で徐々に変化するよう形成されている。ギャップセンサ402は、カムシャフト134と回転に伴って変化する回転体401の外周とのギャップGpに応じた信号(電圧)をECU114に出力する。なお、回転体401は、吸気側カムシャフト134と共に回転するように設けられていれば、その固定方法や固定位置等は問わず、また、ギャップセンサ402は、回転体401の外周とのギャップGpに応じた信号を連続的に出力できればその方式は問わない。
回転体401は直接又は他の部材を介して間接的にカムシャフト134に固定されており、その外周は、図10に示すように、カムシャフト134の中心からの距離が周方向で徐々に変化するよう形成されている。ギャップセンサ402は、カムシャフト134と回転に伴って変化する回転体401の外周とのギャップGpに応じた信号(電圧)をECU114に出力する。なお、回転体401は、吸気側カムシャフト134と共に回転するように設けられていれば、その固定方法や固定位置等は問わず、また、ギャップセンサ402は、回転体401の外周とのギャップGpに応じた信号を連続的に出力できればその方式は問わない。
ここで、ギャップセンサ402からの出力は、図11に示すように、回転体401の外周とのギャップに対してほぼ正比例の関係にあり、また、ギャップとカムシャフト134の回転角度とは1対1で対応するため、ギャップセンサ402の出力とカムシャフト134の回転角度とは、図12に示すように、ほぼ正比例の関係となる。従って、ECU114は、ギャップセンサ402からの出力信号に基づいて瞬時に(任意のタイミングで)カムシャフト134の回転角度を検出することができ、この検出した回転角度とクランク角センサ117から出力信号に基づくクランクシャフト120の回転角度とにより、クランクシャフト120に対するカムシャフト134の回転位相を検出できる。
すなわち、本実施形態におけるECU114は、(1)クランク角センサ117及びカムセンサ132の出力信号に基づいて、吸気側カムシャフト134の回転周期毎に、クランクシャフト120に対する吸気側カムシャフト134の回転位相(吸気バルブ105のバルブタイミング)を検出できる(第1回転位相検出手段)と共に、(2)クランク角センサ117及びギャップセンサ402の出力信号に基づいて、任意のタイミングで連続的に前記回転位相(吸気バルブ105のバルブタイミング)を検出できる(第2回転位相検出手段)。
具体的には、第1回転位相検出手段は、基準クランク角信号REFの発生からカム信号CAMの発生までの単位角度信号POSをカウントする(時間を計測する)ことで前記回転位相を検出(算出)し(図13〜図15参照)、第2回転位相検出手段は、ギャップセンサ402の出力信号に基づいて検出した吸気側カムシャフト134の回転角度と、基準クランク角信号REFの発生から吸気側カムシャフト134の回転角度検出までの単位角度信号POSをカウントする(時間を計測する)ことで検出したクランクシャフト120の回転角度とから前記回転位相を検出(算出)する(図12参照)。
なお、クランクシャフト120側にも中心からの距離が周方向で徐々に変化する回転体とギャップセンサを設け、該ギャップセンサと上記カムシャフト134側のギャップセンサ402との出力信号に基づいて回転位相を検出するように構成してもよい
そこで、本実施形態においては、前記第1回転位相検出による回転位相の検出周期(すなわち、カムシャフト134の回転周期)がバルブタイミング制御周期よりも長くなる低回転時には、前記第2回転位相検出手段により検出した回転位相が所定の目標回転位相となるようにVTC113を制御することで、バルブタイミング制御周期に対して回転位相検出周期が長くなることで生じる不都合(制御性の悪化)を回避して、高応答・高精度なバルブタイミング制御を実現する。
そこで、本実施形態においては、前記第1回転位相検出による回転位相の検出周期(すなわち、カムシャフト134の回転周期)がバルブタイミング制御周期よりも長くなる低回転時には、前記第2回転位相検出手段により検出した回転位相が所定の目標回転位相となるようにVTC113を制御することで、バルブタイミング制御周期に対して回転位相検出周期が長くなることで生じる不都合(制御性の悪化)を回避して、高応答・高精度なバルブタイミング制御を実現する。
一方、上記のような不都合がない中・高回転時には、前記第1回転位相検出手段により検出した回転位相が所定の目標回転位相となるようにVTC113を制御することで、安定したバルブタイミング制御を実現するようにしている。
ここで、本実施形態において、ECU114によって実行されるバルブタイミング(回転位相)制御について説明する。
ここで、本実施形態において、ECU114によって実行されるバルブタイミング(回転位相)制御について説明する。
図13〜15は、クランク角センサ及びカムセンサの出力信号に基づいて、すなわち、第1回転位相検出手段により回転位相(以下、これを第1回転位相θdet1という)を検出するフローチャートである。
図13は、単位角度信号POSのカウント値CPOSのリセット処理を行うフローチャートであり、クランク角センサ117から基準クランク信号REFが出力されると実行される。S11では、クランク角センサ117からの単位角度信号POSのカウント値CPOSを0とする。
図13は、単位角度信号POSのカウント値CPOSのリセット処理を行うフローチャートであり、クランク角センサ117から基準クランク信号REFが出力されると実行される。S11では、クランク角センサ117からの単位角度信号POSのカウント値CPOSを0とする。
図14は、単位角度信号POSのカウント値CPOSのカウントアップ処理を行うフローチャートであり、クランク角センサ117から単位角度信号POSが出力されると実行される。S21では、カウント値CPOSを1アップする。
以上の図13、14のフローにより、前記カウント値CPOSは基準クランク角信号REFの発生時に0にリセットされ、その後の単位角度信号POSの発生数を計数した値となる。
以上の図13、14のフローにより、前記カウント値CPOSは基準クランク角信号REFの発生時に0にリセットされ、その後の単位角度信号POSの発生数を計数した値となる。
図15は、第1回転位相θdet1を検出するフローチャートであり、カムセンサ132からカム信号CAMが出力されると実行される。
S31では、基準クランク角信号REFの発生からカム信号CAMの発生までの前記カウント値CPOSを読み込む。
S32では、読み込んだカウント値CPOSに基づいて第1回転位相θdet1を検出する。つまり、第1回転位相検出手段では、カム信号CAMが出力される毎(クランク角180°毎)に、クランクシャフト120に対するカムシャフト134の回転位相(第1回転位相)θdet1が検出されることになる。
S31では、基準クランク角信号REFの発生からカム信号CAMの発生までの前記カウント値CPOSを読み込む。
S32では、読み込んだカウント値CPOSに基づいて第1回転位相θdet1を検出する。つまり、第1回転位相検出手段では、カム信号CAMが出力される毎(クランク角180°毎)に、クランクシャフト120に対するカムシャフト134の回転位相(第1回転位相)θdet1が検出されることになる。
図16は、本実施形態に係るバルブタイミング(回転位相)制御のフローチャートであり、キースイッチがONされると開始され、所定時間(例えば、10ms)毎に実行される。
S41では、機関回転速度Ne、吸入空気量Qa、冷却水温度Tw等の機関運転状態を読み込む。
S41では、機関回転速度Ne、吸入空気量Qa、冷却水温度Tw等の機関運転状態を読み込む。
S42では、読み込んだ機関運転状態に基づいて目標回転位相(目標バルブタイミング)θtgを設定する。
S43では、機関回転速度Neが予め設定した所定回転速度Ns以上であるか否かを判定する。Ne≧NsであればS44に進み、前記図13〜図15により検出した、すなわち、前記第1回転位相検出手段により検出した第1回転位相θdet1(最新値)を読み込む。一方、Ne<NsであればS45に進む。なお、前記所定回転速度Nsは、前記第1回転位相検出手段による回転位相の検出周期が本フローの実行周期(バルブタイミング制御周期)よりも長くなる回転速度である。
S43では、機関回転速度Neが予め設定した所定回転速度Ns以上であるか否かを判定する。Ne≧NsであればS44に進み、前記図13〜図15により検出した、すなわち、前記第1回転位相検出手段により検出した第1回転位相θdet1(最新値)を読み込む。一方、Ne<NsであればS45に進む。なお、前記所定回転速度Nsは、前記第1回転位相検出手段による回転位相の検出周期が本フローの実行周期(バルブタイミング制御周期)よりも長くなる回転速度である。
S45では、クランク角センサ117及びギャップセンサ402の出力信号に基づいて、すなわち、前記第2回転位相検出手段により回転位相(以下、これを第2回転位相θdet2という)を検出する。
S46では、検出した第2回転位相θdet2を、図に示すような補正テーブルを用いて補正する(θdet2→θdet2N)。かかる補正テーブルは、後述するように、所定の条件を満たした際にその内容が更新される(図17〜図21参照)。
S46では、検出した第2回転位相θdet2を、図に示すような補正テーブルを用いて補正する(θdet2→θdet2N)。かかる補正テーブルは、後述するように、所定の条件を満たした際にその内容が更新される(図17〜図21参照)。
S47では、S42で設定した目標回転位相θtgと、S44で読み込んだ第1回転位相θdet1又はS46で補正した第2回転位相θdet2Nとに基づいて、VTC113の操作量(フィードバック操作量)UをPID制御等によって算出する。
S48では、算出した操作量UをVTC113に出力して本フローを終了する。
ところで、前記第2回転位相検出手段は、カムシャフト134の回転周期にかかわらず、任意のタイミングで回転位相(第2回転位相θdet1)を検出することができるが、ギャップセンサ402が回転体401の外周とのギャップに応じた信号を出力する構成であるため、ギャップGp自体やギャップGpに対する出力電圧が長期使用等によって変化してしまう場合もあり得る。このような場合には、第2回転位相検出手段による回転位相の検出が精度よく行えず、低回転時におけるバルブタイミング制御の制御性が悪化してしまうため、これを是正する必要がある。
S48では、算出した操作量UをVTC113に出力して本フローを終了する。
ところで、前記第2回転位相検出手段は、カムシャフト134の回転周期にかかわらず、任意のタイミングで回転位相(第2回転位相θdet1)を検出することができるが、ギャップセンサ402が回転体401の外周とのギャップに応じた信号を出力する構成であるため、ギャップGp自体やギャップGpに対する出力電圧が長期使用等によって変化してしまう場合もあり得る。このような場合には、第2回転位相検出手段による回転位相の検出が精度よく行えず、低回転時におけるバルブタイミング制御の制御性が悪化してしまうため、これを是正する必要がある。
一方、第1回転位相検出手段により検出する第1回転位相θdet1は、低回転時にはその検出周期が長くなってしまうものの、その検出時には安定かつ正確な回転位相の検出が可能であることが従来から確認されており、検出誤差や特性変動が生じ難い。
そこで、本実施形態では、上述したように、低回転時には、補正テーブルを用いて第2回転位相θdet2を補正し、この補正後の第2回転位相θdet2Nに基づいてバルブタイミング制御を行う。ここで、かかる補正テーブルは、第1回転位相θdet1が正しいものとして更新され、ギャップセンサ402の出力特性の変化等による第2回転位相θdet2のずれを修正するものである。
そこで、本実施形態では、上述したように、低回転時には、補正テーブルを用いて第2回転位相θdet2を補正し、この補正後の第2回転位相θdet2Nに基づいてバルブタイミング制御を行う。ここで、かかる補正テーブルは、第1回転位相θdet1が正しいものとして更新され、ギャップセンサ402の出力特性の変化等による第2回転位相θdet2のずれを修正するものである。
以下、補正テーブルの更新制御(すなわち、補正値の学習制御)について説明する。
図17は、補正テーブルの更新制御(1)を示すフローチャートであり、カムセンサ132からカム信号CAMが出力されると実行される。このフローでは、上記補正テーブルにおいて、予め区分けされた領域の出力格子に対応する入力値を更新する。
S51では、第1回転位相θdet1、第2回転位相θdet2を読み込む。
図17は、補正テーブルの更新制御(1)を示すフローチャートであり、カムセンサ132からカム信号CAMが出力されると実行される。このフローでは、上記補正テーブルにおいて、予め区分けされた領域の出力格子に対応する入力値を更新する。
S51では、第1回転位相θdet1、第2回転位相θdet2を読み込む。
S52では、回転位相θの前回値θ(-1)からの変化量Δθが予め設定した所定量θs(≒0)以下であるか否かを判定する。なお、かかる判定は、第1回転位相θde1、第2回転位相θdet2のいずれを用いて行ってもよい。Δθ≦θsであれば、VTC113が所定の回転位相を保持している(回転位相が変化していない)としてS53に進み、Δθ>θsであればS60に進む。
S53では、冷却水温度(機関温度)Twが予め定めた所定範囲内(Tw1≧Tw≧Tw2)であるか否かを判定する。かかる判定を行うのは、ギャップセンサ402の温度特性を考慮したものである。冷却水温度Twが所定範囲内であればS54に進み、それ以外であればS60に進む。
S54では、機関回転速度Neが予め定めた所定範囲内(Ne1≧Ne≧Ne2)であるか否かを判定する。かかる判定を行うのは、機関回転速度Neの影響を排除するためである。機関回転速度Neが所定範囲内であればS55に進み、それ以外であればS60に進む。
S54では、機関回転速度Neが予め定めた所定範囲内(Ne1≧Ne≧Ne2)であるか否かを判定する。かかる判定を行うのは、機関回転速度Neの影響を排除するためである。機関回転速度Neが所定範囲内であればS55に進み、それ以外であればS60に進む。
S55では、カウント値CNTを1だけカウントアップする(CNT←CNT+1)。このカウント値CNTは、S52〜S54の条件が全て成立してからの経過時間を示す。
S56では、カウントアップしたカウント値CNTが予め設定した所定の値CNT1に達したか否かを判定する。所定の値CNT1に達していれば、全ての条件が成立してから所定時間経過したとしてS57に進み、達していなければS52に戻る。
S56では、カウントアップしたカウント値CNTが予め設定した所定の値CNT1に達したか否かを判定する。所定の値CNT1に達していれば、全ての条件が成立してから所定時間経過したとしてS57に進み、達していなければS52に戻る。
S57では、読み込んだ第1回転位相θdet1、第2回転位相θdet2を、それぞれ前記補正テーブルにおける出力βx、入力γxに設定する。ここでは、設定された出力βx、入力γxが、区分けされた補正テーブルのN領域に属するものとする。
S58では、N領域の隣の領域(N+1領域又はN−1領域)のいずれかで、すでに第1回転位相θdet1、第2回転位相θdet2が出力βx、入力γyに設定されているか否かを判定する。設定されていればS59に進み、そうでなければS60に進む。
S58では、N領域の隣の領域(N+1領域又はN−1領域)のいずれかで、すでに第1回転位相θdet1、第2回転位相θdet2が出力βx、入力γyに設定されているか否かを判定する。設定されていればS59に進み、そうでなければS60に進む。
S59では、入出力設定済み領域間の出力格子に対応する入力値αを算出し、更新する。例えば、図18に示すように、N領域では出力βx、入力γxが、N+1領域では出力βy、入力γyが設定されている場合には、その間の出力格子Anに対応する入力値(補正テーブル値)αを次式(直線補間)により算出し、更新する。
α=γx+{(γy−γx)/(βy−βx)}*(An−βx)
S60では、カウント値CNTをクリアして本フローを終了する。
α=γx+{(γy−γx)/(βy−βx)}*(An−βx)
S60では、カウント値CNTをクリアして本フローを終了する。
このように、第2回転位相θdet2を補正するための補正テーブル(補正値)が第1回転位相θdet1を基準に修正(学習)され、この補正テーブルを用いて第2回転位相θdet2を補正することで、ギャップセンサ402の出力特性の変化に対応して第2回転位相θdet2のずれを修正することができる。
なお、以上では、補正テーブルにおける各出力格子(A1、A2、・・・、An-1、An、An+1、・・・)に対応する入力値のみを更新するようにしているが、図19に示すように、第1回転位相θdet1、第2回転位相θdet2を該当する領域(N領域)の補正テーブル値(入力αn=θdet2、出力βn=θdet1)として、入力値、出力値共に更新するようにしてもよい。このようにしても、第1回転位相θdet1を基準に第2回転位相θdet2を補正するための補正テーブル(補正値)が修正(学習)される。
なお、以上では、補正テーブルにおける各出力格子(A1、A2、・・・、An-1、An、An+1、・・・)に対応する入力値のみを更新するようにしているが、図19に示すように、第1回転位相θdet1、第2回転位相θdet2を該当する領域(N領域)の補正テーブル値(入力αn=θdet2、出力βn=θdet1)として、入力値、出力値共に更新するようにしてもよい。このようにしても、第1回転位相θdet1を基準に第2回転位相θdet2を補正するための補正テーブル(補正値)が修正(学習)される。
図20は、補正テーブルの更新制御(2)を示すフローチャートであり、カムセンサ132からカム信号CAMが出力されると実行される。このフローでは、上記補正テーブルにおいて、回転位相が最遅角側にあるときの入力値(最遅角位置に対応する入力値)を更新する。
S61では、第1回転位相θdet1、第2回転位相θdet2を読み込む。
S61では、第1回転位相θdet1、第2回転位相θdet2を読み込む。
S62では、目標回転位相θtgが最遅角位置となっているか否かを判定する。最遅角位置となっていればS63に進み、それ以外のときはS70に進む。
S63では、VTC113に最遅角用の操作量が出力されているか(例えば、duty=0であるか)否かを判定する。最遅角用の操作量が出力されていればS64に進み、それ以外のときはS70に進む。
S63では、VTC113に最遅角用の操作量が出力されているか(例えば、duty=0であるか)否かを判定する。最遅角用の操作量が出力されていればS64に進み、それ以外のときはS70に進む。
S64〜S68までは、図18のS52〜S56と同様であるので説明を省略する。なお、本フローにおいて、回転位相の変化量が所定値以下であるということは、回転位相が最遅角側に制御されていることを意味し、また、カウント値CNTはS62〜S66の条件が全て成立してからの経過時間を示すことになる。そして、S68において、カウント値CNTが所定の値CNT1に達していればS69に進み、達していなければS62に戻る。
S69では、読み込んだ第2回転位相θdet2を補正テーブルの最遅角位置(出力値)に相当する入力値として更新する。
S70では、カウント値CNTをクリアして(CNT=0)、本フローを終了する。
これにより、最遅角位置に対応する入力値(補正テーブル値)が、ホール素子の出力特性の変化に応じて修正(更新)される。
S70では、カウント値CNTをクリアして(CNT=0)、本フローを終了する。
これにより、最遅角位置に対応する入力値(補正テーブル値)が、ホール素子の出力特性の変化に応じて修正(更新)される。
図21は、補正テーブルの更新制御(3)を示すフローチャートであり、カムセンサ132からカム信号CAMが出力されると実行される。このフローでは、上記補正テーブルにおいて、回転位相が最進角側にあるときの入力値(最進角位置に対応する入力値)を更新する。
このフローは、S72で目標回転位相θtgが最進角位置となっているか否かを判定すること、S73でVTC113に最進角用の操作量が出力されているか否かを判定すること、及び、S79で読み込んだ第2回転位相θdet2を補正テーブルの最進角位置(出力値)に対応する入力値として更新することが上記図20のフローと相違しており、これにより、最進角位置に対応する入力値(補正テーブル値)が、ホール素子の出力特性の変化に応じて修正(更新)される。なお、その他のステップについては図20と同じであるのでその説明は省略する。
このフローは、S72で目標回転位相θtgが最進角位置となっているか否かを判定すること、S73でVTC113に最進角用の操作量が出力されているか否かを判定すること、及び、S79で読み込んだ第2回転位相θdet2を補正テーブルの最進角位置(出力値)に対応する入力値として更新することが上記図20のフローと相違しており、これにより、最進角位置に対応する入力値(補正テーブル値)が、ホール素子の出力特性の変化に応じて修正(更新)される。なお、その他のステップについては図20と同じであるのでその説明は省略する。
そして、以上の補正テーブルの更新制御(1)〜(3)が繰り返されることで各出力格子、最遅角位置及び最進角位置に対応する入力値(補正テーブル値)が更新され、第2回転位相θdet2を補正するための補正テーブル(補正値)がギャップセンサ402の出力特性等の変化に応じて修正されることになるから、ギャップセンサ402の出力特性が経時変化等した場合であっても、この補正テーブルを用いて第2回転位相(検出値)θdet2を補正し、補正後の値(θdet2N)に基づいてバルブタイミング制御を実行することで低回転時におけるバルブタイミング制御の精度を高く維持することができる。
ところで、上記実施形態では、吸気バルブ105の実際のバルブタイミング(実回転位相)θdetを任意のタイミングで連続的に検出する第2回転位相検出手段として、クランク角センサ117及びギャップセンサ402を用いているが、これに限られるものではない。例えば、上記VTC(以下、「第1VTC」という)113に対して以下のように構成したVTC(以下、「第2VTC」という)213を用いることで、吸気バルブ105の実際のバルブタイミング(実回転位相)θdetを任意のタイミングで連続的に検出するようにしてもよい。
以下、第2VTC213の構成を、図22〜図29を参照して説明する。
なお、この第2VTC213も、ゼンマイばねの力とヒステリシスブレーキの制動力とによって位相を変更・保持するものであり、上述した第1VTC113と同一又は類似する構成要素を有しているが、便宜上、全構成について説明する。なお、第1VTC113では各構成要素の符号として300番台を用いるのに対して、第2VTC213では500番台を用いる。
なお、この第2VTC213も、ゼンマイばねの力とヒステリシスブレーキの制動力とによって位相を変更・保持するものであり、上述した第1VTC113と同一又は類似する構成要素を有しているが、便宜上、全構成について説明する。なお、第1VTC113では各構成要素の符号として300番台を用いるのに対して、第2VTC213では500番台を用いる。
第2VTC213は、図22に示すように、カムシャフト134の前端部に相対回動できるように組み付けられ、タイミングチェーン(図示せず)を介してクランクシャフト120に連係されるタイミングスプロケット502と、このタイミングスプロケット502の内周側に配置されて、タイミングスプロケット502とカムシャフト134との組付角を操作する組付角操作機構504と、この組付角操作機構504よりもカムシャフト134よりの後方側に配置されて、該組付角操作機構504を駆動する操作力付与手段505と、前記タイミングスプロケット502に対するカムシャフト134の相対回転変位角(回転位相)を検出する相対変位検出手段506と、シリンダヘッドのヘッドカバーに取り付けられて、前記組付角操作機構504及び相対変位検出手段506の前面を覆うVTCカバー532とを備えている。
ここで、図2と図22とを比較すれば明らかなように、第1VTC113と第2VTC213とは、概して次の点において相違している。
まず、第2VTC213では、操作力付与手段505が組付角操作機構504のカムシャフト134側に配置されていることである。従って、第2VTC213の組付角操作機構504及び操作力付与手段505の構成要素の配置は、VTC113の組付角操作機構304及び操作力付与手段305の構成要素の配置と、図で見て左右逆転している(もちろん、この相違に伴う変更等もある)。
まず、第2VTC213では、操作力付与手段505が組付角操作機構504のカムシャフト134側に配置されていることである。従って、第2VTC213の組付角操作機構504及び操作力付与手段505の構成要素の配置は、VTC113の組付角操作機構304及び操作力付与手段305の構成要素の配置と、図で見て左右逆転している(もちろん、この相違に伴う変更等もある)。
次に、タイミングスプロケット502に対するカムシャフト134の相対変位角を検出する相対変位角検出手段506が設けられていることである。この相対変位角検出手段506が前記第2回転位相検出手段に相当し、吸気バルブ105の実際のバルブタイミング(実回転位相)θdetを任意のタイミングで連続的に検出する。従って、第2VTC213においては、第1VTC113における回転体401及びギャップセンサ402は不要となる。
第2VTC213において、前記カムシャフト134の端部には、従動軸部材507がカムボルト510によって固定されている。
前記従動軸部材507には、フランジ507aが一体に設けられている。
前記タイミングスプロケット502は、前記タイミングチェーンが噛み合う歯車部503が形成された大径の円筒部502aと、小径の円筒部502bと、前記円筒部502aと円筒部502bとの間を連結する円板部502cとから構成される。
前記従動軸部材507には、フランジ507aが一体に設けられている。
前記タイミングスプロケット502は、前記タイミングチェーンが噛み合う歯車部503が形成された大径の円筒部502aと、小径の円筒部502bと、前記円筒部502aと円筒部502bとの間を連結する円板部502cとから構成される。
前記円筒部502bは、前記従動軸部材507のフランジ507aに対してボールベアリング530によって回転可能に組み付けられている。
前記円板部502cの円筒部502b側の面には、図23〜図25(図22のA−A断面に相当する)に示すように、三つ溝508がタイミングスプロケット502の半径方向に沿って放射状に形成されている。
前記円板部502cの円筒部502b側の面には、図23〜図25(図22のA−A断面に相当する)に示すように、三つ溝508がタイミングスプロケット502の半径方向に沿って放射状に形成されている。
また、前記従動軸部材507のフランジ部507aのカムシャフト134側端面には、径方向に放射状に突出する3つの突起部509が一体に形成されている
各突起部509には、3つのリンク511の基端がそれぞれピン512によって回転可能に連結される。
前記各リンク511の先端には、前記各溝508に摺動自在に係合する円柱状の突出部513が一体に形成されている。
各突起部509には、3つのリンク511の基端がそれぞれピン512によって回転可能に連結される。
前記各リンク511の先端には、前記各溝508に摺動自在に係合する円柱状の突出部513が一体に形成されている。
前記各リンク511は、各突出部513が対応する溝508に係合した状態において、ピン512を介して前記従動軸部材507に連結されているため、リンク511の先端側が外力を受けて溝508に沿って変位すると、タイミングスプロケット502と従動軸部材507とは、各リンク511の作用によって相対的に回動する。
また、前記各リンク511の突出部513には、カムシャフト134側に向けて開口する収容穴514が形成される。
また、前記各リンク511の突出部513には、カムシャフト134側に向けて開口する収容穴514が形成される。
前記収容穴514には、後述する渦巻き溝515に係合する係合ピン516と、この係合ピン516を前記渦巻き溝515側に向けて付勢するコイルばね517とが収容されている。
一方、前記突起部509よりもカムシャフト134側の従動軸部材507には、円板状の中間回転体518が軸受529を介して回転自在に支持されている。
一方、前記突起部509よりもカムシャフト134側の従動軸部材507には、円板状の中間回転体518が軸受529を介して回転自在に支持されている。
この中間回転体518の端面(突起部509側)には、渦巻き溝515が形成され、この渦巻き溝515に、前記各リンク511の先端の係合ピン516が係合される。
前記渦巻き溝515は、タイミングスプロケット502の回転方向に沿って次第に縮径するように形成されている。
従って、各係合ピン516が渦巻き溝515に係合した状態において、中間回転体518がタイミングスプロケット502に対して遅れ方向に相対変位すると、各リンク511の先端部は、溝508に案内されつつ渦巻き溝515に誘導されて半径方向内側に向けて移動する。
前記渦巻き溝515は、タイミングスプロケット502の回転方向に沿って次第に縮径するように形成されている。
従って、各係合ピン516が渦巻き溝515に係合した状態において、中間回転体518がタイミングスプロケット502に対して遅れ方向に相対変位すると、各リンク511の先端部は、溝508に案内されつつ渦巻き溝515に誘導されて半径方向内側に向けて移動する。
逆に、中間回転体518がタイミングスプロケット502に対して進み方向に相対変位すると、各リンク511の先端部は半径方向外側に向けて移動する。
前記組付角操作手段504は、前記タイミングスプロケット502の溝508、リンク511、突出部513、係合ピン516、中間回転体518、渦巻き溝515等によって構成されている。
前記組付角操作手段504は、前記タイミングスプロケット502の溝508、リンク511、突出部513、係合ピン516、中間回転体518、渦巻き溝515等によって構成されている。
前記操作力付与手段505から中間回転体518に対して回動操作力が入力されると、リンク511の先端が径方向に変位し、該変位がリンク511を介してタイミングスプロケット502と従動軸部材507との相対変位角を変化させる回動力として伝達される。
前記操作力付与手段505は、中間回転体518をタイミングスプロケット502の回転方向に付勢するゼンマイばね519と、中間回転体518をタイミングスプロケット502の回転方向とは逆方向に回動させる制動力を発生するヒステリシスブレーキ520とを備える。
前記操作力付与手段505は、中間回転体518をタイミングスプロケット502の回転方向に付勢するゼンマイばね519と、中間回転体518をタイミングスプロケット502の回転方向とは逆方向に回動させる制動力を発生するヒステリシスブレーキ520とを備える。
ここで、前記ECU114が、内燃機関101の運転状態に応じてヒステリシスブレーキ520の制動力を制御することにより、ゼンマイばね519の付勢力と前記ヒステリシスブレーキ520の制動力とがバランスする位置にまで、中間回転体518をタイミングスプロケット502に対して相対回転させることができるようになっている。
前記ゼンマイばね519は、図26に示すように、前記タイミングスプロケット502の円筒部502a内に配置され、その外周端部519aが円筒部502aの内周に係合され、内周端部519bが中間回転体518の基部518aの係合溝518bに係合されている。
前記ゼンマイばね519は、図26に示すように、前記タイミングスプロケット502の円筒部502a内に配置され、その外周端部519aが円筒部502aの内周に係合され、内周端部519bが中間回転体518の基部518aの係合溝518bに係合されている。
前記ヒステリシスブレーキ520は、ヒステリシスリング523と、磁界制御手段としての電磁コイル524と、該電磁コイル524の磁気を誘導するコイルヨーク525とを備える。
前記ヒステリシスリング523は、前記中間回転体518の後端部に対して、リテーナプレート522、及び、該リテーナプレート522の後端面に一体に設けられた突起522aを介して取り付けられる。
前記ヒステリシスリング523は、前記中間回転体518の後端部に対して、リテーナプレート522、及び、該リテーナプレート522の後端面に一体に設けられた突起522aを介して取り付けられる。
前記電磁コイル524への通電(励磁電流)は、機関の運転状態に応じてECU114が制御する。
前記ヒステリシスリング523は、円筒部523aと、この円筒部523aがビス523cによって結合される円板状の基部523bとから構成される。
前記基部523aは、円周方向の等間隔位置に設けられたブッシュ521内に前記各突起522aが圧入されることによって、リテーナプレート522に対して結合されるようになっている。
前記ヒステリシスリング523は、円筒部523aと、この円筒部523aがビス523cによって結合される円板状の基部523bとから構成される。
前記基部523aは、円周方向の等間隔位置に設けられたブッシュ521内に前記各突起522aが圧入されることによって、リテーナプレート522に対して結合されるようになっている。
また、前記ヒステリシスリング523は、外部の磁界変化に対して位相遅れをもって磁束が変化する特性をもつ材料によって形成され(第1VTCと同様であり、図6参照)、前記円筒部523aが前記コイルヨーク525によって制動作用を受けるようになっている。
前記コイルヨーク525は、電磁コイル524を取り囲むように形成され、外周面が図外のシリンダヘッドに固定されている。
前記コイルヨーク525は、電磁コイル524を取り囲むように形成され、外周面が図外のシリンダヘッドに固定されている。
また、前記コイルヨーク525の内周側は、ニードル軸受528を介してカムシャフト134を回転自在に支持していると共に、ボールベアリング531によって前記ヒステリシスリング523の基部523a側を回転自在に支持している。
そして、前記コイルヨーク525の中間回転体518側には、環状の隙間を介して向かい合う一対の対向面526、527が形成されている。
そして、前記コイルヨーク525の中間回転体518側には、環状の隙間を介して向かい合う一対の対向面526、527が形成されている。
前記対向面526、527には、磁界発生部を構成する複数の凸部526a、527aが周方向に沿って等間隔に形成されている(第1VTCと同様であり、図4参照)。
そして、一方の対向面526の凸部526aと他方の対向面527の凸部527aとは円周方向に交互に配置され、対向面526、527相互の近接する凸部526a、527aがすべて円周方向にずれている。
そして、一方の対向面526の凸部526aと他方の対向面527の凸部527aとは円周方向に交互に配置され、対向面526、527相互の近接する凸部526a、527aがすべて円周方向にずれている。
従って、両対向面526、527の近接する凸部526a、527a間には、電磁コイル524の励磁によって円周方向に傾きをもった向きの磁界が発生する(第1VTCと同様であり、図7、図8参照)。
そして、両対向面526、527間の隙間には、前記ヒステリシスリング523の円筒部523aが非接触状態で介装されている。
そして、両対向面526、527間の隙間には、前記ヒステリシスリング523の円筒部523aが非接触状態で介装されている。
前記ヒステリシスリング523が対向面526、527間の磁界内を変位するときに、ヒステリシスリング523内部の磁束の向きと磁界の向きのずれによって制動力が発生する。前記制動力は、対向面526、527とヒステリシスリング523との相対速度に関係なく、磁界の強さ、即ち、電磁コイル524の励磁電流の大きさに略比例した値となる(第1VTC113と同様であり、図9参照)。
前記相対変位検出手段506は、図22、27、28に示すように、前記従動軸部材507側に設けられた磁界発生機構と、固定部側であるVTCカバー532側に設けられて、前記磁界発生機構からの磁界の変化を検出するセンサ機構とから構成されている。
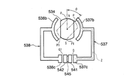
前記磁界発生機構は、前記従動軸部材507のフランジ507aの前端側に固定された非磁性材からなるマグネットベース533と、該マグネットベース533の先端部に形成された溝533a内に収容され、ピン533cによって固定される永久磁石534と、前記タイミングスプロケット502の円筒部502bの先端縁に固定されたセンサベース535と、該センサベース535の前端面に円筒状のヨークホルダー536を介して固定された第1、2ヨーク部材537、538とを備えている。なお、前記マグネットベース533の外周面と前記センサベース535の内周面との間には、センサ機構へのゴミなどの侵入を防止するシール部材551が介装されている。
前記磁界発生機構は、前記従動軸部材507のフランジ507aの前端側に固定された非磁性材からなるマグネットベース533と、該マグネットベース533の先端部に形成された溝533a内に収容され、ピン533cによって固定される永久磁石534と、前記タイミングスプロケット502の円筒部502bの先端縁に固定されたセンサベース535と、該センサベース535の前端面に円筒状のヨークホルダー536を介して固定された第1、2ヨーク部材537、538とを備えている。なお、前記マグネットベース533の外周面と前記センサベース535の内周面との間には、センサ機構へのゴミなどの侵入を防止するシール部材551が介装されている。
前記マグネットベース533は、図27に示すように、図で見て上下が開放される溝533aを形成する一対の突起壁533b、533bを有し、この両突起壁533b、533bの間に前記永久磁石534が収容される。
前記永久磁石534は、溝533aの形状に対応するよう小判型に形成されており、その上端部中央と下端部中央とが、それぞれN極とS極の中心に設定されている。
前記永久磁石534は、溝533aの形状に対応するよう小判型に形成されており、その上端部中央と下端部中央とが、それぞれN極とS極の中心に設定されている。
前記第1ヨーク部材537は、図27及び図28に示すように、前記センサベース535に固定されるプレート状の基部537aと、該基部537aの内周縁に一体に設けられる扇状ヨーク部537bと、該扇状ヨーク部537bの要の部分に一体に設けられた円柱状の中央ヨーク部537cとから構成されている。なお、前記中央ヨーク部537cは、その後端面が前記永久磁石534の前面に配置されている。
前記第2ヨーク部材538は、センサベース535に固定されるプレート状の基部538aと、該基部538aの上端縁に一体に設けられたプレート状の円弧ヨーク部538bと、該円弧ヨーク部538bの後端部に同じ曲率で一体に設けられた円環ヨーク部538cとから構成されている。なお、前記円環ヨーク部538cは、後述する第4ヨーク部材542の外周側を囲むように配置されている。
前記センサ機構は、円環状の素子ホルダー540と、整流ヨークである第3ヨーク部材541と、整流ヨークである有底円筒状の第4ヨーク部材542と、合成樹脂製の保護キャップ543と、保護部材544と、ホール素子545とを備えている。
前記素子ホルダー540は、前記VTCカバー532の内側に配置され、圧入等により固定されるボールベアリング539を介して前記ヨークホルダー536の前端部を回転自在に支持する。また、図27に示すように、円周方向等間隔に3つの突起部540aが一体に設けられていると共に、該各突起部540aに穿設された固定用孔にピン546の一端がそれぞれ圧入固定されている。
前記素子ホルダー540は、前記VTCカバー532の内側に配置され、圧入等により固定されるボールベアリング539を介して前記ヨークホルダー536の前端部を回転自在に支持する。また、図27に示すように、円周方向等間隔に3つの突起部540aが一体に設けられていると共に、該各突起部540aに穿設された固定用孔にピン546の一端がそれぞれ圧入固定されている。
また、VTCカバー532の内面と第4ヨーク部材542との間に介装されたコイルスプリング549のばね力によって、前記ボールベアリング539の外輪をカムシャフト134方向に付勢して軸方向の位置決めとガタの発生を防止している。
VTCカバー532の内部側には、円周方向に等間隔で三つの孔532aが形成されており、各孔532aの内部にゴムブッシュ547がそれぞれ固定される。各ゴムブッシュ547の中央に穿設された孔には、前記ピン546の他端部が挿通され、これにより、素子ホルダー540を前記VTCカバー532に支持する。なお、VTCカバー532には、前記各保持孔506aの外側開口を閉塞する栓体548が螺着されている。
VTCカバー532の内部側には、円周方向に等間隔で三つの孔532aが形成されており、各孔532aの内部にゴムブッシュ547がそれぞれ固定される。各ゴムブッシュ547の中央に穿設された孔には、前記ピン546の他端部が挿通され、これにより、素子ホルダー540を前記VTCカバー532に支持する。なお、VTCカバー532には、前記各保持孔506aの外側開口を閉塞する栓体548が螺着されている。
前記第3ヨーク部材541は、ほぼ円形状に形成されており、前記第1ヨーク部材537の中央ヨーク部537cに対して所定量(例えば、約1mm)のエアギャップGを介して対向配置される。なお、第2ヨーク部材538の円環ヨーク部538cの内周面と第4ヨーク部材542の円筒部542bの外周面との間にも、エアギャップG1が形成されている。
前記第4ヨーク部材542は、前記素子ホルダー540の内周にボルト等により固定されており、素子ホルダー540に固定される円板状基部542aと、該基部542aのホール素子545側端面に一体に設けられる小径の円筒部542bと、該円筒部542bで囲まれる底壁に設けられる円柱状の突起542cを備える。前記突起542cは、前記永久磁石534、第1ヨーク部材537の中央ヨーク部537c、第3ヨーク部材541と同軸に配置される。
前記保護キャップ543は、前記第4ヨーク部材542の円筒部542bの内周面に固定されて、前記第3ヨーク部材541を保持する。
前記保護部材544は、前記第4ヨーク部材542の円柱状突起542cの外周に嵌着される。
前記ホール素子545は、前記第3ヨーク541と第4ヨーク542の突起542cとの間に保持され、そのリード線545aは、前記ECU114に接続されている。
前記保護部材544は、前記第4ヨーク部材542の円柱状突起542cの外周に嵌着される。
前記ホール素子545は、前記第3ヨーク541と第4ヨーク542の突起542cとの間に保持され、そのリード線545aは、前記ECU114に接続されている。
以上のような構成の第2VTC213においても、機関回転中(例えば、停止前のアイドル運転中)にヒステリシスブレーキ520の電磁コイル524の励磁がオフされると、ゼンマイばね519の力によって中間回転体318がタイミングスプロケット302に対して機関回転方向に最大に回転される(図23参照)。これにより、クランクシャフト120に対するカムシャフト134の回転位相は、吸気バルブ105のバルブタイミングが最も遅れる最遅角側(最遅角タイミング)に維持される。
この状態から前記回転位相を最進角側に変更すべき指令が前記ECU114から発されると、ヒステリシスブレーキ520の電磁コイル524の励磁がオンされ、ゼンマイばね519の力に抗する制動力が中間回転体518に付与される。これにより、中間回転体518がタイミングスプロケット502に対して回転移動し、リンク511の先端の係合ピン516が渦巻き溝515に誘導されてリンク511の先端部が径方向溝508に沿って変位し、タイミングスプロケット502と従動軸部材507の組付角が最進角側に変更される(図24参照)。この結果、前記回転位相は、吸気バルブ105のバルブタイミングが最も進む最進角側(最進角タイミング)となる。
さらに、この状態(最進角側)から前記回転位相を最遅角側に変更すべき指令が前記ECU114から発されると、ヒステリシスブレーキ520の電磁コイル524の励磁がオフにされ、再度ゼンマイばね519の力によって中間回転体518が戻す方向に回転移動する。すると、渦巻き溝515による係合ピン516の誘導によってリンク511が上記と逆方向に揺動し、図24に示すように、タイミングスプロケット502と従動軸部材507の組付角が再度最遅角側に変更される。
なお、この第2VTC213も、第1VTC113と同様に、例えば図2に示す中間的な進角状態のように、ヒステリシスブレーキ520の制動力の制御によって任意の位相に変更することができ、ゼンマイばね519の力とヒステリシスブレーキ520の制動力のバランスによってその位相を保持することもできる。
また、機関停止中は電磁コイル524の励磁がオフされることになるが、機関停止中はフリクションが大きく前記中間回転体518を回転させるには、より大きな力が必要となるため、機関回転中のように前記ゼンマイばね519の力のみで前記中間回転体518を遅角側(戻す方向)へと回転させることはできない。このため、機関停止中は、停止直前に制御されたバルブタイミングがほとんどそのまま維持されることになる。
また、機関停止中は電磁コイル524の励磁がオフされることになるが、機関停止中はフリクションが大きく前記中間回転体518を回転させるには、より大きな力が必要となるため、機関回転中のように前記ゼンマイばね519の力のみで前記中間回転体518を遅角側(戻す方向)へと回転させることはできない。このため、機関停止中は、停止直前に制御されたバルブタイミングがほとんどそのまま維持されることになる。
ここで、前記相対変位検出手段506による相対変位角度(回転位相)の検出について説明する。相対変位角度の検出は以下のようにして行われる。なお、図29は、相対変位検出手段506を模式的に示したものである。
図29に示すように、前記カムシャフト134とタイミングスプロケット502との相対回転位相が変化して、前記永久磁石534が、例えば角度θだけ回転すると、N極の中心Pから出力された磁界Zは、第1ヨーク部材537の扇状ヨーク部537bに伝達され、中央ヨーク部537cに伝達され、更に、エアギャップGを介して第3ヨーク部材541を経てホール素子545に伝達される。
図29に示すように、前記カムシャフト134とタイミングスプロケット502との相対回転位相が変化して、前記永久磁石534が、例えば角度θだけ回転すると、N極の中心Pから出力された磁界Zは、第1ヨーク部材537の扇状ヨーク部537bに伝達され、中央ヨーク部537cに伝達され、更に、エアギャップGを介して第3ヨーク部材541を経てホール素子545に伝達される。
前記ホール素子545に伝達された磁界Zは、ホール素子545から第4ヨーク部材542の突起542cを介して第4ヨーク部材542の円筒部542bに伝達され、さらにここからエアギャップG1を介して第2ヨーク部材538の円環ヨーク部538cに伝達され、円弧ヨーク部538bを介して永久磁石534のS極に戻るようになっている。
前記永久磁石534の回転角度θの連続的な変化によって前記磁界Zの磁束密度が連続的に変化することから、この磁束密度の連続的な変化を前記ホール素子545が検出してその電圧変化を前記ECU114に出力する。
前記永久磁石534の回転角度θの連続的な変化によって前記磁界Zの磁束密度が連続的に変化することから、この磁束密度の連続的な変化を前記ホール素子545が検出してその電圧変化を前記ECU114に出力する。
ECU114は、ホール素子545からリード線545aを介して出力された連続的な検出信号(電圧変化)に基づいてクランクシャフト120に対するカムシャフト13の相対回転変位角(回転位相の進角値)を演算によって求める。
このように、第2VTC213では、永久磁石534の回転角度の変化による磁束密度の変化を検出するホール素子545が前記第2回転位相検出手段に相当することになる。
このように、第2VTC213では、永久磁石534の回転角度の変化による磁束密度の変化を検出するホール素子545が前記第2回転位相検出手段に相当することになる。
従って、第1VTC113に代えて第2VTC213を用いた場合において、ホール素子545の出力特性が経時変化等してしまったとしても、このホール素子545により検出した第2回転位相θdet2を補正する補正テーブルが更新されることとなり、補正後の値(θdet2N)に基づいてバルブタイミング制御を実行することで、特に低回転時におけるバルブタイミング制御の精度を高く維持することができる。
なお、以上説明した実施形態では、吸気バルブ105にVTC113、213を備えたものについて説明しているが、排気バルブ107側に備えた場合であっても同様である。
また、第2回転位相検出手段は、クランクシャフト120に対する吸気側カムシャフト134の回転位相を任意のタイミングで検出できれば上述したものに限るものではなく、また、少なくとも吸気側カムシャフト134の回転周期よりも短い周期で回転位相を検出できるものであれば、第2回転位相検出手段として用いることができる。
また、第2回転位相検出手段は、クランクシャフト120に対する吸気側カムシャフト134の回転位相を任意のタイミングで検出できれば上述したものに限るものではなく、また、少なくとも吸気側カムシャフト134の回転周期よりも短い周期で回転位相を検出できるものであれば、第2回転位相検出手段として用いることができる。
さらに、以上では電磁式のVTCについて説明したが、油圧式のVTC(例えば、機関始動時に油圧を上昇させる手段を備えたもの)に対して適用してもよい。
ここで、以上説明した実施形態から把握し得る請求項以外の技術的思想について、その効果と共に以下に記載する。
(イ)請求項1〜3のいずれか1つに記載の内燃機関のバルブタイミング制御装置において、
前記第2回転位相検出手段は、
前記クランクシャフトの回転位置(角度)を検出する第1の回転角度検出手段と、
前記カムシャフトの回転角度(角度)を検出する第2の回転角度検出手段と、を有し、前記第1の回転位置検出手段及び前記第2の回転位置検出手段の出力信号に基づいて、前記クランクシャフトに対するカムシャフトの回転位相を検出することを特徴とする。
ここで、以上説明した実施形態から把握し得る請求項以外の技術的思想について、その効果と共に以下に記載する。
(イ)請求項1〜3のいずれか1つに記載の内燃機関のバルブタイミング制御装置において、
前記第2回転位相検出手段は、
前記クランクシャフトの回転位置(角度)を検出する第1の回転角度検出手段と、
前記カムシャフトの回転角度(角度)を検出する第2の回転角度検出手段と、を有し、前記第1の回転位置検出手段及び前記第2の回転位置検出手段の出力信号に基づいて、前記クランクシャフトに対するカムシャフトの回転位相を検出することを特徴とする。
このようにすると、第2の回転角度検出手段(ギャップセンサ402)の出力信号はカムシャフトの回転位置に1対1で対応するため、この第2の回転角度検出手段の出力信号に基づいてカムシャフトの回転位置を任意のタイミングで瞬時に求めることできる。これにより、クランクシャフトに対するカムシャフトの回転位相を、カムシャフトの回転周期とは無関係に任意のタイミングで検出することができ、低回転時であっても回転位相の検出に遅れ(実際の回転位相と制御上認識している回転位相のとのずれ)が生じることはない。
(ロ)上記(イ)記載の内燃機関のバルブタイミング制御装置において、
前記第2の回転角度検出手段は、
前記カムシャフトと共に回転し、該カムシャフトの中心からその外周までの距離が周方向で変化する回転体と、
前記回転体の外周に近接配置され、該回転体の外周との間に形成されるギャップに応じた信号を出力するギャップセンサと、
を備えることを特徴とする。
(ロ)上記(イ)記載の内燃機関のバルブタイミング制御装置において、
前記第2の回転角度検出手段は、
前記カムシャフトと共に回転し、該カムシャフトの中心からその外周までの距離が周方向で変化する回転体と、
前記回転体の外周に近接配置され、該回転体の外周との間に形成されるギャップに応じた信号を出力するギャップセンサと、
を備えることを特徴とする。
このようにすると、カムシャフトの回転に伴って回転体の外周とギャップセンサと間に形成されるギャップが変化するため、比較的簡単な構成としつつ、ギャップセンサの出力信号に基づいてカムシャフトの回転位置(回転角度)を迅速かつ正確に検出することができる。
(ハ)請求項1〜3のいずれか1つに記載の内燃機関のバルブタイミング制御装置において、
前記第2回転位相検出手段は、
前記クランクシャフト又は前記カムシャフトの一方に設けられる永久磁石と、
前記クランクシャフト又は前記カムシャフトの他方に設けられ、前記クランクシャフトと前記カムシャフトの相対回転に応じて前記永久磁石の磁極中心からの磁界の磁束密度が変化するように形成されたヨーク部材と、を有し、
前記磁束密度の変化に基づいて前記回転位相を検出することを特徴とする。
(ハ)請求項1〜3のいずれか1つに記載の内燃機関のバルブタイミング制御装置において、
前記第2回転位相検出手段は、
前記クランクシャフト又は前記カムシャフトの一方に設けられる永久磁石と、
前記クランクシャフト又は前記カムシャフトの他方に設けられ、前記クランクシャフトと前記カムシャフトの相対回転に応じて前記永久磁石の磁極中心からの磁界の磁束密度が変化するように形成されたヨーク部材と、を有し、
前記磁束密度の変化に基づいて前記回転位相を検出することを特徴とする。
このようにすると、永久磁石のヨーク部材に作用する磁力の強弱が、クランクシャフトに対するカムシャフトの相対変位角の変化に応じて連続的に変化するので、磁束密度の検出結果を変化することにより、開閉タイミングを任意のタイミングで検出できる。
(ニ)上記(ハ)記載の内燃機関のバルブタイミング制御装置において、
前記磁束密度の変化をホール素子によって検出することを特徴とする。
(ニ)上記(ハ)記載の内燃機関のバルブタイミング制御装置において、
前記磁束密度の変化をホール素子によって検出することを特徴とする。
かかる構成によると、ホール素子の出力信号から開閉タイミングを任意のタイミングで検出できる。
(ホ)請求項1〜3、上記(イ)〜(ニ)のいずれか1つに記載の内燃機関のバルブタイミング制御装置において、
機関回転速度が予め設定した所定回転速度以上のときは、前記第1回転位相検出手段により検出した回転位相に基づいて前記可変バルブタイミング機構を制御する一方、機関回転速度が前記所定回転速度を下回るときは、前記第2回転位相検出手段により検出した回転位相に基づいて前記可変バルブタイミング機構を制御する制御手段を備えることを特徴とする。
(ホ)請求項1〜3、上記(イ)〜(ニ)のいずれか1つに記載の内燃機関のバルブタイミング制御装置において、
機関回転速度が予め設定した所定回転速度以上のときは、前記第1回転位相検出手段により検出した回転位相に基づいて前記可変バルブタイミング機構を制御する一方、機関回転速度が前記所定回転速度を下回るときは、前記第2回転位相検出手段により検出した回転位相に基づいて前記可変バルブタイミング機構を制御する制御手段を備えることを特徴とする。
このようにすれば、クランクシャフトの基準回転位置を検出するクランク角センサ及びカムシャフトの基準回転位置を検出するカムセンサの出力信号に基づいて回転位相(第1回転位相)を検出する場合に、バルブタイミング制御周期よりも回転位相の検出周期の方が短くなる中・高回転時には、従来と同様、第1回転位相に基づいて安定したバルブタイミング制御を実現すると共に、バルブタイミング制御周期よりも回転位相の検出周期の方が長くなる低回転時には、任意のタイミングで検出できる第2回転位相に基づいて(検出された第2回転位相又は補正された第2回転位相に基づいて)バルブタイミング制御を行うことで、低回転時においても高応答・高精度のバルブタイミング制御を実現できる。
101…内燃機関、105…吸気バルブ、113、213…VTC(可変バルブタイミング機構)、114…ECU(エンジンコントロールユニット)、クランク角センサ…117、120…クランクシャフト、132…カムセンサ、134…吸気側カムシャフト、401…回転体、402…ギャップセンサ、534…永久磁石、535…ホール素子
Claims (4)
- 内燃機関のクランクシャフトに対するカムシャフトの回転位相を変化させることで、吸気バルブ又は排気バルブの開閉タイミングを変化させる内燃機関のバルブタイミング制御装置であって、
前記クランクシャフトの基準回転位置を検出するクランク角センサ及び前記カムシャフトの基準回転位置を検出するカムセンサの出力信号に基づいて、前記カムシャフトの回転周期毎に前記回転位相を検出する第1回転位相検出手段と、
前記カムシャフトの回転周期にかかわらず、任意のタイミングで前記回転位相を検出可能な第2回転位相検出手段と、を備え、
前記第1回転位相検出手段により検出した回転位相に基づいて、前記第2回転位相検出手段の検出した回転位相を補正することを特徴とする内燃機関のバルブタイミング制御装置。 - 前記第1回転位相検出手段により検出した回転位相を基準として、前記第2回転位相検出手段の検出した回転位相を補正するための補正値を学習することを特徴とする請求項1記載の内燃機関のバルブタイミング制御装置。
- 前記補正値の学習は、前記第1回転位相検出手段又は前記第2回転位相検出手段の少なくとも一方の検出した回転位相の所定時間当たりの変化量が所定量以下であるときに行うことを特徴とする請求項2記載の内燃機関のバルブタイミング制御装置。
- 機関温度を検出する温度検出手段を備え、
前記補正値の学習は、検出した機関温度が所定範囲内にあるときに行うことを特徴とする請求項2又は請求項3に記載の内燃機関のバルブタイミング制御装置。
Priority Applications (4)
| Application Number | Priority Date | Filing Date | Title |
|---|---|---|---|
| JP2005036150A JP2005299639A (ja) | 2004-03-19 | 2005-02-14 | 内燃機関のバルブタイミング制御装置 |
| CNB2005100559223A CN100441844C (zh) | 2004-03-19 | 2005-03-18 | 用于内燃机的气门正时控制装置及其控制方法 |
| US11/083,319 US7011060B2 (en) | 2004-03-19 | 2005-03-18 | Valve timing control apparatus for internal combustion engine and control method thereof |
| DE102005012677A DE102005012677A1 (de) | 2004-03-19 | 2005-03-18 | Ventilzeitsteuervorrichtung für einen Verbrennungsmotor sowie ein entsprechendes Steuerverfahren |
Applications Claiming Priority (2)
| Application Number | Priority Date | Filing Date | Title |
|---|---|---|---|
| JP2004080514 | 2004-03-19 | ||
| JP2005036150A JP2005299639A (ja) | 2004-03-19 | 2005-02-14 | 内燃機関のバルブタイミング制御装置 |
Publications (1)
| Publication Number | Publication Date |
|---|---|
| JP2005299639A true JP2005299639A (ja) | 2005-10-27 |
Family
ID=34983148
Family Applications (1)
| Application Number | Title | Priority Date | Filing Date |
|---|---|---|---|
| JP2005036150A Pending JP2005299639A (ja) | 2004-03-19 | 2005-02-14 | 内燃機関のバルブタイミング制御装置 |
Country Status (4)
| Country | Link |
|---|---|
| US (1) | US7011060B2 (ja) |
| JP (1) | JP2005299639A (ja) |
| CN (1) | CN100441844C (ja) |
| DE (1) | DE102005012677A1 (ja) |
Cited By (1)
| Publication number | Priority date | Publication date | Assignee | Title |
|---|---|---|---|---|
| JP2008025456A (ja) * | 2006-07-21 | 2008-02-07 | Hitachi Ltd | 位相角検出装置及び該位相角検出装置を用いた内燃機関のバルブタイミング制御装置 |
Families Citing this family (7)
| Publication number | Priority date | Publication date | Assignee | Title |
|---|---|---|---|---|
| US7441524B2 (en) * | 2004-03-19 | 2008-10-28 | Hitachi, Ltd. | Valve timing control apparatus for internal combustion engine and control method thereof |
| JP5102071B2 (ja) * | 2008-03-03 | 2012-12-19 | 日鍛バルブ株式会社 | 自動車用エンジンにおける位相可変装置 |
| CN102252847A (zh) * | 2011-06-08 | 2011-11-23 | 重庆长安汽车股份有限公司 | 发动机台架对标试验的vvt机构作动相位的测试方法 |
| CN105026702B (zh) * | 2013-07-31 | 2018-07-03 | 爱信精机株式会社 | 内燃机的控制装置 |
| DE102014204492A1 (de) * | 2014-03-12 | 2015-10-01 | Volkswagen Aktiengesellschaft | Kraftfahrzeug, Steuergerät und Verfahren zum Steuern einer Phasenlage einer Nockenwelle |
| CN104847431B (zh) * | 2014-08-21 | 2017-03-15 | 北汽福田汽车股份有限公司 | 一种发动机相位校准系统和方法 |
| CN109115108B (zh) * | 2018-09-28 | 2023-12-08 | 上海汽车集团股份有限公司 | 曲轴正时角度测量装置、发动机正时角度测量方法及系统 |
Family Cites Families (7)
| Publication number | Priority date | Publication date | Assignee | Title |
|---|---|---|---|---|
| JP3115337B2 (ja) * | 1991-02-27 | 2000-12-04 | マツダ株式会社 | エンジンのクランク角センサ出力補正装置 |
| JP3508194B2 (ja) * | 1994-02-04 | 2004-03-22 | 株式会社デンソー | 内燃機関のバルブタイミング制御装置 |
| JP3351090B2 (ja) * | 1994-03-31 | 2002-11-25 | 株式会社デンソー | 内燃機関のバルブタイミング制御装置 |
| JPH1162642A (ja) * | 1997-08-26 | 1999-03-05 | Denso Corp | 内燃機関用バルブタイミング制御装置 |
| JP3290422B2 (ja) | 1999-04-26 | 2002-06-10 | 三菱電機株式会社 | 内燃機関のバルブタイミング制御装置 |
| JP4145520B2 (ja) * | 2001-11-19 | 2008-09-03 | 本田技研工業株式会社 | 内燃機関のカム位相制御装置 |
| JP3666483B2 (ja) * | 2002-12-04 | 2005-06-29 | 株式会社デンソー | 内燃機関用バルブタイミング制御装置 |
-
2005
- 2005-02-14 JP JP2005036150A patent/JP2005299639A/ja active Pending
- 2005-03-18 CN CNB2005100559223A patent/CN100441844C/zh not_active Expired - Fee Related
- 2005-03-18 DE DE102005012677A patent/DE102005012677A1/de not_active Withdrawn
- 2005-03-18 US US11/083,319 patent/US7011060B2/en not_active Expired - Fee Related
Cited By (1)
| Publication number | Priority date | Publication date | Assignee | Title |
|---|---|---|---|---|
| JP2008025456A (ja) * | 2006-07-21 | 2008-02-07 | Hitachi Ltd | 位相角検出装置及び該位相角検出装置を用いた内燃機関のバルブタイミング制御装置 |
Also Published As
| Publication number | Publication date |
|---|---|
| US7011060B2 (en) | 2006-03-14 |
| DE102005012677A1 (de) | 2005-10-13 |
| US20050205031A1 (en) | 2005-09-22 |
| CN100441844C (zh) | 2008-12-10 |
| CN1670341A (zh) | 2005-09-21 |
Similar Documents
| Publication | Publication Date | Title |
|---|---|---|
| JP4425155B2 (ja) | 内燃機関のバルブタイミング制御装置 | |
| US7921711B2 (en) | Abnormality determination apparatus and abnormality determination method for valve characteristics change mechanism | |
| US20070295295A1 (en) | Phase angle detection apparatus and variable valve timing control apparatus using the phase angle detection apparatus for internal combustion engine | |
| US7441524B2 (en) | Valve timing control apparatus for internal combustion engine and control method thereof | |
| JP2005299639A (ja) | 内燃機関のバルブタイミング制御装置 | |
| US7246582B2 (en) | Variable valve control apparatus and variable valve controlling method for internal combustion engine | |
| JP2005273649A (ja) | 内燃機関の可変動弁制御装置 | |
| JP2005299640A (ja) | 内燃機関のバルブタイミング制御装置 | |
| JP2005273650A (ja) | 内燃機関の可変動弁制御装置 | |
| JP4680127B2 (ja) | 内燃機関の減速時制御装置 | |
| JP2005264864A (ja) | 内燃機関の制御装置 | |
| JP4200111B2 (ja) | 動弁制御装置 | |
| JP4313626B2 (ja) | 可変バルブタイミング機構の制御装置 | |
| JP2005220760A (ja) | 可変動弁制御装置及び制御装置 | |
| JP2010053711A (ja) | 内燃機関の減速時制御装置 | |
| JP2005233153A (ja) | 可変バルブタイミング機構の制御装置 | |
| JP2005315155A (ja) | 可変バルブタイミング機構の制御装置 | |
| JP4901337B2 (ja) | 内燃機関の制御装置及び変速制御装置 | |
| JP2006274957A (ja) | 内燃機関のバルブタイミング制御装置 | |
| JP3115337B2 (ja) | エンジンのクランク角センサ出力補正装置 | |
| JP4534993B2 (ja) | 電動モータの回転角検出装置 | |
| JP2005299606A (ja) | 内燃機関のバルブタイミング制御装置 | |
| JP2009250184A (ja) | 内燃機関のバルブタイミング制御装置 | |
| JP2005232986A (ja) | バルブタイミング制御装置及び制御装置 | |
| JP2004156510A (ja) | 内燃機関のバルブタイミング制御装置 |
Legal Events
| Date | Code | Title | Description |
|---|---|---|---|
| A621 | Written request for application examination |
Free format text: JAPANESE INTERMEDIATE CODE: A621 Effective date: 20070807 |
|
| A977 | Report on retrieval |
Free format text: JAPANESE INTERMEDIATE CODE: A971007 Effective date: 20090309 |
|
| A131 | Notification of reasons for refusal |
Free format text: JAPANESE INTERMEDIATE CODE: A131 Effective date: 20090421 |
|
| A02 | Decision of refusal |
Free format text: JAPANESE INTERMEDIATE CODE: A02 Effective date: 20090811 |