JP2005297645A - ステアリングロック装置 - Google Patents
ステアリングロック装置 Download PDFInfo
- Publication number
- JP2005297645A JP2005297645A JP2004113430A JP2004113430A JP2005297645A JP 2005297645 A JP2005297645 A JP 2005297645A JP 2004113430 A JP2004113430 A JP 2004113430A JP 2004113430 A JP2004113430 A JP 2004113430A JP 2005297645 A JP2005297645 A JP 2005297645A
- Authority
- JP
- Japan
- Prior art keywords
- lock
- steering
- tube
- main body
- outer tube
- Prior art date
- Legal status (The legal status is an assumption and is not a legal conclusion. Google has not performed a legal analysis and makes no representation as to the accuracy of the status listed.)
- Pending
Links
Images
Classifications
-
- B—PERFORMING OPERATIONS; TRANSPORTING
- B60—VEHICLES IN GENERAL
- B60R—VEHICLES, VEHICLE FITTINGS, OR VEHICLE PARTS, NOT OTHERWISE PROVIDED FOR
- B60R25/00—Fittings or systems for preventing or indicating unauthorised use or theft of vehicles
- B60R25/01—Fittings or systems for preventing or indicating unauthorised use or theft of vehicles operating on vehicle systems or fittings, e.g. on doors, seats or windscreens
- B60R25/02—Fittings or systems for preventing or indicating unauthorised use or theft of vehicles operating on vehicle systems or fittings, e.g. on doors, seats or windscreens operating on the steering mechanism
- B60R25/021—Fittings or systems for preventing or indicating unauthorised use or theft of vehicles operating on vehicle systems or fittings, e.g. on doors, seats or windscreens operating on the steering mechanism restraining movement of the steering column or steering wheel hub, e.g. restraining means controlled by ignition switch
- B60R25/0211—Fittings or systems for preventing or indicating unauthorised use or theft of vehicles operating on vehicle systems or fittings, e.g. on doors, seats or windscreens operating on the steering mechanism restraining movement of the steering column or steering wheel hub, e.g. restraining means controlled by ignition switch comprising a locking member radially and linearly moved towards the steering column
-
- Y—GENERAL TAGGING OF NEW TECHNOLOGICAL DEVELOPMENTS; GENERAL TAGGING OF CROSS-SECTIONAL TECHNOLOGIES SPANNING OVER SEVERAL SECTIONS OF THE IPC; TECHNICAL SUBJECTS COVERED BY FORMER USPC CROSS-REFERENCE ART COLLECTIONS [XRACs] AND DIGESTS
- Y10—TECHNICAL SUBJECTS COVERED BY FORMER USPC
- Y10T—TECHNICAL SUBJECTS COVERED BY FORMER US CLASSIFICATION
- Y10T70/00—Locks
- Y10T70/50—Special application
- Y10T70/5611—For control and machine elements
- Y10T70/5646—Rotary shaft
- Y10T70/565—Locked stationary
- Y10T70/5655—Housing-carried lock
- Y10T70/5664—Latching bolt
Landscapes
- Engineering & Computer Science (AREA)
- Mechanical Engineering (AREA)
- Lock And Its Accessories (AREA)
- Steering Controls (AREA)
Abstract
【課題】外形を小型化できるステアリングロック装置を提供する。
【解決手段】アウタチューブ102bの外側に配置される本体部114と、本体部114からの突出量の変更によりチューブ群102内に配置されたステアリングシャフト群103に嵌合してステアリングシャフト群103の回転を規制するロック位置とステアリングシャフト群103から離れてステアリングシャフト群103の回転を許容するアンロック位置とに配置可能なロックバー16とを備え、ロックバー16は、アンロック位置に配置されている場合に、かつアウタチューブ102bとインナチューブ102aとの重ね合わせ量が変更されることによりチューブ群102が収縮される場合に、インナチューブ102aとの当接による押圧力を利用して自身を本体部114へ向けて移動させる力に変更するようにその先端部におけるインナチューブ102aと当接する部分に傾斜面25を設けた。
【選択図】 図1
【解決手段】アウタチューブ102bの外側に配置される本体部114と、本体部114からの突出量の変更によりチューブ群102内に配置されたステアリングシャフト群103に嵌合してステアリングシャフト群103の回転を規制するロック位置とステアリングシャフト群103から離れてステアリングシャフト群103の回転を許容するアンロック位置とに配置可能なロックバー16とを備え、ロックバー16は、アンロック位置に配置されている場合に、かつアウタチューブ102bとインナチューブ102aとの重ね合わせ量が変更されることによりチューブ群102が収縮される場合に、インナチューブ102aとの当接による押圧力を利用して自身を本体部114へ向けて移動させる力に変更するようにその先端部におけるインナチューブ102aと当接する部分に傾斜面25を設けた。
【選択図】 図1
Description
本発明は車両用のステアリングロック装置に関するものである。
従来、ステアリングロック装置は、電動モータの駆動力(例えば、特許文献1参照。)又はユーザによるキーシリンダを回転させる際の回転力等により、ロックバーがステアリングシャフトに係脱する構成となっている。
以下、特許文献1のステアリングロック装置を備えたステアリングロックシステムを概略的に説明する。
図8(a)に示すように、ステアリングロックシステム101は、チューブ群102、ステアリングシャフトとしてのステアリングシャフト群103、ステアリングホイール104、及びステアリングロック装置105を備えている。このステアリングロックシステム101は、ステアリングホイール104に対して車両前方側へ向けて所定以上の押圧力が加わると、その押圧力を吸収(その衝撃を吸収)するべくチューブ群102が収縮、さらにはステアリングシャフト群103が収縮するように構成されている。
図8(a)に示すように、ステアリングロックシステム101は、チューブ群102、ステアリングシャフトとしてのステアリングシャフト群103、ステアリングホイール104、及びステアリングロック装置105を備えている。このステアリングロックシステム101は、ステアリングホイール104に対して車両前方側へ向けて所定以上の押圧力が加わると、その押圧力を吸収(その衝撃を吸収)するべくチューブ群102が収縮、さらにはステアリングシャフト群103が収縮するように構成されている。
チューブ群102は、パイプ状をなすインナチューブ102a及びパイプ状をなすアウタチューブ102bを備えている。インナチューブ102aは、アウタチューブ102b内に挿通されるために、その直径がアウタチューブ102bよりも小さく形成されている。インナチューブ102aは、アウタチューブ102bよりも車両前方側に配置されている。インナチューブ102aの車両前方側(図8(a)における左側)の外周は、固定体106を介して図示しない車両に対して固定されている。インナチューブ102aの車両後方側(図8(a)における右側)は、アウタチューブ102bの前端側に挿通されている。
アウタチューブ102bの車両後方側の外周には、ブレークアウェイブラケット107が設けられている。ブレークアウェイブラケット107は、例えば、アウタチューブ102bの車両後方側の外周に固定されたコ字型のブラケット108、及びそのブラケット108内に配置されると共に車両に固定された破壊体109を備えている。この破壊体109は、アウタチューブ102bに対して車両前方側へ向けた所定以上の押圧力が加わると、アウタチューブ102bに固定されたブラケット108によって自身が壊されるように構成されている。
チューブ群102内には、ステアリングシャフト群103がベアリング110,111を介して回転可能に支持されている。ステアリングシャフト群103は、前方側ステアリングシャフト103a及び後方側ステアリングシャフト103bを備えている。前方側ステアリングシャフト103aは、ベアリング110に回転可能に支持され、かつ車両後方側がスプライン軸112とされている。後方側ステアリングシャフト103bは、ベアリング111に回転可能に支持され、かつその車両前方側がボス部113とされている。このボス部113にスプライン軸112が嵌合されている(図9参照)ことにより、両ステアリングシャフト103a,103bは、互いに一体回転すると共に軸方向に沿って互いに相対移動可能とされている。後方側ステアリングシャフト103bの後端部には、ステアリングホイール104が固定されている。
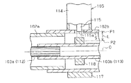
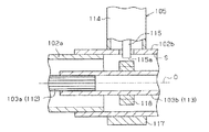
図10に示すように、ステアリングロック装置105は、本体部114と、その本体部114からの突出量が変更可能なロック部材としてのロックバー115と、本体部114と一体に構成されると共に該本体部114をアウタチューブ102bに取り付けるための取付部116とを備えている。
取付部116は、ブラケット117と協働してアウタチューブ102bの外周をほぼ全周を覆っている。そして、取付部116とブラケット117とが締結固定されていることにより、ステアリングロック装置105がアウタチューブ102bに固定されている。取付部116は、アウタチューブ102bと対向する面が、湾曲面116aとされている。
後方側ステアリングシャフト103bの外周には、回転規制体118が固定され、回転規制体118はステアリングシャフト群103と一体回転するように構成されている。回転規制体118は、略歯車形状とされ、その外周に複数の突出部118aを備えている。
ステアリングロック装置105のロックバー115は、その先端部が四角柱状に形成されている。ロックバー115は、アウタチューブ102bを貫通して回転規制体118に到達可能とされている。即ち、ロックバー115は、本体部114からの突出量が最大の場合には、その先端部が、回転規制体118に設けられた複数の突出部118aのうちの隣り合う二つの突出部118a間に配置される。この状態でのステアリングホイール104の回転範囲は、ロックバー115の先端を挟むように位置する両突出部118aのうちの、一方の突出部118aとロックバー115とが当接する位置から、もう一方の突出部118aとロックバー115とが当接する位置までの範囲とされている。即ち、ロックバー115は、本体部114からの突出量が最大の場合には、ステアリングホイール104の回転を規制する(ロック状態)。
一方、ロックバー115は、本体部114からの突出量が最小の場合には、その先端部が、回転規制体118から離れ、ステアリングホイール104の回転を許容する(アンロック状態)。
また、図11(a)に示すように、本体部114内には、ロックバー115に対して作動連結された調整部材としての調整体120、及びロックバー115と調整体120との間に介在された付勢手段としてのコイルバネ121を備えている。
調整体120は、自身の移動量に基づいて本体部114からのロックバー115の突出量を調整するように構成されている。コイルバネ121は、ロックバー115に対して本体部114へ向かう方向への押圧力が加えられた場合に、自身の弾性力に抗して自身を縮めることにより、調整体120の位置を変更せずにロックバー115を本体部114へ向けて移動させるように構成されている。
このため、図11(a)に示すように、回転規制体118の突出部118aとロックバー115とが対向していない状態で、本体部114からのロックバー115の突出量が最小となっている状態から最大となるように調整体120が移動(即ち、ロック作動)されると、図11(b)に示すように、ロックバー115の突出量が最大となる。この結果、ステアリングホイール104は、ロック状態となる。
一方、図11(c)に示すように、回転規制体118の突出部118aとロックバー115とが対向している状態で、本体部114からのロックバー115の突出量が最小となっている状態から最大となるように調整体120が移動(即ち、ロック作動)されると、図11(d)に示すように、ロックバー115は対向した突出部118aに当接する。この状態では、コイルバネ121は、自身の弾性力に抗して縮んだ状態とされている。また、この状態では、ステアリングホイール104はロック状態となっていない。この状態でステアリングホイール104を回転させると、ロックバー115が突出部118aと非対向状態となり、コイルバネ121が復帰して伸び、この結果、図11(b)に示すようにロックバー115の突出量が最大となり、ステアリングホイール104はロック状態となる。即ち、コイルバネ121によって、ロックバー115と突出部118aとが対向状態であっても非対向状態であっても、調整体120の移動を好適に行うことができる。
このように構成された、ステアリングロックシステム101は、ステアリングホイール104、後方側ステアリングシャフト103b、回転規制体118、ベアリング111、アウタチューブ102b、ステアリングロック装置105、ブラケット117、及びブラケット108が車両前後方向へ向けて一体に移動するように構成されている。以下、この前後方向へ向けて一体に移動する部材を総称して可動群Mzという。そのため、ステアリングホイール104に対して車両前方側へ向けて所定以上の押圧力が加わると、ブラケット108から破壊体109へその押圧力が伝達し、破壊体109が壊れることにより、図8(b)に示すように、可動群Mzが車両前方側へ向けて移動するようになっている。
特開2003−276564号公報
ところが、図12に示すように、ステアリングロックシステム101は、アンロック位置に配置されているロックバー115の突出量、即ち、本体部114からのロックバー115の最小の突出量を以下に示すように設定すると問題があった。即ち、アンロック位置を、ロックバー115の先端面115aがアウタチューブ102bの内周面Sよりも内側に位置するように設定すると、チューブ群102の収縮(ステアリングロックシステム101の図8(a)から図8(b)への状態変更)を好適に行えなくなる。詳述すると、ロックバー115の先端面115aがアウタチューブ102bの内周面Sよりも内側に位置する場合には、チューブ群102の収縮によってアウタチューブ102bとインナチューブ102aとが相対移動した際に、ロックバー115がインナチューブ102aと当接して、その相対移動を規制してしまう。この結果、チューブ群102の収縮を好適に行えなくなる。
このため、図13に示すように、ロックバー115は、アンロック位置に配置されている場合には、その先端面115aがアウタチューブ102bの内周面Sよりも外側に位置(図13におけるアンロック位置P1参照)するように設定していた。また、図13では、ロックバー115は、その先端部が回転規制体118に嵌合している場合(図13における先端面115aがロック位置P2に配置されている状態)をロック位置としている。以下、アンロック位置P1とロック位置P2とがなす距離を可動長Lという。
このロックバー115の可動長Lが長くなるほど、ステアリングロック装置105の外形が大きくなるため、可動長Lを短くしてステアリングロック装置105を小型化することが望まれている。
本発明は、前述した事情に鑑みてなされたものであって、その目的は外形を小型化できるステアリングロック装置を提供することにある。
上記目的を達成するために、請求項1に記載の発明は、アウタチューブと前記アウタチューブに一部挿入されたインナチューブとを備えたチューブ群における前記アウタチューブの外側に配置される本体部と、前記本体部からの突出量の変更により前記チューブ群内に配置されたステアリングシャフトに嵌合して該ステアリングシャフトの回転を規制するロック位置と前記ステアリングシャフトから離れて該ステアリングシャフトの回転を許容するアンロック位置とに配置可能なロック部材とを備えたステアリングロック装置において、前記ロック部材が前記アンロック位置に配置されている場合に、かつ前記アウタチューブと前記インナチューブとの重ね合わせ量が変更されることにより前記チューブ群が収縮される場合に、前記ロック部材が前記インナチューブとの当接による押圧力を利用して自身を前記本体部へ向けて移動させる力に変更するように、前記ロック部材の先端部における前記インナチューブと当接する部分と、前記インナチューブの前記ロック部材の先端部と当接する部分との少なくとも一方に傾斜面を設けた。
請求項2に記載の発明は、請求項1に記載の発明において、前記本体部には、前記ロック部材に対して作動連結されると共に自身の移動量に基づいて前記本体部からの前記ロック部材の突出量を調整する調整部材と、前記ロック部材と前記調整部材との間に介在された付勢手段とを備え、前記付勢手段は、前記ロック部材に対して前記本体部へ向かう方向への押圧力が加えられた場合に、自身の弾性力に抗して自身を縮めることにより、前記調整部材の位置を変更せずに前記ロック部材を前記本体部へ向けて移動させるように構成した。
請求項3に記載の発明は、アウタチューブと前記アウタチューブに一部挿入されたインナチューブとを備えたチューブ群における前記アウタチューブの外側に配置される取付部を有する本体部と、前記本体部からの突出量の変更により前記チューブ群内に配置されたステアリングシャフトに嵌合して該ステアリングシャフトの回転を規制するロック位置と前記ステアリングシャフトから離れて該ステアリングシャフトの回転を許容するアンロック位置とに配置可能なロック部材とを備え、前記取付部は、前記アウタチューブと対向する面が湾曲面とされ、前記ロック部材の先端部における前記湾曲面の円弧中心線と交する側面には、前記インナチューブと当接可能な傾斜面を設けた。
(作用)
請求項1に記載の発明によれば以下に示す作用を得る。
まず、傾斜面を、ロック部材の先端部におけるインナチューブと当接する部分のみに設けた場合について説明する(以下、これを第1の作用説明という)。このステアリングロック装置は、衝撃吸収を行うために収縮可能なチューブ群に対して取り付けられるものである。ロック部材がアンロック位置に配置されている場合において、チューブ群が収縮されていくと、即ちアウタチューブとインナチューブとの重ね合わせ量が増加されていくと、インナチューブがロック部材の先端部の傾斜面に当接される。さらにチューブ群が収縮されると、インナチューブがロック部材の先端部の傾斜面に押圧される。ロック部材は、傾斜面にインナチューブが押圧されると、本体部へ向けて移動される。そのため、ロック部材の先端部が、アウタチューブの内周面よりも内側に位置していても、チューブ群の収縮によるアウタチューブとインナチューブとの相対移動を好適に行うことが可能となる。
請求項1に記載の発明によれば以下に示す作用を得る。
まず、傾斜面を、ロック部材の先端部におけるインナチューブと当接する部分のみに設けた場合について説明する(以下、これを第1の作用説明という)。このステアリングロック装置は、衝撃吸収を行うために収縮可能なチューブ群に対して取り付けられるものである。ロック部材がアンロック位置に配置されている場合において、チューブ群が収縮されていくと、即ちアウタチューブとインナチューブとの重ね合わせ量が増加されていくと、インナチューブがロック部材の先端部の傾斜面に当接される。さらにチューブ群が収縮されると、インナチューブがロック部材の先端部の傾斜面に押圧される。ロック部材は、傾斜面にインナチューブが押圧されると、本体部へ向けて移動される。そのため、ロック部材の先端部が、アウタチューブの内周面よりも内側に位置していても、チューブ群の収縮によるアウタチューブとインナチューブとの相対移動を好適に行うことが可能となる。
従来のステアリングロック装置では、チューブ群の収縮を好適に行うために、ロック部材の先端部がアウタチューブの内周面よりも外側に位置した場合においてアンロック位置を設定しなければならなかった。即ち、従来のステアリングロック装置では、ロック部材の先端部を、ステアリングシャフトに嵌合させた位置(即ち、ロック位置のこと)からアウタチューブの内周面よりも外側の位置(即ち、アンロック位置のこと)まで可動可能に構成しなければならなかった。それに対し、本発明のステアリングロック装置では、アンロック位置でのロック部材の先端部の位置を、アウタチューブの内周面よりも内側に設定可能となる。言い換えると、本発明のステアリングロック装置におけるロック部材の可動長を、従来のステアリングロック装置におけるロック部材の可動長よりも短く設定することが可能となる。よって、本発明のステアリングロック装置は、従来のステアリングロック装置に比してロック部材の可動長を短く設定した分だけその外形を小型化できる。
また、傾斜面を、インナチューブのロック部材の先端部と当接する部分のみに設けた場合について説明する(以下、これを第2の作用説明という)。ロック部材がアンロック位置に配置されている場合において、チューブ群が収縮されていくと、インナチューブの傾斜面がロック部材の先端部に当接される。さらにチューブ群が収縮されると、インナチューブの傾斜面がロック部材の先端部に押圧される。ロック部材は、先端部にインナチューブの傾斜面が押圧されると、本体部へ向けて移動される。そのため、ロック部材の先端部が、アウタチューブの内周面よりも内側に位置していても、チューブ群の収縮によるアウタチューブとインナチューブとの相対移動を好適に行うことが可能となる。よって、本発明のステアリングロック装置は、従来のステアリングロック装置に比してロック部材の可動長を短く設定した分だけその外形を小型化できる。この第2の作用説明に対応するステアリングロック装置は、その構成要件にインナチューブを含んでいる。
さらに、傾斜面を、ロック部材の先端部におけるインナチューブと当接する部分と、インナチューブのロック部材の先端部と当接する部分との両方に設けた場合には、第1の作用説明及び第2の作用説明と同様の作用を奏する。
請求項2に記載の発明によれば、請求項1に記載の発明の作用に加えて以下に示す作用を得る。ロック部材の先端部の傾斜面にインナチューブが押圧されると、ロック部材は付勢手段の弾性力に抗して本体部へ向けて移動される。この時、ロック部材は、付勢手段を縮めながら本体部へ向けて移動されるため、調整部材はその位置が変更されない。
請求項3に記載の発明によれば以下に示す作用を得る。このステアリングロック装置は、衝撃吸収を行うために収縮可能なチューブ群に対して取り付けられるものである。ロック部材の先端部の傾斜面とインナチューブとを対向させた状態で、チューブ群が収縮されていくと、即ちアウタチューブとインナチューブとの重ね合わせ量が増加されていくと、インナチューブがロック部材の先端部の傾斜面に当接される。さらにチューブ群が収縮されると、インナチューブがロック部材の先端部の傾斜面に押圧される。ロック部材は、傾斜面にインナチューブが押圧されると、本体部へ向けて移動される。そのため、ロック部材の先端部が、アウタチューブの内周面よりも内側に位置していても、チューブ群の収縮によるアウタチューブとインナチューブとの相対移動を好適に行うことが可能となる。従って、請求項1に記載の発明の作用と同様の作用を得ることができる。
本発明によれば、外形を小型化できる。
(第1実施形態)
以下、本発明のステアリングロック装置をステアリングロックシステムに組み込んで具体化した第1実施形態を図1〜図4に従って説明する。なお、図1〜図4に示す本実施形態のステアリングロックシステム11を構成する各部材のうち、先の図8〜図13に例示した従来のステアリングロックシステム101を構成する各部材と同一の部材若しくは対応する部材については同一符号を付し、それらの部材についての説明を省略する。
以下、本発明のステアリングロック装置をステアリングロックシステムに組み込んで具体化した第1実施形態を図1〜図4に従って説明する。なお、図1〜図4に示す本実施形態のステアリングロックシステム11を構成する各部材のうち、先の図8〜図13に例示した従来のステアリングロックシステム101を構成する各部材と同一の部材若しくは対応する部材については同一符号を付し、それらの部材についての説明を省略する。
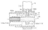
図1(a)に示すように、ステアリングロックシステム11は、従来のステアリングロックシステム101を構成する部材であるチューブ群102、ステアリングシャフト群103、ステアリングホイール104、固定体106、ブレークアウェイブラケット107、ベアリング110,111、ブラケット117、回転規制体118を備えている。さらに、ステアリングロックシステム11は、ステアリングロック装置15を備えている。ステアリングロック装置15は、本体部114、ロック部材としてのロックバー16、及び取付部116を備えている。
図2に示すように、ステアリングロック装置15の本体部114内には、回転軸20aを有するモータ20、ウォーム21、ウォームホイール22、雄ネジ部23aを有するシャフト23、雌ネジ部120aを有する調整体120、コイルバネ121、ロックバー16が配置されている。
モータ20の回転軸20aが正逆回転することに基づいて、ウォーム21、ウォームホイール22、及びシャフト23(雄ネジ部23a)が正逆回転する。また、シャフト23(雄ネジ部23a)と調整体120(雌ネジ部120a)とが、滑り対偶の関係となるように構成されている。そのため、シャフト23の正逆回転に基づいて調整体120、コイルバネ121、及びロックバー16が突出入方向(図2における上下方向)に沿って往復移動可能に構成されている。このロックバー16の突出入方向に沿った往復移動に基づいて、該ロックバー16の先端部と回転規制体118とが嵌合又は非嵌合し、ステアリングホイール104(ステアリングシャフト群103)の回転が規制又は許容される。
図3に示すように、ロックバー16の先端部におけるインナチューブ102aと当接する部分には、傾斜面としての斜面25が形成されている。さらに言うと、この斜面25は、ロックバー16の先端部における湾曲面116a(図10参照)の円弧中心線Oと直交すると共にロックバー16のベアリング110側の側面26に形成されている。斜面25は、それ自体が平面状とされ、側面26と先端面16aとを繋ぐように形成されている。
ロックバー16は、アンロック位置に配置されている場合には、その先端面16aがアウタチューブ102bの内周面Sよりも内側に位置(図3におけるアンロック位置d1参照)するように設定されている。詳述すると、ロックバー16は、アンロック位置d1に配置されている場合には、その斜面25がアウタチューブ102bの内周面Sと交差するように設定されている。また、ロックバー16は、その先端部が回転規制体118に嵌合している場合(図3における先端面16aがロック位置d2に配置されている場合)をロック位置としている。以下、アンロック位置d1とロック位置d2とがなす距離を可動長t1という。
本実施形態では、ステアリングロック装置15は、調整体120の位置を変更せずにロックバー16を本体部114へ向けて移動可能な長さが、図3で示すアウタチューブ102bの内周面Sからロック位置d2までの距離である可動長t2よりも長くなるように構成されている。
なお、本実施形態では、車両前後方向へ向けて一体に移動するステアリングホイール104、後方側ステアリングシャフト103b、回転規制体118、ベアリング111、アウタチューブ102b、ステアリングロック装置15、ブラケット117、及びブラケット108を総称して可動群Mhという。
次に、第1実施形態のステアリングロックシステム11の特徴的な作用・効果を説明する。なお、説明の便宜上、図4(a),(b)に示す調整体120、コイルバネ121、及びロックバー16は、その形状を概略化し、その作用をわかりやすく図示している。また、図4(a)は図1(a)と対応しており、図4(b)は図1(b)と対応している。
(1)図4(a)に示すように、ロックバー16がアンロック位置d1に位置する状態、即ちロックバー16の斜面25とインナチューブ102aとを対向させた状態において、図1(a)に示すステアリングホイール104に対して車両前方側へ向けて所定以上の押圧力が加わると、ブラケット108から破壊体109へその押圧力が伝達する。すると、破壊体109が壊れることにより、図1(b)に示すように、可動群Mhが車両前方側へ向けて移動し、この結果、チューブ群102及びステアリングシャフト群103が収縮する。
このとき、チューブ群102の収縮によってアウタチューブ102bとインナチューブ102aとが相対移動すると、即ち、アウタチューブ102bとインナチューブ102aとの重ね合わせ量が増加されていくと、インナチューブ102aがロックバー16の斜面25に当接される。さらにチューブ群102が収縮されると、インナチューブ102aがロックバー16の斜面25に押圧される。ロックバー16は、斜面25にインナチューブ102aが押圧されると、本体部114へ向けて移動され図4(b)に示す状態となる。言い換えると、斜面25は、インナチューブ102aとの当接による押圧力を利用してロックバー16を本体部114へ向けて移動させる力に変更する働きを備えている。
そのため、ロックバー16の先端部が、アウタチューブ102bの内周面Sよりも内側に位置していても、チューブ群102の収縮によるアウタチューブ102bとインナチューブ102aとの相対移動を好適に行うことができる。
図13に示すように、従来のステアリングロック装置105では、チューブ群102の収縮を好適に行うために、ロックバー115の先端部がアウタチューブ102bの内周面Sよりも外側に位置した場合においてアンロック位置P1を設定しなければならなかった。即ち、従来のステアリングロック装置105では、ロックバー115の先端部を、ステアリングシャフト群103の回転規制体118に嵌合させた位置(即ち、ロック位置P2のこと)からアウタチューブ102bの内周面Sよりも外側の位置(即ち、アンロック位置P1のこと)まで可動可能に構成しなければならなかった。それに対し、本実施形態のステアリングロック装置15では、アンロック位置d1でのロックバー16の先端部の位置を、アウタチューブ102bの内周面Sよりも内側に設定できる。言い換えると、本実施形態のステアリングロック装置15におけるロックバー16の可動長t1(図3参照)を、従来のステアリングロック装置105におけるロックバー115の可動長L(図13参照)よりも短く設定することができる。
このため、ステアリングロック装置15は、ロックバー16の可動長t1(図3参照)が従来のステアリングロック装置105におけるロックバー115の可動長L(図13参照)よりも短い分だけ、図2に示す調整体120の可動空間Kの高さH1を短く設定できる。よって、本実施形態のステアリングロック装置15は、従来のステアリングロック装置105に比して本体部114の高さH2(図1(b)参照)を短くできる。また、ステアリングロック装置15は、本体部114の高さH2を短くすることによる小型化により、本体部114のケース部分における部品材料の使用量を低減でき、低コスト化、さらには軽量化できる。
(2)ロックバー16の斜面25にインナチューブ102aが押圧されると、ロックバー16はコイルバネ121の弾性力に抗して本体部114へ向けて移動される。この時、ロックバー16は、コイルバネ121を縮めながら本体部114へ向けて移動されるため、調整体120はその位置が変更されない。このため、インナチューブ102aによってロックバー16が本体部114へ向けて移動された際に、調整体120、シャフト23、ウォームホイール22、ウォーム21、モータ20が駆動することがない。
従って、インナチューブ102aによってロックバー16が本体部114へ向けて急速に移動されても、調整体120、シャフト23、ウォームホイール22、ウォーム21、モータ20が痛むことがない。即ち、インナチューブ102aによってロックバー16が本体部114へ向けて急速に移動されても、ステアリングロック装置15が故障することがない。
(3)調整体120、コイルバネ121、及びロックバー115(16)からなる機構は、本来、図11(c),(d)に示すように、回転規制体118の突出部118aとロックバー115(16)とが対向状態でロック作動を行うことを考慮して作られた機構である。この機構は、コイルバネ121をその弾性力に抗して縮めることにより、調整体120とロックバー115(16)とを互いに近づける方向へ相対移動できるようになっている。この機構は、突出部118aとロックバー115(16)とが対向状態でロック作動が行われ、ロックバー115(16)が突出部118aに当接した場合でも、コイルバネ121が自身の弾性力に抗して縮むことで調整体120を好適に所定の位置まで移動でき、モータ20(図2参照)の焼き付きを防止するものである。そして、この機構は、上記対向状態でのロック動作が行われた後、この対向状態が解除された場合に、コイルバネ121が復帰することでロックバー115(16)をロック位置P2(d2)へ移動させるものである。本実施形態では、この機構を流用して、調整体120の位置を変更せずにロックバー16を本体部114へ向けて移動させることができる。
(第2実施形態)
以下、本発明を具体化した第2実施形態を図5に従って説明する。なお、図5に示す本実施形態のステアリングロック装置35を構成する各部材のうち、先の図1〜図4に例示した第1実施形態のステアリングロック装置15を構成する各部材と同一の部材若しくは対応する部材については同一符号を付し、それらの部材についての説明を省略する。なお、図5は、説明の便宜上、各部材の形状を概略的に図示している。
以下、本発明を具体化した第2実施形態を図5に従って説明する。なお、図5に示す本実施形態のステアリングロック装置35を構成する各部材のうち、先の図1〜図4に例示した第1実施形態のステアリングロック装置15を構成する各部材と同一の部材若しくは対応する部材については同一符号を付し、それらの部材についての説明を省略する。なお、図5は、説明の便宜上、各部材の形状を概略的に図示している。
第1実施形態のステアリングロック装置15は、シャフト23(雄ネジ部23a)と調整体120(雌ネジ部120a)との滑り対偶を用いて、ロックバー16を突出入方向に沿って往復移動させていた。本実施形態のステアリングロック装置35は、カム機構を用いてロックバー16を突出入方向に沿って往復移動させている。
図5に示すように、ステアリングロック装置35は、本体部114を備えている。本体部114内には、四角枠状をなす従節36を有する調整体120、従節36内に配置されたカム(原節)37、従節36をチューブ群102側へ付勢するコイルバネ38、コイルバネ121、及びロックバー16を備えている。
このカム37は、モータ20の回転軸20aの正逆回転に基づいて回転運動を行うように構成してもよいし、或いは、ユーザによるキーシリンダを回転させる際の回転力に基づいて回転運動を行うように構成してもよい。このカム37は、その外周に、該外周のうちで自身の回転中心rから最も遠い点である最遠点37aを有している。また、カム37は、その外周に、該外周のうちで自身の回転中心rから最も近い点である最近点37bを有している。
図5の実線にて示すように、そのカム37の最遠点37aが、コイルバネ38に押圧された従節36に当接した状態では、ロックバー16がアンロック位置d1(ロックバー16の先端面16aがアンロック位置d1)に配置されるように、ステアリングロック装置35は構成されている。
図5の二点鎖線で示すように、そのカム37の最近点37bが、コイルバネ38に押圧された従節36に当接した状態では、ロックバー16がロック位置d2(ロックバー16の先端面16aがロック位置d2)に配置されるように、ステアリングロック装置35は構成されている。
従って、第2実施形態のステアリングロック装置35を前記第1実施形態のステアリングロックシステム11に組み込んで具体化した場合には、前記第1実施形態のステアリングロックシステム11の(1)〜(3)とほぼ同様の作用・効果を得ることができると共に以下に示す作用・効果を得ることができる。
(1)ステアリングロック装置35は、ロックバー16の可動長t1(図5参照)が従来のステアリングロック装置105におけるロックバー115の可動長L(図13参照)よりも短い分だけ、回転中心rから最遠点37aまでの距離を短くしてカム37を小型化できる。また、カム37の小型化に伴って従節36の小型化、及び本体部114の高さH3と幅Wを短くできる。このような、カム37及び従節36の小型化や、本体部114の高さH3と幅Wの短縮により、カム37及び従節36の部品材料の使用量の低減、本体部114のケース部分における部品材料の使用量の低減ができ、低コスト化、さらには軽量化できる。
なお、前記各実施形態は、以下の態様に変更してもよい。
・前記各実施形態では、傾斜面としての斜面25を平面状に形成していたが、これに限らず、図6(a)に示すように斜面25の代わりに凸状の湾曲した曲面40をロックバー16に形成してもよいし、図6(c)に示すように斜面25の代わりに凹状の湾曲した曲面41をロックバー16に形成してもよい。曲面40,41は、傾斜面に相当する。
・前記各実施形態では、傾斜面としての斜面25を平面状に形成していたが、これに限らず、図6(a)に示すように斜面25の代わりに凸状の湾曲した曲面40をロックバー16に形成してもよいし、図6(c)に示すように斜面25の代わりに凹状の湾曲した曲面41をロックバー16に形成してもよい。曲面40,41は、傾斜面に相当する。
・前記各実施形態では、側面26にのみ斜面25を形成していたが、それに加え、図6(b)に示すようにロックバー16の側面26とは反対側の側面42にも傾斜面としての斜面25を形成してもよい。即ち、ロックバー16の先端部における湾曲面116a(図10参照)の円弧中心線Oと交する側面26,42に斜面25を形成する。このように構成すると以下に示す効果が得られる。図2を流用して説明すると、ロックバー16を調整体120に取り付ける際に、ロックバー16を車両前後方向において反対に間違えて組み付けることがない。
・前記各実施形態では、ロックバー16にのみ斜面25を形成していたが、図7に示すようにインナチューブ102aの車両後方側の端部(即ち、ロックバー16の先端部と当接する部分)にも傾斜面としての斜面43を形成してもよい。このように構成すると、ロックバー16の斜面25全体が内周面Sよりも内側に位置していても、円弧中心線Oに沿う方向において斜面43と斜面25とが対向していれば、チューブ群102の収縮を好適に行うことができる。この場合、ステアリングロック装置15,35を構成する要件には、インナチューブ102aが含まれている。
・また、ロックバー16に形成した斜面25を省略(ロックバー16の先端を四角柱状にする。)し、インナチューブ102aに斜面43を形成してもよい。このように構成すると、ロックバー16の先端が内周面Sよりも内側に位置していても、ロックバー16の先端面16aが円弧中心線Oに沿う方向において斜面43と対向していれば、チューブ群102の収縮を好適に行うことができる。この場合、ステアリングロック装置15,35を構成する要件には、インナチューブ102aが含まれている。
・前記各実施形態では、ステアリングロック装置15,35は、ロックバー16の斜面25にインナチューブ102aが押圧されると、ロックバー16はコイルバネ121の弾性力に抗して本体部114へ向けて移動し、調整体120はその位置が変更されないように構成していた。即ち、ステアリングロック装置15,35は、調整体120、コイルバネ121、及びロックバー16からなる機構を備えていたが、その機構を備えなくてもよい。詳述すると、ステアリングロック装置15,35は、ロックバー16の斜面25にインナチューブ102aが押圧されると、ロックバー16が破断して該ロックバー16が本体部114へ向けて移動するように構成してもよい。
次に、上記各実施形態及びその態様の変更から把握できる技術的思想について以下に追記する。
(イ)前記傾斜面は、平面状の傾斜面としたことを特徴とする請求項1乃至請求項3のうちいずれか1項に記載のステアリングロック装置。
(イ)前記傾斜面は、平面状の傾斜面としたことを特徴とする請求項1乃至請求項3のうちいずれか1項に記載のステアリングロック装置。
(ロ)前記傾斜面は、凸状の曲面としたことを特徴とする請求項1乃至請求項3のうちいずれか1項に記載のステアリングロック装置。
(ハ)前記傾斜面は、凹状の曲面としたことを特徴とする請求項1乃至請求項3のうちいずれか1項に記載のステアリングロック装置。
(ハ)前記傾斜面は、凹状の曲面としたことを特徴とする請求項1乃至請求項3のうちいずれか1項に記載のステアリングロック装置。
(ニ)アウタチューブと前記アウタチューブに一部挿入されたインナチューブとを備えたチューブ群における前記アウタチューブの外側に配置される本体部と、前記本体部からの突出量の変更により前記チューブ群内に配置されたステアリングシャフトに嵌合して該ステアリングシャフトの回転を規制するロック位置と前記ステアリングシャフトから離れて該ステアリングシャフトの回転を許容するアンロック位置とに配置可能なロック部材とを備えたステアリングロック装置において、前記ロック部材は、前記アンロック位置に配置されている場合に、かつ前記アウタチューブと前記インナチューブとの重ね合わせ量が変更されることにより前記チューブ群が収縮される場合に、前記インナチューブとの当接による押圧力を利用して自身を前記本体部へ向けて移動させる力に変更するようにその先端部における前記インナチューブと当接する部分に傾斜面を設けたことを特徴とするステアリングロック装置。
15,35…ステアリングロック装置、16…ロック部材としてのロックバー、25,43…傾斜面としての斜面、26,42…側面、40,41…傾斜面としての曲面、102…チューブ群、102a…インナチューブ、102b…アウタチューブ、103…ステアリングシャフトとしてのステアリングシャフト群、114…本体部、116…取付部、116a…湾曲面、120…調整部材としての調整体、121…付勢手段としてのコイルバネ、d1…アンロック位置、d2…ロック位置、O…円弧中心線。
Claims (3)
- アウタチューブと前記アウタチューブに一部挿入されたインナチューブとを備えたチューブ群における前記アウタチューブの外側に配置される本体部と、
前記本体部からの突出量の変更により前記チューブ群内に配置されたステアリングシャフトに嵌合して該ステアリングシャフトの回転を規制するロック位置と前記ステアリングシャフトから離れて該ステアリングシャフトの回転を許容するアンロック位置とに配置可能なロック部材と
を備えたステアリングロック装置において、
前記ロック部材が前記アンロック位置に配置されている場合に、かつ前記アウタチューブと前記インナチューブとの重ね合わせ量が変更されることにより前記チューブ群が収縮される場合に、前記ロック部材が前記インナチューブとの当接による押圧力を利用して自身を前記本体部へ向けて移動させる力に変更するように、前記ロック部材の先端部における前記インナチューブと当接する部分と、前記インナチューブの前記ロック部材の先端部と当接する部分との少なくとも一方に傾斜面を設けたことを特徴とするステアリングロック装置。 - 前記本体部には、前記ロック部材に対して作動連結されると共に自身の移動量に基づいて前記本体部からの前記ロック部材の突出量を調整する調整部材と、
前記ロック部材と前記調整部材との間に介在された付勢手段とを備え、
前記付勢手段は、前記ロック部材に対して前記本体部へ向かう方向への押圧力が加えられた場合に、自身の弾性力に抗して自身を縮めることにより、前記調整部材の位置を変更せずに前記ロック部材を前記本体部へ向けて移動させるように構成したことを特徴とする請求項1に記載のステアリングロック装置。 - アウタチューブと前記アウタチューブに一部挿入されたインナチューブとを備えたチューブ群における前記アウタチューブの外側に配置される取付部を有する本体部と、
前記本体部からの突出量の変更により前記チューブ群内に配置されたステアリングシャフトに嵌合して該ステアリングシャフトの回転を規制するロック位置と前記ステアリングシャフトから離れて該ステアリングシャフトの回転を許容するアンロック位置とに配置可能なロック部材とを備え、
前記取付部は、前記アウタチューブと対向する面が湾曲面とされ、
前記ロック部材の先端部における前記湾曲面の円弧中心線と交する側面には、前記インナチューブと当接可能な傾斜面を設けたことを特徴とするステアリングロック装置。
Priority Applications (6)
| Application Number | Priority Date | Filing Date | Title |
|---|---|---|---|
| JP2004113430A JP2005297645A (ja) | 2004-04-07 | 2004-04-07 | ステアリングロック装置 |
| CNB2005100629531A CN100339257C (zh) | 2004-04-07 | 2005-03-31 | 转向锁定装置 |
| EP20050252013 EP1584522B1 (en) | 2004-04-07 | 2005-03-31 | Steering lock device for vehicle |
| DE200560001168 DE602005001168T2 (de) | 2004-04-07 | 2005-03-31 | Elektrische Lenksperre für ein Kraftfahrzeug |
| CNU2005200045738U CN2818243Y (zh) | 2004-04-07 | 2005-03-31 | 转向锁定装置 |
| US11/096,879 US7234328B2 (en) | 2004-04-07 | 2005-04-01 | Steering lock device |
Applications Claiming Priority (1)
| Application Number | Priority Date | Filing Date | Title |
|---|---|---|---|
| JP2004113430A JP2005297645A (ja) | 2004-04-07 | 2004-04-07 | ステアリングロック装置 |
Publications (1)
| Publication Number | Publication Date |
|---|---|
| JP2005297645A true JP2005297645A (ja) | 2005-10-27 |
Family
ID=34909511
Family Applications (1)
| Application Number | Title | Priority Date | Filing Date |
|---|---|---|---|
| JP2004113430A Pending JP2005297645A (ja) | 2004-04-07 | 2004-04-07 | ステアリングロック装置 |
Country Status (5)
| Country | Link |
|---|---|
| US (1) | US7234328B2 (ja) |
| EP (1) | EP1584522B1 (ja) |
| JP (1) | JP2005297645A (ja) |
| CN (2) | CN2818243Y (ja) |
| DE (1) | DE602005001168T2 (ja) |
Cited By (4)
| Publication number | Priority date | Publication date | Assignee | Title |
|---|---|---|---|---|
| FR2895718A1 (fr) * | 2006-01-02 | 2007-07-06 | Peugeot Citroen Automobiles Sa | Systeme de colonne de direction pour vehicule automobile, et vehicule automobile correspondant |
| FR2932757A1 (fr) * | 2008-06-20 | 2009-12-25 | Peugeot Citroen Automobiles Sa | Dispositif de direction pour vehicule automobile comportant un volant de direction et un airbag. |
| JP2017024438A (ja) * | 2015-07-15 | 2017-02-02 | 日本精工株式会社 | 電動パワーステアリング装置 |
| KR20210073914A (ko) * | 2019-12-11 | 2021-06-21 | 주식회사 만도 | 조향휠 록킹 장치 |
Families Citing this family (22)
| Publication number | Priority date | Publication date | Assignee | Title |
|---|---|---|---|---|
| US20060112747A1 (en) * | 2004-12-01 | 2006-06-01 | Computerized Security Systems, Inc. | Energy storing electronic lock |
| JP4694384B2 (ja) * | 2006-02-17 | 2011-06-08 | 株式会社東海理化電機製作所 | ステアリングロック装置 |
| US8006526B2 (en) * | 2006-04-27 | 2011-08-30 | Stoneridge Control Devices, Inc. | Steering shaft lock actuator |
| JP4955523B2 (ja) * | 2007-11-30 | 2012-06-20 | 株式会社ユーシン | ステアリングロック装置 |
| US8272239B2 (en) * | 2008-02-14 | 2012-09-25 | Fong Jian-Jhong | Anti-theft locking device for a vehicle steering wheel |
| US8960030B2 (en) * | 2008-06-06 | 2015-02-24 | Honda Motor Co., Ltd. | Steering lock device |
| DE112009001454T5 (de) * | 2008-06-13 | 2011-05-05 | Caterpillar Paving Products Inc., Minneapolis | Radgestellverriegelungsvorrichtung |
| US7562548B1 (en) * | 2008-06-16 | 2009-07-21 | Delphi Technologies, Inc. | Steering column assembly |
| KR101094910B1 (ko) * | 2009-10-30 | 2011-12-16 | 기아자동차주식회사 | 차량의 키 인터록 장치 |
| US8272291B2 (en) * | 2010-01-15 | 2012-09-25 | Samuel Fasone | Steering column locking device |
| US20140069224A1 (en) | 2012-09-07 | 2014-03-13 | Strattec Security Corporation | Steering lock |
| US8424348B2 (en) * | 2010-01-27 | 2013-04-23 | Strattec Security Corporation | Steering lock |
| JP5750949B2 (ja) * | 2011-03-14 | 2015-07-22 | 株式会社ジェイテクト | 車両用ステアリング装置 |
| US8966948B2 (en) * | 2012-12-03 | 2015-03-03 | Hyundai Motor Company | Electrical steering column lock |
| CN103661561B (zh) * | 2013-12-31 | 2016-06-01 | 长城汽车股份有限公司 | 汽车转向管柱 |
| US9221427B2 (en) * | 2014-02-11 | 2015-12-29 | Steering Solutions Ip Holding Corporation | System for selectively locking a steering column |
| DE102015011134A1 (de) * | 2015-08-31 | 2017-03-02 | Thyssenkrupp Ag | Raststern für eine Kraftfahrzeuglenksäule und Verfahren zur Herstellung dieses |
| US9725109B2 (en) * | 2015-11-09 | 2017-08-08 | Ford Global Technologies, Llc | Steering column with decoupling J-slider |
| JP6471105B2 (ja) * | 2016-01-14 | 2019-02-13 | 株式会社東海理化電機製作所 | ステアリングロック装置、及びステアリングロック装置の組立方法 |
| US10421475B2 (en) * | 2016-11-15 | 2019-09-24 | Steering Solutions Ip Holding Corporation | Electric actuator mechanism for retractable steering column assembly with manual override |
| CN108263467A (zh) * | 2016-12-30 | 2018-07-10 | 蒂森克虏伯普利斯坦汽车零部件(上海)有限公司 | 锁环组件及转向管柱 |
| CN112874619B (zh) * | 2020-12-31 | 2022-06-07 | 的卢技术有限公司 | 一种收放式方向盘及方向盘的折叠方法 |
Family Cites Families (13)
| Publication number | Priority date | Publication date | Assignee | Title |
|---|---|---|---|---|
| US1316946A (en) * | 1919-09-23 | Permutation-lock | ||
| US1347564A (en) * | 1919-12-26 | 1920-07-27 | Turner William Benson | Steering-wheel lock |
| GB1288749A (ja) * | 1968-12-06 | 1972-09-13 | ||
| JPS60157944A (ja) * | 1984-01-26 | 1985-08-19 | Yuushin:Kk | ステアリングロツク装置の安全装置 |
| US4955454A (en) * | 1989-06-13 | 1990-09-11 | General Motors Corporation | Modular bolt assembly for steering shaft lock |
| JP3592883B2 (ja) * | 1997-03-24 | 2004-11-24 | 株式会社東海理化電機製作所 | ステアリングロック装置 |
| DE10030688C1 (de) * | 2000-06-23 | 2001-10-18 | Huf Huelsbeck & Fuerst Gmbh | Schloß, insbesondere zum Verriegeln der Lenkspindel oder der Zahnstange des Lenkgetriebes oder der Ausgangswelle des Antriebsgetriebes eines Kraftfahrzeugs |
| JP2002067881A (ja) * | 2000-08-31 | 2002-03-08 | Nsk Ltd | 車両用ステアリング装置 |
| JP3810327B2 (ja) * | 2002-02-27 | 2006-08-16 | 株式会社ジェイテクト | 操舵軸のロック装置 |
| JP3811416B2 (ja) * | 2002-03-22 | 2006-08-23 | 株式会社東海理化電機製作所 | 電動ステアリングロック装置 |
| JP3808789B2 (ja) * | 2002-03-22 | 2006-08-16 | 株式会社東海理化電機製作所 | 電動ステアリングロック装置 |
| JP2004231123A (ja) * | 2003-01-31 | 2004-08-19 | Tokai Rika Co Ltd | 電動ステアリングロック装置 |
| JP4248948B2 (ja) * | 2003-06-13 | 2009-04-02 | 株式会社アルファ | 電動ステアリングロック装置 |
-
2004
- 2004-04-07 JP JP2004113430A patent/JP2005297645A/ja active Pending
-
2005
- 2005-03-31 CN CNU2005200045738U patent/CN2818243Y/zh not_active Expired - Fee Related
- 2005-03-31 EP EP20050252013 patent/EP1584522B1/en not_active Expired - Lifetime
- 2005-03-31 CN CNB2005100629531A patent/CN100339257C/zh not_active Expired - Fee Related
- 2005-03-31 DE DE200560001168 patent/DE602005001168T2/de not_active Expired - Lifetime
- 2005-04-01 US US11/096,879 patent/US7234328B2/en not_active Expired - Lifetime
Cited By (5)
| Publication number | Priority date | Publication date | Assignee | Title |
|---|---|---|---|---|
| FR2895718A1 (fr) * | 2006-01-02 | 2007-07-06 | Peugeot Citroen Automobiles Sa | Systeme de colonne de direction pour vehicule automobile, et vehicule automobile correspondant |
| FR2932757A1 (fr) * | 2008-06-20 | 2009-12-25 | Peugeot Citroen Automobiles Sa | Dispositif de direction pour vehicule automobile comportant un volant de direction et un airbag. |
| JP2017024438A (ja) * | 2015-07-15 | 2017-02-02 | 日本精工株式会社 | 電動パワーステアリング装置 |
| KR20210073914A (ko) * | 2019-12-11 | 2021-06-21 | 주식회사 만도 | 조향휠 록킹 장치 |
| KR102678824B1 (ko) | 2019-12-11 | 2024-06-28 | 에이치엘만도 주식회사 | 조향휠 록킹 장치 |
Also Published As
| Publication number | Publication date |
|---|---|
| US20050223761A1 (en) | 2005-10-13 |
| DE602005001168T2 (de) | 2008-01-24 |
| EP1584522B1 (en) | 2007-05-23 |
| DE602005001168D1 (de) | 2007-07-05 |
| CN100339257C (zh) | 2007-09-26 |
| EP1584522A1 (en) | 2005-10-12 |
| US7234328B2 (en) | 2007-06-26 |
| CN1680154A (zh) | 2005-10-12 |
| CN2818243Y (zh) | 2006-09-20 |
Similar Documents
| Publication | Publication Date | Title |
|---|---|---|
| JP2005297645A (ja) | ステアリングロック装置 | |
| JP6493211B2 (ja) | 位置調節式ステアリング装置 | |
| CN102112362B (zh) | 方向盘的位置调节装置 | |
| US7243994B2 (en) | Continuously operable seat-reclining device for vehicles | |
| JP6112015B2 (ja) | チルト式ステアリング装置 | |
| CN103857581B (zh) | 转向盘的电动位置调节装置 | |
| JP4255118B2 (ja) | ステアリングコラムのガタ防止構造 | |
| EP3088277B1 (en) | Worm reduction gear and steering mechanism | |
| JP2003276614A (ja) | ステアリング装置 | |
| JP2009096409A (ja) | 電動チルトステアリング装置 | |
| CN112930296B (zh) | 转向柱装置 | |
| CN115210128A (zh) | 转向装置 | |
| WO2023038013A1 (ja) | ステアリングコラム装置 | |
| JP2008068870A (ja) | ステアリングホイールの電動式位置調節装置 | |
| JP5741388B2 (ja) | テレスコピックステアリング装置 | |
| US7306259B2 (en) | Lock for tilting and telescoping steering column | |
| JP2010254159A (ja) | チルト式ステアリング装置 | |
| WO2015046432A1 (ja) | ステアリングホイールの位置調節装置 | |
| JP2005240886A (ja) | 伸縮自在シャフト | |
| US20220099159A1 (en) | Worm reducer and electric assist device | |
| JP4411049B2 (ja) | ステアリングコラム装置 | |
| JP2015214290A (ja) | テレスコピックステアリング装置 | |
| JP5233246B2 (ja) | 電動テレスコ調整式ステアリング装置 | |
| JP2005001545A (ja) | ステアリング軸 | |
| JP3233908U (ja) | ステアリングコラムおよびステアリング装置 |
Legal Events
| Date | Code | Title | Description |
|---|---|---|---|
| A621 | Written request for application examination |
Free format text: JAPANESE INTERMEDIATE CODE: A621 Effective date: 20061020 |
|
| A977 | Report on retrieval |
Free format text: JAPANESE INTERMEDIATE CODE: A971007 Effective date: 20081118 |
|
| A131 | Notification of reasons for refusal |
Free format text: JAPANESE INTERMEDIATE CODE: A131 Effective date: 20081125 |
|
| A02 | Decision of refusal |
Free format text: JAPANESE INTERMEDIATE CODE: A02 Effective date: 20090317 |