JP2005295629A - 電源装置 - Google Patents

電源装置 Download PDF

Info

Publication number
JP2005295629A
JP2005295629A JP2004104470A JP2004104470A JP2005295629A JP 2005295629 A JP2005295629 A JP 2005295629A JP 2004104470 A JP2004104470 A JP 2004104470A JP 2004104470 A JP2004104470 A JP 2004104470A JP 2005295629 A JP2005295629 A JP 2005295629A
Authority
JP
Japan
Prior art keywords
mos transistor
output
output terminal
power supply
substrate
Prior art date
Legal status (The legal status is an assumption and is not a legal conclusion. Google has not performed a legal analysis and makes no representation as to the accuracy of the status listed.)
Granted
Application number
JP2004104470A
Other languages
English (en)
Other versions
JP4289195B2 (ja
Inventor
Masayuki Suzuki
雅之 鈴木
Junji Takeshita
順司 竹下
Tomomitsu Ohara
智光 大原
Current Assignee (The listed assignees may be inaccurate. Google has not performed a legal analysis and makes no representation or warranty as to the accuracy of the list.)
Mitsumi Electric Co Ltd
Original Assignee
Mitsumi Electric Co Ltd
Priority date (The priority date is an assumption and is not a legal conclusion. Google has not performed a legal analysis and makes no representation as to the accuracy of the date listed.)
Filing date
Publication date
Application filed by Mitsumi Electric Co Ltd filed Critical Mitsumi Electric Co Ltd
Priority to JP2004104470A priority Critical patent/JP4289195B2/ja
Publication of JP2005295629A publication Critical patent/JP2005295629A/ja
Application granted granted Critical
Publication of JP4289195B2 publication Critical patent/JP4289195B2/ja
Anticipated expiration legal-status Critical
Expired - Fee Related legal-status Critical Current

Links

Images

Landscapes

  • Dc-Dc Converters (AREA)

Abstract

【課題】回路動作停止時のリーク電流を低減できる電源装置を提供する。
【解決手段】一端に電源電圧VDDが印加されるコイルLと、コイルLの他端と出力端子Toutとの間にドレイン−ソースが接続された第1のMOSトランジスタQ2と、出力端子Toutから出力される出力電圧Voutを検出し、出力端子Toutの電圧が所定の電圧となるようにコイルLの他端の接続を制御する制御回路112とを有する電源回路において、第1のMOSトランジスタQ2の基板とコイルLとの間に接続された第1の抵抗R11と、第1のMOSトランジスタQ2の基板と第2のMOSトランジスタQ12のゲートとの間に接続された第2の抵抗R12と、第2のMOSトランジスタQ12のゲートと第2の抵抗R12との接続点と基準電位GNDとの間に接続されたスイッチ手段Q11とを有する。
【選択図】図1

Description

本発明は電源装置に係り、特に、一端に電源電圧が印加されるコイルと、コイルの他端と出力端子との間にドレイン−ソースが接続されたMOSトランジスタと、出力端子から出力される出力電圧を検出し、出力端子の電圧が所定の電圧となるようにMOSトランジスタを制御する制御回路部とを有する電源装置に関する。
図3は従来の電源装置の一例の回路構成図を示す。
従来の電源装置1は、コイルL、MOSトランジスタQ1〜Q4、抵抗R1、R2、コンデンサC1、インバータ21、制御回路22により、チョッパ方式の昇圧型スイッチングレギュレータを構成しており、電池などからなる直流電源11の出力電圧を昇圧して出力端子Toutより出力する(特許文献1参照)。
直流電源11は、コイルLの一端に供給される。コイルLの他端は、NチャネルMOSトランジスタQ1を介して接地端子Tgndに接続されているとともに、PチャネルMOSトランジスタQ2を介して出力端子Toutに接続されている。
出力端子Toutと接地端子Tgndとの間には、抵抗R1、R2が直列に接続されるとともに、コンデンサCが接続されている。抵抗R1と抵抗R2との接続点には、出力端子Toutから出力される出力電圧Voutを分割した電圧Vsが出現する。抵抗R1と抵抗R2との接続点に出現した電圧Vsは、制御回路22に供給される。
制御回路22は、電圧Vsに応じてMOSトランジスタQ1とMOSトランジスタQ2とを交互にオンさせる。このとき、出力端子Toutから出力される出力電圧Voutが一定となるように、その周期を制御している。
なお、MOSトランジスタQ3、Q4は、MOSトランジスタQ2の基板電圧を切り換えるためのスイッチ手段であり、MOSトランジスタQ2がオフ時に、出力端子Tout側にリーク電流が流れるの防止するための回路である。
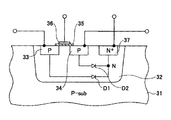
図4はpチャネルMOSトランジスタの断面図を示す。
pチャネルMOSトランジスタは、p形基板31にn形ウェル領域32を設け、さらに、ウェル領域32上に高濃度p形領域33、34を設け、ソース及びドレインとし、高濃度p形領域33と高濃度p形領域34との間の領域上に絶縁層35を挟んでゲート電極36を形成した構成とされている。このとき、高濃度p形領域33、34とウェル領域32及び高濃度n形領域37とで寄生ダイオードD1、D2が形成される。
このとき、通常のMOSトランジスタのようにMOSトランジスタQ2のバックゲートである高濃度n形領域37をソース又はドレインに接続して、基板電位を決定すると、MOSトランジスタQ2がオフの時に寄生ダイオードを通してコイルL側から出力端子Tout側に電流が流れてしまう。
このため、MOSトランジスタQ3、Q4を設け、MOSトランジスタQ2の基板電位を切り換えて、MOSトランジスタQ2のオフ時にコイルL側から出力端子Tout側に電流が流れることを防止している。
端子Tcntには、外部からコントロール信号が供給される。コントロール信号は、出力端子Toutから出力電圧Voutを出力又は停止させるための信号である。端子Tcntに供給されたコントロール信号は、制御回路22に供給されるとともに、MOSトランジスタQ4のゲート、及び、インバータ21を介してMOSトランジスタQ3のゲートに供給される。
MOSトランジスタQ3は、ソース−ドレインがコイルLの他端とMOSトランジスタQ1の基板との間に接続されている。また、MOSトランジスタQ4は、ソース−ドレインが出力端子ToutとMOSトランジスタQ1のバックゲートである基板との間に接続されている。
MOSトランジスタQ3は、コントロール信号がローレベルのときには、そのゲート電位はハイレベルとなるので、オフされる。また、コントロール信号がハイレベルのときには、そのゲート電位はローレベルとなるので、オンされる。
MOSトランジスタQ4は、コントロール信号がローレベルのときには、そのゲート電位はローレベルとなるので、オンされる。また、コントロール信号がハイレベルのときには、そのゲート電位はハイレベルとなるので、オフされる。コントロール信号により、MOSトランジスタQ3、Q4を切り換えることにより、出力電圧Voutの出力停止時に、MOSトランジスタQ2の基板電位を切り換え、不要な電流が流れないようにしていた。
特開平8−251913号公報
しかるに、従来の電源装置1は、単に、MOSトランジスタQ3、Q4のスイッチングによって、基板電圧を切り換えているため、MOSトランジスタQ2の基板電位などを自在に設定することはできなかった。
本発明は上記の点に鑑みてされたもので、回路動作停止時のリーク電流を低減でき、回路設計を容易に行える電源装置を提供することを目的とする。
本発明は、一端に電源電圧(VDD)が印加されるコイル(L)と、コイル(L)の他端と出力端子(Tout)との間にドレイン−ソースが接続された第1のMOSトランジスタ(Q2)と、出力端子(Tout)から出力される出力電圧(Vout)を検出し、出力端子(Tout)の電圧が所定の電圧となるようにコイル(L)の他端の接続を制御する制御回路(112)とを有する電源回路において、第1のMOSトランジスタ(Q2)の基板と出力端子(Tout)との間に接続された第2のMOSトランジスタ(Q12)と、第1のMOSトランジスタ(Q2)の基板とコイル(L)との間に接続された第1の抵抗(R11)と、第1のMOSトランジスタ(Q2)の基板と第2のMOSトランジスタ(Q12)のゲートとの間に接続された第2の抵抗(R12)と、第2のMOSトランジスタ(Q12)のゲートと第2の抵抗(R12)との接続点と基準電位(GND)との間に接続されたスイッチ手段(Q11)とを有することを特徴とする。
また、本発明は、第2のMOSトランジスタ(Q12)は、出力端子(Tout)側から第1のMOSトランジスタ(Q2)の基板側に向かって順方向となるように寄生ダイオード(D13)が形成される構成とされたことを特徴とする。
さらに、第2のMOSトランジスタ(Q12)は、PチャネルMOSトランジスタから構成され、基板が第1のMOSトランジスタ(Q2)の基板に接続されたことを特徴とする。
また、スイッチ手段(Q11)は、出力端子(Tout)から電源(Vout)を出力するときにオンされ、出力端子(Tout)から電源の出力を停止する時にオフされることを特徴とする。
スイッチ手段(Q11)は、MOSトランジスタから構成されたことを特徴とする。
なお、上記参照符号はあくまでも参考であり、これによって、特許請求の範囲が限定されるものではない。
本発明によれば、一端に入力端子が接続されたコイルと、コイルの他端と出力端子との間にドレイン−ソースが接続された第1のMOSトランジスタと、出力端子から出力される出力電圧を検出し、出力端子の電圧が所定の電圧となるようにコイルの他端の接続を制御する制御回路部とを有する電源回路において、第1のMOSトランジスタの基板と出力端子との間に接続された第2のMOSトランジスタと、第1のMOSトランジスタの基板とコイルとの間に接続された第1の抵抗と、第1のMOSトランジスタの基板と第2のMOSトランジスタのゲートとの間に接続された第2の抵抗と、第2のMOSトランジスタのゲートと第2の抵抗との接続点と基準電位との間に接続されたスイッチ手段とを設けることにより、出力端子からの電源の出力を停止したときに第1のMOSトランジスタ及び第2のMOSトランジスタを確実にオフさせることができる。これによって、出力端子からの電源出力の停止時に出力端子から負荷にリーク電流が流れることを防止できる。
また、本発明によれば、第1の抵抗及び第2の抵抗により第1のMOSトランジスタの基板電位及び第2のMOSトランジスタのゲート電圧を調整できるため、設計を容易に行える。
〔構成〕
図1は本発明の一実施例の回路構成図を示す。同図中、図3と同一構成部分には同一符号を付し、その説明は省略する。
本実施例の電源装置100は、チョッパ方式の昇圧型スイッチングレギュレータであり、コイルL、MOSトランジスタQ1、Q2、Q11、Q12、抵抗R1、R2、R11、R12、コンデンサC1、制御回路112、インバータ113から構成されている。なお、ダイオードD1、D2は、MOSトランジスタQ2の基板とソース及びドレインとの間に形成される寄生ダイオードである。また、ダイオードD13はトランジスタQ12の基板とドレインとの間に形成される寄生ダイオードである。
コイルLは、一端に電池などから構成される直流電源11の正電位が印加されている。コイルLの他端は、NチャネルMOSトランジスタQ1のドレイン及びPチャネルMOSトランジスタQ2のドレインに接続されている。MOSトランジスタQ1のソースは、接地端子Tgndに接続されている。また、MOSトランジスタQ2のソースは、出力端子Toutに接続されている。なお、ここで、このコイルLの他端とMOSトランジスタQ1、Q2のドレイン端との接続点をAとする。なお、MOSランジスタQ2のソース及びドレインと基板との間には、図4に示すように寄生ダイオードD1、D2が寄生している。
MOSトランジスタQ1のゲート及びMOSトランジスタQ2のゲートは、制御回路112に接続されている。MOSトランジスタQ1及びMOSトランジスタQ2は、制御回路112からの駆動パルスにより交互にオンするようにスイッチングされる。このような動作によって、いわゆる、同期整流方式のレギュレータが構成されている。
nチャネルMOSトランジスタQ11は、ソース−ドレインが接地端子TgndとMOSトランジスタQ12のゲートとの間に接続されている。MOSトランジスタQ11のゲートには、インバータ113を介してコントロール端子Tcntが接続されており、コントロール端子Tcntに供給されるコントロール信号を反転した反転コントロール信号が供給される。
さらに、pチャネルMOSトランジスタQ12は、ソース−ドレインがMOSトランジスタQ2の基板と出力端子Toutとの間に接続されている。MOSトランジスタQ12のゲートは、MOSトランジスタQ11を介して接地端子Tgndに接続されるとともに、抵抗R12を介してMOSトランジスタQ2の基板に接続されている。
抵抗R11は、MOSトランジスタQ2の基板と接続点Aとの間に接続されている。また、抵抗R12は、MOSトランジスタQ2の基板とMOSトランジスタQ11のゲートとの間に接続されている。
制御回路112には、抵抗R1と抵抗R2との接続点の電圧、すなわち、出力端子Toutから出力される出力電圧Voutに応じた電圧Vsが供給されている。制御回路112は、抵抗R1と抵抗R2との接続点の電圧Vsに応じたパルス幅のパルスを生成し、MOSトランジスタQ1、Q2のゲートに供給する。このとき、制御回路112は、MOSトランジスタQ1、Q2のゲートに供給するパルスのパルス幅を出力端子Toutから出力される出力電圧Voutが一定の電圧となるように制御している。
また、制御回路112には、コントロール端子Tcntがインバータ113を介して接続されている。コントロール端子Tcntには、外部からコントロール信号が供給される。コントロール信号は、出力端子Toutからの出力電圧Voutを出力させる動作と停止させる動作とを制御するための信号である。
コントロール端子Tcntに供給されたコントロール信号は、出力端子Toutから出力電圧Voutを出力させるときには、ローレベルとなり、出力端子Toutからの出力電圧Voutの出力を停止させるときには、ハイレベルとなる。コントロール端子Tcntに供給されたコントロール信号は、インバータ113に供給される。インバータ113は、コントロール端子Tcntからのコントロール信号を反転させる。反転コントロール信号は、制御回路112及びMOSトランジスタQ11のゲートに供給される。
制御回路112は、コントロール端子Tcntに供給されるコントロール信号がローレベルであり、インバータ113の出力信号がハイレベルのときには、抵抗R1と抵抗R2との接続点の電圧Vsに応じたパルス幅のパルス信号を生成し、MOSトランジスタQ1、Q2のゲートに供給することによって、MOSトランジスタQ1とMOSトランジスタQ2とを交互にオンさせ、出力端子Toutから出力電圧Voutが出力されるように動作する。また、制御回路112は、コントロール端子Tcntに供給されるコントロール信号がハイレベルであり、インバータ113の出力信号がローレベルのときには、MOSトランジスタQ1のゲート電位をローレベルとし、MOSトランジスタQ2のゲート電位をハイレベルとすることにより、MOSトランジスタQ1、Q2を共にオフ状態とし、出力端子Toutからの出力電圧Voutの出力が停止されるように動作する。
このとき、MOSトランジスタQ11のゲートには、反転コントロール信号が供給されているので、インバータ113の出力信号がハイレベルのときには、ゲート電位がハイレベルとなり、MOSトランジスタQ11は、オン状態となる。MOSトランジスタQ11がオンすることにより、MOSトランジスタQ12のゲート電位がローレベルとなる。MOSトランジスタQ12は、ゲート電位がローレベルとなると、オンする。
MOSトランジスタQ11は、インバータ113の出力信号がローレベルのときには、ゲート電位がローレベルになるので、オフ状態となる。MOSトランジスタQ11がオフすると、MOSトランジスタQ12のゲート電位がハイレベルとなるので、MOSトランジスタQ12はオフ状態となる。
〔動作〕
図2は本発明の一実施例の動作説明図を示す。図2(A)は昇圧動作時、図2(B)は昇圧停止時の要部の等価回路図を示す。
(A)昇圧動作時
昇圧動作時には、コントロール端子Tcntに供給されるコントロール信号がローレベルとされる。ローレベルのコントロール信号は、インバータ113により反転されてハイレベルとされ、制御回路112及びMOSトランジスタQ11のゲートに供給される。
制御回路112は、MOSトランジスタQ1とMOSトランジスタQ2とを交互にオンさせる。また、MOSトランジスタQ11は、ゲートがハイレベルとなるので、オン状態を維持する。MOSトランジスタQ11がオンすると、MOSトランジスタQ12のゲート電位がローレベルとなるので、MOSトランジスタQ12はオンする。
このため、MOSトランジスタQ2、Q11、Q12の周辺の回路は、図2(A)に示すような等価回路で表すことができる。
(a)MOSトランジスタQ1がオン状態、MOSトランジスタQ2がオフ状態のときには、電源11からの電流はコイルLとMOSトランジスタQ1を介してグランド電位に流れ、コイルLにエネルギー蓄積される。このとき、接続点Aはグランド電位となり、MOSトランジスタQ2の基板は、抵抗R12及びMOSトランジスタQ11を介して接地端子Tgndに接続されるので、グランド電位に維持される。
(b)MOSトランジスタQ1がオフ状態、MOSトランジスタQ2がオン状態のときには、コイルLに蓄積されたエネルギーは、MOSトランジスタQ2を介して出力端子Toutに出力される。
なお、このとき、接続点Aの電位が上昇するので、MOSトランジスタQ2の基板の電位は、接続点Aの電位を抵抗R11と抵抗R12とで分割したものとなる。
(B)昇圧停止時
昇圧停止時には、コントロール端子Tcntに供給されるコントロール信号は、ハイレベルとされる。コントロール端子Tcntに供給されるコントロール信号がハイレベルとなると、インバータ113の出力はローレベルとなる。
インバータ113の出力がローレベルとなることにより、制御回路112はMOSトランジスタQ1、Q2を共にオフ状態に維持する。また、インバータ113の出力がローレベルとなることにより、MOSトランジスタQ11がオフする。MOSトランジスタQ11がオフすると、トランジスタQ12には、抵抗R11、R12を介してハイレベルとされるので、トランジスタQ12はオン状態となる。このとき、MOSトランジスタQ2の基板は、電源電圧VDDに維持される。
このため、MOSトランジスタQ2、Q11、Q12の周辺の回路は、図2(B)に示すような等価回路で表すことができる。
このとき、MOSトランジスタQ1、Q2、Q11、Q12がすべてオフすることによって、図2(B)に示すように抵抗R11と寄生ダイオードD1、D2、D13が回路上に現れる。寄生ダイオードD2、D13は、共に出力端子ToutからトランジスタQ2の基板との間に逆方向に接続されることになる。これによって、接続点Aから出力端子Tout側に電流が流れることがなくなる。
本実施例によれば、出力端子からの電源の出力を停止したときに、MOSトランジスタQ2及びMOSトランジスタQ11を確実のオフさせることができ、また、このとき、寄生ダイオードD2、D13も逆方向とすることができるため、電源11から出力端子Toutにリーク電流が流れることを防止することができる。
また、本実施例によれば、抵抗R11、R12によりMOSトランジスタQ2の基板電位及びMOSトランジスタQ12のゲート電圧を調整できるため、設計を容易に行える。
本発明の一実施例の回路構成図である。 本発明の一実施例の要部の等価回路図である。 従来の電源装置の一例の回路構成図である。 MOSトランジスタQ2の断面図である。
符号の説明
11 直流電源
L コイル、R1、R2、R11、R12 抵抗、C1 コンデンサ
Q1、Q2、Q11、Q12 MOSトランジスタ、D1、D2、D13 寄生ダイオード
100 電源装置、112 制御回路、113 インバータ

Claims (5)

  1. 一端に入力端子が接続されたコイルと、該コイルの他端と出力端子との間にドレイン−ソースが接続された第1のMOSトランジスタと、該出力端子から出力される出力電圧を検出し、該出力端子の電圧が所定の電圧となるように該コイルの他端の接続を制御する制御回路部とを有する電源回路において、
    前記第1のMOSトランジスタの基板と前記出力端子との間に接続された第2のMOSトランジスタと、
    前記第1のMOSトランジスタの基板と前記コイルとの間に接続された第1の抵抗と、
    前記第1のMOSトランジスタの基板と前記第2のMOSトランジスタのゲートとの間に接続された第2の抵抗と、
    前記第2のMOSトランジスタのゲートと前記第2の抵抗との接続点と基準電位との間に接続されたスイッチ手段とを有することを特徴とする電源装置。
  2. 前記第2のMOSトランジスタは、前記出力端子側から前記第1のMOSトランジスタの基板側に向かって順方向となるように寄生ダイオードが形成される構成とされたことを特徴とする請求項1記載の電源装置。
  3. 前記第2のMOSトランジスタは、PチャネルMOSトランジスタから構成され、基板が前記第1のMOSトランジスタの基板に接続されたことを特徴とする請求項2記載の電源装置。
  4. 前記スイッチ手段は、前記出力端子から電源を出力するときにオンされ、前記出力端子から電源の出力を停止する時にオフされることを特徴とする請求項1乃至3のいずれか一項記載の電源装置。
  5. 前記スイッチ手段は、MOSトランジスタから構成されたことを特徴とする請求項1乃至4のいずれか一項記載の電源装置。
JP2004104470A 2004-03-31 2004-03-31 電源装置 Expired - Fee Related JP4289195B2 (ja)

Priority Applications (1)

Application Number Priority Date Filing Date Title
JP2004104470A JP4289195B2 (ja) 2004-03-31 2004-03-31 電源装置

Applications Claiming Priority (1)

Application Number Priority Date Filing Date Title
JP2004104470A JP4289195B2 (ja) 2004-03-31 2004-03-31 電源装置

Publications (2)

Publication Number Publication Date
JP2005295629A true JP2005295629A (ja) 2005-10-20
JP4289195B2 JP4289195B2 (ja) 2009-07-01

Family

ID=35327967

Family Applications (1)

Application Number Title Priority Date Filing Date
JP2004104470A Expired - Fee Related JP4289195B2 (ja) 2004-03-31 2004-03-31 電源装置

Country Status (1)

Country Link
JP (1) JP4289195B2 (ja)

Cited By (5)

* Cited by examiner, † Cited by third party
Publication number Priority date Publication date Assignee Title
WO2007010801A1 (ja) * 2005-07-15 2007-01-25 Rohm Co., Ltd. 昇圧型、降圧型スイッチングレギュレータおよびその制御回路ならびにそれを用いた電子機器
JP2008092639A (ja) * 2006-09-29 2008-04-17 Matsushita Electric Ind Co Ltd 電源装置
US7560910B2 (en) 2006-09-19 2009-07-14 Renesas Technology Corp. Voltage converter and semiconductor integrated circuit
JP2009178033A (ja) * 2007-12-26 2009-08-06 Rohm Co Ltd 昇圧型スイッチングレギュレータおよびその制御回路
JP2010085328A (ja) * 2008-10-01 2010-04-15 Toyota Central R&D Labs Inc ホールド回路

Cited By (5)

* Cited by examiner, † Cited by third party
Publication number Priority date Publication date Assignee Title
WO2007010801A1 (ja) * 2005-07-15 2007-01-25 Rohm Co., Ltd. 昇圧型、降圧型スイッチングレギュレータおよびその制御回路ならびにそれを用いた電子機器
US7560910B2 (en) 2006-09-19 2009-07-14 Renesas Technology Corp. Voltage converter and semiconductor integrated circuit
JP2008092639A (ja) * 2006-09-29 2008-04-17 Matsushita Electric Ind Co Ltd 電源装置
JP2009178033A (ja) * 2007-12-26 2009-08-06 Rohm Co Ltd 昇圧型スイッチングレギュレータおよびその制御回路
JP2010085328A (ja) * 2008-10-01 2010-04-15 Toyota Central R&D Labs Inc ホールド回路

Also Published As

Publication number Publication date
JP4289195B2 (ja) 2009-07-01

Similar Documents

Publication Publication Date Title
US7692474B2 (en) Control circuit for a high-side semiconductor switch for switching a supply voltage
JP5338387B2 (ja) 電源切換え装置
JP6213136B2 (ja) 半導体装置
KR0131161B1 (ko) 정 전류 발생 장치
JPH07154962A (ja) 定電圧発生回路
JP4022208B2 (ja) 線形および飽和領域で動作可能なパワーmosfet用電流センス
JP3912417B2 (ja) 駆動回路
JP2016143799A (ja) 異常検出回路
JP2009044304A (ja) 半導体素子制御装置
JP4289195B2 (ja) 電源装置
JP4494083B2 (ja) スイッチング制御回路
JP4318511B2 (ja) 昇圧回路
JP2010028522A (ja) 半導体装置
JP2004072829A5 (ja)
US7692479B2 (en) Semiconductor integrated circuit device including charge pump circuit capable of suppressing noise
KR100834219B1 (ko) 레벨 시프트 회로 및 이를 구비한 스위칭 레귤레이터
JP5009083B2 (ja) スイッチング電源回路
US6762576B2 (en) Motor driving device for supplying driving current to a three-phase motor through output transistors
JP2020031390A (ja) スイッチ回路
JP7294084B2 (ja) 短絡判定装置
JP4105717B2 (ja) ブートストラップ回路
JP2815744B2 (ja) 誘導性負荷定電流駆動用集積回路
JP5918512B2 (ja) H型ブリッジ回路およびモータ駆動装置
JP2003198277A (ja) Mosトランジスタ出力回路
JP3540872B2 (ja) 起動回路

Legal Events

Date Code Title Description
A621 Written request for application examination

Free format text: JAPANESE INTERMEDIATE CODE: A621

Effective date: 20060626

A977 Report on retrieval

Free format text: JAPANESE INTERMEDIATE CODE: A971007

Effective date: 20090203

TRDD Decision of grant or rejection written
A01 Written decision to grant a patent or to grant a registration (utility model)

Free format text: JAPANESE INTERMEDIATE CODE: A01

Effective date: 20090310

A01 Written decision to grant a patent or to grant a registration (utility model)

Free format text: JAPANESE INTERMEDIATE CODE: A01

A61 First payment of annual fees (during grant procedure)

Free format text: JAPANESE INTERMEDIATE CODE: A61

Effective date: 20090323

R150 Certificate of patent or registration of utility model

Ref document number: 4289195

Country of ref document: JP

Free format text: JAPANESE INTERMEDIATE CODE: R150

Free format text: JAPANESE INTERMEDIATE CODE: R150

FPAY Renewal fee payment (event date is renewal date of database)

Free format text: PAYMENT UNTIL: 20120410

Year of fee payment: 3

FPAY Renewal fee payment (event date is renewal date of database)

Free format text: PAYMENT UNTIL: 20150410

Year of fee payment: 6

R250 Receipt of annual fees

Free format text: JAPANESE INTERMEDIATE CODE: R250

LAPS Cancellation because of no payment of annual fees