JP2005295059A - 画像読取装置 - Google Patents
画像読取装置 Download PDFInfo
- Publication number
- JP2005295059A JP2005295059A JP2004105088A JP2004105088A JP2005295059A JP 2005295059 A JP2005295059 A JP 2005295059A JP 2004105088 A JP2004105088 A JP 2004105088A JP 2004105088 A JP2004105088 A JP 2004105088A JP 2005295059 A JP2005295059 A JP 2005295059A
- Authority
- JP
- Japan
- Prior art keywords
- film
- image reading
- photographic film
- reading apparatus
- guide
- Prior art date
- Legal status (The legal status is an assumption and is not a legal conclusion. Google has not performed a legal analysis and makes no representation as to the accuracy of the status listed.)
- Withdrawn
Links
Images
Landscapes
- Facsimiles In General (AREA)
- Facsimile Scanning Arrangements (AREA)
Abstract
【課題】 フィルムの搬送経路におけるフィルム先端部あるいは後端部の位置つまりフィルム自体の位置を正確に検知し、明瞭な画像の読取り、焼付けを行うことができるとともに、フィルムの長さの算出にも高い精度を確保することができる画像読取装置を提供すること。
【解決手段】 写真フィルムFを搬送経路に沿って搬送する搬送機構4と、搬送経路の途上に設けられ、写真フィルムFに対する処理を行うための処理機構と、搬送経路に沿って搬送される写真フィルムFを巻き取り収容する収容空間部と、写真フィルムに形成された画像の読取り、焼付けを行う画像読取機構と、を備えた画像読取装置であって、前記搬送経路中に、写真フィルムFを規制するガイドG1,G2、および発光部および受光部を有し、規制された写真フィルム表面近傍を反射点とする反射式光センサSを設けたことを特徴とする。
【選択図】 図1
【解決手段】 写真フィルムFを搬送経路に沿って搬送する搬送機構4と、搬送経路の途上に設けられ、写真フィルムFに対する処理を行うための処理機構と、搬送経路に沿って搬送される写真フィルムFを巻き取り収容する収容空間部と、写真フィルムに形成された画像の読取り、焼付けを行う画像読取機構と、を備えた画像読取装置であって、前記搬送経路中に、写真フィルムFを規制するガイドG1,G2、および発光部および受光部を有し、規制された写真フィルム表面近傍を反射点とする反射式光センサSを設けたことを特徴とする。
【選択図】 図1
Description
本発明は、画像読取装置に関するもので、特に、写真フィルム(以下「フィルム」という。)を搬送経路に沿って搬送する搬送機構と、フィルムに対する処理を行うための処理機構と、搬送経路に沿って搬送されるフィルムを巻き取り収容する収容空間部と、フィルムに形成された画像の読取り、焼付けを行う画像読取機構と、を備えた画像読取装置に関するものである。
かかる画像読取装置は、現像済みフィルムに形成されているコマ画像を読み取るために設けられ、現像済みフィルムのコマ画像を写真感光材料に投影露光するためにも用いられる。ここでAPSフィルムのコマ画像を読み取る場合の動作の一例を説明する。現像済みフィルムは、カートリッジと呼ばれるフィルム容器に収容されており、このカートリッジをフィルム搬送ユニットのカートリッジ装填部に装填する。次に、カートリッジから帯状のフィルムを順次引き出し搬送させると、フィルムは所定の搬送経路に沿って搬送される。この搬送経路の途上に開口部が設けられており、この開口部を通じてフィルムの画像を読み取る。この往路搬送経路における読み取りはプレスキャニングと呼ばれ、粗い画素数で画像を読み取る。このとき読み取られた画像データは、モニター画面に表示させてオペレータによる画像処理作業を行わせるために利用される。従って、読み取り解像度は高くなくても良い。フィルムは、一定速度で搬送されつつ、プレスキャニングが行われ、さらに、フィルムは搬送経路の下流側に設けられた巻き取り用の収容空間部にロール状に収容されていく。
このようにフィルムはプレスキャニングが行われながら収容空間部に巻き取られていくが、プレスキャニングが終了すると、フィルムを搬送経路に沿って逆方向に搬送させる。今度も、開口部を通じてフィルムの画像を読み取るが、この復路における読み取りは本スキャニングであり、プレスキャニングとは異なり高解像度での画像データを取得する。この高解像度の画像データを用いて写真プリントの作成が行われる。また、写真プリントの作成にあたり、画像処理作業で入力された色・濃度の補正も行われ、適切な画質の写真プリントが作成される。本スキャニングが終了したフィルムは、再び、カートリッジに収容されることになる。
以上のような画像読取装置には、フィルムの位置を検知するセンサ(以下「位置センサ」という。)が設けられており、搬送されるフィルムの先端部あるいは末端部の通過時点を検知し、フィルム上の画像の読取り、焼付けなどを自動的に行っている。例えば、撮像装置との関係では、撮像開始のタイミングを決定するレディセンサとしての役割を果たしている。また、先端部と末端部とを検知し、搬送速度量からフィルムの長さの算出にも利用される。このとき、位置センサとしては、フィルムを傷つけずにスムーズに搬送できるように、非接触かつ正確にその端部の検知を行うことができるような構成が必要とされる。一般には、フィルムを中央に発光部および受光部を各面側に配置される透過式の光センサ、あるいは、一方に並列に位置される反射式の光センサのいずれかが用いられている。
具体的には、フィルムなどシート体の搬送機構の制御方法に関し、図9に示すように、シート体Aを前段のローラ対122および後段のローラ対124からなる二組のローラ対で挟持して搬送する際、前記シート体Aを検知して前段のローラ対122によりシート体を挟持搬送し、次いで、後段のローラ対124をシート体Aの厚さ以上の間隔に離間させた状態で待機させ、所定時間経過後、前記シート体Aを後段のローラ対124により挟持搬送すると共に前記前段ローラ対122によるシート体Aの挟持を解除している。ここで、シート体Aの検知としては、一対の検知センサ137a、137bを近接して配設し、一方137aから他方137bに指向して光ビームを射出しておき、シート体によって遮光させることでシート体を検知する方法(透過式)が例示されている(例えば、特許文献1参照)。
特開平7−48784号公報
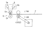
しかしながら、上記のようなフィルムの位置の検出方法では、いくつかの問題点があった。つまり、反射式センサを用いた場合、図10(A)のように、発光部Saおよび受光部Sbから構成される位置センサSがフィルムFの搬送経路上部側に設けられている場合には、必ず発光部Saからの光はフィルムFに対し斜めに照射する必要があり、検出感度を高くしようとすると入射角θを大きくする必要があり、フィルムのカールあるいは反りの状態によってフィルム先端部における光の反射が一定にならず、検出レベルが一定とならないことからフィルムの検出位置にバラツキが生じるという問題がある。入射角θを小さくすれば、こうした影響は少なくなるが位置センサの構造上発光部Saおよび受光部Sbの距離の短縮には限界があり、フィルムFとの距離を拡大すると、検出感度の低下あるいは外部の散乱光の影響が無視できなくなるという課題がある。
このとき、フィルムFが搬送経路下部側にカールしている場合にあっては、正規の位置Nから搬送経路上の距離Δa通過した後に検出することになり、画像認識に(+)Δa位置ズレを生じることになる。また、逆に図10(B)のように、フィルムFが搬送経路上部側にカールしている場合にあっては、正規の位置Nから搬送経路上の距離Δb前の位置で検出することになり、画像認識に(−)Δb位置ズレを生じることになる。さらに、フィルムの端部に反っている場合には、その面での光の反射方向はマチマチになることから検出位置にバラツキが生じることになる。また、位置センサSを、図10(C)のように、フィルム幅方向に発光部Saおよび受光部Sbが並ぶように配した場合においても、フィルムFの反りに対して同様の影響を受けることになる。具体的には、カールによる位置検知の誤差としては、最大5mm程度となることもあり、画像読取装置として無視できない場合がある。また、正規の寸法よりの短いフイルムが搬送された場合にあっては、正しい検知が可能であれば画像読取ができないフィルムとして取扱いがされるが、上記のように誤って長く検知した場合には、正常フィルムとして搬送され、搬送経路でのつまりや読取画像の不良などを招来することになる。逆の場合にも画像読取装置としての正規の機能を果たすことができなくなる。
一方、透過式センサは、画像読取装置においては、搬送経路に対し垂直に近い光路によって検出することが可能であり、カールあるいは反りの影響を軽減することは可能であるが、透過式センサの場合発光部と受光部との配置関係において求められる精度が厳しく、光学系の調整が必要となる。また、こうした画像読取装置においては、フィルム搬送経路を定期的に清掃・清浄処理などの保守を行う必要があることから、発光部Saあるいは受光部Sbの位置に変動が生じる場合があり、光学系の再調整を必要とし保守面においても課題が大きい。さらに、フィルムがポジタイプの場合には、フィルムの透過特性の相違によって検出精度が異なる場合があり適用が難しいという課題がある。
本発明は上記実情に鑑みてなされたものであり、その課題は、フィルムの搬送経路におけるフィルム先端部あるいは後端部の位置つまりフィルム自体の位置を正確に検知し、明瞭な画像の読取り、焼付けを行うことができるとともに、フィルムの長さの算出にも高い精度を確保することができる画像読取装置を提供することである。また、同時に画像読取装置の保守・点検後においても、特別な調整等を必要とせず、簡素な構成で、再現よくフィルム自体の位置を正確に検知することができる、画像読取装置を提供することである。
上記課題を解決するため本発明に係る画像読取装置は、
写真フィルムを搬送経路に沿って搬送する搬送機構と、搬送経路の途上に設けられ、写真フィルムに対する処理を行うための処理機構と、搬送経路に沿って搬送される写真フィルムを巻き取り収容する収容空間部と、写真フィルムに形成された画像の読取り、焼付けを行う画像読取機構と、を備えた画像読取装置であって、前記搬送経路中に、写真フィルムを規制するガイド、および発光部および受光部を有し、規制された写真フィルム表面近傍を反射点とする反射式光センサを設けたことを特徴とする。
写真フィルムを搬送経路に沿って搬送する搬送機構と、搬送経路の途上に設けられ、写真フィルムに対する処理を行うための処理機構と、搬送経路に沿って搬送される写真フィルムを巻き取り収容する収容空間部と、写真フィルムに形成された画像の読取り、焼付けを行う画像読取機構と、を備えた画像読取装置であって、前記搬送経路中に、写真フィルムを規制するガイド、および発光部および受光部を有し、規制された写真フィルム表面近傍を反射点とする反射式光センサを設けたことを特徴とする。
こうした構成をとることによって、搬送経路中のフィルム位置の検知において、フィルムの反りの少ない状態を作り出して、フィルム先端部または後端部と位置センサとの配置関係を安定化し、かつ、発光部と受光部の位置関係が固定的で安定性の高い反射式センサを用いることによって、フィルム−発光部−受光部、相互の位置関係の安定化を図ることができる。従って、フィルム自体の位置を正確に検知し、明瞭な画像の読取り、焼付けを行うことができるとともに、フィルムの長さの算出にも高い精度を確保することができる画像読取装置を提供することができる。
本発明は、上記画像読取装置であって、前記ガイドが駆動ローラよりも搬送経路の中央に位置するとともに、反射式光センサと反射ミラーが、前記搬送経路を中央に相対する位置であって、写真フィルムの中央部かつその垂線方向に配することを特徴とする。
一般に、フィルムの搬送において、フィルムの側端部は駆動ローラによって比較的規制された状態を維持できる一方、側端部での検知は、フィルムの中央部あるいは他の側端部との関連が一定とはいえず、また、側端面はパーフォレーション管理などを行うために規制されることがあるため、画像のあるフィルムの中央部がフィルム位置を代表するのに最適である。しかしながら、中央部は規制されておらず、また側端部の規制によって、さらにカールや反りの発生あるいは残留が生じやすい。従って、ガイドによって、フィルム上のより中央部に近い部位での規制を行う上記の構成によって、フィルムの位置を正確に検知し、明瞭な画像の読取り、焼付けを行うことができる。
なお、フィルムの当初の巻き方向、あるいは装置での押し出し、搬送、巻取りの流れから、フィルムがカールする方向はほぼ同一である。従って、ガイドによる規制もこうしたカールの方向を予め考慮した方向から行うことで、よりカールの発生の少なく条件での位置の検知を行うことができる。
本発明は、上記画像読取装置であって、前記ガイドが、前記反射点を含む所定領域にガイド部がない円筒状ローラであって、駆動ローラよりも大きな径を有することを特徴とする。
本来、カールや反りの規制は、フィルムの全面に対して行うことが望ましい。しかし、こうした規制はフィルムあるいは画像を傷つけるおそれがあることから、最小限の効果的な規制が好ましい。従って、フィルムの搬送に追随しつつ規制時には面として接することができる構成であって、特に画像は非常に繊細であることから、画像のある中央部の規制を排除したものである。こうした構成によって、フィルム自体の位置を正確に検知し、明瞭な画像の読取り、焼付けを行うことが可能となる。
本発明は、上記画像読取装置であって、前記ガイドが、複数円筒状ローラによって構成されることを特徴とする。
上記のように、カールや反りの規制は、最小限の効果的な規制が好ましい。しかし、一旦大きなカールや反りが発生した場合、単純な規制では十分な強制は難しく、特定部位の強制は、却って他の部位でのカールや反りを増長するおそれがある。従って、多段の強制あるいは複数箇所の同時強制を行うことによって、より最小限の効果的な規制を行うことができる。特に弾性の強いフィルムの場合に効果的である。こうした構成によって、フィルム自体の位置を正確に検知し、明瞭な画像の読取り、焼付けを行うことが可能となる。
本発明は、上記画像読取装置であって、前記ガイドが、前記反射点を含む所定領域にガイド部がないベルト状であり、搬送機能を有することを特徴とする。
カールや反りの規制は、最小限の効果的な規制が好ましい。しかし、大きなカールや反りが発生した場合、特定部位の強制は、却って他の部位でのカールや反りを増長するおそれがある。従って、面でのガイドであってフィルムの搬送機能を有することによって、より最小限の効果的な規制を行うことができる。こうした構成によって、フィルム自体の位置を正確に検知し、明瞭な画像の読取り、焼付けを行うことが可能となる。
本発明は、上記画像読取装置であって、前記反射式光センサの出力微分値の変化から、写真フィルムの位置を検知することを特徴とする。
本発明に係る装置においては、反射点へのフィルムの挿入によって、受光部での入射光が急激に変化する。こうした急激な変化は光センサの出力に変化とともに、出力の変化率をも大きく変化させる現象と捉えることができる。つまり、光センサの出力値を微分することで、より顕著にその変化を捉え、迅速にフィルムの位置を検知することができる。
以上のような構成によって、フィルムの搬送経路におけるフィルム端部の位置つまりフィルム自体の位置を正確に検知し、明瞭な画像の読取り、焼付けを行うことができるとともに、フィルムの長さの算出にも高い精度を確保することができる画像読取装置を提供することである。特に、1コマフィルムのように寸法の短いフィルムについては、搬送制御精度の重要性が高いことから、こうした精度の高い位置の検知によって最適な制御が可能となる。
また、光学系の構成部材の取付けや取外しに伴う光路のズレによる影響が非常に小さく、画像読取装置の保守・点検後においても、特別な調整等を必要とせず、簡素な構成で、再現よくフィルム自体の位置を正確に検知することができる。
本発明に係る画像読取装置の好適な実施形態を、図面を用いて説明する。
図1は、画像読取装置1が用いられる写真処理システムの構成を示す模式図である。
図1は、画像読取装置1が用いられる写真処理システムの構成を示す模式図である。
<写真処理システムの構成>
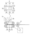
図1は、現像済みフィルムに形成されているコマ画像を読み取りデジタルデータ化し、デジタル露光操作方式でペーパーP(写真感光材料)に画像を焼付露光して写真プリントを作成する写真処理システムであり、画像読取装置1(フイルムスキャナー)とプリンタプロセッサーPRを備えている。画像読取装置1は、図1に示すように照明光学系2と、撮像光学系3と、本発明に係るフィルム位置検知系(以下「検出系」という。)を含むフィルムキャリア4(フィルム搬送ユニット)と、を備えている。
図1は、現像済みフィルムに形成されているコマ画像を読み取りデジタルデータ化し、デジタル露光操作方式でペーパーP(写真感光材料)に画像を焼付露光して写真プリントを作成する写真処理システムであり、画像読取装置1(フイルムスキャナー)とプリンタプロセッサーPRを備えている。画像読取装置1は、図1に示すように照明光学系2と、撮像光学系3と、本発明に係るフィルム位置検知系(以下「検出系」という。)を含むフィルムキャリア4(フィルム搬送ユニット)と、を備えている。
照明光学系2は、フィルムキャリア4内を搬送経路に沿って搬送されるフィルムF(ネガフィルムやポジフィルム)に対して光を照射するために設けられる。照明光学系2は、光源部5と、調光フィルター6と、ミラートンネル7とを備えている。光源部5は、例えば、ハロゲンランプであり、赤(R)緑(G)青(B)の3色の夫々に対応する波長領域の光が含まれている。調光フィルター6は、光源部5からの放射光の色分布を必要に応じて整えるためのものである。従って、光源部5から照射される光は、調光フィルター6とミラートンネル7によって、その色分布や強度分布が調整された後に、フィルムFに照射される。
撮像光学系3は、ズームレンズを含むレンズユニット8と、フィルムFを通過した光を受光するCCDラインセンサ9(以下、CCDセンサと省略)を備えている。レンズユニット8は、フィルムFを通過した光をCCDセンサ9上に結像させるために設けられる。なお、図1では、レンズユニット8として1枚のレンズのみが図示されているが、複数のレンズで構成されていても良い。
CCDセンサ9は、フィルムFの搬送方向(図1の矢印方向であり副走査方向に相当)に直交する方向(主走査方向に相当)に沿って配置されたライン状のセンサである。ここでCCDセンサ9は、主走査方向つまりフィルムFの幅方向と平行に配列される多数の画素(ピクセル)を有している。CCDセンサ9は、カラー画像データを取得するために、副走査方向上流側から下流側に沿って互いに所定間隔だけ離間して配置された3つのラインセンサ9a,9b,9cを備えている。
各ラインセンサ9a,9b,9cの各撮像面には、R,G,Bの色分解フィルターのいずれかが夫々取り付けられており、R,G,Bの各色に対応するように割り当てられている。つまり、赤色に対応するラインセンサ9aの撮像面にはフィルムFを透過した光の赤色成分のみを通過させるカラーフィルタが、これと同様に、緑色に対応するラインセンサ9bの撮像面には緑色成分のみを通過させるカラーフィルタが、青色に対応するラインセンサ9cの撮像面には青色成分のみを通過させるカラーフィルタが取り付けられている。
フィルムキャリア4の詳細は後述するが、フィルムFに対する照射光学系2と撮像光学系とを結ぶ光路の後段あるいは前段の少なくともいずれか一方のフィルム搬送経路に、位置センサSおよびガイドGを有するフィルム位置検知系が配されている。フィルムFの通過による光の反射からフィルムFの位置を検知し、フィルムFの停止位置の確認および搬送系の制御を行うとともに、位置情報をデータ処理部10に入力することによってフィルム位置と画像データとの相関を管理することができる。
データ処理部10は、各ラインセンサ9a,9b,9cの画素から出力される各画素信号をサンプルホールドすることにより、各画素信号を連続した画像信号にするとともに、この各画素信号を所定のビット数のデジタル信号に変換した後に、画像処理部11に送出する。また、画像処理部11では、オペレータにより入力された色・濃度の補正データに基づいた画像処理や、写真プリント作成のために必要とされる種々の画像補正処理を実行する機能を有する。画像処理部11で画像処理が施されたコマ画像の画像データは、露光エンジン13に転送される。
次に、プリンタプロセッサーPRの構成を説明する。ペーパーマガジンM1,M2には、写真感光材料であるペーパーがロールの形態で収容されている。いずれか一方のペーパーマガジンM1.M2から長尺状のペーパーが引き出されていき、搬送経路途上に設けられたペーパーカッター14によりプリントサイズにカットされる。振り分け搬送機構15により、ペーパーは1列から複列に搬送状態が切り替えられる。
露光エンジン13は、画像処理部11から転送されてきた画像データに基づいて、ペーパーに画像を焼付露光する。露光エンジン13は、レーザーエンジン、PLZTエンジン等の種々の構造のものを採用することができる。画像が焼付露光されたペーパーは、搬送機構16により搬送されて現像処理部17に送り込まれる。現像処理部17にて現像処理が施され、乾燥処理部18で乾燥処理が施された後、ペーパー排出部19から仕上がりの写真プリントが装置外部に排出される。
<フィルムキャリア(フィルム搬送ユニット)の構成>
次に、フィルムキャリア4の構成を説明する。画像読取装置1は、現像済みフィルムに形成されたコマ画像を読み取るために設けられており、フィルムキャリア4は、そのためのフィルムを搬送させる機能を備えている。フィルムキャリア4は、いわゆる135タイプのフィルム(35mmフィルムロールともいい、以下、「135フィルム」と称する)と、いわゆるAPSによるフィルム(以下、「240フィルム」と称する)の両方を取り扱うことができる。フィルムキャリア4の構成は図2,4の斜視図及び図3の平面図に示される。図2,3は、上部本体32を閉じた状態、図4は、上部本体32を開いた状態を示している。
次に、フィルムキャリア4の構成を説明する。画像読取装置1は、現像済みフィルムに形成されたコマ画像を読み取るために設けられており、フィルムキャリア4は、そのためのフィルムを搬送させる機能を備えている。フィルムキャリア4は、いわゆる135タイプのフィルム(35mmフィルムロールともいい、以下、「135フィルム」と称する)と、いわゆるAPSによるフィルム(以下、「240フィルム」と称する)の両方を取り扱うことができる。フィルムキャリア4の構成は図2,4の斜視図及び図3の平面図に示される。図2,3は、上部本体32を閉じた状態、図4は、上部本体32を開いた状態を示している。
図2〜4に示されるように、240フィルムを搬送させるための第1搬送経路R1(搬送レーン)と135フィルムを搬送させるための第2搬送経路R2とが横並びで平行に配置されている。240フィルムは、カートリッジに収容されているので、そのカートリッジを装填するための装填部20が設けられている。135フィルムは、容器には収容されていないので、帯状の135フィルムをそのまま挿入するためのフィルム挿入部21が設けられている。
装填部20は、240フィルムのカートリッジを保持するホルダー部22と、このホルダー部22に保持されたカートリッジのスプール軸を回転させる駆動部30と、ホルダー部22に保持された240フィルムのスプール軸を支持する支持部23とで構成されている。ホルダー部22は、240フィルムのカートリッジを挿入するホルダー本体22aと、このホルダー本体22aをフィルム搬送部24に取り付けるための取り付け部材22bとで構成されている。
ホルダー本体22aは、外周径状が240フィルムのカートリッジの端面形状と略相似した形状に設定されてドーナツ状に形成されたベース部220と、このベース部220の外周方向に所定間隔を有し、ベース部220の外周縁部から中心線方向に突出した複数の保持片221とで構成される。複数の保持片221は、先端側に240フィルムのカートリッジを装填する装填口25を形成しており、この保持片221で包囲される領域内に240フィルムのカートリッジを軸芯方向に挿入可能にしている。また、複数の保持片221は、240フィルムのカートリッジを装填した状態で、カートリッジのシャッター部(フィルムを引き出す引出し口)が複数の保持片221の間に来るように配置され、240フィルムの引出しが可能となるように配置されている。
取り付け部材22bは、後述する下部本体31に着脱可能に構成されており、ホルダー本体22aのベース部220が蝶着されている。ホルダー本体22aと取り付け部材22bとを蝶着した軸体26には、ねじりコイルバネ(図示せず)が装着されており、ホルダー本体22aが軸体26回りに付勢されている。
ホルダー部22は、装填したカートリッジのシャッター部が第1搬送経路R1側となるように、取り付け部材22bがフィルム搬送部24に取り付けられ、この状態でホルダー本体22aは、装填されたカートリッジ内のスプール軸が横臥せ状態となるフィルム引出し姿勢と、装填口25が上方に向く装填姿勢との間で姿勢変更可能となっている。ホルダー部22は、フィルム引出し姿勢において、第1搬送経路R1の第1搬送挿入口と、カートリッジのシャッター部とが対向し、カートリッジから240フィルムを引き出して第1搬送経路R1に挿入できるようにしている。一方、装填姿勢においては、装填口25が上方に向き、240フィルムのカートリッジの装填及び取り出しを行うことができる。
前記駆動部30は、フィルム搬送部24に連結されるベース体30aと、駆動源である電動モータ30cと、この駆動モータ30cの回転を減速する減速機構30bとを備えている。このベース体30aは、フィルム搬送部24の下面に取り付けられており、ベース体30aには、電動モータ30c及び減速機構30bが取り付けられる。この減速機構30bの出力軸(図示せず)は、一端部がホルダー本体22aに向けて突出するように設けられており、ホルダー本体部22aのベース部220の孔を介し、装填姿勢からフィルム引出し姿勢になったカートリッジ内のスプール軸の一端部と係合して電動モータ30cの駆動がスプール軸に伝達されるようになっている。なお、電動モータ30cは、減速機構30bを介してフィルム搬送部24の駆動も担っている。
支持部23は、スプール軸の他端部を支持する回転自在な支持軸23aを備えている。具体的には、支持部23は、240フィルムにおけるカートリッジのシャッター部を開閉する開閉機構を備えている。この開閉機構は、電動モータ23bと、電動モータ23bの駆動をカートリッジのシャッター部に伝達する伝達機構23cとを備えており、支持軸23aは伝達機構23cに回転自在に軸支されている。かかる開閉機構は、ベース23dに支持されており、フィルム引出し姿勢になったカートリッジ内のスプール軸の軸芯方向に進退可能に設けられている。
支持軸23aは、240フィルムのスプール軸の他端部と係合可能に構成されており、この支持部23aがカートリッジに向けて前進することで、スプール軸の他端部と係合するように構成されている。一方、支持部23が、カートリッジから離間するように後退することで、スプール軸と出力軸との係合が解除されるようになっている。
フィルム搬送部24は、上下に対向配置された下部本体31と、上部本体32とで構成されている。下部本体31は、下面視略矩形状に形成されており、長手方向の一端側における一方の角部が、平面視略角形に切り欠かれ、装填部20を配置する配置スペースを形成している。
図4に示すように、下部本体31における上部本体32と対向する面には、第1搬送経路R1を形成するための第1下溝41と、第2搬送経路R2を形成するための第2下溝50とが形成されている。第1下溝41は、240フィルムの幅に対応した幅に設定されており、装填部20の配置スペースの形成位置(カートリッジのシャッター部の配置位置)に対応するように、下部本体31の長手方向の全長にわたって形成されている。この第1下溝41の底面には、長手方向(フィルムの搬送方向)に所定間隔を有して複数の凹部42が形成されており、この凹部42には、回転駆動される駆動ローラ43が内装されている。この駆動ローラ43は、第1下溝41の底面から一部を突出させるように設けられており、上部本体32の従動ローラ(図示せず)と当接するように構成されている。
第1下溝41の底面の所定位置には、溝幅方向(フィルム幅方向)に延びて上下方向に貫通したスリット状の第1下スリット開口部44(処理用開口部に相当)が形成され、この第1下スリット開口部44を介してフィルムに形成されたコマ画像の情報を読み取ることができる。このスリット開口部44の搬送上流側には、上部本体32に設けられた磁気ヘッド(図示せず)に対して240フィルムを押し付ける回転自在なヘッド用ローラ45が埋設されている。さらに、第1下溝41の上流側には、フィルム面をクリーニングするブラシ46が埋設されている。
また、スリット開口部44下流側には、検出系が設けられている。検出系は、位置センサSおよびガイドG1を下部本体31に設け、ガイドG2を上部本体32に設けることが好ましい。逆の設置も可能であるが、本装置構成例においては、上部本体32が開閉可能な構成となっていることから電源・信号処理用配線を有する位置センサを固定的な下部本体31に設けることが好適である。こうした構成によって、第1搬送経路R1および第2搬送経路R2の保守あるいは清掃に伴う光路のズレによる影響をなくすことができる。
位置センサとしては、非接触の光センサを用いることが好ましい。光センサとしては、紫外線、可視光あるいは赤外線など波長域を問うものではないが、発光部Saとして発光ダイオード、受光部Sbとしてフォトダイオードとを組合せたコンパクトな反射式センサが、装置構成上好ましい。反射式センサは、発光部と受光部の位置関係が固定的で安定性が高い点においても優位である。
第2下溝50は、135フィルムのフィルム幅に対応した幅に設定されており、フィルムの幅方向において第1下溝41と並列状態となるように、下部本体31の長手方向で全長にわたって形成されている。第2下溝50にも同様に複数の凹部51が形成され、この凹部51に回転駆動される駆動ローラ52が内装されている。駆動ローラ52は、上部本体32の従動ローラ(図示せず)と当接する。第2下溝50の底面には、溝幅方向(フィルム幅方向)に延びて上下方向に貫通したスリット状の第2下スリット開口部53が形成されている。この第2スリット開口部53は、第1スリット開口部44の延長線上に形成されている。
スリット開口部53下流側には、上記同様、検出系が設けられている。位置センサSおよびガイドG1を下部本体31に設け、ガイドG2を上部本体32に設けることが好ましい点は、上記と同様である。
上部本体32は、平面視矩形状に形成されており、長手方向が第1搬送経路R1の全長に対応した長さに設定され、短手方向が下部本体31の短手方向の長さに対応した長さに設定されている。上部本体32は、装填部20をかわして下部本体31に対向配置されており、短手方向の一端部が下部本体31の短手方向の一端部に蝶着されている。これにより、上部本体32は、下部本体31に対して開閉可能となっており、上部本体32と下部本体31との対向面同士が密接する状態と離間する状態とに姿勢変更可能となっている。
<フィルム位置検出系の構成>
図5(A)に、上記検出系の詳細を例示する。駆動部30から搬送されたフィルムFは、開口部K(上記では44、53)を経て検出系に至る。このとき、位置センサSは、連続光あるいはパルス光を発光しており、フィルムFの挿入によって光が反射されることでフィルムFの存在、位置を検出することができる。このとき、フィルムFのカールあるいは反りによる検出位置のズレが生じないように、フィルムFをガイドG1およびG2によって規制している。規制値は、例えば、フィルムとガイドの間隙として0.1〜0.5mm程度が好ましい。狭すぎるとフィルムFを傷つける可能性があり、広すぎると検知誤差が大きくなる。具体的な実験によれば、従来の方法では、カールによる位置検知の誤差として最大5mm程度となる場合もあり、本装置によれば、最大0.5mm以内に押さえることが可能となった。
図5(A)に、上記検出系の詳細を例示する。駆動部30から搬送されたフィルムFは、開口部K(上記では44、53)を経て検出系に至る。このとき、位置センサSは、連続光あるいはパルス光を発光しており、フィルムFの挿入によって光が反射されることでフィルムFの存在、位置を検出することができる。このとき、フィルムFのカールあるいは反りによる検出位置のズレが生じないように、フィルムFをガイドG1およびG2によって規制している。規制値は、例えば、フィルムとガイドの間隙として0.1〜0.5mm程度が好ましい。狭すぎるとフィルムFを傷つける可能性があり、広すぎると検知誤差が大きくなる。具体的な実験によれば、従来の方法では、カールによる位置検知の誤差として最大5mm程度となる場合もあり、本装置によれば、最大0.5mm以内に押さえることが可能となった。
ガイドG1およびG2は、フィルムFを傷つけない素材および形状であれば、特に制限はないが、駆動ローラ(上記では43、52)同様表面を樹脂などの柔軟性のある素材で被覆したものが好ましい。
また、ガイドG1およびG2は、位置センサSがフィルムFの存在の有無を検知する部位(反射点)や画像のあるフィルムFの中央部を含む所定領域にガイド部がない構造が好ましい。カールや反りの規制は、フィルムの全面特に中央部に対して行うことが望ましいが、フィルムFの位置検出には、ガイドG1およびG2の近傍の中央部が最適である一方、画像のある中央部の規制は不適切なため、図5(B)に例示するような構成は、こうした制約を最大限満たすものといえる。また、ガイドG1およびG2は、フィルムの搬送に追随することが可能な円筒状ローラが好ましく、規制時には面として接することができる構成として駆動ローラよりも大きな径を有することが好ましい。
次に、本発明に係る検出系の構成例をいくつか説明する。
図6に示すような検出系の第1構成例においては、発光部Saと受光部Sbを有する位置センサSがフィルム搬送経路下面側に配置され、中央に搬送経路を介してガイドG1およびG2が配置されている。このとき、発光部Saから発せられた光は、フィルムFがない場合には、散乱されほとんど受光部Sbに入射されることはないが、ガイドG1およびG2によってカールあるいは反りのない状態でフィルムFが挿入された場合には、フィルムF表面で反射され、多くの光が受光部Sbに入射する。
図6に示すような検出系の第1構成例においては、発光部Saと受光部Sbを有する位置センサSがフィルム搬送経路下面側に配置され、中央に搬送経路を介してガイドG1およびG2が配置されている。このとき、発光部Saから発せられた光は、フィルムFがない場合には、散乱されほとんど受光部Sbに入射されることはないが、ガイドG1およびG2によってカールあるいは反りのない状態でフィルムFが挿入された場合には、フィルムF表面で反射され、多くの光が受光部Sbに入射する。
このとき、フィルムFに対する検出系の配置については、フィルムFの1の側端部で検知した場合、フィルムFの中央部あるいは他の側端部との関連が一定とはいえずフィルムFを代表しているとはいえない。さらに、側端面はパーフォレーション管理などを行うために規制されることがあるため適切ではない。従って、フィルムFの位置を正確に検知し、明瞭な画像の読取り、焼付けを行う観点を考慮する画像のあるフィルムFの中央部がフィルム位置を代表するのに最適である。
また、ガイドG1およびG2は、駆動ローラ43、52よりもフィルムFの中央に位置することが好ましい。一般に、フィルムFの側端部は駆動ローラ43、52によって比較的規制された状態を維持できる一方、中央部は画像があることから規制されず、側端部に比べカールや反りの発生が生じやすい。従って、フィルムFのより中央部に近い部位をガイドG1およびG2によって、規制することによって、カールや反りのない状態で位置センサSによるフィルムFの位置を正確に検知することができる。
なお、ガイドG1およびG2を搬送経路に対し等距離に配置する必要はない。フィルムFのカールあるいは反りは、フィルムFの当初の巻き方向、あるいは装置での押し出し、搬送、巻取りの流れから、ほぼ同一方向に形成される。従って、カールあるいは反りによって凸状となる面に対して近接した位置にガイドを設けることが好ましい。
次に、第2の構成例を図7に示す。反射点を中心に複数の円筒状のガイドが設けられ、フィルムFを規制しカールや反りのない状態で位置センサSによるフィルムFの位置を正確に検知できるように構成している。具体的には、図7のように、フィルムFの規制を、Ga、Gb、Gcの3つのガイド(円筒状ローラ)で行っている。こうした多段の規制あるいは複数箇所の同時規制を行うことによって、大きなカールや反りを有する場合やカールや反りを有し強い弾性を有する場合であっても、より効果的な規制を行うことができる。
図8は、本発明の第3構成例を示す。反射点を含む中央部の所定領域にはガイド部がない状態で、ベルト状のガイドGを側端部から中央に寄せて設けている。複数箇所での規制を行うことによって、大きなカールや反りを有する場合やカールや反りを有し強い弾性を有する場合にも、フィルムFに対して効果的な規制を可能にする思想は、第2構成例と同様である。つまり、本構成例では、ベルトGd、ガイドローラGeおよびGfからなるガイドGを搬送経路方向に長く面状に規制することによって、規制の効果を高めようとするものである。
また、このとき、ベルト状ガイドGが、搬送機能を有することが好ましい。ガイド機能は、搬送機能と同じ機能を有するもので構成することが可能であり、図8のように、ベルトGdの一部あるいは全部をフィルムFと接触させ、ガイドローラGeおよびGfを駆動ローラ43と同じ回転数で駆動することによってガイドG自体が搬送ローラの役割を果たすことができる。一部の駆動ローラを省略することで、装置のコンパクト化を図ることができる。
既述のように、位置センサSからの位置情報はデータ処理部10に入力され、画像の読取りや画像データとの相関を管理される。本装置では、さらに、位置センサSの出力微分値の変化から、写真フィルムの位置を検知することが好ましい。つまり、本装置においては、検出系へのフィルムFの挿入によって生じる遮光に伴う速やかな光量の変化が発生することを利用している。従って、こうした急激な変化は位置センサSの出力の変化率をも大きく変化させることから、位置センサSの出力値を微分することで、より顕著にその変化を捉えることができる。従って、位置センサSの出力値における外部からの定常的なバックグランドに影響を受けずに、迅速にフィルムの位置を検知することができる。位置センサSの出力値の微分演算処理は、データ処理部10あるいは外部の出力処理手段によって行われる。
<巻き取りユニットの構成>
次に巻き取りユニット80を説明する。巻き取りユニット80は、図2、図4に示すように、第1搬送経路R1で搬送されてくる240フィルムを一時的に巻き取り収容する第1巻き取り部81と、第2搬送経路R2で搬送されてくる135フィルムを一時的に巻き取り回収する第2巻き取り部82と、これら第1・第2巻き取り部81,82をユニット化してフィルム搬送部24に取り付けるフレーム部83とで構成されている。
次に巻き取りユニット80を説明する。巻き取りユニット80は、図2、図4に示すように、第1搬送経路R1で搬送されてくる240フィルムを一時的に巻き取り収容する第1巻き取り部81と、第2搬送経路R2で搬送されてくる135フィルムを一時的に巻き取り回収する第2巻き取り部82と、これら第1・第2巻き取り部81,82をユニット化してフィルム搬送部24に取り付けるフレーム部83とで構成されている。
<別実施形態>
上記は、フィルムの位置検出によって、画像読取のタイミングあるいはスキャニング位置を制御する機能あるいは駆動ローラの回転量からフィルムの長さを計測する機能について述べたが、本発明に係る検出系は、駆動ローラ間に設けて搬送量を制御することも可能である。つまり、下流側の駆動ローラを経由したフィルムが検出系を通過した時点を始点として、駆動ローラの回転数から搬送量をカウントし、所定の搬送量で駆動ローラを停止することでフィルムの位置を制御することができる。特に短いフィルムにおいては高い精度を要求されることから、本発明は好適である。
上記は、フィルムの位置検出によって、画像読取のタイミングあるいはスキャニング位置を制御する機能あるいは駆動ローラの回転量からフィルムの長さを計測する機能について述べたが、本発明に係る検出系は、駆動ローラ間に設けて搬送量を制御することも可能である。つまり、下流側の駆動ローラを経由したフィルムが検出系を通過した時点を始点として、駆動ローラの回転数から搬送量をカウントし、所定の搬送量で駆動ローラを停止することでフィルムの位置を制御することができる。特に短いフィルムにおいては高い精度を要求されることから、本発明は好適である。
また、検出系を複数設けることも可能である。フィルムの寸法検知において、先端部の検知および後端部の検知を異なる検出系で行うことで、検知に必要な搬送距離を少なくすることができ、また、両検出系を往復させることで、フィルム長の計測精度を上げることも可能となる。
フィルム搬送ユニットは、APSフィルムのみを搬送させるためのユニットでもよい。また、135タイプのフィルムについてもAPSフィルムと同様の巻き取り部の構成にしても良い。
なお、上記の収容空間部の構成は、適用するフィルムの種類は問うものではなく、240フィルムのみならず、110,120,135など各種のフィルムにおいても適用可能である。
フィルム搬送ユニットは、現像済みフィルムに形成されたコマ画像を写真感光材料(ペーパー)に焼付露光するために用いる場合でも本発明は応用できるものである。
以上の画像読取装置は、写真フィルムについて言及したが、上記の収容空間部を含めた各部の構成は、複写用紙あるいは合成繊維フィルムなどにおいても利用することが可能であり、簡素な構成によって汎用性の高い画像読取装置とすることができる。
また、フィルム位置検知系は、写真フィルムだけではなく、布や金属フィルムなど材料に限定なく広くシート状体の搬送系においても適用可能である。
1 画像読取装置
4 フィルムキャリア(フィルム搬送ユニット)
30 駆動部
43、52 駆動ローラ
44、53 第1下スリット開口部
46 第1上スリット開口部
80 巻き取りユニット
F 写真フィルム
G、G1、G2、Ga、Gb、Gc ガイド
Gd ベルト
Ge、Gf ガイドローラ
S 位置センサ
Sa 発光部
Sb 受光部
4 フィルムキャリア(フィルム搬送ユニット)
30 駆動部
43、52 駆動ローラ
44、53 第1下スリット開口部
46 第1上スリット開口部
80 巻き取りユニット
F 写真フィルム
G、G1、G2、Ga、Gb、Gc ガイド
Gd ベルト
Ge、Gf ガイドローラ
S 位置センサ
Sa 発光部
Sb 受光部
Claims (6)
- 写真フィルムを搬送経路に沿って搬送する搬送機構と、
搬送経路の途上に設けられ、写真フィルムに対する処理を行うための処理機構と、
搬送経路に沿って搬送される写真フィルムを巻き取り収容する収容空間部と、
写真フィルムに形成された画像の読取り、焼付けを行う画像読取機構と、
を備えた画像読取装置であって、
前記搬送経路中に、写真フィルムを規制するガイド、
および発光部および受光部を有し、規制された写真フィルム表面近傍を反射点とする反射式光センサを設けたことを特徴とする画像読取装置。 - 前記ガイドが駆動ローラよりも搬送経路の中央に位置するとともに、反射式光センサと反射ミラーが、前記搬送経路を中央に相対する位置であって、写真フィルムの中央部かつその垂線方向に配することを特徴とする請求項1に記載の画像読取装置。
- 前記ガイドが、前記反射点を含む所定領域にガイド部がない円筒状ローラであって、駆動ローラよりも大きな径を有することを特徴とする請求項1または2に記載の画像読取装置。
- 前記ガイドが、複数円筒状ローラによって構成されることを特徴とする請求項1または2に記載の画像読取装置。
- 前記ガイドが、前記反射点を含む所定領域にガイド部がないベルト状であり、搬送機能を有することを特徴とする請求項1〜4のいずれかに記載の画像読取装置。
- 前記反射式光センサの出力微分値の変化から、写真フィルムの位置を検知することを特徴とする請求項1〜5のいずれかに記載の画像読取装置。
Priority Applications (1)
| Application Number | Priority Date | Filing Date | Title |
|---|---|---|---|
| JP2004105088A JP2005295059A (ja) | 2004-03-31 | 2004-03-31 | 画像読取装置 |
Applications Claiming Priority (1)
| Application Number | Priority Date | Filing Date | Title |
|---|---|---|---|
| JP2004105088A JP2005295059A (ja) | 2004-03-31 | 2004-03-31 | 画像読取装置 |
Publications (1)
| Publication Number | Publication Date |
|---|---|
| JP2005295059A true JP2005295059A (ja) | 2005-10-20 |
Family
ID=35327534
Family Applications (1)
| Application Number | Title | Priority Date | Filing Date |
|---|---|---|---|
| JP2004105088A Withdrawn JP2005295059A (ja) | 2004-03-31 | 2004-03-31 | 画像読取装置 |
Country Status (1)
| Country | Link |
|---|---|
| JP (1) | JP2005295059A (ja) |
-
2004
- 2004-03-31 JP JP2004105088A patent/JP2005295059A/ja not_active Withdrawn
Similar Documents
| Publication | Publication Date | Title |
|---|---|---|
| US5745217A (en) | System for detecting, coding, avoiding, and removing defects on a photosensitive web | |
| US4724463A (en) | Self-aligning photographic printing apparatus | |
| JPH09151003A (ja) | 光ビーム走査露光装置 | |
| JP2005295059A (ja) | 画像読取装置 | |
| JP2005294989A (ja) | 画像読取装置 | |
| JP2005294958A (ja) | 画像読取装置 | |
| JP4139465B2 (ja) | 記録材料マガジン | |
| JP3769061B2 (ja) | 副走査搬送装置 | |
| JP3653648B2 (ja) | 画像記録装置 | |
| JPH11202419A (ja) | 画像記録装置 | |
| JP3753519B2 (ja) | 画像記録装置 | |
| JP3634910B2 (ja) | 画像記録装置 | |
| JP3529211B2 (ja) | 画像位置情報の形成方法 | |
| JP3714781B2 (ja) | フィルムキャリア | |
| JP3628456B2 (ja) | 画像記録装置 | |
| US6935794B2 (en) | Image recording apparatus | |
| JPH09120104A (ja) | スライドキャリア | |
| US6804032B2 (en) | Image recording device | |
| JPH09304838A (ja) | 画像記録装置 | |
| JPH10186529A (ja) | 焼付現像機 | |
| JP2002290673A (ja) | フィルムキャリア及びスキャナ装置 | |
| JPH11149127A (ja) | 記録材料マガジン | |
| JPH11174589A (ja) | 記録材料マガジン | |
| JP3590214B2 (ja) | 感光材料搬送装置 | |
| JPH09114016A (ja) | スライドキャリア |
Legal Events
| Date | Code | Title | Description |
|---|---|---|---|
| A300 | Withdrawal of application because of no request for examination |
Free format text: JAPANESE INTERMEDIATE CODE: A300 Effective date: 20070605 |