JP2005294530A - 有機半導体構造物、その製造方法及び有機半導体装置 - Google Patents
有機半導体構造物、その製造方法及び有機半導体装置 Download PDFInfo
- Publication number
- JP2005294530A JP2005294530A JP2004107515A JP2004107515A JP2005294530A JP 2005294530 A JP2005294530 A JP 2005294530A JP 2004107515 A JP2004107515 A JP 2004107515A JP 2004107515 A JP2004107515 A JP 2004107515A JP 2005294530 A JP2005294530 A JP 2005294530A
- Authority
- JP
- Japan
- Prior art keywords
- organic semiconductor
- semiconductor layer
- region
- ring
- substrate
- Prior art date
- Legal status (The legal status is an assumption and is not a legal conclusion. Google has not performed a legal analysis and makes no representation as to the accuracy of the status listed.)
- Granted
Links
Images
Classifications
-
- H—ELECTRICITY
- H10—SEMICONDUCTOR DEVICES; ELECTRIC SOLID-STATE DEVICES NOT OTHERWISE PROVIDED FOR
- H10K—ORGANIC ELECTRIC SOLID-STATE DEVICES
- H10K85/00—Organic materials used in the body or electrodes of devices covered by this subclass
- H10K85/731—Liquid crystalline materials
-
- H—ELECTRICITY
- H10—SEMICONDUCTOR DEVICES; ELECTRIC SOLID-STATE DEVICES NOT OTHERWISE PROVIDED FOR
- H10K—ORGANIC ELECTRIC SOLID-STATE DEVICES
- H10K71/00—Manufacture or treatment specially adapted for the organic devices covered by this subclass
- H10K71/10—Deposition of organic active material
- H10K71/12—Deposition of organic active material using liquid deposition, e.g. spin coating
- H10K71/13—Deposition of organic active material using liquid deposition, e.g. spin coating using printing techniques, e.g. ink-jet printing or screen printing
-
- H—ELECTRICITY
- H10—SEMICONDUCTOR DEVICES; ELECTRIC SOLID-STATE DEVICES NOT OTHERWISE PROVIDED FOR
- H10K—ORGANIC ELECTRIC SOLID-STATE DEVICES
- H10K10/00—Organic devices specially adapted for rectifying, amplifying, oscillating or switching; Organic capacitors or resistors having potential barriers
- H10K10/40—Organic transistors
- H10K10/46—Field-effect transistors, e.g. organic thin-film transistors [OTFT]
- H10K10/462—Insulated gate field-effect transistors [IGFETs]
- H10K10/466—Lateral bottom-gate IGFETs comprising only a single gate
Landscapes
- Chemical & Material Sciences (AREA)
- Engineering & Computer Science (AREA)
- Crystallography & Structural Chemistry (AREA)
- Materials Engineering (AREA)
- Manufacturing & Machinery (AREA)
- Thin Film Transistor (AREA)
- Liquid Deposition Of Substances Of Which Semiconductor Devices Are Composed (AREA)
- Electroluminescent Light Sources (AREA)
Abstract
【解決手段】 基材上に液晶性有機半導体材料からなる有機半導体層を有する有機半導体構造物の製造方法であって、基材に撥油性領域及び当該撥油性領域で囲まれた親油性領域を形成する工程と、液晶性有機半導体材料及び溶媒を含む有機半導体層形成溶液をその親油性領域に塗布する工程と、親油性領域に塗布された有機半導体層形成溶液中の溶媒を蒸発させて液晶性有機半導体材料を結晶化させる工程とにより有機半導体層を形成して、上記課題を解決した。
【選択図】 図3
Description
Y.-Y.Lin, D.J.Gundlach, S.Nelson, andT.N.Jackson,"Stacked Pentacene Layer Organic Thin-Film Transistors with Improved Characteristics" ,IEEE Electron Device Lett, 18, 606 (1997). D.Adam, F.Closss, T.Frey, D. Funhoff, D.Haarer, H.Ringsdorf, P.Schunaher, and K. Siemensmyer, Phys. Rev. Lett., 70, 457 (1993) M.Funahashi and J.Hanna, Jpn. J. Appl. Phys., 35, L703-L705(1996)
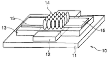
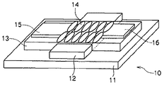
本発明の有機半導体装置10は、図1及び図2に示すように、少なくとも基板11、ゲート電極12、ゲート絶縁層13、液晶性有機半導体材料(以下、有機半導体材料という場合もある。)からなる結晶相の有機半導体層14、ドレイン電極15及びソース電極16で構成される。
基板11は、絶縁性の材料であれば広い範囲の材料から選択することができる。例えば、ガラス、アルミナ焼結体等の無機材料、ポリイミド膜、ポリエステル膜、ポリエチレン膜、ポリフェニレンスルフィド膜、ポリパラキシレン膜等の各種の絶縁性材料を挙げることができる。特に、高分子化合物からなる膜を用いると、軽量でフレシキブルな有機半導体装置を作製することができるので、極めて有用である。なお、本発明で適用される基板11の厚さは、25μm〜1.5mm程度である。
ゲート電極12は、ポリアニリン、ポリチオフェン等の有機材料からなる電極又は導電性インキを塗布して形成した電極であることが好ましい。これらの電極は、有機材料や導電性インキを塗布して形成できるので、電極形成プロセスが極めて簡便となるという利点がある。塗布法の具体的な手法としては、スピンコート法、キャスト法、引き上げ法等が挙げられる。
ゲート絶縁層13は、上記のゲート電極12と同じように、有機材料を塗布して形成したものであることが好ましく、使用される有機材料としては、ポリクロロピレン、ポリエチレンテレフタレート、ポリオキシメチレン、ポリビニルクロライド、ポリフッ化ビニリデン、シアノエチルプルラン、ポリメチルメタクリレート、ポリサルフォン、ポリカーボネート、ポリイミド、ポリビニルアルコール等を挙げることができる。塗布法の具体的な手法としては、スピンコート法、キャスト法、引き上げ法等が挙げられる。
ドレイン電極15及びソース電極16は、仕事関数の大きい金属で形成されることが好ましい。その理由としては、液晶性有機半導体材料は、電荷を輸送するキャリアがホールであることから、有機半導体層14とオーミック接触をとることが必要となるからである。ここでいう仕事関数とは、固体中の電子を外部に取り出すのに必要な電位差であり、真空準位とフェルミ準位のエネルギー差を電荷量で割った値として定義される。好ましい仕事関数としては、4.6〜5.2eV程度であり、具体的には、金、白金、透明導電膜(インジウム・スズ酸化物、インジウム・亜鉛酸化物等)等が挙げられる。透明導電膜は、スパッタリング法、電子ビーム(EB)蒸着法で形成することができる。なお、本発明で適用されるドレイン電極15及びソース電極16の厚さは、50〜100nm程度である。
有機半導体層14は、液晶性有機半導体材料により形成された結晶相からなる層である。
有機半導体装置10には、層間絶縁層を設けることが望ましい。層間絶縁層は、ゲート絶縁層13上にドレイン電極15及びソース電極16を形成する際に、ゲート電極12の表面の汚染を防ぐことを目的として形成される。したがって、層間絶縁層は、ドレイン電極15及びソース電極16を形成する前にゲート絶縁層13の上に形成される。そして、ソース電極15及びドレイン電極16が形成された後においては、チャネル領域上方に位置する部分を完全に除去又は一部を除去するように加工される。除去される層間絶縁層領域は、ゲート電極12のサイズと同等であることが望ましい。
本発明の有機半導体装置においては、構成1:基板/ゲート電極/ゲート絶縁層(液晶配向層を兼ねる。)/ソース・ドレイン電極/液晶性有機半導体層(/保護層)、構成2:基板/ゲート電極/ゲート絶縁層/ソース・ドレイン電極/液晶配向層/液晶性有機半導体層(/保護層)、構成3:基板/ゲート電極/ゲート絶縁層(液晶配向層を兼ねる。)/液晶性有機半導体層/ソース・ドレイン電極(パタニング)/保護層、構成4:基板/ソース・ドレイン電極/液晶性有機半導体層/ゲート絶縁層/ゲート電極/保護層兼基板、とすることもできる。
有機半導体材料として、上記化学式39の化合物であるフェニルナフタレン誘導体(2−(4’−Pentylphenyl)−6−metyloxynaphthalene。以下、5−PNP−O1と略することがある。)を用いて、有機半導体装置を作製した。また、有機半導体材料としてこの材料を用いて、有機半導体層を作製し、各特性評価を行った。
有機半導体材料として、上記の5−PNP−O1を用い、基板/ゲート電極/親油性領域パターン及び撥油性領域パターンが形成されたゲート絶縁層(液晶配向層を兼ねる。)/ソース・ドレイン電極/有機半導体層(/保護層)からなる実施例1の有機半導体装置を作製した。
(1)配向処理:
まず、ゲート絶縁層を形成し、これに配向処理を行った。
次に、配向処理したゲート絶縁層に、以下に示す親油性領域パターン及び撥油性領域パターンの形成処理をした。
ソース・ドレイン電極パッド(チャネル長50μm、チャネル幅4mm)として、Ptを抵抗加熱蒸着にてメタルマスクを用いて形成した(電極厚さ20nm)。なお、ソース・ドレイン電極パッドからの引き出し電極線として、Alを用いた。
液晶性有機半導体材料として、5−PNP−O1を使用し、溶媒をp−キシレンとして1wt%の有機半導体層形成溶液を調製した。この有機半導体層形成溶液を、大気圧下雰囲気温度15℃にて、ゲート絶縁層上の親油性領域に滴下し、溶媒を約5時間かけて蒸発させることにより結晶を形成させて、厚さ400nmの有機半導体層を得た。
有機半導体層の電荷輸送特性を評価するために、実施例1の有機半導体装置の電界効果移動度(層面に平行方向)の測定を行った。
有機半導体層の結晶状態を評価するために、実施例1の有機半導体層について、偏光顕微鏡写真を観察した。
有機半導体層の構造欠陥密度を評価するために、実施例1の有機半導体層について、定常光電流の測定結果を考察した。
結晶状態の評価の際に用いた実施例1の有機半導体層について、X線回折装置(RIGAKU社製、型番;RAD−B)によって結晶構造の解析を行った。図9は、実施例1の有機半導体層のX線回折結果である。この結果より、実施例1の有機半導体層を形成する液晶性分子は、基材に対して垂直に立っていることが示唆された。実施例1の有機半導体層を形成する液晶がこのような結晶となる理由は、塗布された溶液中の液晶性有機半導体材料の液晶性分子が、基材上に垂直に形成された疎水基に沿って配向するためだと思われる。したがって、実施例1の有機半導体装置においては、配向処理を施さなくても、液晶性分子がドレイン電極とソース電極の膜厚方向に並行に配向して結晶化されているものと考えられる。
有機半導体材料として上記化学式40の化合物であるフェニルナフタレン誘導体(2−(4’−Octylphenyl)−6−dodecyloxynaphthalene。以下、8−PNP−O12と略することがある。)を用いた実施例2の有機半導体層について、実施例1と同様の各特性評価を行った。
2 有機半導体層形成溶液
10 有機半導体装置
11 基板
12 ゲート電極
13 ゲート絶縁層
14 有機半導体層
15 ドレイン電極
16 ソース電極
Claims (7)
- 基材上に液晶性有機半導体材料からなる有機半導体層を有する有機半導体構造物の製造方法であって、
前記基材に撥油性領域及び当該撥油性領域で囲まれた親油性領域を形成する工程と、前記液晶性有機半導体材料及び溶媒を含む有機半導体層形成溶液を前記親油性領域に塗布する工程と、前記親油性領域に塗布された前記有機半導体層形成溶液中の前記溶媒を蒸発させて前記液晶性有機半導体材料を結晶化させる工程と、を有することを特徴とする有機半導体構造物の製造方法。 - 基材上に、液晶性有機半導体材料からなる結晶相の有機半導体層が形成された有機半導体構造物であって、
前記基材が撥油性領域と当該撥油性領域で囲まれた親油性領域とを有し、前記有機半導体層が前記親油性領域に形成されていることを特徴とする有機半導体構造物。 - 前記基材の前記有機半導体層が形成された面が配向処理されていることを特徴とする請求項2に記載の有機半導体構造物。
- 少なくとも基板、ゲート電極、ゲート絶縁層、前記基板上に形成される液晶性有機半導体材料からなる結晶相の有機半導体層、ドレイン電極及びソース電極で構成される有機半導体装置であって、
前記基板が撥油性領域及び当該撥油性領域で囲まれた親油性領域を有し、前記有機半導体層が前記親油性領域に形成されていることを特徴とする有機半導体装置。 - 少なくとも基板、ゲート電極、ゲート絶縁層、前記ゲート絶縁層に形成される液晶性有機半導体材料からなる結晶相の有機半導体層、ドレイン電極及びソース電極で構成される有機半導体装置であって、
前記ゲート絶縁層が撥油性領域及び当該撥油性領域で囲まれた親油性領域とを有し、前記有機半導体層が前記親油性領域に形成されていることを特徴とする有機半導体装置。 - 前記液晶性有機半導体材料中の液晶性分子が、前記ゲート絶縁層上に形成された前記ドレイン電極と前記ソース電極との膜厚方向に並行に配向していることを特徴とする請求項4又は5に記載の有機半導体装置。
- 前記液晶性有機半導体材料中の液晶性分子が、前記ゲート絶縁層上に形成された前記ドレイン電極と前記ソース電極との膜厚方向に直交し、かつ、当該ドレイン電極と当該ソース電極との間に横列するように配向していることを特徴とする請求項4又は5に記載の有機半導体装置。
Priority Applications (2)
| Application Number | Priority Date | Filing Date | Title |
|---|---|---|---|
| JP2004107515A JP4736340B2 (ja) | 2004-03-31 | 2004-03-31 | 有機半導体構造物、その製造方法及び有機半導体装置 |
| US11/092,185 US7135702B2 (en) | 2004-03-31 | 2005-03-29 | Organic semiconductor structure, manufacturing method of the same, and organic semiconductor device |
Applications Claiming Priority (1)
| Application Number | Priority Date | Filing Date | Title |
|---|---|---|---|
| JP2004107515A JP4736340B2 (ja) | 2004-03-31 | 2004-03-31 | 有機半導体構造物、その製造方法及び有機半導体装置 |
Publications (2)
| Publication Number | Publication Date |
|---|---|
| JP2005294530A true JP2005294530A (ja) | 2005-10-20 |
| JP4736340B2 JP4736340B2 (ja) | 2011-07-27 |
Family
ID=35327123
Family Applications (1)
| Application Number | Title | Priority Date | Filing Date |
|---|---|---|---|
| JP2004107515A Expired - Fee Related JP4736340B2 (ja) | 2004-03-31 | 2004-03-31 | 有機半導体構造物、その製造方法及び有機半導体装置 |
Country Status (2)
| Country | Link |
|---|---|
| US (1) | US7135702B2 (ja) |
| JP (1) | JP4736340B2 (ja) |
Cited By (11)
| Publication number | Priority date | Publication date | Assignee | Title |
|---|---|---|---|---|
| JP2006332645A (ja) * | 2005-05-24 | 2006-12-07 | Samsung Sdi Co Ltd | 有機薄膜トランジスタ及びその製造方法、有機薄膜トランジスタを備えた平板表示装置 |
| JP2008091565A (ja) * | 2006-09-29 | 2008-04-17 | Dainippon Printing Co Ltd | 有機半導体素子およびその製造方法 |
| JP2008116937A (ja) * | 2006-10-31 | 2008-05-22 | Korea Advanced Inst Of Sci Technol | 単一方向に配向された液晶分子の薄膜製造方法ならびに液晶素子及び電子素子 |
| JP2009057360A (ja) * | 2007-09-02 | 2009-03-19 | Junichi Hanna | ネマティック液晶性有機半導体材料 |
| JP2011181698A (ja) * | 2010-03-01 | 2011-09-15 | Iwate Univ | 磁場中有機単結晶薄膜作成法及び作成装置 |
| JP2012509573A (ja) * | 2008-08-08 | 2012-04-19 | ケンブリッジ ディスプレイ テクノロジー リミテッド | トップゲート有機薄膜トランジスタのための表面処理基板 |
| JP5398910B2 (ja) * | 2010-05-12 | 2014-01-29 | 帝人株式会社 | 有機半導体膜及びその製造方法、並びにコンタクトプリント用スタンプ |
| JP2014518013A (ja) * | 2011-05-04 | 2014-07-24 | コミッサリア ア レネルジー アトミーク エ オ ゼネルジ ザルタナテイヴ | 種々の材料の配向結晶化方法 |
| US9018622B2 (en) | 2011-04-11 | 2015-04-28 | Dai Nippon Printing Co., Ltd. | Method for manufacturing organic semiconductor element |
| JP2015115428A (ja) * | 2013-12-11 | 2015-06-22 | 凸版印刷株式会社 | 静電気保護素子及びそれを用いた静電気保護回路 |
| JP2016192524A (ja) * | 2015-03-31 | 2016-11-10 | 富士フイルム株式会社 | 有機半導体素子の製造方法 |
Families Citing this family (7)
| Publication number | Priority date | Publication date | Assignee | Title |
|---|---|---|---|---|
| KR20060116534A (ko) * | 2005-05-10 | 2006-11-15 | 삼성에스디아이 주식회사 | 박막 트랜지스터, 그 제조 방법 및 이를 구비한 평판 표시장치 |
| JP4934995B2 (ja) * | 2005-06-03 | 2012-05-23 | 大日本印刷株式会社 | 有機半導体材料、有機半導体構造物及び有機半導体装置 |
| WO2007119703A1 (ja) * | 2006-04-14 | 2007-10-25 | Konica Minolta Holdings, Inc. | 結晶性有機半導体薄膜の製造方法、有機半導体薄膜、電子デバイスおよび薄膜トランジスタ |
| GB2450381B (en) * | 2007-06-22 | 2009-11-11 | Cambridge Display Tech Ltd | Organic thin film transistors |
| WO2013017915A1 (en) * | 2011-08-02 | 2013-02-07 | Alma Mater Studiorum Universita Di Bologna | Direct detectors for ionizing radiations, and methods for producing such detectors |
| US20160359116A1 (en) * | 2012-11-29 | 2016-12-08 | Smartkem Limited | Organic Semiconductor Formulations |
| US9863057B2 (en) * | 2013-04-26 | 2018-01-09 | The Board Of Trustees Of The Leland Stanford Junior University | Coated substrate apparatus and method |
Citations (6)
| Publication number | Priority date | Publication date | Assignee | Title |
|---|---|---|---|---|
| JPH0983040A (ja) * | 1995-09-12 | 1997-03-28 | Sharp Corp | 薄膜トランジスタ及びその製造方法 |
| WO2003067667A1 (en) * | 2002-02-08 | 2003-08-14 | Dai Nippon Printing Co., Ltd. | Organic semiconductor structure, process for producing the same, and organic semiconductor device |
| JP2003234522A (ja) * | 2001-10-10 | 2003-08-22 | Seiko Epson Corp | 薄膜形成方法、電子デバイスの形成方法 |
| JP2004031801A (ja) * | 2002-06-27 | 2004-01-29 | Nippon Hoso Kyokai <Nhk> | 有機トランジスタ並びに有機電子デバイス及びその製造方法 |
| JP2004055177A (ja) * | 2002-07-16 | 2004-02-19 | Dainippon Printing Co Ltd | エレクトロルミネッセンス表示装置および製造方法 |
| JP2004095896A (ja) * | 2002-08-30 | 2004-03-25 | Sharp Corp | パターン形成基材およびパターン形成方法 |
Family Cites Families (2)
| Publication number | Priority date | Publication date | Assignee | Title |
|---|---|---|---|---|
| US4939556A (en) * | 1986-07-10 | 1990-07-03 | Canon Kabushiki Kaisha | Conductor device |
| JP3646510B2 (ja) * | 1998-03-18 | 2005-05-11 | セイコーエプソン株式会社 | 薄膜形成方法、表示装置およびカラーフィルタ |
-
2004
- 2004-03-31 JP JP2004107515A patent/JP4736340B2/ja not_active Expired - Fee Related
-
2005
- 2005-03-29 US US11/092,185 patent/US7135702B2/en not_active Expired - Fee Related
Patent Citations (6)
| Publication number | Priority date | Publication date | Assignee | Title |
|---|---|---|---|---|
| JPH0983040A (ja) * | 1995-09-12 | 1997-03-28 | Sharp Corp | 薄膜トランジスタ及びその製造方法 |
| JP2003234522A (ja) * | 2001-10-10 | 2003-08-22 | Seiko Epson Corp | 薄膜形成方法、電子デバイスの形成方法 |
| WO2003067667A1 (en) * | 2002-02-08 | 2003-08-14 | Dai Nippon Printing Co., Ltd. | Organic semiconductor structure, process for producing the same, and organic semiconductor device |
| JP2004031801A (ja) * | 2002-06-27 | 2004-01-29 | Nippon Hoso Kyokai <Nhk> | 有機トランジスタ並びに有機電子デバイス及びその製造方法 |
| JP2004055177A (ja) * | 2002-07-16 | 2004-02-19 | Dainippon Printing Co Ltd | エレクトロルミネッセンス表示装置および製造方法 |
| JP2004095896A (ja) * | 2002-08-30 | 2004-03-25 | Sharp Corp | パターン形成基材およびパターン形成方法 |
Cited By (11)
| Publication number | Priority date | Publication date | Assignee | Title |
|---|---|---|---|---|
| JP2006332645A (ja) * | 2005-05-24 | 2006-12-07 | Samsung Sdi Co Ltd | 有機薄膜トランジスタ及びその製造方法、有機薄膜トランジスタを備えた平板表示装置 |
| JP2008091565A (ja) * | 2006-09-29 | 2008-04-17 | Dainippon Printing Co Ltd | 有機半導体素子およびその製造方法 |
| JP2008116937A (ja) * | 2006-10-31 | 2008-05-22 | Korea Advanced Inst Of Sci Technol | 単一方向に配向された液晶分子の薄膜製造方法ならびに液晶素子及び電子素子 |
| JP2009057360A (ja) * | 2007-09-02 | 2009-03-19 | Junichi Hanna | ネマティック液晶性有機半導体材料 |
| JP2012509573A (ja) * | 2008-08-08 | 2012-04-19 | ケンブリッジ ディスプレイ テクノロジー リミテッド | トップゲート有機薄膜トランジスタのための表面処理基板 |
| JP2011181698A (ja) * | 2010-03-01 | 2011-09-15 | Iwate Univ | 磁場中有機単結晶薄膜作成法及び作成装置 |
| JP5398910B2 (ja) * | 2010-05-12 | 2014-01-29 | 帝人株式会社 | 有機半導体膜及びその製造方法、並びにコンタクトプリント用スタンプ |
| US9018622B2 (en) | 2011-04-11 | 2015-04-28 | Dai Nippon Printing Co., Ltd. | Method for manufacturing organic semiconductor element |
| JP2014518013A (ja) * | 2011-05-04 | 2014-07-24 | コミッサリア ア レネルジー アトミーク エ オ ゼネルジ ザルタナテイヴ | 種々の材料の配向結晶化方法 |
| JP2015115428A (ja) * | 2013-12-11 | 2015-06-22 | 凸版印刷株式会社 | 静電気保護素子及びそれを用いた静電気保護回路 |
| JP2016192524A (ja) * | 2015-03-31 | 2016-11-10 | 富士フイルム株式会社 | 有機半導体素子の製造方法 |
Also Published As
| Publication number | Publication date |
|---|---|
| JP4736340B2 (ja) | 2011-07-27 |
| US7135702B2 (en) | 2006-11-14 |
| US20060060840A1 (en) | 2006-03-23 |
Similar Documents
| Publication | Publication Date | Title |
|---|---|---|
| JP4736340B2 (ja) | 有機半導体構造物、その製造方法及び有機半導体装置 | |
| JP4857519B2 (ja) | 有機半導体構造物、その製造方法、および有機半導体装置 | |
| Cao et al. | Enhanced photoelectrical response of thermodynamically epitaxial organic crystals at the two-dimensional limit | |
| US20110042649A1 (en) | Thin-Film Transistor, Carbon-Based Layer and Method of Producing Thereof | |
| Miskiewicz et al. | Efficient high area OFETs by solution based processing of a π-electron rich donor | |
| Nam et al. | High-performance triethylsilylethynyl anthradithiophene transistors prepared without solvent vapor annealing: The effects of self-assembly during dip-coating | |
| JPWO2003080732A1 (ja) | 有機半導体材料、有機半導体構造物、および、有機半導体装置 | |
| WO2007125950A1 (ja) | 有機半導体薄膜および有機半導体デバイス | |
| CN103069554A (zh) | 有机薄膜的形成方法、有机薄膜的形成装置以及有机器件的制造方法 | |
| Zhao et al. | Volatilize-controlled oriented growth of the single-crystal layer for organic field-effect transistors | |
| JP2006339474A (ja) | 有機半導体材料、有機半導体構造物及び有機半導体装置 | |
| JP4867135B2 (ja) | 有機半導体構造物の製造方法 | |
| CN103890988A (zh) | 有机单晶膜、有机单晶膜阵列、以及包括有机单晶膜的半导体装置 | |
| Wang et al. | Microribbon field-effect transistors based on dithieno [2, 3-d; 2, 3′-d′] benzo [1, 2-b; 4, 5-b′] dithiophene processed by solvent vapor diffusion | |
| KR102820132B1 (ko) | 유기 반도체 디바이스의 소스/드레인용 전극, 그것을 사용한 유기 반도체 디바이스, 및 그것들의 제조 방법 | |
| CN112837996B (zh) | 一种薄层二维材料的制备方法 | |
| CN113454800B (zh) | 有机半导体器件、有机半导体单晶膜的制造方法、以及有机半导体器件的制造方法 | |
| JP4934995B2 (ja) | 有機半導体材料、有機半導体構造物及び有機半導体装置 | |
| JP5429784B2 (ja) | 有機薄膜トランジスタ及びその製造方法 | |
| TW202234659A (zh) | 無機/有機混合互補型半導體裝置及其製造方法 | |
| Karthaus et al. | Control of crystal morphology of aromatic electron donors and acceptors for organic electronics | |
| JP4736346B2 (ja) | 複合体薄膜を半導体層として有する電界効果型トランジスタ | |
| Briseno | Flexible Organic Single-Crystal Field-Effect Transistors | |
| Kubo et al. | Preparation of Pentacene Organic Field Effect Transistors by a Wet Process and their Carrier Mobilities |
Legal Events
| Date | Code | Title | Description |
|---|---|---|---|
| A621 | Written request for application examination |
Free format text: JAPANESE INTERMEDIATE CODE: A621 Effective date: 20070123 |
|
| A977 | Report on retrieval |
Free format text: JAPANESE INTERMEDIATE CODE: A971007 Effective date: 20100514 |
|
| A131 | Notification of reasons for refusal |
Free format text: JAPANESE INTERMEDIATE CODE: A131 Effective date: 20100713 |
|
| A521 | Request for written amendment filed |
Free format text: JAPANESE INTERMEDIATE CODE: A523 Effective date: 20100913 |
|
| A01 | Written decision to grant a patent or to grant a registration (utility model) |
Free format text: JAPANESE INTERMEDIATE CODE: A01 Effective date: 20110405 |
|
| A61 | First payment of annual fees (during grant procedure) |
Free format text: JAPANESE INTERMEDIATE CODE: A61 Effective date: 20110418 |
|
| R150 | Certificate of patent or registration of utility model |
Free format text: JAPANESE INTERMEDIATE CODE: R150 |
|
| FPAY | Renewal fee payment (event date is renewal date of database) |
Free format text: PAYMENT UNTIL: 20140513 Year of fee payment: 3 |
|
| LAPS | Cancellation because of no payment of annual fees |
