JP2005294472A - 半導体装置、半導体ウェーハ、およびこれらの製造方法 - Google Patents

半導体装置、半導体ウェーハ、およびこれらの製造方法 Download PDF

Info

Publication number
JP2005294472A
JP2005294472A JP2004106331A JP2004106331A JP2005294472A JP 2005294472 A JP2005294472 A JP 2005294472A JP 2004106331 A JP2004106331 A JP 2004106331A JP 2004106331 A JP2004106331 A JP 2004106331A JP 2005294472 A JP2005294472 A JP 2005294472A
Authority
JP
Japan
Prior art keywords
dicing
semiconductor
wiring
region
substrate
Prior art date
Legal status (The legal status is an assumption and is not a legal conclusion. Google has not performed a legal analysis and makes no representation as to the accuracy of the status listed.)
Granted
Application number
JP2004106331A
Other languages
English (en)
Other versions
JP4703127B2 (ja
Inventor
Koji Soejima
康志 副島
Current Assignee (The listed assignees may be inaccurate. Google has not performed a legal analysis and makes no representation or warranty as to the accuracy of the list.)
NEC Electronics Corp
Original Assignee
NEC Electronics Corp
Priority date (The priority date is an assumption and is not a legal conclusion. Google has not performed a legal analysis and makes no representation as to the accuracy of the date listed.)
Filing date
Publication date
Application filed by NEC Electronics Corp filed Critical NEC Electronics Corp
Priority to JP2004106331A priority Critical patent/JP4703127B2/ja
Priority to US11/079,383 priority patent/US7202108B2/en
Publication of JP2005294472A publication Critical patent/JP2005294472A/ja
Application granted granted Critical
Publication of JP4703127B2 publication Critical patent/JP4703127B2/ja
Anticipated expiration legal-status Critical
Expired - Fee Related legal-status Critical Current

Links

Images

Classifications

    • HELECTRICITY
    • H01ELECTRIC ELEMENTS
    • H01LSEMICONDUCTOR DEVICES NOT COVERED BY CLASS H10
    • H01L23/00Details of semiconductor or other solid state devices
    • H01L23/58Structural electrical arrangements for semiconductor devices not otherwise provided for, e.g. in combination with batteries
    • H01L23/585Structural electrical arrangements for semiconductor devices not otherwise provided for, e.g. in combination with batteries comprising conductive layers or plates or strips or rods or rings
    • H10W42/00
    • HELECTRICITY
    • H01ELECTRIC ELEMENTS
    • H01LSEMICONDUCTOR DEVICES NOT COVERED BY CLASS H10
    • H01L21/00Processes or apparatus adapted for the manufacture or treatment of semiconductor or solid state devices or of parts thereof
    • H01L21/67Apparatus specially adapted for handling semiconductor or electric solid state devices during manufacture or treatment thereof; Apparatus specially adapted for handling wafers during manufacture or treatment of semiconductor or electric solid state devices or components ; Apparatus not specifically provided for elsewhere
    • H01L21/683Apparatus specially adapted for handling semiconductor or electric solid state devices during manufacture or treatment thereof; Apparatus specially adapted for handling wafers during manufacture or treatment of semiconductor or electric solid state devices or components ; Apparatus not specifically provided for elsewhere for supporting or gripping
    • H01L21/6835Apparatus specially adapted for handling semiconductor or electric solid state devices during manufacture or treatment thereof; Apparatus specially adapted for handling wafers during manufacture or treatment of semiconductor or electric solid state devices or components ; Apparatus not specifically provided for elsewhere for supporting or gripping using temporarily an auxiliary support
    • HELECTRICITY
    • H01ELECTRIC ELEMENTS
    • H01LSEMICONDUCTOR DEVICES NOT COVERED BY CLASS H10
    • H01L21/00Processes or apparatus adapted for the manufacture or treatment of semiconductor or solid state devices or of parts thereof
    • H01L21/67Apparatus specially adapted for handling semiconductor or electric solid state devices during manufacture or treatment thereof; Apparatus specially adapted for handling wafers during manufacture or treatment of semiconductor or electric solid state devices or components ; Apparatus not specifically provided for elsewhere
    • H01L21/683Apparatus specially adapted for handling semiconductor or electric solid state devices during manufacture or treatment thereof; Apparatus specially adapted for handling wafers during manufacture or treatment of semiconductor or electric solid state devices or components ; Apparatus not specifically provided for elsewhere for supporting or gripping
    • H01L21/6835Apparatus specially adapted for handling semiconductor or electric solid state devices during manufacture or treatment thereof; Apparatus specially adapted for handling wafers during manufacture or treatment of semiconductor or electric solid state devices or components ; Apparatus not specifically provided for elsewhere for supporting or gripping using temporarily an auxiliary support
    • H01L21/6836Wafer tapes, e.g. grinding or dicing support tapes
    • HELECTRICITY
    • H01ELECTRIC ELEMENTS
    • H01LSEMICONDUCTOR DEVICES NOT COVERED BY CLASS H10
    • H01L21/00Processes or apparatus adapted for the manufacture or treatment of semiconductor or solid state devices or of parts thereof
    • H01L21/70Manufacture or treatment of devices consisting of a plurality of solid state components formed in or on a common substrate or of parts thereof; Manufacture of integrated circuit devices or of parts thereof
    • H01L21/77Manufacture or treatment of devices consisting of a plurality of solid state components or integrated circuits formed in, or on, a common substrate
    • H01L21/78Manufacture or treatment of devices consisting of a plurality of solid state components or integrated circuits formed in, or on, a common substrate with subsequent division of the substrate into plural individual devices
    • H10P54/00
    • H10P72/74
    • H10P72/7402
    • HELECTRICITY
    • H01ELECTRIC ELEMENTS
    • H01LSEMICONDUCTOR DEVICES NOT COVERED BY CLASS H10
    • H01L2221/00Processes or apparatus adapted for the manufacture or treatment of semiconductor or solid state devices or of parts thereof covered by H01L21/00
    • H01L2221/67Apparatus for handling semiconductor or electric solid state devices during manufacture or treatment thereof; Apparatus for handling wafers during manufacture or treatment of semiconductor or electric solid state devices or components; Apparatus not specifically provided for elsewhere
    • H01L2221/683Apparatus for handling semiconductor or electric solid state devices during manufacture or treatment thereof; Apparatus for handling wafers during manufacture or treatment of semiconductor or electric solid state devices or components; Apparatus not specifically provided for elsewhere for supporting or gripping
    • H01L2221/68304Apparatus for handling semiconductor or electric solid state devices during manufacture or treatment thereof; Apparatus for handling wafers during manufacture or treatment of semiconductor or electric solid state devices or components; Apparatus not specifically provided for elsewhere for supporting or gripping using temporarily an auxiliary support
    • H01L2221/68327Apparatus for handling semiconductor or electric solid state devices during manufacture or treatment thereof; Apparatus for handling wafers during manufacture or treatment of semiconductor or electric solid state devices or components; Apparatus not specifically provided for elsewhere for supporting or gripping using temporarily an auxiliary support used during dicing or grinding
    • HELECTRICITY
    • H01ELECTRIC ELEMENTS
    • H01LSEMICONDUCTOR DEVICES NOT COVERED BY CLASS H10
    • H01L2221/00Processes or apparatus adapted for the manufacture or treatment of semiconductor or solid state devices or of parts thereof covered by H01L21/00
    • H01L2221/67Apparatus for handling semiconductor or electric solid state devices during manufacture or treatment thereof; Apparatus for handling wafers during manufacture or treatment of semiconductor or electric solid state devices or components; Apparatus not specifically provided for elsewhere
    • H01L2221/683Apparatus for handling semiconductor or electric solid state devices during manufacture or treatment thereof; Apparatus for handling wafers during manufacture or treatment of semiconductor or electric solid state devices or components; Apparatus not specifically provided for elsewhere for supporting or gripping
    • H01L2221/68304Apparatus for handling semiconductor or electric solid state devices during manufacture or treatment thereof; Apparatus for handling wafers during manufacture or treatment of semiconductor or electric solid state devices or components; Apparatus not specifically provided for elsewhere for supporting or gripping using temporarily an auxiliary support
    • H01L2221/68327Apparatus for handling semiconductor or electric solid state devices during manufacture or treatment thereof; Apparatus for handling wafers during manufacture or treatment of semiconductor or electric solid state devices or components; Apparatus not specifically provided for elsewhere for supporting or gripping using temporarily an auxiliary support used during dicing or grinding
    • H01L2221/68336Apparatus for handling semiconductor or electric solid state devices during manufacture or treatment thereof; Apparatus for handling wafers during manufacture or treatment of semiconductor or electric solid state devices or components; Apparatus not specifically provided for elsewhere for supporting or gripping using temporarily an auxiliary support used during dicing or grinding involving stretching of the auxiliary support post dicing
    • HELECTRICITY
    • H01ELECTRIC ELEMENTS
    • H01LSEMICONDUCTOR DEVICES NOT COVERED BY CLASS H10
    • H01L2221/00Processes or apparatus adapted for the manufacture or treatment of semiconductor or solid state devices or of parts thereof covered by H01L21/00
    • H01L2221/67Apparatus for handling semiconductor or electric solid state devices during manufacture or treatment thereof; Apparatus for handling wafers during manufacture or treatment of semiconductor or electric solid state devices or components; Apparatus not specifically provided for elsewhere
    • H01L2221/683Apparatus for handling semiconductor or electric solid state devices during manufacture or treatment thereof; Apparatus for handling wafers during manufacture or treatment of semiconductor or electric solid state devices or components; Apparatus not specifically provided for elsewhere for supporting or gripping
    • H01L2221/68304Apparatus for handling semiconductor or electric solid state devices during manufacture or treatment thereof; Apparatus for handling wafers during manufacture or treatment of semiconductor or electric solid state devices or components; Apparatus not specifically provided for elsewhere for supporting or gripping using temporarily an auxiliary support
    • H01L2221/6834Apparatus for handling semiconductor or electric solid state devices during manufacture or treatment thereof; Apparatus for handling wafers during manufacture or treatment of semiconductor or electric solid state devices or components; Apparatus not specifically provided for elsewhere for supporting or gripping using temporarily an auxiliary support used to protect an active side of a device or wafer
    • HELECTRICITY
    • H01ELECTRIC ELEMENTS
    • H01LSEMICONDUCTOR DEVICES NOT COVERED BY CLASS H10
    • H01L2924/00Indexing scheme for arrangements or methods for connecting or disconnecting semiconductor or solid-state bodies as covered by H01L24/00
    • H01L2924/0001Technical content checked by a classifier
    • H01L2924/0002Not covered by any one of groups H01L24/00, H01L24/00 and H01L2224/00
    • H10P72/7416
    • H10P72/742
    • H10P72/7422

Landscapes

  • Engineering & Computer Science (AREA)
  • Physics & Mathematics (AREA)
  • Condensed Matter Physics & Semiconductors (AREA)
  • General Physics & Mathematics (AREA)
  • Computer Hardware Design (AREA)
  • Microelectronics & Electronic Packaging (AREA)
  • Power Engineering (AREA)
  • Manufacturing & Machinery (AREA)
  • Internal Circuitry In Semiconductor Integrated Circuit Devices (AREA)
  • Dicing (AREA)
  • Testing Or Measuring Of Semiconductors Or The Like (AREA)

Abstract

【課題】 ダイシング領域に配線層を有する半導体装置の信頼性を向上させる。
【解決手段】 シリコン基板101の素子形成面に絶縁層105が設けられ、絶縁層105がシリコン基板101の端面から突出した張出部109を有する半導体装置100において、張出部109は絶縁層105中に埋設されたCuの配線107を有する。
【選択図】 図1

Description

本発明は、半導体装置、半導体ウェーハ、およびこれらの製造方法に関する。
従来、ウェーハ上に複数形成された半導体装置を個々の装置に分離する方法として、ダイシングやエッチングが用いられている。この種の技術が、特許文献1に記載されている。同文献に記載の方法では、まず、回路が形成されたウェーハの表面をテープ部材に貼り付ける。この状態でウェーハの裏面を研磨し、薄化する。そして、研磨された裏面において、個々の半導体素子に相当する領域にレジスト層を形成し、裏面側からエッチングを行うことにより、ウェーハを個々の半導体素子に分離する。この方法を用いると、ウェーハにおいて半導体素子として使用可能な領域を増大することができるとされている。また、この方法を用いると、裏面研削により生じたウェーハのクラックを除去し、実装後の信頼性を向上させる工程ができるとされている。
一方、特許文献2には、ウェーハ上の複数のLSIを配線で接続した構成が開示されている。LSI間に配線を形成することにより、複数のLSIを同時に検査することができるとされている。
特開2002−93752号公報 特開昭62−171137号公報
ところが、たとえば特許文献2に記載の検査目的の場合のように、ウェーハ上の複数の半導体装置の配線による接続が求められる場合、ダイシング時にも切断領域に配線が残されていることとなる。この場合、ダイシングによりウェーハを複数の半導体チップに分離する際に、残存している配線を確実に切断することおよび切断された配線によるショート等がチップに生じないようにすることが求められる。ところが、ダイシング領域に配線が存在している場合、配線をウェーハのエッチングとともに除去することが困難であった。また、ダイシングによって機械的に破断することは可能であるが、この場合、切断により配線が引き伸ばされること等により切断面から突出することがあった。このため、突出した配線が半導体基板に接触して不具合を生じさせることにより、半導体装置の信頼性を低下させる懸念があった。
本発明は、上記事情に鑑みなされたものであり、その目的は、ダイシング領域に配線層を有する半導体装置の信頼性を向上させる技術を提供することにある。
本発明によれば、半導体基板と、前記半導体基板の素子形成面上に設けられた絶縁膜と、を有し、前記素子形成面に、複数の素子領域と、前記複数の素子領域を分離し、一方の素子領域と他方の素子領域との間を接続する配線を含むダイシング領域と、が設けられ、前記ダイシング領域において、前記半導体基板が除去されているとともに、前記絶縁膜の少なくとも一部を有することを特徴とする半導体ウェーハが提供される。
本発明においては、ダイシング領域において当該半導体基板ウェーハが薄化されているため、機械的応力によりダイシング領域の配線を確実に破断することが可能な構成となっている。また、ダイシング領域において、半導体基板を除去しつつ、配線を有する絶縁膜の一部を残しているため、絶縁膜が半導体基板の端面から張り出して張出部となる構成を実現することができる。これにより、チップ分離後、配線の半導体基板への接触が抑制される。
なお、本発明において、ダイシング領域において、半導体基板は完全に除去されていなくても、実質的に除去されていればよい。実質的に除去されているとは、半導体ウェーハに面方向の応力を付与した際に、ダイシング領域において半導体ウェーハが破断される程度に除去されていることをいう。
また、本発明において、ダイシング領域内の絶縁膜中に前記配線が設けられた構成とすることができる。また、配線は、たとえば、一方の素子形成領域から当該一方の素子形成領域に隣接する他方の素子形成領域にわたって形成された構成とすることができる。
本発明の半導体ウェーハにおいて、前記ダイシング領域には、前記絶縁膜中に導電プラグが設けられている構成とすることができる。こうすることにより、ダイシング領域に配線が設けられている場合であってもさらに確実にダイシング可能な構成とすることができる。
本発明の半導体ウェーハにおいて、複数の前記導電プラグが、前記ダイシング領域に沿って列状に設けられていてもよい。こうすることにより、所定の位置で確実に破断可能な構成とすることができる。
本発明の半導体ウェーハにおいて、前記ダイシング領域の幅が2μm以上であってもよい。こうすることにより、ダイシングをさらに安定的に行うことができる。また、絶縁膜が半導体基板の端面から張り出して張出部となる構成を確実に実現することができる。
本発明によれば、前記半導体ウェーハが前記ダイシング領域で分割されてなることを特徴とする半導体チップが提供される。
この構成によれば、ダイシング領域の半導体基板が除去されているため、絶縁膜中が半導体基板の外周縁から外方向に張り出した構成となっている。このため、配線の半導体基板への接触が抑制された構成となっている。よって、製造安定性および信頼性に優れた構成となっている。
本発明によれば、半導体基板と、前記半導体基板の素子形成面上に設けられた絶縁膜と、を有し、前記絶縁膜は、前記半導体基板の外周縁よりも外方向へ張り出した張出部を有し、前記張出部の内部に配線が含まれていることを特徴とする半導体チップが提供される。
この構成においては、絶縁膜が半導体基板の中心から外方へ張り出した形状を有する、すなわち、半導体チップは絶縁膜から主としてなる庇状の張出部を有する。このため、配線が張出部の端面から突出している場合にも、突出した配線の半導体基板への接触が抑制された構成となっている。よって、これらの接触によるリーク電流の発生等の不具合が抑制され、信頼性に優れた構成となっている。
本発明の半導体チップにおいて、前記張出部が前記半導体基板の前記外周縁から1μm以上突出している構成とすることができる。こうすることにより、半導体チップの信頼性をさらに向上させることができる。
本発明によれば、半導体基板の素子形成面上に、絶縁膜中に配線が埋設された配線層を形成する工程と、前記半導体基板の前記素子形成面側を支持基板に固定する工程と、前記支持基板に固定した状態で、前記半導体基板の裏面の側から、前記配線の設けられた領域のうち所定の領域を選択的に薄化し、ダイシング領域を形成する工程と、を含むことを特徴とする半導体ウェーハの製造方法が提供される。
この構成によれば、薄化されたダイシング領域が形成されるため、配線が設けられた領域においても安定的なダイシングが可能な構成となっている。また、絶縁膜が半導体基板の端面から張り出して張出部となる構成の半導体チップが得られる半導体ウェーハを安定的に製造可能である。
本発明の半導体ウェーハの製造方法において、配線層を形成する前記工程は、前記ダイシング領域において、前記絶縁膜中に導電プラグを埋設する工程を含んでもよい。こうすることにより、配線層を所定の位置で安定的に破断可能な構成とすることができる。また、導電プラグは素子形成領域の接続プラグと同時に形成可能なため、別個の工程を設けることなく作製可能である。このため、簡便な方法である。
本発明の半導体ウェーハの製造方法において、導電プラグを埋設する前記工程は、前記ダイシング領域に沿って複数の前記導電プラグを形成する工程を含んでもよい。こうすることにより、配線層を所定の位置でさらに確実に破断可能な構成とすることができる。
本発明によれば、前記半導体ウェーハの製造方法により半導体ウェーハを得る工程と、前記半導体基板の前記裏面をダイシングシートに接合する工程と、前記ダイシングシートに接合された前記半導体基板の前記素子形成面から前記支持基板を除去する工程と、記前記半導体ウェーハに応力を付与し、前記ダイシング領域にて前記半導体ウェーハを破断させ、前記半導体ウェーハを複数の半導体チップに分離する工程と、を含むことを特徴とする半導体チップの製造方法が提供される。
この方法によれば、ダイシングシートを引き延ばして半導体ウェーハを破断させるため、簡易な方法で複数の半導体チップを安定的に得ることができる。また、破断の際に、配線層の端面から配線が突出した場合にも、突出した配線が半導体基板に接触しないようにすることができる。このため、信頼性に優れた半導体チップを確実に得ることができる。
なお、本発明において、半導体ウェーハは、分離後、当該ダイシングシートから除去可能な状態でダイシングシートに接合されている。
本発明の半導体チップの製造方法において、半導体ウェーハに応力を付与する前記工程は、前記ダイシングシートを引き延ばす工程を含んでもよい。こうすることにより、簡便な方法でダイシング領域において確実にシリコンウェーハをさらに確実に破断することができる。
以上説明したように本発明によれば、半導体基板の端面から張り出した形状の絶縁膜を有し、張出部に配線を有する構成とすることにより、ダイシング領域に配線層を有する半導体装置の信頼性を向上させる技術が実現される。
以下、本発明の実施形態について図面を参照して説明する。なお、すべての図面において、共通の構成要素には同一の符号を付し、以下の説明において共通する説明を適宜省略する。また、以下の実施形態において、シリコンウェーハやシリコン基板の素子形成面の側を上または表とし、素子形成面の反対側の面(裏面)を下または裏とする。
(第一の実施形態)
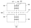
図1(a)および図1(b)は、本実施形態に係る半導体装置の構成を模式的に示す図である。図1(a)は半導体装置100の断面図であり、図1(b)は平面図である。図1(a)は、図1(b)のA−A’断面を示している。図1(a)および図1(b)に示したように、半導体装置100は、シリコン基板101の素子形成面に絶縁層105が設けられた構成である。シリコン基板101の素子形成面にシリコン酸化膜が形成され、その表面に絶縁層105が設けられていてもよい。絶縁層105は、複数の絶縁膜の積層体であって、配線層を有する。配線層は、絶縁膜中に埋設されたCuの配線107を有する。シリコン基板101の端面から、絶縁層105が張り出しており、張出部109が設けられている。すなわち、絶縁層105は、シリコン基板101の端面から突出した張出部109を有する。配線107は、張出部109中に設けられている。
張出部109のシリコン基板101の端面からの長さは、たとえば1μm以上、好ましくは2μm以上とすることができる。こうすることにより、後述するダイシングにより半導体装置100を得る際の配線107の飛び出しによる半導体装置100のショート等の不具合の発生を確実に抑制することができる。また、張出部109がシリコン基板101の端面から張り出している距離は、たとえば5μm以下とすることができる。こうすることにより、シリコンウェーハ上の半導体装置100の集積度を向上させることができる。また、絶縁層105の厚さはたとえば3〜10μm程度とすることができる。
なお、図1(a)および図1(b)に、先端が絶縁層105の側断面から突出している配線107が示されているが、突出している必要はない。突出している場合、配線107の突出部分の長さは、張出部109の長さよりも小さいことが好ましい。
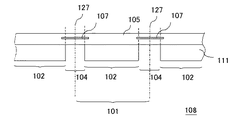
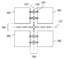
図13は、本実施形態に係る半導体ウェーハの構成を模式的に示す断面図である。図13に示した半導体ウェーハ108は、半導体基板であるシリコンウェーハ111の素子形成面に絶縁層105が設けられた構成である。半導体ウェーハ108は、複数の素子領域102および複数のダイシング領域104を有する。
半導体ウェーハ108では、ダイシング領域104において、シリコンウェーハ111が除去されている。また、ダイシング領域104において、絶縁層105を有している。また、ダイシング領域104には、配線107が設けられている。配線107は、ダイシング領域104内の絶縁層105に埋設されており、複数の素子領域102の一方と他方との間を接続している。
このように構成された半導体ウェーハ108において、ダイシングライン127でダイシング領域104を破断すると、図1(a)および図1(b)に示した半導体装置100が複数得られる。
次に、図1に示した半導体装置100の作製方法を説明する。半導体装置100は、1枚のシリコンウェーハに複数個同時に形成され、ダイシングされることにより得られる。図2、図3(a)〜図3(d)、図4(a)〜図4(d)、図5、図6、および図7(a)〜図7(c)は、本実施形態に係る半導体装置100の製造工程を説明する断面図である。以下、これらの図を用いて半導体装置100の製造手順を説明する。
まず、図2に示したように、シリコンウェーハ111表面の素子形成面に、所定の素子や配線107を有する層を形成し、複数の素子領域102およびこれらを区画するダイシング領域104を設ける。シリコンウェーハ111の素子形成面には、シリコン酸化膜として自然酸化膜(不図示)が形成されている。シリコンウェーハ111の厚さは、たとえば、1mm程度とする。
配線107は絶縁層105中に設けられ、その一部は、複数の半導体装置100にわたって形成され、これらを接続している。絶縁層105が複数の配線層を有する多層配線構造を有していてもよい。なお、図2において、上の図はウェーハの構成を示し、下の図は、ウェーハの構成に対応して得られる半導体装置100の構成を示している。
次に、シリコンウェーハ111をダイシングする。なお、図3(a)〜図3(d)および図4(a)〜図4(d)においては、シリコンウェーハ111上の絶縁層105を不図示とした。ただし、図4(b)および図4(c)では、シリコンウェーハ111の素子形成面に設けられた絶縁層105の一部である絶縁層114を示した。また、図3(a)では、シリコンウェーハ111の絶縁層105が設けられている側の面すなわち素子形成面113を示した。
まず、ガラスからなる支持板117上に、粘着テープ115およびシリコンウェーハ111をこの順に積層する(図3(a))。このとき、シリコンウェーハ111の素子形成面113を粘着テープ115に接合する。そして、粘着テープ115を介してシリコンウェーハ111と支持板117を接着する(図3(b)の点線)。
粘着テープ115は基材とその両面に形成された粘着層から構成されている。粘着テープを構成する基材としては、たとえば、ポリオレフィン系樹脂、ポリエステル系樹脂などが用いられる。さらに具体的には、たとえばポリエチレンテレフタレート等とすることができる。
また、粘着層は、基材の一方の面に設けられた硬化層と、他方の面に設けられた発泡層とからなる。粘着層を構成する粘着剤としては、たとえば、アクリル系エマルジョン型粘着剤、アクリル系溶剤型粘着剤、ウレタン系粘着剤などが用いられる。硬化層に用いられる粘着剤は、たとえば紫外線等の照射により硬化する光硬化性の材料とすることができる。また、剥離層に用いられる粘着剤は、紫外線等の照射により発泡して剥離する光剥離性の材料とすることができる。また、硬化層の硬化波長領域と剥離層の剥離波長領域とが異なるようにこれらの材料が選択される。
シリコンウェーハ111と支持板117とを接合させる際には、粘着テープ115の発泡面をシリコンウェーハ111側に設け、硬化面を支持板117側に設ける。
また、支持板117は、シリコンウェーハ111の薄化加工のプロセスにおける、熱、薬剤、外力などに対する耐性を備えている材料であればよく、たとえば、石英基板やパイレックス(登録商標)基板等のガラス基板とすることができる。また、ガラス基板以外の材料としてもよい。たとえば、アクリル樹脂などのプラスチックス等の基板を用いてもよい。シリコンウェーハ111を支持板117に固定することにより、後述するシリコンウェーハ111の薄化加工時の反りや外力による破損等を抑制することができる。
次に、シリコンウェーハ111を裏面研削により薄化する(図3(b))。裏面研削は、機械的研磨により行う。研削後のシリコンウェーハ111の厚さは適宜選択することができるが、たとえば、30〜200μm程度、さらに具体的には、たとえば100μmとすることができる。
次に、シリコンウェーハ111の裏面側に、素子領域102を被覆しダイシング領域104を開口部とするレジストパターン119を形成する(図3(c))。
開口部すなわちダイシング領域104の幅は、張出部109のシリコン基板101の端面からの距離に応じて適宜設定することができるが、たとえば2μm以上とすることができる。こうすることにより、半導体装置100に張出部109を安定的に形成することができる。
また、ダイシング領域104の幅は、たとえば7μm以下、好ましくは5μm以下とすることができる。こうすることにより、半導体装置100の小型化が可能となる。また、シリコン基板101中の素子領域102の集積度を高めることができる。
また、張出部109の張り出している領域の長さすなわちシリコン基板101の端面からの距離は、ダイシング領域104の幅の1/3〜2/3の長さ、さらに具体的には、ダイシング領域104の幅の1/2程度の長さとすることができる。こうすれば、張出部109の端面から配線107が突出した場合にも、突出した配線107がシリコン基板101に接触しないようにすることができる。
そして、レジストパターン119をマスクとするエッチングによりシリコンウェーハ111を選択的に除去し、選択的に薄化する(図3(d))。なお、このときのエッチングは、シリコンと絶縁膜の選択比が高い条件で行うものとする。ここで、シリコンウェーハ111の表面には絶縁層105が設けられ、絶縁層105にはダイシング領域104において配線107が形成されている。このため、エッチングは、配線107(図5では不図示)の設けられた絶縁層105にて停止する。
エッチングは、たとえばボッシュ法を用い、保護膜の形成によりシリコンウェーハ111の壁面やレジストパターンを保護しながら行ってもよい。この場合、SF6とO2の同時照射とC48の照射とを交互に行い、エッチングを行う。
図5は、図3(d)に示した断面の一部を拡大した図である。図3(d)には示していないが、図4に示したように、ダイシング領域104において、シリコンウェーハ111の素子形成面側には、貫通孔は形成されずに絶縁層105の一部であって配線107を有する絶縁層114が残存している。
次に、レジストパターン119をドライエッチングによりシリコンウェーハ111の裏面から除去する(図4(a))。そして、シリコンウェーハ111の裏面をダイシングテープ121に接着する(図4(b))。
ダイシングテープ121の大きさは、シリコンウェーハ111と同一もしくはそれよりも大きな寸法とすることが好ましい。こうすれば、これらを接着した際に、ダイシングテープ121の端部がシリコンウェーハ111の外周部分から離れて位置するようにすることができる。このような構成にあれば、図6および図7(a)〜図7(c)を用いて後述する工程で、シリコンウェーハ111を複数の半導体装置100に安定的に分離することができる。
ダイシングテープ121は、基材の片面に粘着層として前述の硬化層が設けられたテープとすることができる。硬化層の材料として、紫外線硬化材料を用いることができる。ダイシングテープ121の各構成部材は、たとえば粘着テープ115の各構成部材に利用可能な材料とすることができる。また、ダイシングテープ121は、面内方向に引き延ばすことが容易な材料とすることができる。こうすれば、後述するダイシング領域104の分離を簡便な方法で確実に行うことができる。
そして、ダイシングテープ121に固定したシリコンウェーハ111を、支持板117および粘着テープ115から剥離する(図4(c))。これにより、シリコンウェーハ111が支持板117からダイシングテープ121に転写される。たとえば、紫外線照射により剥離する粘着テープ115を用いている場合には、支持板117側から光照射を行うことにより剥離する。この状態では、絶縁層114の残存により、シリコンウェーハ111が複数の半導体装置100に分離されておらず、一体の状態である。
次に、ダイシングテープ121を引き延ばすことにより、シリコン基板101に応力を付与し、薄化した素子領域102の絶縁層114を破断する。これにより、複数の半導体装置100がダイシングテープ121上に接着された状態となる(図4(d))。ダイシングテープ121から半導体装置100を剥離することにより、半導体装置100が図1に示した半導体装置100が得られる。
図6および図7(a)〜図7(c)は、シリコンウェーハ111をダイシング領域104にて切断して複数の半導体装置100に分離する手順を模式的に示す図である。図6は、シリコンウェーハ111をダイシング装置に設置した様子を模式的に示す平面図である。また、図7(a)〜図7(c)は、図6のA−A’断面図である。これらの図を参照して、シリコンウェーハ111のダイシング方法を以下説明する。
まず、シリコンウェーハ111とダイシングテープ121の接合体をステージ123上にほぼ水平に設置する。ダイシングテープ121のシリコンウェーハ111との界面と反対側の面をステージ123と接触させる。ステージ123の断面積はダイシングテープ121の断面積より小さい。また、ステージ123はポンプ124に接続し、内部を減圧可能な構成となっている。また、ステージ123の上面は、開口部を有する。また、ダイシングテープ121の周縁部上に押さえリング125が設けられる(図6、図7(a))。押さえリング125は、たとえば管状の金属板とすることができる。
次に、図7(a)中に矢印で示したように、押さえリング125を鉛直下方向に押し下げる(図7(b))。このとき、シリコンウェーハ111が接着されたダイシングテープ121はステージ123上に載置されているため、その111表面に反り等は生じない。
次に、図7(b)中に矢印で示したように、ポンプ124を駆動させてステージ123の内部を減圧する。ステージ123の上面には開口部(不図示)が設けられているため、減圧により、ステージ123上のダイシングテープ121はステージ123の内部に向かって力が加わる。このため、ダイシングテープ121の底面が凹状に湾曲し、引き延ばされる。このとき、ダイシングテープ121に接着されたシリコンウェーハ111にが加わることにより、一体の状態であったシリコンウェーハ111は、薄化された絶縁層114にて破断される。このとき、ダイシング領域104における絶縁層114に埋設された配線107も機械的に破断される。こうして、一枚のシリコンウェーハ111が複数の半導体装置100に分離される(図7(c))。
そして、ダイシングテープ121から分離されたチップを取り外すことにより、図1に示した半導体装置100を得ることができる。
次に、半導体装置100の効果を説明する。
半導体装置100は、シリコン基板101の外周縁から絶縁層105から張り出した張出部109が形成されている。また、絶縁層105の端面に配線107が露出した構成となっている。張出部109が形成されているため、作製時のダイシング(図7(c))において、配線107が引き延ばされ、シリコン基板101の端面から突出した場合にも、突出した配線107がシリコン基板101に接触しない構成となっている。このため、半導体装置としての信頼性に優れた構成となっている。また、簡便なプロセスで製造可能であり、歩留まりの良好な半導体装置となっている。この効果は、配線107の材料がCuやAl等の比較的高度の小さい金属である場合に顕著に発揮される。
また、半導体装置100は、裏面研削を行った後に、シリコンウェーハ111の選択的なエッチングによりシリコンウェーハ111の一部を除去し、ダイシングテープ121に転写する方法を用いて製造される。このため、ダイシング領域104の絶縁層105中に配線107が埋設された構成でありながら、シリコンウェーハ111に機械的な力を付与して容易に複数の半導体装置100に分割可能である。よって、半導体装置100の製造時のダイシング時の削り屑の発生等が抑制された構成であり、製造安定性に優れる。
本実施形態に係る半導体装置100の構成は、たとえば、チップサイズの小さいマイクロコンピューター等に好適に適用される。このようなチップでは、信頼性試験の際にテスターの針あてが困難であるため、複数のチップの間を配線で接続し、ボンディングパッドを用いて測定されることが多い。この場合にも、張出部109を設けることにより、ダイシングされた端面から突出した配線がシリコン基板101に接触しないようにすることができる。
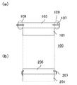
次に、本実施形態に係る半導体装置100(図1)を、従来の半導体装置と対比してさらに説明する。図8(a)および図8(b)は本実施形態に係る半導体装置100および従来の半導体装置をそれぞれ模式的に示す断面図である。
図8(b)に示したように、従来の半導体装置は、絶縁層205がシリコン基板201の端面から張り出していない。このため、切断面に配線207が形成されている場合、これが端面に露出してシリコン基板201と接触しやすい構成となっている。また、ダイシング領域に配線207が存在していると、従来の方法でエッチングにより従来の半導体装置を得るのは困難であった。また、シリコンウェーハからダイシングにより従来の半導体装置を得る場合、ダイシング時に配線207の端部が引き延ばされて突出しやすい。このとき、絶縁層205とシリコン基板201の端面の位置が揃った従来の構成では、図8(b)に示したように、配線207の配線部分がシリコン基板201に接触しやすい。このため、リーク電流が生じる等の不具合が生じる懸念があった。
これに対し、図8(a)に示したように、本実施形態に係る半導体装置100は、シリコン基板101よりも絶縁層105が突出しているため、配線107の端部が突出した場合にも配線107がシリコン基板101に接触しにくい構成となっている。なお、図8(a)では、図1(a)の構成に対応させ、図中左側の張出部109に設けられた配線107が絶縁層105の端面から突出しており、図中右側の張出部109に設けられた配線107が絶縁層105の端面から突出していない構成を例示したが、配線107の突出の有無に制限はない。また、従来、配線107がダイシング領域104にある場合にはエッチングにより分割して半導体装置100を得ることは困難であったが、半導体装置100は、シリコンウェーハ111を部分的に除去した後、ダイシングテープ121を引き延ばしてダイシング領域104を破断して得られるため、製造容易性に優れた構成となっている。
なお、本実施形態において、ダイシング領域104の切断方法は図6および図7(a)〜図7(c)を用いて前述した方法には限られない。ダイシングテープ121を他の方法により面方向に引き延ばしたり、曲げたりすることによってもシリコンウェーハ111を切断し、半導体装置100を得ることができる。
なお、本実施形態において、半導体基板101の端面全面に張出部109が形成されている構成を例に説明をしたが、半導体装置100は、少なくとも配線107が絶縁層105の端面に露出している領域において、張出部109を有していればよい。シリコン基板101全面に張出部109を設けることにより、ダイシングをさらに確実に行うことが可能となり、製造安定性を顕著に向上させることができる。
(第二の実施形態)
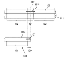
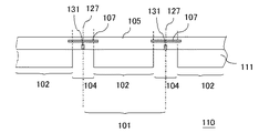
本実施形態では、図1に示した半導体装置100が得られる半導体ウェーハの構成の別の例を示す。図14は、本実施形態に係る半導体ウェーハの構成を模式的に示す断面図である。図14に示した半導体ウェーハ110の基本構成は、第一の実施形態において図13に示した半導体ウェーハと同様であるが、ダイシング領域104において、絶縁層105中にダイシング用プラグ131が設けられた点が異なる。本実施形態では、第一の実施形態と異なる部分を中心に、以下説明する。
図14に示した半導体ウェーハ110において、ダイシング用プラグ131は、ダイシング領域104内の絶縁層105に埋設されている。図14では、ダイシング用プラグ131は配線107よりもシリコンウェーハ111の素子形成面に近い側に設けられている。また、図14では、配線107は、ダイシングライン127上に設けられている。
半導体ウェーハ110では、ダイシング領域104にダイシング用プラグ131が設けられている。このため、ダイシングの際に、ダイシング用プラグ131を起点として破断が生じる。よって、図13に示した半導体ウェーハ108よりもさらに容易にダイシング可能な構成となっている。
また、素子領域102の端部からダイシング用プラグ131までの距離を適宜選択してダイシング用プラグ131を設けることにより、ダイシングの位置を調節することができる。このため、半導体ウェーハ110を分離して半導体装置100を得る際に、素子領域102の端部からダイシング用プラグ131までの距離に応じて半導体装置100の張出部109の長さを調節することが可能な構成となっている。よって、ダイシング時に露出した配線107が半導体装置100のシリコン基板101に接触することがさらに確実に抑制された構成となっている。
次に、半導体ウェーハ110のダイシング領域104におけるダイシング用プラグ131の配置についてさらに詳細に説明する。
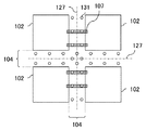
図9は、シリコンウェーハ111に形成された複数の素子領域102およびこれを隔てるダイシング領域104の一部の構成を模式的に示す平面図である。図9に示したように、ダイシング用プラグ131をダイシングライン127上に形成してもよい。ダイシング用プラグ131は絶縁膜が積層された絶縁層105中のどの層に設けてもよく、分割して得られる半導体装置100の設計に応じて所定の工程で形成することができる。
また、ダイシング用プラグ131の形状に特に制限はなく、円柱、楕円中、角柱等の柱状体等することができるが、素子領域102に形成される接続プラグと同じ形状とすることができる。こうすれば、ダイシング用プラグ131は、絶縁層105中に接続プラグを作製するときに、素子領域102中の孤立プラグとして同時に形成されるため、独立した手順を設けることなく確実に張出部109の張り出している領域の長さを調節することができる。
図9に示したシリコンウェーハ111をダイシング領域104の幅中心のダイシングライン127で切断すると、素子領域102の外周にダイシング領域104の一部が残存する形状の半導体装置100に分割される。ダイシング用プラグ131をダイシングライン127に沿って設けることにより、配線107を有する絶縁層105が設けられたシリコンウェーハ111を分割する際に、ダイシング用プラグ131の近傍で確実に破断させることができる。このため、素子領域102の外部に残存するダイシング領域104の幅を、素子領域102からダイシング用プラグ131程度の幅となるように調節することが可能である。よって、分割により生成する半導体装置100の張出部109のシリコン基板101の端面からの長さを確実に調節することができる。
なお、図9に示したように、ダイシングライン127上に設けられるダイシング用プラグ131を、配線107上に形成することにより、配線107をさらに確実に破断することができる。
図10〜図12は、張出部109を調節するのに適したシリコンウェーハ111の別の構成を示す図である。
図10は、ダイシングライン127に平行に二列のダイシング用プラグ131を設けたシリコンウェーハ111の構成を示す図である。図11に示したように、複数のダイシング用プラグ131の列をダイシング領域104に配置することにより、隣接する素子領域102を分割して得られる複数の半導体装置100に形成される張出部109のシリコン基板101の端面からの長さをそれぞれ所定の長さにさらに確実に調節することができる。
図11は、ストライプ状のダイシング用プラグ133をダイシングライン127上に設けた例である。ストライプ状の柱状体をダイシングライン127の延在方向に沿って延在させることにより、配線107がダイシング領域104に設けられたシリコンウェーハ111についても、さらに確実にダイシングを行うことができる。
また、図12は、配線107を有するダイシング領域104に、ストライプ状のダイシング用プラグ133を二列に配置した例である。こうすれば、ダイシング領域104のうち配線107を有する領域のダイシングをさらに確実に行うことができる。また、張出部109がシリコン基板101の端面から張り出している長さを所定の長さにさらに確実に調節することができる。
以上、発明の好適な実施形態を説明した。しかし、本発明は上述の実施形態に限定されず、当業者が本発明の範囲内で上述の実施形態を変形可能なことはもちろんである。
たとえば、以上の実施形態においては、半導体基板としてシリコン基板を用いたが、GaAs基板等の化合物半導体基板としてもよい。
また、以上の実施形態においては、配線107としてCuを用いたが、導電率の高い他の金属を用いてもよい。たとえば、Al、Ni、W等の金属を用いてもよい。また、ダイシングライン127近傍において、配線107の幅を他の領域よりも細くしてもよい。こうすれば、配線107をさらに確実に切断することができる。
本実施例では、第一の実施形態に記載の方法を用いて、張出部109を有する半導体装置100(図1)を作製した。裏面研削前のシリコンウェーハ111の厚さを1mmとし、裏面研削後のシリコンウェーハ111の厚さを200μmとした。また、粘着テープ115およびダイシングテープ121として、それぞれ積水化学社製セルファおよびリンテック社製Adwill−Dを用いた。配線107の材料はCuとした。
ダイシング領域104の幅を5μmとしてダイシングを行ったところ、シリコン基板101の端面から平均2μm突出した張出部109を有する半導体装置100が得られた。張出部109中のCu配線は、一部絶縁層105の端面から突出していたが、シリコン基板101には接触していなかった。これより、本発明の方法を用いて簡便なプロセスで配線107とシリコン基板101が接触しない構成の半導体装置100を得ることができた。
第一の実施形態に係る半導体装置の構成を模式的に示す図である。 図1の半導体装置の製造工程を説明する断面図である。 図1の半導体装置の製造工程を説明する断面図である。 図1の半導体装置の製造工程を説明する断面図である。 図1の半導体装置の製造工程を説明する断面図である。 図1の半導体装置の製造工程を説明する平面図である。 図1の半導体装置の製造工程を説明する断面図である。 第一の実施形態に係る半導体装置と従来の半導体装置の構成を示す断面図である。 第二の実施形態に係る半導体ウェーハの構成を模式的に示す平面図である。 第二の実施形態に係る半導体ウェーハの構成を模式的に示す平面図である。 第二の実施形態に係る半導体ウェーハの構成を模式的に示す平面図である。 第二の実施形態に係る半導体ウェーハの構成を模式的に示す平面図である。 本実施形態に係る半導体ウェーハの構成を模式的に示す断面図である。 本実施形態に係る半導体ウェーハの構成を模式的に示す断面図である。
符号の説明
100 半導体装置
101 シリコン基板
102 素子領域
104 ダイシング領域
105 絶縁層
107 配線
108 半導体ウェーハ
109 突出部
110 半導体ウェーハ
111 シリコンウェーハ
113 素子形成面
114 絶縁層
115 粘着テープ
117 支持板
119 レジストパターン
121 ダイシングテープ
123 ステージ
124 ポンプ
125 リング
127 ダイシングライン
131 ダイシング用プラグ
133 ダイシング用プラグ

Claims (11)

  1. 半導体基板と、前記半導体基板の素子形成面上に設けられた絶縁膜と、
    を有し、
    前記素子形成面に、
    複数の素子領域と、
    前記複数の素子領域を分離し、一方の素子領域と他方の素子領域との間を接続する配線を含むダイシング領域と、
    が設けられ、
    前記ダイシング領域において、前記半導体基板が除去されているとともに、前記絶縁膜の少なくとも一部を有することを特徴とする半導体ウェーハ。
  2. 請求項1に記載の半導体ウェーハにおいて、前記ダイシング領域には、前記絶縁膜中に導電プラグが設けられていることを特徴とする半導体ウェーハ。
  3. 請求項2に記載の半導体ウェーハにおいて、複数の前記導電プラグが、前記ダイシング領域に沿って列状に設けられていることを特徴とする半導体ウェーハ。
  4. 請求項1乃至3いずれかに記載の半導体ウェーハにおいて、前記ダイシング領域の幅が2μm以上であることを特徴とする半導体ウェーハ。
  5. 請求項1乃至4いずれかに記載の半導体ウェーハが前記ダイシング領域で分割されてなることを特徴とする半導体チップ。
  6. 半導体基板と、
    前記半導体基板の素子形成面上に設けられた絶縁膜と、
    を有し、
    前記絶縁膜は、前記半導体基板の外周縁よりも外方向へ張り出した張出部を有し、
    前記張出部の内部に配線が含まれていることを特徴とする半導体チップ。
  7. 請求項6に記載の半導体チップにおいて、前記張出部が前記半導体基板の前記外周縁から1μm以上張り出していることを特徴とする半導体チップ。
  8. 半導体基板の素子形成面上に、絶縁膜中に配線が埋設された配線層を形成する工程と、
    前記半導体基板の前記素子形成面側を支持基板に固定する工程と、
    前記支持基板に固定した状態で、前記半導体基板の裏面の側から、前記配線の設けられた領域のうち所定の領域を選択的に薄化し、ダイシング領域を形成する工程と、
    を含むことを特徴とする半導体ウェーハの製造方法。
  9. 請求項8に記載の半導体ウェーハの製造方法において、配線層を形成する前記工程は、前記ダイシング領域において、前記絶縁膜中に導電プラグを埋設する工程を含むことを特徴とする半導体ウェーハの製造方法。
  10. 請求項9に記載の半導体ウェーハの製造方法において、導電プラグを埋設する前記工程は、前記ダイシング領域に沿って複数の前記導電プラグを形成する工程を含むことを特徴とする半導体ウェーハの製造方法。
  11. 請求項8乃至10いずれかに記載の半導体ウェーハの製造方法により半導体ウェーハを得る工程と、
    前記半導体基板の前記裏面をダイシングシートに接合する工程と、
    前記ダイシングシートに接合された前記半導体基板の前記素子形成面から前記支持基板を除去する工程と
    前記半導体ウェーハに応力を付与し、前記ダイシング領域にて前記半導体ウェーハを破断させ、前記半導体ウェーハを複数の半導体チップに分離する工程と、
    を含むことを特徴とする半導体チップの製造方法。
JP2004106331A 2004-03-31 2004-03-31 半導体ウェーハ、半導体チップおよびその製造方法 Expired - Fee Related JP4703127B2 (ja)

Priority Applications (2)

Application Number Priority Date Filing Date Title
JP2004106331A JP4703127B2 (ja) 2004-03-31 2004-03-31 半導体ウェーハ、半導体チップおよびその製造方法
US11/079,383 US7202108B2 (en) 2004-03-31 2005-03-15 Semiconductor wafer, semiconductor chip and method for manufacturing the same

Applications Claiming Priority (1)

Application Number Priority Date Filing Date Title
JP2004106331A JP4703127B2 (ja) 2004-03-31 2004-03-31 半導体ウェーハ、半導体チップおよびその製造方法

Publications (2)

Publication Number Publication Date
JP2005294472A true JP2005294472A (ja) 2005-10-20
JP4703127B2 JP4703127B2 (ja) 2011-06-15

Family

ID=35095457

Family Applications (1)

Application Number Title Priority Date Filing Date
JP2004106331A Expired - Fee Related JP4703127B2 (ja) 2004-03-31 2004-03-31 半導体ウェーハ、半導体チップおよびその製造方法

Country Status (2)

Country Link
US (1) US7202108B2 (ja)
JP (1) JP4703127B2 (ja)

Cited By (2)

* Cited by examiner, † Cited by third party
Publication number Priority date Publication date Assignee Title
JP2007149995A (ja) * 2005-11-28 2007-06-14 Fujifilm Corp 積層型圧電素子及びその製造方法
JP2008066716A (ja) * 2006-08-10 2008-03-21 Matsushita Electric Ind Co Ltd 半導体装置

Families Citing this family (5)

* Cited by examiner, † Cited by third party
Publication number Priority date Publication date Assignee Title
TWI267133B (en) * 2005-06-03 2006-11-21 Touch Micro System Tech Method of segmenting a wafer
TW200743146A (en) * 2006-05-02 2007-11-16 Touch Micro System Tech Method of thinning a wafer
US8796740B1 (en) * 2009-01-13 2014-08-05 Altera Corporation Using a single mask for various design configurations
US9082940B2 (en) * 2012-06-29 2015-07-14 Nitto Denko Corporation Encapsulating layer-covered semiconductor element, producing method thereof, and semiconductor device
TWI546934B (zh) * 2014-10-20 2016-08-21 錼創科技股份有限公司 Led陣列擴張方法及led陣列單元

Citations (7)

* Cited by examiner, † Cited by third party
Publication number Priority date Publication date Assignee Title
JPH0228335A (ja) * 1988-07-18 1990-01-30 Nec Corp モノリシック集積回路素子の製造方法
JPH0737840A (ja) * 1993-07-24 1995-02-07 Nec Corp 半導体装置及びその製造方法
JPH11224867A (ja) * 1997-11-19 1999-08-17 Lg Semicon Co Ltd 半導体チップ及び半導体チップモジュールの製造方法
JP2000173952A (ja) * 1998-12-03 2000-06-23 Fujitsu Quantum Device Kk 半導体装置及びその製造方法
JP2001085457A (ja) * 1999-09-10 2001-03-30 Hitachi Ltd 半導体ウエハ、半導体装置及びその製造方法
JP2002093752A (ja) * 2000-09-14 2002-03-29 Tokyo Electron Ltd 半導体素子分離方法及び半導体素子分離装置
JP2003203913A (ja) * 2002-01-09 2003-07-18 Matsushita Electric Ind Co Ltd 半導体装置および半導体チップ

Family Cites Families (5)

* Cited by examiner, † Cited by third party
Publication number Priority date Publication date Assignee Title
JPS62171137A (ja) 1986-01-23 1987-07-28 Nec Corp 集積回路の製造方法
US5910687A (en) * 1997-01-24 1999-06-08 Chipscale, Inc. Wafer fabrication of die-bottom contacts for electronic devices
JP3501959B2 (ja) * 1998-09-29 2004-03-02 三菱電機株式会社 レーザー溶断方式半導体装置の製造方法および半導体装置
US6326689B1 (en) * 1999-07-26 2001-12-04 Stmicroelectronics, Inc. Backside contact for touchchip
TWI226090B (en) * 2003-09-26 2005-01-01 Advanced Semiconductor Eng Transparent packaging in wafer level

Patent Citations (7)

* Cited by examiner, † Cited by third party
Publication number Priority date Publication date Assignee Title
JPH0228335A (ja) * 1988-07-18 1990-01-30 Nec Corp モノリシック集積回路素子の製造方法
JPH0737840A (ja) * 1993-07-24 1995-02-07 Nec Corp 半導体装置及びその製造方法
JPH11224867A (ja) * 1997-11-19 1999-08-17 Lg Semicon Co Ltd 半導体チップ及び半導体チップモジュールの製造方法
JP2000173952A (ja) * 1998-12-03 2000-06-23 Fujitsu Quantum Device Kk 半導体装置及びその製造方法
JP2001085457A (ja) * 1999-09-10 2001-03-30 Hitachi Ltd 半導体ウエハ、半導体装置及びその製造方法
JP2002093752A (ja) * 2000-09-14 2002-03-29 Tokyo Electron Ltd 半導体素子分離方法及び半導体素子分離装置
JP2003203913A (ja) * 2002-01-09 2003-07-18 Matsushita Electric Ind Co Ltd 半導体装置および半導体チップ

Cited By (2)

* Cited by examiner, † Cited by third party
Publication number Priority date Publication date Assignee Title
JP2007149995A (ja) * 2005-11-28 2007-06-14 Fujifilm Corp 積層型圧電素子及びその製造方法
JP2008066716A (ja) * 2006-08-10 2008-03-21 Matsushita Electric Ind Co Ltd 半導体装置

Also Published As

Publication number Publication date
JP4703127B2 (ja) 2011-06-15
US7202108B2 (en) 2007-04-10
US20050230840A1 (en) 2005-10-20

Similar Documents

Publication Publication Date Title
CN100367451C (zh) 半导体装置及其制造方法
US9969609B2 (en) MEMS device
KR100433781B1 (ko) 반도체장치의 제조방법
TWI505428B (zh) 晶片封裝體及其形成方法
US9153707B2 (en) Chip package and method for forming the same
US9165890B2 (en) Chip package comprising alignment mark and method for forming the same
US9006896B2 (en) Chip package and method for forming the same
US9064950B2 (en) Fabrication method for a chip package
US9601531B2 (en) Wafer-level packaging structure for image sensors with packaging cover dike structures corresponding to scribe line regions
KR0178134B1 (ko) 불연속 절연층 영역을 갖는 반도체 집적회로 소자 및 그 제조방법
US6914327B2 (en) Semiconductor device and manufacturing method thereof
CN107210294A (zh) 用于制造半导体组件的方法及半导体组件
US7250354B2 (en) Semiconductor device and method for fabricating the same
US9024437B2 (en) Chip package and method for forming the same
JP5226228B2 (ja) 半導体装置の製造方法、及び、半導体装置
JP4703127B2 (ja) 半導体ウェーハ、半導体チップおよびその製造方法
EP1968114A1 (en) Semiconductor device
JP2012033721A (ja) 半導体装置の製造方法
JP6582616B2 (ja) 半導体チップの製造方法
CN115602625A (zh) 具有测试结构的晶片及切割晶片的方法
WO2011052104A1 (ja) 半導体装置及びその製造方法
JP7249898B2 (ja) 半導体装置及び半導体装置の製造方法
JP2008159694A (ja) 電子部品の製造方法
KR100864430B1 (ko) 듀얼 반도체 소자를 가진 양면 기판의 제조 방법들 및그것에 의해 제조된 양면 기판들
JPH06314723A (ja) 半導体装置及びその製造方法

Legal Events

Date Code Title Description
A621 Written request for application examination

Free format text: JAPANESE INTERMEDIATE CODE: A621

Effective date: 20070208

A977 Report on retrieval

Free format text: JAPANESE INTERMEDIATE CODE: A971007

Effective date: 20091029

A131 Notification of reasons for refusal

Free format text: JAPANESE INTERMEDIATE CODE: A131

Effective date: 20091104

A521 Request for written amendment filed

Free format text: JAPANESE INTERMEDIATE CODE: A523

Effective date: 20091228

A131 Notification of reasons for refusal

Free format text: JAPANESE INTERMEDIATE CODE: A131

Effective date: 20100608

A521 Request for written amendment filed

Free format text: JAPANESE INTERMEDIATE CODE: A523

Effective date: 20100809

TRDD Decision of grant or rejection written
A01 Written decision to grant a patent or to grant a registration (utility model)

Free format text: JAPANESE INTERMEDIATE CODE: A01

Effective date: 20110301

A61 First payment of annual fees (during grant procedure)

Free format text: JAPANESE INTERMEDIATE CODE: A61

Effective date: 20110308

R150 Certificate of patent or registration of utility model

Ref document number: 4703127

Country of ref document: JP

Free format text: JAPANESE INTERMEDIATE CODE: R150

S531 Written request for registration of change of domicile

Free format text: JAPANESE INTERMEDIATE CODE: R313531

R350 Written notification of registration of transfer

Free format text: JAPANESE INTERMEDIATE CODE: R350

LAPS Cancellation because of no payment of annual fees