JP2005294112A - スイッチ装置 - Google Patents

スイッチ装置 Download PDF

Info

Publication number
JP2005294112A
JP2005294112A JP2004109170A JP2004109170A JP2005294112A JP 2005294112 A JP2005294112 A JP 2005294112A JP 2004109170 A JP2004109170 A JP 2004109170A JP 2004109170 A JP2004109170 A JP 2004109170A JP 2005294112 A JP2005294112 A JP 2005294112A
Authority
JP
Japan
Prior art keywords
contact
cover member
fixed
lower case
slider
Prior art date
Legal status (The legal status is an assumption and is not a legal conclusion. Google has not performed a legal analysis and makes no representation as to the accuracy of the status listed.)
Granted
Application number
JP2004109170A
Other languages
English (en)
Other versions
JP4323363B2 (ja
Inventor
Masayuki Takeda
昌之 武田
Current Assignee (The listed assignees may be inaccurate. Google has not performed a legal analysis and makes no representation or warranty as to the accuracy of the list.)
Alps Alpine Co Ltd
Original Assignee
Alps Electric Co Ltd
Priority date (The priority date is an assumption and is not a legal conclusion. Google has not performed a legal analysis and makes no representation as to the accuracy of the date listed.)
Filing date
Publication date
Application filed by Alps Electric Co Ltd filed Critical Alps Electric Co Ltd
Priority to JP2004109170A priority Critical patent/JP4323363B2/ja
Priority to CNB2005100629527A priority patent/CN100342466C/zh
Priority to TW94110504A priority patent/TWI253660B/zh
Publication of JP2005294112A publication Critical patent/JP2005294112A/ja
Application granted granted Critical
Publication of JP4323363B2 publication Critical patent/JP4323363B2/ja
Anticipated expiration legal-status Critical
Expired - Fee Related legal-status Critical Current

Links

Images

Landscapes

  • Push-Button Switches (AREA)
  • Switch Cases, Indication, And Locking (AREA)
  • Rotary Switch, Piano Key Switch, And Lever Switch (AREA)

Abstract

【課題】 常に円滑に動作させることができると共に長期に亘って防水性が損なわれない押圧操作型スイッチ装置を提供すること。
【解決手段】 接点収納部2内の上端部にカバー部材10を圧入・固定し、このカバー部材10上および下ケース1の開口端2a周縁部上に載置した防水ゴムカバー11の平板部11aを上ケース12で押えつけて挟持する。カバー部材10の上面には複数の係止リブ10cを突設しておき、これらの係止リブ10cを防水ゴムカバー11に食い込ませておく。また、防水ゴムカバー11の膨出部11bをスライダ6の被押圧突起7の先端部に密着固定させると共に、カバー部材10のガイド孔10aに被押圧突起7を挿通してその昇降動作をガイドする。スライダ6には可動接点8が取着されており、この可動接点8がスライダ6の昇降動作に伴って接点収納部2内で固定接点3〜5と接離するようになっている。
【選択図】 図2

Description

本発明は、接点部を密閉構造にして防水性を高めた押圧操作型のスイッチ装置に関する。
この種のスイッチ装置の従来例として、下ケースに設けられた接点収納部を蓋閉するようにゴム等からなる防水部材を配置し、該防水部材の周縁部を下ケースと上ケースとで挟持すると共に、上ケースの貫通孔から外方へ突出する該防水部材の膨出部をスライダの被押圧突起に密着固定させた構造のものが知られている(例えば、特許文献1参照)。かかるスイッチ装置では、下ケースの接点収納部内に固定接点が固設されており、可動接点を取着したスライダが下ケースに昇降可能に保持されている。このスライダは被押圧突起が押圧操作されると下降し、操作力が除去されると、接点収納部内に組み込まれているコイルばねによってスライダは元の高さ位置まで上昇する。そして、スライダの昇降動作に伴って接点収納部内で可動接点が固定接点と接離することにより、スイッチ装置の接点切換えが行われるようになっている。
このように構成されたスイッチ装置では、ゴム等からなる防水部材の周縁部を上下のケースで挟み込んで接点収納部の開口端を覆っているため、接点収納部内への水分の侵入が防止できて防水性の高い密閉構造が実現されている。また、ドーム状の膨出部を大径化しても防水性には影響しないので、長い作動ストロークに対応させるために被押圧突起を長寸化する場合にも、この被押圧突起を十分な太さに形成して機械的強度を確保することができる。
特開2003−288820号公報(第4−5頁、図2)
上述した従来のスイッチ装置は、接点収納部を蓋閉するゴム等からなる防水部材の周縁部を上下のケースで挟み込むことによって高い防水性を実現してはいるが、この防水部材は周縁部だけが固定された状態になっているため、被押圧突起の昇降時に防水部材は周縁部以外のほぼ全領域が弾性変形することになる。それゆえ、上下のケースで挟持されている防水部材の周縁部には、被押圧突起が昇降するたびに引っ張り力が作用することとなり、かかる昇降動作が繰り返されると次第に防水性が損なわれる虞があった。
また、上述した従来のスイッチ装置では、接点収納部の内壁をガイド面としてスライダを昇降させる構成になっているが、被押圧突起を除くスライダ本体の複数箇所において接点収納部の内壁との間のクリアランスを厳格に設定することは困難なので、該クリアランスには若干の余裕を持たせておく必要がある。その結果、スライダ本体が接点収納部内でガタを生じやすく、昇降時にスライダが傾いて円滑に動作しなくなる虞があった。
本発明は、このような従来技術の実情に鑑みてなされたもので、その目的は、常に円滑に動作させることができると共に長期に亘って防水性が損なわれない押圧操作型スイッチ装置を提供することにある。
上述した目的を達成するため、本発明のスイッチ装置では、開口端を有する接点収納部が設けられた下ケースと、前記接点収納部内に配設された固定接点と、被押圧突起を立設して前記下ケースに昇降可能に保持されたスライダと、該スライダの昇降動作に伴って前記固定接点に接離する可動接点と、前記被押圧突起を昇降可能にガイドするガイド孔を有して前記下ケースの前記開口端に固定されたカバー部材と、前記被押圧突起の先端部に密着固定される膨出部と前記カバー部材上に載置される平板部とを有する弾性材料からなる防水部材と、前記被押圧突起および前記膨出部を突出させる貫通孔を有して前記下ケースに蓋着される上ケースとを備え、前記平板部を前記上ケースと前記カバー部材との間で挟持する構成とした。
このようにゴム等の弾性材料からなる防水部材の平板部を下ケースの開口端に固定したカバー部材上に載置して上ケースで押えつけることにより挟持すれば、被押圧突起の昇降動作に伴って膨出部が弾性変形しても平板部はほとんど弾性変形しなくなるので、防水部材の平板部にはほとんど引っ張り力が作用しなくなる。それゆえ、被押圧突起の昇降動作が繰り返されても防水性が損なわれる虞がなくなり、長期に亘って高い防水性を維持することができる。また、カバー部材のガイド孔の内壁と被押圧突起との間のクリアランスを狭く設定することは比較的容易であり、このガイド孔によって被押圧突起の昇降動作をガイドすることができるため、接点収納部の内壁とスライダ本体との間のクリアランスに余裕を持たせても、被押圧突起が確実にガイドされるため昇降時にスライダが傾く虞がなくなり、常に円滑な昇降動作が期待できる。
上述したスイッチ装置は、前記平板部を前記カバー部材および前記下ケースの前記開口端周縁部上に載置することが好ましく、これにより、一層確実な防水性を実現することができる。
また、上述したスイッチ装置は、前記カバー部材と前記平板部のいずれか一方に係止リブを突設し、該係止リブをいずれか他方に圧入させておくことが好ましく、これにより、上ケースとカバー部材間での平板部の挟持力が寸法誤差等によって弱くなったとしても、該カバー部材上に該平板部を確実に固定しておくことができるため、スライダ(被押圧突起)の昇降時に防水部材の周縁部に引っ張り力が作用しにくくなって高い防水性が維持しやすくなる。
また、上述したスイッチ装置において、前記カバー部材を前記下ケースの前記開口端に固定する方法は適宜選択可能であるが、該カバー部材を前記接点収納部内へ圧入・固定すれば、極めて簡単にカバー部材を所定位置に固定することができて組立性が良好となるため好ましい。
本発明による押圧操作型のスイッチ装置は、下ケースの開口端に固定したカバー部材上に載置された防水部材の平板部を上ケースで押えつけて挟持しており、スライダの被押圧突起が昇降しても防水部材の平板部にはほとんど引っ張り力が作用しなくなるため、かかる昇降動作が繰り返されても防水性が損なわれる虞がない。また、カバー部材のガイド孔によって被押圧突起の昇降動作を確実にガイドすることができるため、昇降時にスライダが傾く虞がない。したがって、常に円滑に動作させることができると共に長期に亘って防水性が損なわれない高信頼性のスイッチ装置を提供することができる。
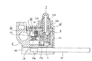
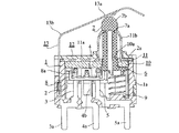
実施の形態を図面を参照して説明すると、図1は本発明の第1実施形態例に係るスイッチ装置の分解斜視図、図2は該スイッチ装置の非操作時の断面図、図3は該スイッチ装置の押圧操作時の断面図、図4は該スイッチ装置に備えられるスライダの平面図、図5は該スイッチ装置に備えられる下ケースの平面図、図6は該下ケースの内部構造を示す破断斜視図、図7は該下ケースに対するカバー部材の固定構造を示す断面図である。
図1〜図3に示す押圧操作型のスイッチ装置は、例えば車載用マイクロスイッチとして使用されるものであり、開口端2aを有する接点収納部2が設けられた下ケース1と、インサート成形技術により下ケース1に固定されて接点収納部2内に配設された3本の固定接点3〜5と、被押圧突起7を立設して下ケース1に昇降可能に保持されたスライダ6と、このスライダ6に取着された可動接点8と、接点収納部2内に配置されてスライダ6を上向きに常時弾性付勢するコイルばね9と、ガイド孔10aおよび一対の係止片10bを有して下ケース1の開口端2aに固定されたカバー部材10と、平板部11aおよびドーム状の膨出部11bを有する防水ゴムカバー11と、貫通孔12aを有して下ケース1に蓋着された上ケース12と、被押圧突起7を上方から押圧操作するためのレバー13とによって主に構成されている。
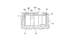
各部の構成について詳しく説明すると、下ケース1は上方を開口させた箱形の樹脂成形品であり、この下ケース1の外壁には傾斜面を有する複数の係合突起1aが突設されている。これらの係合突起1aは上ケース12をスナップ嵌合させるためのものである。また、図6に示すように、下ケース1の接点収納部2の内壁にはカバー部材10を位置決めするための凹溝1bや段部1cが形成されている。
金属板からなる固定接点3〜5は下ケース1の底板部から上方へ延びており、各固定接点3〜5の埋設部分から延出する端子部3a〜5aが下ケース1の下方へ延びている。3本の固定接点3〜5のうち、固定接点3,4は長くて固定接点5は短く、固定接点4には縦長の孔4bが穿設されている。
スライダ6は樹脂成形品であり、接点収納部2内に昇降可能に組み込まれた本体部6aと、この本体部6aから上方へ突出する円柱状の被押圧突起7とを有する。本体部6aには可動接点8が取着される中空部6bが設けられており、本体部6aを接点収納部2内に組み込むと中空部6b内に固定接点3〜5が位置するようになっている。また、本体部6aの外壁2箇所には上端をテーパ状にした逃げ溝6cが形成されている。図4および図5に明らかなように、上方から見た本体部6aの外形は接点収納部2の内壁の形状に略合致させてあり、したがって、スライダ6の昇降時に本体部6aを接点収納部2の内壁でガイドすることができる。一方、被押圧突起7の先端近傍には細径部を形成する係合溝7aが設けられており、この係合溝7aよりも先端側の頂部7bは円椀状に形成されている。
可動接点8はリン青銅等のばね性に富む金属板をU字状に折り曲げて形成したもので、この可動接点8はクリップ状の接点部8a〜8cを有し、各接点部8a〜8cには長寿命化を図るために銀チップがかしめ固定されている。可動接点8はスライダ6の中空部6bに取り付けられており、スライダ6の昇降動作に伴って接点部8a〜8cがそれぞれ固定接点3〜5に対して接離または摺動するようになっている。また、コイルばね9は本体部6aの被押圧突起7寄りの一側部と下ケース1の底板部との間に圧縮状態で介設されており、このコイルばね9は被押圧突起7の底面を上向きに常時弾性付勢している。
カバー部材10は樹脂成形品であり、接点収納部2内の上端部に圧入・固定されて開口端2aをほぼ蓋閉している。カバー部材10のガイド孔10aの内径は被押圧突起7の外径よりも僅かに大きく設計されており、このガイド孔10aに被押圧突起7が昇降可能に挿通されている。したがって、ガイド孔10aは被押圧突起7の昇降動作を高精度にガイドすることができる。また、カバー部材10には一対の係止片10bが下向きに突設されており、これらの係止片10bを下ケース1の凹溝1bに圧入しつつ段部1cでカバー部材10の高さ位置を規定することにより、図7に示すように、接点収納部2内の所定位置にカバー部材10を圧入・固定することができる。ただし、係止片10bはスライダ6の本体部6aの逃げ溝6cに遊挿された状態で凹溝1bに圧入されているので、係止片10bがスライダ6の昇降動作を阻害する虞はない。また、カバー部材10の上面には複数箇所に微小な係止リブ10cが突設されている。
図2に示すように、防水ゴムカバー11の平板部11aは下ケース1の開口端2a周縁部上およびカバー部材10上に載置されて上ケース12に押えつけられており、また、平板部11aのうちカバー部材10と上ケース12との間に挟持されている部分の底面には前記係止リブ10cが複数箇所で食い込んでいる。一方、防水ゴムカバー11の膨出部11bの頂部には小孔11cが設けられており、ゴムの弾性を利用して小孔11cに被押圧突起7の円椀状頂部7bを挿通して該小孔11cの周縁部を係合溝7aと係合させることによって、膨出部11bは被押圧突起7の先端部に密着固定されている。
上ケース12は下方を開口させた箱形の樹脂成形品であり、この上ケース12の天板部に設けられた貫通孔12aから上方へスライダ6の被押圧突起7および防水ゴムカバー11の膨出部11bが突出している。上ケース12の側壁には複数箇所に係合孔12bが穿設されており、これらの係合孔12bに下ケース1の係合突起1aをスナップ嵌合させることによって、上下のケース1,12が一体化されている。
金属板からなるレバー13は、その固定端部が下ケース1に圧入・固定されており、自由端側の回動部13aが屈曲部13bを支点として所定量回動可能である。この回動部13aは被押圧突起7上に配置されており、回動部13aを押し下げると被押圧突起7が押し込まれてスライダ6が下降するようになっている。
次に、このように構成されたスイッチ装置の動作について説明すると、図2に示すように、非操作時には接点収納部2内のコイルばね9によってスライダ6が上方へ押し上げられているため、可動接点8のうち接点部8a,8bはそれぞれ長寸な固定接点3,4と接触して端子部3a,4a間が導通されているが、接点部8cは短寸な固定接点5とは非接触に保たれている。
この状態でレバー13の回動部13aが被押圧突起7を下方へ押し込むと、コイルばね9を圧縮させながらスライダ6が下降するため、図3に示すように、膨出部11bの中央部が凹状に弾性変形すると共に、接点収納部2内で可動接点8が下降する。その結果、接点部8aは固定接点3との接触を維持するものの、接点部8bは孔4b内へ移動するため固定接点4とは非接触となり、接点部8cは短寸な固定接点5と接触するようになる。これにより、端子部3a,4a間の導通が遮断されて、端子部3a,5a間が導通された状態へ移行する。
また、こうして被押圧突起7を押し込んでいるレバー13の回動部13aから押圧操作力を除去すると、回動部13aは自身の弾性で元の位置へと戻り、かつスライダ6はコイルばね9の復元力により押し上げられるため、被押圧突起7や可動接点8は図2に示す高さ位置まで上昇し、凹状に弾性変形していた膨出部11bも自身の弾性で元のドーム状に戻る。その結果、接点部8aは固定接点3との接触を維持するものの、接点部8bは孔4b内から離脱するため固定接点4との接触を回復し、逆に接点部8cは短寸な固定接点5から離れるため非接触状態に戻る。これにより、端子部3a,4a間の導通が回復して端子部3a,5a間の導通は遮断される。
このように本実施形態例に係るスイッチ装置は、防水ゴムカバー11の平板部11aを下ケース1の開口端2a周縁部上およびカバー部材10上に載置して上ケース12で押えつけているため、被押圧突起7の昇降動作に伴って膨出部11bが弾性変形しても平板部11aはほとんど弾性変形しない。しかも、カバー部材10の複数の係止リブ10cが平板部11aの底面に食い込んでいるため、上ケース12とカバー部材10間での平板部11aの挟持力が寸法誤差等によって弱くなったとしても、カバー部材10上に平板部11aを確実に固定しておくことができる。したがって、被押圧突起7が昇降して膨出部11bが弾性変形しても防水ゴムカバー11の平板部11aにはほとんど引っ張り力が作用せず、それゆえ被押圧突起7の昇降動作が繰り返されても防水性が損なわれる虞はなく、長期に亘って高い防水性を維持することができる。なお、本実施形態例ではカバー部材10に設けた係止リブ10cを防水ゴムカバー11の平板部11aに圧入させているが、これとは逆に、カバー部材10に設けた凹部に平板部11aに設けた係止リブを圧入させる構成にしてもよい。
また、このスイッチ装置において、カバー部材10のガイド孔10aの内壁と被押圧突起7との間のクリアランスを狭く設定することは比較的容易なので、ガイド孔10aによって被押圧突起7の昇降動作を高精度にガイドすることができる。それゆえ、接点収納部2の内壁とスライダ6の本体部6aとの間のクリアランスに余裕を持たせても、被押圧突起7が確実にガイドされるため昇降時にスライダ6が傾く虞がなくなり、常に円滑な昇降動作が期待できる。
また、このスイッチ装置は、カバー部材10を下ケース1の接点収納部2内の上端部に圧入することによって開口端2aを蓋閉しており、かかる圧入時にカバー部材10は下ケース1の凹溝1bや段部1cによって位置決め固定されるため、極めて簡単にカバー部材10を所定位置に固定することができて良好な組立性が期待できる。ただし、カバー部材10をかしめや溶着等の他の手法で下ケース1に固定してもよい。
なお、本実施形態例では、長い作動ストロークに対応させるために被押圧突起7を長寸化している関係上、この被押圧突起7を機械的強度が確保できる十分な太さに形成しているが、ドーム状の膨出部11bは平板部11aと連続しており、両者11a,11b間に防水処理を施す必要はないので、被押圧突起7を太くするために膨出部11bを大径化しても防水性には何ら影響しない。
図8は本発明の第2実施形態例に係るスイッチ装置の斜視図、図9は該スイッチ装置の非操作時の断面図であり、図1〜図7と対応する部分には同一符号を付すことにより重複する説明は省略する。
図8および図9に示すスイッチ装置は、接点構造が前述した第1実施形態例と大きく異なっている。すなわち、本実施形態例では、接点収納部2内に固設された固定接点14に対して可動接点15がバッティングによる接触を行うようになっており、この可動接点15を下向きに常時弾性付勢する付勢ばね16が接点収納部2内に組み込まれている。そして、非操作時には可動接点15が固定接点14に当接するオン状態に保たれているが、被押圧突起7が下向きに押圧操作されてコイルばね9を圧縮させながらスライダ6が下降すると、可動接点15の揺動部15aがスライダ6に駆動されて図9の時計回りの向きに回転するため、付勢ばね16を圧縮させながら可動接点15が上昇して固定接点14から離反し、オフ状態への接点切換えが行われる。また、かかるオフ状態で被押圧突起7に対する押圧操作力が除去されると、圧縮していたコイルばね9および付勢ばね16が復元するため可動接点15は再び固定接点14に当接してオン状態に戻り、被押圧突起7も図9に示す高さ位置まで上昇する。
本実施形態例ではさらに、固定接点14から下方へ延出する端子部14aにリード線17が接続されており、この接続部分を保護するために下ケース1の底部に樹脂等からなる封止材18が充填されている(ただし図8では封止材18は図示省略してある)。そして、下ケース1の底部が成形時にアンダーカットされていることから、封止材18が下ケース1から剥離してしまう危険性は少ない。
本発明の第1実施形態例に係るスイッチ装置の分解斜視図である。 該スイッチ装置の非操作時の断面図である。 該スイッチ装置の押圧操作時の断面図である。 該スイッチ装置に備えられるスライダの平面図である。 該スイッチ装置に備えられる下ケースの平面図である。 該下ケースの内部構造を示す破断斜視図である。 該下ケースに対するカバー部材の固定構造を示す断面図である。 本発明の第2実施形態例に係るスイッチ装置の斜視図である。 該スイッチ装置の非操作時の断面図である。
符号の説明
1 下ケース
1b 凹溝
1c 段部
2 接点収納部
2a 開口端
3〜5,14 固定接点
3a〜5a 端子部
6 スライダ
6a 本体部
7 被押圧突起
8,15 可動接点
8a〜8c 接点部
9 コイルばね(復帰ばね)
10 カバー部材
10a ガイド孔
10b 係止片
10c 係止リブ
11 防水ゴムカバー(防水部材)
11a 平板部
11b 膨出部
12 上ケース
12a 貫通孔
12b 係合孔
13 レバー
13a 回動部
16 付勢ばね
17 リード線
18 封止材

Claims (4)

  1. 開口端を有する接点収納部が設けられた下ケースと、前記接点収納部内に配設された固定接点と、被押圧突起を立設して前記下ケースに昇降可能に保持されたスライダと、該スライダの昇降動作に伴って前記固定接点に接離する可動接点と、前記被押圧突起を昇降可能にガイドするガイド孔を有して前記下ケースの前記開口端に固定されたカバー部材と、前記被押圧突起の先端部に密着固定される膨出部と前記カバー部材上に載置される平板部とを有する弾性材料からなる防水部材と、前記被押圧突起および前記膨出部を突出させる貫通孔を有して前記下ケースに蓋着される上ケースとを備え、前記平板部を前記上ケースと前記カバー部材との間で挟持したことを特徴とするスイッチ装置。
  2. 請求項1の記載において、前記平板部を前記カバー部材および前記下ケースの前記開口端周縁部上に載置したことを特徴とするスイッチ装置。
  3. 請求項1または2の記載において、前記カバー部材と前記平板部のいずれか一方に係止リブを突設し、該係止リブをいずれか他方に圧入させたことを特徴とするスイッチ装置。
  4. 請求項1〜3のいずれか1項の記載において、前記カバー部材を前記接点収納部内へ圧入・固定したことを特徴とするスイッチ装置。
JP2004109170A 2004-04-01 2004-04-01 スイッチ装置 Expired - Fee Related JP4323363B2 (ja)

Priority Applications (3)

Application Number Priority Date Filing Date Title
JP2004109170A JP4323363B2 (ja) 2004-04-01 2004-04-01 スイッチ装置
CNB2005100629527A CN100342466C (zh) 2004-04-01 2005-03-31 开关装置
TW94110504A TWI253660B (en) 2004-04-01 2005-04-01 Switch device

Applications Claiming Priority (1)

Application Number Priority Date Filing Date Title
JP2004109170A JP4323363B2 (ja) 2004-04-01 2004-04-01 スイッチ装置

Publications (2)

Publication Number Publication Date
JP2005294112A true JP2005294112A (ja) 2005-10-20
JP4323363B2 JP4323363B2 (ja) 2009-09-02

Family

ID=35050023

Family Applications (1)

Application Number Title Priority Date Filing Date
JP2004109170A Expired - Fee Related JP4323363B2 (ja) 2004-04-01 2004-04-01 スイッチ装置

Country Status (3)

Country Link
JP (1) JP4323363B2 (ja)
CN (1) CN100342466C (ja)
TW (1) TWI253660B (ja)

Cited By (4)

* Cited by examiner, † Cited by third party
Publication number Priority date Publication date Assignee Title
EP2006868A2 (en) 2007-06-20 2008-12-24 Alps Electric Co., Ltd. Push button switch device with lever
CN109637865A (zh) * 2018-12-29 2019-04-16 惠州冠泰电子有限公司 一种滑动式开关
CN110189943A (zh) * 2019-07-01 2019-08-30 温州港源电子有限公司 一种防水轻触开关结构
KR102118154B1 (ko) * 2020-02-03 2020-06-02 엠피아주식회사 방진, 방수형 자가발전 스위치 시스템

Families Citing this family (7)

* Cited by examiner, † Cited by third party
Publication number Priority date Publication date Assignee Title
JP5497591B2 (ja) * 2010-09-09 2014-05-21 アルプス電気株式会社 スイッチ装置
TWI423860B (zh) * 2011-01-04 2014-01-21 X Pole Prec Tools Inc Dust tooling machine
EP2760036A4 (en) * 2011-09-21 2015-06-24 Mik Denshi Kohgyo Co Ltd WATERPROOF AND DUST PROTECTED SWITCH
EP3196910B1 (en) * 2012-02-23 2019-06-12 Citizen Electronics Co., Ltd. Push switch
CN102683067B (zh) * 2012-05-18 2015-03-11 明瀚科技(苏州)有限公司 防水式按键开关
DE102014006943A1 (de) * 2014-02-15 2015-08-20 Johnson Electric Germany GmbH & Co. KG Elektrischer Schalter mit einem eine obere Fläche aufweisenden Gehäuse
DE102014005433A1 (de) * 2014-02-15 2015-08-20 Johnson Electric Germany GmbH & Co. KG Mikroschalter mit einem aus Schalterbasis und Schalterdeckel ausgebildeten Gehäuse

Family Cites Families (2)

* Cited by examiner, † Cited by third party
Publication number Priority date Publication date Assignee Title
JP3837779B2 (ja) * 1996-07-24 2006-10-25 松下電器産業株式会社 防水スイッチ
JP4072365B2 (ja) * 2002-03-27 2008-04-09 アルプス電気株式会社 密封型のプッシュスイッチ

Cited By (7)

* Cited by examiner, † Cited by third party
Publication number Priority date Publication date Assignee Title
EP2006868A2 (en) 2007-06-20 2008-12-24 Alps Electric Co., Ltd. Push button switch device with lever
JP2009004175A (ja) * 2007-06-20 2009-01-08 Alps Electric Co Ltd レバー付き押し釦スイッチ装置
EP2006868A3 (en) * 2007-06-20 2009-11-11 Alps Electric Co., Ltd. Push button switch device with lever
CN109637865A (zh) * 2018-12-29 2019-04-16 惠州冠泰电子有限公司 一种滑动式开关
CN109637865B (zh) * 2018-12-29 2023-09-19 惠州冠泰电子有限公司 一种滑动式开关
CN110189943A (zh) * 2019-07-01 2019-08-30 温州港源电子有限公司 一种防水轻触开关结构
KR102118154B1 (ko) * 2020-02-03 2020-06-02 엠피아주식회사 방진, 방수형 자가발전 스위치 시스템

Also Published As

Publication number Publication date
JP4323363B2 (ja) 2009-09-02
TWI253660B (en) 2006-04-21
CN1677592A (zh) 2005-10-05
TW200535883A (en) 2005-11-01
CN100342466C (zh) 2007-10-10

Similar Documents

Publication Publication Date Title
TWI405229B (zh) Push push switch
JP4371987B2 (ja) プッシュオンスイッチ
US7547858B2 (en) Push button switch
US7740166B2 (en) Push switch
EP2015328A2 (en) Push-button switch
JP4323363B2 (ja) スイッチ装置
US6114644A (en) Tact switch
JP4247029B2 (ja) 押釦スイッチ
JP4508957B2 (ja) 押釦スイッチ
JP4815636B2 (ja) スライドスイッチ
US6797904B1 (en) Microswitch
JP2004273331A (ja) 押釦スイッチ
JPH0389421A (ja) 押ボタンスイツチ
KR100405994B1 (ko) 푸쉬버튼 스위치
JP4209222B2 (ja) 押釦スイッチ
CN1036100C (zh) 按钮开关
CN211957507U (zh) 一种微动开关
JP4457097B2 (ja) 横押し型プッシュスイッチ
JP2012099327A (ja) レバースイッチ装置
US20110083950A1 (en) Multi-directional tact switch
JP4044395B2 (ja) 押釦スイッチ
JP2005093347A (ja) 押釦スイッチ
JP4649393B2 (ja) 横押し型2段動作スイッチ
US6967294B1 (en) Microswitch
JP3875476B2 (ja) 押釦スイッチ

Legal Events

Date Code Title Description
A621 Written request for application examination

Free format text: JAPANESE INTERMEDIATE CODE: A621

Effective date: 20060913

A977 Report on retrieval

Free format text: JAPANESE INTERMEDIATE CODE: A971007

Effective date: 20081224

A131 Notification of reasons for refusal

Free format text: JAPANESE INTERMEDIATE CODE: A131

Effective date: 20090217

A521 Request for written amendment filed

Free format text: JAPANESE INTERMEDIATE CODE: A523

Effective date: 20090414

TRDD Decision of grant or rejection written
A01 Written decision to grant a patent or to grant a registration (utility model)

Free format text: JAPANESE INTERMEDIATE CODE: A01

Effective date: 20090512

A01 Written decision to grant a patent or to grant a registration (utility model)

Free format text: JAPANESE INTERMEDIATE CODE: A01

A61 First payment of annual fees (during grant procedure)

Free format text: JAPANESE INTERMEDIATE CODE: A61

Effective date: 20090604

R150 Certificate of patent or registration of utility model

Free format text: JAPANESE INTERMEDIATE CODE: R150

Ref document number: 4323363

Country of ref document: JP

Free format text: JAPANESE INTERMEDIATE CODE: R150

FPAY Renewal fee payment (event date is renewal date of database)

Free format text: PAYMENT UNTIL: 20120612

Year of fee payment: 3

FPAY Renewal fee payment (event date is renewal date of database)

Free format text: PAYMENT UNTIL: 20120612

Year of fee payment: 3

FPAY Renewal fee payment (event date is renewal date of database)

Free format text: PAYMENT UNTIL: 20130612

Year of fee payment: 4

FPAY Renewal fee payment (event date is renewal date of database)

Free format text: PAYMENT UNTIL: 20140612

Year of fee payment: 5

S533 Written request for registration of change of name

Free format text: JAPANESE INTERMEDIATE CODE: R313533

R350 Written notification of registration of transfer

Free format text: JAPANESE INTERMEDIATE CODE: R350

LAPS Cancellation because of no payment of annual fees