JP2005294094A - 面状発熱体 - Google Patents

面状発熱体 Download PDF

Info

Publication number
JP2005294094A
JP2005294094A JP2004108840A JP2004108840A JP2005294094A JP 2005294094 A JP2005294094 A JP 2005294094A JP 2004108840 A JP2004108840 A JP 2004108840A JP 2004108840 A JP2004108840 A JP 2004108840A JP 2005294094 A JP2005294094 A JP 2005294094A
Authority
JP
Japan
Prior art keywords
electrode
terminal member
die
lead wire
heating element
Prior art date
Legal status (The legal status is an assumption and is not a legal conclusion. Google has not performed a legal analysis and makes no representation as to the accuracy of the status listed.)
Granted
Application number
JP2004108840A
Other languages
English (en)
Other versions
JP4552486B2 (ja
Inventor
Takehiko Shigeoka
武彦 重岡
Masayuki Terakado
誠之 寺門
Kazuyuki Obara
和幸 小原
Takahito Ishii
隆仁 石井
Keizo Nakajima
啓造 中島
Current Assignee (The listed assignees may be inaccurate. Google has not performed a legal analysis and makes no representation or warranty as to the accuracy of the list.)
Panasonic Holdings Corp
Original Assignee
Matsushita Electric Industrial Co Ltd
Priority date (The priority date is an assumption and is not a legal conclusion. Google has not performed a legal analysis and makes no representation as to the accuracy of the date listed.)
Filing date
Publication date
Application filed by Matsushita Electric Industrial Co Ltd filed Critical Matsushita Electric Industrial Co Ltd
Priority to JP2004108840A priority Critical patent/JP4552486B2/ja
Publication of JP2005294094A publication Critical patent/JP2005294094A/ja
Application granted granted Critical
Publication of JP4552486B2 publication Critical patent/JP4552486B2/ja
Anticipated expiration legal-status Critical
Expired - Fee Related legal-status Critical Current

Links

Images

Classifications

    • HELECTRICITY
    • H05ELECTRIC TECHNIQUES NOT OTHERWISE PROVIDED FOR
    • H05BELECTRIC HEATING; ELECTRIC LIGHT SOURCES NOT OTHERWISE PROVIDED FOR; CIRCUIT ARRANGEMENTS FOR ELECTRIC LIGHT SOURCES, IN GENERAL
    • H05B3/00Ohmic-resistance heating
    • H05B3/20Heating elements having extended surface area substantially in a two-dimensional [2D] plane, e.g. plate-heater
    • HELECTRICITY
    • H05ELECTRIC TECHNIQUES NOT OTHERWISE PROVIDED FOR
    • H05BELECTRIC HEATING; ELECTRIC LIGHT SOURCES NOT OTHERWISE PROVIDED FOR; CIRCUIT ARRANGEMENTS FOR ELECTRIC LIGHT SOURCES, IN GENERAL
    • H05B2203/00Aspects relating to Ohmic resistive heating covered by group H05B3/00
    • H05B2203/002Heaters using a particular layout for the resistive material or resistive elements
    • H05B2203/006Heaters using a particular layout for the resistive material or resistive elements using interdigitated electrodes

Landscapes

  • Surface Heating Bodies (AREA)
  • Resistance Heating (AREA)

Abstract

【課題】半田接続ができない素材を用いた電極であっても、半田によるリード線接続を可能にし、許容電流が大きく信頼性に優れた端子接続を有する面状発熱体を提供すること。
【解決手段】電極13の周囲の一部に電極13と所定距離以上離して位置するよう型抜き部17を設け、その型抜き部17に端子部材18を面接合するとともに、型抜き部17からリード線19を端子部材18に接続するようにしている。これによって、被覆材16で覆った後、型抜き部17から端子部材18を面接合するとともに、型抜き部17からリード線19を端子部材18に接続することができるので、加工工程が簡単になるとともに、加工時の諸課題が解決される。
【選択図】図1

Description

本発明は、暖房、加熱、乾燥などの熱源として用いることのできる面状発熱体に関するものである。
従来、この種の発熱体は、半田形成が可能な銅箔電極のリード接続部に半田をあらかじめ形成し、その上から電気絶縁フィルムを被覆し、半田を溶着したリード線を半田ごてによって加熱し、電気絶縁フィルムに貫通穴を形成すると共に半田による接合をしている(例えば、特許文献1参照)。
図4、5は、特許文献1に記載された従来の発熱体を示すものである。図に示すように、電気絶縁基板1に銅箔電極2がホットメルト接着剤3によって貼り付けられており、この一対の銅箔電極2の間に発熱体材料4が形成されている。これらの電気絶縁基板1及び銅箔電極2及び発熱体材料4の表面はホットメルト接着剤付きの電気絶縁フィルム5で被覆されている。銅箔電極2のリード線7接続部にはあらかじめ半田6が形成され、その後に電気絶縁フィルム5が被覆されている。リード線7との接続は、半田6を溶着したリード線7を半田ごてによって加熱し、ホットメルト接着剤付き電気絶縁フィルム5に貫通穴を形成すると共に半田6及び半田6による接合を可能にする構成となっている。
特開昭57−202079号公報
しかしながら、前記従来の構成では、例えば、細かく枝分かれしたり、曲線を伴う複雑な電極パターンを形成しようとしても、金属箔材をホットメルト接着剤3で基板1上に貼りつける方法では加工が困難であり、実用上は、単純な平行電極パターンに留まっていた。当然ながら、エッチングのような高度な工程を使用すれば複雑なパターンを描くことは可能であるが、通常、電極が形成される面積は極めて小さく、大半の電極材料を除去することになり、特に、大きな面積の発熱体の場合、省資源及び材料価格の観点から、極めて実現性に乏しい状況にあった。また、金属箔材からなる電極では、伸縮性や柔軟性のある発熱体を形成しようとしても、強度が強すぎるためにおのずから限界がある上に、伸縮や曲げを繰返されたときの耐久性が大きな課題であった。
一方、エポキシ樹脂中に銀粉末を分散させたような導電性ペーストを用い、印刷によって電極を形成するような場合は、曲線を伴う複雑な電極パターンを形成することは容易であり、伸縮性や柔軟性にも対応できるが、従来の発熱体のように、被覆を施す前に、端子部に半田6付けをしようとしても、樹脂成分によってはじかれるために半田6を形成することはできなかった。したがって、被覆を貫通してリード線7を半田付けするという構成は実現できなかった。このように、半田付けのできない材料を電極に使用する場合には、被覆した後に電極の一部が露出するように様々な工夫を凝らし、その部分に圧着端子でリード線7を接続する方法が一般的であった。被覆した後に電極の一部を露出させるためには、電極の一部が被覆の外に出るように延長するか、蛇行させる等の余分なパターンが必要であった。
また、電極の一部に離型紙を設けておいて、被覆後にその箇所に孔を開けるか、被覆に孔を開け、その孔が電極の所定の位置に来るような工法で加工する等、複雑な工程が必要であった。なお、圧着による端子接続では、樹脂収縮による圧着力低下が伴うので、接触抵抗を増大させない格別の対策が別途必要であった。なお、特例的には、電極の一部を露出させる必要がなく、被覆の外側から端子を食い込ませる方式の端子も考案されているが、電流に制約があり、電流が大きい用途には対応できなかった。このように、従来の発熱体では、細かく枝分かれしたり、曲線を伴う複雑な電極パターンを形成できず、柔軟性や伸縮性にも乏しいものであったが、被覆の外から半田でリード線を接続することは可能であった。一方、印刷可能な導電性ペーストによる電極では、細かく枝分かれしたり、曲線を伴う複雑な電極パターンを形成することは容易であり、柔軟性や伸縮性にも対応可能なものであったが、被覆の外から半田でリード線を接続することはできなかった。また、その代替のリード線接続方法も、構成や工程が複雑であったり、樹脂収縮による接触抵抗対策が必要であったり、大電流では使用できない等、様々な課題があった。
本発明は、半田接続ができない素材を用いた電極であっても、半田によるリード線接続を可能にするものであり、端子形成の生産性に優れるばかりでなく、許容電流が大きく、信頼性に優れた端子接続を有する面状発熱体を提供することを目的とするものである。特に、導電性ペーストを用いた印刷による電極のように、パターン成形性、柔軟性、伸縮性等に優れている半面、半田接続ができない素材であっても、発熱体の表面に被覆を施した状態での、半田によるリード線接続を可能にするものである。また、このような電極を用いた場合の許容電流と信頼性を大幅に改善するものであり、多くの電流が必要とされる低電圧用の発熱体や、突入時の電流が大きい正抵抗温度特性を有する発熱体を形成する場合に、極めて有用である。
前記課題を解決するために、本発明の面状発熱体は、電気絶縁性基材と、電気絶縁性基材上に形成された電極及び電極により給電される高分子抵抗体と、片面に電極の給電部に給電するリード線を接続しもう一方の面に導電性樹脂材料を形成した端子部材と、電極と端子部材及び高分子抵抗体を覆い電気絶縁性基材と密着させて配設した被覆材とを備え、前記電極の周囲の一部に電極と所定距離以上離して位置するよう型抜き部を設けその型抜き部分に端子部材を面接合するとともに、型抜き部からリード線を端子部材に接続するように構成としてある。
上記した構成によって、電極の給電部に形成される端子部材は導電性樹脂材料を介して電極に接合するようにしてあるため、電極の材質に係わらず電気的及び物理的接合を可能となり、特に、印刷可能な電極材料はほとんど半田接続が不可能であるが、導電性樹脂材料を介することによって端子部材を面接合することができ、この端子部材に半田接続が可能となる。そして、上述の接続方法によれば、導電性樹脂材料は薄肉の面状に形成することによって接合抵抗値を極めて低くすることができるため、大電流を流すことができ、また、面状に接合することによって十分な強度を確保できるようになる。
そしてまた、電極の周囲の一部に電極と所定距離以上離して位置するよう型抜き部を設けその型抜き部分に端子部材を面接合するとともに、型抜き部からリード線を端子部材に接続するようにしてあるので、電極及び高分子抵抗体を電気絶縁性基材を密着させた被覆材で覆った後、型抜き部から端子部材を面接合するとともに、型抜き部からリード線を端子部材に接続する加工ができるようになり、加工工程が簡単になるとともに、加工時の課題が解消される。
即ち、被覆材で覆う前に端子部材を取り付けるようにすると、端子部材の取り付ける工程が途中に入り、ロール状の電気絶縁性基材上に電極及び電極により給電される高分子抵抗体を印刷形成し、電気絶縁性基材を密着させた被覆材で覆う工程のスピードと合わし難く、スムーズに流れなくなる。またそれに加え、ロール状の電気絶縁性基材上に電極及び電極により給電される高分子抵抗体を印刷形成したものに、端子部材の取り付けたものを巻き取り、次の被覆材で覆う工程に移るまで、端子部材の位置が移動したり外れたりする心配があり、端子部材の仮止めが必要となりその分工程が複雑になり課題が増えるとともに、端子部材の取り付けたものを巻き取り時に、端子部材の部分が膨らみ、巻き取りがうまくできないなどの加工時の課題が生じる。ところが、電気絶縁性基材を密着させた被覆材で覆った後に端子部材を取り付けるようにすると、ロール状の電気絶縁性基材上に電極及び電極により給電される高分子抵抗体を印刷形成し、そのまま電気絶縁性基材を密着させた被覆材で覆う工程へ、一環として作業ができるようになり、加工工程が簡単になりスムーズに流れるようになり、端子部材の仮止めや巻き取りなどの加工時の課題も解消されるようになる。
本発明の面状発熱体は、複雑な電極パターンを描け、柔軟性にも優れる半面、半田接続が不可能な場合が多い印刷によって形成された電極であっても、半田によってリード線を形成することを可能にするものであり、生産性に極めて優れていると同時に、電気的にも物理的にも極めて強固な接合であり、高電流に耐え、高信頼性である。さらに、電源電圧が低いために多くの電流が必要とされる場合や、速熱性を得るために大きな突入電流を必要とする正抵抗温度特性を有する発熱体を形成する場合には、極めて有用である。
また、加工工程が簡単になるとともに、加工時の課題が解消されるようになり、生産性の向上が図れ、安価に構成できるようになる。
さらに、型抜き部は電極の周囲一部に電極と所定距離以上離して位置するよう型抜き部を設けてあるので、型抜き部の端部に電極部分がなく、構造的に、型抜き時の位置ズレなどで生じやすい電極及び高分子抵抗体の露出に対して余裕を持って防止でき、また、電極は型抜き部の端部より充分離れて位置し、絶縁性保護処理を施すことで簡単に、電気絶縁性基材とそれに密着させて配設した被覆材に保護され、外気と遮断されて構成されるようになり、湿気や異物による汚染劣化や、電極のマイグレーションによるショートなどの不具合を防止でき、より性能の安定性や耐久性を向上させることができる。
第1の発明は、電気絶縁性基材と、電気絶縁性基材上に形成された電極及び電極により給電される高分子抵抗体と、片面に電極の給電部に給電するリード線を接続しもう一方の面に導電性樹脂材料を形成した端子部材と、電極と端子部材及び高分子抵抗体を覆い電気絶縁性基材と密着させて配設した被覆材とを備え、前記電極の周囲の一部に電極と所定距離以上離して位置するよう型抜き部を設けその型抜き部分に端子部材を面接合するとともに、型抜き部からリード線を端子部材に接続するように構成してある。
そして、電極の給電部に形成される端子部材は導電性樹脂材料を介して電極に接合するようにしてあるため、電極の材質に係わらず電気的及び物理的接合を可能となり、特に、印刷可能な電極材料はほとんど半田接続が不可能であるが、導電性樹脂材料を介することによって端子部材を面接合することができ、この端子部材に半田接続が可能となる。そして、上述の接続方法によれば、導電性樹脂材料は薄肉の面状に形成することによって接合抵抗値を極めて低くすることができるため、大電流を流すことができ、また、面状に接合することによって十分な強度を確保できるようになる。
従って、複雑な電極パターンを描け、柔軟性にも優れる半面、半田接続が不可能な場合が多い印刷によって形成された電極であっても、半田によってリード線を形成することを可能にするものであり、生産性に極めて優れていると同時に、電気的にも物理的にも極めて強固な接合であり、高電流に耐え、高信頼性である。さらに、電源電圧が低いために多くの電流が必要とされる場合や、速熱性を得るために大きな突入電流を必要とする正抵抗温度特性を有する発熱体を形成する場合には、極めて有用である。
そしてまた、電極の周囲の一部に型抜き部を設けその型抜き部分に端子部材を面接合するとともに、型抜き部からリード線を端子部材に接続するようにしてあるので、電極及び高分子抵抗体を電気絶縁性基材を密着させた被覆材で覆った後、型抜き部から端子部材を面接合するとともに、型抜き部からリード線を端子部材に接続する加工ができるようになり、加工工程が簡単になるとともに、加工時の課題が解消される。
即ち、被覆材で覆う前に端子部材を取り付けるようにすると、端子部材の取り付ける工程が途中に入り、ロール状の電気絶縁性基材上に電極及び電極により給電される高分子抵抗体を印刷形成し、電気絶縁性基材を密着させた被覆材で覆う工程のスピードと合わし難く、スムーズに流れなくなる。またそれに加え、ロール状の電気絶縁性基材上に電極及び電極により給電される高分子抵抗体を印刷形成したものに、端子部材の取り付けたものを巻き取り、次の被覆材で覆う工程に移るまで、端子部材の位置が移動したり外れたりする心配があり、端子部材の仮止めが必要となりその分工程が複雑になり課題が増えるとともに、端子部材の取り付けたものを巻き取り時に、端子部材の部分が膨らみ、巻き取りがうまくできないなどの加工時の課題が生じる。
ところが、電気絶縁性基材を密着させた被覆材で覆った後に端子部材を取り付けるようにすると、ロール状の電気絶縁性基材上に電極及び電極により給電される高分子抵抗体を印刷形成し、そのまま電気絶縁性基材を密着させた被覆材で覆う工程へ、一環として作業ができるようになり、加工工程が簡単になりスムーズに流れるようになり、端子部材の仮止めや巻き取りなどの加工時の課題も解消されるようになり、生産性の向上が図れ、安価に構成できるようになる。
さらに、型抜き部は電極の周囲一部に電極と所定距離以上離して位置するよう型抜き部を設けてあるので、型抜き部の端部に電極部分がなく、構造的に、型抜き時の位置ズレなどで生じやすい電極及び高分子抵抗体の露出に対して余裕を持って防止でき、また、電極は型抜き部の端部より充分離れて位置し、絶縁性保護処理を施すことで簡単に、電気絶縁性基材とそれに密着させて配設した被覆材に保護され、外気と遮断されて構成されるようになり、湿気や異物による汚染劣化や、電極のマイグレーションによるショートなどの不具合を防止でき、より性能の安定性や耐久性を向上させることができる。
第2の発明は、特に第1の発明の端子部材を取り付ける電極の給電部の部分に離型処理を施し、電極及び高分子抵抗体を電気絶縁性基材を密着させた被覆材で覆った後、端子部材を接着される電極の給電部の周囲の一部に型抜き部を設け、型抜き部から端子部材を取り付けるとともに、リード線を端子部材に接続するように構成としてある。
そして、離型処理を施してあるので、端子部材を取り付ける部分の位置する電極の給電部の部分が、電気絶縁性基材を密着させた被覆材で覆った後でも型抜き部を設けることで、簡単に露出させることができ、容易にその型抜き部から端子部材を面接合することができるようになり、生産性の向上が図れ、安価に構成できるようになる。例えばロール状の電気絶縁性基材上に電極及び電極により給電される高分子抵抗体を印刷形成したのちに、端子部材を取り付ける部分の位置する周囲の電極の給電部の部分に離型材を印刷することで、離型処理が構成でき、簡単に安定して端子部材を取り付けができるようになる。
第3の発明は、前記端子部材の導電性樹脂材料が電極に対して熱接着性を示すとともに熱硬化性とした構成としてある。
そして、前記端子部材の導電性樹脂材料が電極に対して熱接着性を示すとともに熱硬化性とした構成としてあるので、端子部材の導電性樹脂材料が電極に接合される前は未硬化の状態とし、面接合時に熱をかけることで接着が可能となり、リード線の取り付け時等の電極に熱をかけた時に熱接着して硬化させることにより、その熱硬化の過程において、揮発分が除去されているので発泡せず、緻密な構造となり、十分な強度が得ら、導電性樹脂材料の本来の接着強度を発揮でき、簡単な構成で端子部材が電極に確実に面接合できるようになる。
第4の発明は、前記型抜き部およびリード線の取り付け部に絶縁性保護処理を施した構成としてある。
そして、絶縁性保護材を塗布した構成としてあるので、型抜き部およびリード線の取り付け部から電極及び電極により給電される高分子抵抗体が絶縁性保護材に保護され、外気と遮断されて構成されるようになり、湿気や異物による汚染劣化や、電極のマイグレーションによるショートなどの不具合を防止でき、より性能の安定性や耐久性を向上させることができる。
以下、本発明の実施の形態について、図面を参照しながら説明する。なお、この実施の形態によって本発明が限定されるものではない。
(実施の形態1)
図1〜図3は、本発明の実施の形態1における面状発熱体の概略構成図を示し、図1は平面図、図2は概略斜視図、図3は端子部近傍の断面図である。
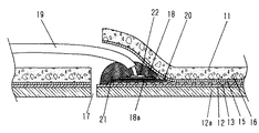
図1において、面状発熱体11は、ポリエステル不織布12aにラミネートされたポリエステルフィルム等の薄肉の電気絶縁性基材12上に銀ペーストの印刷・乾燥により形成した一対の電極13と、電極13に重なるように高分子抵抗体インクを印刷・乾燥により形成した高分子抵抗体14を形成している。そして、上記電極13、高分子抵抗体14、及び電気絶縁性基材12と接着性を有するアクリル系接着剤等の接着性樹脂層15を予め形成されたポリエステルフィルム等の薄肉の電気絶縁性オーバコート材をラミネートした被覆材16を貼り合わせて形成される。
上記電極13は、対向するように幅が広い主電極13a、13bを配設し、それぞれの主電極13a,13bから交互に櫛形形状の複数の枝電極13c、13dを設けてあり、これに重なるように配設した高分子抵抗体14に枝電極13c、13dより給電することで、高分子抵抗体14に電流が流れ、発熱するようになる。この高分子抵抗体14はPTC特性を有し、温度が上昇すると高分子抵抗体14の抵抗値が上昇し、所定の温度になるように自己温度調節機能を有するようになり、温度コントロールが不要で安全性の高い面状発熱体としての機能を有するようになる。
また、電極13の給電部分には電極13の周囲の一部に電極13と所定距離以上離して位置するよう型抜き部17が配設してあり、その型抜き部分に端子部材18を面接合するとともに、型抜き部17からリード線19を端子部材18に接続するように構成してある。さらに、端子部材18を取り付ける部分の位置する周囲の電極13の給電部の部分には、離型材20を印刷して離型処理を施してあり、また、型抜き部17およびリード線19の取り付け部には、シリコン接着剤などの絶縁性保護材21を塗布してある。
この端子部材18の電極13の給電部分に接する面には導電性樹脂材料18aを形成してあり、この導電性樹脂材料18aによって電極13と端子部材18の間は電気的及び物理的に接合されていて、導電性樹脂材料18aは電極13に対して熱接着性を示すとともに熱硬化性としてあり、共重合ポリエステルに導電性付与材として銀粉末を分散し、さらに、硬化剤としてイソシアネートを適量添加して作製された導電性ペーストを使用している。この段階の導電性樹脂材料18aは、イソシアネートによる硬化反応が生じないように低温で乾燥されているために熱可塑性を保持しており、融点以上の温度で加圧すれば電極13との熱融着が可能である状態にある。この場合、特に、電極13に導電性樹脂材料18aは同種の樹脂を使用すると熱融着性は極めて良く、十分な熱融着強度が得られる。
ここで、加工工程の順序としては、まず、ポリエステル不織布12aにラミネートされたポリエステルフィルム等の薄肉の電気絶縁性基材12をロール状に作成したものに、銀ペーストの印刷・乾燥により一対の電極13を形成する。次に、電極13に重なるように高分子抵抗体インクを印刷・乾燥により高分子抵抗体14を形成するとともに、端子部材18を取り付ける部分の位置する周囲の電極13の給電部の部分には、離型材20を印刷・乾燥して離型処理を施したのちに、電極13、高分子抵抗体14、及び電気絶縁性基材12と接着性を有するアクリル系接着剤等の接着性樹脂層15を予め形成されたポリエステルフィルム等の薄肉の電気絶縁性オーバコート材をラミネートした被覆材16を貼り合わせて形成して、発熱体本体部分が完成される。
次に、この発熱体本体部分の外形抜きと同時に、電極13の周囲の一部に電極13と所定距離以上離して位置するようコ型形状型抜きを行った後、そのコ型形状型抜き部17から端子部材18を挿入し、被覆材16の上から、端子部材18の部分を所定温度で所定時間加圧して、電極13と端子部材18を面接合し、そして、コ型形状型抜き部17からリード線19を半田22で接続し、最後に、型抜き部17およびリード線19の取り付け部にシリコン接着剤などの絶縁性保護材21を塗布して組み立てが完了する。
このように、電極13の周囲の一部にコ型形状型抜き部17を設けその型抜き部17から端子部材18を面接合するとともに、型抜き部17からリード線19を端子部材18に接続するようにしてあるので、電極13及び高分子抵抗体14を電気絶縁性基材を密着させた被覆材16で覆った後、型抜き部17から端子部材18を面接合するとともに、型抜き部17からリード線19を端子部材18に接続する加工ができるようになり、加工工程が簡単になるとともに、加工時の課題が解消される。
即ち、被覆材16で覆う前に端子部材18を取り付けるようにすると、端子部材18の取り付ける工程が途中に入り、ロール状の電気絶縁性基材12上に電極13及び電極13により給電される高分子抵抗体14を印刷形成し、電気絶縁性基材12を密着させた被覆材16で覆う工程のスピードと合わし難く、スムーズに流れなくなる。またそれに加え、ロール状の電気絶縁性基材12上に電極13及び電極13により給電される高分子抵抗体14を印刷形成したものに、端子部材18の取り付けたものを巻き取り、次の被覆材16で覆う工程に移るまで、端子部材18の位置が移動したり外れたりする心配があり、端子部材18の仮止めが必要となりその分工程が複雑になり課題が増えるとともに、端子部材18の取り付けたものを巻き取り時に、端子部材18の部分が膨らみ、巻き取りがうまくできないなどの加工時の課題が生じる。
ところが、電気絶縁性基材12を密着させた被覆材16で覆った後に端子部材18を取り付けるようにすると、ロール状の電気絶縁性基材12上に電極13及び電極13により給電される高分子抵抗体14を印刷形成し、そのまま電気絶縁性基材12を密着させた被覆材16で覆う工程へ、一環として作業ができるようになり、加工工程が簡単になりスムーズに流れるようになり、端子部材18の仮止めや巻き取りなどの加工時の課題も解消されるようになり、生産性の向上が図れ、安価に構成できるようになる。
また、電極13の給電部に形成される端子部材18は導電性樹脂材料18aを介して電極13に接合するようにしてあるため、電極13の材質に係わらず電気的及び物理的接合を可能となり、特に、印刷可能な電極13材料はほとんど半田22接続が不可能であるが、導電性樹脂材料18aを介することによって端子部材18を面接合することができ、この端子部材18に半田22接続が可能となる。そして、上述の接続方法によれば、導電性樹脂材料18aは薄肉の面状に形成することによって接合抵抗値を極めて低くすることができるため、大電流を流すことができ、また、面状に接合することによって十分な強度を確保できるようになる。
従って、複雑な電極13パターンを描け、柔軟性にも優れる半面、半田22接続が不可能な場合が多い印刷によって形成された電極13であっても、半田22によってリード線19を形成することを可能にするものであり、生産性に極めて優れていると同時に、電気的にも物理的にも極めて強固な接合であり、高電流に耐え、高信頼性である。さらに、電源電圧が低いために多くの電流が必要とされる場合や、速熱性を得るために大きな突入電流を必要とする正抵抗温度特性を有する発熱体を形成する場合には、極めて有用である。
そして、端子部材18の導電性樹脂材料18aが電極13に対して熱接着性を示すとともに熱硬化性とした構成としてあるので、端子部材18の導電性樹脂材料18aが電極13に接合される前は未硬化の状態とし、面接合時に熱をかけることで接着が可能となり、リード線19の取り付け時等の電極13に熱をかけた時に熱接着して硬化させることにより、その熱硬化の過程において、揮発分が除去されているので発泡せず、緻密な構造となり、十分な強度が得られ、導電性樹脂材料18aの本来の接着強度を発揮でき、簡単な構成で端子部材18が電極13に確実に面接合できるようになる。
つまり、電極13の給電部に形成される端子部材18は、導電性樹脂材料18a5を介して電極13に接合されるために、電極13の材質が共重合ポリエステル樹脂中に導電性付与材として銀粉末を分散したような、いわゆる、樹脂系の導電性ペーストであっても、電気的及び物理的接合を可能にする。当然、金属の薄板ような電極13であっても電気的及び物理的接合が可能であって、電極13の材質による制約を受けることなく端子部材18を接合できる。
また、導電性樹脂材料18aは薄肉の面状で介在するために、接合部の抵抗値を極めて低く設定することが可能であり、大電流を流し続けてもほとんど発熱しないようにすることができ、接合面積を確保することによって十分な強度を確保することができるようになる。
さらに、端子部材18の外側に形成される外装材6が端子部材18を支えるので、この接合強度を一層、強固なものとすることができる。この結果、許容電流が大きく、高信頼性かつ高生産性の給電部を形成できるようになり、この構成は、電源電圧が低いために多くの電流が必要とされる場合や、速熱性を得るために大きな突入電流を必要とする正抵抗温度特性を有する発熱体を形成する場合には、極めて効果的である。
さらに、離型材20を印刷した離型処理を施してあるので、端子部材18を取り付ける部分の位置する電極13の給電部の部分が、電気絶縁性基材12を密着させた被覆材16で覆った後でも型抜き部17を設けることで、簡単に露出させることができ、容易にその型抜き部17から端子部材18を面接合することができるようになり、生産性の向上が図れ、安価に構成できるようになる。例えばロール状の電気絶縁性基材12上に電極13及び電極13により給電される高分子抵抗体14を印刷形成したのちに、端子部材18を取り付ける部分の位置する周囲の電極13の給電部の部分に離型材20を印刷することで、離型処理が構成でき、簡単に安定して端子部材18を取り付けができるようになる。
そして、型抜き部17およびリード線19の取り付け部には、シリコン接着剤などの絶縁性保護材21塗布した構成としてあるので、型抜き部17およびリード線19の取り付け部から電極13及び電極13により給電される高分子抵抗体14が絶縁性保護材21に保護され、外気と遮断されて構成されるようになり、湿気や異物による汚染劣化や、電極13のマイグレーションによるショートなどの不具合を防止でき、より性能の安定性や耐久性を向上させることができる。また、端子部材18は絶縁性保護材21によっても保持されるために、電極13とリード線19を電気的に安定に接続するだけでなく、物理的にも強固に接続することができるようになる。
なお、上記実施の形態1では、離型材20を印刷するように構成したが、これは塗布してもよく、その他各部の構成も本発明の目的を達成する範囲であればその構成はどのようなものであってもよい。
以上のように、本発明は柔軟性を有する半田22接続ができない素材を用いた電極13であっても、半田22によるリード線19接続を可能にするものであり、端子形成の生産性に優れるばかりでなく、許容電流が大きく、信頼性に優れた端子接続することが可能となるので、主に車輌に用いられるカーシートヒータや、ハンドルヒータ等の車輌用や暖房器具や加熱器具等の用途にも適用できる。
本発明の実施の形態1における面状発熱体の構成を示す平面図 同面状発熱体の斜視図 同面状発熱体の端子部近傍の断面図 従来の面状発熱体の構成を示す平面図 同面状発熱体の断面図
符号の説明
11 面状発熱体
12 電気絶縁性基材
13 電極13
13a、13c 主電極
13b、13d 枝電極
14 高分子抵抗体
15 接着性樹脂層
16 被覆材16
17 コ型形状型抜き部
18 端子部材
18a 導電性樹脂材料
19 リード線
20 離型材(離型処理)
21 絶縁性保護材

Claims (4)

  1. 電気絶縁性基材と、該電気絶縁性基材上に形成された電極及び該電極により給電される高分子抵抗体と、一方の面に電極の給電部に給電するリード線を接続し他方の面に導電性樹脂材料を形成した端子部材と、前記電極と前記端子部材及び前記高分子抵抗体を覆い前記電気絶縁性基材と密着させて配設した被覆材とを備え、前記電極の周囲に前記電極と所定距離以上離して位置するよう型抜き部を設け、該型抜き部に前記端子部材を面接合するとともに、前記型抜き部から前記リード線を前記端子部材に接続するように構成した面状発熱体。
  2. 端子部材を取り付ける電極の給電部に離型処理を施し、前記電極及び高分子抵抗体に電気絶縁性基材を密着させた被覆材で覆った後、前記端子部材と接着される電極の給電部の周囲に型抜き部を設け、該型抜き部から前記端子部材を取り付けるとともに、リード線を前記端子部材に接続するように構成した請求項1に記載の面状発熱体。
  3. 端子部材の導電性樹脂材料が電極に対して熱接着性と熱硬化性とを有する請求項1又は2記載の面状発熱体。
  4. 型抜き部およびリード線の取り付け部に絶縁性保護処理を施した請求項1、2又は3記載の面状発熱体。
JP2004108840A 2004-04-01 2004-04-01 面状発熱体 Expired - Fee Related JP4552486B2 (ja)

Priority Applications (1)

Application Number Priority Date Filing Date Title
JP2004108840A JP4552486B2 (ja) 2004-04-01 2004-04-01 面状発熱体

Applications Claiming Priority (1)

Application Number Priority Date Filing Date Title
JP2004108840A JP4552486B2 (ja) 2004-04-01 2004-04-01 面状発熱体

Publications (2)

Publication Number Publication Date
JP2005294094A true JP2005294094A (ja) 2005-10-20
JP4552486B2 JP4552486B2 (ja) 2010-09-29

Family

ID=35326786

Family Applications (1)

Application Number Title Priority Date Filing Date
JP2004108840A Expired - Fee Related JP4552486B2 (ja) 2004-04-01 2004-04-01 面状発熱体

Country Status (1)

Country Link
JP (1) JP4552486B2 (ja)

Cited By (6)

* Cited by examiner, † Cited by third party
Publication number Priority date Publication date Assignee Title
JP2005302301A (ja) * 2004-04-06 2005-10-27 Matsushita Electric Ind Co Ltd 面状発熱体
JP2009266631A (ja) * 2008-04-25 2009-11-12 Panasonic Corp 高分子発熱体
JP2010020989A (ja) * 2008-07-10 2010-01-28 Panasonic Corp 高分子発熱体
KR101341622B1 (ko) 2012-10-24 2013-12-16 코오롱글로텍주식회사 인터커넥팅 장치
JP2016085889A (ja) * 2014-10-27 2016-05-19 大日本印刷株式会社 発熱板用の中間部材
JP2020074269A (ja) * 2019-09-18 2020-05-14 大日本印刷株式会社 発熱板用の中間部材

Citations (4)

* Cited by examiner, † Cited by third party
Publication number Priority date Publication date Assignee Title
JPS5517237U (ja) * 1978-07-20 1980-02-02
JPH05283146A (ja) * 1992-03-31 1993-10-29 Toshiba Lighting & Technol Corp 厚膜抵抗発熱体
JPH07147183A (ja) * 1993-11-24 1995-06-06 Dairin Shoji:Kk 面状発熱体およびその製造方法
JP2003317903A (ja) * 2002-04-22 2003-11-07 Sanko Poraito:Kk 面状発熱体

Patent Citations (4)

* Cited by examiner, † Cited by third party
Publication number Priority date Publication date Assignee Title
JPS5517237U (ja) * 1978-07-20 1980-02-02
JPH05283146A (ja) * 1992-03-31 1993-10-29 Toshiba Lighting & Technol Corp 厚膜抵抗発熱体
JPH07147183A (ja) * 1993-11-24 1995-06-06 Dairin Shoji:Kk 面状発熱体およびその製造方法
JP2003317903A (ja) * 2002-04-22 2003-11-07 Sanko Poraito:Kk 面状発熱体

Cited By (6)

* Cited by examiner, † Cited by third party
Publication number Priority date Publication date Assignee Title
JP2005302301A (ja) * 2004-04-06 2005-10-27 Matsushita Electric Ind Co Ltd 面状発熱体
JP2009266631A (ja) * 2008-04-25 2009-11-12 Panasonic Corp 高分子発熱体
JP2010020989A (ja) * 2008-07-10 2010-01-28 Panasonic Corp 高分子発熱体
KR101341622B1 (ko) 2012-10-24 2013-12-16 코오롱글로텍주식회사 인터커넥팅 장치
JP2016085889A (ja) * 2014-10-27 2016-05-19 大日本印刷株式会社 発熱板用の中間部材
JP2020074269A (ja) * 2019-09-18 2020-05-14 大日本印刷株式会社 発熱板用の中間部材

Also Published As

Publication number Publication date
JP4552486B2 (ja) 2010-09-29

Similar Documents

Publication Publication Date Title
US4815981A (en) Flexible printed circuit board terminal structure
EP1851776B1 (en) Surface mount electrical resistor with thermally conductive, electrically non-conductive filler and method for producing the same
WO2013179341A1 (ja) フィルムヒータ
JP4552486B2 (ja) 面状発熱体
JP4617698B2 (ja) 面状発熱体
JP4747506B2 (ja) 面状発熱体
JP4492186B2 (ja) 発熱体
JP4581379B2 (ja) 発熱体およびその製造方法
JP2006324181A (ja) 面状発熱体
JP5061769B2 (ja) 面状発熱体
JP4872593B2 (ja) 面状発熱体
JPH09129284A (ja) 平面回路体の端末接続部およびその製造方法
JPH10106726A (ja) 面状発熱体の製造方法
JP2006165079A (ja) フレキシブルプリント基板
JP5194726B2 (ja) 面状発熱体
JP2010003606A (ja) 面状発熱体
JP4793053B2 (ja) 面状発熱体
JP3486104B2 (ja) フィルム回路の接続構造
JP2998484B2 (ja) 半導体装置用リードフレーム
JPH07111897B2 (ja) 導電性フィルム上に形成される電極とリード線との接続方法
JP3072602U (ja) フレキシブル基板の接続構造
JP3780574B2 (ja) 面状発熱体
JP3723991B2 (ja) フラットケーブル及びフラットケーブルの接続方法
JPH0589952A (ja) 面状発熱体の製造法
JP2002110324A (ja) 面状発熱体およびその製造方法

Legal Events

Date Code Title Description
A621 Written request for application examination

Free format text: JAPANESE INTERMEDIATE CODE: A621

Effective date: 20070227

RD01 Notification of change of attorney

Free format text: JAPANESE INTERMEDIATE CODE: A7421

Effective date: 20070313

A977 Report on retrieval

Free format text: JAPANESE INTERMEDIATE CODE: A971007

Effective date: 20090910

A131 Notification of reasons for refusal

Free format text: JAPANESE INTERMEDIATE CODE: A131

Effective date: 20091013

RD01 Notification of change of attorney

Free format text: JAPANESE INTERMEDIATE CODE: A7421

Effective date: 20091120

A521 Request for written amendment filed

Free format text: JAPANESE INTERMEDIATE CODE: A523

Effective date: 20091207

TRDD Decision of grant or rejection written
A01 Written decision to grant a patent or to grant a registration (utility model)

Free format text: JAPANESE INTERMEDIATE CODE: A01

Effective date: 20100622

A01 Written decision to grant a patent or to grant a registration (utility model)

Free format text: JAPANESE INTERMEDIATE CODE: A01

A61 First payment of annual fees (during grant procedure)

Free format text: JAPANESE INTERMEDIATE CODE: A61

Effective date: 20100705

FPAY Renewal fee payment (event date is renewal date of database)

Free format text: PAYMENT UNTIL: 20130723

Year of fee payment: 3

FPAY Renewal fee payment (event date is renewal date of database)

Free format text: PAYMENT UNTIL: 20130723

Year of fee payment: 3

LAPS Cancellation because of no payment of annual fees