JP2005294047A - 安全スイッチ - Google Patents

安全スイッチ Download PDF

Info

Publication number
JP2005294047A
JP2005294047A JP2004107716A JP2004107716A JP2005294047A JP 2005294047 A JP2005294047 A JP 2005294047A JP 2004107716 A JP2004107716 A JP 2004107716A JP 2004107716 A JP2004107716 A JP 2004107716A JP 2005294047 A JP2005294047 A JP 2005294047A
Authority
JP
Japan
Prior art keywords
switch
operation unit
rod
actuator
outside
Prior art date
Legal status (The legal status is an assumption and is not a legal conclusion. Google has not performed a legal analysis and makes no representation as to the accuracy of the status listed.)
Granted
Application number
JP2004107716A
Other languages
English (en)
Other versions
JP4402501B2 (ja
Inventor
Tetsushi Ohata
哲史 尾畑
Takao Fukui
孝男 福井
Takeo Yasui
武夫 安井
Takeshi Maeda
健 前田
Masaki Nobuhiro
正毅 延廣
Etsuro Komori
悦朗 小森
Current Assignee (The listed assignees may be inaccurate. Google has not performed a legal analysis and makes no representation or warranty as to the accuracy of the list.)
Idec Corp
Original Assignee
Idec Izumi Corp
Priority date (The priority date is an assumption and is not a legal conclusion. Google has not performed a legal analysis and makes no representation as to the accuracy of the date listed.)
Filing date
Publication date
Application filed by Idec Izumi Corp filed Critical Idec Izumi Corp
Priority to JP2004107716A priority Critical patent/JP4402501B2/ja
Publication of JP2005294047A publication Critical patent/JP2005294047A/ja
Application granted granted Critical
Publication of JP4402501B2 publication Critical patent/JP4402501B2/ja
Anticipated expiration legal-status Critical
Expired - Lifetime legal-status Critical Current

Links

Images

Landscapes

  • Mechanisms For Operating Contacts (AREA)

Abstract


【課題】 様々な動作状態を検出することが可能で、しかも構成が簡単な安全スイッチを得る。
【解決手段】 本発明は、所定方向に移動可能で、側面に複数の段差のある操作ロッドb2と、外部からアクチュエータcが抜差しされ、当該アクチュエータcの抜差しに応じて操作ロッドb2を移動させる操作ヘッドaと、操作ロッドb2の側面に沿って進退することでオンあるいはオフする複数のスイッチb3a,b3b,b3c,b3dとを備える。
【選択図】 図1

Description

本発明は、産業用ロボットや工作機械などの機械への出入口などに設置される安全スイッチに関する。
従来の安全スイッチとしては特許文献1がある。
特開2003−331696号公報
この特許文献1に開示のような安全スイッチは、出入口の扉にアクチュエータが取り付けられており、扉を閉めると、このアクチュエータ(操作キーや鍵とも称される)が安全スイッチに挿入され、アクチュエータの挿入その他の動作に対応して内蔵の操作ロッドが移動し、操作ロッドが内蔵のスイッチを押し下げてオフあるいはオンする構成になっている。
従来の安全スイッチは操作ロッドでスイッチを押し下げるという考え方なので、安全スイッチの細かな動作、すなわち操作ロッドの様々な移動箇所を検出する場合、多数のスイッチが必要になり、構成が複雑になるという問題点があった。
本発明は上記の問題点を解決するためになされたものであり、様々な動作状態を検出することが可能で、しかも構成が簡単な安全スイッチを得ることを目的とする。
請求項1に記載の課題解決手段において、所定方向に移動可能で、側面に複数の段差のある移動体と、外部からアクチュエータが抜差しされ、当該アクチュエータの抜差しに応じて前記移動体を移動させる第1の操作部と、前記移動体の側面に沿って進退することでオンあるいはオフする複数のスイッチとを備えた安全スイッチ。
請求項2に記載の課題解決手段において、前記第1の操作部が前記移動体を移動させることができる範囲外に前記移動体を移動させることが可能な第2の操作部をさらに備え、前記複数の段差のうち少なくとも1つは、前記移動体が前記範囲外に移動しているときに、前記スイッチをオンあるいはオフさせる。
請求項3に記載の課題解決手段において、前記範囲外には、前記第1の操作部内の所定領域を含み、前記第2の操作部は前記移動体を前記第1の操作部の所定領域に差し込むことで、前記第1の操作部の動作を固定する。
請求項4に記載の課題解決手段において、前記移動体及び前記複数のスイッチを内蔵し、前記第1の操作部に取り付けられる筐体をさらに備え、前記範囲外には、前記筐体外の所定領域を含み、前記第1の操作部が前記筐体から外れると、前記第2の操作部は前記移動体を前記筐体外の所定領域へ移動させる。
請求項1に記載の発明によれば、複数のスイッチは移動体の側面に沿って進退することでオンあるいはオフするので、移動体の様々な移動位置、つまり、様々な動作状態を検出することが可能で、しかも構成が簡単である。
請求項2に記載の発明によれば、第2の操作部の作用による移動体の移動を検出することができる。
請求項3に記載の発明によれば、第2の操作部によって第1の操作部の動作が固定されたことを検出することができる。
請求項4に記載の発明によれば、筐体から第1の操作部が外れたことを検出することができる。
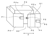
本発明の実施の形態の安全スイッチは例えば図5に示すようなシステムに適用される。安全柵P4は部屋S1を囲み、部屋S1内には機械P3が設置されている。安全柵P4には出入口S2が設けられ、出入口S2を通ってオペレータや搬送物が外部と部屋S1との間を出入りできる。また、安全柵P4には出入口S2を閉じるための扉P5が設けられている。扉P5は方向Zに移動できる。安全柵P4の端部P4a付近には安全スイッチP1が設けられ、扉P5の端部P5a付近にはアクチュエータP2が設けられている。
図1〜図3は本発明の実施の形態における安全スイッチの内部構造図である。本実施の形態における安全スイッチは図5の安全スイッチP1に対応し、図1〜図3のアクチュエータcは図5のアクチュエータP2に対応している。
本実施の形態の安全スイッチは、操作ヘッドaとスイッチ本体bとを含んで構成される。なお、図ではスイッチ本体b下方を省略している。操作ヘッドaは外部からアクチュエータcが差し込まれることによって、外部からの操作力を受け、この操作力をスイッチ本体bへ伝える機能を有する。スイッチ本体bは操作ヘッドaから伝えられた操作力を受け、この操作力に基づいてオンあるいはオフする機能と、操作ヘッドaの動作を固定(ロック)する機能とを有する。
まず、操作ヘッドaの構成について説明する。操作ヘッドaは筐体a1と偏心カムa2とを含んで構成される。筐体a1は内部に偏心カムa2を収納する略立方体形状であり、上面、下面、一つの側面にそれぞれに挿入孔a11、開口部a12、挿入孔a13が設けられている。側面の挿入孔a13は図1などに示すように、外部からのアクチュエータcが差し込まれるためのものである。また、上面にもアクチュエータcが差し込むことができるように、挿入孔a11が設けられている。
偏心カムa2は筐体a1の内部において、挿入孔a11のある上面と挿入孔a13のある側面との法線方向の中心軸a21を中心に回動可能に保持されている。偏心カムa2の外周の表面には、凹部a22、凹部a23、凹部a24が設けられている。凹部a22は挿入孔a13から挿入されたアクチュエータcの先端部を引っかけるために設けられている。凹部a23は挿入孔a11から挿入されたアクチュエータcの先端部が引っかけるために設けられている。凹部a24は後述の操作ロッド(移動体)b2が差し込まれて操作ヘッドaの偏心カムa2の回動動作をロックするために設けられている。
次にスイッチ本体bの構成について説明する。スイッチ本体bは筐体b1、操作ロッドb2、スイッチb3a、スイッチb3b、スイッチb3c、スイッチb3d、付勢手段b4及びロック部(第2の操作部)b5を含んで構成されている。
筐体b1は内部に操作ロッドb2、スイッチb3a、スイッチb3b、スイッチb3c、スイッチb3d、付勢手段b4及びロック部b5を収納する略四角柱状である。筐体b1の上面には操作ロッドb2の先端が突出するための開口部b11が設けられている。この筐体b1の上面と操作ヘッドaの開口部a12のある下面とが対向するように、操作ヘッドaがスイッチ本体bに取り付けられる。
操作ロッドb2は細長い棒状であり、方向Y1、その逆の方向Y2に移動可能に筐体b1内に保持されている。操作ロッドb2の側面には基準表面b22に対して突出する台形状凸部b23、台形状凸部b24、台形状凸部b25が設けられている。台形状凸部b23、台形状凸部b24はそれぞれ基準表面b22に対して外側に突出した台形状である。つまり、台形状凸部b23、台形状凸部b24、台形状凸部b25それぞれにおける操作ロッドb2の側面は基準表面b22から台形状凸部b23、台形状凸部b24、台形状凸部b25の傾斜部b23a、傾斜部b24a、傾斜部b25aに沿って突出して頂部b23b、頂部b24b、頂部b25bに達し、この頂部から傾斜部b23c、傾斜部b24cに沿って基準表面b22に達する。
操作ロッドb2の側面の近傍には、スイッチb3a、スイッチb3b、スイッチb3c、スイッチb3dが配置されている。スイッチb3a、スイッチb3b、スイッチb3c、スイッチb3dのそれぞれは進退部b3eが設けられている。この進退部b3eは、方向Y1、方向Y2と交わる方向の方向X1、その逆の方向X2(ここでは方向Y1、方向Y2と方向X1、方向X2とは互いに直角方向)に進退し、進退部b3eの先端は操作ロッドb2の側面に対向する。
操作ロッドb2の他端部b21bには操作ロッドb2を方向Y1へ常に付勢する付勢手段b4が設けられている。付勢手段b4は付勢力を付勢手段b4へ与えられるものであればよく、図示のようなコイルバネの他、板バネなどでもよい。
また、操作ロッドb2の他端部b21bには操作ロッドb2を偏心カムa2の凹部a24に差し込むことで、操作ヘッドaの動作をロックするためのロック部b5が設けられている。ロック部b5はソレノイドb51と保持部b52と付勢手段b53とを含んで構成されている。保持部b52は操作ロッドb2を方向Y1、方向Y2に移動可能に保持し、付勢手段b4は保持部b52から操作ロッドb2を引き離すように操作ロッドb2に付勢力を与える。ソレノイドb51は電流が流れて励磁されると、保持部b52を方向Y2へ引き込み、これによって、操作ロッドb2を偏心カムa2の凹部a24から外し、操作ヘッドaの動作のロックを解除する。付勢手段53は図示のようにコイルバネの他、板バネで構成してもよい。付勢手段b53の付勢力はソレノイドb51が保持部b52を引き込む力と比較して弱く、ソレノイドb51に電流が流れず励磁が止むと、付勢手段b53はソレノイドb51から保持部b52を引き離すように保持部b52に付勢力を与え、これによって、操作ロッドb2が偏心カムa2の凹部a24に差し込まれ、操作ヘッドaの動作がロックされる。
次に安全スイッチの動作について説明する。まず、図3において、扉P5(図5参照)が開いており、アクチュエータcが安全スイッチの操作ヘッドaに差し込まれておらず、また、ソレノイドb51は励磁されており、保持部b52を方向Y2に引き込んでおり、操作ロッドb2は偏心カムa2に押されて、方向Y2へ後退している。この状態では、スイッチb3aの進退部b3eは操作ロッドb2の表面に押されておらず前進し、スイッチb3aはオンの状態である。スイッチb3aがオンであることは操作ヘッドaの偏心カムa2の回動動作がロックされていないことを示す。スイッチb3bの進退部b3eは操作ロッドb2の台形状凸部b23の頂部b23bに押されて後退し、スイッチb3bはオフの状態である。スイッチb3cの進退部b3eは操作ロッドb2の表面に押されておらず前進し、スイッチb3cはオンの状態である。スイッチb3cがオンであることは扉P5が開いていることを示す。スイッチb3dの進退部b3eは操作ロッドb2の台形状凸部b24の頂部b24bに押されて後退し、スイッチb3dはオフの状態である。
コントローラP6はスイッチb3aのオン、スイッチb3bのオフ、スイッチb3cのオン、スイッチb3dのオフを受け、機械P3の動作を許可しない。
次に、扉P5を閉じると、操作ヘッドaの挿入孔a13にアクチュエータcが差し込まれる。アクチュエータcの先端は凹部a22に係合し、アクチュエータcが操作ヘッドa内のさらに奥へ差し込まれることにより、偏心カムa2は中心軸a21を中心に回動する。この偏心カムa2の回動に伴い、付勢手段b4によって方向Y1へ付勢力が与えられている操作ロッドb2は一端部b21aが偏心カムa2の外縁に接して動く。そして、アクチュエータcが完全に操作ヘッドa内に差し込まれ、操作ヘッドaの凹部a24が操作ロッドb2の一端部b21aに対向するところに位置する。操作ロッドb2は付勢手段b4の付勢力によって方向Y1へ移動しようとするが、保持部b52によって移動が規制される。この操作ロッドb2の移動により、スイッチb3cの進退部b3eは操作ロッドb2の基準表面b22から台形状凸部b24の傾斜部b24aに沿って押されて後退し、進退部b3eが頂部b24bに達したとき、スイッチb3cはオフになる。スイッチb3dの進退部b3eは操作ロッドb2の台形状凸部b24の頂部b24bから傾斜部b24cに沿って前進し、進退部b3eが基準表面b22に対向する位置に達したとき、スイッチb3dはオンになる。スイッチb3dがオンであることは扉P5が閉じていることを示す。スイッチb3a、スイッチb3bについてはそれぞれオン、オフの状態のままである(図2)。
コントローラP6はスイッチb3aのオン、スイッチb3bのオフ、スイッチb3cのオフ、スイッチb3dのオンを受け、機械P3の動作を許可しない。
次に、ソレノイドb51に電流を流すことを止めてソレノイドb51の励磁が止むと、ソレノイドb51から保持部b52を引き離す付勢手段b53の付勢力により、操作ロッドb2は方向Y1へ移動し、操作ロッドb2の一端部b21aは偏心カムa2の凹部a24に差し込まれる。これによって、回動しないように偏心カムa2の動作はロックされ、アクチュエータcを操作ヘッドaから引き抜くことができない。また、操作ロッドb2の移動により、スイッチb3aの進退部b3eは操作ロッドb2の基準表面b22から台形状凸部b23の傾斜部b23aに沿って押されて後退し、進退部b3eが頂部b23bに達したとき、スイッチb3aはオフになる。スイッチb3bの進退部b3eは操作ロッドb2の台形状凸部b23の頂部b23bから傾斜部b23cに沿って前進し、進退部b3eが基準表面b22に対向する位置に達したとき、スイッチb3bはオンになる。スイッチb3bがオンであることは操作ヘッドaの偏心カムa2の回動動作がロックされていることを示す。スイッチb3c、スイッチb3dについてはそれぞれオフ、オンの状態のままである(図1)。
コントローラP6はスイッチb3aのオフ、スイッチb3bのオン、スイッチb3cのオフ、スイッチb3dのオンを受け、機械P3の動作を許す。
扉P5を開く場合は、上述と逆の動作である。すなわち、まず、図1において、扉P5が閉じており、アクチュエータcが安全スイッチの操作ヘッドaに差し込まれ、ソレノイドb51は励磁されていない状態である。操作ロッドb2の一端部b21aは偏心カムa2の凹部a24に差し込まれている。これによって、回動しないように偏心カムa2の動作はロックされ、アクチュエータcを操作ヘッドaから引き抜くことができない。この状態では、スイッチb3aの進退部b3eは操作ロッドb2の台形状凸部b23の頂部b23bに押されて後退し、スイッチb3aはオフの状態である。スイッチb3bの進退部b3eは操作ロッドb2の表面に押されておらず前進し、スイッチb3bはオンの状態である。スイッチb3bがオンであることは操作ヘッドaの偏心カムa2の回動動作がロックされていることを示す。スイッチb3cの進退部b3eは操作ロッドb2の台形状凸部b24の頂部b24bに押されて後退し、スイッチb3cはオフの状態である。スイッチb3dの進退部b3eは操作ロッドb2の表面に押されておらず前進し、スイッチb3dはオンの状態である。スイッチb3dがオンであることは扉P5が閉じていることを示す。
コントローラP6はスイッチb3aのオフ、スイッチb3bのオン、スイッチb3cのオフ、スイッチb3dのオンを受け、機械P3の動作を許す。
次に、ソレノイドb51を励磁して、保持部b52をソレノイドb51が引き込み、操作ロッドb2を方向Y2へ移動させることで、操作ロッドb2の一端部b21aは偏心カムa2の凹部a24から引き抜かれる。これによって、偏心カムa2の動作のロックは解除される。また、操作ロッドb2の移動により、スイッチb3aの進退部b3eは操作ロッドb2の頂部b23bから台形状凸部b23の傾斜部b23aに沿って前進し、進退部b3eが基準表面b22に達したとき、スイッチb3aはオンになる。スイッチb3aがオンであることは操作ヘッドaの偏心カムa2の回動動作がロックされていないことを示す。スイッチb3bの進退部b3eは操作ロッドb2の基準表面b22から傾斜部b23cに沿って押されて後退し、進退部b3eが頂部b23bに達したとき、スイッチb3bはオフになる。スイッチb3c、スイッチb3dについてはそれぞれオフ、オンの状態のままである(図2)。
コントローラP6はスイッチb3aのオン、スイッチb3bのオフ、スイッチb3cのオフ、スイッチb3dのオンを受け、機械P3の動作を許可しない。
次に、扉P5を開くと、操作ヘッドaの挿入孔a13からアクチュエータcが引き抜かれる。これに伴い、偏心カムa2は中心軸a21を中心に回動する。この偏心カムa2の回動に伴い、操作ロッドb2は一端部b21aが偏心カムa2の外周に接しながら方向Y2へ動く。そして、アクチュエータcが完全に操作ヘッドaから引き抜かれる。この操作ロッドb2の移動により、スイッチb3cの進退部b3eは操作ロッドb2の頂部b24bから台形状凸部b24の傾斜部b24aに沿って前進し、進退部b3eが基準表面b22に達したとき、スイッチb3cはオンになる。スイッチb3cがオンであることは扉P5が開いていることを示す。スイッチb3dの進退部b3eは操作ロッドb2の基準表面b22から傾斜部b24cに沿って押されて後退し、進退部b3eが頂部b24bに達したとき、スイッチb3dはオフになる。スイッチb3a、スイッチb3bについてはそれぞれオン、オフの状態のままである(図3)。
コントローラP6はスイッチb3aのオン、スイッチb3bのオフ、スイッチb3cのオン、スイッチb3dのオフを受け、機械P3の動作を許可しない。
また、扉P5が閉じて機械P3が動作可能な状態のときに(図1)、何らかの原因で操作ヘッドaがスイッチ本体bから外れると(図4)、操作ロッドb2は付勢手段b4の付勢力によってさらに方向Y1へ移動し、操作ロッドb2の側面に突設されたストッパb26が筐体b1の内壁に当たり、位置決めされる。この操作ロッドb2の移動により、スイッチb3bの進退部b3eは操作ロッドb2の基準表面b22から傾斜部b25aに沿って押されて後退し、進退部b3eが頂部b25bに達したとき、スイッチb3bはオフになる。スイッチb3a、スイッチb3c、スイッチb3dについてはそれぞれオフ、オフ、オンの状態のままである(図3)。スイッチb3a、スイッチb3bが共にオフであることは操作ヘッドaがスイッチ本体bから外れていることを示す。
コントローラP6はスイッチb3aのオフ、スイッチb3bのオフ、スイッチb3cのオフ、スイッチb3dのオンを受け、機械P3の動作を許可しない。
以上のように、本実施の形態の安全スイッチは、方向Y1、方向Y2に移動可能で、側面に複数の段差(傾斜部b23a、傾斜部b23c、傾斜部b24a、傾斜部b24c、傾斜部b25aにおける頂部と基準表面b22との差)のある操作ロッドb2と、外部からアクチュエータcが抜差しされ、アクチュエータcの抜差しに応じて操作ロッドb2を移動させる操作ヘッドaと、操作ロッドb2の側面に沿って進退することでオンあるいはオフする複数のスイッチb3a、スイッチb3b、スイッチb3c、スイッチb3bとを備えたことにより、操作ロッドb2の様々な位置を検出することが可能である。例えば、スイッチb3a、スイッチb3bのオンあるいはオフについて、図1ではそれぞれオフ、オン、操作ロッドb2が上方へ移動した図3の状態ではそれぞれオン、オフ、操作ロッドb2がさらに上方へ移動した図4ではそれぞれオフ、オフになり、専用のスイッチを設けるなくても、操作ヘッドaが外れたことを検出できる。このように、操作ロッドb2の様々な位置、すなわち、動作状態を検出することができ、細かな制御が可能になる。しかも、専用のスイッチを設ける必要がないので、構成が簡単、小型になる。
また、偏心カムa2は操作ロッドb2を図2から図3に示す範囲しか移動させることができないが、ロック部b5はその範囲外の図1や図4に示す位置へ操作ロッドb2を移動させることが可能であり、操作ロッドb2の側面の段差のうち、傾斜部b23cや傾斜部b25aにおける段差は操作ロッドb2が図1や図4に示す前述の範囲外に移動しているとき、スイッチb3bをオン、オフさせる。これによって、ロック部b5の作用による操作ロッドb2の移動を検出することができる。特に、図1に示すように操作ロッドb2の先端が偏心カムa2の凹部a24(所定領域)内に移動したとき、傾斜部b23cにおける段差によってスイッチb3bがオンすることで操作ヘッドaがロックされたことを検出することができ、図1の操作ヘッドaが筐体b1から外れて、操作ロッドb2の先端が筐体b1からさらに離れて図4に示す領域に移動したとき、傾斜部b25aにおける段差によってスイッチb3bがオフすることで操作ヘッドaが筐体b1から外れたことを検出することができる。
また、ロックされていないこと、ロックされていること、扉が開いていること、扉が閉じていることはそれぞれスイッチb3a、スイッチb3b、スイッチb3c、スイッチb3dがオンすることで示されるが、以上のような構成により、これら全てのスイッチをb接点(押すと接点間が開く)で構成することができる。これにより、全てのスイッチについて、内蔵の接点同士が溶着しても、スイッチの進退部b3eを押すことで溶着した接点同士を強制的に引き離すことができ、安全性が増す。
また、操作ロッドb2の方向Y1とスイッチの進退部b3eの進退方向X1とが交差(図では直交)しているため、より多くのスイッチを設けても、安全スイッチの方向Y1の長さが長くはならない。また、操作ロッドb2の方向Y1とスイッチの進退部b3eの進退方向X1とが交差しているため、進退部b3eが基準表面b22あるいは台形状凸部の頂部に達している状態において、スイッチに内蔵の付勢手段による付勢力が操作ロッドb2を方向Y1へ移動させることへの影響が少ないため、その分、ソレノイドb51の励磁力を低くでき、ソレノイドb51を小型化、低電力化できる。
また、スイッチb3a及びスイッチb3bとスイッチb3c及びスイッチb3dとは操作ロッドb2を介して対向して配置されているため、操作ロッドb2が傾くなどの異常が発生しにくい。
なお、本発明は図示するものに限らない。例えば、第1の操作部は外部からアクチュエータが抜差しされ、アクチュエータの抜差しに応じて移動体を移動させるものであればよく、実施の形態では偏心カムa2を用いて構成したが、偏心カムa2以外を用いて構成してもよい。また、第2の操作部は実施の形態ではソレノイドb51、保持部b52、付勢手段b53を含んで構成したが、それら以外を用いて構成してもよい。
本発明の実施の形態の安全スイッチを示す内部構造図である。 本発明の実施の形態の安全スイッチを示す内部構造図である。 本発明の実施の形態の安全スイッチを示す内部構造図である。 本発明の実施の形態の安全スイッチを示す内部構造図である。 安全スイッチが適用されるシステムの例を示す図である。
符号の説明
a 操作ヘッド、b1 筐体、b2 操作ロッド、b3a,b3b,b3c,b3d スイッチ、b5 ロック部、c アクチュエータ。

Claims (4)

  1. 所定方向に移動可能で、側面に複数の段差のある移動体と、
    外部からアクチュエータが抜差しされ、当該アクチュエータの抜差しに応じて前記移動体を移動させる第1の操作部と、
    前記移動体の側面に沿って進退することでオンあるいはオフする複数のスイッチと、
    を備えた安全スイッチ。
  2. 前記第1の操作部が前記移動体を移動させることができる範囲外に前記移動体を移動させることが可能な第2の操作部をさらに備え、
    前記複数の段差のうち少なくとも1つは、前記移動体が前記範囲外に移動しているときに、前記スイッチをオンあるいはオフさせる請求項1に記載の安全スイッチ。
  3. 前記範囲外には、前記第1の操作部内の所定領域を含み、
    前記第2の操作部は前記移動体を前記第1の操作部の所定領域に差し込むことで、前記第1の操作部の動作を固定する請求項2に記載の安全スイッチ。
  4. 前記移動体及び前記複数のスイッチを内蔵し、前記第1の操作部に取り付けられる筐体をさらに備え、
    前記範囲外には、前記筐体外の所定領域を含み、
    前記第1の操作部が前記筐体から外れると、前記第2の操作部は前記移動体を前記筐体外の所定領域へ移動させる請求項2に記載の安全スイッチ。
JP2004107716A 2004-03-31 2004-03-31 安全スイッチ Expired - Lifetime JP4402501B2 (ja)

Priority Applications (1)

Application Number Priority Date Filing Date Title
JP2004107716A JP4402501B2 (ja) 2004-03-31 2004-03-31 安全スイッチ

Applications Claiming Priority (1)

Application Number Priority Date Filing Date Title
JP2004107716A JP4402501B2 (ja) 2004-03-31 2004-03-31 安全スイッチ

Publications (2)

Publication Number Publication Date
JP2005294047A true JP2005294047A (ja) 2005-10-20
JP4402501B2 JP4402501B2 (ja) 2010-01-20

Family

ID=35326746

Family Applications (1)

Application Number Title Priority Date Filing Date
JP2004107716A Expired - Lifetime JP4402501B2 (ja) 2004-03-31 2004-03-31 安全スイッチ

Country Status (1)

Country Link
JP (1) JP4402501B2 (ja)

Cited By (7)

* Cited by examiner, † Cited by third party
Publication number Priority date Publication date Assignee Title
WO2007066803A1 (ja) * 2005-12-09 2007-06-14 Idec Corporation 安全スイッチ
JP2009544125A (ja) * 2006-07-19 2009-12-10 オイフナー ゲゼルシャフト ミット ベシュレンクテル ハフツング ウント コンパニー コマンディト ゲゼルシャフト 機械の保護デバイスの状態を監視するための装置
JP2010123305A (ja) * 2008-11-18 2010-06-03 Idec Corp 安全システム
JP2010123306A (ja) * 2008-11-18 2010-06-03 Idec Corp 安全スイッチ
WO2020175413A1 (ja) * 2019-02-27 2020-09-03 Idec株式会社 操作支援機能付き操作スイッチユニット、操作支援機能付き操作ユニットおよび操作支援システム
JP2020188079A (ja) * 2019-05-10 2020-11-19 Idec株式会社 ソレノイドの駆動制御装置およびこれを備えた安全スイッチ
DE102022100787A1 (de) 2021-01-22 2022-07-28 Idec Corporation Sicherheitsschalter

Cited By (15)

* Cited by examiner, † Cited by third party
Publication number Priority date Publication date Assignee Title
WO2007066803A1 (ja) * 2005-12-09 2007-06-14 Idec Corporation 安全スイッチ
JP2009544125A (ja) * 2006-07-19 2009-12-10 オイフナー ゲゼルシャフト ミット ベシュレンクテル ハフツング ウント コンパニー コマンディト ゲゼルシャフト 機械の保護デバイスの状態を監視するための装置
JP2010123305A (ja) * 2008-11-18 2010-06-03 Idec Corp 安全システム
JP2010123306A (ja) * 2008-11-18 2010-06-03 Idec Corp 安全スイッチ
JP7286344B2 (ja) 2019-02-27 2023-06-05 Idec株式会社 操作支援機能付き操作スイッチユニット、操作支援機能付き操作ユニットおよび操作支援システム
WO2020175413A1 (ja) * 2019-02-27 2020-09-03 Idec株式会社 操作支援機能付き操作スイッチユニット、操作支援機能付き操作ユニットおよび操作支援システム
JP2020140828A (ja) * 2019-02-27 2020-09-03 Idec株式会社 操作支援機能付き操作スイッチユニット、操作支援機能付き操作ユニットおよび操作支援システム
US11942288B2 (en) 2019-02-27 2024-03-26 Idec Corporation Operation switch unit with operation support function, operation unit with operation support function, and operation support system
JP2020188079A (ja) * 2019-05-10 2020-11-19 Idec株式会社 ソレノイドの駆動制御装置およびこれを備えた安全スイッチ
CN113785376A (zh) * 2019-05-10 2021-12-10 Idec株式会社 螺线管的驱动控制装置及具备该驱动控制装置的安全开关
JP7345272B2 (ja) 2019-05-10 2023-09-15 Idec株式会社 ソレノイドの駆動制御装置およびこれを備えた安全スイッチ
WO2020230547A1 (ja) * 2019-05-10 2020-11-19 Idec株式会社 ソレノイドの駆動制御装置およびこれを備えた安全スイッチ
JP7637716B2 (ja) 2019-05-10 2025-02-28 Idec株式会社 ソレノイドの駆動制御装置およびこれを備えた安全スイッチ
CN113785376B (zh) * 2019-05-10 2025-03-11 Idec株式会社 螺线管的驱动控制装置及具备该驱动控制装置的安全开关
DE102022100787A1 (de) 2021-01-22 2022-07-28 Idec Corporation Sicherheitsschalter

Also Published As

Publication number Publication date
JP4402501B2 (ja) 2010-01-20

Similar Documents

Publication Publication Date Title
JP4402501B2 (ja) 安全スイッチ
WO2019006309A1 (en) LOCKING DEVICE COMPRISING AN ANTI-JAMMING MECHANISM
US11114256B2 (en) Switching apparatus and associated switch
US7605335B2 (en) Position switch
US6483053B2 (en) Lock switch apparatus
JP4620598B2 (ja) 非常停止用押ボタンスイッチ
JP4396478B2 (ja) キースイッチ
JP4486049B2 (ja) 安全扉を有する機械
US7985932B2 (en) Door lock device with safety switch
JP4493073B2 (ja) 安全スイッチ
TWI446393B (zh) 開關鎖固具及控制裝置
WO2006095645A1 (ja) 安全スイッチ
JP7542427B2 (ja) 操作スイッチ、非常停止スイッチおよび制御システム
JP3938275B2 (ja) 安全スイッチ
CN103821411A (zh) 键式开关
CN103854909B (zh) 选择开关
WO2007066803A1 (ja) 安全スイッチ
JP6737876B2 (ja) 安全スイッチ
JP2008509508A (ja) 保護機構の状態を監視するための装置
WO2006117965A1 (ja) 安全スイッチ
JP2004356069A (ja) 安全スイッチ
US4778954A (en) Switching device to be operated by means of a cylinder lock
JP4119192B2 (ja) 押ボタンスイッチ
KR20160009721A (ko) 세탁기의 도어 잠금장치
JP2005053336A (ja) ステアリングロック装置

Legal Events

Date Code Title Description
A621 Written request for application examination

Free format text: JAPANESE INTERMEDIATE CODE: A621

Effective date: 20061110

A131 Notification of reasons for refusal

Free format text: JAPANESE INTERMEDIATE CODE: A131

Effective date: 20090316

A521 Request for written amendment filed

Free format text: JAPANESE INTERMEDIATE CODE: A523

Effective date: 20090515

A131 Notification of reasons for refusal

Free format text: JAPANESE INTERMEDIATE CODE: A131

Effective date: 20090730

A521 Request for written amendment filed

Free format text: JAPANESE INTERMEDIATE CODE: A523

Effective date: 20090928

TRDD Decision of grant or rejection written
A01 Written decision to grant a patent or to grant a registration (utility model)

Free format text: JAPANESE INTERMEDIATE CODE: A01

Effective date: 20091026

A01 Written decision to grant a patent or to grant a registration (utility model)

Free format text: JAPANESE INTERMEDIATE CODE: A01

A61 First payment of annual fees (during grant procedure)

Free format text: JAPANESE INTERMEDIATE CODE: A61

Effective date: 20091029

R150 Certificate of patent or registration of utility model

Ref document number: 4402501

Country of ref document: JP

Free format text: JAPANESE INTERMEDIATE CODE: R150

Free format text: JAPANESE INTERMEDIATE CODE: R150

FPAY Renewal fee payment (event date is renewal date of database)

Free format text: PAYMENT UNTIL: 20121106

Year of fee payment: 3

FPAY Renewal fee payment (event date is renewal date of database)

Free format text: PAYMENT UNTIL: 20121106

Year of fee payment: 3

FPAY Renewal fee payment (event date is renewal date of database)

Free format text: PAYMENT UNTIL: 20131106

Year of fee payment: 4

S531 Written request for registration of change of domicile

Free format text: JAPANESE INTERMEDIATE CODE: R313531

R350 Written notification of registration of transfer

Free format text: JAPANESE INTERMEDIATE CODE: R350

EXPY Cancellation because of completion of term