JP2005294033A - 電子源装置 - Google Patents

電子源装置 Download PDF

Info

Publication number
JP2005294033A
JP2005294033A JP2004107297A JP2004107297A JP2005294033A JP 2005294033 A JP2005294033 A JP 2005294033A JP 2004107297 A JP2004107297 A JP 2004107297A JP 2004107297 A JP2004107297 A JP 2004107297A JP 2005294033 A JP2005294033 A JP 2005294033A
Authority
JP
Japan
Prior art keywords
electron source
source element
surface electrode
electron
electrode
Prior art date
Legal status (The legal status is an assumption and is not a legal conclusion. Google has not performed a legal analysis and makes no representation as to the accuracy of the status listed.)
Granted
Application number
JP2004107297A
Other languages
English (en)
Other versions
JP4433858B2 (ja
Inventor
Toru Baba
徹 馬場
Koichi Aizawa
浩一 相澤
Takuya Komoda
卓哉 菰田
Current Assignee (The listed assignees may be inaccurate. Google has not performed a legal analysis and makes no representation or warranty as to the accuracy of the list.)
Panasonic Electric Works Co Ltd
Original Assignee
Matsushita Electric Works Ltd
Priority date (The priority date is an assumption and is not a legal conclusion. Google has not performed a legal analysis and makes no representation as to the accuracy of the date listed.)
Filing date
Publication date
Application filed by Matsushita Electric Works Ltd filed Critical Matsushita Electric Works Ltd
Priority to JP2004107297A priority Critical patent/JP4433858B2/ja
Publication of JP2005294033A publication Critical patent/JP2005294033A/ja
Application granted granted Critical
Publication of JP4433858B2 publication Critical patent/JP4433858B2/ja
Anticipated expiration legal-status Critical
Expired - Fee Related legal-status Critical Current

Links

Images

Landscapes

  • Cold Cathode And The Manufacture (AREA)

Abstract

【課題】大気中での電子放出特性を安定化することができるとともに電子源素子の劣化を防止できる電子源装置を提供する。
【解決手段】絶縁性基板11の一表面上に電子源素子10aが形成された電子源10と、電子源10に対向配置されるアノード電極21とを備える。また、電子源素子10aに吸着した水分を除去する水分除去手段としての加熱手段を備える。電子源素子10aは、下部電極12と電子通過層たる強電界ドリフト層6と表面電極7とで構成され、加熱手段は、下部電極12の両端に形成された一対の加熱用電極13,13と、両加熱用電極13,13間に通電する通電手段とを備えており、両加熱用電極13,13間に通電した時に下部電極12に流れる電流によるジュール熱によって電子源素子10aを加熱する。
【選択図】 図1

Description

本発明は、電子源装置に関するものである。
従来から、電界放射により電子線を放射する電子源として、例えば、図8に示す構成の電子源10’が知られている(例えば、特許文献1、2、3参照)。
図8に示す構成の電子源10’は、導電性基板としてのn形シリコン基板1の主表面(一表面)側に酸化した多孔質多結晶シリコンよりなる強電界ドリフト層6が形成され、強電界ドリフト層6上に金属薄膜(例えば、金薄膜)よりなる表面電極7が形成されている。また、n形シリコン基板1の裏面にはオーミック電極2が形成されており、n形シリコン基板1とオーミック電極2とで下部電極12を構成している。なお、表面電極7の厚さ寸法は例えば10nm程度に設定されている。また、図8に示す構成の電子源10’では、下部電極12と強電界ドリフト層6との間にノンドープの多結晶シリコン層3が介在しており、多結晶シリコン層3と強電界ドリフト層6とで、下部電極12と表面電極7との間に介在し電子が通過する電子通過層を構成しているが、多結晶シリコン層3を介在させずに強電界ドリフト層6のみで電子通過層を構成したものも提案されている。また、上述の電子源10’では、下部電極12と電子通過層と表面電極7とで電子源素子を構成しているが、絶縁性基板上に導電性層からなる下部電極と電子通過層と表面電極とからなる電子源素子を形成した電子源も提案されている。
上述の電子源10’から電子を放出させるには、例えば、表面電極7に対向配置されたアノード電極21を設け、表面電極7とアノード電極21との間を真空とした状態で、表面電極7が下部電極12に対して高電位側となるように表面電極7と下部電極12との間に直流電圧Vpsを印加するとともに、アノード電極21が表面電極7に対して高電位側となるようにアノード電極21と表面電極7との間に直流電圧Vcを印加する。ここに、直流電圧Vpsを適宜に設定すれば、下部電極12から注入された電子が強電界ドリフト層6をドリフトし表面電極7を通して放出される(図8中の一点鎖線は表面電極7を通して放出された電子eの流れを示す)。なお、強電界ドリフト層6の表面に到達した電子はホットエレクトロンであると考えられ、表面電極7を容易にトンネルし真空中に放出される。
上述の各電子源10’では、表面電極7と下部電極12との間に流れる電流をダイオード電流Ipsと呼び、アノード電極21と表面電極7との間に流れる電流をエミッション電流(放出電子電流)Ieと呼ぶことにすれば(図8参照)、ダイオード電流Ipsに対するエミッション電流Ieの比率(=Ie/Ips)が大きいほど電子放出効率(=(Ie/Ips)×100〔%〕)が高くなる。なお、上述の電子源10’では、表面電極7と下部電極12との間に印加する直流電圧Vpsを10〜20V程度の低電圧としても電子を放出させることができ、直流電圧Vpsが大きいほどエミッション電流Ieが大きくなる。
特開平11−329213号公報 特開2000−100316号公報 特開2001−155622号公報
ところで、上述の電子源素子は、真空中に限らず大気中でも電子を放出することが可能であるが、大気中で使用した場合、大気中の水分が電子源素子に吸着し、電子源素子に吸着した水分の影響で電子源素子の電子放出特性(エミッション電流Ie、電子放出効率など)が不安定となったり電子源素子が劣化することが考えられる。
本発明は上記事由に鑑みて為されたものであり、その目的は、大気中での電子放出特性を安定化することができるとともに電子源素子の劣化を防止できる電子源装置を提供することにある。
請求項1の発明は、多数のナノメータオーダの半導体微結晶および各半導体微結晶それぞれの表面に形成され半導体微結晶の結晶粒径よりも小さな膜厚の多数の絶縁膜を有する電子通過層が下部電極と表面電極との間に設けられ、表面電極と下部電極との間に表面電極を高電位側とする駆動電圧が印加された時に表面電極を通して電子を放出する電子源素子と、電子源素子の表面電極と下部電極との間に前記駆動電圧を与える駆動手段と、電子源素子に吸着した水分を除去する水分除去手段とを備えることを特徴とする。
この発明によれば、大気中で電子源素子に吸着した水分を水分除去手段により除去することができるので、大気中での電子源素子の電子放出特性を安定化することができるとともに電子源素子の劣化を防止できる。
請求項2の発明は、請求項1の発明において、前記水分除去手段は、前記電子源素子を加熱する加熱手段からなることを特徴とする。
この発明によれば、前記電子源素子に吸着した水分を、前記加熱手段により前記電子源素子を加熱することで蒸発させることができる。
請求項3の発明は、請求項2の発明において、前記加熱手段は、前記下部電極の両端に形成された一対の加熱用電極と、両加熱用電極間に通電する通電手段とからなることを特徴とする。
この発明によれば、両加熱用電極間に通電することにより前記下部電極で発生するジュール熱によって前記電子源素子が加熱され、また、前記下部電極には前記電子通過層や前記表面電極に比べて大きな電流を流すことができるので、前記電子源素子の加熱温度を高めることができ、前記電子源素子に吸着した水分を短時間で蒸発させることが可能となる。
請求項4の発明は、請求項2の発明において、前記加熱手段は、前記電子通過層の厚み方向に直交する面内で前記電子通過層を挟む形で前記電子通過層の外周面に形成された一対の加熱用電極と、両加熱用電極間に通電する通電手段とからなることを特徴とする。
この発明によれば、両加熱用電極間に通電することにより前記電子通過層で発生するジュール熱によって前記電子源素子が加熱されるので、前記電子源素子に吸着した水分を効果的に除去することができる。
請求項5の発明は、請求項2の発明において、前記加熱手段は、前記表面電極の両端間に通電する通電手段からなることを特徴とする。
この発明によれば、電子源素子の構造を変更することなしに、大気と接していて水分が吸着しやすい前記表面電極の水分を効果的に除去することができる。
請求項6の発明は、請求項2の発明において、前記加熱手段は、前記表面電極と前記下部電極との間に前記表面電極を低電位側とした逆バイアス電圧を印加することで前記電子源素子を加熱することを特徴とする。
この発明によれば、加熱用電極が不要なので、請求項3ないし請求項5の発明に比べて構造が簡単となり、また、前記電子源素子の厚み方向に流れる電流により発生するジュール熱によって前記電子源素子の全体を加熱することができ、水分を効果的に除去することができる。
請求項7の発明は、請求項2の発明において、前記加熱手段は、前記電子源素子とは別体に設けたヒータと、ヒータへ通電する通電手段とからなることを特徴とする。
この発明によれば、前記電子源素子に特別な構造を設けることなしに、前記電子源素子を容易に加熱することができる。
請求項8の発明は、請求項2の発明において、前記加熱手段は、前記電子源素子における前記表面電極の厚み方向において前記表面電極に重なり且つ前記表面電極の所定領域からの電子の放出を妨げない形状に形成された薄膜抵抗体からなるヒータと、ヒータへ通電する通電手段とからなることを特徴とする。
この発明によれば、前記電子源素子を駆動しながら前記電子源素子を加熱することが可能となる。
請求項9の発明は、請求項2の発明において、前記加熱手段は、前記下部電極における前記電子通過層とは反対側に形成された薄膜抵抗体からなるヒータと、ヒータへ通電する通電手段とからなることを特徴とする。
この発明によれば、前記電子源素子を駆動しながら前記電子源素子を加熱することが可能となる。
請求項10の発明は、請求項4ないし請求項9の発明において、前記駆動電圧がパルス状電圧であって、前記駆動手段は、前記電子源素子へ前記駆動電圧を間欠的に印加し、前記加熱手段は、前記駆動手段による前記電子源素子へ前記駆動電圧が印加される期間の合間ごとに前記電子源素子を加熱することを特徴とする。
この発明によれば、前記電子源素子への前記駆動電圧の印加後毎に前記電子源素子が加熱されるので、前記電子源素子に吸着した水分を効果的に除去することができる。要するに、前記電子源素子に水分が吸着した状態で前記電子源素子が駆動される期間をより短くすることができる。
請求項11の発明は、請求項2の発明において、前記加熱手段は、前記表面電極の表面へ高温ガスを供給することにより前記電子源素子を加熱することを特徴とする。
この発明によれば、前記電子源素子が高温ガスにより加熱されて水分が除去されるので、前記電子源素子に吸着した水分を前記電子源素子に通電することなく効果的に除去することができる。
請求項12の発明は、請求項1の発明において、前記水分除去手段は、前記表面電極の表面へ乾燥ガスを供給することで水分を除去することを特徴とする。
この発明によれば、前記電子源素子に吸着した水分を前記電子源素子に通電することなく効果的に除去することができ、熱による電子放出特性の変動を防止することができる。
請求項1の発明では、大気中で電子源素子に吸着した水分を水分除去手段により除去することができるので、大気中での電子源素子の電子放出特性を安定化することができるとともに電子源素子の劣化を防止できるという効果がある。
(実施形態1)
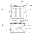
本実施形態の電子源装置は、図1に示すように、矩形板状の絶縁性基板(例えば、絶縁性を有するガラス基板、絶縁性を有するセラミック基板など)11の一表面上に金属膜(例えば、タングステン膜など)からなる下部電極12が形成され、下部電極12上に強電界ドリフト層6が形成され、強電界ドリフト層6上に金属薄膜(例えば、金薄膜)よりなる表面電極7が形成された電子源10と、電子源10の表面電極7に対向配置されるアノード電極21とを備えている。なお、本実施形態では、アノード電極21の形状を矩形板状としてあるが、アノード電極21の形状は特に限定するものではなく、例えば、電子源10から放出された電子の通過可能な網目を有した網状の形状としてもよい。また、アノード電極21は、例えば、電子源10との間に枠状のフレームを介在させて電子源10と対向配置するようにすればよいが、アノード電極21と電子源10とを対向配置するための構造は特に限定するものではない。
本実施形態では、強電界ドリフト層6が電子通過層を構成しており、下部電極12と電子通過層と表面電極7とで表面電極7を通して大気中へ電子を放出する電子源素子10aを構成している。また、本実施形態の電子源装置は、電子源素子10aの表面電極7と下部電極12との間に表面電極7を高電位側として駆動電圧を与える駆動手段(図示せず)およびアノード電極21と表面電極7との間にアノード電極21を高電位側として加速電圧を与える加速電圧印加手段(図示せず)を備え、さらに、電子源素子10aに吸着した水分を除去する水分除去手段として、絶縁性基板11の上記一表面上で下部電極12の両端(図1における左右両端面)に形成された一対の加熱用電極13,13と、両加熱用電極13,13間に通電する通電手段(図示せず)とを備えている。ここにおいて、本実施形態では、電子源素子10aの平面形状を矩形状としてあり、一対の加熱用電極13,13は、下部電極12の厚み方向に直交する面内で下部電極12を挟む形で下部電極12の外周面(上記左右両端面)に形成されている。なお、水分除去手段については電子源素子10aについて説明した後で述べる。
電子源素子10aの強電界ドリフト層6は、後述のナノ結晶化プロセスおよび酸化プロセスを行うことにより形成されており、図3に示すように、少なくとも、下部電極12の表面側に列設された柱状の多結晶シリコンのグレイン(半導体結晶)51と、グレイン51の表面に形成された薄いシリコン酸化膜52と、グレイン51間に介在する多数のナノメータオーダのシリコン微結晶(半導体微結晶)63と、各シリコン微結晶63の表面に形成され当該シリコン微結晶63の結晶粒径よりも小さな膜厚の酸化膜である多数のシリコン酸化膜(絶縁膜)64とから構成されると考えられる。ここに、各グレイン51は、下部電極12の厚み方向に延びている(つまり、絶縁性基板11の厚み方向に延びている)。
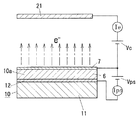
上述の電子源素子10aから電子を放出させるには、図2に示すように、表面電極7が下部電極12に対して高電位側となるように表面電極7と下部電極12との間に直流電圧(駆動電圧)Vpsを上記駆動手段により印加すれば、下部電極12から注入された電子が強電界ドリフト層6をドリフトし表面電極7を通して放出される(図2中の一点鎖線は表面電極7を通して放出された電子eの流れを示す)。ここに、強電界ドリフト層6の表面に到達した電子はホットエレクトロンであると考えられ、表面電極7を容易にトンネルし大気中に放出される。また、電子源素子10aに上記駆動電圧Vpsを印加するとともに、アノード電極21が表面電極7に対して高電位側となるようにアノード電極21と表面電極7との間に直流電圧(加速電圧)Vcを上記加速電圧印加手段により印加しておけば、電子源素子10aが上記駆動電圧Vpsにより駆動されて表面電極7を通して電子が放出され、表面電極7を通して放出された電子が上記加速電圧Vcにより加速される。
本実施形態の電子源素子10aでは、表面電極7と下部電極12との間に流れる電流をダイオード電流Ipsと呼び、アノード電極21と表面電極7との間に流れる電流をエミッション電流(放出電子電流)Ieと呼ぶことにすれば(図2参照)、ダイオード電流Ipsに対するエミッション電流Ieの比率(=Ie/Ips)が大きいほど電子放出効率(=(Ie/Ips)×100〔%〕)が高いことになる。ここに、本実施形態における電子源素子10aでは、表面電極7と下部電極12との間に印加する直流電圧Vpsを10〜20V程度の低電圧としても電子を放出させることができる。また、本実施形態の電子源素子10aは、電子放出特性の真空度依存性が小さく且つ電子放出時にポッピング現象が発生せず安定して電子を高い電子放出効率で放出することができるという特徴を有しており、大気中でも電子を放出することができる。
本実施形態における電子源素子10aの基本構成は周知であり、次のようなモデルで電子放出が起こると考えられる。すなわち、表面電極7と下部電極12との間に表面電極7を高電位側として電圧を印加することにより、下部電極12から強電界ドリフト層6へ電子eが注入される。一方、強電界ドリフト層6に印加された電界の大部分はシリコン酸化膜64にかかるから、注入された電子eはシリコン酸化膜64にかかっている強電界により加速され、強電界ドリフト層6におけるグレイン51の間の領域を表面に向かって図3中の矢印の向き(図3における上向き)へドリフトし、表面電極7をトンネルし放出される。しかして、強電界ドリフト層6では下部電極12から注入された電子がシリコン微結晶63でほとんど散乱されることなくシリコン酸化膜64にかかっている電界で加速されてドリフトし、表面電極7を通して放出され(弾道型電子放出現象)、強電界ドリフト層6で発生した熱がグレイン51を通して放熱されるから、電子放出時にポッピング現象が発生せず、安定して電子を放出することができる。
上述の強電界ドリフト層6の形成方法の一例について説明する。
強電界ドリフト層6の形成にあたっては、まず、絶縁性基板11上に形成した下部電極12上にノンドープの多結晶シリコン層を例えばLPCVD法などにより形成した後、上述のナノ結晶化プロセスを行うことにより、多結晶シリコンの多数のグレイン51(図3参照)と多数のシリコン微結晶63(図3参照)とが混在する複合ナノ結晶層(以下、第1の複合ナノ結晶層と称す)を形成する。ここにおいて、ナノ結晶化プロセスでは、55wt%のフッ化水素水溶液とエタノールとを略1:1で混合した混合液よりなる電解液を用い、下部電極12を陽極とし、電解液中において多結晶シリコン層に白金電極よりなる陰極を対向配置して、500Wのタングステンランプからなる光源により多結晶シリコン層の主表面に光照射を行いながら、電源から陽極と陰極との間に定電流(例えば、電流密度が12mA/cmの電流)を所定時間(例えば、10秒)だけ流すことによって、多結晶シリコンのグレイン51およびシリコン微結晶63を含む第1の複合ナノ結晶層を形成する。
ナノ結晶化プロセスが終了した後に、上述の酸化プロセスを行うことで第1の複合ナノ結晶層を電気化学的に酸化することによって、図3のような構成の複合ナノ結晶層(以下、第2の複合ナノ結晶層と称す)からなる強電界ドリフト層6を形成する。酸化プロセスでは、エチレングリコールからなる有機溶媒中に0.04mol/lの硝酸カリウムからなる溶質を溶かした溶液よりなる電解液を用い、下部電極12を陽極とし、電解液中において第1の複合ナノ結晶層に白金電極よりなる陰極を対向配置して、下部電極12を陽極とし、電源から陽極と陰極との間に定電流(例えば、電流密度が0.1mA/cmの電流)を流し陽極と陰極との間の電圧が20Vだけ上昇するまで第1の複合ナノ結晶層を電気化学的に酸化することによって、上述のグレイン51、シリコン微結晶63、各シリコン酸化膜52,64を含む第2の複合ナノ結晶層からなる強電界ドリフト層6を形成するようになっている。なお、本実施形態では、上述のナノ結晶化プロセスを行うことによって形成される第1の複合ナノ結晶層においてグレイン51、シリコン微結晶63以外の領域はアモルファスシリコンからなるアモルファス領域となっており、強電界ドリフト層6においてグレイン51、シリコン微結晶63、各シリコン酸化膜52,64以外の領域がアモルファスシリコン若しくは一部が酸化したアモルファスシリコンからなるアモルファス領域65となっているが、ナノ結晶化プロセスの条件によってはアモルファス領域65が孔となり、このような場合の第1の複合ナノ結晶層は多孔質多結晶シリコン層とみなすことができる。
なお、上述の強電界ドリフト層6では、シリコン酸化膜64が絶縁膜を構成しており絶縁膜の形成に酸化プロセスを採用しているが、酸化プロセスの代わりに窒化プロセスないし酸窒化プロセスを採用してもよく、窒化プロセスを採用した場合には各シリコン酸化膜52,64がいずれもシリコン窒化膜となり、酸窒化プロセスを採用した場合には各シリコン酸化膜52,64がいずれもシリコン酸窒化膜となる。
以下、上記水分除去手段としての上記加熱手段について説明する。
上記加熱手段は、上述のように、下部電極12の両端(図1における左右両端面)に形成された一対の加熱用電極13,13と、両加熱用電極13,13間に通電する通電手段とを備えており、上記通電手段は、下部電極12に所定電流密度(例えば、1mA/cm)の電流が流れるように加熱用電極13,13間にパルス状の電圧(加熱用電圧)を間欠的に印加する加熱用電源を備えている。なお、本実施形態では、下部電極12をタングステン膜により構成しているが、下部電極12は材料はタングステンに限定されるものではなく、例えば、モリブデン、クロム、チタン、タンタル、ニッケル、アルミニウム、銅、金、白金、シリサイドなどを採用してもよいし、多層構造としてもよい。
ところで、上記駆動手段は、表面電極7と下部電極12との間に表面電極7を高電位側としてパルス状の駆動電圧Vpsを間欠的に印加可能な駆動電源を備え、上記通電手段は、一対の加熱用電極13,13間にパルス状の加熱用電圧を間欠的に印加可能な加熱用電源を備えているが、本実施形態では、上記駆動手段による電子源素子10aへ上記駆動電圧Vpsが印加される期間の合間ごとに一対の加熱用電極13,13間に加熱用電圧を与えて一対の加熱用電極13,13間に通電して下部電極12に流れる電流によるジュール熱によって電子源素子10aを加熱するようになっている。すなわち、電子源素子10aへ駆動電圧Vpsが図4(a)に示すように間欠的に印加される場合、一対の加熱用電極13,13間には図4(b)に示すようなタイミングで加熱用電圧が間欠的に印加される。言い換えれば、本実施形態の電子源装置では、電子源素子10aの駆動期間と電子源素子10aの加熱期間とが交互に繰り返されることになる。
しかして、本実施形態の電子源装置では、大気中で電子源素子10aに吸着した水分を加熱手段により電子源素子10aを加熱することで蒸発させることができる(つまり、大気中で電子源素子10aに吸着した水分を上記水分除去手段により除去することができる)ので、大気中での電子放出特性を安定化することができるとともに電子源素子10aの劣化を防止できる。また、本実施形態では、電子源素子10aの駆動期間と電子源素子10aの加熱期間とが交互に繰り返されることになって、電子源素子10aの駆動と加熱とが同時に行われることがなく、電子源素子10aへの駆動電圧Vpsの印加後毎に電子源素子10aが加熱されるので、電子源素子10aの駆動に影響を与えることなく、電子源素子10aに吸着した水分を効果的に除去することができる。また、両加熱用電極13,13間に通電する際に、下部電極12には強電界ドリフト層6や表面電極7に比べて大きな電流を流すことができるので、電子源素子10aの加熱温度を高めることができ、電子源素子10aに吸着した水分を短時間で蒸発させることが可能となる。
ところで、本実施形態では、上記加熱手段における一対の加熱用電極13,13が、下部電極12の厚み方向に直交する面内で下部電極12を挟む形で下部電極12の外周面に形成されているが、一対の加熱用電極13,13を、電子通過層たる強電界ドリフト層6の厚み方向に直交する面内で強電界ドリフト層6を挟む形で形成してもよい(例えば、図1における強電界ドリフト層6の左右両側面に形成してもよく、この場合には絶縁性基板11の上記一表面と各加熱用電極13,13それぞれとの間に絶縁層を介在させればよい)。このように一対の加熱用電極13,13を強電界ドリフト層6の外周面に形成して上記通電手段から両加熱用電極13,13間に通電するようにした場合には、表面電極7や下部電極12に比べて水分を吸着しやすい構造を有すると考えられる強電界ドリフト層6で発生するジュール熱によって電子源素子10aが加熱されるので、電子源素子10aに吸着した水分を効果的に除去することができる。
また、一対の加熱用電極13,13を別途に設けずに表面電極7の両端間に通電手段から通電するようにしてもよく、この場合には、電子源素子10aを小さな電流で効果的に加熱することでき、大気と接していて水分が吸着しやすい表面電極7の水分を効果的に除去することができる。要するに、表面電極7に吸着した水分を強電界ドリフト層6や下部電極12まで侵入する前に除去することが可能となる。
また、一対の加熱用電極13,13を下部電極12における絶縁性基板11側に設けるようにすれば、加熱用電極13,13の形状や厚みの設計の自由度が増すとともに、加熱用電極13,13の材料の選択肢が多くなる。
(実施形態2)
本実施形態の電子源装置の基本構成は実施形態1と略同じであって、実施形態1にて説明した一対の加熱用電極13,13を設けずに、電子源素子10aを加熱する加熱手段が、表面電極7と下部電極12との間に表面電極7を低電位側とした逆バイアス電圧を印加することで電子源素子10aを加熱するように構成した点が相違し、他の構成は実施形態1と同じなので図示および説明を省略する。
ここにおいて、本実施形態では、電子源素子10aの表面電極7と下部電極12との間に、下部電極12を基準電位側として図5に示すように順バイアス電圧Vd(上記駆動電圧Vpsに相当する)と逆バイアス電圧−Vd(加熱用電圧)とが交互に印加されるようにしてある。ここに、順バイアス電圧および逆バイアス電圧の一例としては、順バイアス電圧Vdの電圧値を12V、パルス幅を100msecとし、逆バイアス電圧の絶対値を10V、パルス幅を100msecとし、順バイアス電圧Vdの印加期間と逆バイアス電圧−Vdの印加期間との間の期間であり表面電極7と下部電極12との間の電圧を0Vとする期間の時間幅は例えば10msecとすればよい。なお、順バイアス電圧Vdおよび逆バイアス電圧−Vdそれぞれのパルス幅は、例えば、10msec〜1secの範囲で適宜設定すればよい。
なお、実施形態1にて説明した上記駆動手段として表面電極7と下部電極12との間に順バイアス電圧(上記駆動電圧Vps)および逆バイアス電圧(加熱用電圧)を印加可能なものを用いることにより、上記駆動手段を加熱手段に兼用することができ、低コスト化が図れるとともに、順バイアス電圧を印加するタイミングと逆バイアス電圧を印加するタイミングとの制御が容易になる。
しかして、本実施形態の電子源装置では、実施形態1にて説明した一対の加熱用電極13,13が不要なので、電子源10に上記一対の電極13,13を設ける必要がなく、実施形態1に比べて構造が簡単となるという利点があり、また、電子源素子10aの厚み方向に流れる電流により発生するジュール熱によって電子源素子10aの全体を加熱することができ、水分を効果的に除去することができるという利点がある。
(実施形態3)
本実施形態の電子源装置の基本構成は実施形態1と略同じであって、実施形態1にて説明した一対の加熱用電極13,13を設けずに、電子源素子10aを加熱する加熱手段として、電子源10が載置されるヒータ(図示せず)と、当該ヒータへ通電する通電手段としての電源とを設けた点が相違し、他の構成は実施形態1と同じなので図示および説明を省略する。
しかして、本実施形態の電子源装置では、電子源素子10aに当該電子源素子10aを加熱するための特別な構成要素(構造)を付加する必要がなく、電子源10の製造にあたって電子源素子10a以外の構成要素を形成するためのプロセスを追加する必要がないので、電子源10の製造が容易になる。また、本実施形態の電子源装置では、電子源素子10aとは別体のヒータにより電子源素子10aを容易に加熱することができるとともに、電子源素子10aの駆動時にも電子源素子10aを加熱することが可能となり、電子源素子10aの駆動条件の制約が少なくなるという利点がある。逆に言えば、電子源素子10aの駆動条件に左右されることなく、電子源素子10aを加熱することが可能となり、電子源素子10aに吸着した水分をより効果的に除去することが可能となる。
(実施形態4)
本実施形態の電子源装置の基本構成は実施形態1と略同じであって、実施形態1にて説明した一対の加熱用電極13,13を設けずに、電子源素子10aを加熱する加熱手段として、図6に示すように、電子源素子10aにおける表面電極7の厚み方向において表面電極7に重なり且つ表面電極7の所定領域からの電子の放出を妨げない形状(図示例では、つづら折れ状)に形成された薄膜抵抗体からなるヒータ14と、ヒータ14へ通電する通電手段(図示せず)とを設けた点が相違し、他の構成は実施形態1と同じなので図示および説明を省略する。
上述のヒータ14は、表面電極7の下面側(強電界ドリフト層6側)に形成してある。ヒータ14の形成にあたっては、例えば、下部電極12上に強電界ドリフト層6を形成した後であって、表面電極7を形成する前に、強電界ドリフト層6上にヒータ14形成用にパターニングされたレジスト層を形成し、続いて、当該レジスト層をマスクとして強電界ドリフト層6の一部をヒータ14の厚み寸法に一致する深さまでエッチングし、その後、ヒータ14用の薄膜を成膜してリフトオフ法によりレジスト層14を除去すればよい。
本実施形態の電子源装置においても、電子源素子10aを駆動しながら電子源素子10aを加熱することが可能となる。
なお、本実施形態では、ヒータ14を表面電極7の下面側に形成してあるが、ヒータ14は表面電極7の上面側(表面側)に形成してもよいし、下部電極12と強電界ドリフト層6との間に形成してもよい。
(実施形態5)
本実施形態の電子源装置の基本構成は実施形態1と略同じであって、水分除去手段としての加熱手段の構成が相違する。本実施形態における加熱手段は、電子源10とアノード電極21との間の空間へ図7中に矢印で示す向きで高温ガスを供給する高温ガス供給手段(図示せず)を設けてあり、電子源素子10aの表面電極7の表面へ高温ガスを供給することにより電子源素子10aを加熱するようになっている。なお、実施形態1と同様の構成要素には同一の符号を付して説明を省略する。
ここにおける、高温ガスとしては、Nガスを所定温度(例えば、100〜400℃の範囲内で適宜設定すればよい)に加熱して用いているが、Arガスなどの他の不活性ガスを加熱してもよいし、Oガスなどを用いてもよい。なお、上記所定温度は、電子源素子10aに吸着した水分を蒸発させることができる温度であり且つ電子源素子10aの電子放出特性などが悪影響を受けない温度に設定する必要があることは勿論である。また、高温ガスの流量は、例えば1〜5L/min程度の範囲内で適宜設定すればよい。
しかして、本実施形態では、電子源素子10aが高温ガスにより加熱されて水分が除去されるので、電子源素子10aに吸着した水分を電子源素子10aに通電することなく効果的に除去することができる。
(実施形態6)
本実施形態の電子源装置の基本構成は実施形態5と略同じであって、高温ガスを供給する高温ガス供給手段の代わりに、乾燥ガスを供給する乾燥ガス供給手段を設けている点が相違するだけなので、図示を省略する。要するに、本実施形態では、電子源素子10aに吸着した水分を除去する水分除去手段が、表面電極7の表面へ乾燥ガスを供給することで水分を除去する点に特徴がある。
ここにおける、乾燥ガスとしては、乾燥Nガスを用いているが、Arガスなどの他の不活性ガスを用いてもよいし、乾燥Oガスなどを用いてもよい。なお、乾燥ガスとしては、相対湿度が0〜30%RHの範囲内のガスを用いればよいが、相対湿度が5%RH以下のガスを用いることが望ましい。また、乾燥ガスの流量は、例えば1〜5L/min程度の範囲内で適宜設定すればよい。
しかして、本実施形態では、電子源素子10aに吸着した水分を電子源素子10aに通電することなく効果的に除去することができ、熱による電子放出特性の変動を防止することができる。
上記各実施形態の電子源10は、絶縁性基板11の上記一表面側に下部電極12を形成しているが、絶縁性基板11に代えてシリコン基板などの半導体基板を用い、半導体基板と当該半導体基板の裏面側に積層した導電性層(例えば、オーミック電極)とで下部電極を構成するようにしてもよい。
実施形態1における電子源装置の概略構成図である。 同上における電子源素子の動作説明図である。 同上における電子源素子の要部説明図である。 同上の動作説明図である。 実施形態2における電子源装置の動作説明図である。 実施形態4における電子源装置を示し、(a)は要部平面図、(b)は要部断面図である。 実施形態5における電子源装置の概略構成図である。 従来例を示す電子源の動作説明図である。
符号の説明
6 強電界ドリフト層
7 表面電極
10 電子源
10a 電子源素子
11 絶縁性基板
12 下部電極
13 加熱用電極

Claims (12)

  1. 多数のナノメータオーダの半導体微結晶および各半導体微結晶それぞれの表面に形成され半導体微結晶の結晶粒径よりも小さな膜厚の多数の絶縁膜を有する電子通過層が下部電極と表面電極との間に設けられ、表面電極と下部電極との間に表面電極を高電位側とする駆動電圧が印加された時に表面電極を通して電子を放出する電子源素子と、電子源素子の表面電極と下部電極との間に前記駆動電圧を与える駆動手段と、電子源素子に吸着した水分を除去する水分除去手段とを備えることを特徴とする電子源装置。
  2. 前記水分除去手段は、前記電子源素子を加熱する加熱手段からなることを特徴とする請求項1記載の電子源装置。
  3. 前記加熱手段は、前記下部電極の両端に形成された一対の加熱用電極と、両加熱用電極間に通電する通電手段とからなることを特徴とする請求項2記載の電子源装置。
  4. 前記加熱手段は、前記電子通過層の厚み方向に直交する面内で前記電子通過層を挟む形で前記電子通過層の外周面に形成された一対の加熱用電極と、両加熱用電極間に通電する通電手段とからなることを特徴とする請求項2記載の電子源装置。
  5. 前記加熱手段は、前記表面電極の両端間に通電する通電手段からなることを特徴とする請求項2記載の電子源装置。
  6. 前記加熱手段は、前記表面電極と前記下部電極との間に前記表面電極を低電位側とした逆バイアス電圧を印加することで前記電子源素子を加熱することを特徴とする請求項2記載の電子源装置。
  7. 前記加熱手段は、前記電子源素子とは別体に設けたヒータと、ヒータへ通電する通電手段とからなることを特徴とする請求項2記載の電子源装置。
  8. 前記加熱手段は、前記電子源素子における前記表面電極の厚み方向において前記表面電極に重なり且つ前記表面電極の所定領域からの電子の放出を妨げない形状に形成された薄膜抵抗体からなるヒータと、ヒータへ通電する通電手段とからなることを特徴とする請求項2記載の電子源装置。
  9. 前記加熱手段は、前記下部電極における前記電子通過層とは反対側に形成された薄膜抵抗体からなるヒータと、ヒータへ通電する通電手段とからなることを特徴とする請求項2記載の電子源装置。
  10. 前記駆動電圧がパルス状電圧であって、前記駆動手段は、前記電子源素子へ前記駆動電圧を間欠的に印加し、前記加熱手段は、前記駆動手段による前記電子源素子へ前記駆動電圧が印加される期間の合間ごとに前記電子源素子を加熱することを特徴とする請求項4ないし請求項9のいずれかに記載の電子源装置。
  11. 前記加熱手段は、前記表面電極の表面へ高温ガスを供給することにより前記電子源素子を加熱することを特徴とする請求項2記載の電子源装置。
  12. 前記水分除去手段は、前記表面電極の表面へ乾燥ガスを供給することで水分を除去することを特徴とする請求項1記載の電子源装置。
JP2004107297A 2004-03-31 2004-03-31 電子源装置 Expired - Fee Related JP4433858B2 (ja)

Priority Applications (1)

Application Number Priority Date Filing Date Title
JP2004107297A JP4433858B2 (ja) 2004-03-31 2004-03-31 電子源装置

Applications Claiming Priority (1)

Application Number Priority Date Filing Date Title
JP2004107297A JP4433858B2 (ja) 2004-03-31 2004-03-31 電子源装置

Publications (2)

Publication Number Publication Date
JP2005294033A true JP2005294033A (ja) 2005-10-20
JP4433858B2 JP4433858B2 (ja) 2010-03-17

Family

ID=35326737

Family Applications (1)

Application Number Title Priority Date Filing Date
JP2004107297A Expired - Fee Related JP4433858B2 (ja) 2004-03-31 2004-03-31 電子源装置

Country Status (1)

Country Link
JP (1) JP4433858B2 (ja)

Cited By (1)

* Cited by examiner, † Cited by third party
Publication number Priority date Publication date Assignee Title
KR100967923B1 (ko) * 2007-01-17 2010-07-06 도쿄엘렉트론가부시키가이샤 기판 처리 장치 및 기판 처리 방법

Cited By (1)

* Cited by examiner, † Cited by third party
Publication number Priority date Publication date Assignee Title
KR100967923B1 (ko) * 2007-01-17 2010-07-06 도쿄엘렉트론가부시키가이샤 기판 처리 장치 및 기판 처리 방법

Also Published As

Publication number Publication date
JP4433858B2 (ja) 2010-03-17

Similar Documents

Publication Publication Date Title
WO2003077320A1 (en) Quantum device
JP4433858B2 (ja) 電子源装置
US6815315B2 (en) Method for electrochemical oxidation
JP4461802B2 (ja) 電界放射型電子源およびその製造方法
JP4120398B2 (ja) 電界放射型電子源の製造方法
JP4120397B2 (ja) 電界放射型電子源の製造方法
JP3963121B2 (ja) 陽極酸化方法、電気化学酸化方法、電界放射型電子源およびその製造方法
JP4483395B2 (ja) イオン発生装置
JP4168989B2 (ja) 電子線露光用電子源
JP4023312B2 (ja) 電界放射型電子源の製造方法
JP4616538B2 (ja) 電界放射型電子源の製造方法
JP4433857B2 (ja) 電界放射型電子源
JP3084272B2 (ja) 電界放射型電子源
JP2005317657A (ja) 電子線露光装置
JP4543716B2 (ja) 電子源およびその製造方法
JP2006329880A (ja) 圧力測定装置
JP4886173B2 (ja) 電子源の製造方法
JP3687527B2 (ja) 電界放射型電子源の製造方法、電界放射型電子源
JP2001189123A (ja) 電界放射型電子源およびその製造方法
JP2004259561A (ja) 電界放射型電子源の製造方法
JP2001189124A (ja) 電界放射型電子源およびその製造方法
JP2011216349A (ja) 電子源
JP2004047970A (ja) 電気化学酸化方法、電界放射型電子源およびその製造方法
JP2004206975A (ja) 電界放射型電子源
JP2005276693A (ja) 電子源およびその製造方法

Legal Events

Date Code Title Description
A621 Written request for application examination

Free format text: JAPANESE INTERMEDIATE CODE: A621

Effective date: 20070213

A977 Report on retrieval

Free format text: JAPANESE INTERMEDIATE CODE: A971007

Effective date: 20090903

A131 Notification of reasons for refusal

Free format text: JAPANESE INTERMEDIATE CODE: A131

Effective date: 20090915

A521 Written amendment

Free format text: JAPANESE INTERMEDIATE CODE: A523

Effective date: 20091116

TRDD Decision of grant or rejection written
A01 Written decision to grant a patent or to grant a registration (utility model)

Free format text: JAPANESE INTERMEDIATE CODE: A01

Effective date: 20091208

A01 Written decision to grant a patent or to grant a registration (utility model)

Free format text: JAPANESE INTERMEDIATE CODE: A01

A61 First payment of annual fees (during grant procedure)

Free format text: JAPANESE INTERMEDIATE CODE: A61

Effective date: 20091221

FPAY Renewal fee payment (event date is renewal date of database)

Free format text: PAYMENT UNTIL: 20130108

Year of fee payment: 3

FPAY Renewal fee payment (event date is renewal date of database)

Free format text: PAYMENT UNTIL: 20130108

Year of fee payment: 3

LAPS Cancellation because of no payment of annual fees