JP2005294001A - 光電変換素子 - Google Patents

光電変換素子 Download PDF

Info

Publication number
JP2005294001A
JP2005294001A JP2004106616A JP2004106616A JP2005294001A JP 2005294001 A JP2005294001 A JP 2005294001A JP 2004106616 A JP2004106616 A JP 2004106616A JP 2004106616 A JP2004106616 A JP 2004106616A JP 2005294001 A JP2005294001 A JP 2005294001A
Authority
JP
Japan
Prior art keywords
working electrode
photoelectric conversion
conversion element
dye
electrode
Prior art date
Legal status (The legal status is an assumption and is not a legal conclusion. Google has not performed a legal analysis and makes no representation as to the accuracy of the status listed.)
Granted
Application number
JP2004106616A
Other languages
English (en)
Other versions
JP4689183B2 (ja
Inventor
Tetsuya Ezure
哲也 江連
Nobuo Tanabe
信夫 田辺
Hiroshi Matsui
浩志 松井
Kenichi Okada
顕一 岡田
Current Assignee (The listed assignees may be inaccurate. Google has not performed a legal analysis and makes no representation or warranty as to the accuracy of the list.)
Fujikura Ltd
Original Assignee
Fujikura Ltd
Priority date (The priority date is an assumption and is not a legal conclusion. Google has not performed a legal analysis and makes no representation as to the accuracy of the date listed.)
Filing date
Publication date
Priority to JP2004106616A priority Critical patent/JP4689183B2/ja
Application filed by Fujikura Ltd filed Critical Fujikura Ltd
Priority to US10/566,985 priority patent/US20070125420A1/en
Priority to CN 200810147288 priority patent/CN101355187B/zh
Priority to CN 200810186129 priority patent/CN101452771B/zh
Priority to PCT/JP2004/011404 priority patent/WO2005015678A1/ja
Priority to EP04771391A priority patent/EP1667274A4/en
Priority to CN 200810147287 priority patent/CN101355186B/zh
Priority to AU2004302117A priority patent/AU2004302117B2/en
Priority to KR1020067002251A priority patent/KR100847551B1/ko
Priority to TW093123330A priority patent/TWI294187B/zh
Publication of JP2005294001A publication Critical patent/JP2005294001A/ja
Application granted granted Critical
Publication of JP4689183B2 publication Critical patent/JP4689183B2/ja
Anticipated expiration legal-status Critical
Expired - Fee Related legal-status Critical Current

Links

Images

Classifications

    • YGENERAL TAGGING OF NEW TECHNOLOGICAL DEVELOPMENTS; GENERAL TAGGING OF CROSS-SECTIONAL TECHNOLOGIES SPANNING OVER SEVERAL SECTIONS OF THE IPC; TECHNICAL SUBJECTS COVERED BY FORMER USPC CROSS-REFERENCE ART COLLECTIONS [XRACs] AND DIGESTS
    • Y02TECHNOLOGIES OR APPLICATIONS FOR MITIGATION OR ADAPTATION AGAINST CLIMATE CHANGE
    • Y02EREDUCTION OF GREENHOUSE GAS [GHG] EMISSIONS, RELATED TO ENERGY GENERATION, TRANSMISSION OR DISTRIBUTION
    • Y02E10/00Energy generation through renewable energy sources
    • Y02E10/50Photovoltaic [PV] energy
    • Y02E10/542Dye sensitized solar cells

Landscapes

  • Photovoltaic Devices (AREA)
  • Hybrid Cells (AREA)

Abstract

【課題】 発電効率に優れ、不具合発生時に修理や交換が容易な光電変換素子を提供する。
【解決手段】 作用極14、対極18および電解質層15とからなる積層体25と、作用極14または対極18に形成された導電体20と、これらを収容する筐体30とを備えた色素増感型太陽電池10において、筐体30は、積層体25を覆う枠体31と、積層体25を枠体31に固定する蓋体32とからなり、枠体31は作用極18において導電体20が形成されている位置に対応した領域を覆うものとする。
【選択図】 図1

Description

本発明は、色素増感太陽電池などの光電変換素子に関する。
環境問題、資源問題などを背景に、クリーンエネルギーとしての太陽電池が注目を集めている。太陽電池としては単結晶、多結晶あるいはアモルファスのシリコンを用いたものがある。しかしながら、従来のシリコン系太陽電池は、製造コストが高い上に、原料供給が不充分であるなどの課題が残されているため、普及していない。
また、Cu−In−Se系(CIS系とも呼ぶ)などの化合物系太陽電池も開発されており、この化合物系太陽電池は極めて高い光電変換効率を示すなど優れた特徴を有している。しかしながら、この化合物系太陽電池も、コストや環境負荷などの問題から普及していない。
これらの太陽電池に対して、スイスのグレッツェルらのグループなどから提案された色素増感型太陽電池は、安価で、かつ、高い光電変換効率が得られる光電変換素子として注目されている。
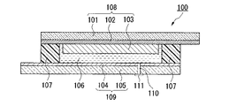
図4は、従来の色素増感型太陽電池の一例を示す概略断面図である。
この色素増感型太陽電池100は、増感色素を担持させた多孔質半導体電極(以下、「色素増感半導体電極」と言うこともある。)103が一方の面に形成された第一基板101と、導電膜104が形成された第二基板105と、これらの間に封入されたゲル状電解質などからなる電解質層106とから概略構成されている。
第一基板101としては光透過性の板材が用いられ、第一基板101の色素増感半導体電極103と接する面には導電性を付与するために透明導電膜102が設けられている。また、第一基板101、透明導電膜102および色素増感半導体電極103から窓極108が構成されている。
一方、第二基板105としては、電解質層106と接する側の面には導電性を付与するために炭素や白金などからなる導電膜104が設けられている。また、第二基板105および導電膜104から対極109が構成されている。
色素増感型太陽電池100では、色素増感半導体電極103と導電膜104が対向するように、第一基板101と第二基板105が所定の間隔をおいて配置されており、両基板間の周縁部に熱可塑性樹脂からなる封止材107が設けられている。この封止材107は、電解質層106に含まれる電解液が漏出したり、揮発性成分が揮発したりすることを防ぐ役目を果たしている。
次に、色素増感型太陽電池100の製造方法の概略を説明する。
まず、熱可塑性樹脂からなる封止材107を介して窓極108と対極109を積層した後、窓極108および対極109、または、窓極108あるいは対極109のいずれか一方を介して封止材107を加熱して、溶融することにより、窓極108と対極109を接着して、一対の電極(窓極108と対極109)からなる積層体を組み立てる。
次いで、対極109を貫通するように設けられた注入口110を通して、窓極108と対極109の間にヨウ素・ヨウ化物イオンなどの酸化・還元種を含む電解液を充填した後、注入口110を蓋111で塞ぎ、電荷移送用の電解質層106を形成し、一対の電極(窓極108と対極109)と、これらの間に挟まれた電解質層106からなる色素増感型太陽電池100を得る(例えば、特許文献1、非特許文献1参照。)。
上述のような色素増感型太陽電池100の製造では、積層体を組み立てる際に封止材107を溶融する熱によって、色素増感半導体電極103に担持させた増感色素が劣化するおそれがある。また、積層体を組み立てた後に、窓極108と対極109の間に電解液を充填しなければならなかった。その結果、電解液の粘度が高いと、電解液の充填には多大な時間と手間を要するという問題があった。
また、封止材107は熱可塑性樹脂からなるので、耐候性に劣るため、長期使用には適さないという問題があった。
さらに、窓極108と対極109の間に電解液を充填するためには、これらの電極間には所定の距離が必要である。その結果、最終的に得られる色素増感型太陽電池100の発電効率が低下するという問題があった。
特開2002−184478号公報 N.Papageorgiou et al.,J.Electrochem.Soc.,143(10),3099,1996
本発明は、前記事情に鑑みてなされたもので、安価に製造することが可能で、長期信頼性および発電効率に優れ、不具合発生時に修理や交換が容易な光電変換素子を提供することを目的とする。
本発明は、上記課題を解決するために、作用極、対極およびこれらの間に形成された電解質層を備える積層体と、前記作用極に形成された導電体と、これらを収容する筐体とを備えた光電変換素子であって、前記筐体は、前記積層体を覆う枠体と、前記積層体を前記枠体に固定する蓋体とからなり、前記枠体は前記作用極において前記導電体が形成されている位置に対応した領域を覆う光電変換素子を提供する。
上記光電変換素子において、前記導電体が前記作用極の周縁部に設けられていることが好ましい。
上記光電変換素子において、前記蓋体が前記枠体に取り外し可能に固定されていることが好ましい。
上記光電変換素子において、前記対極と前記蓋体との間に弾性部材が介在していることが好ましい。
本発明の光電変換素子は、積層体を組み立てた後に、作用極と対極の間に電解液を充填する必要がないので、工程を簡略化することができる。また、本発明の光電変換素子は、熱可塑性樹脂などからなる封止材を必要としないので、耐候性すなわち長期信頼性に優れている。さらに、本発明の光電変換素子は、作用極と対極の間に距離をおく必要がないので、発電効率に優れている。また、本発明の光電変換素子は、筐体を構成する枠体に設けられた押圧部が、作用極における少なくとも導電体が形成されている領域を覆っており、作用極における発電に関与する部分が蓋板などで覆われることなく、電解質層を作用極と対極で挟んでなる積層体が筐体によって封止されているから、作用極における発電に関与する部分に入射する光量が減少することがないため、より発電効率に優れたものとなる。
また、本発明の光電変換素子において、導電体を作用極の周縁部に形成すれば、作用極における発電に関与する部分の面積を大きくすることができ、基板の抵抗を下げることができるため、より発電効率に優れた光電変換素子を実現することができる。
また、本発明の光電変換素子において、筐体を構成する枠体と蓋体を取り外し可能に固定すれば、積層体に不具合が生じた場合、これを筐体から取り外して修理したり、良品に交換したりすることができる。また、筐体を繰り返し使用することができるので、製造コストを削減することもできる。
さらに、本発明の光電変換素子において、対極と蓋体との間に弾性部材を介在させれば、積層体の積層方向に外力が加えられても、作用極と対極との間で横ズレが発生するのを抑制することができる。また、弾性部材によって、積層体を、その積層方向に柔軟性を保ちながら強固に筐体に固定することができる。
以下、本発明を実施した光電変換素子について、図面を参照して説明する。
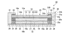
図1は、本発明に係る光電変換素子の第一の実施形態として、色素増感型太陽電池を示す概略断面図である。図2は、図1の色素増感型太陽電池を示す概略平面図である。
図1および図2中、符号10は色素増感型太陽電池、11は第一の基板、12は透明導電膜、13は多孔質酸化物半導体層、14は作用極、15は電解質層、16は第二の基板、17は導電膜、18は対極、19は弾性部材、20は導電体、21は隙間充填材、25は積層体、30は筐体、31は枠体、32は蓋体、33は接着剤層、34は接着剤層をそれぞれ示している。
この色素増感型太陽電池10は、増感色素が表面に担持された多孔質酸化物半導体層13が一方の面14aに設けられた作用極14と、一方の面14aと対向して配置された対極18と、一方の面14aと対極18における一方の面14aと対向する面18a(以下、「対極18の一方の面18a」と称する。)との間に形成された電解質層15と、一方の面14aの周縁部に設けられた導電体20と、これらを収容する筐体30とから概略構成されている。
なお、この色素増感太陽電池10では、電解質層15をなす電解質の大部分が、多孔質酸化物半導体層13の空隙部分に含浸された状態となっている。
作用極14は、第一の基板11と、この一方の面11a上に順に形成された透明導電膜12および多孔質酸化物半導体層13とから構成されている。また、作用極14の一方の面14aにおける周縁部には、多孔質酸化物半導体層13の側面13aを囲むように導電体20が設けられている。
対極18は、第二の基板16と、この一方の面16a上に形成された導電膜17とから構成されている。
色素増感型太陽電池10において、電解質層15を作用極14と対極18で挟んでなる積層体25が光電変換素子として機能する。
色素増感型太陽電池10において、積層体25は、積層体25の側面25aおよび作用極14における他方の面14bの一部を覆う枠体31と、対極18の他方の面18bに接して積層体25を枠体31に固定する蓋体32とからなる筐体30内に収容されている。
枠体31は、積層体25の側面25aの全域を外側から覆う枠部31Aと、枠部31Aから、これと垂直かつ内方(中心方向)に突設された押圧部31Bとから構成されている。そして、枠部31Aの内面31aには積層体25の側面25aが接するか、または、枠部31Aの内面31aの近傍に積層体25の側面25aが配されるように、積層体25が筐体30内に収容されている。また、押圧部31Bの内面31bには、接着剤層33を介して作用極14の他方の面14bが接している。また、押圧部31Bは、作用極14の他方の面14bにおいて、その一方の面14aに形成されている導電体20の位置に対応した領域を覆うように設けられており、押圧部31Bの端面31cと、導電体20の多孔質酸化物半導体層13側の側面20aとがほぼ同一面上に存在している。
また、蓋体32は、弾性部材19を介して対極18の他方の面18bに接している。さらに、蓋体32は、接着剤層34を介して枠体31に固定されている。
なお、押圧部31Bが、作用極14の他方の面14bにおいて、その一方の面14aに形成されている導電体20の位置に対応した領域を覆うように設けられている構造は、図1に示すように、押圧部31Bの端面31cと、導電体20の多孔質酸化物半導体層13側の側面20aとがほぼ同一面上に存在している構造だけでなく、押圧部31Bの端面31cが多孔質酸化物半導体層13の存在する領域に存在する構造や、押圧部31Bの端面31cが導電体20の側面20aよりも枠部31A側の領域に存在する構造を含む。
また、蓋体32と導電体20との間には、弾性部材19を介し、かつ、対極18の側面を囲むように隙間充填材21が配されている。なお、本発明の光電変換素子にあっては、隙間充填材は設けられていなくてもよい。
このような構成とすることにより、積層体25は、その上下面が枠体31の押圧部31Bと蓋体32で挟み込まれて、その積層方向に押圧された状態で、筐体30内に収容される。また、この状態で、積層体25の側面25aの全域が枠部31Aに覆われて、積層体25は筐体30によって一括して封止されている。
なお、蓋体32は、接着剤層34を介して枠体31に固定されているが、枠体31と蓋体32との間に、剃刀の刃などの薄く、硬い刃物を挿入することにより、蓋体32は、枠体31から容易に取り外すことができるようになっていることが好ましい。
第一の基板11としては、光透過性の素材からなる基板が用いられ、ガラス、ポリエチレンテレフタレート、ポリエチレンナフタレート、ポリカーボネート、ポリエーテルスルホンなど、通常、太陽電池の透明基板として用いられるものであればいかなるものもでも用いることができる。第一の基板11は、これらの中から電解液への耐性などを考慮して適宜選択されるが、用途上、できる限り光透過性に優れる基板が好ましい。
透明導電膜12は、第一の基板11に導電性を付与するために、その一方の面11aに形成された金属、炭素、導電性金属酸化物などからなる薄膜である。
透明導電膜12として金属薄膜や炭素薄膜を形成する場合、第一の基板11の透明性を著しく損なわない構造とする。透明導電膜12を形成する導電性金属酸化物としては、例えば、インジウム−スズ酸化物(Indium−Tin Oxide、ITO)、酸化スズ(SnO)、フッ素ドープの酸化スズなどが用いられる。
多孔質酸化物半導体層13は、透明導電膜12の上に設けられており、その表面には増感色素が担持されている。多孔質酸化物半導体層13を形成する半導体としては特に限定されず、通常、太陽電池用の多孔質半導体を形成するのに用いられるものであればいかなるものでも用いることができる。このような半導体としては、例えば、酸化チタン(TiO)、酸化スズ(SnO)、酸化タングステン(WO)、酸化亜鉛(ZnO)、酸化ニオブ(Nb)などを用いることができる。
多孔質酸化物半導体層13を形成する方法としては、例えば、ゾルゲル法からの膜形成、微粒子の泳動電着、発泡剤による多孔質化、ポリマービーズなどとの混合物塗布後における余剰成分の除去などの方法が挙げられるが、これらに限定されるものではない。
増感色素としては、ビピリジン構造、ターピリジン構造などを配位子に含むルテニウム錯体、ポルフィリン、フタロシアニンなどの含金属錯体、エオシン、ローダミン、メロシアニンなどの有機色素などを適用することができ、これらの中から、用途、使用半導体に適した励起挙動を示すものを特に限定無く選ぶことができる。
電解質層15は、多孔質酸化物半導体層13内に電解液を含浸させてなるものか、または、多孔質酸化物半導体層13内に電解液を含浸させた後に、この電解液を適当なゲル化剤を用いてゲル化(擬固体化)して、多孔質酸化物半導体層13と一体に形成されてなるものが用いられる。
電解液としては、ヨウ素、ヨウ化物イオン、ターシャリーブチルピリジンなどの電解質成分が、エチレンカーボネートやメトキシアセトニトリルなどの有機溶媒に溶解されてなるものが用いられる。
電解液をゲル化する際に用いられるゲル化剤としては、ポリフッ化ビニリデン、ポリエチレンオキシド誘導体、アミノ酸誘導体などが挙げられる。
第二の基板16としては、第一の基板11と同様のものや、特に光透過性をもつ必要がないことから金属板、合成樹脂板などが用いられる。
導電膜17は、第二の基板16に導電性を付与するために、その一方の面16aに形成された白金などの金属、炭素などからなる薄膜である。導電膜17としては、例えば炭素や白金などの層を、蒸着、スパッタ、塩化白金酸塗布後に熱処理を行ったものが好適に用いられるが、電極として機能するものであれば特に限定されるものではない。
弾性部材19としては、発泡ポリエチレン、発泡ポリウレタン、ゴムスポンジなどが用いられる。
色素増感型太陽電池10では、積層体25を筐体30によって封止することにより、積層体25にはその積層方向に外力が加えられる。弾性部材19を対極18と蓋体32との間に介在させることにより、この外力によって、作用極14と対極18との間で横ズレが発生するのを抑制することができる。また、弾性部材19によって、積層体25を、その積層方向に柔軟性を保ちながら強固に筐体30に固定することができる。
導電体20としては、スクリーン印刷法により、銀などの導電性インクで回路形成したものや、はんだ付けをして回路形成したものなどが挙げられる。導電体20は、色素増感型太陽電池10内で発生した電子を効率良く収集するために、作用極14の周縁部に(多孔質酸化物半導体層13の側面を囲むように)設けられている。
また、この導電体20を介して、積層体25と筐体30に設けられた外部接続用端子(図示略)とが電気的に接続できるようになっている。
隙間充填材21としては、発泡ポリエチレン、発泡ポリウレタン、ゴムスポンジなどが用いられる。
蓋体32と導電体20との間に隙間充填材21を介在させることにより、積層体25を筐体30によって封止する際に生じる外力によって、作用極14と対極18との間で横ズレが発生するのを抑制することができる。また、隙間充填材21によって、積層体25を、その積層方向に柔軟性を保ちながら強固に筐体30に固定することができる。
筐体30を構成する枠体31および蓋体32を形成する素材としては特に限定されないが、各種金属、セラミックス、各種合成樹脂などが用いられる。
接着剤層33をなす接着剤としては、第一の基板11を枠体31に接着可能なものであればいかなるものでも用いることができるが、特に、所定の外力を加えることによって、積層体25を枠体31から容易に取り外すことができるものが好ましい。接着剤層33をなす接着剤としては、例えば、エポキシ系接着剤などが用いられる。
接着剤層34をなす接着剤としては、接着剤層33をなす接着剤と同様のものを用いることも可能であるが、蓋体32を枠体31に接着可能なものであればいかなるものでも用いることができる。特に、接着剤層34をなす接着剤としては、所定の外力を加えることによって、蓋体32を枠体31から容易に取り外すことができるものが好ましい。接着剤層34をなす接着剤としては、例えば、エポキシ系接着剤などが用いられる。
以上説明したように、色素増感型太陽電池10では、積層体20を組み立てた後に、作用極14と対極18の間に電解液を充填する必要がないので、工程を簡略化することができる。また、色素増感型太陽電池10は、熱可塑性樹脂などからなる封止材を必要としないので、耐候性すなわち長期信頼性に優れている。さらに、色素増感型太陽電池10は、作用極14と対極18の間に距離をおく必要がないので、発電効率に優れている。
また、色素増感型太陽電池10は、筐体30を構成する枠体31に設けられた押圧部31Bが、作用極14の他方の面14bにおいて、一方の面14aに形成されている導電体20の存する領域を覆っており、作用極14における発電に関与する部分が蓋板などで覆われることなく、積層体25が筐体30によって封止される。したがって、作用極14における発電に関与する部分に入射する光量が減少することがないため、色素増感型太陽電池10はより発電効率に優れたものとなる。
また、色素増感型太陽電池10では、導電体20が作用極14における一方の面14aの周縁部に形成されているから、作用極14における発電に関与する部分の面積を大きくすることができるため、色素増感型太陽電池10はより発電効率に優れたものとなる。
さらに、色素増感型太陽電池10では、積層体25が接着剤層33を介して枠体31に取り外し可能に固定され、かつ、蓋体32が接着剤層34を介して枠体31に取り外し可能に固定されているから、積層体25に不具合が生じた場合、これを筐体30から取り外して修理したり、良品に交換したりすることができる。また、筐体30を繰り返し使用することができるので、製造コストを削減することもできる。
次に、本発明に係る光電変換素子の製造方法の一実施形態を、図1を参照して説明する。
この実施形態では、まず、第一の基板11における一方の面11a上に透明導電膜12および多孔質酸化物半導体層13が所定の方法により順に形成されてなる作用極14を用意する。
次いで、作用極14の一方の面14aにおける周縁部に導電体20を設ける。
次いで、多孔質酸化物半導体層13に、予めゲル化剤が添加された電解液を滴下して含浸させた後、この電解液をゲル化させて、多孔質酸化物半導体層13と一体をなす電解質層15を形成する。
次いで、作用極14の他方の面14bが接着剤層33を介して枠体31の押圧部31Bの内面31bに接するように、枠体31内に作用極14を配置する。
次いで、導電膜17が電解質層15に重なるように、対極18を作用極13に重ねて、電解質層15を作用極14と対極18で挟んでなる積層体25を、枠体31内に形成する。
次いで、対極18の側面を囲み、導電体20に当接するように隙間充填材21を配する。
次いで、弾性部材19を介して対極18を覆うように蓋体32を配する。
次いで、蓋体32の外側から積層体25の積層方向に荷重を加えながら、蓋体32を、接着剤層34を介して枠体31に固定し、筐体30で積層体25を封止することにより、色素増感型太陽電池10を得る。
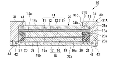
図3は、本発明に係る光電変換素子の第二の実施形態として、色素増感型太陽電池を示す概略断面図である。
この実施形態では、上記第一の実施形態とは、筐体30によって積層体25を封止する構造が異なっている。図3において、図1に示した第一の実施形態の構成要素と同じ構成要素には同一符号を付して、その説明を省略する。
色素増感型太陽電池40において、枠部31Aの内面31aには積層体25の側面25aが接しており、また、押圧部31Bの内面31bには、封止部材41を介して作用極14の他方の面14bが接している。
また、蓋体32は、封止部材42を介して枠体31に接している。さらに、蓋体32は、螺子43によって枠体31に固定されている。
なお、筐体30による積層体25の封止を十分なものとするためには、封止部材41を嵌合するための溝などからなる嵌合部(図示略)を、枠体31の押圧部31Bの内面31bおよび作用極14の一方の面14aに設けることが好ましい。また、封止部材42を嵌合するための溝などからなる嵌合部(図示略)を、枠体31の枠部31Aにおける蓋体32と接触する面および蓋体32の枠部31Aと接触する面に設けることが好ましい。
封止部材41、42としては、ニトリルゴム、シリコンゴム、ウレタンゴム、フッ素ゴムなどの弾性材料や、ポリ四フッ化エチレンなどからなるOリング、ガスケットなどが用いられる。
螺子43としては、蓋体32を枠体31に接合、固定することができるものであればいかなるものでも用いることができる。
なお、この実施形態では、蓋体32を枠体31に接合、固定する手段として、螺子43を例示したが、本発明の光電変換素子はこれに限定されない。本発明の光電変換素子にあっては、蓋体を枠体に接合、固定する手段としては、例えば、枠体に設けられた被係止部に、蓋体に回転可能に設けられたフラップ状の係止部を係止する手段や、枠体の枠部、押圧部および蓋体の表面に接するように筐体の外側に装着される、断面コ字形スリーブ状のバネのクランプ力によって挟み込む手段などを用いることもできる。また、前記被係止部に係止部を係止する手段は、被嵌合部に嵌合部を嵌合する手段であってもよい。
このような構成とすることにより、積層体25に不具合が生じた場合、積層体25を筐体30から容易に取り外して修理したり、良品に交換したりすることができる。
本発明によれば、高粘度もしくはゲル状の電解質を容易に充填できる利点を保ちながら、発生した電子を効率良く収集することができる色素増感型太陽電池を実現することができる。また、セルに入射する光量を減少することなく、筐体との分離性も高いことから、保守性やリサイクル性も高く、環境負荷の低い太陽電池を実現することができる。
本発明に係る光電変換素子の第一の実施形態として、色素増感型太陽電池を示す概略断面図である。 図1の色素増感型太陽電池を示す概略平面図である。 本発明に係る光電変換素子の第二の実施形態として、色素増感型太陽電池を示す概略断面図である。 従来の色素増感型太陽電池の一例を示す概略断面図である。
符号の説明
10,40・・・色素増感型太陽電池、11・・・第一の基板、12・・・透明導電膜、13・・・多孔質酸化物半導体層、14・・・作用極、15・・・電解質層、16・・・第二の基板、17・・・導電膜、18・・・対極、19・・・弾性部材、20・・・導電体、21・・・隙間充填材、25・・・積層体、30・・・筐体、31・・・枠体、31A・・・枠部、31B・・・押圧部、32・・・蓋体、33,34・・・接着剤層、41,42・・・封止部材、43・・・螺子。

Claims (4)

  1. 作用極、対極およびこれらの間に形成された電解質層を備える積層体と、前記作用極に形成された導電体と、これらを収容する筐体とを備えた光電変換素子であって、
    前記筐体は、前記積層体を覆う枠体と、前記積層体を前記枠体に固定する蓋体とからなり、前記枠体は前記作用極において前記導電体が形成されている位置に対応した領域を覆うことを特徴とする光電変換素子。
  2. 前記導電体が前記作用極の周縁部に設けられていることを特徴とする請求項1に記載の光電変換素子。
  3. 前記蓋体が前記枠体に取り外し可能に固定されていることを特徴とする請求項1または2に記載の光電変換素子。
  4. 前記対極と前記蓋体との間に弾性部材が介在していることを特徴とする請求項1ないし3のいずれかに記載の光電変換素子。

JP2004106616A 2003-08-06 2004-03-31 色素増感型太陽電池 Expired - Fee Related JP4689183B2 (ja)

Priority Applications (10)

Application Number Priority Date Filing Date Title
JP2004106616A JP4689183B2 (ja) 2004-03-31 2004-03-31 色素増感型太陽電池
KR1020067002251A KR100847551B1 (ko) 2003-08-06 2004-08-03 광전 변환 소자 및 그 제조 방법
CN 200810186129 CN101452771B (zh) 2003-08-06 2004-08-03 光电转换元件的制造方法
PCT/JP2004/011404 WO2005015678A1 (ja) 2003-08-06 2004-08-03 光電変換素子およびその製造方法
EP04771391A EP1667274A4 (en) 2003-08-06 2004-08-03 PHOTOELECTRIC CONVERTER AND MANUFACTURING METHOD THEREFOR
CN 200810147287 CN101355186B (zh) 2003-08-06 2004-08-03 光电转换元件
US10/566,985 US20070125420A1 (en) 2003-08-06 2004-08-03 Photoelectric converter and method for manufacturing same
CN 200810147288 CN101355187B (zh) 2003-08-06 2004-08-03 光电转换元件
AU2004302117A AU2004302117B2 (en) 2003-08-06 2004-08-03 Photoelectric converter and method for manufacturing same
TW093123330A TWI294187B (en) 2003-08-06 2004-08-04 Photoelectric conversion element and manufacturing method therefor

Applications Claiming Priority (1)

Application Number Priority Date Filing Date Title
JP2004106616A JP4689183B2 (ja) 2004-03-31 2004-03-31 色素増感型太陽電池

Publications (2)

Publication Number Publication Date
JP2005294001A true JP2005294001A (ja) 2005-10-20
JP4689183B2 JP4689183B2 (ja) 2011-05-25

Family

ID=35326709

Family Applications (1)

Application Number Title Priority Date Filing Date
JP2004106616A Expired - Fee Related JP4689183B2 (ja) 2003-08-06 2004-03-31 色素増感型太陽電池

Country Status (1)

Country Link
JP (1) JP4689183B2 (ja)

Cited By (2)

* Cited by examiner, † Cited by third party
Publication number Priority date Publication date Assignee Title
WO2009144899A1 (ja) * 2008-05-27 2009-12-03 株式会社フジクラ 光電変換素子
JP2018081990A (ja) * 2016-11-15 2018-05-24 株式会社フジクラ 光電変換装置

Citations (2)

* Cited by examiner, † Cited by third party
Publication number Priority date Publication date Assignee Title
JPH0242449U (ja) * 1988-09-16 1990-03-23
JP2002203612A (ja) * 2000-12-28 2002-07-19 Fdk Corp 光化学電池

Patent Citations (2)

* Cited by examiner, † Cited by third party
Publication number Priority date Publication date Assignee Title
JPH0242449U (ja) * 1988-09-16 1990-03-23
JP2002203612A (ja) * 2000-12-28 2002-07-19 Fdk Corp 光化学電池

Cited By (3)

* Cited by examiner, † Cited by third party
Publication number Priority date Publication date Assignee Title
WO2009144899A1 (ja) * 2008-05-27 2009-12-03 株式会社フジクラ 光電変換素子
JPWO2009144899A1 (ja) * 2008-05-27 2011-10-06 株式会社フジクラ 光電変換素子
JP2018081990A (ja) * 2016-11-15 2018-05-24 株式会社フジクラ 光電変換装置

Also Published As

Publication number Publication date
JP4689183B2 (ja) 2011-05-25

Similar Documents

Publication Publication Date Title
AU2004302117B2 (en) Photoelectric converter and method for manufacturing same
WO2008072568A1 (ja) 光電変換素子
JP4606777B2 (ja) 湿式太陽電池
JP4606780B2 (ja) 光電変換素子の製造方法
JP4689183B2 (ja) 色素増感型太陽電池
JP5128118B2 (ja) 湿式太陽電池とその製造方法
JP4545429B2 (ja) 光電変換素子及びその製造方法
JP4606764B2 (ja) 光電変換素子
JP4606754B2 (ja) 光電変換素子
JP4531388B2 (ja) 光電変換素子の製造方法
CN100536224C (zh) 光电转换元件及其制造方法
JP4570867B2 (ja) 光電変換素子
JP2005353296A (ja) 光電変換素子
JP4942919B2 (ja) 光電変換素子およびその製造方法
EP2264826A1 (en) Photoelectric conversion element manufacturing method
US20120305054A1 (en) Photoelectric conversion module
JP5362642B2 (ja) 色素増感太陽電池
JP2008065998A (ja) 太陽電池モジュール及びその製造方法
JP2010199082A (ja) 光電変換素子
JP2014165061A (ja) 色素増感太陽電池およびその製造方法、および電子機器
JP5214681B2 (ja) 光電変換素子
JP5160854B2 (ja) 色素増感太陽電池素子の製造方法
KR20100115174A (ko) 염료감응 태양전지의 밀봉방법 및 밀봉단계를 포함하는 염료감응 태양전지의 제조방법
JP2019021767A (ja) 光発電素子及びその製造方法
JP2016134595A (ja) 色素増感太陽電池および色素増感太陽電池システム

Legal Events

Date Code Title Description
A621 Written request for application examination

Free format text: JAPANESE INTERMEDIATE CODE: A621

Effective date: 20061128

A131 Notification of reasons for refusal

Free format text: JAPANESE INTERMEDIATE CODE: A131

Effective date: 20100629

A521 Request for written amendment filed

Free format text: JAPANESE INTERMEDIATE CODE: A523

Effective date: 20100830

A02 Decision of refusal

Free format text: JAPANESE INTERMEDIATE CODE: A02

Effective date: 20100928

A521 Request for written amendment filed

Free format text: JAPANESE INTERMEDIATE CODE: A523

Effective date: 20101224

A911 Transfer to examiner for re-examination before appeal (zenchi)

Free format text: JAPANESE INTERMEDIATE CODE: A911

Effective date: 20110113

TRDD Decision of grant or rejection written
A01 Written decision to grant a patent or to grant a registration (utility model)

Free format text: JAPANESE INTERMEDIATE CODE: A01

Effective date: 20110208

A01 Written decision to grant a patent or to grant a registration (utility model)

Free format text: JAPANESE INTERMEDIATE CODE: A01

A61 First payment of annual fees (during grant procedure)

Free format text: JAPANESE INTERMEDIATE CODE: A61

Effective date: 20110216

R151 Written notification of patent or utility model registration

Ref document number: 4689183

Country of ref document: JP

Free format text: JAPANESE INTERMEDIATE CODE: R151

FPAY Renewal fee payment (event date is renewal date of database)

Free format text: PAYMENT UNTIL: 20140225

Year of fee payment: 3

R250 Receipt of annual fees

Free format text: JAPANESE INTERMEDIATE CODE: R250

R250 Receipt of annual fees

Free format text: JAPANESE INTERMEDIATE CODE: R250

R250 Receipt of annual fees

Free format text: JAPANESE INTERMEDIATE CODE: R250

R250 Receipt of annual fees

Free format text: JAPANESE INTERMEDIATE CODE: R250

R250 Receipt of annual fees

Free format text: JAPANESE INTERMEDIATE CODE: R250

R250 Receipt of annual fees

Free format text: JAPANESE INTERMEDIATE CODE: R250

R250 Receipt of annual fees

Free format text: JAPANESE INTERMEDIATE CODE: R250

R250 Receipt of annual fees

Free format text: JAPANESE INTERMEDIATE CODE: R250

R250 Receipt of annual fees

Free format text: JAPANESE INTERMEDIATE CODE: R250

R250 Receipt of annual fees

Free format text: JAPANESE INTERMEDIATE CODE: R250

LAPS Cancellation because of no payment of annual fees