JP2005293691A - テープカートリッジ - Google Patents

テープカートリッジ Download PDF

Info

Publication number
JP2005293691A
JP2005293691A JP2004105421A JP2004105421A JP2005293691A JP 2005293691 A JP2005293691 A JP 2005293691A JP 2004105421 A JP2004105421 A JP 2004105421A JP 2004105421 A JP2004105421 A JP 2004105421A JP 2005293691 A JP2005293691 A JP 2005293691A
Authority
JP
Japan
Prior art keywords
tape
reel
magnetic
hub
magnetic member
Prior art date
Legal status (The legal status is an assumption and is not a legal conclusion. Google has not performed a legal analysis and makes no representation as to the accuracy of the status listed.)
Pending
Application number
JP2004105421A
Other languages
English (en)
Inventor
Shuichi Kikuchi
修一 菊地
Kazuo Sasaki
一雄 佐々木
Hitomi Chiba
ひとみ 千葉
Current Assignee (The listed assignees may be inaccurate. Google has not performed a legal analysis and makes no representation or warranty as to the accuracy of the list.)
Sony Corp
Original Assignee
Sony Corp
Priority date (The priority date is an assumption and is not a legal conclusion. Google has not performed a legal analysis and makes no representation as to the accuracy of the date listed.)
Filing date
Publication date
Application filed by Sony Corp filed Critical Sony Corp
Priority to JP2004105421A priority Critical patent/JP2005293691A/ja
Publication of JP2005293691A publication Critical patent/JP2005293691A/ja
Pending legal-status Critical Current

Links

Images

Landscapes

  • Winding Of Webs (AREA)

Abstract

【課題】 ハブ(テープリール)の回転速度の高速化に対応でき、低コストで生産性に優れたテープカートリッジを提供する。
【解決手段】 磁気テープが巻装されカートリッジケースに回転可能に収容されたハブ57(テープリール56)の内部に、リール回転駆動軸81に磁気吸着する磁性部材76を収納する収納部77を形成する。これにより、テープリール56の回転時、ハブ57に内装された磁性部材76がリール回転駆動軸81上端の永久磁石に磁気吸着して、テープリール56とリール回転駆動軸81との密着状態を保持し、高速回転時における安定性を向上させる。この場合、磁性部材76はハブ57に内装された構成であるので、防錆や脱落等の製品管理負担を削減でき、テープリールを低コストに、かつ生産性高く製造することができる。
【選択図】 図13

Description

本発明は、テープ状記録媒体としての磁気テープが巻装されたハブをカートリッジケースに回転可能に収納してなるテープカートリッジに関し、更に詳しくは、磁気テープの安定した高速走行性を得ることができるテープカートリッジに関する。
従来より、磁気テープは、情報信号、楽音信号あるいは映像信号等を記録する情報信号記録媒体として、オーディオテープレコーダ、ビデオテープレコーダあるいは情報処理装置の外部記憶装置等の磁気記録再生装置に用いられており、テープリールに巻回されて使用されている。
図21は、従来より公知のテープカートリッジの第1の構成例であり、上シェル102と下シェル103とを互いに結合してなるカートリッジケース104の内部に、磁気テープ105が巻装された一対のテープリール106,106を回転可能に収納した、いわゆる2リールタイプのテープカートリッジ101の構成を示している。
一方、図22は、従来より公知のテープカートリッジの第2の構成例であり、上シェル112と下シェル113とを互いに結合してなるカートリッジケース114の内部に、磁気テープ115が巻装された単一のテープリール116を回転可能に収納した、いわゆる1リール(単リール)タイプのテープカートリッジ111の構成を示している。
上記いずれのタイプのテープリール106,116も、磁気テープ105,115の巻芯部となるハブ106A,116Aと、このハブの下端に形成された円盤状の下フランジ106B,116Bと、ハブの上端に接合された円盤状の上フランジ106C,116Cとで構成されている。なお、これら上下フランジを備えないでハブ単体で磁気テープを巻装するタイプのテープカートリッジも、例えばDDS/DATカセット等のように知られている。
これらのテープカートリッジ101,111においては、テープリール106,116をカートリッジケース104,114の内部で回転させて磁気テープ105,115を走行させるようにしている。テープリール106,116の回転駆動は、従来より、テープカートリッジ101,111が装着される記録再生装置のリール回転駆動軸によって行われている。
例えば、第1のテープカートリッジ101におけるテープリール106の下面中央部には、図23に示すように、記録再生装置のリール回転駆動軸107が挿通されるリール孔108Aが設けられている。このリール孔108Aは、筒状に形成されたハブ106Aの内周面に相当する。そして、リール孔108Aの内周面から径内方に突出形成されたチャッキングギヤ108に、リール回転駆動軸107の先端外周面に放射状に形成された係合突起109が係合することによって、リール回転駆動軸107の回転駆動力がテープリール106に伝達される構成とされている。
一方、第2のテープカートリッジ111におけるテープリール116にあっては、その下面中央部に、図24に示すように、記録再生装置のリール回転駆動軸117と係合する環状のチャッキングギヤ118が設けられている。このチャッキングギヤ118の形成領域は、筒状に形成されたハブ116Aの底部領域に相当する。そして、このチャッキングギヤ118に、リール回転駆動軸117の先端に環状に形成された係合突起119が係合することによって、リール回転駆動軸117の回転駆動力がテープリール116に伝達される構成とされている。
特開2002−304865号公報
ところで、磁気テープ記録再生装置においては、磁気テープに記録された情報信号の高速アクセスを可能とするために、巻戻し動作あるいは高速送り動作に際しては、通常の磁気テープの走行速度に対して数倍ものスピード(例えば数メートル/秒)で磁気テープを走行させている。
特に、近年においては、1巻のカートリッジに数百ギガバイトもの情報を記録できるテープカートリッジも開発されており、アクセス速度向上のために磁気テープの走行スピードは更に高速化されている(例えば数十メートル/秒)。
このように、高速で回転されるテープリールにおいては、その回転時、テープリールとリール回転駆動軸とが精度良く係合される必要があり、かつ、係合後及び回転駆動中にあっては、テープリールとリール回転駆動軸とが相互に密着し自由に挿脱したり揺動することなく、その密着状態を保持する必要がある。
しかしながら、従来のテープカートリッジにおいては、テープリールとリール回転駆動軸との間を強固に密着させる手段を有していないので、テープリールとリール回転駆動軸との間の軸心位置のバラツキや、テープリールとリール回転駆動軸との間の係合のバラツキ等に起因して発生するテープリールの軸振れ、面振れ、周振れ等により、磁気テープの安定した高速走行性を確保することが難しいと共に、アクセス速度向上のための磁気テープの更なる高速回転化に対応することができないという問題がある。
また、テープリールとリール回転駆動軸とが強固に密着されていないと、テープリールの回転駆動時において、テープリールの駆動方向の変化すなわち巻取りから巻出し(又はその逆)の駆動切替があった場合、記録再生装置内における磁気テープの位置等に変化が生じ、高精度なテープ走行が阻害されてしまうことになる。
なお、上記特許文献1には、テープリールの下面中央部にリール回転駆動軸の先端に磁気吸着する磁性金属板を配置することにより、テープリールとリール回転駆動軸との密着を図る構成が開示されている。図25に示すように、この種のテープリール120は、下フランジの下面中央部に、磁性材料でなる環状の金属プレート122をインサート成形により外装してなるもので、金属プレート122の外周側には、リール回転駆動軸と係合するチャッキングギヤ121が略環状に形成され、金属プレート122の内周縁部122aには、テープリール120に対する当該金属プレート122の位置決め用の突起124が当接している。また、金属プレート122の面内複数箇所には、当該金属プレート122の脱落防止用の抜け止め部123が貫通形成されている。
上記特許文献1の構成では、テープリール120の回転時における重心バランスを確保するため、金属プレート122はテープリール120の下面中央部に対して高精度に取り付けられる必要がある。そのために金属プレート122の内周側を開口させ、これに位置決め用突起124を当接させて、テープリール120に対する金属プレート122の高精度な位置決めを確保している。しかしながら、磁力が最も強く出現する金属プレート122の中心部を位置決めのために開口させざるを得ない構成であるので、リール回転駆動軸との磁気吸着作用を有効に活用しているとは言い難く、テープリールの回転速度の更なる高速化に対応できなくなる。
また、テープリール120の下面中央部に磁性金属プレート122をインサート成形により一体化する従来の構成においては、テープリール120からの金属プレート122の脱落防止対策が必須となる。従って、テープリールの高速回転化に対応するためには、金属プレートの抜け止め構造がより一層重要な設計課題となると同時に、更に高い信頼性が要求されることになり、これが原因でテープリールの生産性及び製造コストが悪化するおそれがある。更に、金属プレート122が全体的にテープリール120の下面に露出しているため、防錆処理が必須となり、これが原因でテープリール及びテープカートリッジの高コスト化を引き起こしている。
本発明は上述の問題に鑑みてなされ、ハブ(テープリール)の回転速度の更なる高速化にも十分に対応でき、低コストで生産性に優れたテープカートリッジを提供することを課題とする。
以上の課題を解決するに当たり、本発明のテープカートリッジは、カートリッジケースと、磁気テープが巻装されカートリッジケースに回転可能に収容されたハブと、記録再生装置の回転駆動軸に磁気吸着する磁性部材と、ハブの内部に形成され上記磁性部材が収納される収納部とを備えている。
本発明では、記録再生装置の回転駆動軸に磁気吸着する磁性部材を、ハブの内部に形成した収納部に内装させる構成としたことにより、ハブとリール回転駆動軸とを精度良く係合させ、かつ、係合後及び回転駆動中にあっては、ハブとリール回転駆動軸との間を強固に密着させ、自由に挿脱したり揺動することなくその密着状態を保持することができるようになり、ハブ回転速度の更なる高速化にも十分に対応することが可能となると共に、ハブの駆動方向が変化した場合にも、高精度なテープ走行性を確保することができる。
また、上記磁性部材をハブの内部の収納部に収納させる構成であるので、当該磁性部材のハブからの脱落防止対策を別途要することなく高い信頼性をもってテープカートリッジを構成することができる。更に、ハブに対する磁性部材の位置決め機構も特別要することなく構成できるので、磁気吸着力を向上させて、ハブ回転速度の高速化に至っても、ハブと回転駆動軸との密着力を確保し、ハブの安定した回転駆動を実現できる。更に又、磁性部材がハブに内装される構成であるので、磁性部材に対する防錆処理は特別要求されず、また、磁性部材に高い品質が要求されることもないので、テープカートリッジを安価に製造することが可能となる。
なお、本発明において「ハブ」とは、磁気テープの巻芯部を意味し、この巻芯部のみで構成される形態は勿論、巻芯部の上端及び/又は下端から径外方へ延在するフランジが形成されてなるリール(テープリール)としての形態も、本発明の適用範囲内である。
以上のように、本発明のテープカートリッジによれば、記録再生装置の回転駆動軸と磁気吸着させる磁性部材をハブに内装させる構成としたので、磁性部材の脱落及び回転駆動軸との密着力低下の懸念を払拭して、ハブの高速回転化に十分に対応することが可能となり、これにより磁気テープの高速走行時の安定性の向上を図ることができる。更に、低コストかつ生産性高くテープカートリッジを製造することが可能となる。
以下、本発明の実施の形態について図面を参照して説明する。
(第1の実施の形態)
図1は本発明の第1の実施の形態によるテープカートリッジ1の構成を示す分解斜視図である。テープカートリッジ1は、例えば合成樹脂材料でなる上シェル2と下シェル3とを互いに結合してなるカートリッジケース4の内部に、テープ状記録媒体としての磁気テープ5を巻装した一対のテープリール6,6を左右に離間して回転可能に収納して構成されている。
カートリッジケース4の前部には、前方及び上下に開放されるテープローディング用の空間部(マウス部)7が形成されている。磁気テープ5は、この空間部を横切るように、カートリッジケース4の前部から突出形成された一対の角筒状のテープ引出し部8,8間に架け渡されることによって構成され、空間部7を区画し、その下シェル3側にはテープ走行領域を構成するテープガイド9,9がそれぞれ設けられている。
空間部7を横切る磁気テープ5は、非使用時、リッド構体10により覆われており、磁気テープ5への塵埃の付着や手指の接触による油脂等の付着が防止されるようになっている。リッド構体10は、磁気テープ5の前面側を覆うフロントリッド11と、磁気テープ5の背面側を覆うバックリッド12との組合せ体で構成されている。フロントリッド11は、その両端内面側に突出形成された回動軸25のまわりに回動可能とされ、カートリッジ非使用時はリッドスプリング26の付勢力により空間部7を閉塞すると共に、リッドロック部材27によって不用意な開放動作が規制される。
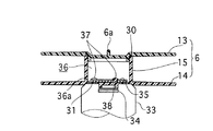
一対のテープリール6,6はそれぞれ上フランジ13と下フランジ14との接合体でなり、下フランジ14には、磁気テープ5の巻芯部を構成するハブ15が一体形成されている。磁気テープ5は、各テープリール6,6のハブ15に対して、磁性面を外向きに透明なリーダーテープLTを介してクランパ16により一体化されている。
カートリッジケース4の内部には、更に、リールロック部材18、リールロックスプリング19、一対のリールスプリング20,20、セイフティタブ21、ランプキャップ22等が収納され、上シェル2の内面部には透明材料でなる窓部材Wが接合されている。
リールロック部材18は、テープカートリッジ1の非使用時、リールロックスプリング19の付勢力を受けて、テープリール6,6(下フランジ14,14)の外周面に形成されているギヤに係合してテープリール6,6の回転を規制し、カートリッジケース4の内部における磁気テープ5の弛みを防止する。
リールスプリング20,20は、上シェル2の内面側に取り付けられており、テープリール6,6の上面中央部に突設されたバネ受け部6aを押圧している。そして、非使用時にはテープリール6,6を下シェル3側に押し付けて当該テープリール6,6のガタツキを抑える。また、カートリッジ使用時においては、テープリール6,6をリール回転駆動軸に押し付けて当該テープリール6,6の回転の安定化を図る。
セイフティタブ21は、磁気テープ5に記録された情報の誤消去や誤記録を防止するためのもので、カートリッジケース4の背面側において記録可能位置と記録不可能位置との間をスライド自在に組み込まれている。
ランプキャップ22は、記録再生装置の内部においてカートリッジケース4の前面側中央の筒状部23に挿入されるテープ検出用の発光体を覆う透明な部材であり、発光体からの照射光をテープ引出し部8,8の外面に設けられた検出窓24へ導く機能を有する。
次に、テープリール6の詳細について図2〜図5を参照して説明する。
ここで、図2はテープリール6の上フランジ13を取り外して見たときの斜視図、図3は、テープリール6を下フランジ側から見た斜視図、図4はリール回転駆動軸33と係合しているテープリール6の側断面図、図5はテープリール6の上フランジ13を取り外して見たときの平面図である。
上述のように、テープリール6は、上フランジ13、下フランジ14及びハブ15で構成されている。これら上フランジ13、下フランジ14及びハブ15は、それぞれ、ポリカーボネート(PC)樹脂、ポリスチレン(PS)樹脂、ポリアセタール(POM)樹脂、アクリロニトリルスチロール(AS)樹脂等の合成樹脂材料で形成できるが、これ以外に、アルミニウムあるいはチタン、マグネシウム等の金属材料や、鉄あるいは磁性ステンレス鋼(SUS430等)といった磁性材料等で構成することもできる。
また、本実施の形態において、ハブ15は、下フランジ14とは一体的に形成され、上フランジ13とは、ハブ15の上端に形成された溶着リブ30を介しての超音波接合等により一体化されているが、勿論、これらを別部材で構成してもよい。特に、下フランジ14を磁性材料で形成することにより、後述するようにリール回転駆動軸より発生する磁界を遮蔽して磁気テープ5に対する磁気的な影響を回避することができる。この場合、下フランジ14は、金属材料等の薄板を円盤状に打抜き形成したり型成形で構成できる。また、上記磁性材料は、合成樹脂材料中に磁性金属フィラーを含有させた複合材料や、表面に磁性層を形成したものでもよい。
テープリール6の下面中央部には、記録再生装置側のリール回転駆動軸33と係合するチャッキングギヤ31が駆動係合部として形成されている。チャッキングギヤ31は、ハブ15の底部外面側に形成されており、リール回転駆動軸33の先端と係合し、当該リール回転駆動軸33の回転駆動力がこれらチャッキングギヤ31との係合機構を介してテープリール6に伝達されるようになっている。
テープリール6とリール回転駆動軸33との間の密着性を高めるため、テープリール6には、リール回転駆動軸33に対して磁気吸着する磁性部材35が設けられている(図4,図5)。一方、リール回転駆動軸33の先端には、上記磁性部材35に磁気吸着力を発生させる永久磁石34が組み込まれている。
従って、テープリール6とリール回転駆動軸33とが精度良く係合し、係合後及び回転駆動中にあっては、テープリール6とリール回転駆動軸33との間が強固に密着して、自由に挿脱したり揺動することなくその密着状態が保持される。これにより、テープリール6とリール回転駆動軸33との間の軸心位置のバラツキや、テープリール6とリール回転駆動軸33との間の係合のバラツキ等に起因して発生するテープリール6の軸振れ、面振れ、周振れ等を防止して、磁気テープ5の安定した高速走行性を確保することができる共に、アクセス速度向上のため、テープリール6の更なる高速回転化にも十分に対応することが可能となる。
図4及び図5に示したように、磁性部材35は、ハブ15に内装されている。ハブ15は筒状を有し、ハブ15の内部には、磁性部材35を収納する収納部36が形成されている。収納部36の底部36aは平坦で、ここにハブ15の内径よりも小径な円盤状の磁性部材35が載置されている。特に本実施の形態では、図5に示すように、ハブ15の周面に形成されたクランパ16組込用の凹所32にほぼ内接する大きさに、磁性部材35の外径が設定されている。
これにより、テープリール6の回転時における遠心力及びイナーシャ(慣性)の影響を小さくすることが可能となるので、これに起因するテープリール6の回転振動を低く抑えることが可能となり、高速信頼性を高くすることができる。また、磁性部材35とリール回転駆動軸33との間に形成される磁界を、ハブ15に巻装されている磁気テープ5から遠ざけることができるので、磁気テープ5が受ける磁気的影響を抑止できる。
ここで、磁性部材35は、鉄や磁性ステンレス鋼(例えばSUS430)、珪素鋼板、パーマロイ等の軟磁気特性を有する強磁性材料で形成され、打抜きプレス等の機械加工により容易に製造できる。また、例えばNiめっき等、防錆等のための特殊な表面処理は必要に応じて省略でき、厳しい寸法精度も必要とされないので、低コストに製造できる。更に、磁性部材35の面内中央部に位置決めのための加工を必要としないので、磁性部材35の中央部に出現する強力な磁気吸着力を有効に活用することが可能となり、高速走行時におけるテープリール6とリール回転駆動軸33との密着性を高めて磁気テープ5の走行安定性の向上を図ることができる。
なお、磁性部材35は円盤状に限らず、多角形状でもよい。また、磁性部材35は板状に限らず、例えばブロック状のものも適用可能であるが、テープリール6の安定した回転姿勢を確保するために、テープリール6の重心位置はなるべく低くなるように構成されているのが好ましい。
磁性部材35は、図4に示すように、収納部36の底部36aにかしめ固定することができる。この場合、収納部36の底部36aに、かしめ固定用の複数本の突起37を立設し、これに対応して、磁性部材35には、突起37が挿通される孔38を貫通形成しておく。そして、磁性部材35を収納部36に収納する際、孔38に突起37を挿通させ、磁性部材35の上面から突出した突起37の先端に例えば超音波振動を付与して溶融拡径させることにより、磁性部材35を収納部底部36aへ固着できる。
なお、かしめ用の突起37は、テープリール6の回転軸の軸心を中心とする同一円周上に配置形成する。これにより、テープリール6の回転時における動的安定性(ダイナミックバランス)を確保して、高速信頼性を確保することができる。
収納部36における磁性部材35の支持は、上記かしめ固定に限らず、例えば図6に示すように、収納部36の底部36aに載置されている磁性部材35の上面と対向する姿勢保持体39を上フランジ13の中央部内面に設け、この姿勢保持体39と磁性部材35との当接作用によって、磁性部材35の横臥姿勢を保持するようにしてもよい。
姿勢保持体39は、環状の連続した又は非連続のリブ体や突起、ボス等で構成することができる。また、磁性部材35との当接位置は、磁性部材35の上面であれば特に限定されず、周縁部や内央部であってもよい。更に、定常状態において、姿勢保持体39と磁性部材35とは互いに当接していなくてもよく、これらの間に一定の隙間が形成されていてもよい。
このように、磁性部材35をハブ15の内部の収納部36に内装させる構成とすることにより、ハブ15に対する磁性部材35の位置決め保持が容易となり、従来のように磁性部材の中心部に開口を形成する必要もない。従って、最も強く磁力が出現する磁性部材35の中心部をリール回転駆動軸との主要磁気吸着部として構成できるので、テープリール6とリール回転駆動軸との間の強固な密着状態を確保することができる。
ところで、図7に示すように、テープリールの下フランジ41を例えば磁性部材35と同様な磁性材料で構成するようにすれば、リール回転駆動軸に設けられた永久磁石と、リールハブ15に巻装された磁気テープとの間を磁気的に遮蔽して、磁気テープに対する磁力の影響を排除しながら、リールハブ15の安定した保持力を発揮できる。
この下フランジ41をリールハブ15の下端へ接合する方法としては、例えば、リールハブ15下端の外径をあらかじめ下フランジ41の内径よりも若干小さく形成しておき、下フランジ41の内周部へリールハブ15の下端を挿着後、当該リールハブ15の下端をかしめ具を用いて溶融拡径させた溶着部15pによって、下フランジ41とリールハブ15との一体化を図ることができる。
以上のように構成される本実施の形態のテープカートリッジ1においては、記録再生装置へ装着されると、リッド構体10が回動して空間部7が開放されると共に、リールロック部材18によるテープリール6,6の回転規制が解除されて、カートリッジケース4の内部においてテープリール6,6が回転可能な状態とされる。そして、テープリール6,6の各々のチャッキングギヤ31にリール回転駆動軸33が係合すると共に、空間部7を介して磁気テープ5がローディングされ、テープリール6,6の回転による磁気テープ5の送り動作あるいは巻戻し動作が行われる。
本実施の形態では、テープリール6のハブ15の底部内面に、リール回転駆動軸33の永久磁石34へ磁気吸着する磁性部材35が収納配置されているので、テープリール6とリール回転駆動軸33との間の密着力が向上し、高速回転駆動時におけるテープリール6の浮上、揺動を回避して安定した回転姿勢を保持でき、磁気テープ5の高速走行時の安定性を向上させることができる。
また、リール回転駆動軸33と磁気吸着する磁性部材35は、テープリール6のハブ15の収納部36に内装された構成であるので、磁性部材35がテープリール6から分離、脱落するといった懸念を解消できる。また、外部からの衝撃を直接磁性部材35が受けない構成なので、磁性部材35の錆、傷、摩耗等に対する考慮も特に必要なく、磁性部材35を安価に、生産性高く、作製できるようになる。
(第2の実施の形態)
図8は、本発明の第2の実施の形態によるテープカートリッジ51の構成を示す分解斜視図である。テープカートリッジ51は、例えば合成樹脂材料でなる上シェル52と下シェル53とを互いに結合することにより形成されるカートリッジケース54に、テープ状記録媒体として磁気テープ55が巻装された単一のテープリール56を回転可能に収納して構成されている。
テープリール56は、磁気テープ55の巻芯部を構成するハブ57と、上フランジ58と、下フランジ59とでなる。テープリール56は、上フランジ58の中央部の凹所58a内に配置されたベアリング43を覆うベアリングキャップ42と上シェル52の内面中央部との間に設けられたリールスプリング41によって、下シェル53側に押し付けられている。磁気テープ55は、ハブ57に対して、磁性面を内向きにして巻装されている。なお、テープリール56の構成の詳細については後述する。
テープカートリッジ51の非使用時においては、リールロックスプリング60A,60Bによって付勢された一対のリールロック部材61A,61Bにより、テープリール56が回転不可能とされている。リールロックスプリング60A,60B及びリールロック部材61A,61Bはそれぞれ、下シェル53の内面に立設された支持軸62A,62Bに回転可能に取り付けられている。
また、このテープカートリッジ51の非使用時において、磁気テープ55はテープリール56に完全に巻き取られた状態にある。磁気テープ55の繰出し端部には透明なリーダーテープ63が接合されている。リーダーテープ63の先端部は、上シェル52と下シェル53との結合時にカートリッジケース54の正面に形成されるテープ引出し用の開口部64をカートリッジケース54の内方側から閉塞するように配置されるリーダーブロック65の一側面に対し、クランパ66を介して接続されている。リーダーブロック65は、略コの字形状のリーダーブロックバネ67に弾性的に支持された状態で開口部64内方に位置決めされている。
また、カートリッジテープ接触防止ピン68は、カートリッジケース54から引き出される磁気テープ55が開口部64の縁部に直接接触するのを防止するように、当該開口部64の縁部に直立状態で配置されている。これにより、磁気テープ55は、そのテープ幅より若干大きめの軸長を有するカートリッジテープ接触防止ピン68によるテープガイド作用を受け、開口部64の縁部における上シェル52と下シェル53との突合せ結合部への接触による損傷が防止される。
なお、このテープカートリッジ51においては、磁気テープ20への誤記録、誤消去を防止するためのセイフティタブ69と、磁気テープ55に記録されている内容に関する情報を記録したメモリ基板70と、テープエンド検出用の透明な窓部材71A,71B等がそれぞれ設けられている。
次に、テープリール56の詳細について図9〜図13を参照して説明する。
ここで、図9はテープリール56を下フランジ59側から見たときの斜視図、図10は同分解斜視図、図11はテープリール56の側断面図、図12はテープリール56の上フランジを取り外して見たときの要部平面図、図13はテープリール56の回転駆動時における要部断面図である。
上述のように、テープリール56は、ハブ57、上フランジ58及び下フランジ59で構成されている。これらハブ57、上フランジ58及び下フランジ59は、それぞれ、ポリカーボネート(PC)樹脂、ポリスチレン(PS)樹脂、ポリアセタール(POM)樹脂、アクリロニトリルスチロール(AS)樹脂等の合成樹脂材料で形成できるが、これ以外に、アルミニウムあるいはチタン、マグネシウム等の金属材料や、鉄あるいは磁性ステンレス鋼(SUS430等)といった磁性材料等で構成することもできる。
また、本実施の形態において、ハブ57は、下フランジ59とは一体的に形成され、上フランジ58とは、ハブ57の上端に形成された溶着リブ75を介しての超音波接合等により一体化されているが、勿論、これらを別部材で構成してもよい。特に、下フランジ59を磁性材料で形成することにより、後述するようにリール回転駆動軸より発生する磁界を遮蔽して磁気テープ55に対する磁気的な影響を回避することができる。この場合、下フランジ59は、金属材料等の薄板を円盤状に打抜き形成したり型成形で構成できる。また、上記磁性材料は、合成樹脂材料中に磁性金属フィラーを含有させた複合材料や、表面に磁性層を形成したものでもよい。
テープリール56の下面中央部には、記録再生装置側のリール回転駆動軸81の先端に放射状に形成された係合突起82と係合するチャッキングギヤ73が、駆動係合部として形成されている。チャッキングギヤ73は、ハブ57の底部外面側に形成されており、リール回転駆動軸81の回転駆動力がこれらチャッキングギヤ73と係合突起82との係合機構を介してテープリール56に伝達されるようになっている。
テープリール56とリール回転駆動軸81との密着性を高めるために、テープリール56には、リール回転駆動軸81に対して磁気吸着する磁性部材76が設けられている。この磁性部材76は、ハブ57に内装されている(図11)。リール回転駆動軸81の先端には、上記磁性部材76に磁気吸着力を発生させる永久磁石83が組み込まれている。
従って、テープリール56とリール回転駆動軸81とが精度良く係合し、係合後及び回転駆動中にあっては、テープリール56とリール回転駆動軸81との間が強固に密着して、自由に挿脱したり揺動することなくその密着状態が保持される。これにより、テープリール56とリール回転駆動軸81との間の軸心位置のバラツキや、テープリール56とリール回転駆動軸81との間の係合のバラツキ等に起因して発生するテープリール56の軸振れ、面振れ、周振れ等を防止して、磁気テープ55の安定した高速走行性を確保することができる共に、アクセス速度向上のため、テープリール56の更なる高速回転化にも十分に対応することが可能となる。
図11及び図12に示したように、磁性部材76は、ハブ57に内装されている。ハブ57は筒状を有し、ハブ57の内部には、磁性部材76を収納する収納部77が形成されている。収納部77の底部77a中央には、収納部77の内方に向かって円錐状に延在する環状の第1リブ79Aと、収納部77の外方(ハブ57の下面)に向かって直線状に延在する円環状の第2リブ79Bとが、互いに連接されてなる開口部79が形成されている。磁性部材76は、第1リブ79Aの上端と、収納部77の底部周縁に突設された段部80を介して、収納部77の底部に支持されている。
磁性部材76は、ハブ57の内径よりも小径な円盤状に形成されている(図12)。特に本実施の形態では、ハブ57の内径の大きさに近接する大きさに磁性部材76の外径が設定されている。これにより、テープリール56の回転時における遠心力及びイナーシャの影響を小さくすることが可能となるので、これに起因するテープリール56の回転振動を低く抑えることが可能となり、高速信頼性を高くすることができる。また、磁性部材76とリール回転駆動軸81の永久磁石83との間に形成される磁界を、ハブ57に巻装されている磁気テープ55から遠ざけることができるので、磁気テープ55が受ける磁気的影響を抑止できる。
磁性部材76は、鉄や磁性ステンレス鋼(例えばSUS430)、珪素鋼板、パーマロイ等の軟磁気特性を有する強磁性材料で形成され、打抜きプレス等の機械加工により容易に製造できる。また、防錆等の特殊な表面処理は必要に応じて省略でき、厳しい寸法精度も必要とされないので、低コストに製造できる。更に、磁性部材76の面内中央部に位置決めのための加工を必要としないので、磁性部材76の中央部に出現する強力な磁気吸着力を有効に活用することが可能となり、高速走行時におけるテープリール56とリール回転駆動軸81との密着性を高めて磁気テープ55の走行安定性の向上を図ることができる。
なお、磁性部材76は円盤状に限らず、多角形状でもよい。また、磁性部材76は板状に限らず、例えばブロック状のものも適用可能であるが、テープリール56の安定した回転姿勢を確保するために、テープリール56の重心位置はなるべく低くなるように構成されているのが好ましい。
磁性部材76は、図11に示すように、収納部77の底部77aにかしめ固定することができる。この場合、収納部77の底部77aに、かしめ固定用の複数本の突起78を立設し、これに対応して、磁性部材76には、突起78が挿通される孔76aを貫通形成しておく。かしめ用の突起78は、テープリール56の回転軸の軸心を中心とする同一円周上に配置形成するようにし、これによりテープリール56の回転時における動的安定性(ダイナミックバランス)を確保して、高速信頼性を確保する。そして、磁性部材76を収納部77に収納する際、孔76aに突起78を挿通させ、磁性部材76の上面から突出した突起78の先端に例えば超音波振動を付与して溶融拡径させることにより、磁性部材76を収納部底部77aへ固着できる。
このように、磁性部材76をハブ57の内部の収納部77に内装させる構成とすることにより、ハブ57に対する磁性部材76の位置決め保持が容易となり、従来のように磁性部材の中心部に開口を形成する必要もない。従って、最も強く磁力が出現する磁性部材76の中心部をリール回転駆動軸81との主要磁気吸着部として構成できるので、テープリール56とリール回転駆動軸81との間の強固な密着状態を確保することができる。特に本実施の形態では、磁性部材76の中心部とリール回転駆動軸81の永久磁石83とが、テープリール56の開口部79を介して直接対峙する構成であるので、両者間のスペーシングロスが低減されて磁気吸着力の向上が図られる。
一方、リール回転駆動軸81の先端中心部には、図13に示すように、永久磁石83を内蔵し開口部79に嵌合する突出部84と、この突出部84の径外方側に形成されテープリール56下面の第2リブ79Bが係合する環状溝85とが形成されている。なお、第2リブ79Bは、本発明の「円環部」に対応している。
突出部84の上面は略球面状とされることにより、第2リブ79Bによるガイド作用で開口部79内に進入し易くなっている。なお、この突出部84の断面形状を、第1,第2リブ79A,79Bの内面で区画される開口部79内部の断面形状と同等に形成することも勿論可能である。
以上のように構成される本実施の形態のテープカートリッジ51においては、記録再生装置へ挿着されると、リールロック部材61A,61Bによるテープリール56の回転規制が解除されると共に、リール回転駆動軸81がチャッキングギヤ73に係合する。そして、リーダーブロック65がローディング機構により引き出され、テープリール56の回転による磁気テープ55の送り動作あるいは巻き戻し動作が行われる。
本実施の形態によれば、テープリール56の回転駆動時、突出部84の上端に埋設させた永久磁石83が、ハブ57の収納部77に内装され開口部79を介して露出する磁性部材76の下面中央部に対向し、互いに磁気吸着される。これにより、テープリール56とリール回転駆動軸81との間の密着力が向上し、高速回転駆動時におけるテープリール56の浮上、揺動を回避して安定した回転姿勢を保持でき、磁気テープ55の高速走行時の安定性を向上させることができる。
また、環状溝85には開口部79周縁の第2リブ79Bが係合し、これにおりリール回転駆動軸81との高精度なチャッキング係合が可能となり、振れの少ない安定した回転姿勢で回転駆動力がテープリール56に伝達される。
更に、リール回転駆動軸81と磁気吸着する磁性部材76は、ハブ57の収納部77に内装された構成であるので、磁性部材76がテープリール56から分離、脱落するといった懸念を解消できる。また、外部からの衝撃を直接磁性部材76が受けない構成なので、磁性部材76の錆、傷、摩耗等に対する考慮も特に必要なく、磁性部材76を安価に、生産性高く、作製できるようになる。
(第3の実施の形態)
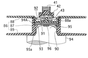
図14及び図15は、本発明の第3の実施の形態を示している。本実施の形態のテープリール86は、上述の各実施の形態と同様、テープ巻芯部を構成するハブ87、上フランジ88及び下フランジ59を備えている。本実施の形態のテープリール86は、後述するように、ハブ87の内周部に駆動係合部90を形成した、いわゆる側面チャッキング構造が採用されている。このテープリール86は、上述の2リールタイプのテープカートリッジ1及び1リールタイプのテープカートリッジ51の何れにも適用可能である。
本実施の形態のテープリール86においては、リール回転駆動軸94と磁気吸着する円盤状の磁性部材91の下面周囲が、ハブ87の内部に形成された収納部92の底部92aに支持されている。即ち、収納部92の底部92aには開口部93が形成されており、この開口部93を介して、円盤状の磁性部材91の一部がテープリール86の下面から露出している。
磁性部材91の上面周縁部は、ハブ87の上端に接合される上フランジ88の凹所88a下面から垂設された位置決め用のリブ94Aの下端と対向しており、これにより磁性部材91の横臥姿勢が保持されている。即ち、リブ94Aは、本発明の「姿勢保持体」をも兼ねた構成となっている。
ハブ87の内周部には、リール回転駆動軸94に係合するチャッキングギヤ90が径内方へ突出形成されており、リール回転駆動軸94上端の突出部95外周面に形成されている係合突起と係合して、テープリール86へ回転駆動力が伝達されるようになっている。突出部95の上端には、磁性部材91に磁気吸着力を発生させる永久磁石96が埋設されており、テープリール86の駆動回転時、磁性部材91の中心部と近接または接触して、テープリール86とリール回転駆動軸94との密着力が高められている。
以上のように構成される本実施の形態のテープリール86によっても、上述の各実施の形態と同様な効果を得ることができ、テープリール86とリール回転駆動軸94との密着力を高めて、テープリール86の回転姿勢の安定性を高め、磁気テープの安定した高速走行性が得られるようになっている。
なお、本実施の形態において、テープリール86とリール回転駆動軸94との間の適正な係合関係を得るために、ハブ87の内周部下端に「円環部」として環状の凹所87a(図14)を形成し、これにリール回転駆動軸94の突出部95の基端部周縁に形成した環状段部95a(図15)を係合させるようにしている。
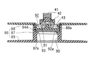
図16は、上述のテープリール86の構成の一変形例を示し、図示するテープリール86Aにおいては、そのハブ87Aの内部に形成されている収納部92の底部92aに開口部を有しておらず、上述の第1の実施の形態と同様、磁性部材91を外部へ露出しない構成とされている。この構成において、磁性部材91の上面は、上フランジ88Aの凹所88a下面に形成した姿勢保持用のリブ94Bの下端と対向されており、このリブ94Bによって磁性部材91の横臥姿勢が保持されている。
このような構成のテープリール86Aにおいても上述と同様な効果を得ることができ、テープリール86Aとリール回転駆動軸との間の軸心位置のバラツキや、テープリール86Aとリール回転駆動軸との間の係合のバラツキ等に起因して発生するテープリール86Aの軸振れ、面振れ、周振れ等を防止して、磁気テープの安定した高速走行性を確保することができる共に、アクセス速度向上のため、テープリール86Aの更なる高速回転化にも十分に対応することが可能となる。
一方、本実施の形態において、下フランジ89Aの下面には、リール回転駆動軸の上端面に係合する環状リブ87bが形成されており、上述の第2の実施の形態において説明した環状の凹所87aと協働して、テープリール86Aとリール回転駆動軸との係合のガイド作用を果たし、テープリール86Aの回転姿勢の適正化を図る構成となっている。
なお、上記リブ87bは環状である場合に限らず、例えば図17に示すように、円周に沿って切欠き87cが部分的に形成されるように間欠形成すれば、リール回転駆動軸との係合時に、切欠き87cを介して環状リブ87bの内方側から外方側への空気の移動が容易となり、ハブの内周部へリール回転駆動軸を円滑に挿入することが可能となる。
以上、本発明の各実施の形態について説明したが、勿論、本発明はこれらに限定されることなく、本発明の技術的思想に基づいて種々の変形が可能である。
例えば以上の各実施の形態では、リール回転駆動軸と磁気吸着する磁性部材を円盤状に形成したが、これに限らず、例えば図18A,Bに示すように、中央部をドーム状に湾曲形成した磁性部材97も、本発明は適用可能である。ここで、図18Aは磁性部材97を上方側から見たときの斜視図、図18Bは磁性部材97を下方側から見たときの斜視図である。この磁性部材97のテープリールへの適用例を図19に示す。なお、図において図15に対応する部分については同一の符号を付し、その詳細な説明は省略する。
このように、リール回転駆動軸94の突出部95上端を覆うような、上面が凸なるドーム状に磁性部材97を形成することによって、突出部95の頂部に配置された永久磁石96との間で発生する磁力を磁性部材97の中心部に集中させることが可能となる。これにより、テープリール86とリール回転駆動軸94の密着性をより向上させることができると共に、ハブ87に巻装されている磁気テープに対するテープリール86とリール回転駆動軸94との間の吸着磁界からの保護効果をも高めることができる。
また、以上の第1の実施の形態では、いわゆる2リールタイプのテープカートリッジにおいて、リール回転駆動軸と係合するチャッキングギヤをテープリールのハブ底部下面に形成した例について説明したが、勿論、これに限らず、例えば上述の第3の実施の形態のように、ハブの内周部にチャッキングギヤを形成した側面チャッキング構造のテープリールを適用することも可能である。
また、上述の第2の実施の形態及び第3の実施の形態に示したテープリール対して、図7を参照して説明したように、下フランジ41を磁性金属板で形成する例も適用可能である。第2の実施の形態に磁性金属製の下フランジ41を適用した例を図20に示す。図において、上述の第2の実施の形態と対応する部分については同一の符号を付し、その詳細な説明は省略する。本例においても、ハブ57の下端をかしめ溶融させた溶着部57pによって、ハブ57と下フランジ41の一体化が図られている。
本発明の第1の実施の形態によるテープカートリッジ1の構成を示す分解斜視図である。 図1のテープカートリッジに適用されるテープリールの上フランジを取り外して見たときの斜視図である。 同テープリール6の下フランジ側から見たときの斜視図である。 同テープリール6の側断面図である。 同テープリールの上フランジを取り外して見たときの平面図である。 同テープリールの構成の一変形例を示す側断面図である。 同テープリールの構成の他の変形例を示す側断面図である。 本発明の第2の実施の形態によるテープカートリッジ51の構成を示す分解斜視図である。 図8のテープカートリッジに適用されるテープリール56の下フランジ側から見たときの斜視図である。 テープリール56の分解斜視図である。 テープリール56の側断面図である。 同テープリールの上フランジを取り外して見たときの平面図である。 テープリール56の回転駆動時における側断面図である。 本発明の第3の実施の形態によるテープリール86の構成を示す側断面図である。 テープリールの回転駆動時における側断面図である。 同テープリールの構成の一変形例を示す側断面図である。 同テープリールの構成の他の変形例を示す斜視図である。 磁性部材の構成の変形例を示す斜視図である。 図18に示した磁性部材が適用されたテープリールの回転駆動時における側断面図である。 第2の実施の形態におけるテープリールの構成の一変形例を示す側断面図である。 従来のテープカートリッジの第1の構成例を示す分解斜視図である。 従来のテープカートリッジの第2の構成例を示す分解斜視図である。 従来の第1の構成例におけるテープリール及びこれを回転駆動するリール回転駆動軸との関係を示す斜視図である。 従来の第2の構成例におけるテープリール及びこれを回転駆動するリール回転駆動軸との関係を示す斜視図である。 磁性金属プレートをハブの下面に外装した従来のテープリールの裏面図である。
符号の説明
1,51…テープカートリッジ、2,52…上シェル、3,53…下シェル、4,54…カートリッジケース、5,55…磁気テープ、6,56,86,86A…テープリール、13,58,88,88A…上フランジ、14,59,89,89A…下フランジ、15,57,87,87A…ハブ、31,73,90…チャッキングギヤ(駆動係合部)、35,76,91,97…磁性部材、36,77,92…収納部、81,94…リール回転駆動軸、79,93…開口部、83,96…永久磁石。

Claims (11)

  1. カートリッジケースと、
    磁気テープが巻装され前記カートリッジケースに回転可能に収容されたハブと、
    記録再生装置の回転駆動軸に磁気吸着する磁性部材と、
    前記ハブの内部に形成され前記磁性部材が収納される収納部とを備えた
    ことを特徴とするテープカートリッジ。
  2. 前記ハブの底部又は内周部には、前記回転駆動軸と係合される駆動係合部が設けられている
    ことを特徴とする請求項1に記載のテープカートリッジ。
  3. 前記磁性部材は、前記ハブの外径よりも小径の円盤状である
    ことを特徴とする請求項1に記載のテープカートリッジ。
  4. 前記磁性部材は、前記収納部の底部で支持されている
    ことを特徴とする請求項1に記載のテープカートリッジ。
  5. 前記磁性部材は、前記収納部の底部にかしめ固定されている
    ことを特徴とする請求項4に記載のテープカートリッジ。
  6. 前記収納部には、前記底部に載置されている磁性部材の上面と対向する姿勢保持体が挿入されている
    ことを特徴とする請求項4に記載のテープカートリッジ。
  7. 前記ハブの少なくとも下端周縁には、径外方へ延在するフランジが設けられており、前記フランジが磁性材料を含んでなる
    ことを特徴とする請求項1に記載のテープカートリッジ。
  8. 前記収納部の底部中央には、前記磁性部材を部分的に露出させる開口部が形成されている
    ことを特徴とする請求項4に記載のテープカートリッジ。
  9. 前記ハブの底部又は内周部には、前記回転駆動軸と係合される円環部が設けられている
    ことを特徴とする請求項2に記載のテープカートリッジ。
  10. 前記円環部は、前記回転駆動軸側に突出する円環状のリブでなると共に、その一部には切欠きが形成されている
    ことを特徴とする請求項9に記載のテープカートリッジ。
  11. 前記磁性部材は、ドーム状に形成されている
    ことを特徴とする請求項1に記載のテープカートリッジ。
JP2004105421A 2004-03-31 2004-03-31 テープカートリッジ Pending JP2005293691A (ja)

Priority Applications (1)

Application Number Priority Date Filing Date Title
JP2004105421A JP2005293691A (ja) 2004-03-31 2004-03-31 テープカートリッジ

Applications Claiming Priority (1)

Application Number Priority Date Filing Date Title
JP2004105421A JP2005293691A (ja) 2004-03-31 2004-03-31 テープカートリッジ

Publications (1)

Publication Number Publication Date
JP2005293691A true JP2005293691A (ja) 2005-10-20

Family

ID=35326465

Family Applications (1)

Application Number Title Priority Date Filing Date
JP2004105421A Pending JP2005293691A (ja) 2004-03-31 2004-03-31 テープカートリッジ

Country Status (1)

Country Link
JP (1) JP2005293691A (ja)

Cited By (3)

* Cited by examiner, † Cited by third party
Publication number Priority date Publication date Assignee Title
JP2008041221A (ja) * 2006-08-10 2008-02-21 Tdk Corp 情報媒体
JP2008041129A (ja) * 2006-08-02 2008-02-21 Hitachi Maxell Ltd テープカートリッジ、およびテープリールの駆動構造と、テープドライブ
US8564907B2 (en) 2007-05-01 2013-10-22 Sony Corporation Position determining member to align a magnetic tape cartridge in a magnetic recording and reproducing apparatus

Cited By (4)

* Cited by examiner, † Cited by third party
Publication number Priority date Publication date Assignee Title
JP2008041129A (ja) * 2006-08-02 2008-02-21 Hitachi Maxell Ltd テープカートリッジ、およびテープリールの駆動構造と、テープドライブ
JP2008041221A (ja) * 2006-08-10 2008-02-21 Tdk Corp 情報媒体
US7775472B2 (en) 2006-08-10 2010-08-17 Tdk Corporation Information medium
US8564907B2 (en) 2007-05-01 2013-10-22 Sony Corporation Position determining member to align a magnetic tape cartridge in a magnetic recording and reproducing apparatus

Similar Documents

Publication Publication Date Title
JP4782026B2 (ja) テープリールの製造方法及びマシンリールの製造方法
JP4805232B2 (ja) リール
JP3978787B2 (ja) ディスク記憶装置
JP2009211743A (ja) テープリール、テープカートリッジ及びテープドライブシステム
JP2005293691A (ja) テープカートリッジ
US20080277519A1 (en) Reel
JP4315762B2 (ja) 記録テープカートリッジ
JP2007299437A (ja) リール及び記録テープカートリッジ
US11217278B2 (en) Tape cartridge including reel lock member
JP4846749B2 (ja) 記録テープカートリッジ
JP4102849B1 (ja) 記録テープカートリッジ
JP2005317153A (ja) テープカートリッジ
JPH1196717A (ja) 磁気テープカートリッジ
JP3839741B2 (ja) 記録テープカートリッジ
JP2009076160A (ja) 磁気テープカートリッジ
JP4141163B2 (ja) 記録テープカートリッジ
JP2005050486A (ja) 記録テープカートリッジ
JP4091162B2 (ja) 磁気テープカートリッジ
JP4790503B2 (ja) リール及び記録テープカートリッジ
JP2016062633A (ja) 金属プレート及び記録テープカートリッジ
JP2000048529A (ja) 磁気テープカートリッジ
JPH11213614A (ja) 磁気テープカートリッジ
JP2006053963A (ja) テープカートリッジ
JP2000067560A (ja) 磁気テープカートリッジ
JP2003228953A (ja) 記録テープカートリッジ