JP2005292656A - プラスチック光ファイバの製造装置及び製造方法 - Google Patents
プラスチック光ファイバの製造装置及び製造方法 Download PDFInfo
- Publication number
- JP2005292656A JP2005292656A JP2004110242A JP2004110242A JP2005292656A JP 2005292656 A JP2005292656 A JP 2005292656A JP 2004110242 A JP2004110242 A JP 2004110242A JP 2004110242 A JP2004110242 A JP 2004110242A JP 2005292656 A JP2005292656 A JP 2005292656A
- Authority
- JP
- Japan
- Prior art keywords
- optical fiber
- plastic optical
- polymerization
- heating furnace
- preform
- Prior art date
- Legal status (The legal status is an assumption and is not a legal conclusion. Google has not performed a legal analysis and makes no representation as to the accuracy of the status listed.)
- Pending
Links
- 239000013308 plastic optical fiber Substances 0.000 title claims abstract description 148
- 238000004519 manufacturing process Methods 0.000 title claims abstract description 72
- 238000010438 heat treatment Methods 0.000 claims abstract description 98
- 239000003566 sealing material Substances 0.000 claims abstract description 57
- 239000007789 gas Substances 0.000 claims abstract description 35
- IJGRMHOSHXDMSA-UHFFFAOYSA-N Atomic nitrogen Chemical compound N#N IJGRMHOSHXDMSA-UHFFFAOYSA-N 0.000 claims abstract description 13
- 238000002844 melting Methods 0.000 claims abstract description 11
- 230000008018 melting Effects 0.000 claims abstract description 11
- 239000000463 material Substances 0.000 claims description 46
- 239000013307 optical fiber Substances 0.000 claims description 22
- 229920003023 plastic Polymers 0.000 claims description 15
- 239000004033 plastic Substances 0.000 claims description 15
- XKRFYHLGVUSROY-UHFFFAOYSA-N Argon Chemical compound [Ar] XKRFYHLGVUSROY-UHFFFAOYSA-N 0.000 claims description 12
- 230000002093 peripheral effect Effects 0.000 claims description 12
- 229910052786 argon Inorganic materials 0.000 claims description 6
- 239000001307 helium Substances 0.000 claims description 6
- 229910052734 helium Inorganic materials 0.000 claims description 6
- SWQJXJOGLNCZEY-UHFFFAOYSA-N helium atom Chemical compound [He] SWQJXJOGLNCZEY-UHFFFAOYSA-N 0.000 claims description 6
- 229910052757 nitrogen Inorganic materials 0.000 claims description 5
- 238000005192 partition Methods 0.000 claims description 2
- 229910001873 dinitrogen Inorganic materials 0.000 abstract description 3
- 239000011162 core material Substances 0.000 description 164
- 238000006116 polymerization reaction Methods 0.000 description 156
- 229920000642 polymer Polymers 0.000 description 71
- 239000000178 monomer Substances 0.000 description 52
- 230000003287 optical effect Effects 0.000 description 52
- 238000000034 method Methods 0.000 description 50
- 239000000203 mixture Substances 0.000 description 44
- 238000009826 distribution Methods 0.000 description 32
- 230000005540 biological transmission Effects 0.000 description 28
- 238000000576 coating method Methods 0.000 description 24
- 239000003505 polymerization initiator Substances 0.000 description 24
- 238000001125 extrusion Methods 0.000 description 23
- 239000010410 layer Substances 0.000 description 23
- 239000002994 raw material Substances 0.000 description 22
- 239000011248 coating agent Substances 0.000 description 20
- 238000005253 cladding Methods 0.000 description 19
- 239000007788 liquid Substances 0.000 description 17
- 239000011247 coating layer Substances 0.000 description 16
- 238000001816 cooling Methods 0.000 description 16
- 229920005989 resin Polymers 0.000 description 14
- 239000011347 resin Substances 0.000 description 14
- 239000012986 chain transfer agent Substances 0.000 description 13
- 239000003795 chemical substances by application Substances 0.000 description 13
- XLYOFNOQVPJJNP-UHFFFAOYSA-N water Substances O XLYOFNOQVPJJNP-UHFFFAOYSA-N 0.000 description 13
- 150000001875 compounds Chemical class 0.000 description 12
- 229920001577 copolymer Polymers 0.000 description 12
- 229920001971 elastomer Polymers 0.000 description 11
- 239000012792 core layer Substances 0.000 description 10
- 239000002019 doping agent Substances 0.000 description 10
- 238000000465 moulding Methods 0.000 description 10
- 230000008569 process Effects 0.000 description 10
- VYPSYNLAJGMNEJ-UHFFFAOYSA-N silicon dioxide Inorganic materials O=[Si]=O VYPSYNLAJGMNEJ-UHFFFAOYSA-N 0.000 description 10
- 238000010521 absorption reaction Methods 0.000 description 9
- -1 decanyl methacrylate Chemical compound 0.000 description 9
- 239000011261 inert gas Substances 0.000 description 9
- 239000000155 melt Substances 0.000 description 9
- 239000003570 air Substances 0.000 description 8
- 230000000694 effects Effects 0.000 description 8
- 229910052731 fluorine Inorganic materials 0.000 description 8
- 239000005060 rubber Substances 0.000 description 8
- 238000007789 sealing Methods 0.000 description 8
- 125000006850 spacer group Chemical group 0.000 description 8
- YCKRFDGAMUMZLT-UHFFFAOYSA-N Fluorine atom Chemical compound [F] YCKRFDGAMUMZLT-UHFFFAOYSA-N 0.000 description 7
- 230000006378 damage Effects 0.000 description 7
- 230000007423 decrease Effects 0.000 description 7
- 239000011737 fluorine Substances 0.000 description 7
- 230000000379 polymerizing effect Effects 0.000 description 7
- 238000011144 upstream manufacturing Methods 0.000 description 7
- LTYMSROWYAPPGB-UHFFFAOYSA-N diphenyl sulfide Chemical compound C=1C=CC=CC=1SC1=CC=CC=C1 LTYMSROWYAPPGB-UHFFFAOYSA-N 0.000 description 6
- 238000002474 experimental method Methods 0.000 description 6
- 239000000835 fiber Substances 0.000 description 6
- 238000012545 processing Methods 0.000 description 6
- 229920002379 silicone rubber Polymers 0.000 description 6
- 238000012360 testing method Methods 0.000 description 6
- VVQNEPGJFQJSBK-UHFFFAOYSA-N Methyl methacrylate Chemical compound COC(=O)C(C)=C VVQNEPGJFQJSBK-UHFFFAOYSA-N 0.000 description 5
- 239000002033 PVDF binder Substances 0.000 description 5
- 239000000654 additive Substances 0.000 description 5
- 230000008901 benefit Effects 0.000 description 5
- 230000000875 corresponding effect Effects 0.000 description 5
- 239000003063 flame retardant Substances 0.000 description 5
- 230000006870 function Effects 0.000 description 5
- 230000009477 glass transition Effects 0.000 description 5
- 230000006872 improvement Effects 0.000 description 5
- 229910052751 metal Inorganic materials 0.000 description 5
- 239000002184 metal Substances 0.000 description 5
- 229920002981 polyvinylidene fluoride Polymers 0.000 description 5
- 230000004044 response Effects 0.000 description 5
- 239000004945 silicone rubber Substances 0.000 description 5
- CERQOIWHTDAKMF-UHFFFAOYSA-N Methacrylic acid Chemical class CC(=C)C(O)=O CERQOIWHTDAKMF-UHFFFAOYSA-N 0.000 description 4
- 238000005452 bending Methods 0.000 description 4
- 230000015572 biosynthetic process Effects 0.000 description 4
- 238000009835 boiling Methods 0.000 description 4
- 230000006866 deterioration Effects 0.000 description 4
- 239000000377 silicon dioxide Substances 0.000 description 4
- 239000000126 substance Substances 0.000 description 4
- 229920005992 thermoplastic resin Polymers 0.000 description 4
- 238000012546 transfer Methods 0.000 description 4
- 238000002834 transmittance Methods 0.000 description 4
- JJHHIJFTHRNPIK-UHFFFAOYSA-N Diphenyl sulfoxide Chemical compound C=1C=CC=CC=1S(=O)C1=CC=CC=C1 JJHHIJFTHRNPIK-UHFFFAOYSA-N 0.000 description 3
- CERQOIWHTDAKMF-UHFFFAOYSA-M Methacrylate Chemical compound CC(=C)C([O-])=O CERQOIWHTDAKMF-UHFFFAOYSA-M 0.000 description 3
- 238000002485 combustion reaction Methods 0.000 description 3
- 230000000052 comparative effect Effects 0.000 description 3
- 238000007334 copolymerization reaction Methods 0.000 description 3
- 230000006837 decompression Effects 0.000 description 3
- WNAHIZMDSQCWRP-UHFFFAOYSA-N dodecane-1-thiol Chemical compound CCCCCCCCCCCCS WNAHIZMDSQCWRP-UHFFFAOYSA-N 0.000 description 3
- 239000000806 elastomer Substances 0.000 description 3
- 239000011521 glass Substances 0.000 description 3
- 229920001519 homopolymer Polymers 0.000 description 3
- 125000004435 hydrogen atom Chemical group [H]* 0.000 description 3
- 239000011159 matrix material Substances 0.000 description 3
- 229910000000 metal hydroxide Inorganic materials 0.000 description 3
- 150000004692 metal hydroxides Chemical class 0.000 description 3
- 210000002445 nipple Anatomy 0.000 description 3
- ZUOUZKKEUPVFJK-UHFFFAOYSA-N phenylbenzene Natural products C1=CC=CC=C1C1=CC=CC=C1 ZUOUZKKEUPVFJK-UHFFFAOYSA-N 0.000 description 3
- 229920003229 poly(methyl methacrylate) Polymers 0.000 description 3
- 239000004926 polymethyl methacrylate Substances 0.000 description 3
- 208000021560 premature ovarian failure 17 Diseases 0.000 description 3
- 239000011241 protective layer Substances 0.000 description 3
- 230000004043 responsiveness Effects 0.000 description 3
- 238000004513 sizing Methods 0.000 description 3
- RMVRSNDYEFQCLF-UHFFFAOYSA-N thiophenol Chemical compound SC1=CC=CC=C1 RMVRSNDYEFQCLF-UHFFFAOYSA-N 0.000 description 3
- 238000004506 ultrasonic cleaning Methods 0.000 description 3
- BQCIDUSAKPWEOX-UHFFFAOYSA-N 1,1-Difluoroethene Chemical compound FC(F)=C BQCIDUSAKPWEOX-UHFFFAOYSA-N 0.000 description 2
- CXWGKAYMVASWDQ-UHFFFAOYSA-N 1,2-dithiane Chemical class C1CCSSC1 CXWGKAYMVASWDQ-UHFFFAOYSA-N 0.000 description 2
- RNFJDJUURJAICM-UHFFFAOYSA-N 2,2,4,4,6,6-hexaphenoxy-1,3,5-triaza-2$l^{5},4$l^{5},6$l^{5}-triphosphacyclohexa-1,3,5-triene Chemical compound N=1P(OC=2C=CC=CC=2)(OC=2C=CC=CC=2)=NP(OC=2C=CC=CC=2)(OC=2C=CC=CC=2)=NP=1(OC=1C=CC=CC=1)OC1=CC=CC=C1 RNFJDJUURJAICM-UHFFFAOYSA-N 0.000 description 2
- YAJYJWXEWKRTPO-UHFFFAOYSA-N 2,3,3,4,4,5-hexamethylhexane-2-thiol Chemical compound CC(C)C(C)(C)C(C)(C)C(C)(C)S YAJYJWXEWKRTPO-UHFFFAOYSA-N 0.000 description 2
- OZAIFHULBGXAKX-UHFFFAOYSA-N 2-(2-cyanopropan-2-yldiazenyl)-2-methylpropanenitrile Chemical compound N#CC(C)(C)N=NC(C)(C)C#N OZAIFHULBGXAKX-UHFFFAOYSA-N 0.000 description 2
- AORMDLNPRGXHHL-UHFFFAOYSA-N 3-ethylpentane Chemical compound CCC(CC)CC AORMDLNPRGXHHL-UHFFFAOYSA-N 0.000 description 2
- 239000004342 Benzoyl peroxide Substances 0.000 description 2
- OMPJBNCRMGITSC-UHFFFAOYSA-N Benzoylperoxide Chemical compound C=1C=CC=CC=1C(=O)OOC(=O)C1=CC=CC=C1 OMPJBNCRMGITSC-UHFFFAOYSA-N 0.000 description 2
- KAKZBPTYRLMSJV-UHFFFAOYSA-N Butadiene Chemical compound C=CC=C KAKZBPTYRLMSJV-UHFFFAOYSA-N 0.000 description 2
- CURLTUGMZLYLDI-UHFFFAOYSA-N Carbon dioxide Chemical compound O=C=O CURLTUGMZLYLDI-UHFFFAOYSA-N 0.000 description 2
- LFQSCWFLJHTTHZ-UHFFFAOYSA-N Ethanol Chemical compound CCO LFQSCWFLJHTTHZ-UHFFFAOYSA-N 0.000 description 2
- JOYRKODLDBILNP-UHFFFAOYSA-N Ethyl urethane Chemical compound CCOC(N)=O JOYRKODLDBILNP-UHFFFAOYSA-N 0.000 description 2
- RRHGJUQNOFWUDK-UHFFFAOYSA-N Isoprene Chemical compound CC(=C)C=C RRHGJUQNOFWUDK-UHFFFAOYSA-N 0.000 description 2
- BAPJBEWLBFYGME-UHFFFAOYSA-N Methyl acrylate Chemical compound COC(=O)C=C BAPJBEWLBFYGME-UHFFFAOYSA-N 0.000 description 2
- 239000004698 Polyethylene Substances 0.000 description 2
- 239000004743 Polypropylene Substances 0.000 description 2
- PPBRXRYQALVLMV-UHFFFAOYSA-N Styrene Chemical compound C=CC1=CC=CC=C1 PPBRXRYQALVLMV-UHFFFAOYSA-N 0.000 description 2
- YSMRWXYRXBRSND-UHFFFAOYSA-N TOTP Chemical compound CC1=CC=CC=C1OP(=O)(OC=1C(=CC=CC=1)C)OC1=CC=CC=C1C YSMRWXYRXBRSND-UHFFFAOYSA-N 0.000 description 2
- 239000004809 Teflon Substances 0.000 description 2
- 229920006362 Teflon® Polymers 0.000 description 2
- 229920006311 Urethane elastomer Polymers 0.000 description 2
- 125000005396 acrylic acid ester group Chemical group 0.000 description 2
- 239000003963 antioxidant agent Substances 0.000 description 2
- WPYMKLBDIGXBTP-UHFFFAOYSA-N benzoic acid Chemical compound OC(=O)C1=CC=CC=C1 WPYMKLBDIGXBTP-UHFFFAOYSA-N 0.000 description 2
- 235000019400 benzoyl peroxide Nutrition 0.000 description 2
- SESFRYSPDFLNCH-UHFFFAOYSA-N benzyl benzoate Chemical compound C=1C=CC=CC=1C(=O)OCC1=CC=CC=C1 SESFRYSPDFLNCH-UHFFFAOYSA-N 0.000 description 2
- 239000004305 biphenyl Substances 0.000 description 2
- 235000010290 biphenyl Nutrition 0.000 description 2
- 125000006267 biphenyl group Chemical group 0.000 description 2
- 238000012662 bulk polymerization Methods 0.000 description 2
- WQAQPCDUOCURKW-UHFFFAOYSA-N butanethiol Chemical compound CCCCS WQAQPCDUOCURKW-UHFFFAOYSA-N 0.000 description 2
- 229910052799 carbon Inorganic materials 0.000 description 2
- 230000015556 catabolic process Effects 0.000 description 2
- 239000000919 ceramic Substances 0.000 description 2
- 230000008859 change Effects 0.000 description 2
- 238000006243 chemical reaction Methods 0.000 description 2
- 238000004891 communication Methods 0.000 description 2
- 230000001276 controlling effect Effects 0.000 description 2
- 239000000498 cooling water Substances 0.000 description 2
- 238000005520 cutting process Methods 0.000 description 2
- 238000007872 degassing Methods 0.000 description 2
- 238000006731 degradation reaction Methods 0.000 description 2
- 229910052805 deuterium Inorganic materials 0.000 description 2
- 125000004431 deuterium atom Chemical group 0.000 description 2
- DWNAQMUDCDVSLT-UHFFFAOYSA-N diphenyl phthalate Chemical compound C=1C=CC=C(C(=O)OC=2C=CC=CC=2)C=1C(=O)OC1=CC=CC=C1 DWNAQMUDCDVSLT-UHFFFAOYSA-N 0.000 description 2
- CZZYITDELCSZES-UHFFFAOYSA-N diphenylmethane Chemical compound C=1C=CC=CC=1CC1=CC=CC=C1 CZZYITDELCSZES-UHFFFAOYSA-N 0.000 description 2
- 239000000428 dust Substances 0.000 description 2
- 238000005516 engineering process Methods 0.000 description 2
- 239000005038 ethylene vinyl acetate Substances 0.000 description 2
- 229920006244 ethylene-ethyl acrylate Polymers 0.000 description 2
- 238000005286 illumination Methods 0.000 description 2
- 230000001771 impaired effect Effects 0.000 description 2
- 239000003999 initiator Substances 0.000 description 2
- 239000011810 insulating material Substances 0.000 description 2
- 239000000314 lubricant Substances 0.000 description 2
- 230000007246 mechanism Effects 0.000 description 2
- KZCOBXFFBQJQHH-UHFFFAOYSA-N octane-1-thiol Chemical compound CCCCCCCCS KZCOBXFFBQJQHH-UHFFFAOYSA-N 0.000 description 2
- 239000003921 oil Substances 0.000 description 2
- 230000003647 oxidation Effects 0.000 description 2
- 238000007254 oxidation reaction Methods 0.000 description 2
- XNGIFLGASWRNHJ-UHFFFAOYSA-N phthalic acid Chemical compound OC(=O)C1=CC=CC=C1C(O)=O XNGIFLGASWRNHJ-UHFFFAOYSA-N 0.000 description 2
- 239000002985 plastic film Substances 0.000 description 2
- 229920001200 poly(ethylene-vinyl acetate) Polymers 0.000 description 2
- 239000004417 polycarbonate Substances 0.000 description 2
- 229920000515 polycarbonate Polymers 0.000 description 2
- 229920000728 polyester Polymers 0.000 description 2
- 229920000573 polyethylene Polymers 0.000 description 2
- 229920001155 polypropylene Polymers 0.000 description 2
- 230000002265 prevention Effects 0.000 description 2
- 239000010453 quartz Substances 0.000 description 2
- 239000002516 radical scavenger Substances 0.000 description 2
- 230000009467 reduction Effects 0.000 description 2
- 239000007787 solid Substances 0.000 description 2
- 229910001220 stainless steel Inorganic materials 0.000 description 2
- 238000003786 synthesis reaction Methods 0.000 description 2
- 238000010998 test method Methods 0.000 description 2
- 229920002725 thermoplastic elastomer Polymers 0.000 description 2
- XZZNDPSIHUTMOC-UHFFFAOYSA-N triphenyl phosphate Chemical compound C=1C=CC=CC=1OP(OC=1C=CC=CC=1)(=O)OC1=CC=CC=C1 XZZNDPSIHUTMOC-UHFFFAOYSA-N 0.000 description 2
- 229920001567 vinyl ester resin Polymers 0.000 description 2
- 125000000391 vinyl group Chemical group [H]C([*])=C([H])[H] 0.000 description 2
- 238000004804 winding Methods 0.000 description 2
- ZSVFYHKZQNDJEV-UHFFFAOYSA-N (2,3,4-tribromophenyl) 2-methylprop-2-enoate Chemical compound CC(=C)C(=O)OC1=CC=C(Br)C(Br)=C1Br ZSVFYHKZQNDJEV-UHFFFAOYSA-N 0.000 description 1
- MYOQALXKVOJACM-UHFFFAOYSA-N (2-methylpropan-2-yl)oxy pentaneperoxoate Chemical compound CCCCC(=O)OOOC(C)(C)C MYOQALXKVOJACM-UHFFFAOYSA-N 0.000 description 1
- KDGNCLDCOVTOCS-UHFFFAOYSA-N (2-methylpropan-2-yl)oxy propan-2-yl carbonate Chemical compound CC(C)OC(=O)OOC(C)(C)C KDGNCLDCOVTOCS-UHFFFAOYSA-N 0.000 description 1
- FMQPBWHSNCRVQJ-UHFFFAOYSA-N 1,1,1,3,3,3-hexafluoropropan-2-yl 2-methylprop-2-enoate Chemical compound CC(=C)C(=O)OC(C(F)(F)F)C(F)(F)F FMQPBWHSNCRVQJ-UHFFFAOYSA-N 0.000 description 1
- ZRKMQKLGEQPLNS-UHFFFAOYSA-N 1-Pentanethiol Chemical compound CCCCCS ZRKMQKLGEQPLNS-UHFFFAOYSA-N 0.000 description 1
- MZVABYGYVXBZDP-UHFFFAOYSA-N 1-adamantyl 2-methylprop-2-enoate Chemical compound C1C(C2)CC3CC2CC1(OC(=O)C(=C)C)C3 MZVABYGYVXBZDP-UHFFFAOYSA-N 0.000 description 1
- QTKPMCIBUROOGY-UHFFFAOYSA-N 2,2,2-trifluoroethyl 2-methylprop-2-enoate Chemical compound CC(=C)C(=O)OCC(F)(F)F QTKPMCIBUROOGY-UHFFFAOYSA-N 0.000 description 1
- CLISWDZSTWQFNX-UHFFFAOYSA-N 2,2,3,3,3-pentafluoropropyl 2-methylprop-2-enoate Chemical compound CC(=C)C(=O)OCC(F)(F)C(F)(F)F CLISWDZSTWQFNX-UHFFFAOYSA-N 0.000 description 1
- ZNJXRXXJPIFFAO-UHFFFAOYSA-N 2,2,3,3,4,4,5,5-octafluoropentyl 2-methylprop-2-enoate Chemical compound CC(=C)C(=O)OCC(F)(F)C(F)(F)C(F)(F)C(F)F ZNJXRXXJPIFFAO-UHFFFAOYSA-N 0.000 description 1
- IKZYSJAHCZYFHH-UHFFFAOYSA-N 2,2,3,3,4,4-hexafluorobutyl 2-methylprop-2-enoate Chemical compound CC(=C)C(=O)OCC(F)(F)C(F)(F)C(F)F IKZYSJAHCZYFHH-UHFFFAOYSA-N 0.000 description 1
- RSVZYSKAPMBSMY-UHFFFAOYSA-N 2,2,3,3-tetrafluoropropyl 2-methylprop-2-enoate Chemical compound CC(=C)C(=O)OCC(F)(F)C(F)F RSVZYSKAPMBSMY-UHFFFAOYSA-N 0.000 description 1
- AVTLBBWTUPQRAY-UHFFFAOYSA-N 2-(2-cyanobutan-2-yldiazenyl)-2-methylbutanenitrile Chemical compound CCC(C)(C#N)N=NC(C)(CC)C#N AVTLBBWTUPQRAY-UHFFFAOYSA-N 0.000 description 1
- SBYMUDUGTIKLCR-UHFFFAOYSA-N 2-chloroethenylbenzene Chemical compound ClC=CC1=CC=CC=C1 SBYMUDUGTIKLCR-UHFFFAOYSA-N 0.000 description 1
- TYCFGHUTYSLISP-UHFFFAOYSA-M 2-fluoroprop-2-enoate Chemical compound [O-]C(=O)C(F)=C TYCFGHUTYSLISP-UHFFFAOYSA-M 0.000 description 1
- JBTDFRNUVWFUGL-UHFFFAOYSA-N 3-aminopropyl carbamimidothioate;dihydrobromide Chemical compound Br.Br.NCCCSC(N)=N JBTDFRNUVWFUGL-UHFFFAOYSA-N 0.000 description 1
- HNGQQUDFJDROPY-UHFFFAOYSA-N 3-bromobenzenethiol Chemical compound SC1=CC=CC(Br)=C1 HNGQQUDFJDROPY-UHFFFAOYSA-N 0.000 description 1
- WRXOZRLZDJAYDR-UHFFFAOYSA-N 3-methylbenzenethiol Chemical compound CC1=CC=CC(S)=C1 WRXOZRLZDJAYDR-UHFFFAOYSA-N 0.000 description 1
- FTBCOQFMQSTCQQ-UHFFFAOYSA-N 4-bromobenzenethiol Chemical compound SC1=CC=C(Br)C=C1 FTBCOQFMQSTCQQ-UHFFFAOYSA-N 0.000 description 1
- WLHCBQAPPJAULW-UHFFFAOYSA-N 4-methylbenzenethiol Chemical compound CC1=CC=C(S)C=C1 WLHCBQAPPJAULW-UHFFFAOYSA-N 0.000 description 1
- WKBOTKDWSSQWDR-UHFFFAOYSA-N Bromine atom Chemical compound [Br] WKBOTKDWSSQWDR-UHFFFAOYSA-N 0.000 description 1
- OKTJSMMVPCPJKN-UHFFFAOYSA-N Carbon Chemical compound [C] OKTJSMMVPCPJKN-UHFFFAOYSA-N 0.000 description 1
- RYGMFSIKBFXOCR-UHFFFAOYSA-N Copper Chemical compound [Cu] RYGMFSIKBFXOCR-UHFFFAOYSA-N 0.000 description 1
- YZCKVEUIGOORGS-OUBTZVSYSA-N Deuterium Chemical compound [2H] YZCKVEUIGOORGS-OUBTZVSYSA-N 0.000 description 1
- JIGUQPWFLRLWPJ-UHFFFAOYSA-N Ethyl acrylate Chemical compound CCOC(=O)C=C JIGUQPWFLRLWPJ-UHFFFAOYSA-N 0.000 description 1
- RJUFJBKOKNCXHH-UHFFFAOYSA-N Methyl propionate Chemical compound CCC(=O)OC RJUFJBKOKNCXHH-UHFFFAOYSA-N 0.000 description 1
- 239000004677 Nylon Substances 0.000 description 1
- OAICVXFJPJFONN-UHFFFAOYSA-N Phosphorus Chemical compound [P] OAICVXFJPJFONN-UHFFFAOYSA-N 0.000 description 1
- 239000004952 Polyamide Substances 0.000 description 1
- XUIMIQQOPSSXEZ-UHFFFAOYSA-N Silicon Chemical compound [Si] XUIMIQQOPSSXEZ-UHFFFAOYSA-N 0.000 description 1
- XTXRWKRVRITETP-UHFFFAOYSA-N Vinyl acetate Chemical compound CC(=O)OC=C XTXRWKRVRITETP-UHFFFAOYSA-N 0.000 description 1
- BZHJMEDXRYGGRV-UHFFFAOYSA-N Vinyl chloride Chemical compound ClC=C BZHJMEDXRYGGRV-UHFFFAOYSA-N 0.000 description 1
- 229910001297 Zn alloy Inorganic materials 0.000 description 1
- IAXXETNIOYFMLW-COPLHBTASA-N [(1s,3s,4s)-4,7,7-trimethyl-3-bicyclo[2.2.1]heptanyl] 2-methylprop-2-enoate Chemical compound C1C[C@]2(C)[C@@H](OC(=O)C(=C)C)C[C@H]1C2(C)C IAXXETNIOYFMLW-COPLHBTASA-N 0.000 description 1
- YMOONIIMQBGTDU-VOTSOKGWSA-N [(e)-2-bromoethenyl]benzene Chemical compound Br\C=C\C1=CC=CC=C1 YMOONIIMQBGTDU-VOTSOKGWSA-N 0.000 description 1
- KYIKRXIYLAGAKQ-UHFFFAOYSA-N abcn Chemical compound C1CCCCC1(C#N)N=NC1(C#N)CCCCC1 KYIKRXIYLAGAKQ-UHFFFAOYSA-N 0.000 description 1
- 239000011358 absorbing material Substances 0.000 description 1
- XYLMUPLGERFSHI-UHFFFAOYSA-N alpha-Methylstyrene Chemical compound CC(=C)C1=CC=CC=C1 XYLMUPLGERFSHI-UHFFFAOYSA-N 0.000 description 1
- 229910052782 aluminium Inorganic materials 0.000 description 1
- XAGFODPZIPBFFR-UHFFFAOYSA-N aluminium Chemical compound [Al] XAGFODPZIPBFFR-UHFFFAOYSA-N 0.000 description 1
- WNROFYMDJYEPJX-UHFFFAOYSA-K aluminium hydroxide Chemical compound [OH-].[OH-].[OH-].[Al+3] WNROFYMDJYEPJX-UHFFFAOYSA-K 0.000 description 1
- 239000012080 ambient air Substances 0.000 description 1
- 150000001412 amines Chemical class 0.000 description 1
- 230000003321 amplification Effects 0.000 description 1
- 230000002528 anti-freeze Effects 0.000 description 1
- 230000003078 antioxidant effect Effects 0.000 description 1
- 229920006231 aramid fiber Polymers 0.000 description 1
- 230000002238 attenuated effect Effects 0.000 description 1
- 230000004888 barrier function Effects 0.000 description 1
- 229960002903 benzyl benzoate Drugs 0.000 description 1
- BMPVIOJNXPGHOC-UHFFFAOYSA-N bis(2,3,3-trimethylbutan-2-yl)diazene Chemical compound CC(C)(C)C(C)(C)N=NC(C)(C)C(C)(C)C BMPVIOJNXPGHOC-UHFFFAOYSA-N 0.000 description 1
- RYQCEARGGAZJGN-UHFFFAOYSA-N bis(2,3-dimethylbutan-2-yl)diazene Chemical compound CC(C)C(C)(C)N=NC(C)(C)C(C)C RYQCEARGGAZJGN-UHFFFAOYSA-N 0.000 description 1
- CSOXCCBZHKJVLZ-UHFFFAOYSA-N bis(2,3-dimethylpentan-3-yl)diazene Chemical compound CCC(C)(C(C)C)N=NC(C)(CC)C(C)C CSOXCCBZHKJVLZ-UHFFFAOYSA-N 0.000 description 1
- WPKWPKDNOPEODE-UHFFFAOYSA-N bis(2,4,4-trimethylpentan-2-yl)diazene Chemical compound CC(C)(C)CC(C)(C)N=NC(C)(C)CC(C)(C)C WPKWPKDNOPEODE-UHFFFAOYSA-N 0.000 description 1
- XRUJEOCEPGTJNX-UHFFFAOYSA-N bis(2,4-dimethylpentan-2-yl)diazene Chemical compound CC(C)CC(C)(C)N=NC(C)(C)CC(C)C XRUJEOCEPGTJNX-UHFFFAOYSA-N 0.000 description 1
- ZGXHUGQEDPPKGZ-UHFFFAOYSA-N bis(2-methylbutan-2-yl)diazene Chemical compound CCC(C)(C)N=NC(C)(C)CC ZGXHUGQEDPPKGZ-UHFFFAOYSA-N 0.000 description 1
- PEDAIVKHTRIDMZ-UHFFFAOYSA-N bis(2-methylhexan-2-yl)diazene Chemical compound CCCCC(C)(C)N=NC(C)(C)CCCC PEDAIVKHTRIDMZ-UHFFFAOYSA-N 0.000 description 1
- HAPMLSSJGUUMQE-UHFFFAOYSA-N bis(2-methylpentan-2-yl)diazene Chemical compound CCCC(C)(C)N=NC(C)(C)CCC HAPMLSSJGUUMQE-UHFFFAOYSA-N 0.000 description 1
- KPPBDZVMVVWVGA-UHFFFAOYSA-N bis(3-methylhexan-3-yl)diazene Chemical compound CCCC(C)(CC)N=NC(C)(CC)CCC KPPBDZVMVVWVGA-UHFFFAOYSA-N 0.000 description 1
- HJXOEVAWGZCKGE-UHFFFAOYSA-N bis(3-methylpentan-3-yl)diazene Chemical compound CCC(C)(CC)N=NC(C)(CC)CC HJXOEVAWGZCKGE-UHFFFAOYSA-N 0.000 description 1
- GDTBXPJZTBHREO-UHFFFAOYSA-N bromine Substances BrBr GDTBXPJZTBHREO-UHFFFAOYSA-N 0.000 description 1
- 229910052794 bromium Inorganic materials 0.000 description 1
- 229910002092 carbon dioxide Inorganic materials 0.000 description 1
- 239000001569 carbon dioxide Substances 0.000 description 1
- 229910010293 ceramic material Inorganic materials 0.000 description 1
- 238000004040 coloring Methods 0.000 description 1
- 239000000470 constituent Substances 0.000 description 1
- 230000002596 correlated effect Effects 0.000 description 1
- 239000013078 crystal Substances 0.000 description 1
- OIWOHHBRDFKZNC-UHFFFAOYSA-N cyclohexyl 2-methylprop-2-enoate Chemical compound CC(=C)C(=O)OC1CCCCC1 OIWOHHBRDFKZNC-UHFFFAOYSA-N 0.000 description 1
- 150000001975 deuterium Chemical group 0.000 description 1
- 238000011161 development Methods 0.000 description 1
- 238000010586 diagram Methods 0.000 description 1
- 150000001993 dienes Chemical class 0.000 description 1
- 125000005982 diphenylmethyl group Chemical group [H]C1=C([H])C([H])=C(C([H])=C1[H])C([H])(*)C1=C([H])C([H])=C([H])C([H])=C1[H] 0.000 description 1
- GKCPCPKXFGQXGS-UHFFFAOYSA-N ditert-butyldiazene Chemical compound CC(C)(C)N=NC(C)(C)C GKCPCPKXFGQXGS-UHFFFAOYSA-N 0.000 description 1
- IRFXVXBSIAKRJM-UHFFFAOYSA-N dodecane-1-thiol Chemical compound CCCCCCCCCCCCS.CCCCCCCCCCCCS IRFXVXBSIAKRJM-UHFFFAOYSA-N 0.000 description 1
- 229920006351 engineering plastic Polymers 0.000 description 1
- XJELOQYISYPGDX-UHFFFAOYSA-N ethenyl 2-chloroacetate Chemical compound ClCC(=O)OC=C XJELOQYISYPGDX-UHFFFAOYSA-N 0.000 description 1
- XNICETZFWREDRJ-UHFFFAOYSA-N ethyl 2-[(1-ethoxy-2-methyl-1-oxopropan-2-yl)diazenyl]-2-methylpropanoate Chemical compound CCOC(=O)C(C)(C)N=NC(C)(C)C(=O)OCC XNICETZFWREDRJ-UHFFFAOYSA-N 0.000 description 1
- SUPCQIBBMFXVTL-UHFFFAOYSA-N ethyl 2-methylprop-2-enoate Chemical compound CCOC(=O)C(C)=C SUPCQIBBMFXVTL-UHFFFAOYSA-N 0.000 description 1
- 239000005042 ethylene-ethyl acrylate Substances 0.000 description 1
- 230000005284 excitation Effects 0.000 description 1
- 239000004744 fabric Substances 0.000 description 1
- 239000000945 filler Substances 0.000 description 1
- 238000011049 filling Methods 0.000 description 1
- 238000001914 filtration Methods 0.000 description 1
- 239000012530 fluid Substances 0.000 description 1
- 125000001153 fluoro group Chemical group F* 0.000 description 1
- 239000006260 foam Substances 0.000 description 1
- 235000010855 food raising agent Nutrition 0.000 description 1
- 229910052736 halogen Inorganic materials 0.000 description 1
- 150000002367 halogens Chemical class 0.000 description 1
- 239000012943 hotmelt Substances 0.000 description 1
- 239000012535 impurity Substances 0.000 description 1
- 150000002484 inorganic compounds Chemical class 0.000 description 1
- 229910010272 inorganic material Inorganic materials 0.000 description 1
- 238000009413 insulation Methods 0.000 description 1
- 229940119545 isobornyl methacrylate Drugs 0.000 description 1
- 238000005304 joining Methods 0.000 description 1
- 238000004093 laser heating Methods 0.000 description 1
- VTHJTEIRLNZDEV-UHFFFAOYSA-L magnesium dihydroxide Chemical compound [OH-].[OH-].[Mg+2] VTHJTEIRLNZDEV-UHFFFAOYSA-L 0.000 description 1
- 239000000347 magnesium hydroxide Substances 0.000 description 1
- 229910001862 magnesium hydroxide Inorganic materials 0.000 description 1
- 230000005226 mechanical processes and functions Effects 0.000 description 1
- 125000005397 methacrylic acid ester group Chemical group 0.000 description 1
- ZQMHJBXHRFJKOT-UHFFFAOYSA-N methyl 2-[(1-methoxy-2-methyl-1-oxopropan-2-yl)diazenyl]-2-methylpropanoate Chemical compound COC(=O)C(C)(C)N=NC(C)(C)C(=O)OC ZQMHJBXHRFJKOT-UHFFFAOYSA-N 0.000 description 1
- 229940017219 methyl propionate Drugs 0.000 description 1
- 239000011490 mineral wool Substances 0.000 description 1
- 238000002156 mixing Methods 0.000 description 1
- 239000003607 modifier Substances 0.000 description 1
- 230000002794 monomerizing effect Effects 0.000 description 1
- 229910052754 neon Inorganic materials 0.000 description 1
- GKAOGPIIYCISHV-UHFFFAOYSA-N neon atom Chemical compound [Ne] GKAOGPIIYCISHV-UHFFFAOYSA-N 0.000 description 1
- JFNLZVQOOSMTJK-KNVOCYPGSA-N norbornene Chemical compound C1[C@@H]2CC[C@H]1C=C2 JFNLZVQOOSMTJK-KNVOCYPGSA-N 0.000 description 1
- 238000003199 nucleic acid amplification method Methods 0.000 description 1
- 229920001778 nylon Polymers 0.000 description 1
- 150000002894 organic compounds Chemical class 0.000 description 1
- 238000006864 oxidative decomposition reaction Methods 0.000 description 1
- 230000001590 oxidative effect Effects 0.000 description 1
- 238000004806 packaging method and process Methods 0.000 description 1
- 239000002245 particle Substances 0.000 description 1
- 239000008188 pellet Substances 0.000 description 1
- PNJWIWWMYCMZRO-UHFFFAOYSA-N pent‐4‐en‐2‐one Natural products CC(=O)CC=C PNJWIWWMYCMZRO-UHFFFAOYSA-N 0.000 description 1
- 150000002978 peroxides Chemical class 0.000 description 1
- WRAQQYDMVSCOTE-UHFFFAOYSA-N phenyl prop-2-enoate Chemical compound C=CC(=O)OC1=CC=CC=C1 WRAQQYDMVSCOTE-UHFFFAOYSA-N 0.000 description 1
- 239000011574 phosphorus Substances 0.000 description 1
- 229910052698 phosphorus Inorganic materials 0.000 description 1
- 230000000704 physical effect Effects 0.000 description 1
- 229920006255 plastic film Polymers 0.000 description 1
- 229920002647 polyamide Polymers 0.000 description 1
- 229920001721 polyimide Polymers 0.000 description 1
- 239000009719 polyimide resin Substances 0.000 description 1
- 229920000098 polyolefin Polymers 0.000 description 1
- 239000002243 precursor Substances 0.000 description 1
- 238000002360 preparation method Methods 0.000 description 1
- BOQSSGDQNWEFSX-UHFFFAOYSA-N propan-2-yl 2-methylprop-2-enoate Chemical compound CC(C)OC(=O)C(C)=C BOQSSGDQNWEFSX-UHFFFAOYSA-N 0.000 description 1
- 238000010926 purge Methods 0.000 description 1
- 230000003014 reinforcing effect Effects 0.000 description 1
- 230000000630 rising effect Effects 0.000 description 1
- 229920006395 saturated elastomer Polymers 0.000 description 1
- 238000000926 separation method Methods 0.000 description 1
- 230000008054 signal transmission Effects 0.000 description 1
- 229910052710 silicon Inorganic materials 0.000 description 1
- 239000010703 silicon Substances 0.000 description 1
- 239000002356 single layer Substances 0.000 description 1
- 239000007779 soft material Substances 0.000 description 1
- 238000009987 spinning Methods 0.000 description 1
- 239000003381 stabilizer Substances 0.000 description 1
- 239000010935 stainless steel Substances 0.000 description 1
- 150000003440 styrenes Chemical class 0.000 description 1
- 230000002194 synthesizing effect Effects 0.000 description 1
- SJMYWORNLPSJQO-UHFFFAOYSA-N tert-butyl 2-methylprop-2-enoate Chemical group CC(=C)C(=O)OC(C)(C)C SJMYWORNLPSJQO-UHFFFAOYSA-N 0.000 description 1
- 125000000999 tert-butyl group Chemical group [H]C([H])([H])C(*)(C([H])([H])[H])C([H])([H])[H] 0.000 description 1
- ISXSCDLOGDJUNJ-UHFFFAOYSA-N tert-butyl prop-2-enoate Chemical compound CC(C)(C)OC(=O)C=C ISXSCDLOGDJUNJ-UHFFFAOYSA-N 0.000 description 1
- 238000009210 therapy by ultrasound Methods 0.000 description 1
- 230000003685 thermal hair damage Effects 0.000 description 1
- 229920001187 thermosetting polymer Polymers 0.000 description 1
- 239000002341 toxic gas Substances 0.000 description 1
- 239000006097 ultraviolet radiation absorber Substances 0.000 description 1
- 238000003828 vacuum filtration Methods 0.000 description 1
- KOZCZZVUFDCZGG-UHFFFAOYSA-N vinyl benzoate Chemical compound C=COC(=O)C1=CC=CC=C1 KOZCZZVUFDCZGG-UHFFFAOYSA-N 0.000 description 1
- 239000011800 void material Substances 0.000 description 1
- 238000005406 washing Methods 0.000 description 1
Images
Landscapes
- Optical Fibers, Optical Fiber Cores, And Optical Fiber Bundles (AREA)
Abstract
【課題】 外径変動が抑制されているプラスチック光ファイバを得る。
【解決手段】 プリフォーム15をアーム72から加熱炉74内に吊り下げる。加熱炉74は、5台のヒータユニット90から構成する。加熱炉74内にガス導入機77を用いて窒素ガスを供給する。各ヒータユニット間にはオリフィス96を設ける。ヒータユニット90を独立して温度制御可能な区画とする。加熱炉74の上部に封止材106を設ける。加熱炉74の上部からの大気の出入が封止材により抑制される。加熱炉74内の各区画での温度の乱れが抑制される。プリフォーム15は常に同一条件で加熱溶融延伸されるので、外径が一定のプラスチック光ファイバ17となる。
【選択図】 図6
【解決手段】 プリフォーム15をアーム72から加熱炉74内に吊り下げる。加熱炉74は、5台のヒータユニット90から構成する。加熱炉74内にガス導入機77を用いて窒素ガスを供給する。各ヒータユニット間にはオリフィス96を設ける。ヒータユニット90を独立して温度制御可能な区画とする。加熱炉74の上部に封止材106を設ける。加熱炉74の上部からの大気の出入が封止材により抑制される。加熱炉74内の各区画での温度の乱れが抑制される。プリフォーム15は常に同一条件で加熱溶融延伸されるので、外径が一定のプラスチック光ファイバ17となる。
【選択図】 図6
Description
本発明は、プラスチック光ファイバの製造装置及び製造方法に関するものである。
近年、通信産業の発達に伴い、光ファイバの需要が高まると共に伝送損失が小さく、低価格であるものが要求されている。プラスチック光学部材は、同一構造を有する石英系光学部材と比較して、製造及び加工が容易であること並びに低価格であること等の利点がある。特に、プラスチック光ファイバ(以下、POFと称する)は、素材が全てプラスチックで構成されているため、伝送損失が石英系光ファイバと比較してやや大きいという短所を有する。しかしながら、良好な可撓性を有し、軽量で加工性が良く、石英系光ファイバと比較して口径の大きい光ファイバの製造が容易であるという長所を有する。さらに、低コストで製造が可能であるという長所をも有する。従って、伝送損失の大きさが問題とならない程度の短距離用の光伝送体として種々検討されている(例えば、特許文献1参照。)。
POFは、プラスチックからなる芯(以下、コア又はコア部と称する)とコア部より低屈折率のプラスチックからなる外殻(以下、クラッド又はクラッド部と称する)とから構成されている。POFの製造方法の1つに、溶融押出法によりパイプ状のクラッド部(以下、クラッドパイプと称する)を形成し、そのクラッドパイプ中にコア部を形成する方法が知られている。特に、中心から外側に向かって屈折率の大きさに分布を有するコア部を備えた屈折率分布型(グレーデッドインデックス型。以下、GI型と称する)POFは、伝送する光信号の帯域を大きくすることが可能なため、高い伝送容量を有する光ファイバとして最近注目されている。このようなGI型POFの製造方法の1つには、界面ゲル重合法を利用して、プリフォーム(母材)を作製する。その後に前記プリフォームを加熱炉に送り込み、加熱溶融延伸させて製造される方法が知られている(例えば、特許文献2参照。)。
石英系光ファイバの製造方法では、加熱炉の酸化消耗防止あるいは石英系光ファイバの酸化劣化を防止する目的で、加熱炉に周囲の外気が流れ込まないように密閉構造として不活性ガスをパージする方法が知られている(例えば、特許文献3参照。)。
しかしながら、POF、特にグレーデッド型或いはマルチステップ型POFは、プリフォームを加熱溶融延伸する際に、前記プリフォームは異なる溶融粘度を持つ複数の樹脂層からプリフォームが形成されるため、加熱炉内の温度に乱れが生じるとプリフォームの溶融状態も乱れて延伸されるPOFの外径が変動を起こしやすい問題が生じている。POFに外径変動が生じると、光学特性例えば光伝送損失の悪化を招く場合がある。また、POFを保護するために被覆処理する場合に被覆装置のニップル,ダイスの孔に引っかかり工程上或いは品質上問題が生じる。また、POFの外径変動を抑制するために加熱炉をそれぞれ区画化して内温度の乱れを小さくした場合でも、外径変動抑制に対しては不十分である。また、前記特許文献3に記載されている方法は、加熱炉内に大気の流入を防止しているが、加熱炉内の温度分布の変動に対して考慮されていない。これは、石英系光ファイバの加熱溶融延伸の場合には、約2000℃と高温に加熱するため微小な温度の乱れが生じても光ファイバの外径変動がほとんど生じないためである。
本発明の目的は、外径変動が抑制されるプラスチック光ファイバの製造装置及び製造方法を提供することにある。
本発明のプラスチック光ファイバの製造装置は、プラスチック光ファイバ母材を加熱炉で加熱溶融延伸してプラスチック光ファイバを製造するプラスチック光ファイバの製造装置において、前記加熱炉が3段以上の独立して温度制御可能なヒータユニットから構成され、前記ヒータユニット間にオリフィスを挿入して各ヒータユニットを区画し、前記加熱炉の上部または下部の少なくともいずれかに前記加熱炉内への気体の流入を防止する封止材を設けた前記加熱炉内における気体の移動を制限する構造を有する。前記加熱炉上部に設けられる封止材は、前記プラスチック光ファイバ母材が貫通する円形の開口を備え、前記開口の直径D3(mm)が、前記プラスチック光ファイバ母材の直径D1(mm)に対して、1×D1(mm)<D3(mm)≦1.5×D1(mm)の範囲であることが好ましい。前記加熱炉上部に設けられる封止材は、前記プラスチック光ファイバ母材が貫通する円形の開口を備え、前記開口の直径D3(mm)が、前記プラスチック光ファイバ母材の直径D1(mm)に対して、0.75×D1(mm)≦D3(mm)≦1×D1(mm)の範囲であり、前記封止材の一部が前記プラスチック光ファイバ母材の外周面を覆うことが好ましい。
前記加熱炉下部に設けられる封止材は、前記プラスチック光ファイバが通過する円形の開口を備え、前記開口の直径D6(mm)が、前記プラスチック光ファイバの外径D5(mm)に対して、1.2×D5(mm)≦D6(mm)≦10×D5(mm)の範囲であることが好ましい。前記加熱炉内にヘリウム,アルゴン,窒素のうち少なくとも1つの気体を供給する気体供給手段を備えることが好ましい。
本発明のプラスチック光ファイバの製造方法は、プラスチック光ファイバ母材を加熱炉で加熱溶融延伸し、プラスチック光ファイバとするプラスチック光ファイバの製造方法において、前記加熱炉が多段の独立して温度制御可能なヒータユニットから構成され、前記ヒータユニット間にオリフィスを挿入して区画としたものを用い、前記加熱炉の上部または下部の少なくともいずれかに前記加熱炉内に大気の流入を防止する封止材を設け、前記各区画内の温度変動を設定温度±0.5℃以内とし、前記プラスチック光ファイバ母材を加熱溶融延伸してプラスチック光ファイバを製造する。なお、前記各区画内の温度変動は、設定温度±0.3℃以内がより好ましく、最も好ましくは設定温度±0.2℃以内とすることである。
本発明のプラスチック光ファイバの製造装置及び製造方法によれば、プラスチック光ファイバ母材を加熱炉で加熱溶融延伸し、プラスチック光ファイバとするプラスチック光ファイバの製造装置及び製造方法において、前記加熱炉が多段の独立して温度制御可能なヒータユニットから構成され、前記ヒータユニット間にオリフィスを挿入して各区画としたものを用い、前記加熱炉の上部または下部の少なくともいずれかに前記加熱炉内に大気の流入を防止する封止材を設け、前記各区画内の温度変動を設定温度±0.5℃以内とし、前記プラスチック光ファイバ母材を加熱溶融延伸してプラスチック光ファイバを製造するから、加熱炉を封止して、炉内温度の変動を抑えることで、外径変動が小さいプラスチック光ファイバを得ることができる。
本発明に係るプラスチック光ファイバは、コア部とクラッド部のいずれもがポリマーから形成されている。なお、コア部とクラッド部とからのみなるものをPOF(プラスチック光ファイバ)と称する。本発明に係るPOFの製造方法を図1に示す。クラッドパイプ作製工程11で原料ポリマーを溶融押出法によりクラッドパイプ12を作製する。なお、クラッドパイプ12の製造方法については、後に詳細に説明する。次に、アウターコア重合工程13において、クラッドパイプ12の内周面にアウターコア20a(図5参照)を形成する。重合性組成物を含むアウターコア液形成用液(以下、アウターコア液と称する)を調製し、その液をクラッドパイプ12内に入れてアウターコア重合を行う。そして、インナーコア重合工程14でアウターコア20a内にインナーコア20b(図5参照)を形成する。インナーコア形成用液(以下、インナーコア液と称する)を調製し、そのインナーコア液をアウターコア20aが形成されたクラッドパイプ12内に入れて、インナーコア重合を行いインナーコア20b(図5参照)を形成する。これらアウターコア20aとインナーコア20bとによりコア部20が形成されてプリフォーム15が得られる。
プリフォーム15を延伸工程16により、加熱溶融延伸してPOF17とする。なお、この延伸工程16については後に詳細に説明する。POF17は、そのままの形態で光伝送体として用いることができる。しかしながら、取り扱いを容易にしたりPOF17の外周面の損傷を抑制したりするために被覆層を形成することが好ましい。被覆層は、被覆工程18により形成し、POF17の外周面に被覆材が被覆層として形成されたプラスチック光ファイバ心線(プラスチック光ファイバコードとも称される。以下、光ファイバ心線と称する)19が得られる。
(コア部)
コア部の原料の重合性モノマーとしては、塊状重合が容易である原料を選択するのが好ましい。光透過性が高く塊状重合しやすい原料としては例えば、以下のような(メタ)アクリル酸エステル類(フッ素不含(メタ)アクリル酸エステル(a),含フッ素(メタ)アクリル酸エステル(b)),スチレン系化合物(c),ビニルエステル類(d)等を例示することができ、コア部はこれらのホモポリマー、あるいはこれらモノマーの2種以上からなる共重合体、およびホモポリマー及び/または共重合体の混合物から形成することができる。これらのうち、(メタ)アクリル酸エステル類を重合性モノマーとして含む組成を好ましく用いることができる。
コア部の原料の重合性モノマーとしては、塊状重合が容易である原料を選択するのが好ましい。光透過性が高く塊状重合しやすい原料としては例えば、以下のような(メタ)アクリル酸エステル類(フッ素不含(メタ)アクリル酸エステル(a),含フッ素(メタ)アクリル酸エステル(b)),スチレン系化合物(c),ビニルエステル類(d)等を例示することができ、コア部はこれらのホモポリマー、あるいはこれらモノマーの2種以上からなる共重合体、およびホモポリマー及び/または共重合体の混合物から形成することができる。これらのうち、(メタ)アクリル酸エステル類を重合性モノマーとして含む組成を好ましく用いることができる。
以上に挙げた重合性モノマーとして具体的に、(a)フッ素不含メタクリル酸エステルおよびフッ素不含アクリル酸エステルとしては、メタクリル酸メチル(MMA)、メタクリル酸エチル、メタクリル酸イソプロピル、メタクリル酸−tert−ブチル、メタクリル酸ベンジル(BzMA)、メタクリル酸フェニル、メタクリル酸シクロヘキシル、メタクリル酸ジフェニルメチル、トリシクロ[5・2・1・02,6 ]デカニルメタクリレート、アダマンチルメタクリレート、イソボルニルメタクリレート、ノルボルニルメタクリレート等が挙げられ、アクリル酸メチル、アクリル酸エチル、アクリル酸−tert−ブチル、アクリル酸フェニル等が挙げられる。また、(b)含フッ素アクリル酸エステルおよび含フッ素メタクリル酸エステルとしては、2,2,2 −トリフルオロエチルメタクリレート、2,2,3,3 −テトラフルオロプロピルメタクリレート、2,2,3,3,3 −ペンタフルオロプロピルメタクリレート、1 −トリフルオロメチル−2,2,2 −トリフルオロエチルメタクリレート、2,2,3,3,4,4,5,5 −オクタフルオロペンチルメタクリレート、2,2,3,3,4,4 −ヘキサフルオロブチルメタクリレート等が挙げられる。さらに、(c)スチレン系化合物としては、スチレン、α−メチルスチレン、クロロスチレン、ブロモスチレン等が挙げられる。さらには、(d)ビニルエステル類としては、ビニルアセテート、ビニルベンゾエート、ビニルフェニルアセテート、ビニルクロロアセテート等が挙げられる。勿論、これらに限定されるものではない。モノマーの単独あるいは共重合体からなるコア部のポリマーの屈折率は、クラッド部のそれに比べて同等かあるいはそれ以上になるように構成モノマーの種類,組成比を選択する。特に好ましいポリマーとしては、透明樹脂であるポリメタクリル酸メチル(PMMA)が挙げられる。
さらに、作製するPOF17を近赤外線用途に用いる場合は、コア部のポリマーを構成するC−H結合に起因した吸収損失が起こるために、特許第3332922号公報などに記載されているような重水素化ポリメチルメタクリレート(PMMA−d8)、ポリトリフルオロエチルメタクリレート(P3FMA)、ポリヘキサフルオロイソプロピル2−フルオロアクリレート(HFIP 2−FA)などを始めとする、C−H結合の水素原子(H)を重水素原子(D)やフッ素(F)などで置換した重合体を用いることで、この伝送損失を生じる波長域を長波長化することができ、伝送信号光の損失を軽減することができる。なお、原料モノマーは重合後の透明性を損なわないためにも、不純物や散乱源となる異物は重合前に十分に低減することが望ましい。
(クラッド部)
クラッド部の素材には、コア部を伝送する光がそれらの界面で全反射するために、コア部の屈折率より低い屈折率を有し、コア部との密着性が良いものを好ましく用いることができる。ただし、素材の選択によってコア部とクラッド部の界面の不整が起こりやすい、もしくは製造適性上好ましくない場合などにおいては、コア部とクラッド部の間にさらに層を設けても良い。例えば、コア部との界面(即ち、中空管の内壁面)に、コア部のマトリックスと同一組成のポリマーからなるアウターコア層を形成することにより、コア部とクラッド部との界面状態を矯正することができる。アウターコア層の詳細については後述する。勿論、アウターコア層を形成せずに、クラッド部そのものを、コア部のマトリックスと同一組成のポリマーから形成することもできる。
クラッド部の素材には、コア部を伝送する光がそれらの界面で全反射するために、コア部の屈折率より低い屈折率を有し、コア部との密着性が良いものを好ましく用いることができる。ただし、素材の選択によってコア部とクラッド部の界面の不整が起こりやすい、もしくは製造適性上好ましくない場合などにおいては、コア部とクラッド部の間にさらに層を設けても良い。例えば、コア部との界面(即ち、中空管の内壁面)に、コア部のマトリックスと同一組成のポリマーからなるアウターコア層を形成することにより、コア部とクラッド部との界面状態を矯正することができる。アウターコア層の詳細については後述する。勿論、アウターコア層を形成せずに、クラッド部そのものを、コア部のマトリックスと同一組成のポリマーから形成することもできる。
クラッド部の素材としては、タフネスに優れ、耐湿熱性にも優れているものが好ましく用いられる。例えば、フッ素含有モノマーの単独重合体または共重合体からなるのが好ましい。フッ素含有モノマーとしてはフッ化ビニリデン(PVDF)が好ましく、フッ化ビニリデンを10質量%以上含有する1種以上の重合性モノマーを重合させて得られるフッ素樹脂が好ましく用いることができる。
また、後述の溶融押出法により重合体を成形し、クラッド部を作製する場合は、重合体の溶融粘度が適当であることが必要である。この溶融粘度については、相関する物性として分子量が用いられ特に重量平均分子量との相関がある。本発明においては、重量平均分子量が1万〜100万の範囲であることが適当であり、より好ましくは5万〜50万の範囲である。
さらに、できるだけコア部へ水分が浸入することを防ぐことが好ましい。そのためには、吸水率が低いポリマーをクラッド部の素材(材料)として用いる。すなわち飽和吸水率(以下、吸水率と称する)が1.8%未満のポリマーを用いてクラッド部を作製するのが好ましい。より好ましくは1.5%未満のポリマー、さらに好ましくは1.0%未満のポリマーを用いてクラッド部を作製することが好ましい。また、前記アウターコア層を作製する場合にも同様の吸水率のポリマーを用いることが好ましい。吸水率(%)は、ASTM D 570試験法に従い、23℃の水中に試験片を1週間浸漬し、そのときの吸水率を測定することにより算出することができる。
(重合開始剤)
前記コア部及び/又はクラッド部が、重合性モノマーから重合されたポリマーから作製される場合、重合の際に重合開始剤が用いられる。重合開始剤としては、用いるモノマーや重合方法に応じて適宜選択することができ、例えば、過酸化ベンゾイル(BPO)、tert−ブチルパーオキシ−2−エチルヘキサネート(PBO)、ジ−tert−ブチルパーオキシド(PBD)、tert−ブチルパーオキシイソプロピルカーボネート(PBI)、n−ブチル−4,4−ビス(tert−ブチルパーオキシ)バラレート(PHV)などのパーオキサイド系化合物が挙げられる。また、2,2’−アゾビスイソブチロニトリル、2,2’−アゾビス(2−メチルブチロニトリル)、1,1’−アゾビス(シクロヘキサン−1−カルボニトリル)、2,2’−アゾビス(2−メチルプロパン)、2,2’−アゾビス(2−メチルブタン)、2,2’−アゾビス(2−メチルペンタン)、2,2’−アゾビス(2,3−ジメチルブタン)、2,2’−アゾビス(2−メチルヘキサン)、2,2’−アゾビス(2,4−ジメチルペンタン)、2,2’−アゾビス(2,3,3−トリメチルブタン)、2,2’−アゾビス(2,4,4−トリメチルペンタン)、3,3’−アゾビス(3−メチルペンタン)、3,3’−アゾビス(3−メチルヘキサン)、3,3’−アゾビス(3,4−ジメチルペンタン)、3,3’−アゾビス(3−エチルペンタン)、ジメチル−2,2’−アゾビス(2−メチルプロピオネート)、ジエチル−2,2’−アゾビス(2−メチルプロピオネート)、ジ−tert−ブチル−2,2’−アゾビス(2−メチルプロピオネート)などのアゾ系化合物が挙げられる。なお、重合開始剤は勿論これらに限定されるものではなく、更には2種類以上を併用してもよい。
前記コア部及び/又はクラッド部が、重合性モノマーから重合されたポリマーから作製される場合、重合の際に重合開始剤が用いられる。重合開始剤としては、用いるモノマーや重合方法に応じて適宜選択することができ、例えば、過酸化ベンゾイル(BPO)、tert−ブチルパーオキシ−2−エチルヘキサネート(PBO)、ジ−tert−ブチルパーオキシド(PBD)、tert−ブチルパーオキシイソプロピルカーボネート(PBI)、n−ブチル−4,4−ビス(tert−ブチルパーオキシ)バラレート(PHV)などのパーオキサイド系化合物が挙げられる。また、2,2’−アゾビスイソブチロニトリル、2,2’−アゾビス(2−メチルブチロニトリル)、1,1’−アゾビス(シクロヘキサン−1−カルボニトリル)、2,2’−アゾビス(2−メチルプロパン)、2,2’−アゾビス(2−メチルブタン)、2,2’−アゾビス(2−メチルペンタン)、2,2’−アゾビス(2,3−ジメチルブタン)、2,2’−アゾビス(2−メチルヘキサン)、2,2’−アゾビス(2,4−ジメチルペンタン)、2,2’−アゾビス(2,3,3−トリメチルブタン)、2,2’−アゾビス(2,4,4−トリメチルペンタン)、3,3’−アゾビス(3−メチルペンタン)、3,3’−アゾビス(3−メチルヘキサン)、3,3’−アゾビス(3,4−ジメチルペンタン)、3,3’−アゾビス(3−エチルペンタン)、ジメチル−2,2’−アゾビス(2−メチルプロピオネート)、ジエチル−2,2’−アゾビス(2−メチルプロピオネート)、ジ−tert−ブチル−2,2’−アゾビス(2−メチルプロピオネート)などのアゾ系化合物が挙げられる。なお、重合開始剤は勿論これらに限定されるものではなく、更には2種類以上を併用してもよい。
(連鎖移動剤)
コア部形成用重合性組成物及びクラッド部形成用重合性組成物は、連鎖移動剤を含有していることが好ましい。前記連鎖移動剤は、主に重合体の分子量を調整するために用いられる。前記クラッド部およびコア部形成用重合性組成物がそれぞれ連鎖移動剤を含有していると、重合性モノマーからポリマーを形成する際に、重合速度および重合度を前記連鎖移動剤によってより制御することができ、重合体の分子量を所望の分子量に調整することができる。例えば、得られたプリフォームを延伸により線引してPOFとする際に、分子量を調整することによって延伸時における機械的特性を所望の範囲とすることができ、生産性の向上にも寄与する。
コア部形成用重合性組成物及びクラッド部形成用重合性組成物は、連鎖移動剤を含有していることが好ましい。前記連鎖移動剤は、主に重合体の分子量を調整するために用いられる。前記クラッド部およびコア部形成用重合性組成物がそれぞれ連鎖移動剤を含有していると、重合性モノマーからポリマーを形成する際に、重合速度および重合度を前記連鎖移動剤によってより制御することができ、重合体の分子量を所望の分子量に調整することができる。例えば、得られたプリフォームを延伸により線引してPOFとする際に、分子量を調整することによって延伸時における機械的特性を所望の範囲とすることができ、生産性の向上にも寄与する。
前記連鎖移動剤については、併用する重合性モノマーの種類に応じて、適宜、種類および添加量を選択できる。各モノマーに対する連鎖移動剤の連鎖移動定数は、例えば、ポリマーハンドブック第3版(J.BRANDRUPおよびE.H.IMMERGUT編、JOHN WILEY&SON発行)を参照することができる。また、前記連鎖移動定数は大津隆行、木下雅悦共著「高分子合成の実験法」化学同人、昭和47年刊を参考にして、実験によっても求めることができる。
連鎖移動剤としては、アルキルメルカプタン類(例えば、n−ブチルメルカプタン、n−ペンチルメルカプタン、n−オクチルメルカプタン、n−ラウリルメルカプタン、tert−ドデシルメルカプタンなど)、チオフェノール類(例えば、チオフェノール、m−ブロモチオフェノール、p−ブロモチオフェノール、m−トルエンチオール、p−トルエンチオールなど)などを用いることが好ましい。特に、n−オクチルメルカプタン、n−ラウリルメルカプタン、tert−ドデシルメルカプタンのアルキルメルカプタンを用いるのが好ましい。また、C−H結合の水素原子が重水素原子(D)やフッ素原子(F)で置換された連鎖移動剤を用いることもできる。なお、連鎖移動剤は勿論これらに限定されるものではなく、これら連鎖移動剤は2種類以上を併用してもよい。
(屈折率調整剤)
前記コア部用重合性組成物に屈折率調整剤を含有させるのが好ましい。なお、場合によっては、クラッド部重合性組成物に屈折率調整剤を含有させても良い。屈折率調整剤の濃度に分布を持たせることによって、前記濃度の分布に基づいて屈折率分布型のコアを容易に作製することができる。屈折率調整剤を用いなくとも、コア部の形成に2種以上の重合性モノマーを用い、コア部内に共重合比の分布を持たせることによって、屈折率分布構造を導入することもできるが、共重合の組成比制御などと比較して、製造の簡便さなどを鑑みると屈折率調整剤を用いることが好ましい。
前記コア部用重合性組成物に屈折率調整剤を含有させるのが好ましい。なお、場合によっては、クラッド部重合性組成物に屈折率調整剤を含有させても良い。屈折率調整剤の濃度に分布を持たせることによって、前記濃度の分布に基づいて屈折率分布型のコアを容易に作製することができる。屈折率調整剤を用いなくとも、コア部の形成に2種以上の重合性モノマーを用い、コア部内に共重合比の分布を持たせることによって、屈折率分布構造を導入することもできるが、共重合の組成比制御などと比較して、製造の簡便さなどを鑑みると屈折率調整剤を用いることが好ましい。
屈折率調整剤はドーパントとも称し、併用する前記重合性モノマーの屈折率と異なる化合物である。その屈折率差は0.005以上であるのが好ましい。ドーパントは、これを含有する重合体が無添加の重合体と比較して、屈折率が高くなる性質を有する。これらは、特許第3332922号公報や特開平5−173026号公報に記載されているような、モノマーの合成によって生成される重合体との比較において溶解性パラメータとの差が7(cal/cm3 )1/2 以内であると共に、屈折率の差が0.001以上であり、これを含有する重合体が無添加の重合体と比較して屈折率が変化する性質を有し、重合体と安定して共存可能で、且つ前述の原料である重合性モノマーの重合条件(加熱および加圧等の重合条件)下において安定であるものを、いずれも用いることができる。
上記性質を有し、重合体と安定して共存可能で、且つ前述の原料である重合性モノマーの重合条件(加熱および加圧等の重合条件)下において安定であるものを、ドーパントとして用いることができる。本実施形態では、コア部形成用重合性組成物にドーパントを含有させ、コア部を形成する工程において界面ゲル重合法により重合の進行方向を制御し、ドーパントの濃度に傾斜を持たせ、コア部にドーパントの濃度分布に基づく屈折率分布構造を形成する方法を例示する。このように、屈折率の分布を有するコア部を「屈折率分布型コア部」と称する。屈折率分布型コア部を形成することにより、得られる光学部材は広い伝送帯域を有する屈折率分布型プラスチック光ファイバ(GI型POF)となる。
ドーパントは重合性化合物であってもよく、重合性化合物のドーパントを用いた場合は、これを共重合成分として含む共重合体がこれを含まない重合体と比較して、屈折率が上昇する性質を有するものを用いる。なお、このような共重合体には、MMA−BzMA共重合体などが挙げられる。
前記ドーパントとしては、特許第3332922号や特開平11−142657号公報に記載されている様な、例えば、安息香酸ベンジル(BEN)、硫化ジフェニル(DPS)、リン酸トリフェニル(TPP)、フタル酸ベンジル−n−ブチル(BBP)、フタル酸ジフェニル(DPP)、ジフェニル(DP)、ジフェニルメタン(DPM)、リン酸トリクレジル(TCP)、ジフェニルスルホキシド(DPSO)、硫化ジフェニル誘導体、ジチアン誘導体などが挙げられる。中でも、BEN、DPS、TPP、DPSOおよび硫化ジフェニル誘導体、ジチアン誘導体が好ましい。なお、これらの化合物中に存在する水素原子を重水素原子に置換した化合物も広い波長域での透明性を向上させる目的で用いることができる。また、重合性化合物として、例えば、トリブロモフェニルメタクリレート等が挙げられる。屈折率調整成分として重合性化合物を用いる場合は、マトリックスを形成する際に、重合性モノマーと重合性屈折率成分とを共重合させるので、種々の特性(特に光学特性)の制御がより困難となるが、耐熱性の面では有利となる可能性がある。
屈折率調整剤の濃度および分布を調整することによって、光学部材であるPOFの屈折率を所望の値に変化させることができる。その添加量は、用途および組み合わされる部材に応じて適宜選ばれる。屈折率調整剤は、複数種類添加してもよい。
(その他の添加剤)
その他、コア部、クラッド部もしくはそれらの一部には、光伝送性能を低下させない範囲で、それらを作製する重合性組成物にその他の添加剤を添加することができる。例えば、コア部もしくはその一部に耐候性や耐久性などを向上させる目的で、安定剤を添加することができる。また、光伝送性能の向上を目的として、光信号増幅用の誘導放出機能化合物を添加することもできる。前記誘導放出機能化合物を添加することにより、減衰した信号光を励起光により増幅することができ、伝送距離が向上するので、例えば、光伝送リンクの一部に光ファイバ増幅器として使用することができる。これらの添加剤も、前記原料モノマーに添加した後、重合することによって、コア部、クラッド部もしくはそれらの一部に含有させることができる。
その他、コア部、クラッド部もしくはそれらの一部には、光伝送性能を低下させない範囲で、それらを作製する重合性組成物にその他の添加剤を添加することができる。例えば、コア部もしくはその一部に耐候性や耐久性などを向上させる目的で、安定剤を添加することができる。また、光伝送性能の向上を目的として、光信号増幅用の誘導放出機能化合物を添加することもできる。前記誘導放出機能化合物を添加することにより、減衰した信号光を励起光により増幅することができ、伝送距離が向上するので、例えば、光伝送リンクの一部に光ファイバ増幅器として使用することができる。これらの添加剤も、前記原料モノマーに添加した後、重合することによって、コア部、クラッド部もしくはそれらの一部に含有させることができる。
(プリフォーム製造方法の説明)
以下に、本発明の製造方法を、コア部とクラッド部とを有する屈折率分布型プラスチック母材の製造方法に適用した実施の形態について説明する。本実施形態は、主として2種類あるが、以下の実施形態に限定されるわけではない。
以下に、本発明の製造方法を、コア部とクラッド部とを有する屈折率分布型プラスチック母材の製造方法に適用した実施の形態について説明する。本実施形態は、主として2種類あるが、以下の実施形態に限定されるわけではない。
まず、第1の実施形態は、クラッド部用重合性組成物を重合して中空管を作製する。または熱可塑性樹脂を溶融押し出し成形してクラッド部となる中空円筒管を作製する(第1工程)。前記中空円筒管の中空部でコア部形成用重合性組成物を界面ゲル重合させることによりコア部となる領域を形成し、コア部およびクラッド部に各々対応する領域からなるプリフォームを作製する(第2工程)。そして得られたプリフォームを本発明に係る製造装置及び製造方法により所望の形態に加工(第3工程)してPOFを得る。
次に、第2の実施形態は、第1の実施形態でクラッド部に相当する中空円筒管を形成した後にその内周面にさらにアウターコア部という層を形成する(第1’工程)。なお、このアウターコア層を有する形態においては中心のコア部はインナーコア部とも称される。以下の説明において、態様によって「コア部」という場合は「インナーコア部」の意味も兼ねる。
例えば、ポリフッ化ビニリデン樹脂のような含フッ素樹脂からなる中空円筒管の中空部で、アウターコア用重合性組成物を回転重合法による重合などで、前記中空円筒管の内周面にアウターコア層を形成し、2層からなる中空円筒管を作製する(第1’工程)。前記中空円筒管の中空部にさらにインナーコア部を形成する。インナーコア部は、インナーコア部形成用重合性組成物を界面ゲル重合させて形成する(第2’工程)。そして、得られたプリフォームを所望の形態に加工(第3工程)して光学部材であるPOFを得る。
第2の実施形態においては、2層からなる同心の中空円筒管を作製する際、上記のように段階的でなく、クラッド部となるフッ素樹脂とアウターコア用重合組成物の重合体とを溶融共押し出しの方法の一段階で作製する方法なども容易に適用できる。
前記第1の実施の形態ではクラッド部/コア部形成用、第2の実施の形態ではアウターコア部/インナーコア部形成用の各々の重合性組成物に用いられる重合性モノマーの組成は、互いに等しいことが好ましい。ただし、その組成比については同一でなくてもよく、また副成分については等しくなくてもよい。等しい種類の重合性モノマーを用いることによって、クラッド部/コア部またはアウターコア部/インナーコア部界面における光透過性および接着性を向上させることができる。また、クラッド部あるいはアウターコア部を形成する樹脂が共重合体からなり、共重合成分の屈折率が異なる場合、共重合成分の比率を制御することでコア部との屈折率差を大きく持たせやすく、その結果、屈折率分布構造を形成し易くすることもできる。
第2の実施形態では、クラッド部とコア部との間にアウターコア部を形成することによって、クラッド部とコア部との材質の違いによる接着性の低下および生産性の低下などを軽減させる。その結果、クラッド部およびコア部に用いる材料の選択の幅を広げることができる。クラッド部に相当する円筒形状の管は、例えば、市販されているフッ素樹脂を溶融押出しや重合性組成物の回転重合により、所望の径と厚みのパイプに成形することで作製することもできる。さらに、得られたパイプの中空部で前記アウターコア部形成用重合性組成物を回転重合させ、その内周面にアウターコア層を形成することができる。また、その他、前記フッ素樹脂と前記重合性組成物からなる重合体を共押し出しすることによっても同様の構造体を作製することもできる。
本発明に係るPOFを作製する際に、屈折率調整成分を用い、その濃度に傾斜を持たせることによっても、GI型POFを作製することができるが、他の形態のPOFにも本発明は適用できる。屈折率調整成分の濃度に傾斜を持たせる方法としては、後述する重合体へモノマーが含浸して膨潤・溶解することにより重合が進むゲル重合を行う界面ゲル重合法や円筒の軸を中心に回転させた円筒内で界面ゲル重合反応により形成する回転ゲル重合法などを適用することができる。
前記クラッド部、アウターコア部を重合性組成物で作製する場合およびコア部形成用重合性組成物において、各成分の含有割合の好ましい範囲は、その種類に応じて異なり一概に定めることはできないが、一般的には、重合開始剤は、重合性モノマーに対して0.005質量%〜0.5質量%であることが好ましく、0.01質量%〜0.5質量%であることがより好ましい。前記連鎖移動剤は、重合性モノマーに対して0.10質量%〜1.0質量%であることが好ましく、0.15質量%〜0.50質量%であることがより好ましい。また、前記屈折率調整成分は、重合性モノマーに対して1質量%〜30質量%であることが好ましく、1質量%〜25質量%であることがより好ましい。
前記クラッド部、アウターコア部およびコア部形成用重合体組成物を重合することによって得られるポリマーの分子量は、プリフォームを延伸する関係から、重量平均分子量で1万〜100万の範囲であることが好ましく、3万〜50万であることがさらに好ましい。さらに延伸性の観点で分子量分布(MWD:重量平均分子量/数平均分子量)も影響する。MWDが大きくなると、極端に分子量が高い成分がわずかでもあると延伸性が悪くなり、場合によっては延伸できなくなることもある。したがって、好ましい範囲としては、MWDが4以下が好ましく、さらには3以下が好ましい。
次に、前記第1および第2の形態(特に前記第1の実施形態)の各工程について詳細に説明するが、以下に示す方法や順序に限定されるものではない。例えば、アウターコア形成後にインナーコアを作製したロッドにクラッドを塗布や嵌合によって取り付ける態様が挙げられる。また、クラッドとなる中空管にアウターコアを設けずにインナーコア相当部分を作製する態様などが挙げられる。
(第1工程)
前記第1工程では、クラッド部に相当する1層の、またはクラッド部およびアウターコア部に相当する2層もしくはそれ以上の中空状(例えば円筒形状)の中空円筒管を作製する。中空円筒管の作製方法としては、例えばモノマーを重合させつつ中空管状に成形して作製する。この方法には、特開平5−173025号公報。特開平8−262240号公報、特開2001−215345号公報などに記載されている様な回転重合による製造方法や樹脂の溶融押し出しなどが挙げられる。
前記第1工程では、クラッド部に相当する1層の、またはクラッド部およびアウターコア部に相当する2層もしくはそれ以上の中空状(例えば円筒形状)の中空円筒管を作製する。中空円筒管の作製方法としては、例えばモノマーを重合させつつ中空管状に成形して作製する。この方法には、特開平5−173025号公報。特開平8−262240号公報、特開2001−215345号公報などに記載されている様な回転重合による製造方法や樹脂の溶融押し出しなどが挙げられる。
中空円筒管を重合性組成物から製造する場合は、重合性組成物を回転させながら重合させて中空管内壁に重合体からなる層を形成させる回転重合法で行われる。例えば、前記クラッド部形成用重合性組成物を円筒形状の重合容器に注入する。前記重合容器を回転(好ましくは、円筒の軸を水平に維持した状態で回転)させつつ、前記重合性組成物を重合させる。これにより円筒管内面にクラッド部を作製できる。さらに、アウターコア部形成用重合性組成物をクラッドとなる中空円筒管に注入し、同様に回転重合を行う。これによりクラッド部内周面にアウターコア部が形成された中空円筒管を作製できる。
重合容器又は中空円筒管に前記いずれかの重合性組成物を注入する前に、その重合性組成物をフィルタにより濾過して、組成物中に含まれる塵埃を除去するのが好ましい。また、性能劣化や前工程、後工程の煩雑化などを起こさない限りにおいて、特開平10−293215号公報に記載された原料の粘度調整のように取り扱いやすい様に粘度などの調整やプレ重合を行うことによる重合時間の短縮なども行うことができる。重合温度および重合時間は、用いるモノマーや重合開始剤によって異なるが、一般的には、重合温度は60℃〜150℃であることが好ましく、重合時間は5時間〜24時間であることが好ましい。このときに、特開平8−110419号公報に記載されている様に、原料をプレ重合して原料粘度を上昇させてから重合させることで、成形に要する重合時間を短縮しても良い。また、重合に使用する容器が回転によって変形してしまうと、得られる円筒管に歪みを生じさせることから、充分な剛性を持つ金属管・ガラス管を用いることが望ましい。
また、ペレット状や粉末状の樹脂(好ましくはフッ素樹脂)を円筒形状の容器に入れ、両端を塞ぎ、前記容器を回転(好ましくは、円筒の軸を水平に維持した状態で回転)させる。そして、前記樹脂の融点以上に加熱して樹脂を溶融させることにより、重合体からなる中空円筒管を作製することができる。このときに、溶融による樹脂の熱または酸化、および熱酸化分解を防ぐために、前記容器内を窒素や炭酸ガス、アルゴンなどの不活性気体雰囲気下で行うことが好ましい。また、前記樹脂を事前に充分乾燥させておくことが好ましい。
一方、重合体を溶融押出ししてクラッド部を形成する場合は、一旦、重合体を合成した後、押出し成形等の成形技術を利用して、所望の形状(本実施の形態では円筒形状)の構造体を得ることもできる。これらに用いられる溶融押出装置としては、主として、インナーサイジングダイ方式とアウターダイ減圧吸引方式の2つのタイプがある。
図2に、インナーサイジングダイ方式の溶融押出装置の断面図の一例を示して、インナーサイジングダイ方式の成形の概略を説明する。溶融押出装置本体からベント付き1軸スクリュー押出機(図示しない)により、クラッド部の原料ポリマー31がダイ本体32に押出される。ダイ本体32の内部には、原料ポリマー31を円筒状に導くガイド33が挿入されている。原料ポリマー31は、ガイド33を経てダイ本体32とインナーロッド34との間の流路34aを通る。ダイの出口32aから原料ポリマー31は押出され、円筒中空管の形状のクラッド35が形成される。クラッド35の押出速度については特に制限されないが、形状を均一に保つとともに、生産性の点から、押出速度は1cm/min〜100cm/minの範囲であることが好ましい。
ダイ本体32には、原料ポリマー31を加熱するための加熱装置が設置されていることが好ましい。例えば、原料ポリマー31の流路34aに沿って、ダイ本体32を覆うように1つまたは2以上の加熱装置(例えば、蒸気,熱媒油,電気ヒータなどを利用した装置)を設置していてもよい。ダイの出口32a近傍に温度センサ36を取り付ける。温度センサ36によってダイの出口32aでのクラッド35の温度を測定して温度を調節することが好ましい。
加熱温度は、特に限定されない。具体的には、原料ポリマー31にPVDFを用いた際には、200℃〜290℃の範囲であることが好ましい。また、クラッド35の温度が40℃以上であることが、急激な温度変化による形状の変化を抑制することが可能となり好ましい。クラッド35の温度の制御は、例えば、温調機(例えば、水,不凍液,オイルなどの液体や、電子冷却などを使用した冷却装置)をダイ本体32に取り付けてもよいし、ダイ本体32の自然空冷により冷却してもよい。ダイ本体32に加熱装置が設置されている場合は、冷却装置は加熱装置の位置よりも下流に取り付けるのが好ましい。
次に、アウターダイ減圧吸引方式について説明する。なお、図3には、溶融押出装置の製造ライン40の一例を示し、図3には成形ダイス43の断面図の一例を示す。図3に示す製造ライン40は、溶融押出装置41と、押出ダイス42と、成形ダイス43と、冷却装置44と、引取装置45とを備える。ペレット投入ホッパ46から投入された原料ポリマーは、溶融押出装置内部41aで溶融され、押出ダイス42によって押出され、成形ダイス43に送り込まれる。成形ダイス43には真空ポンプ47が取り付けられている。押出速度Sは、0.1≦S(m/min)≦10の範囲が好ましく、より好ましくは0.3≦S(m/min)≦5.0であり、最も好ましくは0.4≦S(m/min)≦1.0である。しかしながら、本発明において押出速度S(m/min)は、前述した範囲に限定されるものではない。
図4に示す様に、成形ダイス43は、成形管50を備えており、成形管50に原料ポリマー51を通すことにより、原料ポリマー51が成形され円筒中空形状のクラッド52が得られる。成形管50には、多数の吸引孔50aが設けられていて、成形管50の外側に設けられた減圧チャンバ53を真空ポンプ47により減圧することで、クラッド52の外壁面が、成形管50の成形面(内壁面)50bに密着するために、クラッド52の肉厚が一定になって成形される。なお、減圧チャンバ53内の圧力(絶対圧力)は、20kPa〜50kPaの範囲とすることが好ましいが、この範囲に限定されるものではない。なお、成形ダイス43の入口に、クラッド52の外径を規定するためのスロート(外径規定部材)54を取り付けることが好ましい。
成形ダイス43により形状が調整されたクラッド52は、冷却装置44に送られる。冷却装置44には、多数のノズル55が備えられており、それらのノズル55から冷却水56をクラッド52に向けて放水する。これによりクラッド52が冷却されて固化する。冷却水56は、受け器57で回収して、排出口57aから排出される。クラッド52は、冷却装置44から引取装置45により引き出される。引取装置45には、駆動ローラ58と加圧ローラ59とが備えられている。駆動ローラ58には、モータ60が取り付けられており、クラッド52の引取速度の調整が可能になっている。また、クラッド52を挟んで駆動ローラ58と対向して配置されている加圧ローラ59により、クラッド52の微小な位置のずれを修正することが可能となっている。この駆動ローラ58の引取速度と溶融押出装置41の押出速度とを調整したり、加圧ローラ59によるクラッドの移動位置を微調整したりすることにより、クラッド52の形状、特に肉厚を均一にすることが可能となる。必要に応じて、駆動ローラ58と加圧ローラ59はベルト状にすることも出来る。
クラッドは、機械的強度向上や難燃性などの多種の機能性を付与させるために複層からなっていてもよく、内壁の算術平均粗さが特定の範囲の中空管を作製した後、その外壁面をフッ素樹脂等によって被覆することもできる。
得られるクラッド52の外径(プリフォーム15の外径ともなる)D1は光学特性や生産性の観点から、10mm≦D1(mm)≦100mmの範囲であることが好ましく、より好ましくは20mm≦D1(mm)≦50mmの範囲である。さらに、クラッド52の肉厚t1は、形状を保つことができる限りにおいて薄くすることが可能であるが、0.3mm≦t1(mm)≦20mmの範囲であることが好ましく、より好ましくは0.5mm≦t1(mm)≦15mmの範囲である。しかしながら、本発明において、それらの範囲は、前述したものに限定されるものではない。
アウターコア層の原料となる重合性モノマー等の具体例については、インナーコア部の具体例と同様である。アウターコア層は、主にインナーコア部製造のために設けられるものであり、その厚みはインナーコア部の塊状重合に必要な程度厚みであればよく、塊状重合の進行によって屈折率を有するインナーコア部と合一となり単独の層として存在しない、単なるコア部となっていてもよい。そのため、コア部形成前に設けるアウターコアの厚みとしては、塊状重合を行うためにコア部重合前にその肉厚t2(mm)の下限値は、0.5mm〜1mmであれば良い。また、その上限は充分な屈折率分布が形成できる空間が残る程度まで厚くしても構わないのでプリフォームのサイズに応じて選択することができる。
前記1重または2重円筒形状の重合体からなる構造体は、コア部(インナーコア部)の原料となる重合性組成物を注入できるように、底部を有しているのが好ましい。また、底部を前記円筒管を構成している重合体と密着性および接着性に富む材質であるのが好ましい。また、底部を前記円筒管と同一の重合体で構成することもできる。重合体からなる底部は、例えば、重合容器を回転させて重合する前、もしくは、いずれかの方法による中空管形成後に、重合容器を垂直に静置した状態で、重合容器内に少量の重合性モノマーを注入し、重合することによって形成することができる。また、インナーコア形成用重合性組成物に溶出せず、インナーコアの重合反応を妨害しない化学的に安定な素材からなる栓で密閉しても良い。
前記回転重合後に、残存するモノマーや重合開始剤を充分に反応させることを目的として、前記回転重合の重合温度より高い温度で得られた中空管に加熱処理を施してもよく、所望の中空管が得られた後、未重合の組成物を取り除いてもよい。
(第2工程)
第2工程では、前記中空管内に充填された重合性組成物中の重合性モノマーを重合させて、コア部(またはインナーコア部)を形成する。界面ゲル重合法では、前記重合性モノマーの重合は、前記中空管の内壁面から断面の外周から中心に向かって進行する。なお、回転ゲル重合法についても反応容器が静止しているか、回転しているかの差であり、制御方法に差はあるものの現象としてはそれほど大きな差はない。2種以上の重合性モノマーを用いた場合は、前記中空管を構成している重合体に対して親和性の高いモノマーが前記中空管の内壁面に偏在して主に重合し、前記モノマーの比率の高い重合体が形成される。中心に向かうに従って、形成された重合体中の前記親和性の高いモノマーの比率は低下し、他のモノマーの比率が増加する。このようにして、コア部となる領域内にモノマー組成の分布が生じ、その結果、屈折率の分布が導入される。また、重合性モノマーに屈折率調整剤を添加して重合すると、特許第3332922号公報に記載されているように、コア液が中空管内壁を溶解し、内壁面を構成している重合体が膨潤してゲルを構成しながら、重合が進む。このとき、前記中空管を構成している重合体に対して親和性の高いモノマーが前記中空管表面に偏在して重合し、外側には屈折率調整剤濃度が低い重合体が形成される。中心に向かうに従って、形成された重合体中の該屈折率調整剤の比率は増加する。このようにして、コア部となる領域内に屈折率調整剤の濃度分布が生じ、その結果、屈折率の分布が導入される。
第2工程では、前記中空管内に充填された重合性組成物中の重合性モノマーを重合させて、コア部(またはインナーコア部)を形成する。界面ゲル重合法では、前記重合性モノマーの重合は、前記中空管の内壁面から断面の外周から中心に向かって進行する。なお、回転ゲル重合法についても反応容器が静止しているか、回転しているかの差であり、制御方法に差はあるものの現象としてはそれほど大きな差はない。2種以上の重合性モノマーを用いた場合は、前記中空管を構成している重合体に対して親和性の高いモノマーが前記中空管の内壁面に偏在して主に重合し、前記モノマーの比率の高い重合体が形成される。中心に向かうに従って、形成された重合体中の前記親和性の高いモノマーの比率は低下し、他のモノマーの比率が増加する。このようにして、コア部となる領域内にモノマー組成の分布が生じ、その結果、屈折率の分布が導入される。また、重合性モノマーに屈折率調整剤を添加して重合すると、特許第3332922号公報に記載されているように、コア液が中空管内壁を溶解し、内壁面を構成している重合体が膨潤してゲルを構成しながら、重合が進む。このとき、前記中空管を構成している重合体に対して親和性の高いモノマーが前記中空管表面に偏在して重合し、外側には屈折率調整剤濃度が低い重合体が形成される。中心に向かうに従って、形成された重合体中の該屈折率調整剤の比率は増加する。このようにして、コア部となる領域内に屈折率調整剤の濃度分布が生じ、その結果、屈折率の分布が導入される。
また、重合性モノマーの重合速度および重合度を、重合開始剤および所望により添加される連鎖移動剤によって制御し、重合体の分子量を所望の分子量に調整することができる。例えば、得られた重合体を延伸により線引して、POFとする場合は、連鎖移動剤によって製造される重合体の分子量(好ましくは1万〜100万、より好ましくは3万〜50万)を調整すれば、延伸時における機械的特性を所望の範囲とすることができ、生産性の向上にも寄与する。
本工程では、形成されるコア部となる領域に屈折率の分布が導入されるが、屈折率が互いに異なる部分間は熱挙動も互いに異なる。そのため重合を一定温度で行うと、その熱挙動の違いからコア部となる領域には、重合反応に対して発生する体積収縮の応答性が変化し、プリフォーム内部に気泡が混入する。もしくはミクロな空隙が発生し、得られたプリフォームを加熱延伸した際に多数の気泡が発生する現象が生じる可能性がある。重合温度が低過ぎると、重合効率が低下する。また、生産性を著しく損ない、重合が不完全となって光透過性が低下し、作製される光学部材の光伝送性能を損なう。一方、初期の重合温度が高過ぎると、初期の重合速度が著しく上昇し、コア部となる領域の収縮に対して応答緩和できず、気泡発生の傾向が著しくなる。
そこで、初期の重合温度を下記関係式を満たす温度T1(℃)に維持し、重合速度を減少させて初期重合における体積収縮性の応答緩和性を改善することが好ましい。
Tb(℃)−10℃≦T1(℃)≦Tg(℃)
Tb(℃)は前記重合性モノマーの沸点を示し、Tg(℃)は前記重合性モノマーの重合体のガラス転移点(ガラス転移温度)を示す。また、温度T1(℃)を初期重合温度と称する。これらは、以下の説明においても同様である。
Tb(℃)−10℃≦T1(℃)≦Tg(℃)
Tb(℃)は前記重合性モノマーの沸点を示し、Tg(℃)は前記重合性モノマーの重合体のガラス転移点(ガラス転移温度)を示す。また、温度T1(℃)を初期重合温度と称する。これらは、以下の説明においても同様である。
初期重合時間T1(℃)を維持して重合した後に、下記関係式を満たす重合温度T2(℃)まで昇温して、さらに重合する。
Tg(℃)≦T2(℃)≦Tg(℃)+40(℃)
T1(℃)<T2(℃)
重合温度T2(℃)まで昇温して重合を完結すると、光透過性が低下するのを防止でき、光伝送能の良好なプリフォームが得られる。また、プリフォームの熱劣化や解重合の影響を抑制しつつ、内部に存在するポリマー密度の揺らぎを解消し、プリフォームの透明性を向上させることができる。ここで重合温度T2(℃)は、Tg(℃)以上(Tg+30)℃以下であることがより好ましく、(Tg+10)℃程度で行うことが特に好ましい。重合温度T2がTg(℃)未満であると、この効果を得ることはできず、(Tg+40)℃を超えてしまうと、熱劣化や解重合により、プリフォームの透明性が低下する傾向がある。さらに屈折率分布型のコア部を形成する場合は、屈折率分布が崩れてしまい、POFとしての性能が顕著に低下する。
Tg(℃)≦T2(℃)≦Tg(℃)+40(℃)
T1(℃)<T2(℃)
重合温度T2(℃)まで昇温して重合を完結すると、光透過性が低下するのを防止でき、光伝送能の良好なプリフォームが得られる。また、プリフォームの熱劣化や解重合の影響を抑制しつつ、内部に存在するポリマー密度の揺らぎを解消し、プリフォームの透明性を向上させることができる。ここで重合温度T2(℃)は、Tg(℃)以上(Tg+30)℃以下であることがより好ましく、(Tg+10)℃程度で行うことが特に好ましい。重合温度T2がTg(℃)未満であると、この効果を得ることはできず、(Tg+40)℃を超えてしまうと、熱劣化や解重合により、プリフォームの透明性が低下する傾向がある。さらに屈折率分布型のコア部を形成する場合は、屈折率分布が崩れてしまい、POFとしての性能が顕著に低下する。
重合温度T2(℃)での重合は、重合開始剤が残留しないように、重合が完結するまで行うことが好ましい。プリフォーム内に未反応の重合開始剤が残っていると、プリフォーム加工時、特に溶融延伸において、加熱された未反応の重合開始剤が分解して気泡などを発生するおそれがあるため、重合開始剤の反応を終了させておくのが好ましい。重合温度T2(℃)の保持時間は、用いる重合開始剤の種類によって好ましい範囲が異なり、重合温度T2(℃)での重合開始剤の半減期時間以上とするのが好ましい。
重合性モノマーの沸点をTb(℃)とした場合に、重合開始剤として十時間半減期温度が(Tb−20)℃以上である化合物を用いることが好ましい。また、前記関係式を満たす初期重合温度T1(℃)で前記重合開始剤の半減期の10%以上の時間(好ましくは25%の時間)重合することも、同様な観点から好ましい。十時間半減期温度が(Tb−20)℃以上である化合物を重合開始剤として用い、前記初期重合温度T1(℃)で重合すると、初期の重合速度を減少させることができる。また、前記初期重合温度T1(℃)で、前記重合開始剤の半減期時間の10%以上の時間まで重合することにより、初期重合における体積収縮応答に対し圧力により速やかに追随させることができる。前記条件とすることで、初期重合速度を減少させ、初期重合における体積収縮応答性を向上させることができ、その結果、プリフォーム中の体積収縮による気泡混入を軽減することができ、生産性を向上させることができる。なお、重合開始剤の十時間半減期温度とは、重合開始剤が分解して、十時間でその数が1/2になる温度をいう。
前記条件を満たす重合開始剤を用いて、初期重合温度T1(℃)で前記開始剤の半減期時間の10%以上の時間重合する場合、重合を完結するまで初期重合温度T1(℃)に維持してもよい。しかしながら、光透過性の高い光学部材を得るには、初期重合温度T1(℃)より高い重合温度T2(℃)に昇温して、重合を完結することが好ましい。昇温時の温度は前記関係式を満たす重合温度T2(℃)であることが好ましく、より好ましい温度範囲も前述の通りであり、重合温度T2(℃)の保持時間の好ましい範囲も前述の通りである。
本工程において、重合性モノマーとして、例えば、沸点Tb(℃)が100℃のメチルメタクリレート(MMA)を用いた場合、十時間半減期温度が(Tb−20)℃以上の重合開始剤としては、前述の例示した重合開始剤のうち、PBDおよびPHVが該当する。例えば、重合性モノマーとしてMMAを用い、重合開始剤としてPBDを用いた場合は、初期重合温度T1(℃)を100℃〜110℃に48時間〜72時間維持し、その後に重合温度T2(℃)を120℃〜140℃まで昇温して24時間〜48時間重合するのが好ましい。また、重合開始剤としてPHVを用いた場合は、初期重合温度T1(℃)を100℃〜110℃に4時間〜24時間維持し、重合温度T2(℃)を120℃〜140℃まで昇温して24時間〜48時間重合するのが好ましい。なお、昇温は段階的に行っても、連続的に行ってもよいが、昇温にかける時間は短いほうがよい。
本工程においては、特開平9−269424号公報記載のように加圧するもしくは特許第3332922号に記載されているように減圧して重合を行っても良く、更には、重合工程で状況に応じて圧力を変化させてもよい。これらの操作により、重合性モノマーの沸点Tb(℃)近傍の温度である前記関係式を満たす初期重合温度T1(℃)および重合温度T2(℃)での重合の重合効率を向上させることができる。加圧状態で重合を行う(以下、加圧状態で行う重合を「加圧重合」と称する)場合は、前記重合性モノマーを注入した中空管を治具の中空部に挿入して、治具に支持された状態で重合を行うのが好ましい。さらに、重合前の重合性モノマーを減圧雰囲気で脱水・脱気することでさらに気泡の発生を低減させることができる。
前記治具は、前記中空管を挿入可能な中空を有する形状であり、該中空部は前記中空管と類似の形状を有しているのが好ましい。即ち、前記治具も円筒形状であるのが好ましい。治具は、加圧重合中に前記中空管が変形するのを抑制するとともに、加圧重合が進むに従ってコア部となる領域が収縮するのを緩和可能に支持する。従って、治具の中空部は、前記中空管の外径より大きい径を有し、前記中空管を非密着状態で支持するのが好ましい。前記治具の中空部は、前記中空管の外径に対して0.1%〜40%だけ大きい径を有していることが好ましく、10%〜20%だけ大きい径を有していることがより好ましい。
前記中空管を治具の中空部に挿入した状態で、重合容器内に配置することができる。重合容器内において、前記中空管は、円筒の高さ方向を垂直にして配置されるのが好ましい。前記治具に支持された状態で前記中空管を、重合容器内に配置した後、前記重合容器内を加圧することができる。加圧させる場合は窒素などの不活性ガスで重合容器内を加圧し、不活性ガス雰囲気下で加圧重合を進行させるのが好ましい。重合時の加圧の好ましい範囲については、用いるモノマーによって異なるが、重合時の圧(ゲージ圧)は、一般的には0.05MPa〜1.0MPa程度が好ましい。
本発明において、コア部の作製方法は、前記各方法に限定されるものではない。例えば、インナーコアまたはコアは、回転させながら界面ゲル重合を行う回転重合法により形成できる。なお、説明はインナーコアを形成する例で行う。アウターコアが形成されているクラッドパイプの中空内にインナーコア液を注入する。その後に、その一端を密閉し回転重合装置内に水平状態(クラッドパイプの高さ方向が水平になる状態)として回転させながら重合を行う。このときに、インナーコア液の供給は一括でも良いし、逐次や連続して供給しても良い。インナーコア用重合性組成物の供給量,組成,重合度を調整することで、連続して屈折率分布を有するグレーデッドインデックス型(GI型)のほかに、階段状の屈折率分布を有するマルチステップ型光ファイバの製造方法にも適用できる。なお、本発明において、この重合方法をコア部回転重合法(コア部回転ゲル重合法)と称する。
前記コア部回転重合法は、重合を行っている際に、界面ゲル重合法に比べてコア液の表面積を大きく取れるので、コア液から発生する気泡の脱気が容易に行われる。そのため、得られるプリフォーム内に泡の含有が抑制される。また、コア部回転重合法によりコア部を形成すると、その中心部が中空になるプリフォームが得られる場合がある、そのプリフォームをプラスチック光学部材、特にPOFに用いる際には、溶融延伸時にその中空が塞がれるように延伸するので特に問題は生じない。また、前記プリフォームを他の光学部材、例えばプラスチックレンズに用いる際には、プリフォームの中空部を塞ぐように溶融延伸を行うことで、中心部の中空が閉塞されたプリフォームを得ることができ、このプリフォームからプラスチックレンズなども作製することが可能となる。
なお、第2工程終了時において、冷却操作を圧力の制御下において一定の冷却速度で行うことによって、重合後に発生する気泡を抑制することができる。コア部重合時に窒素などの不活性ガスで重合容器内を加圧し、不活性ガス雰囲気下で加圧重合を進行させることが、コア部の圧力応答のために好ましい。しかし、基本的にプリフォーム中から気体を完全に抜くことは不可能であり、冷却工程などでポリマーが急激に収縮すると空隙に気体が凝集し気泡核が形成されて気泡の発生を招いてしまう。これを防ぐには冷却工程で冷却速度を0.001℃/分〜3℃/分程度に制御することが好ましく、0.01℃/分〜1℃/分程度に制御することがより好ましい。この冷却操作はポリマーのガラス転移温度Tg(℃)、特にコア領域のガラス転移温度Tg(℃)に近づく過程でのポリマーの体積収縮の進行に応じて、2段以上で行っても良い。この場合、重合直後は冷却速度を速くし、徐々に緩やかにしていくことが好ましい。
以上の操作によって得られたプリフォームは、均一な屈折率の分布および充分な光透過性を有するとともに、気泡およびマクロ空隔等の発生は抑制されている。また、光を反射してPOF内部に閉じ込めるクラッド部またはアウターコア部とコア部との界面の平滑性が良好となる。また、1層のアウターコア部を有する円筒形状のプリフォームの作製方法を示したが、アウターコア部は2層以上であってもよい。また、アウターコア部は、界面ゲル重合または回転ゲル重合によってアウターコアが溶解し消失したり、延伸等によって光ファイバの形態となった後は、インナーコア部との境界が識別できなくなっていてもよい。
図5(a)にプリフォーム15の断面の一形態を示す。インナーコア20bは、高い伝送特性が得られるように、その中心部から外周部へ連続的に屈折率が小さくなるグレーデッドインデックス型(以下、GI型と称する)であることが好ましい(図5(b)参照)。アウターコア20aは、インナーコア20bを形成する際に、その中で界面ゲル重合が可能な材料から形成されている。プリフォーム15の形態は、特に限定されるものではない。具体的には、クラッドパイプ12の外径D1(mm)が10mm〜100mm、肉厚t1(mm)が0.5mm〜15mmを用いることが好ましい。外径D1(mm)が10mm未満であるとPOF17の生産性が悪くなる。また、外径D1(mm)が100mmを超えると延伸工程16を行う際にプリフォーム15の加熱溶融延伸が困難となる場合がある。そして、肉厚t2(mm)が2mm〜15mmのアウターコア20aを形成した後に、界面ゲル重合法の場合は直径D2(mm)が、2mm〜15mmのインナーコア20bを形成することが好ましい。
得られたプリフォームを種々の形態に加工することによって、種々のプラスチック光学部材を作製することができる。例えば、プリフォームを軸方向に垂直にスライスすれば断面が凹凸を有しない円盤状もしくは円柱状のレンズを作成することができる。また、後述の第3工程に示すようにプリフォームを溶融延伸することによりPOFを作製することができる。このとき、プリフォームのコア部となる領域が屈折率分布を有する場合は、均一な光伝送能を有するPOFを生産性高くしかも安定的に製造することができる。
(第3工程)
第3工程である溶融延伸は、例えば、プリフォームを加熱炉(例えば円筒状の加熱炉)等の内部を通過させることによって加熱し、溶融させた後、引き続き連続して延伸紡糸する。加熱温度は、プリフォームの材質等に応じて適宜決定することができるが、一般的には、180℃〜250℃が好ましい。延伸条件(延伸温度等)は、得られたプリフォームの径、所望のPOFの径および用いた材料等を考慮して、適宜決定することができる。特に、GI型POFにおいては、その断面の中心方向から円周に向け屈折率が変化する構造を有するため、この分布を破壊しないように、均一に加熱且つ延伸紡糸する必要がある。従って、プリフォームの加熱には、プリフォームを断面方向において均一に加熱可能である円筒形状の加熱炉等を用いることが好ましい。また、加熱炉は延伸軸方向に温度分布を持つことが好ましい。溶融部分が狭いほど屈折率分布の形状が歪みにくく収率があがるため好ましい。具体的には溶融部分の領域が狭くなるように溶融領域の前後では、予熱と徐冷を行うことが好ましい。さらに、溶融領域に用いる熱源としてはレーザーのような狭い領域に対しても高出力のエネルギーを供給できるものを用いても良い。
第3工程である溶融延伸は、例えば、プリフォームを加熱炉(例えば円筒状の加熱炉)等の内部を通過させることによって加熱し、溶融させた後、引き続き連続して延伸紡糸する。加熱温度は、プリフォームの材質等に応じて適宜決定することができるが、一般的には、180℃〜250℃が好ましい。延伸条件(延伸温度等)は、得られたプリフォームの径、所望のPOFの径および用いた材料等を考慮して、適宜決定することができる。特に、GI型POFにおいては、その断面の中心方向から円周に向け屈折率が変化する構造を有するため、この分布を破壊しないように、均一に加熱且つ延伸紡糸する必要がある。従って、プリフォームの加熱には、プリフォームを断面方向において均一に加熱可能である円筒形状の加熱炉等を用いることが好ましい。また、加熱炉は延伸軸方向に温度分布を持つことが好ましい。溶融部分が狭いほど屈折率分布の形状が歪みにくく収率があがるため好ましい。具体的には溶融部分の領域が狭くなるように溶融領域の前後では、予熱と徐冷を行うことが好ましい。さらに、溶融領域に用いる熱源としてはレーザーのような狭い領域に対しても高出力のエネルギーを供給できるものを用いても良い。
延伸は線形とその真円度を維持させるため、中心位置を一定に保つ調芯機構を有する延伸紡糸装置を用いて行うのが好ましい。延伸条件を選択することによりPOFを構成する重合体の配向を制御することができ、線引きで得られるPOFの曲げ性能等の機械特性や熱収縮などを制御することもできる。
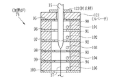
図6に本発明に係るPOF17を製造するための製造設備70を示す。プリフォーム15はXY調芯装置71を介してプリフォーム上下用アーム(以下、アームと称する)72に懸架されている。アーム72は、プリフォーム上下用スクリュー(以下、スクリューと称する)73の回転によって鉛直方向に上下に動く。プリフォーム15を延伸する際は、スクリュー73を一定速度で回転させて, アーム72をゆっくり(例えば1mm/minから20mm/min)下降させる。これによりプリフォーム15の先端が中空円筒状の加熱炉74内に挿入される。なお、加熱炉74の形態については、後に詳細に説明する。プリフォーム15は、その先端から少しずつ溶融されてPOF17となる。なお、プリフォーム15全体はフレキシブル円筒75でカバーされていることが好ましい。フレキシブル円筒75は、外部からの塵埃の侵入、付着防止及び空気の流れから遮蔽して、加熱される前のプリフォーム15近傍の雰囲気を一定に保つ。また、加熱炉74中の雰囲気気体の加熱による上昇気流の発生を, フレキシブル円筒75の上部を袋小路にすることによって抑制するなどの効果がある。加熱炉74は、加熱炉外筒76内に収納されている。製造設備70外の雰囲気の影響を受けなくなり、延伸雰囲気が安定する。さらに、加熱炉74内の雰囲気を不活性状態とするためにガス導入機77を取り付けることが好ましい。
POF17は、線径測定装置78で線径が測定される。線径が所定の値になるように、アーム72の下降速度、加熱炉74での加熱温度、POF17の引取り速度などを制御する。その制御は、線径ムラが生じることによる損失を減少させるため応答性が良い制御系を選ぶことが好ましい。図6に示されている製造設備70では、巻取リール79での巻取速度を変化させることで制御している。なお、製造設備によっては他の箇所を調整することで線径変動を抑制する制御を行っても良い。例えば、プリフォームの加熱をレーザー加熱などのレスポンスが良い方法で行う際には、加熱熱量を制御しても良い。最後に、POF17を巻取リール79で巻き取る。
線引時の張力は、特開平7−234322号公報に記載されているように、POF17を配向させるために0.098N(10g)以上とすることが好ましい。また、特開平7−234324号公報に記載されているように、溶融延伸後にPOF17に歪みを残さないようにするために0.98N(100g)以下とすることが好ましい。但し、これら線引き時の張力は得られるPOFの直径やPOFを構成する材質により異なるため前記条件に限定されるものではない。また、特開平8−106015号公報に記載されているように、溶融延伸の際に予備加熱工程を実施する方法などを採用することもできる。以上の方法によって得られるPOFの破断伸びや硬度については、特開平7−244220号公報に記載の様に規定することでPOFの曲げや側圧特性を改善することができる。また、特開平8−54521号公報のように低屈折率の層を外周に設けて反射層として機能させてさらに伝送性能を向上させることもできる。
図7に本発明に用いられる加熱炉74の概略図を示す。加熱炉74内を不活性ガス雰囲気とするためにガス導入機77が取り付けられている。加熱炉74は、5個の円筒状のヒータユニット90,91,92,93,94が積み重ねられて構成されている。しかしながら、本発明においてヒータユニット数は、図示された5ユニットに限定されるものではない。好ましくは2ユニット〜10ユニットから構成されていることが好ましく、より好ましくは3ユニット〜8ユニットである。ガス導入機77は図7に示されているように加熱炉74に1基取り付けても良いし、各ヒータユニット90〜94にそれぞれ独立して取り付けても良い。さらに、数台のヒータユニットに1基のガス導入機を取り付けても良い。なお、ガスには、窒素ガス(熱伝導率0.0242W/(m・K))及び希ガスであるヘリウムガス(熱伝導率0.1415W/(m・K)),アルゴンガス(熱伝導率0.0015W/(m・K)),ネオンガスなどが好ましく用いられる。コストの点からは窒素ガスを用いることが好ましく、熱伝導効率の点からは、ヘリウムガスを用いることが好ましい。また、数種類のガスを混合させた混合ガス(例えば、ヘリウムガスとアルゴンガスとの混合ガス)を用いることは、所望の熱伝導率のガスを得る目的やコスト低減を図ることもできるために好ましい。不活性ガスは加熱炉74内を不活性な状態に保ち熱伝導を調整するために用いるので、循環利用しても良い。それによりガスの媒体コストを低減することができる。不活性ガスの好ましい供給量は、加熱条件やガスの種類によって異なるが、例えばヘリウムガスを用いる場合には、1L/min〜10L/min(温度が室温のときの換算値)とすることが好ましい。
オリフィス95がヒータユニット90の上面に設けられている。また、オリフィス96〜99は、ヒータユニット間に設けられている。さらに、オリフィス100がヒータユニット94の下面に設けられている。これにより各ヒータユニット90〜94内は、独立して温度制御が可能な区画が形成される。各ヒータユニット90〜94内には温度計101〜105が備えられていることが好ましい。温度計101〜105により各区画内の温度を測定し、その結果に基づき各ヒータユニット90〜94の出力が調整される。また、オリフィス95の上面には、更に封止材106が備えられている。図8に示すように封止材106には、プリフォーム15をヒータユニット90に送り込むために所定の直径D3(mm)の開口107が形成されている。
封止材106は、プリフォーム15と接した方が封止効果が高い。そこで、プリフォーム表面に傷を付けない柔らかさ及び耐熱性が必要である。例えば、シリコンラバー材を始めとするゴム材料シートやカーボンフェルト材などが好ましいが、傷を付けなければ例えば耐熱性に優れるガラスやセラミックスなども使用できる。
さらに、封止材106は、プリフォーム15との封止効果を高めるために、その外径D3(mm)がプリフォーム外径D1(mm)より小さく開口107を形成することが好ましい。開口107の縁107aから半径方向に数本の切断線107bを形成する。切断線107bの端が略円周(以下、外縁円周と称する)107c上となる長さで、中心から半径方向に略均等に形成する。この外縁円周107cの直径をD4(mm)とする。開口縁107aから外縁円周107cまでの領域を密着領域107dと称する。これにより封止材106にプリフォーム15を通すと、密着領域107dがプリフォーム15の外周面を覆うようになるため、封止の効果をより得ることができる。加熱炉74の上流側が封止されることにより、下流側からの大気が流入することが抑制されて、加熱炉74内の温度分布が乱れることが抑制される。
開口外径D3(mm)は、プリフォーム15の直径D1(mm)との関係が0.75×D1(mm)≦D3(mm)≦1.0×D1(mm)の範囲であることが好ましく、より好ましくは、0.80×D1(mm)≦D3(mm)≦0.90×D1(mm)の範囲である。また、外縁円周直径D4(mm)は、プリフォーム直径D1(mm)との関係が、1.0×D1(mm)<D4(mm)≦1.5×D1(mm)の範囲であることが好ましく、より好ましくは1.1×D1(mm)≦D4(mm)≦1.3×D1(mm)の範囲である。
本発明において、開口107の直径D3(mm)は必ずしもプリフォーム15の直径D1(mm)より小さくする必要はない。例えば、1.0×D1(mm)<D3(mm)≦1.2×D1(mm)の開口107を形成することで加熱炉74の上流側の封止の効果を得ることができる。この場合には、封止材106とプリフォーム15とが接触しないため、封止材106の素材の選択が広がる利点がある。特に上流側加熱炉90は温度が高いため(例えば、150℃〜290℃)、耐熱性に優れるセラミックス系素材を用いることができる利点を有する。
図9に加熱炉74の下流側に封止材110を取り付けた実施形態を示す。なお、ガス導入機の図示は省略している。封止材110は、オリフィス100の下面に取り付けられている。また、図10に示すように封止材110は、POF17が通過するための開口111が形成されている。POF17を線引して所望の外径となった後に開口111にPOF17を通過させてオリフィス100の下面に取り付ける。これにより、加熱炉74の下流側から大気が加熱炉74内に入り、温度の乱れが生じることが抑制される。封止材110の素材は特に限定されるものではない。しかしながら、加工容易性やコストの点からステンレスやアルミニウムからなる金属板や、使用温度においても変形などを起こさない耐熱性を有するゴムやプラスチックからなる板などを用いることができ、特に好ましくは耐熱性プラスチック板を用いることである。また、加熱炉74の下流側のヒータユニット94の温度は、上流側のヒータユニットよりも低温(例えば、30℃〜80℃)であるため、使用可能温度は比較的低いが、成型加工が容易なプラスチックが好ましく用いられる。
開口111の直径D6(mm)は、POF17の外径D5(mm)に対して1.2×D5(mm)≦D6(mm)≦10×D5(mm)の範囲が好ましく、1.5×D5(mm)≦D6(mm)≦5×D5(mm)の範囲であることがより好ましい。具体的には、POF17の外径D5(mm)が1mmであれば、開口直径D6(mm)は、2mm〜3mmとすることが好ましい。開口直径D6(mm)が1.2×D5(mm)より狭いと、POF17の搬送路が変化したときに容易に封止材110と接触してしまう。それにより、POF17の外周面が損傷して光学特性に影響を及ぼす。また、開口直径D6(mm)が、10×D5(mm)より広いと大気の流入を防止するという本発明の効果が減じるか、又は全く生じないおそれもある。
封止材110に開口111を形成する形態に代えて、開口直径D4(mm)が可変なシャッタ状の封止材を取り付けても良い。これにより、溶融延伸加熱する際のPOF17の直径D5(mm)を変える際にも、加熱炉74の調整時間を短縮することができる。また、封止材として開閉可能な2枚羽根から形成されているものを用いることもできる。また、封止材の一部が分離可能となっており、線引き開始時には分離した状態とし、POF17の外径が所望のものとなった後に分離部を固定するものを用いることができる。これら封止材を用いると、プリフォーム15の加熱溶融延伸を開始してPOF17が所望の外径となった後に封止材をセットする作業が容易となる点で有利である。
図11に示す加熱炉74には、上流側及び下流側のいずれにも封止材106,110を取り付けている。なお、ガス導入機の図示は省略している。これにより、下流側からの大気の流入を防ぐと共に上流側からの大気の出入りが極めて抑制される。そのため、加熱炉74内の大気の流れが極めて抑制され温度の乱れが極めて生じ難くなる。そこで、各ヒータユニット90〜94での温度制御に従ってプリフォーム15,POF17は、所望の温度分布となり加熱溶融延伸の条件変動を抑制することができる。
図12に示す加熱炉74には、オリフィス95上にスペーサ121が備えられている。なお、ガス導入機の図示は省略している。最上流側、つまりプリフォーム15の予熱から溶融までのヒータユニット90は、高温(例えば、150℃〜290℃)になっている。一方、封止材122は、図8でも説明したように封止の効果を向上させるため、プリフォーム15の外周面を覆う形状となっている。そのため、通常プラスチックであるプリフォーム15と接触させてもその表面に傷などの損傷を与えない素材は、ある程度の耐熱性を有するポリイミド樹脂やPETなどからなるプラスチックフィルム(より好ましくはエンジニアリングプラスチックフィルム)や、エラストマー(例えば、シリコーン系ゴム,ウレタン系エラストマー,発泡樹脂など)など柔らかいものが用いられる。これらは、一般的に耐熱性に劣るため加熱されたオリフィス95上に直接取り付けると、熱劣化を起こす場合がある。そこで、オリフィス95上にスペーサ121を設け、その上面に封止材122(図8の封止材106参照)を設けることが好ましい。なお、スペーサ121の材質は、特に限定されるものではないが、断熱性に優れるセラミックス(例えば、ロックウール,ヘミサルなど)、ガラスクロスなどを用いることが好ましい。
図13に示す加熱炉74には、図12で説明されているスペーサ131と封止材132とが設けられている。さらにオリフィス100の下方に円筒管133が取り付けられており、その出口には封止材134(図10の封止材110参照)が取り付けられている。これにより、円筒管133内は、大気の流れが抑制されている。そのため加熱溶融延伸直後で、未だ柔らかいPOF17表面のスジなどの形状変化がおきることが抑制される。なお、円筒管133の長さL1(mm)は特に限定されるものではないが、100mm≦L1(mm)≦1000mmであることが好ましい。また、円筒管133の内径は、10mm以上50mm以下の範囲とすることが好ましい。なお、ガス導入機の図示は省略している。
POFは、曲げ、耐候性の向上,吸湿による性能低下抑制,引張強度の向上,耐踏付け性付与,難燃性付与,薬品による損傷からの保護,外部光線によるノイズ防止,着色などによる商品価値の向上などを目的として、通常、その表面に1層以上の保護層を被覆して使用される。
(被覆の構造)
POFおよび/または光ファイバ心線を被覆することにより、プラスチック光ファイバケーブル(以下、光ファイバケーブルと称する)の製造が可能となる。その際にその被覆の形態として、被覆材とPOFの界面が全周にわたって接して被覆されている密着型の被覆と、被覆材とPOFの界面に空隙を有するルース型被覆がある。ルース型被覆では、たとえばコネクタとの接続部において被覆層を剥離した場合、その端面の空隙から水分が浸入して長手方向に拡散されるおそれがあるため、通常は密着型が好ましい。
POFおよび/または光ファイバ心線を被覆することにより、プラスチック光ファイバケーブル(以下、光ファイバケーブルと称する)の製造が可能となる。その際にその被覆の形態として、被覆材とPOFの界面が全周にわたって接して被覆されている密着型の被覆と、被覆材とPOFの界面に空隙を有するルース型被覆がある。ルース型被覆では、たとえばコネクタとの接続部において被覆層を剥離した場合、その端面の空隙から水分が浸入して長手方向に拡散されるおそれがあるため、通常は密着型が好ましい。
しかし、ルース型の被覆の場合、被覆材とPOFとが密着していないので、光ファイバケーブルにかかる応力や熱とはじめとするダメージの多くを被覆層で緩和させることができる。そのため、POFにかかるダメージを軽減させることができ、使用目的によっては好ましく用いることができる。水分の伝播については、空隙部に流動性を有するゲル状の半固体や粉粒体を充填することで、端面からの水分伝播を防止でき、かつ、これらの半固体や粉粒体に耐熱や機械的機能の向上などの水分伝播防止と異なる機能をあわせ持つようにすることでより高い性能の被覆を形成できる。なお、ルース型の被覆を製造するには、クロスヘッドダイの押出し口ニップルの位置を調整し減圧装置を加減することで空隙層を作ることができる。空隙層の厚みは前述のニップル厚みと空隙層を加圧/減圧することで調整が可能である。
これら被覆に用いられる保護層形成用材料としては、具体的に以下の材料を挙げることができる。一般的な被覆用素材として熱可塑性樹脂素材が挙げられる。これらの素材の例としては、ポリエチレン(PE)、ポリプロピレン(PP)、塩化ビニル(PVC)、エチレン酢酸ビニル共重合体(EVA)、エチレン−アクリル酸エチル共重合体(EEA)、ポリエステル、ナイロンなどが挙げられる。 上記の熱可塑性樹脂以外に各種エラストマーを用いる事もできる。 これらは高い弾性を有しているため、曲げなどの機械的な特性付与の観点でも効果がある。これらエラストマーの例としては、イソプレン系ゴム,ブタジエン系ゴム,ジエン系特殊ゴム等の各種ゴムや、室温では流動性を示すが加熱によりその流動性が消失して硬化するポリジエン系やポリオレフィン系等の液状ゴム、室温ではゴム弾性を示し、高温では可塑化されて成形が容易である物質群である各種熱可塑性エラストマー(TPE)などが挙げられる。 また、ポリマー前駆体と反応剤などとを混合した液を熱硬化させるものも用いることができる。例えば、国際公開第95/26374号パンフレットに記載のNCO基含有ウレタンプレポリマーと20μm以下の固形アミンとからなる1液型熱硬化性ウレタン組成物なども用いることもできる。
前記列記した素材は、POFのポリマーのガラス転移温度Tg以下で成形可能なものであれば、特に上記材料に限定されず、各材料間もしくは上記以外の共重合体や混合ポリマーとして組み合わせて用いることもできる。その他に、性能を改善する目的で難燃剤、酸化防止剤、ラジカル捕獲剤、滑剤などの添加剤や、無機化合物及び/または有機化合物からなる各種フィラーを加えることができる。
本発明によるPOFは、さらに、必要に応じて上記の保護層を1次被覆層とし、外周にさらに2次(または多層)被覆層を設けても良い。1次被覆が充分な厚みを有している場合には、1次被覆の存在により熱ダメージが減少するため、2次被覆層の素材の硬化温度の制限は、1次被覆層を被覆する場合に比べて、緩くすることができる。2次被覆層には前述と同様に、難燃剤や紫外線吸収剤、酸化防止剤、ラジカル捕獲剤、昇光剤、滑剤などを導入してもよい。
なお、難燃剤については臭素を始めとするハロゲン含有の樹脂や添加剤や燐含有のものがあるが、燃焼時の毒性ガス低減などの安全性の観点で難燃剤として水酸化アルミニウムや水酸化マグネシウムなどの金属水酸化物を好ましく使うことができる。金属水酸化物はその内部に結晶水として水分を有しており、またその製法過程での付着水が完全に除去できないため、低吸湿性の素線や低次被覆層ではない場合、金属水酸化物による難燃性被覆は1次被覆層の外層に耐湿性被覆を設けてその外層にさらに被覆層として設けることが望ましい。難燃性の規格として、UL(Underwriters Labolatory) ではいくつかの試験方法を決めており、それぞれ難燃性能の低い順から、CMX(燃焼試験は一般にVW−1試験と言われている)、CM(垂直トレイ燃焼試験)、CMR(ライザー試験)、CMP(プレナム試験)などのグレードが設定されている。 プラスチック光ファイバの被覆の場合、芯材であるプラスチック光ファイバは可燃性素材で出来ているので、火災時に延焼を防ぐためにVW−1の規格を有したコードまたはケーブルであることが好ましい。
また、被覆層に複数の機能を付与させるために、さらに様々な機能を有する被覆を積層させてもよい。例えば、前述の難燃化以外に、吸湿を抑制するためのバリア層や水分を除去するための吸湿材料、例えば吸湿テープや吸湿ジェルを被覆層内や被覆層間に有することができ、また可撓時の応力緩和のための柔軟性素材層や発泡層等の緩衝材、剛性を向上させるための強化層など、用途に応じて選択して設けることができる。樹脂以外にも構造材として、高い弾性率を有する繊維(いわゆる抗張力繊維)および/または剛性の高い金属線等の線材を熱可塑性樹脂に含有すると、得られるケーブルの力学的強度を補強することができることから好ましい。抗張力繊維としては、例えば、アラミド繊維、ポリエステル繊維、ポリアミド繊維が挙げられる。また、金属線としてはステンレス線、亜鉛合金線、銅線などが挙げられる。いずれのものも前述したものに限定されるものではない。その他に保護のための金属管の外装、架空用の支持線や、配線時の作業性を向上させるための機構を組み込むことができる。
また、プラスチック光ケーブルの形状は使用形態によって、POFまたはプラスチック光ファイバ心線を同心円上にまとめた集合型のものや、一列に並べたテープ型のもの、さらにそれらを押え巻やラップシースなどでまとめたものなど用途に応じてその使用形態が選ばれる。
また、本発明に係るPOFを用いた光ファイバケーブルは、軸ずれに対して従来の光ファイバケーブルに比べて許容度が高いため突き合せによる接合でも用いることができるが、端部に接続用光コネクタを用いて接続部を確実に固定することが好ましい。コネクタとしては一般に知られている、PN型、SMA型、SMI型などの市販の各種コネクタを利用することも可能である。
本発明の光学部材としてのPOF、光ファイバ心線および光ファイバケーブルを用いて光信号を伝送するシステムには、種々の発光素子や受光素子、光スイッチ、光アイソレータ、光集積回路、光送受信モジュールなどの光部品を含む光信号処理装置等で構成される。また、必要に応じて他の光ファイバなどと組合わせてもよい。それらに関連する技術としてはいかなる公知の技術も適用でき、例えば、プラスティックオプティカルファイバの基礎と実際(エヌ・ティー・エス社発行)、日経エレクトロニクス2001.12.3号110頁〜127頁「プリント配線基板に光部品が載る,今度こそ」などを参考にすることができる。前記文献に記載の種々の技術と組み合わせることによって、コンピュータや各種デジタル機器内の装置内配線、車両や船舶などの内部配線、光端末とデジタル機器、デジタル機器同士の光リンクや一般家庭や集合住宅・工場・オフィス・病院・学校などの屋内や域内の光LAN等をはじめとする、高速大容量のデータ通信や電磁波の影響を受けない制御用途などの短距離に適した光伝送システムに好適に用いることができる。
さらに、IEICE TRANS. ELECTRON., VOL. E84-C, No.3, MARCH 2001, p.339-344 「High-Uniformity Star Coupler Using Diffused Light Transmission」,エレクトロニクス実装学会誌 Vol.3, No.6, 2000 476頁〜480ページ「光シートバス技術によるインタコネクション」の記載されているものや、特開平10−123350号、特開2002−90571号、特開2001−290055号等の各公報に記載の光バス;特開2001−74971号、特開2000−329962号、特開2001−74966号、特開2001−74968号、特開2001−318263号、特開2001−311840号等の各公報に記載の光分岐結合装置;特開2000−241655号等の公報に記載の光スターカプラ;特開2002−62457号、特開2002−101044号、特開2001−305395号等の各公報に記載の光信号伝達装置や光データバスシステム;特開2002−23011号等に記載の光信号処理装置;特開2001−86537号等に記載の光信号クロスコネクトシステム;特開2002−26815号等に記載の光伝送システム;特開2001−339554号、特開2001−339555号等の各公報に記載のマルチファンクションシステム;や各種の光導波路、光分岐器、光結合器、光合波器、光分波器などと組み合わせることで、多重化した送受信などを使用した、より高度な光伝送システムを構築することができる。以上の光伝送用途以外にも照明、エネルギー伝送、イルミネーション、センサ分野にも用いることができる。
以下に実施例1ないし実施例5及び比較例を挙げて本発明をさらに具体的に説明する。以下の実施例に示す材料の種類、それらの割合、操作などは、本発明の精神から逸脱しない限り適宜変更することができる。従って、本発明の範囲は以下に示す具体例に制限されるものではない。なお、説明は実施例1で詳細に行う。実施例2ないし実施例5及び比較例では、実施例1と異なる箇所のみを説明する。
溶融押出成形により作製した外径D1が20mm,内径19mm(クラッド肉厚t1が0.5mm)、長さ900mmのポリフッ化ビニリデン(PVDF)からなるクラッドパイプ12を用いた。このクラッドパイプ12を充分に剛性を有する内径20mm、長さ1000mmの重合容器に挿入した。この重合容器をクラッドパイプ12ごと純水にて洗浄した後に90℃にて乾燥させた。その後、クラッドパイプ12にテフロン(登録商標)製の栓を用いて一端を封止した。エタノールにてクラッドパイプ12の内壁を洗浄した後に、80℃の熱オーブンにて圧力を(大気圧に対して−0.08MPa)として12時間、減圧処理を行った。
次に、アウターコア重合工程13を行った。三角フラスコ内に、重水素化メチルメタクリレート(MMA−d8 和光純薬(株)社製)205.0gと、2,2' −アゾビス(イソ酪酸)ジメチル0.0512gと、1−ドデカンチオール(ラウリルメルカプタン)0.766gとをそれぞれ計量してアウターコア液を調製した。このアウターコア液を井内盛栄堂(株)社製の超音波洗浄装置USK−3(38000MHz、出力360W)を用いて10分間超音波照射を行った。次に、クラッドパイプ12内にそのアウターコア液を注液した後に減圧濾過装置を用いてクラッドパイプ12内を大気圧に対して0.01MPa減圧した。減圧脱気しつつ前記超音波洗浄装置を用いて超音波処理を5分間行った。
クラッドパイプ12の先端部分の空気をアルゴンにて置換後、クラッドパイプ12の先端部をシリコン栓とシールテープを用いて密閉した。アウターコア液を含んだクラッドパイプ12ごと、60℃の湯浴中にいれ、震盪させつつ2時間予備重合を行った。その後、前記予備重合を行ったクラッドパイプ12を水平状態(クラッドパイプの長さ方向が水平になる状態)で60℃の温度を保持しつつ500rpmにて回転させながら2時間加熱重合(回転重合)を行った。その後に回転速度3000rpmで60℃,16時間、さらに3000rpmで90℃,4時間の回転重合を行った。クラッドパイプ12の内側にPMMA−d8からなるアウターコア20aを有する円筒管を得た。
次に、インナーコア部作製前処理を行った。前述したアウターコア20aが形成されているクラッドパイプ12を90℃の熱オーブンにて圧力を(大気圧に対して−0.08MPa)として3時間、減圧処理を行った。さらに、インナーコア重合工程14を行った。三角フラスコ内に重水素化メチルメタクリレート(MMA−d8)82.0gと、2,2’−アゾビス(イソ酪酸)ジメチル0.070gと、1−ドデカンチオール0.306gと、ドーパントとしてジフェニルスルフィド(DPS)6.00gとをそれぞれ計量してインナーコア液を調製した。その後に超音波洗浄装置USK−3を用いて10分間超音波照射を行った。
アウターコア20aが形成されているクラッドパイプ12を80℃で20分保温した後にインナーコア液を中空部に注入した。クラッドパイプ12の一端をテフロン(登録商標)栓で密封した。70℃で5時間、回転速度3000rpmで回転ゲル重合法を行った。その後に120℃で更に24時間の加熱重合及び熱処理を行いインナーコア20bを形成した。その後にオートクレーブ外にプリフォーム15として取り出した。プリフォーム15は、その外径D1(mm)が20mm、中空部の径が4.5mm、クラッドパイプ肉厚t1が0.5mmであった。
このプリフォーム15を、図6ないし8に示した製造設備70を用いて延伸工程16を行った。5段のヒータユニット(内径80mm)90〜94からなる加熱炉74を用いた。ヒータユニット90〜94の上段から順に、215℃,164℃,144℃,111℃,60℃の内温となるように加熱温度を設定した。また、封止材106には、シリコーンラバーから形成されているものを用いた。開口直径D3はプリフォーム15の外径D1と同じ20mmとして、密着領域107dは設けなかった。POF17の外径D5が316μmとなるように加熱溶融延伸を行った。そのとき各ヒータユニットの内温の温度変動は上段4段のヒータユニット90〜93が±0.15℃であり、最下段部のヒータユニット94の内温は±0.4℃であった。この状態で延伸したときのPOF17の線径変動は±3μmであり、良好の結果を得た。
図9及び図10に示した加熱炉74を用いた以外は、実施例1と同じ条件で実験を行った。封止材110の素材は、シリコーンラバーを用い、開口直径D4は2mmのものを用いた。このときの各ヒータユニット90〜94内の温度変動は5段とも±0.1℃であった。また、この状態で延伸したときのPOF17の線径変動は±2μmであり、良好の結果を得た。
図11に示したように加熱炉74の上部及び下部に封止材106,110を取り付けた。封止材106には、ポリカーボネートから作製され、開口直径D3が20mmのものを用いた。また、封止材110には、シリコーンラバーから作製され、開口直径D6が2mmのものを用いた。このときの各ヒータユニット90〜94の温度変動はいずれも±0.1℃であった。またこの状態で延伸したときのPOF17の線径変動は±2μmであり、良好な結果を得た。
図12に示したように加熱炉74の上部に高さ10cmで、断熱材であるヘミサルから作製されたスペーサ121を取り付けた。そのスペーサ121上面に封止材122を取り付けた。封止材122はウレタンラバーから作製され開口直径D3が19mmのものを用いた。このとき内温の温度変動はヒータユニット上部4段90〜93が±0.15℃あり、最下段部のヒータユニット94の内温の温度変動は±0.4℃であった。この状態で延伸したときのPOF17の線径変動は±3μmであり、良好の結果を得た。
図13に示したように加熱炉74の上部に高さ5cmで、断熱材であるヘミサルから作製されたスペーサ131を取り付けた。そのスペーサ131上面に封止材132を取り付けた。封止材132はシリコーンラバーから作製され開口直径D3が19.5mmのものを用いた。また、加熱炉74の下部には直径1cm、長さ20cmのステンレス製円筒管133を連結した。そして、円筒管133出口側に封止材134を取り付けた。封止材134には、ポリカーボネートから作製され、開口直径D6が2mmのものを用いた。また、5段のヒータユニット90〜94を用いて上段から順に220℃,170℃,150℃,116℃,64℃の内温となるように加熱温度を設定した。POF17の外径D5が750μmとなるように加熱溶融延伸を行った。このときの温度変動は5段のヒータユニット90〜94いずれもが±0.1℃であった。またこの状態で延伸したときのPOF17の線径変動は±4μmであり、良好の結果を得た。
また、開口直径D6が3mmの封止材134を用いて同様の実験を行ったところ、開口直径D6が2mmの封止材134と同等の結果が得られた。
さらに、比較例の実験として以下の方法で実験を行った。図7に示した加熱炉74に封止材を取り付けずにプリフォーム15の加熱溶融延伸を行いPOFを得た。各ヒータユニット90〜94の温度変動は、0.7℃〜1.5℃であった。また得られたPOFの線径変動は±15μmの結果であり、線径変動は大きくなった。
15 プリフォーム
17 プラスチック光ファイバ
74 加熱炉
90,91,92,93,94 ヒータユニット
95,96,97,98,99,100 オリフィス
106,110,122,132 封止材
17 プラスチック光ファイバ
74 加熱炉
90,91,92,93,94 ヒータユニット
95,96,97,98,99,100 オリフィス
106,110,122,132 封止材
Claims (6)
- プラスチック光ファイバ母材を加熱炉で加熱溶融延伸してプラスチック光ファイバを製造するプラスチック光ファイバの製造装置において、
前記加熱炉が3段以上の独立して温度制御可能なヒータユニットから構成され、
前記ヒータユニット間にオリフィスを挿入して各ヒータユニットを区画し、
前記加熱炉の上部または下部の少なくともいずれかに前記加熱炉内への気体の流入を防止する封止材を設けた前記加熱炉内における気体の移動を制限する構造を有することを特徴とするプラスチック光ファイバの製造装置。 - 前記加熱炉上部に設けられる封止材は、前記プラスチック光ファイバ母材が貫通する円形の開口を備え、前記開口の直径D3(mm)が、
前記プラスチック光ファイバ母材の直径D1(mm)に対して、
1×D1(mm)<D3(mm)≦1.5×D1(mm)の範囲であることを特徴とする請求項1記載のプラスチック光ファイバの製造装置。 - 前記加熱炉上部に設けられる封止材は、前記プラスチック光ファイバ母材が貫通する円形の開口を備え、前記開口の直径D3(mm)が、
前記プラスチック光ファイバ母材の直径D1(mm)に対して、
0.75×D1(mm)≦D3(mm)≦1×D1(mm)の範囲であり、
前記封止材の一部が前記プラスチック光ファイバ母材の外周面を覆うことを特徴とする請求項1記載のプラスチック光ファイバの製造装置。 - 前記加熱炉下部に設けられる封止材は、前記プラスチック光ファイバが通過する円形の開口を備え、前記開口の直径D6(mm)が、
前記プラスチック光ファイバの外径D5(mm)に対して、
1.2×D5(mm)≦D6(mm)≦10×D5(mm)の範囲であることを特徴とする請求項1ないし3いずれか1つ記載のプラスチック光ファイバの製造装置。 - 前記加熱炉内にヘリウム,アルゴン,窒素のうち少なくとも1つの気体を供給する気体供給手段を備えることを特徴とする請求項1ないし4いずれか1つ記載のプラスチック光ファイバの製造装置。
- プラスチック光ファイバ母材を加熱炉で加熱溶融延伸し、プラスチック光ファイバとするプラスチック光ファイバの製造方法において、
前記加熱炉が多段の独立して温度制御可能なヒータユニットから構成され、前記ヒータユニット間にオリフィスを挿入して区画としたものを用い、
前記加熱炉の上部または下部の少なくともいずれかに前記加熱炉内に大気の流入を防止する封止材を設け、前記各区画内の温度変動を設定温度±0.5℃以内とし、
前記プラスチック光ファイバ母材を加熱溶融延伸してプラスチック光ファイバを製造することを特徴とするプラスチック光ファイバの製造方法。
Priority Applications (5)
| Application Number | Priority Date | Filing Date | Title |
|---|---|---|---|
| JP2004110242A JP2005292656A (ja) | 2004-04-02 | 2004-04-02 | プラスチック光ファイバの製造装置及び製造方法 |
| KR1020067020647A KR20070004018A (ko) | 2004-04-02 | 2005-03-29 | 플라스틱 광섬유를 제조하기 위한 장치 및 그 제조 방법 |
| EP05721711A EP1730557A1 (en) | 2004-04-02 | 2005-03-29 | Method and apparatus for manufacturing plastic optical fiber |
| PCT/JP2005/006572 WO2005096043A1 (en) | 2004-04-02 | 2005-03-29 | Method and apparatus for manufacturing plastic optical fiber |
| US11/547,330 US20080277810A1 (en) | 2004-04-02 | 2005-03-29 | Method and Apparatus for Manufacturing Plastic Optical Fiber |
Applications Claiming Priority (1)
| Application Number | Priority Date | Filing Date | Title |
|---|---|---|---|
| JP2004110242A JP2005292656A (ja) | 2004-04-02 | 2004-04-02 | プラスチック光ファイバの製造装置及び製造方法 |
Publications (1)
| Publication Number | Publication Date |
|---|---|
| JP2005292656A true JP2005292656A (ja) | 2005-10-20 |
Family
ID=35325615
Family Applications (1)
| Application Number | Title | Priority Date | Filing Date |
|---|---|---|---|
| JP2004110242A Pending JP2005292656A (ja) | 2004-04-02 | 2004-04-02 | プラスチック光ファイバの製造装置及び製造方法 |
Country Status (1)
| Country | Link |
|---|---|
| JP (1) | JP2005292656A (ja) |
Cited By (2)
| Publication number | Priority date | Publication date | Assignee | Title |
|---|---|---|---|---|
| KR101207691B1 (ko) | 2005-04-05 | 2012-12-03 | 로젠버거 호흐프리쿠벤츠테흐닉 게엠베하 운트 코. 카게 | 파크라(fakra) 하우징을 구비한 광 데이터 전송케이블 플러그 연결체 |
| JP2022510751A (ja) * | 2018-08-31 | 2022-01-28 | ザ・ユニバーシティ・オブ・シドニー | ファイバ形成方法 |
-
2004
- 2004-04-02 JP JP2004110242A patent/JP2005292656A/ja active Pending
Cited By (3)
| Publication number | Priority date | Publication date | Assignee | Title |
|---|---|---|---|---|
| KR101207691B1 (ko) | 2005-04-05 | 2012-12-03 | 로젠버거 호흐프리쿠벤츠테흐닉 게엠베하 운트 코. 카게 | 파크라(fakra) 하우징을 구비한 광 데이터 전송케이블 플러그 연결체 |
| JP2022510751A (ja) * | 2018-08-31 | 2022-01-28 | ザ・ユニバーシティ・オブ・シドニー | ファイバ形成方法 |
| US12257793B2 (en) | 2018-08-31 | 2025-03-25 | The University Of Sydney | Fibre forming process |
Similar Documents
| Publication | Publication Date | Title |
|---|---|---|
| JP2005292180A (ja) | プラスチック光ファイバ及びその製造方法 | |
| JP2008511012A (ja) | 樹脂を用いたプラスチック光ファイバの被覆方法及び被覆装置 | |
| JP2006058774A (ja) | 光ファイバケーブル及びその製造方法 | |
| KR20070004018A (ko) | 플라스틱 광섬유를 제조하기 위한 장치 및 그 제조 방법 | |
| JP3910528B2 (ja) | プラスチック光学製品及びプラスチック光ファイバの製造方法 | |
| JP2006058775A (ja) | プラスチック光ファイバの被覆方法 | |
| JP2007529023A (ja) | プラスチック光ファイバ及びその製造方法 | |
| JP2006330190A (ja) | プラスチック光ファイバプリフォーム及びその製造方法 | |
| JP4160918B2 (ja) | 光通信方法 | |
| JP2005292668A (ja) | プラスチック光ファイバの製造方法 | |
| JP2005292656A (ja) | プラスチック光ファイバの製造装置及び製造方法 | |
| US20070154633A1 (en) | Method and device for coating plastic optical fiber with resin | |
| JP2005258217A (ja) | プラスチック光ファイバ用クラッドパイプの製造方法及び装置 | |
| JP2005321720A (ja) | 光学部材用クラッドパイプの製造方法及び装置 | |
| JP2004318090A (ja) | プラスチック光ファイバの製造方法及び製造装置 | |
| JP2005321721A (ja) | プラスチック光ファイバの製造装置及び製造方法 | |
| JP2005258218A (ja) | プラスチック光ファイバ用クラッドパイプの製造方法及び装置 | |
| JP2004191925A (ja) | プラスチック光学部材用プリフォームとその製造方法、およびプラスチック光ファイバ | |
| JP2004264746A (ja) | プラスチック光学部材 | |
| JP2005321761A (ja) | プラスチック光ファイバの被覆方法及び装置 | |
| JP2005292667A (ja) | プラスチック光ファイバ及びその製造方法 | |
| JP2005258297A (ja) | 光ファイバ用クラッドパイプ及びその製造方法 | |
| JP2004307530A (ja) | 光学部材用重合性組成物、化合物、ならびにそれを用いた光学部材およびその製造方法 | |
| JP2005181445A (ja) | プラスチック光学部材用プリフォーム及びその製造方法並びにプラスチック光学部材及びプラスチック光ファイバ | |
| JP2004341489A (ja) | 保護層付き光学部材並びに製造方法及び製造装置 |
Legal Events
| Date | Code | Title | Description |
|---|---|---|---|
| A711 | Notification of change in applicant |
Free format text: JAPANESE INTERMEDIATE CODE: A712 Effective date: 20061222 |
|
| A621 | Written request for application examination |
Free format text: JAPANESE INTERMEDIATE CODE: A621 Effective date: 20070216 |
|
| A131 | Notification of reasons for refusal |
Free format text: JAPANESE INTERMEDIATE CODE: A131 Effective date: 20091028 |
|
| A02 | Decision of refusal |
Free format text: JAPANESE INTERMEDIATE CODE: A02 Effective date: 20100310 |