JP2005292361A - 鍵盤楽器の回動部品および鍵の支持機構 - Google Patents

鍵盤楽器の回動部品および鍵の支持機構 Download PDF

Info

Publication number
JP2005292361A
JP2005292361A JP2004105521A JP2004105521A JP2005292361A JP 2005292361 A JP2005292361 A JP 2005292361A JP 2004105521 A JP2004105521 A JP 2004105521A JP 2004105521 A JP2004105521 A JP 2004105521A JP 2005292361 A JP2005292361 A JP 2005292361A
Authority
JP
Japan
Prior art keywords
key
pin
pin hole
support mechanism
rotating
Prior art date
Legal status (The legal status is an assumption and is not a legal conclusion. Google has not performed a legal analysis and makes no representation as to the accuracy of the status listed.)
Granted
Application number
JP2004105521A
Other languages
English (en)
Other versions
JP4549090B2 (ja
Inventor
Kenji Yoshisue
健治 吉末
Current Assignee (The listed assignees may be inaccurate. Google has not performed a legal analysis and makes no representation or warranty as to the accuracy of the list.)
Kawai Musical Instruments Manufacturing Co Ltd
Original Assignee
Kawai Musical Instruments Manufacturing Co Ltd
Priority date (The priority date is an assumption and is not a legal conclusion. Google has not performed a legal analysis and makes no representation as to the accuracy of the date listed.)
Filing date
Publication date
Application filed by Kawai Musical Instruments Manufacturing Co Ltd filed Critical Kawai Musical Instruments Manufacturing Co Ltd
Priority to JP2004105521A priority Critical patent/JP4549090B2/ja
Publication of JP2005292361A publication Critical patent/JP2005292361A/ja
Application granted granted Critical
Publication of JP4549090B2 publication Critical patent/JP4549090B2/ja
Anticipated expiration legal-status Critical
Expired - Fee Related legal-status Critical Current

Links

Images

Landscapes

  • Electrophonic Musical Instruments (AREA)

Abstract

【課題】 耐衝撃性が高く、乾湿にかかわらず、回動部品の安定した回動動作を確保できるとともに、製造コストを削減することができる鍵盤楽器の回動部品の支持機構を提供する。また、耐衝撃性が高く、乾湿にかかわらず、鍵の安定した回動動作を確保できるとともに、製造コストを削減することができる鍵盤楽器の鍵の支持機構を提供する。
【解決手段】 押鍵に伴って回動する回動部品(7,12,13,14)を支持する鍵盤楽器の回動部品の支持機構であって、回動部品を支持するための支持部品(33,11,12,12)と、回動部品および支持部品の一方にはピン孔(7b,11b,16b,17b)が形成されており、熱可塑性エラストマーで構成され、ピン孔に固定された筒状の軸受15と、回動部品および支持部品の他方に設けられるとともに、軸受15に回動自在に係合するピン22と、を備える。
【選択図】 図2

Description

本発明は、押鍵に伴って回動する回動部品を支持する鍵盤楽器の回動部品の支持機構、および鍵を支持する鍵盤楽器の鍵の支持機構に関する。
一般に、アコースティックピアノでは、押鍵に伴って回動する多くの回動部品、例えばウィッペン、ジャックやハンマーなどが用いられている。これらの回動部品を回動自在に支持するために、センターピンおよびブッシングクロスが用いられている。具体的には、回動部品に固定されたセンターピンが、支持部品のピン孔に取り付けられた筒状のブッシングクロスに回動自在に係合することにより、回動部品が支持部品に回動自在に支持されている。このブッシングクロスは、フェルト状に織られた羊毛繊維で構成されている。
しかし、上記のアコースティックピアノでは、ブッシングクロスが、羊毛繊維で構成されているので、湿度が高いときには、吸湿により膨張することで、ブッシングクロスの内径およびセンターピンとのクリアランスが小さくなるため、回動部品が回動しにくくなる。それが極端な場合には、回動部品の回動する際に雑音が発生してしまう。逆に、湿度が低いときには、ブッシングクロスが放湿により収縮することで、センターピンとのクリアランスが大きくなり、その結果、回動部品の軸ぶれが生じ、その回動が不安定になる。以上のように、乾湿の影響によって、回動部品の安定した回動動作が得られず、鍵のタッチ重さが不安定になってしまう。
このような不具合を回避するために、従来、例えば特許文献1では、ブッシングクロスを、これにセンターピンを嵌合させた状態で、界面活性剤を含む水に浸漬した後、乾燥させることが開示されている。しかし、このような処理をブッシングクロスに施しても、乾湿の影響によるセンターピンとのクリアランスの変動を十分に抑制できないため、上述したような不具合を十分に解消することができないおそれがある。また、上述したような処理を要するので、その分、鍵盤楽器の製造コストが上昇してしまう。
このため、ブッシングクロスに代えて、フッ素樹脂で構成された軸受を用いることが知られている。しかし、一般に、フッ素樹脂は衝撃に弱いため、演奏の際の押鍵時や、ピアノの運搬時や調整時において、衝撃が軸受に作用した場合には、軸受が破損し、回動部品が動かなくなるおそれがある。また、フッ素樹脂のコストは高いため、鍵盤楽器の製造コストを押し上げてしまう。
また、一般に、上記のようなブッシングクロスは、鍵にも用いられている。具体的には、鍵の中央部にバランスピン孔が形成され、このバランスピン孔がバランスピンに係合した状態で、鍵が回動自在に支持されている。また、バランスピン孔の内側面には、シート状の2枚のブッシングクロスが互いに対向するように貼り付けられており、鍵の回動の際、これらのブッシングクロスがバランスピンに沿って摺動する。さらに、鍵の下面の前部にフロントピン孔が形成され、その内側面にブッシングクロスが貼り付けられていて、鍵の回動の際、このブッシングクロスがフロントピンに沿って摺動しながら、鍵の回動が案内される。このため、乾湿によるブッシングクロスの伸縮によって、バランスピンやフロントピンとのクリアランスが変動し、鍵の安定した回動動作が得られず、鍵のタッチ重さもまた不安定になるなど、前述した回動部品と同様の不具合が生じる。
本発明は、以上のような課題を解決するためになされたものであり、耐衝撃性が高く、乾湿にかかわらず、回動部品の安定した回動動作を確保できるとともに、製造コストを削減することができる鍵盤楽器の回動部品の支持機構を提供することを第1の目的とする。また、耐衝撃性が高く、乾湿にかかわらず、鍵の安定した回動動作を確保できるとともに、製造コストを削減することができる鍵盤楽器の鍵の支持機構を提供することを第2の目的とする。
特開平8−241074号公報
第1の目的を達成するために、請求項1に係る発明は、押鍵に伴って回動する回動部品を支持する鍵盤楽器の回動部品の支持機構であって、回動部品を支持するための支持部品と、回動部品および前記支持部品の一方にはピン孔が形成されており、熱可塑性エラストマーで構成され、ピン孔に固定された筒状の軸受と、回動部品および前記支持部品の他方に設けられるとともに、軸受に回動自在に係合するピンと、を備えることを特徴とする。
この鍵盤楽器の回動部品の支持機構によれば、鍵が押鍵されると、回動部品は、ピンと、ピン孔に固定され、ピンが係合する筒状の軸受とを介して、回動する。この軸受は、熱可塑性エラストマーで構成されている。熱可塑性エラストマーは、天然繊維と異なり、吸湿によって膨張したり、放湿によって収縮したりすることがほとんどない。このため、湿度の変化にかかわらず、ピンと軸受とのクリアランスがほぼ一定に維持されることによって、回動部品の回動のしにくさや軸ぶれを生じることがなく、回動部品の安定した動作を確保できる。それに伴い、鍵のタッチ重さも安定化させることができる。このため、乾湿による影響を除去するために従来行っていた、ブッシングクロスを界面活性剤に含む水に浸漬した後、乾燥させるような処理が不要になり、その分、製造コストを削減することができる。
また、熱可塑性エラストマーは、常温では、ゴム状で弾性を有している。したがって、演奏の際の押鍵時や、鍵盤楽器の運搬時や調整時などにおいて衝撃が軸受に作用した場合でも、その高い耐衝撃性によって軸受の破損を防止できるとともに、演奏時における雑音の発生を防止することができる。さらに、熱可塑性エラストマーは樹脂であるため、その種類や成分の配合によって硬度をコントロールすることができる。軸受の硬度が高すぎると衝撃に耐えにくくなる一方、低すぎると軸ぶれが生じ、回動部品の円滑な回動を妨げる原因になる。したがって、軸受の硬度を適度な値に設定することによって、このような不具合を回避できる。
請求項2に係る発明は、請求項1に記載の鍵盤楽器の回動部品の支持機構において、回動部品は、ウィッペン、レペティションレバー、ジャックおよびハンマーの少なくとも1つであることを特徴とする。
ウィッペン、レペティションレバー、ジャックおよびハンマーは、アコースティックピアノなどにおいて、押鍵に伴って回動し、演奏性やタッチ重さなどに大きな影響を及ぼす主要な回動部品である。本発明によれば、これらの回動部品の少なくとも1つを支持する軸受を熱可塑性エラストマーで構成することによって、請求項1による効果を有効に得ることができる。
請求項3に係る発明は、請求項1または2に記載の鍵盤楽器の回動部品の支持機構において、軸受は、ピン孔に嵌合する筒状の軸部と、軸部の一端に設けられ、軸部をピン孔に嵌合させたときにピン孔の縁部に当接するつば部と、を有するワンピースの成形品で構成されていることを特徴とする。
この構成によれば、軸受の軸部をピン孔に嵌合させ、つば部がピン孔の縁部に当接するまで押し込むことによって、軸受をピン孔に取り付けることができ、軸受の取付を容易に行うことができる。また、この場合、軸部をピン孔に圧入によって取付可能とすれば、接着も不要になり、その分、取付工数が削減されることによって、製造コストをさらに削減することができる。
第2の目的を達成するために、請求項4に係る発明は、回動自在の鍵を支持する鍵盤楽器の鍵の支持機構であって、鍵を支持するための筬と、筬に立ち上がるように設けられたピンと、鍵にはピンに係合するピン孔が形成されており、熱可塑性エラストマーで構成され、ピン孔に設けられ、鍵の回動の際、ピンに沿って摺動しながら鍵を案内するガイド材と、を備えることを特徴とする。
この鍵盤楽器の鍵の支持機構によれば、鍵が押鍵されると、鍵のピン孔に設けられたガイド材は、ピンに沿って摺動しながら鍵を案内する。本発明によれば、ガイド材が熱可塑性エラストマーで構成されている。したがって、請求項1の場合と同様に、熱可塑性エラストマーによる効果を得ることができる。すなわち、乾湿にかかわらず、ガイド材とピンとのクリアランスがほぼ一定に維持されるので、鍵の安定した回動動作を確保することができ、これに伴い、タッチ重さも安定させることができる。また、ガイド材に衝撃が作用した場合でも、熱可塑性エラストマーの高い耐衝撃性によって、ガイド材の破損を防止できるとともに、演奏時における雑音の発生も防止できる。さらに、ガイド材の硬度を適切な値に設定することによって、より安定した鍵の回動動作を得ることができる。
請求項5に係る発明は、請求項4に記載の鍵盤楽器の鍵の支持機構において、鍵のピン孔は、鍵の中央部に形成されたバランスピン孔および鍵の前部に形成されたフロントピン孔の少なくとも一方であり、ピンは、バランスピン孔が係合するバランスピンおよびフロントピン孔が係合するフロントピンの少なくとも一方であることを特徴とする。
押鍵時において、バランスピン孔が係合するバランスピンは、鍵を回動自在に支持する機能を果たし、一方、フロントピン孔が係合するフロントピンは、鍵の横ぶれを防止する機能を果たす。したがって、この構成によれば、バランスピン孔およびフロントピン孔の少なくとも一方に設けられたガイド材を熱可塑性エラストマーで構成することによって、請求項4による効果を有効に得ることができる。
請求項6に係る発明は、請求項4に記載の鍵盤楽器の鍵の支持機構において、ガイド材は、ピンが通される中空部を有し、ピン孔に嵌合する本体部と、本体部に嵌合させたときにピン孔の縁部に当接するつば部と、を有するワンピースの成形品で構成されていることを特徴とする。
この構成によれば、ガイド材の本体部をピン孔に嵌合させ、つば部をピン孔の縁部まで押し込むことだけで、ガイド材をピン孔に取り付けることができ、ガイド材の取り付けを容易に行うことができる。また、前述したように、従来においては、ガイド材が2枚のシート状のブッシングクロスで構成されているのに対し、本発明のガイド材は、ワンピースの成形品である。また、本体部をピン孔に圧入によって取付可能とすれば、接着が不要になる。以上により、部品点数および取付工数が削減されることによって、製造コストを削減することができる。
本発明の回動部品の支持機構を含む鍵盤装置を、離鍵状態において示す側断面図である。 アクションを示す分解斜視図である。 軸受の斜視図である。 ハンマーを示す斜視図である。 第2実施形態の軸受を示す(a)側面図および(b)平面図である。 図5の軸受の変形例を示す(a)側面図および(b)平面図である。 本発明による鍵の支持機構を含む鍵盤装置を示す部分斜視図である。 鍵の支持機構の横断面図である。 図8の支持機構の変形例を示す横断面図である。 図9のガイド材の斜視図である。
以下、本発明の好ましい実施形態を、図面を参照しながら、詳細に説明する。図1は、本発明の第1実施形態による回動部品の支持機構を含むグランドピアノの鍵盤装置を、離鍵状態において示している。同図に示すように、この鍵盤装置1は、筬(図示せず)の左右方向(同図の奥行き方向)の端部に立設されたブラケット2,2(一方のみ図示)と、左右方向に延び、両端部がブラケット2,2に連結されたウィッペンレール3およびハンマーシャンクレール4と、揺動自在の複数の鍵5(1つのみ図示)と、ウィッペンレール3に設けられたアクション6と、ハンマーシャンクレール4に鍵5ごとに設けられた複数のハンマー7(1つのみ図示)を備えている。
鍵5は、筬に立設されたバランスピン(図示せず)に揺動自在に支持され、後部(同図の左部)の上面には、ウィッペンレール3の前側にキャプスタン5aがねじ込まれている。
アクション6は、回動部品として、ウィッペン12、ジャック13およびレペティションレバー14を備えている。ウィッペン12は、ウィッペンレール3にねじ止めされたウィッペンフレンジ11を支持部品として、これに回動自在に支持されている。ジャック13およびレペティションレバー14は、ウィッペン12を支持部品として、これに回動自在に支持されている。
図2に示すように、ウィッペンフレンジ11の上部には、二股状に分岐した左右の取付部11a,11aが設けられており、各取付部11aには、左右方向に貫通するピン孔11bが形成されている。各ピン孔11bには、軸受15が嵌め込まれ、例えば接着によって固定されている。
図3に示すように、軸受15は、貫通する孔15aを有する筒状に成形されている。この軸受15は、熱可塑性エラストマーの成形品で構成されている。この熱可塑性エラストマーとしては、例えば、スチレン系エラストマー、オレフィン系エラストマー、ポリアミド系エラストマーやウレタン系エラストマーが用いられる。熱可塑性エラストマーは、吸湿によって膨張したり、放湿によって収縮したりすることがほとんどがなく、また、常温では、ゴム状の弾性を有している。
図2に示すように、ウィッペン12は、前後方向に延びる本体部16と、その中央部から上方に延びるレバーフレンジ部17と、中央部から下方に突出するヒール部18などで構成されている。本体部16の前端部には、二股状に分岐した左右のジャック取付部16a,16aが、レバーフレンジ部17の上部には、二股状に分岐した左右のレバー取付部17a,17aがそれぞれ設けられており、ジャック取付部16aおよびレバー取付部17aには、左右方向に貫通するピン孔16bおよびピン孔17bがそれぞれ形成されている。これらのピン孔16b,17bにも、上述した図3に示す軸受15が嵌め込まれ、例えば接着によって固定されている。また、本体部16の後端部には、左右方向に貫通する孔21が形成されている。この本体部16の後端部はウィッペンフレンジ11の取付部11a,11a間に係合しており、各軸受15および孔21に、センターピン22(ピン)が差し込まれている。このセンターピン22は、ウィッペン12の孔21に固定されるとともに、ウィッペンフレンジ11の各軸受15に回動自在に係合している。これにより、ウィッペン12は、ウィッペンフレンジ11に回動自在に支持されている。また、ウィッペン12は、ヒール部18を介して、鍵5のキャプスタン5aに載置されている(図1参照)。
レペティションレバー14は前後方向に延びており、その中央部には左右方向に貫通する孔23が、前端部には上下方向に貫通するジャック案内孔24が形成されている。レペティションレバー14の中央部はウィッペン12のレバー取付部17a,17a間に係合しており、各軸受15および孔23に、センターピン22が差し込まれている。このセンターピン22は、レペティションレバー14の孔23に固定されるとともに、レバー取付部17の各軸受15に回動自在に係合している。これにより、レペティションレバー14は、ウィッペン12に回動自在に支持されている。また、レペティションレバー14の後端部には、上下方向に貫通するレペティションスクリュー25がねじ込まれており、その下端部にレペティションボタン26が取り付けられている。
ジャック13は、基部13aと、基部13aから上方に延びるハンマー突き上げ部13bと、基部13aから前方に延びるレギュレーティングボタン当接部13cとによって、L字状に形成されている。基部13aには、左右方向に貫通する孔27が形成されている。この基部13aはウィッペン12のジャック取付部16a,16a間に係合しており、各軸受15および孔27に、センターピン22が差し込まれている。このセンターピン22はジャック13の孔27に固定されるとともに、各軸受15に回動自在に係合している。これにより、ジャック13は、ウィッペン12に回動自在に支持されている。また、ハンマー突き上げ部13bは、先端部においてレペティションレバー14のジャック案内孔24に係合しており、上下方向の中間部には、前後方向に貫通するジャックボタンスクリュー28がねじ込まれていて、その後端部にジャックボタン29が取り付けられている。また、ウィッペン12の本体部16の上面には、ジャック13のすぐ後ろ側にジャックボタン29が当接するためのスプーン31が設けられている。
ウィッペン12のレバーフレンジ部17の上下方向の中間部には、ジャック13およびレペティションレバー14を同図の反時計回りに付勢するレペティションスプリング32が取り付けられている。このレペティションスプリング32の付勢により、図1に示す離鍵状態では、レペティションレバー14のレペティションボタン26がウィッペン12の本体部16の上面に当接するとともに、ジャック13のジャックボタン29がスプーン31に当接している。
図4に示すように、ハンマー7は、前後方向に延びるハンマーシャンク8と、その後端部に一体に設けられたハンマーヘッド9で構成されている。ハンマーシャンク8の下面の前端部には、シャンクローラ36が設けられており、それよりも前側には、二股状に分岐した左右のハンマーシャンクフレンジ取付部7a,7aが設けられている。各ハンマーシャンクフレンジ取付部7aには、左右方向に貫通するピン孔7bが形成されており、各ピン孔7bには、上述した図3に示す軸受15が嵌め込まれ、例えば接着によって固定されている。一方、ハンマーシャンクレール4には、ハンマーシャンクフレンジ33が鍵5ごとにねじ止めされている(図1参照)。ハンマーシャンクフレンジ33には、後端部に左右方向に貫通する孔34が形成されており、それよりも前側にドロップスクリュー35が下方からねじ込まれている。そして、このハンマーシャンクフレンジ33の後端部にハンマーシャンクフレンジ取付部7a,7aが係合した状態で、各軸受15および孔34に、センターピン22が差し込まれている。このセンターピン22は、ハンマーシャンクフレンジ33の孔34に固定されるとともに、各軸受15に回動自在に係合している。これにより、回動部品としてのハンマー7は、ハンマーシャンクフレンジ33を支持部品として、これに回動自在に支持されている。シャンクローラ36は、離鍵状態においてレペティションレバー14のジャック案内孔24の縁部に載置されている(図1参照)。また、ハンマーシャンクレール4の下面には、レギュレーティングレール37を介して、レギュレーティングボタン38が鍵5ごとに設けられている。
以上の構成により、鍵5が押鍵されると、キャプスタン5aがヒール部18を突き上げることによって、ウィッペン12は、その後端部を中心に反時計回りに回動し、これに伴い、ジャック13およびレペティションレバー14も一緒に上方に移動する。これらの移動に伴い、まず、レペティションレバー14が、シャンクローラ36を摺動させながらこれを介してハンマー7を押し上げ、ハンマー7を上方に回動させる。次いで、レペティションレバー7の前端部がドロップスクリュー35に当接し、レペティションレバー7がレバーフレンジ部17の上端部を中心に時計回りに回動することによって、ジャック13のハンマー突き上げ部13bがシャンクローラ36を介してハンマー7を突き上げる。その後、ハンマー7が上方に張られた弦Sを打弦する直前まで回動した時点で、レギュレーティングボタン当接部13cがレギュレーティングボタン38に当接することによって、ジャック13は、本体部16の前端部を中心に時計回りに回動し、シャンクローラ36との当接が解除される。これにより、ハンマー7は、アクション6および鍵5との連結を解かれ、自由回動状態で弦Sを打弦する。
鍵5が離鍵されると、ハンマー7およびウィッペン12は自重によって、ジャック13およびレペティションレバー14はレペティションスプリング32で付勢されることによって、押鍵時とは逆方向にそれぞれ回動し、それにより、図1に示す離鍵状態に復帰する。
以上のように、鍵5の押鍵動作によって、回動部品としてのウィッペン12、ジャック13、レペティションレバー14およびハンマー7は、互いに係合する軸受15およびセンターピン22を介して、対応する支持部品に回動自在に支持されており、鍵5の押鍵および離鍵に伴って回動する。本実施形態では、軸受15は、熱可塑性エラストマーの成形品で構成されているので、天然繊維と異なり、前述したように吸湿によって膨張したり、放湿によって収縮したりすることがほとんどない。このため、湿度の変化にかかわらず、センターピン22と軸受15とのクリアランスがほぼ一定に維持されることによって、各回動部品の回動のしにくさや軸ぶれを生じることがなく、回動部品の安定した動作を確保できる。それに伴い、鍵5のタッチ重さも安定化させることができる。
また、これらの回動部品は、演奏性やタッチ重さなどに大きな影響を及ぼす主要な部品であり、本実施形態では、これらの回動部品のすべての軸受15が熱可塑性エラストマーで構成されているので、上述した効果を有効に得ることができる。また、乾湿による影響を除去するために従来行っていた、ブッシングクロスを界面活性剤に含む水に浸漬した後、乾燥させるような処理が不要になり、その分、製造コストを削減することができる。
また、熱可塑性エラストマーは、常温では、ゴム状で弾性を有している。したがって、演奏の際の押鍵時や、ピアノの運搬時や調整時などにおいて衝撃が軸受15に作用した場合でも、その高い耐衝撃性によって軸受15の破損を防止できるとともに、演奏時における雑音の発生を防止することができる。さらに、熱可塑性エラストマーは樹脂であるため、その種類や成分の配合によって硬度をコントロールすることができる。軸受15の硬度が高すぎると衝撃に耐えにくくなる一方、低すぎると軸ぶれが生じ、回動部品の円滑な回動を妨げる原因になる。したがって、軸受15の硬度を適度な値に設定することによって、このような不具合を回避できる。
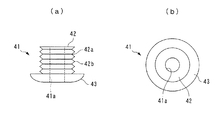
図5は、本発明の第2実施形態による軸受を示している。この軸受41は、第1実施形態の軸受15と同様の熱可塑性エラストマーから成り、ピン孔(7b,11b,16b,17b、以下「ピン孔7bなど」という)に嵌合する軸部42と、軸部42の一端に設けられたつば部43とを一体に有するワンピースの成形品で構成されている。軸部42は、孔41aを有する円筒状のものであり、その外周部は凹部42aと凸部42bを有する蛇腹状に形成されている。この凸部42bの径は、ピン孔7bなどの径とほぼ同じである。つば部43は、円形の皿状のものであり、軸部42の凸部42bよりも径が大きく、軸部42の孔41aは、つば部43まで延びている。
この構成によれば、軸受41にあらかじめ接着剤を塗り、軸部42を、ピン孔7bなどに嵌合させ、つば部43がピン孔7bなどの縁部に当接するまで押し込むだけで、軸受41をピン孔7bなどに取り付けることができ、軸受41の取付を容易に行うことができる。また、軸部42の凹部42aによって、軸部42を押し込む際の摩擦が軽減されるので、軸部42をピン孔7bなどに容易に押し込むことができる。また、軸部42の凸部42bによって、軸部42をピン孔7bなどに確実に接触させることができるので、その接着を安定して行うことができる。また、軸部42の凸部42bの径をピン孔7bなどの径よりも若干大きな値に設定し、熱可塑性エラストマーによる弾性を利用して、軸部42をピン孔7bなどに圧入によって取り付けることも可能である。それにより、接着も不要になり、その分、取付工数が削減されることによって、製造コストをさらに削減することができる。
図6は、軸受の変形例を示している。この軸受51は、第2実施形態のつば部43の軸部42側の面に、4つの突起52を設けたものであり、これらの突起52は、周方向に互いに等間隔で配置されている。一方、軸受51が嵌合されるピン孔7bなどの縁部には、軸受51の突起52が係合可能な4つの凹部(図示せず)が形成されている。以上の構成により、軸部42をピン孔7bなどに押し込む際に、軸受51の各突起52を対応する凹部に嵌め込むことによって、軸受51を回り止めすることができ、したがって、軸受51をさらに安定した状態で取り付けることができる。
なお、これまで述べた例では、グランドピアノのウィッペン12、ジャック13、レペティションレバー14およびハンマー7のすべてに対して本発明を適用しているが、これらの一部に本発明を適用してもよい。また、押鍵に伴って回動する他の回動部品に本発明を適用してもよい。例えば、グランドピアノには一般に、ダンパーフレンジに支持され、押鍵時に鍵の後端部で押し上げられることにより回動するダンパーレバーや、ダンパーレバーに支持され、その回動に伴って回動するダンパーワイヤーフレンジが設けられているので、これらのダンパーレバーやダンパーワイヤーフレンジを回動部品として、本発明を適用してもよい。また、本発明は、グランドピアノに限らず、アップライトピアノにも適用できることはもちろんであり、そのウィッペン、ジャック、ハンマーおよびダンパーレバーを回動部品として、本発明を適用してもよい。
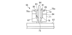
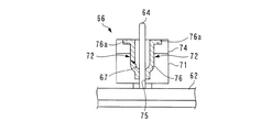
図7は、本発明による鍵の支持機構を含むアップライトピアノの鍵盤装置を示している。同図に示すように、この鍵盤装置61は、筬中62(筬)および筬前63(筬)に立ち上がるようにそれぞれ設けられたバランスピン64(ピン)およびフロントピン65(ピン)と、バランスピン64およびフロントピン65に係合する鍵66を備えている。
鍵66は、前後方向に延びる鍵本体71と、鍵本体71の前半部に接着されたアクリル製の鍵カバー73などで構成されている。鍵本体71は、スプルスや松などの比較的軽量で弾力に富む木質材で構成されている。鍵本体71の上面の中央部には、より堅い木質材から成る中座板74が補強用に接着されている。また、鍵本体71の中央部には、バランスピン孔67(ピン孔)が鍵本体71から中座板74を上下方向に貫通するように形成されている。鍵本体71の前部には、下方に開口するフロントピン孔68(ピン孔)が形成されている。鍵66は、バランスピン孔67がバランスピン64に、フロントピン孔68がフロントピン65にそれぞれ係合した状態で、バランスピン64に揺動自在に支持されている。
図8に示すように、このバランスピン孔67は、左右対称に形成されている。バランスピン孔67は、鍵本体71の下端部の丸孔75と、その上側に連なり、前後方向に延びる長孔部76で構成されている。長孔部76の幅は、下端部では狭くなっており、また、上端部では拡幅されていて、座ぐり76aになっている。
このバランスピン孔67の長孔部76の左右の内側面にはそれぞれ、ガイド材72が接着などによって取り付けられている。各ガイド材72は、第1実施形態の軸受15と同様、熱可塑性エラストマーの成形品で構成され、例えば、スチレン系エラストマー、オレフィン系エラストマー、ポリアミド系エラストマーやウレタン系エラストマーで構成されている。ガイド材72は、長孔部76の左右の内側面に沿う形状を有するとともに、長孔部76とほぼ等しい前後方向の長さを有している。取り付けられたガイド材72の間の間隔は、下端部においてバランスピン64の径にほぼ等しく、それにより、ガイド材72,72の下端部が、バランスピン64に対して摺動自在になっている。また、ガイド材72の上端部が長孔部76の座ぐり76aに収容される結果、ガイド材72は中座板74に対して上面が面一になっている。なお、鍵本体71のフロントピン孔68にも、その内側面に沿う形状を有する左右のガイド材(図示せず)が同様に取り付けられており、両ガイド材がフロントピン65に係合し、それに対して摺動自在になっている。
以上の構成により、鍵66が押鍵されると、鍵66のバランスピン孔67に設けられたガイド材72,72およびフロントピン孔68に設けられたガイド材(以下「ガイド材72など」という)は、バランスピン64およびフロントピン65に沿って摺動しながら鍵66を案内する。その際、フロントピン孔68に係合するフロントピン65は、鍵66の左右の振れを防止する機能を果たす。本実施形態によれば、ガイド材72などが熱可塑性エラストマーで構成されている。したがって、第1実施形態の場合と同様に、熱可塑性エラストマーによる効果を得ることができる。すなわち、乾湿にかかわらず、ガイド材72などとバランスピン64およびフロントピン65とのクリアランスがほぼ一定に維持されるので、鍵66の安定した回動動作を確保することができ、これに伴い、タッチ重さも安定させることができる。また、ガイド材72などに衝撃が作用した場合でも、熱可塑性エラストマーの高い耐衝撃性によって、ガイド材72などの破損を防止できるとともに、演奏時における雑音の発生も防止できる。さらに、ガイド材72などの硬度を適切な値に設定することによって、より安定した鍵66の回動動作を得ることができる。
図9および図10は、ガイド材の変形例を示している。このガイド材81は、上述したガイド材72が対で構成されているのに対し、ワンピースで構成されている点が主に異なる。すなわち、このガイド材81は、ガイド材72と同様の熱可塑性エラストマーから成るワンピースの成形品で構成されている。図10に示すように、ガイド材81は、バランスピン孔67の長孔部76と相補的な形状を有するとともに、上下方向に貫通する孔83(中空部)を有しており、本体部84と、その上端部に設けられたつば部85で構成されている。以上の構成のガイド材81は、これにあらかじめ接着剤を塗り、本体部84を、バランスピン孔67に嵌合させ、つば部85がバランスピン孔67の座ぐり76aに当接するまで押し込むだけで、バランスピン孔67に取り付けることができ、ガイド材81の取付を容易に行うことができる。また、ガイド材81の幅をバランスピン孔67の長孔部76の幅よりも若干大きな値に設定し、熱可塑性エラストマーによる弾性を利用して、ガイド材81をバランスピン孔67に圧入によって取り付けることも可能である。それにより、接着も不要になる。また、ガイド材81が、ワンピースの成形品で構成されているので、部品点数および取付工数が減少することにより、ピアノの製造コストを削減することができる。なお、鍵本体71のフロントピン孔68にも、フロントピン孔68と相補的な形状を有するワンピースのガイド材(図示せず)が、同様に取り付けられている。
なお、本発明は、説明した実施形態に限定されることなく、種々の態様で実施することができる。例えば、軸受の回動やガイド材の摺動をより滑らかに行うようにするために、熱可塑性エラストマーにフッ素ポリマーなどを添加してもよい。
また、実施形態はアコースティックタイプのピアノの例であるが、本発明を、他のタイプの鍵盤楽器、例えばオルガン、電子ピアノや電子オルガンなどに適用することも、もちろん可能である。その他、本発明の趣旨の範囲内で、細部の構成を適宜、変更することができる。
符号の説明
7 ハンマー(回動部品)
7b ピン孔
11 ウィッペンフレンジ(支持部品)
11b ピン孔
12 ウィッペン(回動部品、支持部品)
13 ジャック
14 レペティションレバー(回動部品)
15 軸受
16b ピン孔
17b ピン孔
22 センターピン(ピン)
33 ハンマーシャンクフレンジ(支持部品)
41 軸受
42 軸部
43 つば部
51 軸受
62 筬中(筬)
63 筬前(筬)
64 バランスピン(ピン)
65 フロントピン(ピン)
66 鍵
67 バランスピン孔(ピン孔)
68 フロントピン孔(ピン孔)
72 ガイド材
81 ガイド材
83 孔(中空部)
84 本体部
85 つば部

Claims (6)

  1. 押鍵に伴って回動する回動部品を支持する鍵盤楽器の回動部品の支持機構であって、
    前記回動部品を支持するための支持部品と、
    前記回動部品および前記支持部品の一方にはピン孔が形成されており、
    熱可塑性エラストマーで構成され、前記ピン孔に固定された筒状の軸受と、
    前記回動部品および前記支持部品の他方に設けられるとともに、前記軸受に回動自在に係合するピンと、
    を備えることを特徴とする鍵盤楽器の回動部品の支持機構。
  2. 前記回動部品は、ウィッペン、レペティションレバー、ジャックおよびハンマーの少なくとも1つであることを特徴とする、請求項1に記載の鍵盤楽器の回動部品の支持機構。
  3. 前記軸受は、前記ピン孔に嵌合する筒状の軸部と、当該軸部の一端に設けられ、前記軸部を前記ピン孔に嵌合させたときに当該ピン孔の縁部に当接するつば部と、を有するワンピースの成形品で構成されていることを特徴とする、請求項1または2に記載の鍵盤楽器の回動部品の支持機構。
  4. 回動自在の鍵を支持する鍵盤楽器の鍵の支持機構であって、
    前記鍵を支持するための筬と、
    当該筬に立ち上がるように設けられたピンと、
    前記鍵には前記ピンに係合するピン孔が形成されており、
    熱可塑性エラストマーで構成され、当該ピン孔に設けられ、前記鍵の回動の際、前記ピンに沿って摺動しながら前記鍵を案内するガイド材と、
    を備えることを特徴とする鍵盤楽器の鍵の支持機構。
  5. 前記鍵の前記ピン孔は、前記鍵の中央部に形成されたバランスピン孔および前記鍵の前部に形成されたフロントピン孔の少なくとも一方であり、
    前記ピンは、前記バランスピン孔が係合するバランスピンおよび前記フロントピン孔が係合するフロントピンの少なくとも一方であることを特徴とする、請求項4に記載の鍵盤楽器の鍵の支持機構。
  6. 前記ガイド材は、前記ピンが通される中空部を有し、前記ピン孔に嵌合する本体部と、当該本体部に嵌合させたときに当該ピン孔の縁部に当接するつば部と、を有するワンピースの成形品で構成されていることを特徴とする、請求項4に記載の鍵盤楽器の鍵の支持機構。
JP2004105521A 2004-03-31 2004-03-31 鍵盤楽器の回動部品および鍵の支持機構 Expired - Fee Related JP4549090B2 (ja)

Priority Applications (1)

Application Number Priority Date Filing Date Title
JP2004105521A JP4549090B2 (ja) 2004-03-31 2004-03-31 鍵盤楽器の回動部品および鍵の支持機構

Applications Claiming Priority (1)

Application Number Priority Date Filing Date Title
JP2004105521A JP4549090B2 (ja) 2004-03-31 2004-03-31 鍵盤楽器の回動部品および鍵の支持機構

Publications (2)

Publication Number Publication Date
JP2005292361A true JP2005292361A (ja) 2005-10-20
JP4549090B2 JP4549090B2 (ja) 2010-09-22

Family

ID=35325368

Family Applications (1)

Application Number Title Priority Date Filing Date
JP2004105521A Expired - Fee Related JP4549090B2 (ja) 2004-03-31 2004-03-31 鍵盤楽器の回動部品および鍵の支持機構

Country Status (1)

Country Link
JP (1) JP4549090B2 (ja)

Cited By (14)

* Cited by examiner, † Cited by third party
Publication number Priority date Publication date Assignee Title
EP3073485A1 (en) 2015-03-25 2016-09-28 Yamaha Corporation Support assembly and keyboard apparatus
EP3073484A1 (en) 2015-03-25 2016-09-28 Yamaha Corporation Support assembly and keyboard apparatus
EP3073483A1 (en) 2015-03-25 2016-09-28 Yamaha Corporation Support assembly and keyboard apparatus
JP2016184039A (ja) * 2015-03-25 2016-10-20 ヤマハ株式会社 ピアノ鍵盤装置
JP2016184041A (ja) * 2015-03-25 2016-10-20 ヤマハ株式会社 サポートアセンブリおよび鍵盤装置
JP2016184040A (ja) * 2015-03-25 2016-10-20 ヤマハ株式会社 サポートアセンブリ及び鍵盤装置
JP2017026838A (ja) * 2015-07-23 2017-02-02 ヤマハ株式会社 サポートアセンブリおよび鍵盤装置
WO2017064995A1 (ja) * 2015-10-16 2017-04-20 ヤマハ株式会社 サポートアセンブリおよび鍵盤装置
US9659549B2 (en) 2015-07-23 2017-05-23 Yamaha Corporation Support assembly and keyboard apparatus
US9672797B2 (en) 2015-07-23 2017-06-06 Yamaha Corporation Support assembly and keyboard apparatus
US10304422B2 (en) 2015-03-25 2019-05-28 Yamaha Corporation Support assembly and keyboard apparatus
US10311836B2 (en) 2015-03-25 2019-06-04 Yamaha Corporation Support assembly and keyboard apparatus
US10395625B2 (en) 2015-03-25 2019-08-27 Yamaha Corporation Support assembly and keyboard apparatus
US10796672B2 (en) 2015-10-15 2020-10-06 Yamaha Corporation Keyboard apparatus

Citations (4)

* Cited by examiner, † Cited by third party
Publication number Priority date Publication date Assignee Title
JPS61285186A (ja) * 1985-06-11 1986-12-15 ヤマハ発動機株式会社 バ−ハンドル式車両の操向装置
JPH08508591A (ja) * 1994-01-21 1996-09-10 ゾーノル ヨース リンク ゲゼルシャフト ミット ベシュレンクテル ハフツング 打楽器のための担持及び(あるいは)保持装置
JPH09258720A (ja) * 1996-03-22 1997-10-03 Kawai Musical Instr Mfg Co Ltd 楽器の鍵盤
JP2003005740A (ja) * 2001-06-19 2003-01-08 Kawai Musical Instr Mfg Co Ltd ピアノのアクション

Patent Citations (4)

* Cited by examiner, † Cited by third party
Publication number Priority date Publication date Assignee Title
JPS61285186A (ja) * 1985-06-11 1986-12-15 ヤマハ発動機株式会社 バ−ハンドル式車両の操向装置
JPH08508591A (ja) * 1994-01-21 1996-09-10 ゾーノル ヨース リンク ゲゼルシャフト ミット ベシュレンクテル ハフツング 打楽器のための担持及び(あるいは)保持装置
JPH09258720A (ja) * 1996-03-22 1997-10-03 Kawai Musical Instr Mfg Co Ltd 楽器の鍵盤
JP2003005740A (ja) * 2001-06-19 2003-01-08 Kawai Musical Instr Mfg Co Ltd ピアノのアクション

Cited By (20)

* Cited by examiner, † Cited by third party
Publication number Priority date Publication date Assignee Title
US10395625B2 (en) 2015-03-25 2019-08-27 Yamaha Corporation Support assembly and keyboard apparatus
EP3073484A1 (en) 2015-03-25 2016-09-28 Yamaha Corporation Support assembly and keyboard apparatus
EP3073483A1 (en) 2015-03-25 2016-09-28 Yamaha Corporation Support assembly and keyboard apparatus
JP2016184039A (ja) * 2015-03-25 2016-10-20 ヤマハ株式会社 ピアノ鍵盤装置
JP2016184041A (ja) * 2015-03-25 2016-10-20 ヤマハ株式会社 サポートアセンブリおよび鍵盤装置
JP2016184040A (ja) * 2015-03-25 2016-10-20 ヤマハ株式会社 サポートアセンブリ及び鍵盤装置
US9502004B2 (en) 2015-03-25 2016-11-22 Yamaha Corporation Support assembly and keyboard apparatus
DE112016001393B4 (de) 2015-03-25 2024-05-08 Yamaha Corporation Trägeranordnung und Tastaturvorrichtung
US10403243B2 (en) 2015-03-25 2019-09-03 Yamaha Corporation Support assembly and keyboard apparatus
EP3073485A1 (en) 2015-03-25 2016-09-28 Yamaha Corporation Support assembly and keyboard apparatus
US9905205B2 (en) 2015-03-25 2018-02-27 Yamaha Corporation Support assembly and keyboard apparatus
US9812108B2 (en) 2015-03-25 2017-11-07 Yamaha Corporation Support assembly and keyboard apparatus
US10311836B2 (en) 2015-03-25 2019-06-04 Yamaha Corporation Support assembly and keyboard apparatus
US10304422B2 (en) 2015-03-25 2019-05-28 Yamaha Corporation Support assembly and keyboard apparatus
US9672797B2 (en) 2015-07-23 2017-06-06 Yamaha Corporation Support assembly and keyboard apparatus
US9659549B2 (en) 2015-07-23 2017-05-23 Yamaha Corporation Support assembly and keyboard apparatus
JP2017026838A (ja) * 2015-07-23 2017-02-02 ヤマハ株式会社 サポートアセンブリおよび鍵盤装置
US10796672B2 (en) 2015-10-15 2020-10-06 Yamaha Corporation Keyboard apparatus
WO2017064995A1 (ja) * 2015-10-16 2017-04-20 ヤマハ株式会社 サポートアセンブリおよび鍵盤装置
US10607577B2 (en) 2015-10-16 2020-03-31 Yamaha Corporation Support assembly and keyboard apparatus

Also Published As

Publication number Publication date
JP4549090B2 (ja) 2010-09-22

Similar Documents

Publication Publication Date Title
JP4549090B2 (ja) 鍵盤楽器の回動部品および鍵の支持機構
US7807907B2 (en) Keyboard musical instrument and action unit incorporated therein
JP5552260B2 (ja) 電子鍵盤楽器の鍵盤装置
JP2008191650A (ja) 鍵盤装置
JP6979836B2 (ja) 鍵盤装置
CN109256107B (zh) 键盘装置
US8735700B2 (en) Bearing member
JP6301074B2 (ja) アコースティック鍵盤楽器の回動部品の軸支構造
JP2009025344A (ja) 鍵盤楽器の鍵
US7408102B2 (en) Jack motion-restricting device for upright piano
JP4625690B2 (ja) 鍵盤楽器の回動部品の支持機構
JP4990103B2 (ja) ピアノのハンマーシャンクおよびその製造方法
JP4901559B2 (ja) ピアノ鍵盤のシフト装置及びピアノ鍵盤のシフト装置の調整方法
JP5886618B2 (ja) 電子鍵盤楽器の鍵盤装置
JP2008051973A (ja) 鍵盤楽器の回動体支持構造
JP2008102253A (ja) 鍵盤楽器の回動体支持構造
CN212208887U (zh) 钢琴击弦机中的轴架
JP2014235349A (ja) 鍵盤構造及びこれを用いた鍵盤楽器の練習具又は電子鍵盤楽器
JP5020522B2 (ja) アップライトピアノのジャック静止装置
JPH10198340A (ja) 鍵盤装置及び鍵盤装置を具備した電子楽器
JP5233117B2 (ja) 鍵盤装置
JP2009300678A (ja) ピアノのハンマーシャンクの支持構造およびハンマーシャンクの製造方法
JP2009300937A (ja) 鍵盤装置のハンマーアクション機構
CN120708574A (zh) 用于键盘乐器的键盘装置
CN120708573A (zh) 用于键盘乐器的键盘装置

Legal Events

Date Code Title Description
A621 Written request for application examination

Free format text: JAPANESE INTERMEDIATE CODE: A621

Effective date: 20070223

A131 Notification of reasons for refusal

Free format text: JAPANESE INTERMEDIATE CODE: A131

Effective date: 20100126

TRDD Decision of grant or rejection written
A01 Written decision to grant a patent or to grant a registration (utility model)

Free format text: JAPANESE INTERMEDIATE CODE: A01

Effective date: 20100608

A01 Written decision to grant a patent or to grant a registration (utility model)

Free format text: JAPANESE INTERMEDIATE CODE: A01

A61 First payment of annual fees (during grant procedure)

Free format text: JAPANESE INTERMEDIATE CODE: A61

Effective date: 20100706

R150 Certificate of patent or registration of utility model

Free format text: JAPANESE INTERMEDIATE CODE: R150

FPAY Renewal fee payment (event date is renewal date of database)

Free format text: PAYMENT UNTIL: 20130716

Year of fee payment: 3

LAPS Cancellation because of no payment of annual fees