JP2005292210A - 電子機器筐体構造およびプロジェクタ装置 - Google Patents

電子機器筐体構造およびプロジェクタ装置 Download PDF

Info

Publication number
JP2005292210A
JP2005292210A JP2004103214A JP2004103214A JP2005292210A JP 2005292210 A JP2005292210 A JP 2005292210A JP 2004103214 A JP2004103214 A JP 2004103214A JP 2004103214 A JP2004103214 A JP 2004103214A JP 2005292210 A JP2005292210 A JP 2005292210A
Authority
JP
Japan
Prior art keywords
housing
exhaust
terminal
wall
casing
Prior art date
Legal status (The legal status is an assumption and is not a legal conclusion. Google has not performed a legal analysis and makes no representation as to the accuracy of the status listed.)
Pending
Application number
JP2004103214A
Other languages
English (en)
Inventor
Ritsuo Machii
律雄 町井
Current Assignee (The listed assignees may be inaccurate. Google has not performed a legal analysis and makes no representation or warranty as to the accuracy of the list.)
Canon Inc
Original Assignee
Canon Inc
Priority date (The priority date is an assumption and is not a legal conclusion. Google has not performed a legal analysis and makes no representation as to the accuracy of the date listed.)
Filing date
Publication date
Application filed by Canon Inc filed Critical Canon Inc
Priority to JP2004103214A priority Critical patent/JP2005292210A/ja
Publication of JP2005292210A publication Critical patent/JP2005292210A/ja
Pending legal-status Critical Current

Links

Images

Landscapes

  • Transforming Electric Information Into Light Information (AREA)
  • Cooling Or The Like Of Electrical Apparatus (AREA)
  • Projection Apparatus (AREA)
  • Insertion, Bundling And Securing Of Wires For Electric Apparatuses (AREA)

Abstract

【課題】プロジェクタ装置等電子機器を壁にぴったりとつけて設置したときに筐体の側面に設けられた排気口が自動的に開くようにする。
【解決手段】プロジェクタ装置の筐体10は前面11側にスクリーンを有し、背面12は壁にぴったりとつけて設置される。筐体10の背面12には背面排気口14、側面13には側面排気口15が設けられ、筐体10の背面12を壁にぴったりとつけたときには、背面転倒防止部材31が壁面に押されて筐体10の内部へ引き込まれる。このとき、筐体10に内蔵されているシャッターをラック41に係合するギヤによって回動させ、背面排気口14を塞いで側面排気口15を開口させる。すなわち、背面排気から側面排気に切換える。
【選択図】図1

Description

本発明は、転倒防止金具等を備えた薄型の筐体を有し、壁にぴったりとつけて設置することのできる据置型の電子機器筐体構造およびプロジェクタ装置に関するものである。
照明用の光源等を内蔵するプロジェクタ装置等の電子機器の筐体の背面には、筐体内部の電子部品を冷却するための排気口が設けられる。例えば、特許文献1に開示されたプロジェクタ装置(背面投写型画像表示装置)においては、図12に示すように、壁面Wに当接されるバックカバー104に段差部104aを設けて、下部の排気口105が壁面Wによって塞がれることのないように工夫されている。この装置の内部には、光像を出射する投写管101、その光像を反射させる反射鏡102が内蔵され、前面側には、光像が投射されるスクリーン103が配置されている。そして、筐体底部の吸気口106、バックカバー104の排気口105によって換気が図られ、装置内部の各種光学部品、電装部、液晶ライトバルブ等の昇温を防ぐように構成されていた。
バックカバー104には段差部104aを設けてあるため、前述のように、プロジェクタ装置を壁面Wにぴったりとつけて設置しても、壁面Wが排気口105を塞ぐことはない。
登録実用新案公報第301433号
従来のプロジェクタ装置等電子機器の筐体構造においては、筐体内の冷却を筐体の背面に設けた排気口によって行っており、特許文献1に開示されたように、装置を壁にぴったりとつけて設置可能にするために、筐体上部の奥行き寸法を筐体下部よりも大きく構成し、筐体下部の背面に排気口を設けて、筐体を壁にぴったりとつけた場合に排気口が壁面によって塞がれることを防止しているが、プロジェクタ装置等の薄型化が進む中で、筐体に段差部がない構成にすると、排気口が壁面に塞がれるため、壁から離して設置しなければならない。このような設置方法では、装置を薄型化した意味がなくなる。
本発明は上記従来の技術の有する未解決の課題に鑑みてなされたものであり、据置型のプロジェクタ装置等の電子機器の背面を壁面に密着させて設置したときに、換気のための排気方向等を自動的に切換えることのできる電子機器筐体構造およびプロジェクタ装置を提供することを目的とするものである。
上記目的を達成するため、本発明の電子機器筐体構造は、電子部品を内蔵し、構築物の壁面に密着自在である背面を有する筐体と、前記筐体の前記背面に開口する第1の排気口と、前記筐体の一側面に開口する第2の排気口と、前記筐体と前記壁面間のスペースを検出する検出手段と、前記検出手段の出力に基づいて前記第1および前記第2の排気口を交互に閉鎖することで、前記筐体の換気のための排気方向の切換を行うシャッター手段とを有することを特徴とする。
本発明のプロジェクタ装置は、前面のスクリーンに光像を投写する投写管を内蔵し、構築物の壁面に密着自在である背面を有する筐体と、前記筐体の前記背面に開口する第1の排気口と、前記筐体の一側面に開口する第2の排気口と、前記筐体と前記壁面間のスペースを検出する検出手段と、前記検出手段の出力に基づいて前記第1および前記第2の排気口を交互に閉鎖することで、前記筐体の換気のための排気方向の切換を行うシャッター手段とを有することを特徴とする。
壁とプロジェクタ装置等の筐体の背面との間のスペースを検知する検知手段を備え、検知手段の出力により自動的に排気方向を切換える構成であるため、プロジェクタ装置等を構築物である室内の壁にぴったりとつけて設置することができる。その結果、装置と壁との間に排気のための無駄なスペースを確保する必要がなく、スペースの有効利用を図ることができる。
また、検知手段により入出力端子の接続方向を自動的に切換える構成にすることで、1個の入出力端子を筐体の背面側と側面側との双方で使用することが可能となる。
さらに、筐体下部の幅寸法を、少なくとも一部分がスクリーンを有する筐体上部の画像表示部の幅寸法より小さくなるように設定し、筐体下部で側面排気を行うように構成することで、プロジェクタ装置の隣に他の物、例えば、本棚を配置したり、複数のプロジェクタ装置を隣接して配置することが可能となる。すなわちプロジェクタ装置の側方に、側面排気のためのスペースを設ける必要がなく、他の物を密着して配置することで、スペースの有効利用をより一層促進できる。
図1に示すように、電子機器であるプロジェクタ装置(背面投写型画像表示装置)の筐体10は、前面11には光像が投影されるスクリーンが設けられ、背面12の下部を壁にぴったりとつけて設置することのできる据置型の筐体構造を有する。また、前面側には、図3に示す前面転倒防止部材21、背面側には壁との間のスペースを検出する検出手段を構成する背面転倒防止部材31を備え、筐体10の内部には、従来例と同様の図示しない電子部品である投写管や反射鏡、回路部品等が内蔵される。筐体10の背面12は第1の排気口である背面排気口14、一方の側面13には第2の排気口である側面排気口15が設けられ、両排気口14、15から、図4に示す排気手段である冷却ファン16による冷却空気を排出自在である。
前面転倒防止部材21を摺動させながら、筐体10の底部を支えるキャスター22や背面転倒防止部材31のキャスター32を転動させて、室内の壁際に装置を設置するとき、背面12から突出する背面転倒防止部材31が壁に押されて筐体10の内部に引込まれると同時に、背面転倒防止部材31に連動して図2に示すシャッター手段であるシャッター45が回動し、背面排気口14による背面排気を側面排気口15による側面排気に切換えるように構成し、装置を壁にぴったりとつけて設置したときは側面排気のみによって内部冷却のための換気を行う。
また図8に示すように、背面転倒防止部材31の進退に連動して、入出力端子61を回転させ、その接続面61aを背面側から側面側に切換える構成にすることにより、装置を壁にぴったりとつけて設置したときには側面側からの端子接続を可能にする。
さらに図11に示すように、スクリーンにより画像表示を行う画像表示部を有する筐体上部の幅寸法より画像表示部の下方に配置される筐体下部の支持部の幅寸法が、少なくとも局部的に小さくなるように構成することにより、例えば2台横並びのプロジェクタ装置を壁にぴったりとつけて設置した場合でも側面排気のスペースを確保することができる。
図1に示すプロジェクタ装置の筐体10は、前述のように、内部に図示しない投写管、反射鏡、冷却ファン16等を有し、前面側にはスクリーンを備えている。筐体10が背面側に倒れるのを防止する背面転倒防止部材31は下向きのL型形状部材であり、その側面にはラック41が配設され、床面上のキャスター32と、図2に示すように筐体10内でその底面と接しているローラー34によって、筐体10の背面側の開口から出入自在である。背面転倒防止部材31は、一方を筐体10の内部に、他方を背面転倒防止部材31の内端に取付けた圧縮コイルバネ33によって筐体10の背面12から所定量だけ突出した位置に付勢されている。
ラック41とかみ合っているギア42aは、ギア42bおよびベルト43を介してシャッター軸44を回転させ、排気口切換え用のシャッター45を回動させて、背面排気口14と側面排気口15を交互に閉じることで、背面排気と側面排気の切換を行う。
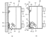
図3および図4は、キャスター22による筐体10の移動に伴うシャッター45の切換動作を説明するもので、筐体10内を冷却するための冷却ファン16による排気は、図3の(c)および図4の(c)に示すように、筐体10を壁面Wと離して設置した場合は、シャッター45が側面排気口15を塞いでいるので、冷却ファン16の排気は背面排気口14から放出される。
筐体10を壁面Wに近づけると、背面転倒防止部材31が壁面Wに押されて矢印A1で示すように筐体10内に収納されるため、筐体10の背面12を壁面Wにぴったりつけることが可能となる。このときシャッター45は、背面転倒防止部材31が壁面Wに押されて矢印A1で示すようにスライドし、背面転倒防止部材31の側面に配設されたラック41も同一方向に移動することにより、筐体10内のギア42a、42bがそれぞれ矢印A2、A3で示す方向に回転し、ベルト43によりシャッター軸44が回転する。これによって、排気方向切換え用のシャッター45が90度回転し、図3の(a)および図4の(a)に示すように背面排気口14を塞ぎ、側面排気口15を開口させるため、筐体10内を冷却する冷却ファン16による排気は筐体10の側面13に排出される。
筐体10を壁面Wにぴったりつけた状態から、図3の(b)および図4の(b)に示すように後退させると、圧縮コイルバネ33の復元力により、背面転倒防止部材31が矢印B1で示す方向に押出される。つまり、壁面Wから離した距離だけ背面転倒防止部材31が押出され、その側面に配設されたラック41の逆方向の移動によって矢印B2、B3で示すようにギア42a、42bが逆転し、排気方向切換え用のシャッター45が逆向きに回動し、この間冷却ファン16は、側面排気口15と背面排気口14の双方から放熱する。さらに筐体10を壁面Wから離すと図3の(c)および図4の(c)に示す背面排気の状態となる。なお、本実施例では、背面転倒防止部材31を筐体10の内部に収納するように構成しているが、筐体10の外側に、例えば底面や側面13に沿って納めるように構成することも可能である。
このように、壁面に装置をぴったりつけて設置した場合に、筐体側面に排気するように自動的に切換が行われる構成にすることで、据置型のプロジェクタ装置等の薄型化を大幅に促進し、設置スペースの有効利用に貢献できる。
図5ないし図7は実施例2を示すもので、一対の背面転倒防止部材51、52が、筐体10の移動方向に直線的に引き込まれるのではなく、回転方向に引き込まれるように構成される。筐体10、前面転倒防止部材21、キャスター22、シャッター軸44、シャッター45については実施例1と同様であるから同一符号で表わし説明は省略する。
図5に示すように、筐体10の内部を冷却する空気の排気方向を切換えるためのシャッター45のシャッター軸44は、ベルト43を介して、一方の背面転倒防止部材52の回転と連動して回動自在であり、それぞれ上向きのL型形状をした背面転倒防止部材51、52は、床面をスライドし、コイルバネ53、54によって、筐体10の背面12から所定量だけ突出する回転位置に付勢されている。
背面転倒防止部材52がコイルバネ54に抗して回転すると、ベルト43を介してシャッター軸44が回転し、実施例1と同様にシャッター45による背面排気と側面排気の切換が行われる。なお、コイルバネ53、54の一方の腕部53a、54aは筐体10に固定され、他方向の腕部53b、54bは背面転倒防止部材51、52にそれぞれ固定される。
図6および図7は、背面転倒防止部材52に連動するシャッター45の排気方向切換動作を説明するもので、図6の(b)および図7の(b)に示すように、筐体10が壁面Wから離れているときは、筐体10の内部を冷却するための冷却ファン16は、筐体10の背面12に排気する。図6の(a)および図7の(a)に示すように、筐体10を壁面Wに近づけると、背面転倒防止部材51、52が壁に押されて筐体10の内部に収納されるため、筐体10は壁にぴったりつけることが可能となる。このとき、背面転倒防止部材52がコイルバネ54に抗して壁面Wに押されて、C1方向に回転し、ベルト43を介してシャッター軸44をC2方向に回転させることにより、シャッター45が背面排気口14を塞ぎ、側面排気口15が開かれて背面排気の状態となる。
筐体10を壁面Wにぴったりつけた後、壁から離すと、コイルバネ53、54の復元力により、筐体10内から背面転倒防止部材51、52が押出される。すなわち、壁から離した距離だけ背面転倒防止部材51、52が押出され、完全に背面転倒防止部材51、52が押出されると、図6の(b)および図7の(b)に示すようにシャッター45は再び背面排気の状態となる。背面転倒防止部材51、52が押出された場合でも、突起部が床面をスライドするため、邪魔になりにくい。
なお、本実施例では、背面転倒防止部材51、52を筐体10の内部に収納しているが、筐体10の底面や側面13に沿って外側に収納される構成でもよい。
本実施例は、実施例1と同様に、筐体の背面を壁にぴったりつけて設置した場合には、自動的に側面排気に切換可能であり、しかも、完全に背面転倒防止部材が押し出された状態でも、背面転倒防止部材が床面近くに突出するため邪魔になりにくいという利点が付加される。
図8は実施例3を示すもので、筐体10に内蔵される電気回路を外部電源に接続するための入出力端子61の接続面61aを、筐体10の背面12に開口する第1の端子開口部と側面13に開口する第2の端子開口部を有する2方向開口型のL型開口17に露出させるとともに、入出力端子61を回転自在に筐体10内に取付け、筐体10を壁にぴったりとつけて設置した場合に、背面転倒防止部材31の移動に連動して入出力端子61を回転させ、側面から接続できるように構成したものである。筐体10、前面転倒防止部材21、背面転倒防止部材31等については実施例1と同様であるから同一符号で表わし説明は省略する。なお、背面排気口14と側面排気口15による排気方向を切換えるための排気切換機構42a〜44およびシャッター45については、説明を簡単にするために省略した。
図9は、背面転倒防止部材31の移動に連動して入出力端子61の接続面61aの方向を切換える機構を説明するもので、壁検出スイッチ62は、背面転倒防止部材31の後端に設けられた突起部35によって押圧されるレバー62aを有する。
図9の(c)に示す状態から筐体10が壁に向かって移動するとともに、背面転倒防止部材31が壁によって矢印D1で示す方向に押されて、突起部35がレバー62aから離れると、壁検出スイッチ62から同図の(d)に示す端子回転手段であるモーター63に駆動信号が送信され、モーター軸に取付けられたギア63aおよび入出力端子61のギア61bを介して、入出力端子61を矢印D2で示すように回転させ、接続面61aの露出方向を同図の(a)で示すように側面側に切換る。
上記の切換動作を図10のフローチャートに基づいて説明する。プロジェクタ装置を壁から離して設置した図9の(c)に示す状態から筐体を壁に近づける工程で、まず、壁を検出する壁検出スイッチがOFFされているかの確認を行う(ステップS1)。壁検出スイッチがONされている場合には、スタートに戻る。壁検出スイッチがOFFされている場合には、駆動信号をモーターに送信して、入出力端子を反時計回り、すなわちD2方向に90度回転させ、入出力端子の接続面を側面に向ける(ステップS2)。次に、図9の(b)に示すように筐体を壁から離間させ、背面転倒防止部材が矢印E1で示す方向に突出する過程で、壁を検出する壁検出スイッチがONされているかの確認を行う(ステップS3)。壁検出スイッチがOFFされている場合には、モーターを駆動しない。壁検出スイッチがONされている場合には、駆動信号をモーターに送信して、入出力端子を時計回り、すなわちD2 方向と逆向きに90度回転させ(ステップS4)、図9の(c)に示すように入出力端子を背面に向け、スタートに戻る。
このような構成にすることにより、筐体を壁にぴったりつけて設置した場合には、入出力端子を回転させ、側面に接続可能とすることができる。
なお、背面転倒防止部材と一体であるラックによる排気切換機構の代わりに、壁検出スイッチの出力によってシャッターが回動する構成にすることもできる。
図11は実施例4を示すもので、筐体10と同様の筐体70の筐体上部70aと筐体下部70bの幅寸法が同一ではなく、筐体上部70aより筐体下部70bの幅を小さくすることで、2台横並び配置した場合でも、側面排気口75による側面排気を可能とするものである。
2台横並び配置したプロジェクタ装置を壁にぴったりとつけて設置した場合でも、側面排気をする空間が存在するので、幅方向の設置スペースを最小限に抑えてスペースの有効利用に貢献できる。
プロジェクタ装置のみならず、内部冷却のための排気を必要とする据置型の電子機器の筐体構造に広く適用できる。
実施例1によるプロジェクタ装置を示す模式斜視図である。 図1の装置の排気方向切換え用のシャッター機構を説明する図である。 図2のシャッター機構の動作を垂直断面で説明する図である。 図2のシャッター機構の動作を水平断面で説明する図である。 実施例2によるプロジェクタ装置のシャッター機構を説明する図である。 図5のシャッター機構の動作を垂直断面で説明する図である。 図5のシャッター機構の動作を水平断面で説明する図である。 実施例3によるプロジェクタ装置を示す模式斜視図である。 図8の端子接続面切換機構の動作等を説明する図である。 図8の端子接続面切換機構の動作を説明するフローチャートである。 実施例4によるプロジェクタ装置を示す模式斜視図である。 一従来例によるプロジェクタ装置を示す模式断面図である。
符号の説明
10、70 筐体
11 前面
12 背面
13 側面
14 背面排気口
15、75 側面排気口
16 冷却ファン
17 L型開口
21 前面転倒防止部材
22、32 キャスター
31、51、52 背面転倒防止部材
34 ローラー
35 突起部
41 ラック
44 シャッター軸
45 シャッター
53、54 コイルバネ
61 入出力端子
61a 接続面
62 壁検出スイッチ
62a レバー
63 モーター

Claims (5)

  1. 電子部品を内蔵し、構築物の壁面に密着自在である背面を有する筐体と、前記筐体の前記背面に開口する第1の排気口と、前記筐体の一側面に開口する第2の排気口と、前記筐体と前記壁面間のスペースを検出する検出手段と、前記検出手段の出力に基づいて前記第1および前記第2の排気口を交互に閉鎖することで、前記筐体の換気のための排気方向の切換を行うシャッター手段とを有することを特徴とする電子機器筐体構造。
  2. 電子部品および回転自在な入出力端子を内蔵する筐体と、前記筐体の背面に開口する第1の端子開口部と、前記筐体の一側面に開口する第2の端子開口部と、検出手段の出力に基づいて前記入出力端子を回転させ、前記第1および前記第2の端子開口部から交互に前記入出力端子の接続面を露出させる端子回転手段とを備えたことを特徴とする請求項1記載の電子機器筐体構造。
  3. 前面のスクリーンに光像を投写する投写管および回転自在な入出力端子を内蔵し、構築物の壁面に密着自在である背面を有する筐体と、前記筐体の前記背面に開口する第1の端子開口部と、前記筐体の一側面に開口する第2の端子開口部と、前記筐体と前記壁面間のスペースを検出する検出手段と、前記検出手段の出力に基づいて前記入出力端子を回転させ、前記第1および前記第2の端子開口部から交互に前記入出力端子の接続面を露出させる端子回転手段とを有することを特徴とするプロジェクタ装置。
  4. 前面のスクリーンに光像を投写する投写管を内蔵し、構築物の壁面に密着自在である背面を有する筐体と、前記筐体の前記背面に開口する第1の排気口と、前記筐体の一側面に開口する第2の排気口と、前記筐体と前記壁面間のスペースを検出する検出手段と、前記検出手段の出力に基づいて前記第1および前記第2の排気口を交互に閉鎖することで、前記筐体の換気のための排気方向の切換を行うシャッター手段とを有することを特徴とするプロジェクタ装置。
  5. スクリーンを有する筐体上部に比べて幅寸法の小さい筐体下部を有し、第1および第2の排気口が前記筐体下部に設けられていることを特徴とする請求項4記載のプロジェクタ装置。
JP2004103214A 2004-03-31 2004-03-31 電子機器筐体構造およびプロジェクタ装置 Pending JP2005292210A (ja)

Priority Applications (1)

Application Number Priority Date Filing Date Title
JP2004103214A JP2005292210A (ja) 2004-03-31 2004-03-31 電子機器筐体構造およびプロジェクタ装置

Applications Claiming Priority (1)

Application Number Priority Date Filing Date Title
JP2004103214A JP2005292210A (ja) 2004-03-31 2004-03-31 電子機器筐体構造およびプロジェクタ装置

Publications (1)

Publication Number Publication Date
JP2005292210A true JP2005292210A (ja) 2005-10-20

Family

ID=35325247

Family Applications (1)

Application Number Title Priority Date Filing Date
JP2004103214A Pending JP2005292210A (ja) 2004-03-31 2004-03-31 電子機器筐体構造およびプロジェクタ装置

Country Status (1)

Country Link
JP (1) JP2005292210A (ja)

Cited By (3)

* Cited by examiner, † Cited by third party
Publication number Priority date Publication date Assignee Title
JP2008124708A (ja) * 2006-11-10 2008-05-29 Sharp Corp 薄型ディスプレイ載置台
JP2014098738A (ja) * 2012-11-13 2014-05-29 Mitsubishi Electric Corp 映像投射装置
CN112073702A (zh) * 2020-09-27 2020-12-11 广州睿喑科技有限公司 一种具有工作状态异常提醒功能的汇报展示用投影设备

Cited By (4)

* Cited by examiner, † Cited by third party
Publication number Priority date Publication date Assignee Title
JP2008124708A (ja) * 2006-11-10 2008-05-29 Sharp Corp 薄型ディスプレイ載置台
JP2014098738A (ja) * 2012-11-13 2014-05-29 Mitsubishi Electric Corp 映像投射装置
US9547221B2 (en) 2012-11-13 2017-01-17 Mitsubishi Electric Corporation Video projection device
CN112073702A (zh) * 2020-09-27 2020-12-11 广州睿喑科技有限公司 一种具有工作状态异常提醒功能的汇报展示用投影设备

Similar Documents

Publication Publication Date Title
US6886948B2 (en) Electronics exterior case and projector having the same
JP2001249402A (ja) 表示装置及びこれを用いた表示システム
JP5223597B2 (ja) 監視カメラ装置のチルト機構
JP4388335B2 (ja) 液晶プロジェクタ
US7441903B2 (en) Power on/off system of thin projector and method for controlling the same
CN100370355C (zh) 投影设备和投影设备的冷却方法
US6709115B2 (en) Projector
US7993010B2 (en) Light source compartment storing light source unit and projector including the same light source compartment
JPH10260473A (ja) スクリーンへの映像投射方法と投射型ビデオプロジェクタおよび取付具
JP2008170808A (ja) 集塵機構並びに投射型映像表示装置及び電子機器
JP2005292210A (ja) 電子機器筐体構造およびプロジェクタ装置
US7543942B2 (en) Automatic door mechanism for projector
TW201007336A (en) Projector with heat insulating construction
JP2009181113A (ja) プロジェクタ
JP2001343708A (ja) 背面投射型ディスプレイ装置の冷却機構
JP2002372747A (ja) 投射型表示装置
JP2002236318A (ja) 投影型画像表示装置の遮光スリット部の構造および遮光スリット部の制御装置
JP4023490B2 (ja) 画像表示プロジェクタ
JP3827644B2 (ja) プロジェクタ装置
JP2006195319A (ja) プロジェクタ
JP4187318B2 (ja) 投影表示装置
JP2011180187A (ja) 投写型画像表示装置
JP2016045436A (ja) 投影装置
JP2005338283A (ja) 表示装置
JP2009003034A (ja) プロジェクタ