JP2005291434A - 高圧タンク、タンクシステムの制御方法、及びタンクシステム - Google Patents
高圧タンク、タンクシステムの制御方法、及びタンクシステム Download PDFInfo
- Publication number
- JP2005291434A JP2005291434A JP2004109929A JP2004109929A JP2005291434A JP 2005291434 A JP2005291434 A JP 2005291434A JP 2004109929 A JP2004109929 A JP 2004109929A JP 2004109929 A JP2004109929 A JP 2004109929A JP 2005291434 A JP2005291434 A JP 2005291434A
- Authority
- JP
- Japan
- Prior art keywords
- pressure
- tank
- ring
- pressure tank
- communication path
- Prior art date
- Legal status (The legal status is an assumption and is not a legal conclusion. Google has not performed a legal analysis and makes no representation as to the accuracy of the status listed.)
- Pending
Links
Images
Classifications
-
- F—MECHANICAL ENGINEERING; LIGHTING; HEATING; WEAPONS; BLASTING
- F17—STORING OR DISTRIBUTING GASES OR LIQUIDS
- F17C—VESSELS FOR CONTAINING OR STORING COMPRESSED, LIQUEFIED OR SOLIDIFIED GASES; FIXED-CAPACITY GAS-HOLDERS; FILLING VESSELS WITH, OR DISCHARGING FROM VESSELS, COMPRESSED, LIQUEFIED, OR SOLIDIFIED GASES
- F17C2260/00—Purposes of gas storage and gas handling
- F17C2260/03—Dealing with losses
- F17C2260/035—Dealing with losses of fluid
- F17C2260/037—Handling leaked fluid
-
- Y—GENERAL TAGGING OF NEW TECHNOLOGICAL DEVELOPMENTS; GENERAL TAGGING OF CROSS-SECTIONAL TECHNOLOGIES SPANNING OVER SEVERAL SECTIONS OF THE IPC; TECHNICAL SUBJECTS COVERED BY FORMER USPC CROSS-REFERENCE ART COLLECTIONS [XRACs] AND DIGESTS
- Y02—TECHNOLOGIES OR APPLICATIONS FOR MITIGATION OR ADAPTATION AGAINST CLIMATE CHANGE
- Y02E—REDUCTION OF GREENHOUSE GAS [GHG] EMISSIONS, RELATED TO ENERGY GENERATION, TRANSMISSION OR DISTRIBUTION
- Y02E60/00—Enabling technologies; Technologies with a potential or indirect contribution to GHG emissions mitigation
- Y02E60/30—Hydrogen technology
- Y02E60/32—Hydrogen storage
Landscapes
- Filling Or Discharging Of Gas Storage Vessels (AREA)
Abstract
【課題】 タンク内に充填した気体の漏れの確率を大幅に低減することのできる高圧タンクを提供する。
【解決手段】 口金20と高圧タンク10との間が内側オーリング44、及び外側オーリング42とでシールされているので、タンク内の水素ガスが口金20と高圧タンク10の口栓部16との間の間隙を介して大気へ漏れ出ることが防止され、何れか一方に不具合が発生してもタンク内の水素ガスが大気へ漏れ出ることが防止される。
内側オーリング44、及び外側オーリング42の両方に不具合が発生する確率は、極めて小さく、したがって、信頼性の非常に高いシステムとなっている。
【選択図】 図1
【解決手段】 口金20と高圧タンク10との間が内側オーリング44、及び外側オーリング42とでシールされているので、タンク内の水素ガスが口金20と高圧タンク10の口栓部16との間の間隙を介して大気へ漏れ出ることが防止され、何れか一方に不具合が発生してもタンク内の水素ガスが大気へ漏れ出ることが防止される。
内側オーリング44、及び外側オーリング42の両方に不具合が発生する確率は、極めて小さく、したがって、信頼性の非常に高いシステムとなっている。
【選択図】 図1
Description
本発明は高圧タンク、タンクシステムの制御方法、及びタンクシステムに係り、特に、高圧の気体を貯蔵する高圧タンク、タンクシステムの制御方法、及びタンクシステムに関する。
例えば、水素ガスを燃料とする車両では、走行距離を稼ぐためにタンクに水素ガスを高圧で注入する必要がある。
タンクは、タンク本体にバルブ等を備えた口金が取り付けられている。
従来、口金とタンク本体との間は、例えば一つのオーリングでシールされていた(例えば、特許文献1参照。)
特許出願2002−46236号(特開2003―247696号公報)
しかしながら、従来のタンクでは、シール部分が一つであったため、シール部分で故障が発生すると、ただちにガス漏れを生じてしまう問題がある。
本発明は、上記問題を解決すべく成されたもので、タンク内に充填した気体の漏れの確率を大幅に低減することのできる高圧タンク、タンクシステムの制御方法、及びタンクシステムの提供を第1の目的としている。
また、シール部分の故障を容易に発見可能とすることを第2の目的としている。
上記目的を達成するために請求項1に記載の発明は、開口部を有するタンク本体と、前記開口部を塞ぐように取り付けられる口金と、前記タンク本体と前記口金との間に設けられ、前記タンク本体と前記口金との間をシールする第1のシール部材と、前記タンク本体と前記口金との間に設けられ、前記第1のシール部材と異なる位置に配置されて前記タンク本体と前記口金との間をシールする第2のシール部材と、前記口金に設けられ、前記第1のシール部材と前記第2のシール部材との間で前記タンク本体と前記口金との間に形成される隙間に一端が開口し、他端が外気側に開口する連通経路と、を有することを特徴としている。
次に、請求項1に記載の高圧タンクの作用を説明する。
この高圧タンクでは、タンク本体と口金との間を、第1のシール部材と第2のシール部材とでシールしているので、何れか一方が故障してもタンク内の気体が大気側へ漏れることを防止することができる。
また、高圧タンクでは、第1のシール部材と第2のシール部材の故障を外部より個別に検査することができる。
ここでは、第1のシール部材がタンク内側に配置され、第2のシール部材がタンク外側に配置されている場合を説明する。
(内側の第1のシール部材の不良検出方法)
内側の第1のシール部材が適正なシールを行なっているか否かを検出する場合、連通経路の大気側端部に圧力計を接続する。
(内側の第1のシール部材の不良検出方法)
内側の第1のシール部材が適正なシールを行なっているか否かを検出する場合、連通経路の大気側端部に圧力計を接続する。
外側の第2のシール部材が正常で、内側のシール部材に不具合がある場合には、圧力計の値が速く上昇する。
内側のシール部材によるシール部分では、正常であっても極微量の気体が通過するため、非常にゆっくりした速度で圧力計の値は上昇する。しかしながら、内側の第1のシール部材に不具合が生じている場合には、圧力の上昇速度が速いので、不具合を発生していることを判別できる。
(外側の第2のシール部材の不良検出方法)
次に、外側の第2のシール部材が適正なシールを行なっているか否かを検出する方法を以下に説明する。
(外側の第2のシール部材の不良検出方法)
次に、外側の第2のシール部材が適正なシールを行なっているか否かを検出する方法を以下に説明する。
なお、この検査は、内側の第1のシール部材が正常であること確認した後に行なう。
タンク内を加圧したまま、連通経路の大気側端部に気体を供給する加圧装置を接続する。
加圧装置により、第1のシール部材と第2のシール部材との間の間隙中間部分に連通した連通経路に対し、高圧を付与してから加圧装置を閉じて放置する。
内側の第1のシール部材が正常で、外側の第2のシール部材に不具合がある場合には、圧力計の値が速く下降する。
外側の第2のシール部材によるシール部分では、内側と同様に正常であっても極微量の気体が通過するため、非常にゆっくりした速度で圧力計の値は下降する。しかしながら、外側の第2のシール部材に不具合が生じている場合には、圧力の下降速度が速いので、不具合を発生していることを判別できる。
請求項2に記載の発明は、請求項1に記載の高圧タンクにおいて、前記連通経路を閉塞可能とするバルブを設けた、ことを特徴としている。
次に、請求項2に記載の高圧タンクの作用を説明する。
請求項2に記載の高圧タンクでは、前記連通経路を閉塞可能とするバルブを設けているので、加圧手段で圧力を付与した後にバルブを閉めることで、加圧状態を維持した状態で加圧手段を取り外すことが出来る。
請求項3に記載の発明は、請求項1または請求項2に記載の高圧タンクにおいて、前記連通経路に連結され、設定値未満の圧力では閉止状態とされ、設定値以上の圧力が作用した時に開放されるリリーフ弁と、前記リリーフ弁と直列に設けられ、気体の通過によって音を発生する警報手段と、を有する、ことを特徴としている。
次に、請求項3に記載の高圧タンクの作用を説明する。
例えば、第1のシール部材がタンク内側に配置され、第2のシール部材がタンク外側に配置され、それぞれに不具合が生じていない場合、相対的に、タンク内の圧力が一番高く、大気の圧力が一番低く、第1のシール部材と第2のシール部材との間の間隙中間部分の圧力はタンク内の圧力と大気の圧力との中間の値となる。
ここで、内側の第1のシール部材に不具合が発生すると、間隙中間部分の圧力は上昇してタンク内の圧力に近づく。
したがって、リリーフ弁の開放値を、正常時の中間の値よりも高く設定(ただし、タンク内の最高圧力値未満)しておくことにより、内側の第1のシール部材に不具合が生じた場合に、リリーフ弁が開放され、リリーフ弁を気体が通過して警報手段が音を発生し、内側の第1のシール部材に不具合が発生していることが分かる。
請求項4に記載の発明は、請求項1または請求項2に記載の高圧タンクにおいて、前記連通経路に接続され、前記高圧タンクから前記連通経路内に流入した気体を大気に放出する大気開放路と、前記連通経路内の圧力値または圧力が設定値以上となったことを検出可能な圧力検出手段と、を有する、ことを特徴としている。
次に、請求項4に記載の高圧タンクの作用を説明する。
例えば、第1のシール部材がタンク内側に配置され、第2のシール部材がタンク外側に配置され、それぞれに不具合が生じていない場合、第1のシール部材を透過した気体は、大気開放路を介して大気に排出される。
第1のシール部材に不具合が生じ、漏れが異常に大きくなると、大気開放路による大気への排出が追いつかなくなり、その結果、第1のシール部材と第2のシール部材との間の間隙中間部分の圧力が上昇し、これと連通する連通経路内の圧力値または圧力が設定値以上となると、圧力検出手段が連通経路内の圧力が設定値以上となったことを検出する。
請求項5に記載の発明は、請求項1または請求項2に記載の高圧タンクにおいて、前記連通経路に連結され、設定値未満の圧力では閉止状態とされ、設定値以上の圧力が作用した時に開放されるリリーフ弁と、前記リリーフ弁と直列に設けられ、気体の通過によって音を発生する警報手段と、前記連通経路に接続され、前記高圧タンクから前記連通経路内に流入した気体を大気に放出する大気開放路と、前記連通経路内の圧力値または圧力が設定値以上となったことを検出可能な圧力検出手段と、を有する、ことを特徴としている。
次に、請求項5に記載の高圧タンクの作用を説明する。
請求項5に記載の高圧タンクは、請求項3に記載の構成と請求項4に記載の構成とを組み合わせているので、例えば、内側の第1のシール部材に不具合が生じた場合に警報手段が音を発生し、圧力検出手段が連通経路内の圧力値または圧力が設定値以上となったことを検出する。
請求項6に記載の発明は、請求項4または請求項5に記載の高圧タンクにおいて、前記圧力検出手段は、前記連通経路と大気とを隔て、設定値以上の圧力が作用したときに割れる隔壁と、前記隔壁に設けられた導電性パターンと、前記導電性パターンの導通を検知する検知手段とを有する、ことを特徴としている。
次に、請求項6に記載の高圧タンクの作用を説明する。
請求項6に記載の高圧タンクでは、連通経路に設定値以上の圧力が作用すると隔壁が割れて導電性パターンが断線するので、検知手段で導電性パターンの導通を検知することで、連通経路内の圧力が設定値以上となったことを検知することができる。
請求項7に記載の発明は、請求項4または請求項5に記載の高圧タンクにおいて、前記圧力検出手段は、圧力により弾性変形する弾性部材と、前記弾性部材が設定値以上変位したことを検出する変位検出手段とを有する、を有することを特徴としている。
次に、請求項7に記載の高圧タンクの作用を説明する。
請求項7に記載の高圧タンクでは、連通経路に設定値以上の圧力が作用すると弾性部材が設定値以上変位し、弾性部材が設定値以上変位したことを変位検出手段が検出し、連通経路内の圧力が設定値以上となったことを検知することができる。
請求項8に記載の発明は、請求項4または請求項5に記載の高圧タンクにおいて、前記圧力検出手段は、圧力により変位するピストンと、前記ピストンの変位量又はピストンが設定値以上変位したことを検出する変位検出手段とを有する、ことを特徴としている。
次に、請求項8に記載の高圧タンクの作用を説明する。
連通経路に設定値以上の圧力が作用するとピストンが設定値以上変位し、ピストンの変位量又はピストンが設定値以上変位したことを変位検出手段が検出し、連通経路内の圧力が設定値以上となったことを検知することができる。
請求項9に記載の発明は、請求項4または請求項5に記載の高圧タンクにおいて、前記圧力検出手段は、圧力により変位するピストンと、前記ピストンが設定値以上変位したときに断線する導線と、前記導線の導通を検知する検知手段とを有する、ことを特徴としている。
次に、請求項9に記載の高圧タンクの作用を説明する。
連通経路に設定値以上の圧力が作用するとピストンが設定値以上変位して導線が断線し、導線が断線したことを検知手段が検知し、連通経路内の圧力が設定値以上となったことを検知することができる。
請求項10に記載の発明は、請求項4に記載の高圧タンク、及び請求項5に記載の高圧タンクの少なくとも一方を複数個備えたタンクシステムの制御方法であって、前記圧力検出手段にて前記連通経路内の圧力が設定値以上となったことを検出したときに、各高圧タンクに連結した排出用バルブを操作して、連通経路内の圧力が設定値以上となった前記高圧タンクの気体の消費を優先する、ことを特徴としている。
次に、請求項10に記載のタンクシステムの作用を説明する。
請求項10に記載のタンクシステムでは、圧力検出手段にて連通経路内の圧力が設定値以上となったことが検出されると、各高圧タンクに連結したバルブが操作され、連通経路内の圧力が設定値以上となった高圧タンク、即ち、異常な漏れの生じている高圧タンクのバルブが開、他の高圧タンクの排出用バルブが閉となり、連通経路内の圧力が設定値以上となった高圧タンクの気体の消費が優先される。
請求項11に記載の発明は、請求項4に記載の高圧タンク、及び請求項5に記載の高圧タンクの少なくとも一方を複数個備えたタンクシステムの制御方法であって、前記圧力検出手段にて前記連通経路内の圧力が設定値以上となったことを検出したときに、各高圧タンクに連結した充填用バルブを操作して、連通経路内の圧力が設定値以上となった前記高圧タンクへの気体の充填を禁止する、ことを特徴としている。
次に、請求項11に記載のタンクシステムの作用を説明する。
圧力検出手段にて連通経路内の圧力が設定値以上となったことを検出すると、各高圧タンクに連結した充填用バルブが操作され、連通経路内の圧力が設定値以上となった高圧タンクの充填用バルブが閉、他の高圧タンクの充填用バルブが開となり、連通経路内の圧力が設定値以上となった高圧タンク、即ち、異常な漏れの生じている高圧タンクへの気体の充填を禁止する。
請求項12に記載の発明は、請求項4に記載の高圧タンク、及び請求項5に記載の高圧タンクの少なくとも一方を複数個備えたタンクシステムであって、前記各高圧タンクの前記各連通経路を連結配管で互いに連通させ、前記連結配管に1個の前記圧力検出手段を設けた、ことを特徴としている。
次に、請求項12に記載のタンクシステムの作用を説明する。
請求項12に記載のタンクシステムでは、各高圧タンクの各連通経路を連結配管で互いに連通させているので、何れかの高圧タンクで異常な漏れが生じれば、一つの圧力検出手段にて異常な漏れを検出することができる。
請求項13に記載の高圧タンクは、開口部を有するタンク本体と、前記開口部を塞ぐように取り付けられる口金と、前記タンク本体と前記口金との間に設けられ、前記タンク本体と前記口金との間をシールする第1のシール部材と、前記タンク本体と前記口金との間に設けられ、前記第1のシール部材と異なる位置に配置されて前記タンク本体と前記口金との間をシールする第2のシール部材と、を備え、前記第1のシール部材によるシール部分と、前記第2のシール部材によるシール部分とは、大気側のシール部分の気体透過量が、タンク側のシール部分の気体透過量以上に設定されている、ことを特徴としている。
次に、請求項13に記載の高圧タンクの作用を説明する。
この高圧タンクでは、タンク本体と口金との間を、第1のシール部材と第2のシール部材とでシールしているので、何れか一方が故障してもタンク内の気体が大気側へ漏れることを防止することができる。
ここで、例えば、第1のシール部材をタンク内側、第2のシール部材をタンク外側とした場合、タンク内側の第1のシール部材によるシール部分の気体透過量と、タンク外側の第2のシール部材によるシール部分の気体透過量とが同じに設定されている場合、第1のシール部材と第2のシール部材との間の圧力は、高圧タンクの内圧と大気圧との中間の値となり、透過量(漏れ量)は、圧力に比例する傾向があるため、シール部材一つの場合と比較して透過量を約半分にできる。
また、タンク外側の第2のシール部材によるシール部分の気体透過量が、タンク内側の第1のシール部材によるシール部分の気体透過量よりも大きく設定されている場合、第1のシール部材と第2のシール部材との間の圧力は、高圧タンクの内圧と大気圧との中間の値よりも小さい値となり、タンク内側の第1のシール部材の負担は大きくなり、タンク内側のシール部材によるシール部分の気体透過量は増加する。
ここで、高圧タンク内の気体を放出して空になると、第1のシール部材と第2のシール部材との間の気体による圧力がタンク内側の第1のシール部材に作用し、第1のシール部材をタンク内側へ押圧する。
しかしながら、第1のシール部材と第2のシール部材との間の圧力が低下すれば、高圧タンク内の気体を放出して空になった場合、タンク内側の第1のシール部材にかかるタンク内側への押圧力が低下する。したがって、タンク内側の第1のシール部材のタンク内側への押圧力に対する信頼性が向上する。
請求項14に記載の発明は、請求項13に記載の高圧タンクにおいて、前記第1のシール部材、及び前記第2のシール部材は、それぞれオーリングとバックアップリングから構成され、タンク側のシール部材は、前記オーリングの両側に前記バックアップリングを備え、大気側のシール部材は前記オーリングの大気側にのみ前記バックアップリングを備えている、ことを特徴としている。
次に、請求項14に記載の高圧タンクの作用を説明する。
高圧タンクの内圧が非常に高い場合、オーリングの大気側の隙間部分へのはみ出しをバックアップリングが防止するので、信頼性が向上する。
高圧タンク内の気体を放出して空になった場合、第1のシール部材と第2のシール部材との間の気体による圧力が、例えば、タンク内側の第1のシール部材に作用するが、タンク内側の第1のシール部材のタンク内側にバックアップリングを配置しているので、タンク内側の隙間部分へのオーリングのはみ出しを防止でき、信頼性が向上する。
以上説明したように請求項1に記載の高圧タンクによれば、気体の異常な漏れの確率を大幅に低減することができ、かつシールの信頼性が向上する。
請求項2に記載の高圧タンクによれば、加圧手段を外しても試験のための加圧状態を維持できる。
請求項3に記載の高圧タンクによれば、内側のシール部分に不具合が発生していることを音で確認できる。
請求項4に記載の高圧タンクによれば、内側のシール部分に不具合が発生していることを圧力検出手段を用いて外部より確認できる。
請求項5に記載の高圧タンクによれば、内側のシール部分に不具合が発生していることを音、及び圧力検出手段を用いて確認できる。
請求項6に記載の高圧タンクによれば、導電性パターンの導通を検知することで内側のシール部分に不具合が発生していることを電気的に確認できる。
請求項7に記載の高圧タンクによれば、内側のシール部分に不具合が発生していることを変位検出手段を用いて外部より確認できる。
請求項8に記載の高圧タンクによれば、内側のシール部分に不具合が発生していることを変位検出手段を用いて外部より確認できる。
請求項9に記載の高圧タンクによれば、導線の導通を検知することで内側のシール部分に不具合が発生していることを電気的に確認できる。
請求項10に記載の高圧タンクによれば、異常な漏れを生じている高圧タンクの気体の消費を優先させるので、大気中への気体の漏れを最小限にとどめることができる。
請求項11に記載の高圧タンクによれば、異常な漏れを生じている高圧タンクへの気体の充填を禁止するので、大気中への気体の漏れを最小限にとどめることができる。
請求項12に記載の高圧タンクによれば、圧力検出手段が一つで済むので部品点数を低減できる。
請求項13に記載の高圧タンクによれば、シール部分の信頼性が向上する。
請求項14に記載の高圧タンクによれば、内側のシール部分の信頼性が更に向上する。
[第1の実施形態]
以下、図面を参照して本発明の第1の実施形態を詳細に説明する。
以下、図面を参照して本発明の第1の実施形態を詳細に説明する。
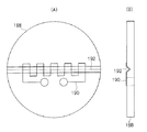
図1に示すように、高圧タンク10は、例えば、フローフォーミング加工により製造されたアルミタンク12の外周部にワインディング工法によって炭素繊維14が配設した二重構造となっており、いわゆる炭素繊維強化複合材料製シェルとされている。
この高圧タンク10は、例えば、燃料電池自動車に用いられる水素ガスを燃料とする燃料電池システムに用いられるものである。
アルミタンク12の一端には、略円筒状の口栓部16が一体的に形成されている。
口栓部16の内周面には雌ねじ18が形成されている。
口栓部16の雌ねじ18には、段付き円柱状とされた口金20の小径部22に形成された雄ねじ22Aが螺合している。
口金20は、小径部22が口栓部16に進入しており、小径部22に隣接した大径部26が口栓部16の外側に配置され、口栓部16の端面と大径部26の端面とが密着している。
口金20には、タンク内側端に電磁弁28が取り付けられており、内部には軸芯部分に減圧弁30、及びエクセスフローバルブ(過流防止弁)32が設けられている。
また、口金20には、一端が大径部26の外周面に開口し、他端がエクセスフローバルブ32に連結する排出用通路34が形成されている。
高圧タンク10の内部に充填された気体、本実施形態では水素ガスは、電磁弁28、減圧弁30、エクセスフローバルブ32、及び排出用通路34を介してタンク外へ排出される。
排出用通路34には、配管(図示せず)を介して、水素ガスを燃料とする燃料電池(図示せず)が接続される。
また、口金20の小径部22には、大径部側に雄ねじ22Aの形成されていない第1の非ねじ部22Bが形成されており、タンク内方側に雄ねじ22Aの形成されていない第2の非ねじ部22Cが形成されている。
なお、第2の非ねじ部22Cには、環状溝36が形成されている。
一方、アルミタンク12の口栓部16の内周面には、口金20の第1の非ねじ部22Bと対向する部分に環状溝38が形成されており、口金20の第2の非ねじ部22Cと対向する部分に雌ねじ18の形成されていない非ねじ部40が形成されている。
口栓部16の環状溝38には外側オーリング42が嵌め込まれている。
外側オーリング42は、口金20の第1の非ねじ部22Bに密着して高圧タンク10と口金20との間をシールしている。
口金20の環状溝36には内側オーリング44が嵌め込まれており、内側オーリング44は口栓部16の非ねじ部40に密着して高圧タンク10と口金20との間をシールしている。
(第1の貫通孔、止栓、逆止弁)
口金20には、軸線の一方の片側(図面上側)に、第1の貫通孔46が軸線に対して平行に形成されている。
(第1の貫通孔、止栓、逆止弁)
口金20には、軸線の一方の片側(図面上側)に、第1の貫通孔46が軸線に対して平行に形成されている。
第1の貫通孔46は、大径部26の図面左側より順に、雌ねじの形成された大径孔46A、中径孔46B、小径孔46Cとされている。
第1の貫通孔46には、タンク外側より第1の止栓48が取り付けられている。
第1の止栓48は、六角径の頭部48A、雄ねじ部48B、円柱部48Cを順に備えている。
第1の止栓48の頭部48Aには、雄ねじ48B側の端面に環状溝50が形成されており、環状溝50にはオーリング52が嵌め込まれている。
大径孔46Aの雌ねじには第1の止栓48の雄ねじ部48Bが螺合している。
第1の止栓48のオーリング52が大径部26の端面に密着することで、第1の貫通孔46の大気側端部を閉塞している。
中径孔46Bの小径孔46C側には、筒状の本体56A、球体56B、及びスプリング56Cからなる一般的な構成の逆止弁56が挿入されている。
この逆止弁56は、中径孔46Bの底部と、第1の止栓48の円柱部48Cとの間に挟持固定されている。
大径部26には、外周面から中径孔46Bの中間部(但し、逆止弁56よりも大径孔46A側にて)へ接続する充填孔58が形成されている。
充填孔58は、口金外周側が雌ねじの形成された大径孔58Aとされている。
第1の止栓48の円柱部48Cの先端には、充填孔58と逆止弁56とを連通可能とするための切欠62が形成されている。
充填孔58の大径孔58Aには、水素をタンク内に充填するための配管の継手(図示せず)が接続される。
なお、逆止弁56は、タンク内の水素ガスが小径孔46Cを介して充填孔58側へ放出されることを阻止し、充填孔58からタンク側への水素ガスの流入は許容するものである。
(溶栓)
口金20には、大径部26の端部中央にねじ穴63が形成されており、このねじ穴63に溶栓64が螺合して取り付けられている。
(溶栓)
口金20には、大径部26の端部中央にねじ穴63が形成されており、このねじ穴63に溶栓64が螺合して取り付けられている。
ねじ穴63の底部と、第1の貫通孔46の小径孔46Cとは通路66で連通している。
溶栓64は、設定温度以上となった際に一部分が溶けて通路66と大気とを連通し、タンク内の水素ガスを大気に放出し、高圧タンク10の損傷を防止する。
(第2の貫通孔、止栓)
口金20には、軸線の他方の片側(図面下側)に、第2の貫通孔70が形成されている。
(第2の貫通孔、止栓)
口金20には、軸線の他方の片側(図面下側)に、第2の貫通孔70が形成されている。
第2の貫通孔70には、タンク外側より手動バルブ72が取り付けられている。
第2の貫通孔70は、図面左側より順に、雌ねじの形成された大径孔70A、中径孔70B、第1の小径孔70C、第2の小径孔70Dとされている。
大径孔70A、中径孔70B、及び第1の小径孔70Cは、口金20の軸線に対して平行であり、第2の小径孔70Dは、径方向外側へ延びて第2の非ねじ部22Cの外周面に開口している。
手動バルブ72は、6角形の頭部90、雄ねじ部92、及び円柱部94を順に備えている。
手動バルブ72の雄ねじ部92は、第2の貫通孔70の雌ねじに螺合している。
手動バルブ72の円柱部94には、環状溝96が形成されており、この環状溝96にはオーリング98が嵌め込まれている。
円柱部94は、第2の貫通孔70の中径孔70Bに配置され、オーリング98が中径孔70Bの内周面に密着している。
円柱部94の先端には、パッキン100が取り付けられている。
手動バルブ72をねじ込むと、パッキン100が中径孔70Bの底部に当接して、小径孔70Cと中径孔70Bとの連通を阻止する。
一方、手動バルブ72を緩めると、パッキン100が中径孔70Bの底部から離れ、小径孔70Cが中径孔70Bを介して点検孔74と連通する。
また、大径部26には、外周面から第2の貫通孔70の中径孔70Bに向けて延びる点検孔74が形成されている。
点検孔74は、口金外周側が雌ねじの形成された大径孔74Aとされている。
大径孔74Aの雌ねじには、第2の止栓78の雄ねじ80が螺合している。
なお、大径孔74Aの雌ねじには、圧力計、ガス圧回路等の外部機器が接続可能である。
第2の止栓78の頭部82には、雄ねじ80側の端面に環状溝84が形成されており、環状溝84にはオーリング86が嵌め込まれている。
このオーリング86が大径部26の外周面に密着することで、点検孔74を閉塞している。
(作用)
次に、本実施形態の作用を説明する。
(作用)
次に、本実施形態の作用を説明する。
通常時は、手動バルブ72を第2の貫通孔70に捻じ込み、パッキン100で小径孔70Cを閉止しておく。
水素ガスは、図示しない配管を介して、充填孔58、逆止弁56、及び小径孔46Cを介してタンク内に充填される。
水素ガスを使用する際には、電磁弁28を開く。
電磁弁28が開かれると、タンク内の水素ガスは、電磁弁28、減圧弁30、エクセスフローバルブ32、排出用通路34、及び図示しない配管を介して図示しない燃料電池へと供給される。
本実施形態では、口金20とアルミタンク12との間が内側オーリング44、及び外側オーリング42とでシールされているので、タンク内の水素ガスが口金20と高圧タンク10の口栓部16との間の間隙を介して大気へ漏れ出ることが防止され、何れか一方に不具合が発生してもタンク内の水素ガスが大気へ漏れ出ることが防止される。
さらに、内側オーリング44、及び外側オーリング42の両方に不具合が発生する確率は極めて小さいので、信頼性の非常に高いシール構造となっている。
なお、外側オーリング42によるシール部分での漏れ量と、内側オーリング44によるシール部分での漏れ量とが同一であると(即ち、外側オーリング42のシール性能と内側オーリング44のシール性能が同一で、共に正常の場合)、内側オーリング44と外側オーリング42との間の間隙中間部分の圧力は、高圧タンク10の内部の圧力と大気圧との中間の値となり、高圧タンク10内に充填されている水素ガスの大気への漏れ量は、オーリング1本の場合と比較して略半分にできる。
(内側オーリングの不良検出方法)
ここで、内側オーリング44が適正なシールを行なっているか否かを検出する場合、点検孔74から第2の止栓78を外し、手動バルブ72を緩めてオーリング間の圧力を開放した後閉じて点検孔74に圧力計を接続し、再び手動バルブ72を緩める。
(内側オーリングの不良検出方法)
ここで、内側オーリング44が適正なシールを行なっているか否かを検出する場合、点検孔74から第2の止栓78を外し、手動バルブ72を緩めてオーリング間の圧力を開放した後閉じて点検孔74に圧力計を接続し、再び手動バルブ72を緩める。
外側オーリング42が正常で、内側オーリング44に不具合がある場合には、圧力計の値が速く上昇する。
即ち、内側オーリング44によるシール部分では、正常であっても極微量の水素ガスが通過してしまうため、非常にゆっくりした速度で圧力計の値は上昇する。しかしながら、内側オーリング44に不具合が生じている場合には、圧力の上昇速度が速いので、不具合を発生していることを判別できる。
なお、本実施形態では、内側オーリング44の外側に外側オーリング42が設けられているので、例え内側オーリング44に不具合が発生しても、タンク内の水素ガスは外側オーリング42により大気へ漏れ出ることが防止される。
高圧タンク10の内圧を使用最大圧力としたときの外側オーリング42によるシール部分の漏れ量、及び内側オーリング44によるシール部分の漏れ量は、それぞれ法規制値以下となるように設定する。これにより、外側オーリング42、及び内側オーリング44の何れか一方が、万一故障しても漏れ量は法規制値以下であり、安全性が保たれる。
(外側オーリングの不良検出方法)
次に、外側オーリング42が適正なシールを行なっているか否かを検出する方法を以下に説明する。
(外側オーリングの不良検出方法)
次に、外側オーリング42が適正なシールを行なっているか否かを検出する方法を以下に説明する。
なお、この検査は、内側オーリング44が正常であること確認した後に行なう。
先ず、タンク内の水素ガスを入れたまま、点検孔74から第2の止栓78を外し、点検孔74に水素ガスを供給する加圧装置を接続し、手動バルブ72を緩める。
加圧装置により、内側オーリング44と外側オーリング42との間の間隙中間部分に対して連通した点検孔74に対し高圧を付与した後、加圧装置のバルブを閉じて放置する。
内側オーリング44が正常で、外側オーリング42に不具合がある場合には、点検孔74と加圧装置のバルブとの間に設けた圧力計の値が速く下降する。
外側オーリング42によるシール部分では、正常であっても極微量の水素ガスが通過するため、非常にゆっくりした速度で圧力計の値は下降する。しかしながら、外側オーリング42に不具合が生じている場合には、圧力の下降速度が速いので、不具合を発生していることを判別できる。
[第2の実施形態]
以下、図面を参照して本発明の第2の実施形態を詳細に説明する。
[第2の実施形態]
以下、図面を参照して本発明の第2の実施形態を詳細に説明する。
なお、第1の実施形態と同一構成には同一符号を付し、その説明は省略する。
図2に示すように、本実施形態では、第1の実施形態の第2の貫通孔70と若干構成が異なる第2の貫通孔101が形成されており、この第2の貫通孔101にタンク外側より止栓102が取り付けられている。
本実施形態の第2の貫通孔101は、図面左側より順に、雌ねじの形成された大径孔101A、第1の小径孔101B、第2の小径孔101Cとされている。
止栓102は、雄ねじ部102Aが雌ねじの形成された大径孔101Aに螺合している。止栓102の頭部102Bと大径部26との間には、環状のシール部材103が設けられている。
大径部26には、外周面から第1の小径孔101Bに向けて延びる孔104が形成されている。
孔104には、リリーフ弁106、及び笛108が取り付けられている。
本実施形態では、内側オーリング44と外側オーリング42との間の間隙中間部分の圧力が上昇し、リリーフ弁106の開放値に達すると、リリーフ弁106を介して水素ガスが大気側へ流れ、笛108を鳴らす。
例えば、漏れが少ない場合には「ピッ ピッ ピッ」と断続的に鳴り、漏れが多くなると「ピッピッピッピッピッピッ」と短いサイクルで断続的に鳴り、更に漏れが多くなると「ピッー」と連続的に鳴る。
なお、内側オーリング44によるシール部分では、正常であっても極微量の水素ガスが通過するため、笛108が時折「ピッ」と音がする場合はある。
したがって、笛108の音の出方によって、正常であるか否か、また漏れの大小を判断することが出来る。
但し、内側オーリング44の不具合に加え、さらに外側オーリング42の不具合が重なると笛108が鳴らない場合が考えられるが、内側オーリング44と外側オーリング42が同時に不具合になる確立は極めて小さい。
[第3の実施形態]
以下、図面を参照して本発明の第3の実施形態を詳細に説明する。
[第3の実施形態]
以下、図面を参照して本発明の第3の実施形態を詳細に説明する。
なお、前述した実施形態と同一構成には同一符号を付し、その説明は省略する。
図3に示すように、本実施形態では、第2の貫通孔101の止栓102に、第2の貫通孔101の内圧を検出するための圧力センサー110が取り付けられている。
また、大径部26には、外周面から第1の小径孔101Bに向けて延びる細径の大気放出路114が形成されている。
大気放出路114には、気体の通過抵抗を大きくするためのフィルター116が挿入されている。
第2の実施形態で述べたように、内側オーリング44によるシール部分が正常であっても極微量の水素ガスは通過するため、内側オーリング44と外側オーリング42との間の間隙中間部分に漏れでた水素ガスは、大気放出路114及びフィルター116を介して徐々に大気へ放出される。
止栓102の圧力センサー110は、例えば、半導体の結晶に張力や圧縮が加わると電気抵抗(ピエゾ抵抗効果)が変化することを利用してシリコン基板の上にブリッジ回路を形成し、圧力により変化する抵抗値を出力として取り出す方式のいわゆる半導体圧力センサーを使用することができ、制御回路118に接続されている。
制御回路118には、例えば、安全装置120、音声を発するアナウンス装置122A、光を発する警告灯122B、ブザー等の警告音を発する警報装置122Cが接続されている。
例えば、内側オーリング44によるシール部分に不具合が発生した場合は、大気放出路114及びフィルター116による大気への放出が間に合わなくなり、間隙中間部分の圧力が上昇して予め設定した値以上となる。
制御回路118は、圧力センサー110からの圧力検出信号を受け、内側オーリング44と外側オーリング42との間の間隙中間部分の圧力を監視しており、間隙中間部分の圧力が予め設定した値以上となったことを検知すると安全装置120を作動させると共に、アナウンス装置122A、警告灯122B、及び警報装置122Cを作動させる。
これにより、例えば、整備士、車両のドライバー等に対して不具合を知らしめることができる。
なお、安全装置120は、たとえば、排気、または換気をするファンであり、タンク外にて部分的に水素ガスの濃度が高くならないようにする。
[第4の実施形態]
以下、図面を参照して本発明の第4の実施形態を詳細に説明する。
[第4の実施形態]
以下、図面を参照して本発明の第4の実施形態を詳細に説明する。
なお、前述した実施形態と同一構成には同一符号を付し、その説明は省略する。
本実施形態は、第2の実施形態の構成と、第3の実施形態の構成とを組み合わせた例であり、大径部26には、第2の貫通孔101の大径孔101Aに連通するように、大気放出路114、及び孔104が形成されている。
本実施形態では、内側オーリング44の不具合発生時に、安全装置120、アナウンス装置122A、警告灯122B、及び警報装置122Cが作動すると共に、笛108が鳴る。
[第5の実施形態]
以下、図面を参照して本発明の第5の実施形態を詳細に説明する。
[第5の実施形態]
以下、図面を参照して本発明の第5の実施形態を詳細に説明する。
なお、前述した実施形態と同一構成には同一符号を付し、その説明は省略する。
本実施形態の口金20には、第2の貫通孔101の大径孔101Aに、孔104、及び大気放出路114が設けられていない。
(内側オーリングの不良検出方法)
ここで、内側オーリング44が適正なシールを行なっているか否かを検出する場合、第2の貫通孔101から止栓102を外して圧力計を接続する。
(内側オーリングの不良検出方法)
ここで、内側オーリング44が適正なシールを行なっているか否かを検出する場合、第2の貫通孔101から止栓102を外して圧力計を接続する。
外側オーリング42が正常で、内側オーリング44に不具合がある場合には、圧力計の値が速く上昇する。
内側オーリング44によるシール部分では、正常であっても極微量の水素ガスが通過するため、非常にゆっくりした速度で圧力計の値は上昇する。しかしながら、内側オーリング44に不具合が生じている場合には、圧力の上昇速度が速いので、不具合を発生していることを判別できる。
(外側オーリングの不良検出方法)
次に、外側オーリング42が適正なシールを行なっているか否かを検出する方法を以下に説明する。
(外側オーリングの不良検出方法)
次に、外側オーリング42が適正なシールを行なっているか否かを検出する方法を以下に説明する。
なお、この検査は、内側オーリング44が正常であること確認した後に行なう。
先ず、タンク内の水素ガスを入れたまま、第2の貫通孔101から止栓102を外して加圧装置を接続する。
加圧装置により、内側オーリング44と外側オーリング42との間の間隙中間部分に対して連通している第2の貫通孔101に対し、高圧を付与した後、加圧装置内のバルブを閉じて放置する。
内側オーリング44が正常で、外側オーリング42に不具合がある場合には、圧力計の値が速く下降する。
外側オーリング42によるシール部分では、正常であっても極微量の水素ガスが通過するため、非常にゆっくりした速度で圧力計の値は下降する。しかしながら、外側オーリング42に不具合が生じている場合には、圧力の下降速度が速いので、不具合を発生していることを判別できる。
[第6の実施形態]
以下、図面を参照して本発明の第6の実施形態を詳細に説明する。
[第6の実施形態]
以下、図面を参照して本発明の第6の実施形態を詳細に説明する。
なお、前述した実施形態と同一構成には同一符号を付し、その説明は省略する。
本実施形態では、図6に示すように、排出用通路34がねじ穴63に連結されている。
本実施形態では、内側オーリング44と外側オーリング42の検査を行なうに際し、口金20に検査装置130を取り付けて検査を行なう。
検査装置130は、第1の貫通孔46に一端が接続される配管132、ねじ穴63に一端が接続される配管134、及び第2の貫通孔101に一端が接続される配管136を備えている。
配管132の途中には開閉バルブ138、配管134の途中には開閉バルブ140、配管136の途中には開閉バルブ142が接続されている。
配管134の他端は大気に開放されている。
配管136には、他端に水素ボンベ144が接続されており、水素ボンベ144と開閉バルブ142との間には、水素ボンベ144側から開閉バルブ146、圧力計148、流量調整バルブ150、圧力計152、配管132の他端が接続されている。
また、配管136の開閉バルブ142と第2の貫通孔101との中間部分と、配管134の開閉バルブ140よりも大気側の部分とが配管154で連結されており、配管154の途中には開閉バルブ156が接続されている。
高圧タンク10に水素ガスを充填する場合には、開閉バルブ142を閉じ、開閉バルブ146、及び開閉バルブ138を開ける。これにより、第1の貫通孔46を介して高圧タンク10に水素ガスを充填できる。
高圧タンク10から水素ガスを排出する場合には、開閉バルブ140と電磁弁28を開く。
次に、検査を行なう場合を説明する。
(内側オーリングの不良検出方法)
高圧タンク10に水素ガスを充填した後、電磁弁28、開閉バルブ140、開閉バルブ146、開閉バルブ142、開閉バルブ138を閉じ、開閉バルブ156を開ける(開閉バルブ142は開。)。
(内側オーリングの不良検出方法)
高圧タンク10に水素ガスを充填した後、電磁弁28、開閉バルブ140、開閉バルブ146、開閉バルブ142、開閉バルブ138を閉じ、開閉バルブ156を開ける(開閉バルブ142は開。)。
これにより、内側オーリング44と外側オーリング42との間の間隙中間部分の圧力は、大気圧となる。
次に、開閉バルブ156を閉じる。
外側オーリング42が正常で、内側オーリング44に不具合がある場合には、圧力計152の値が速く上昇する。
内側オーリング44によるシール部分では、正常であっても極微量の水素ガスが通過するため、非常にゆっくりした速度で圧力計152の値は上昇する。しかしながら、内側オーリング44に不具合が生じている場合には、圧力の上昇速度が速いので、不具合を発生していることを判別できる。
(外側オーリングの不良検出方法)
なお、この検査は、内側オーリング44が正常であること確認した後に引き続き行なう。
(外側オーリングの不良検出方法)
なお、この検査は、内側オーリング44が正常であること確認した後に引き続き行なう。
先ず、開閉バルブ156を閉じる。
次に、開閉バルブ146、及び開閉バルブ142を開け、内側オーリング44と外側オーリング42との間の間隙中間部分の圧力を高圧にする。
次に、開閉バルブ146を閉じる。
内側オーリング44が正常で、外側オーリング42に不具合がある場合には、圧力計152の値が速く下降する。
外側オーリング42によるシール部分では、正常であっても極微量の水素ガスが通過するため、非常にゆっくりした速度で圧力計の値は下降する。しかしながら、外側オーリング42に不具合が生じている場合には、圧力の下降速度が速いので、不具合を発生していることを判別できる。
[第7の実施形態]
以下、図面を参照して本発明の第7の実施形態を詳細に説明する。
[第7の実施形態]
以下、図面を参照して本発明の第7の実施形態を詳細に説明する。
なお、前述した実施形態と同一構成には同一符号を付し、その説明は省略する。
本実施形態は、第5の実施形態の変形例である。
本実施形態では、図7に示すように、環状溝36と環状溝38とが接近して設けられており、環状溝36には内側オーリング44のタンク外側にバックアップリング158が配置されており、環状溝38には、外側オーリング42のタンク外側にバックアップリング160が配置されているので、高圧による内側オーリング44、及び外側オーリング42の低圧側(大気側)の隙間へのはみ出しを抑えることができ、内側オーリング44、及び外側オーリング42の破損を防止でき、耐久性、及び信頼性が向上する。
本実施形態では、正常時における外側オーリング42部分での漏れ量を内側オーリング44部分での漏れ量よりも意図的に大きく設定している。
このような設定を行なう具体例としては、例えば、外側オーリング42を内側オーリング44よりも細くする、外側オーリング42の圧縮量を内側オーリング44の圧縮量よりも小さくする、外側オーリング42と内側オーリング44の材質や硬度を変える等である。
このように、正常時における外側オーリング42部分での漏れ量を内側オーリング44部分での漏れ量よりも意図的に大きく設定すると、内側オーリング44と外側オーリング42との間の間隙中間部分の圧力は、高圧タンク10内部の圧力と大気圧との中間の圧力よりも低下し、内側オーリング44の負担が増大して、高圧タンク10内に充填されている水素ガスの間隙中間部分側への漏れ量は増加する。
しかしながら、間隙中間部分の圧力が低下すれば、高圧タンク10内に充填されている水素ガスを放出したときに(タンクが空)、内側オーリング44に作用する逆方向の力(高圧タンク10の内部方向へ作用する力)は低下することになり、逆方向の力に対する内側オーリング44の信頼性が向上する。
[第8の実施形態]
以下、図面を参照して本発明の第8の実施形態を詳細に説明する。
[第8の実施形態]
以下、図面を参照して本発明の第8の実施形態を詳細に説明する。
なお、前述した実施形態と同一構成には同一符号を付し、その説明は省略する。
本実施形態は、第1の実施形態の変形例である。
なお、本実施形態では、図8に示すように、環状溝36には内側オーリング44の両側にバックアップリング158が配置されており、環状溝38には、外側オーリング42のタンク外側にバックアップリング160が配置されている。
本実施形態では、内側オーリング44のタンク側にもバックアップリング158が配置されているので、高圧タンク10内に充填されている水素ガスが放出され(タンクが空)、内側オーリング44に逆方向の力(高圧タンク10の内部方向へ作用する力)が作用したときの内側オーリング44のタンク側の隙間部分へのはみ出しを防止でき、逆方向の力に対する内側オーリング44の信頼性が向上する。
[第9の実施形態]
以下、図面を参照して本発明の第9の実施形態を詳細に説明する。
[第9の実施形態]
以下、図面を参照して本発明の第9の実施形態を詳細に説明する。
なお、前述した実施形態と同一構成には同一符号を付し、その説明は省略する。
第3の実施形態では圧力により電気抵抗の変化する圧力センサー110を用いたが、本実施形態では、図9,10に示すように、予め設定した値以上の圧力が作用したときに断線するタイプの圧力センサー170を用いている。
本実施形態の圧力センサー170の本体172は合成樹脂等の絶縁体で形成され、雄ねじ部174、6角形の頭部176を備えており、2芯の電線178が一体的に設けられている。
雄ねじ部174の先端には、円形の凹部180が形成されており、凹部180の側壁には環状溝182が形成されている。
環状溝182には、オーリング184が嵌め込まれている。
このオーリング184には、内周側に環状溝186が形成されており、この環状溝186に円板188が嵌め込まれている。
円板188は、ガラス、合成樹脂等の絶縁体で形成されている。
円板188は、表面(凹部180とは反対側の面)にC字状とされた導電性のパターン190が形成されており、裏面にはパターン190と直交する方向に延びる断面V字状の溝192が複数形成されている。
パターン190の一端には電線178の一方の銅線178Aが半田付けされ、パターン190の他端には電線178の他方の銅線178Bが半田付けされている。
なお、電線178は制御回路118に接続されている。
なお、本体172には、凹部180と外部とを連通させる通気孔194が形成されている。
(作用)
この圧力センサー170は、内側オーリング44と外側オーリング42との間の間隙中間部分の圧力が円板188に作用するようになっており、圧力がある値以上になると円板188が溝192の部分で割れ、パターン190が断線する。
(作用)
この圧力センサー170は、内側オーリング44と外側オーリング42との間の間隙中間部分の圧力が円板188に作用するようになっており、圧力がある値以上になると円板188が溝192の部分で割れ、パターン190が断線する。
制御回路118でパターン190の導通を監視することで、内側オーリング44と外側オーリング42との間の間隙中間部分の圧力がある値以上になったことが判別できる。
なお、円板188の材質、厚み、径、溝192の深さ等により、感度を調整することができる。
[第10の実施形態]
以下、図面を参照して本発明の第10の実施形態を詳細に説明する。
[第10の実施形態]
以下、図面を参照して本発明の第10の実施形態を詳細に説明する。
なお、前述した実施形態と同一構成には同一符号を付し、その説明は省略する。
図11、12に示すように、本実施形態の圧力センサー196の本体198は合成樹脂等の絶縁体で形成され、第1の雄ねじ部200、6角形の頭部202、及び第2の雄ねじ部204を備えており、2芯の電線178が一体的に設けられている。
また、本体198の軸心には、通気孔206が形成されている。
円板188は、表面(凹部180とは反対側の面)に直径方向に延びる直線状の導電性のパターン190が形成されており、裏面にはパターン190と直交する方向に延びる断面V字状の溝192が形成されている。
第2の雄ねじ部204には、合成樹脂製のキャップ208が取り付けられている。なお、キャップ208には、通気孔210が形成されている。
(作用)
この圧力センサー196においても、内側オーリング44と外側オーリング42との間の間隙中間部分の圧力が円板188に作用するようになっており、圧力がある値以上になると円板188が溝192の部分で割れ、パターン190が断線する。
(作用)
この圧力センサー196においても、内側オーリング44と外側オーリング42との間の間隙中間部分の圧力が円板188に作用するようになっており、圧力がある値以上になると円板188が溝192の部分で割れ、パターン190が断線する。
制御回路118でパターン190の導通を監視することで、内側オーリング44と外側オーリング42との間の間隙中間部分の圧力がある値以上になったことが判別できる。
なお、円板188の材質、厚み、径、溝192の深さ等により、感度を調整することができる。
[第11の実施形態]
以下、図面を参照して本発明の第11の実施形態を詳細に説明する。
[第11の実施形態]
以下、図面を参照して本発明の第11の実施形態を詳細に説明する。
なお、前述した実施形態と同一構成には同一符号を付し、その説明は省略する。
図12に示すように、本実施形態の圧力センサー212では、本体198にリード線214A、及びリード線214Bが一体的に埋設されている。
リード線214Aは、一端に電線178の銅線178Aが半田付けされ、他端がパターン190の一端に半田付けされている。
一方、リード線214Bは、一端に電線178の銅線178Bが半田付けされ、他端がパターン190の他端に半田付けされている。
本実施形態の圧力センサー212は、第10の実施形態の圧力センサー196とは構成の一部分が異なるのみであり、作用効果は同一である。
なお、円板188、パターン190、及び溝192の形状等は第10、及び第11の実施形態のものに限らず、例えば、図13〜図16に示すようなものであっても良い。
図13に示す例では、円板188には、片面に、直径方向に延びる2つの溝192が直交するように形成されると共に、略C字形状のパターン190が2つの溝192を横断するように設けられている。
図14に示す例では、円板188には、環状の溝192が形成されると共に、屈曲したパターン190が環状の溝192を横断するように設けられている。
図15に示す例では、円板188には、片面に、直径方向に延びる1つの溝192が形成されると共に、ジグザグ形状のパターン190が溝192を横断するように設けられている。
また、図16に示す例では、円板188には、片面に、直径方向に延びる1つの溝192が形成されると共に、反対の面には、幅広の環状のパターン190が溝192を横断するように設けられている。
溝192を挟んで両側にスプリング接点216が配置されており、各スプリング接点216がパターン190に押圧されている。
なお、2つのスプリング接点216はそれぞれ図示しない本体にビス止めされ、一方には電線178の一方の銅線178A(図示せず)が、他方には電線178の他方の銅線178B(図示せず)が接続される。
[第12の実施形態]
以下、図面を参照して本発明の第12の実施形態を詳細に説明する。
[第12の実施形態]
以下、図面を参照して本発明の第12の実施形態を詳細に説明する。
なお、前述した実施形態と同一構成には同一符号を付し、その説明は省略する。
図17に示すように、本実施形態の圧力センサー218の本体220は、雄ねじ部222、及び6角形の頭部224を備えており、軸心には凹部226、及び雌ねじ部228が形成されている。
本体220は、合成樹脂等の絶縁体で形成されている。
凹部226の側壁には環状溝238が形成されている。
環状溝238には、ゴム等の弾性体からなるダイヤフラム232が嵌め込まれている。
ダイヤフラム232の中央には、凹部底面側に金属板(またはマグネット)234が取り付けられている。
雌ねじ部228には、外側から近接スイッチ236が取り付けられている。
また、本体220には、凹部226と外部とを連通する通気孔238が形成されている。
(作用)
この圧力センサー218は、内側オーリング44と外側オーリング42との間の間隙中間部分の圧力がダイヤフラム232に作用するようになっており、圧力が上昇するとダイヤフラム232の金属板234が近接スイッチ236側へ変形し、近接スイッチ236がオンになる。
(作用)
この圧力センサー218は、内側オーリング44と外側オーリング42との間の間隙中間部分の圧力がダイヤフラム232に作用するようになっており、圧力が上昇するとダイヤフラム232の金属板234が近接スイッチ236側へ変形し、近接スイッチ236がオンになる。
制御回路118で近接スイッチ236がオンになったかを監視することで、内側オーリング44と外側オーリング42との間の間隙中間部分の圧力がある値以上になったことが判別できる。
なお、ダイヤフラム232の材質、厚み、径、金属板234と近接スイッチ236との距離等により、感度を調整することができる。
[第13の実施形態]
以下、図面を参照して本発明の第13の実施形態を詳細に説明する。
[第13の実施形態]
以下、図面を参照して本発明の第13の実施形態を詳細に説明する。
なお、前述した実施形態と同一構成には同一符号を付し、その説明は省略する。
図18に示すように、本実施形態の圧力センサー240の本体220には、軸心に凹部226と貫通孔242が形成されている。
貫通孔242には、スライド自在にシャフト244が挿入されている。
ダイヤフラム232の中央には、凹部底面側に金属または合成樹脂からなる円板246が接着されており、この円板246にシャフト244の一端が固着されている。
本体220の頭部224には、リミットスイッチ247が取り付けられている。
シャフト244の他端が頭部224から突出すると、リミットスイッチ247のレバー248を介してスイッチボタン250を押すようになっている。
(作用)
本実施形態では、内側オーリング44と外側オーリング42との間の間隙中間部分の圧力が上昇するとダイヤフラム232が変形し、シャフト244がリミットスイッチ247側へ移動し、リミットスイッチ247がオン(またはオフ)になる。
(作用)
本実施形態では、内側オーリング44と外側オーリング42との間の間隙中間部分の圧力が上昇するとダイヤフラム232が変形し、シャフト244がリミットスイッチ247側へ移動し、リミットスイッチ247がオン(またはオフ)になる。
制御回路118でリミットスイッチ247がオン(またはオフ)になったかを監視することで、内側オーリング44と外側オーリング42との間の間隙中間部分の圧力がある値以上になったことが判別できる。
なお、ダイヤフラム232の材質、厚み、径等により、感度を調整することができる。
[第14の実施形態]
以下、図面を参照して本発明の第14の実施形態を詳細に説明する。
[第14の実施形態]
以下、図面を参照して本発明の第14の実施形態を詳細に説明する。
なお、前述した実施形態と同一構成には同一符号を付し、その説明は省略する。
図19に示すように、本実施形態の圧力センサー252の本体220には、雌ねじ部228の先端側に、シリンダ穴254が形成されており、シリンダ穴254にピストン256がスライド自在に挿入されている。
ピストン256は、金属またはマグネットで形成されている。
ピストン256の外周面には環状溝258が形成されており、環状溝258にはオーリング260が嵌め込まれている。
ピストン256と近接スイッチ236との間には、ピストン256を近接スイッチ236から離間する方向に付勢するスプリング261が配置されている。
なお、シリンダ穴254の底部には、雄ねじ部222の端部と連通する貫通孔262が形成されている。
また、通気孔238は、シリンダ穴254と頭部224の端部と連通している。
(作用)
本実施形態では、内側オーリング44と外側オーリング42との間の間隙中間部分の圧力が上昇するとピストン256が近接スイッチ236側に押され、近接スイッチ236ががオンになる。
(作用)
本実施形態では、内側オーリング44と外側オーリング42との間の間隙中間部分の圧力が上昇するとピストン256が近接スイッチ236側に押され、近接スイッチ236ががオンになる。
本実施形態においても、制御回路118で近接スイッチ236がオンになったかを監視することで、内側オーリング44と外側オーリング42との間の間隙中間部分の圧力がある値以上になったことが判別できる。
なお、ピストン256の径、スプリング261の強さ、ピストン256と近接スイッチ236との間隔等により、感度を調整することができる。
[第15の実施形態]
以下、図面を参照して本発明の第15の実施形態を詳細に説明する。
[第15の実施形態]
以下、図面を参照して本発明の第15の実施形態を詳細に説明する。
なお、前述した実施形態と同一構成には同一符号を付し、その説明は省略する。
図20に示すように、本実施形態の圧力センサー252の本体220には、近接スイッチ236の代わりに、合成樹脂等の絶縁体からなるスリーブ266が取り付けられている。
本実施形態の本体220、及びピストン256は、金属で形成されている。
スリーブ266には、単芯の電線268が軸心部に一体的に取り付けられている。
電線268は、銅線268Aの外周に合成樹脂の被覆268Bを設けている。
電線268の一端は、銅線268Aの一部分が被覆268Bから突出しており、銅線268Aの端部とピストン256とが離間している。
なお、電線268の他端は制御回路118に接続されている。
また、本体220は、図示しない電線を介して制御回路118に接続されている。
(作用)
本実施形態では、内側オーリング44と外側オーリング42との間の間隙中間部分の圧力が上昇するとピストン256が押され、ピストン256が銅線268Aの端部に接触する。
(作用)
本実施形態では、内側オーリング44と外側オーリング42との間の間隙中間部分の圧力が上昇するとピストン256が押され、ピストン256が銅線268Aの端部に接触する。
これにより、電線268、ピストン256、本体220、本体220と接続された図示しない電線が導通する。
制御回路118で電線268と本体220と接続された図示しない電線とが導通したかを監視することで、内側オーリング44と外側オーリング42との間の間隙中間部分の圧力がある値以上になったことが判別できる。
なお、ピストン256の径、スプリング261の強さ、ピストン256と銅線268Aとの距離等により、感度を調整することができる。
[第16の実施形態]
以下、図面を参照して本発明の第16の実施形態を詳細に説明する。
[第16の実施形態]
以下、図面を参照して本発明の第16の実施形態を詳細に説明する。
なお、前述した実施形態と同一構成には同一符号を付し、その説明は省略する。
図21(A),(B)に示すように、本実施形態の圧力センサー270の本体220には、雄ねじ先端側からシリンダ穴272が形成されており、シリンダ穴272の底部には頭部224の端部へ連通する通気孔274が形成されている。
なお、本実施形態の本体220は、合成樹脂等の絶縁体で形成されている。
シリンダ穴272にはピストン276がスライド自在に挿入されている。
このピストン276も、合成樹脂、セラミック等の絶縁体で形成されている。
ピストン276の外周面には環状溝278が形成されており、環状溝278にはオーリング280が嵌め込まれている。
ピストン276には、シリンダ穴272の底部側に段部282が形成されている。
ピストン276とシリンダ穴272の底部との間には、ピストン276を底部から離れる方向に付勢するスプリング284が配置されている。
シリンダ穴272の開口付近には、環状溝286が形成されており、環状溝286には、Cリング(止め輪)288が嵌め込まれている。
なお、スプリング284で付勢されたピストン276は、Cリング288に当接している。
また、本体220の頭部224には、貫通孔290が径方向に形成されている。
貫通孔290には、スリーブ292が挿入固定されている。
スリーブ292の先端には、ループ状に形成された銅線294が突出しており、銅線294は、ピストン276の段部282に引っ掛けられている。
この銅線294の一端には電線178の一方の銅線が、銅線294の他端には電線178の他方の銅線が接続されている。
電線178は、図示しない制御回路118に接続されている。
(作用)
本実施形態では、内側オーリング44と外側オーリング42との間の間隙中間部分の圧力が上昇するとピストン276が押され、ピストン276が銅線294を引っ張って、図21(C)のように銅線294を切断する。
(作用)
本実施形態では、内側オーリング44と外側オーリング42との間の間隙中間部分の圧力が上昇するとピストン276が押され、ピストン276が銅線294を引っ張って、図21(C)のように銅線294を切断する。
制御回路118で銅線294の導通状態を監視することで、内側オーリング44と外側オーリング42との間の間隙中間部分の圧力がある値以上になったことが判別できる。
なお、ピストン276の径、スプリング284の強さ等により、感度を調整することができる。
[第17の実施形態]
以下、図面を参照して本発明の第17の実施形態を詳細に説明する。
以下、図面を参照して本発明の第17の実施形態を詳細に説明する。
なお、前述した実施形態と同一構成には同一符号を付し、その説明は省略する。
図22に示すように、本実施形態の圧力センサー296の本体220には、頭部224側から雌ねじ穴298、シリンダ穴300が形成されており、シリンダ穴300の底部には雄ねじ部222の先端へ連通する通気孔302が形成されている。また、本体220には、雌ねじ穴298と頭部224の外周面とを連通する通気孔303が形成されている。
本実施形態の本体220は金属製であるが、合成樹脂(絶縁体)であってもよい。
シリンダ穴300には、合成樹脂、セラミック等の絶縁体からなるピストン304がスライド自在に挿入されている。
ピストン304の外周面には環状溝306が形成されており、環状溝306にはオーリング308が嵌め込まれている。
ピストン304には、雌ねじ穴298側の端部に複数の凹凸310が形成されている。
雌ねじ穴298には、合成樹脂等の絶縁体からなるスリーブ312が取り付けられている。
スリーブ312には、電線178が一体的に設けられている。
スリーブ312のピストン304側には、金属ピン314A,Bが埋設されている。
金属ピン314A,Bは、一部分がピストン304側に突出しており、突出した部分に細い導線316が掛け渡されている。
本体220に埋設されている金属ピン314Aの端部には電線178の銅線178Aが金属ピン314Bの端部には銅線178Bが半田付けされている。
電線178は、図示しない制御回路118に接続されている。
(作用)
本実施形態では、内側オーリング44と外側オーリング42との間の間隙中間部分の圧力が上昇するとピストン304が押され、ピストン304が導線316を押して切断する。
(作用)
本実施形態では、内側オーリング44と外側オーリング42との間の間隙中間部分の圧力が上昇するとピストン304が押され、ピストン304が導線316を押して切断する。
制御回路118で導線316の導通状態を監視することで、内側オーリング44と外側オーリング42との間の間隙中間部分の圧力がある値以上になったことが判別できる。
なお、ピストン304の径、導線316の強度等により、感度を調整することができる。
[第18の実施形態]
以下、図面を参照して本発明の第18の実施形態を詳細に説明する。
[第18の実施形態]
以下、図面を参照して本発明の第18の実施形態を詳細に説明する。
なお、前述した実施形態と同一構成には同一符号を付し、その説明は省略する。
例えば、前述した第1の実施形態では、高圧タンク10の口金20に圧力センサー110を設けていたが、図23に示すように、複数の高圧タンク10を設ける場合、各高圧タンク10の第2の貫通孔101を連結配管318で連結し、連結配管318の端部に圧力センサー110(他の実施形態の圧力センサーでも良い。)を取り付けても良い。
これにより、圧力センサー110、制御回路118、電線178が夫々1個で済む。
[第19の実施形態]
以下、図面を参照して本発明の第19の実施形態を詳細に説明する。
[第19の実施形態]
以下、図面を参照して本発明の第19の実施形態を詳細に説明する。
なお、前述した実施形態と同一構成には同一符号を付し、その説明は省略する。
図24に示すように、本実施形態のシステムでは、高圧タンク10T1、高圧タンク10T2、高圧タンク10T3を備えている。
高圧タンク10T1の口金20の充填孔58(図示せず)には配管320、高圧タンク10T2の口金20の充填孔58(図示せず)には配管322、高圧タンク10T3の口金20の充填孔58(図示せず)には配管324が夫々接続されており、配管320、配管322、及び配管324は、さらに配管325に接続されている。
配管325は、先端にカプラ328が接続され、中間部に逆止弁326が接続されている。
カプラ328には、図示しない水素ボンベから水素ガスが供給されるようになっている。
配管320の途中には開閉バルブVs1、配管322の途中には開閉バルブVs2、配管324の途中には開閉バルブVs3が取り付けられている。
また、高圧タンク10T1の口金20の排出用通路34(図示せず)には配管330、高圧タンク10T2の口金20の排出用通路34(図示せず)には配管332、高圧タンク10T3の口金20の排出用通路34(図示せず)には配管334が夫々接続されており、これら配管330、配管332、及び配管334は配管336に接続されている。
配管336は、先端に燃料電池スタック338が接続されており、中間部には減圧弁R4が接続されている。
ここで、配管330の途中には開閉バルブV1、及び減圧弁R1が、配管332の途中には開閉バルブV2、及び減圧弁R2が、配管334の途中には開閉バルブV3、及び減圧弁R3が夫々接続されている。
高圧タンク10T1の圧力センサー110、高圧タンク10T2の圧力センサー110、及び高圧タンク10T3の圧力センサー110は電線340を介して制御装置342に接続されている。
燃料電池スタック338には、エアコンプレッサ344、及びエアフィルタ346が接続されている。
また、燃料電池スタック338の電気端子には、電線348を介してインバーター350を介して走行モータ352が接続されると共に、DC/DCコンバータ354を介して二次電池356が接続されている。
また、高圧タンク10T1、高圧タンク10T2、及び高圧タンク10T3には、各々タンク内の圧力を検出する圧力センサー358が取り付けられている。
各圧力センサー358は、電線360を介して制御装置342に接続されている。
本実施形態では、制御装置342は、以下に説明する第1の制御を行う。
なお、各バルブ、減圧弁は全て制御装置342にて制御される。
(第1の制御)
第1の制御を図25のフローチャートに従って説明する。
(第1の制御)
第1の制御を図25のフローチャートに従って説明する。
先ず、ステップ100では、圧力センサー358により検出した高圧タンク10T1のタンク圧力P1、高圧タンク10T2のタンク圧力P2、高圧タンク10T3のタンク圧力P3を入力する。
次のステップ102では、圧力センサー110により検出した高圧タンク10T1の漏れ検知圧力Pm1、高圧タンク10T2の漏れ検知圧力Pm2、高圧タンク10T3の漏れ検知圧力Pm3を入力する。
次のステップ104では、高圧タンク10T1のタンク圧力P1が、予め設定した値αよりも大きいか否かを判別する(使用できる水素ガスが残っているか否かの判別。)。
ステップ104で肯定された場合は次のステップ106へ進み、否定された場合(残量小)はステップ108へ進む。
ステップ106では、高圧タンク10T1の漏れ検知圧力Pm1が、予め設定した値γよりも小さいか否かを判別する。γはタンク圧力P1〜P3によって変化してもよい。
ステップ106で肯定された場合(漏れ正常)はステップ108へ進み、否定された場合(漏れ異常)はステップ124へ進む。
ステップ108では、高圧タンク10T2のタンク圧力P2が、予め設定した値αよりも大きいか否かを判別する(使用できる水素ガスが残っているか否かの判別。)。
ステップ108で肯定された場合は次のステップ110へ進み、否定された場合(残量小)はステップ112へ進む。
ステップ110では、高圧タンク10T2の漏れ検知圧力Pm2が、予め設定した値γよりも小さいか否かを判別する。γはタンク圧力P1〜P3によって変化してもよい。
ステップ110で肯定された場合(漏れ正常)はステップ112へ進み、否定された場合(漏れ異常)はステップ144へ進む。
ステップ112では、高圧タンク10T3のタンク圧力P3が、予め設定した値αよりも大きいか否かを判別する(使用できる水素ガスが残っているか否かの判別。)。
ステップ112で肯定された場合は次のステップ152へ進み、否定された場合(残量小)はステップ114へ進む。
ステップ114では、高圧タンク10T1のタンク圧力P1、高圧タンク10T2のタンク圧力P2、高圧タンク10T3のタンク圧力P3が、予め設定した値αより小さいか否かを判別する。
ステップ114で否定された場合は、次のステップ116へ進み、開閉バルブV1,V2,V3を開いて高圧タンク10T1、高圧タンク10T2、及び高圧タンク10T3の水素ガスの放出を行い、ステップ120へ進む。
次のステップ120では、システムからの放出停止信号の有無を判断する。
ステップ120で肯定された場合はステップ122へ進んで開閉バルブV1,V2,V3を閉じ、ステップ120で否定された場合はステップ100へ戻る。
一方、ステップ114で肯定された場合は、ステップ156へ進んで制御回路118は、車両の燃料電池システムに対してタンクが空になったことを示すタンク空信号を発信し、ステップ158へ進む。
ステップ158では、車両の燃料電池システムの停止準備が完了したか否かが判別され、肯定された場合はステップ120へ進み、否定された場合はステップ116へ進む。
一方、ステップ124では、高圧タンク10T2のタンク圧力P2が、予め設定した値αよりも大きいか否かを判別する(使用できる水素ガスが残っているか否かの判別。)。
ステップ124で肯定された場合はステップ126へ進み、否定された場合はステップ136へ進む。
ステップ126では、高圧タンク10T2の漏れ検知圧力Pm2が、予め設定した値γよりも小さいか否かを判別する。
ステップ126で肯定された場合(漏れ正常)はステップ136へ進み、否定された場合(漏れ異常)はステップ128へ進む。
ステップ128では、高圧タンク10T3のタンク圧力P3が、予め設定した値αよりも大きいか否かを判別する(使用できる水素ガスが残っているか否かの判別。)。
ステップ128で肯定された場合はステップ130へ進み、否定された場合はステップ134へ進む。
ステップ130では、高圧タンク10T3の漏れ検知圧力Pm3が、予め設定した値γよりも小さいか否かを判別する。
ステップ130で肯定された場合(漏れ正常)はステップ134へ進んで開閉バルブV1,V2を開き、ステップ120へ進む。
一方、ステップ130で否定された場合(漏れ異常)はステップ132へ進んで開閉バルブV1,V2,V3を開き、ステップ120へ進む。
また、ステップ136では、高圧タンク10T3のタンク圧力P3が、予め設定した値αよりも大きいか否かを判別する(使用できる水素ガスが残っているか否かの判別。)。
ステップ136で肯定された場合はステップ138へ進み、否定された場合はステップ142へ進んで開閉バルブV1を開き、ステップ120へ進む。
ステップ138では、高圧タンク10T3の漏れ検知圧力Pm3が、予め設定した値γよりも小さいか否かを判別する。
ステップ138で肯定された場合(漏れ正常)はステップ142へ進んで開閉バルブV1を開き、ステップ120へ進む。
ステップ138で否定された場合(漏れ異常)はステップ140へ進んで開閉バルブV1,3を開き、ステップ120へ進む。
また、ステップ144では、高圧タンク10T3のタンク圧力P3が、予め設定した値αよりも大きいか否かを判別する(使用できる水素ガスが残っているか否かの判別。)。
ステップ144で肯定された場合はステップ146へ進み、否定された場合はステップ150へ進み、開閉バルブV2を開き、ステップ120へ進む。
ステップ146では、高圧タンク10T3の漏れ検知圧力Pm3が、予め設定した値γよりも小さいか否かを判別する。
ステップ146で肯定された場合(漏れ正常)はステップ150へ進んで開閉バルブV2を開き、ステップ120へ進み、否定された場合(漏れ異常)はステップ148へ進んで開閉バルブV2,3を開き、ステップ120へ進む。
このように、第1の制御は、高圧タンク10T1、高圧タンク10T2、高圧タンク10T3の何れかに異常な漏れが生じた場合に、異常な漏れを検出した高圧タンクの水素ガスを優先的に消費する制御であり、異常な漏れを検知したときに異常な漏れの生じている高圧タンクのみ開とする(但し、タンク残量が減ると無視)。これにより、システムにおける水素ガスの大気への漏れを最小限にすることができる。
[第20の実施形態]
以下、図面を参照して本発明の第20の実施形態を詳細に説明する。
[第20の実施形態]
以下、図面を参照して本発明の第20の実施形態を詳細に説明する。
なお、前述した実施形態と同一構成には同一符号を付し、その説明は省略する。
本実施形態では、制御装置342は、以下に説明する第2の制御を行う。
(第2の制御)
第2の制御を図26のフローチャートに従って説明する。
(第2の制御)
第2の制御を図26のフローチャートに従って説明する。
先ず、ステップ200では、圧力センサー358により検出した高圧タンク10T1のタンク圧力P1、高圧タンク10T2のタンク圧力P2、高圧タンク10T3のタンク圧力P3を入力する。
次のステップ202では、目標流量Q(=高圧タンク10T1の放出流量Q1+高圧タンク10T2の放出流量Q2+高圧タンク10T3の放出流量Q3)を入力する。
次のステップ204では、圧力センサー110により検出した高圧タンク10T1の漏れ検知圧力Pm1、高圧タンク10T2の漏れ検知圧力Pm2、高圧タンク10T3の漏れ検知圧力Pm3を入力する。
次のステップ206では、高圧タンク10T1の漏れ検知圧力Pm1が、予め設定した値γよりも小さいか否かを判別する。タンク圧力P1、P2、P3によってγは変化してもよい。
ステップ206で肯定された場合はステップ208へ進み、否定された場合はステップ218へ進む。
ステップ208では、高圧タンク10T2の漏れ検知圧力Pm2が、予め設定した値γよりも小さいか否かを判別する。
ステップ208で肯定された場合(漏れ正常)はステップ210へ進み、否定された場合(漏れ異常)はステップ232へ進む。
ステップ210では、高圧タンク10T3の漏れ検知圧力Pm3が、予め設定した値γよりも小さいか否かを判別する。
ステップ210で肯定された場合(漏れ正常)はステップ212を介してステップ213へ進み、否定された場合はステップ236を介してステップ213へ進む。
ステップ212では、「Q1:Q2:Q3=P12:P22:P32」となるように各高圧タンクの放出流量が決定される。
放出流量(Q1,Q2,Q3)は、例えば、制御回路118が水素ガスの放出時間(開閉バルブV1,V2,V3の開時間)とタンクの圧力低下値との関係から演算して求めることができるが、流量計を設けて制御回路118が流量を監視しても良い。なお、流量設定は各減圧弁の圧力を制御したり、流量制御弁を用いて行なう。
ステップ232では、高圧タンク10T3の漏れ検知圧力Pm3が、予め設定した値γよりも小さいか否かを判別する。
ステップ232で否定された場合(漏れ異状)はステップ233へ進んで「Q1:Q2:Q3=0.25:P22/(P22+P32):P32/(P22+P32)」とし、ステップ213へ進む。
一方、ステップ232で肯定された場合(漏れ正常)はステップ234へ進んで「Q1:Q2:Q3=P12/(P12+P32):2:P32/(P12+P32)」とし、ステップ213へ進む。
ステップ236では、「Q1:Q2:Q3=P12/(P12+P22):P22/(P12+P22):2」となるように流量が決定される。
ステップ213では、前記決定された流量にて各高圧タンクからの水素ガスの放出を行なう。
ステップ214では、システムからの放出停止信号の有無を判断する。
ステップ214で肯定された場合はステップ216へ進んで開閉バルブV1,V2,V3を閉じ、ステップ214で否定された場合はステップ200へ戻る。
ステップ218では、高圧タンク10T2の漏れ検知圧力Pm2が、予め設定した値γよりも小さいか否かを判別する。
ステップ218で肯定された場合(漏れ正常)はステップ224へ進み、否定された場合(漏れ異常)はステップ220へ進む。
ステップ224では、高圧タンク10T3の漏れ検知圧力Pm3が、予め設定した値γよりも小さいか否かを判別する。
ステップ224で肯定された場合(漏れ正常)は、ステップ230へ進んで「Q1:Q2:Q3=2:P22/(P22+P32):P32/(P22+P32)」とし、ステップ213へ進む。
ステップ224で否定された場合(漏れ異常)は、ステップ228へ進んで「Q1:Q2:Q3=P12/(P12+P32):0.25:P32/(P12+P32)」とし、ステップ213へ進む。
ステップ220では、高圧タンク10T3の漏れ検知圧力Pm3が、予め設定した値γよりも小さいか否かを判別する。
ステップ220で肯定された場合(漏れ正常)はステップ226へ進んで「Q1:Q2:Q3=P12/(P12+P22):P22/(P12+P22):0.25」とし、ステップ213へ進む。
ステップ220で否定された場合(漏れ異常)はステップ222へ進み、「Q1:Q2:Q3=P12:P22:P32」とし、ステップ213へ進む。
このように、第2の制御は、高圧タンク10T1、高圧タンク10T2、高圧タンク10T3の何れかに異常な漏れが生じた場合に、異常な漏れを検出した高圧タンクの水素ガスを優先的に消費する制御であるが、前述した第1の制御とは異なり、異常な漏れを検出した高圧タンクの放出流量を増している。
これにより、システムにおける水素ガスの大気への漏れを最小限にすることができる。
[第21の実施形態]
以下、図面を参照して本発明の第21の実施形態を詳細に説明する。
[第21の実施形態]
以下、図面を参照して本発明の第21の実施形態を詳細に説明する。
なお、前述した実施形態と同一構成には同一符号を付し、その説明は省略する。
本実施形態では、制御装置342は、以下に説明する第3の制御、及び第4の制御を行う。
(第3の制御)
第3の制御を図27(A)のフローチャートに従って説明する。
(第3の制御)
第3の制御を図27(A)のフローチャートに従って説明する。
先ず、運転がスタートすると、最初のステップ322では、高圧タンク10T1の漏れ検知圧力Pm1が、予め設定した値γより小さいか否かが判別される。
ステップ322で肯定された場合はステップ326へ進み、否定された場合はステップ320へ進む。
ステップ320では、高圧タンク10T1へは充填不可であることを記憶する。
ステップ326では、高圧タンク10T2の漏れ検知圧力Pm2が、予め設定した値γより小さいか否かが判別される。
ステップ326で肯定された場合はステップ330へ進み、否定された場合はステップ324へ進む。
ステップ324では、高圧タンク10T2へは充填不可であることを記憶する。
ステップ330では、高圧タンク10T3の漏れ検知圧力Pm3が、予め設定した値γより小さいか否かが判別される。
ステップ330で肯定された場合はステップ332へ進み、否定された場合はステップ328へ進む。
ステップ328では、高圧タンク10T3へは充填不可であることを記憶する。
ステップ332では、消費量調整処理(例えば、前述した第1の制御、または第2の制御)を行なう。
ステップ334では、システムの運転が終了したか否かが判別される。
ステップ334で否定された場合はステップ322へ戻り、肯定された場合は運転終了となる。
(第4の制御)
第4の制御を図27(B)のフローチャートに従って説明する。
(第4の制御)
第4の制御を図27(B)のフローチャートに従って説明する。
充填処理がスタートすると、先ず、ステップ300において、初期値の読み込み、即ち、前述した第3の制御において記憶した高圧タンク10T1〜T3がそれぞれ充填不可か否か(ステップ320、324、328)の読み込みが行なわれる。
ステップ302では、高圧タンク10T1が充填可能か否かを判別する。
ステップ302で肯定された場合には、ステップ304へ進み開閉バルブVs1を開き、高圧タンク10T1への水素ガスの充填を可能とする。
ステップ302で否定された場合には、ステップ306へ進む。
ステップ306では、高圧タンク10T2が充填可能か否かを判別する。
ステップ306で肯定された場合には、ステップ308へ進み開閉バルブVs2を開き、高圧タンク10T2への水素ガスの充填を可能とする。
ステップ306で否定された場合は、ステップ310へ進む。
ステップ310では、高圧タンク10T3が充填可能か否かを判別する。
ステップ310で肯定された場合には、ステップ312へ進み開閉バルブVs3を開き、高圧タンク10T3への水素ガスの充填を可能とする。
ステップ310で否定された場合には、ステップ314へ進む。
ステップ314では、充填処理を行い、カプラ328から水素ガスを高圧タンク側へ供給し、水素ガスの充填を行なう。
ステップ316では、充填が終了したか否かを判別する。
ステップ316で肯定された場合には、ステップ318へ進み、開閉バルブVs1,Vs2,Vs3を全て閉じる。
本実施形態では、異常な漏れの生じた高圧タンクには水素ガスの充填を許可しないので、システムにおける水素ガスの大気への漏れを最小限にすることができる。
10 高圧タンク
12 アルミタンク(タンク本体)
14 炭素繊維(タンク本体)
20 口金
42 外側オーリング
44 内側オーリング
72 手動開閉バルブ
106 リリーフ弁
108 笛
114 大気放出路
110 圧力センサー(圧力検出手段)
118 制御回路(圧力検出手段、検知手段、変位検出手段)
158 バックアップリング
160 バックアップリング
188 円板(隔壁)
190 パターン(導電性パターン)
196 圧力センサー(圧力検出手段)
212 圧力センサー(圧力検出手段)
218 圧力センサー(圧力検出手段)
232 ダイヤフラム(弾性部材)
234 金属板(変位検出手段)
236 近接スイッチ(変位検出手段)
240 圧力センサー(圧力検出手段)
244 シャフト(変位検出手段)
247 リミットスイッチ(変位検出手段)
252 圧力センサー(圧力検出手段)
256 ピストン
264 圧力センサー(圧力検出手段)
268 電線(変位検出手段)
270 圧力センサー(圧力検出手段)
294 銅線(導線)
296 圧力センサー(圧力検出手段)
316 導線
318 連結配管
V1 開閉バルブ(排出用バルブ)
V2 開閉バルブ(排出用バルブ)
V3 開閉バルブ(排出用バルブ)
Vs1 開閉バルブ(充填用バルブ)
Vs2 開閉バルブ(充填用バルブ)
Vs3 開閉バルブ(充填用バルブ)
12 アルミタンク(タンク本体)
14 炭素繊維(タンク本体)
20 口金
42 外側オーリング
44 内側オーリング
72 手動開閉バルブ
106 リリーフ弁
108 笛
114 大気放出路
110 圧力センサー(圧力検出手段)
118 制御回路(圧力検出手段、検知手段、変位検出手段)
158 バックアップリング
160 バックアップリング
188 円板(隔壁)
190 パターン(導電性パターン)
196 圧力センサー(圧力検出手段)
212 圧力センサー(圧力検出手段)
218 圧力センサー(圧力検出手段)
232 ダイヤフラム(弾性部材)
234 金属板(変位検出手段)
236 近接スイッチ(変位検出手段)
240 圧力センサー(圧力検出手段)
244 シャフト(変位検出手段)
247 リミットスイッチ(変位検出手段)
252 圧力センサー(圧力検出手段)
256 ピストン
264 圧力センサー(圧力検出手段)
268 電線(変位検出手段)
270 圧力センサー(圧力検出手段)
294 銅線(導線)
296 圧力センサー(圧力検出手段)
316 導線
318 連結配管
V1 開閉バルブ(排出用バルブ)
V2 開閉バルブ(排出用バルブ)
V3 開閉バルブ(排出用バルブ)
Vs1 開閉バルブ(充填用バルブ)
Vs2 開閉バルブ(充填用バルブ)
Vs3 開閉バルブ(充填用バルブ)
Claims (14)
- 開口部を有するタンク本体と、
前記開口部を塞ぐように取り付けられる口金と、
前記タンク本体と前記口金との間に設けられ、前記タンク本体と前記口金との間をシールする第1のシール部材と、
前記タンク本体と前記口金との間に設けられ、前記第1のシール部材と異なる位置に配置されて前記タンク本体と前記口金との間をシールする第2のシール部材と、
前記口金に設けられ、前記第1のシール部材と前記第2のシール部材との間で前記タンク本体と前記口金との間に形成される隙間に一端が開口し、他端が外気側に開口する連通経路と、
を有することを特徴とする高圧タンク。 - 前記連通経路を閉塞可能とするバルブを設けた、ことを特徴とする請求項1に記載の高圧タンク。
- 前記連通経路に連結され、設定値未満の圧力では閉止状態とされ、設定値以上の圧力が作用した時に開放されるリリーフ弁と、
前記リリーフ弁と直列に設けられ、気体の通過によって音を発生する警報手段と、
を有する、ことを特徴とする請求項1または請求項2に記載の高圧タンク。 - 前記連通経路に接続され、前記高圧タンクから前記連通経路内に流入した気体を大気に放出する大気開放路と、
前記連通経路内の圧力値または圧力が設定値以上となったことを検出可能な圧力検出手段と、
を有する、ことを特徴とする請求項1または請求項2に記載の高圧タンク。 - 前記連通経路に連結され、設定値未満の圧力では閉止状態とされ、設定値以上の圧力が作用した時に開放されるリリーフ弁と、
前記リリーフ弁と直列に設けられ、気体の通過によって音を発生する警報手段と、
前記連通経路に接続され、前記高圧タンクから前記連通経路内に流入した気体を大気に放出する大気開放路と、
前記連通経路内の圧力値または圧力が設定値以上となったことを検出可能な圧力検出手段と、
を有する、ことを特徴とする請求項1または請求項2に記載の高圧タンク。 - 前記圧力検出手段は、前記連通経路と大気とを隔て、設定値以上の圧力が作用したときに割れる隔壁と、前記隔壁に設けられた導電性パターンと、前記導電性パターンの導通を検知する検知手段とを有する、ことを特徴とする請求項4または請求項5に記載の高圧タンク。
- 前記圧力検出手段は、圧力により弾性変形する弾性部材と、前記弾性部材が設定値以上変位したことを検出する変位検出手段とを有する、ことを特徴とする請求項4または請求項5に記載の高圧タンク。
- 前記圧力検出手段は、圧力により変位するピストンと、前記ピストンの変位量又はピストンが設定値以上変位したことを検出する変位検出手段とを有する、ことを特徴とする請求項4または請求項5に記載の高圧タンク。
- 前記圧力検出手段は、圧力により変位するピストンと、前記ピストンが設定値以上変位したときに断線する導線と、前記導線の導通を検知する検知手段とを有する、ことを特徴とする請求項4または請求項5に記載の高圧タンク。
- 請求項4に記載の高圧タンク、及び請求項5に記載の高圧タンクの少なくとも一方を複数個備えたタンクシステムの制御方法であって、
前記圧力検出手段にて前記連通経路内の圧力が一定値またはタンク圧力、温度等によって決まる設定値以上となったことを検出したときに、各高圧タンクに連結した排出用バルブを操作して、連通経路内の圧力が設定値以上となった前記高圧タンクの気体の消費を優先する、ことを特徴とするタンクシステムの制御方法。 - 請求項4に記載の高圧タンク、及び請求項5に記載の高圧タンクの少なくとも一方を複数個備えたタンクシステムの制御方法であって、
前記圧力検出手段にて前記連通経路内の圧力が一定値またはタンク圧力、温度等によって決まる設定値以上となったことを検出したときに、各高圧タンクに連結した充填用バルブを操作して、連通経路内の圧力が設定値以上となった前記高圧タンクへの気体の充填を禁止する、ことを特徴とするタンクシステムの制御方法。 - 請求項4に記載の高圧タンク、及び請求項5に記載の高圧タンクの少なくとも一方を複数個備えたタンクシステムであって、
前記各高圧タンクの前記各連通経路を連結配管で互いに連通させ、前記連結配管に1個の前記圧力検出手段を設けた、ことを特徴とするタンクシステム。 - 開口部を有するタンク本体と、
前記開口部を塞ぐように取り付けられる口金と、
前記タンク本体と前記口金との間に設けられ、前記タンク本体と前記口金との間をシールする第1のシール部材と、
前記タンク本体と前記口金との間に設けられ、前記第1のシール部材と異なる位置に配置されて前記タンク本体と前記口金との間をシールする第2のシール部材と、
を備え、
前記第1のシール部材によるシール部分と、前記第2のシール部材によるシール部分とは、大気側のシール部分の気体透過量が、タンク側のシール部分の気体透過量以上に設定されている、ことを特徴とする高圧タンク。 - 前記第1のシール部材、及び前記第2のシール部材は、それぞれオーリングとバックアップリングから構成され、
タンク側のシール部材は、前記オーリングの両側に前記バックアップリングを備え、
大気側のシール部材は前記オーリングの大気側にのみ前記バックアップリングを備えている、ことを特徴とする請求項13に記載の高圧タンク。
Priority Applications (1)
| Application Number | Priority Date | Filing Date | Title |
|---|---|---|---|
| JP2004109929A JP2005291434A (ja) | 2004-04-02 | 2004-04-02 | 高圧タンク、タンクシステムの制御方法、及びタンクシステム |
Applications Claiming Priority (1)
| Application Number | Priority Date | Filing Date | Title |
|---|---|---|---|
| JP2004109929A JP2005291434A (ja) | 2004-04-02 | 2004-04-02 | 高圧タンク、タンクシステムの制御方法、及びタンクシステム |
Publications (1)
| Publication Number | Publication Date |
|---|---|
| JP2005291434A true JP2005291434A (ja) | 2005-10-20 |
Family
ID=35324582
Family Applications (1)
| Application Number | Title | Priority Date | Filing Date |
|---|---|---|---|
| JP2004109929A Pending JP2005291434A (ja) | 2004-04-02 | 2004-04-02 | 高圧タンク、タンクシステムの制御方法、及びタンクシステム |
Country Status (1)
| Country | Link |
|---|---|
| JP (1) | JP2005291434A (ja) |
Cited By (14)
| Publication number | Priority date | Publication date | Assignee | Title |
|---|---|---|---|---|
| WO2006082765A1 (ja) * | 2005-02-02 | 2006-08-10 | Toyota Jidosha Kabushiki Kaisha | 高圧タンクのシール構造 |
| DE112007000888T5 (de) | 2006-04-11 | 2009-03-12 | Toyota Jidosha Kabushiki Kaisha, Toyota-shi | Verbindungsstruktur für Tankbauteile |
| WO2010058452A1 (ja) * | 2008-11-18 | 2010-05-27 | トヨタ自動車株式会社 | 高圧タンク |
| JP2010246178A (ja) * | 2009-04-01 | 2010-10-28 | Toyota Motor Corp | 燃料電池自動車用水素供給装置 |
| WO2011098703A1 (fr) * | 2010-02-11 | 2011-08-18 | L'air Liquide, Societe Anonyme Pour L'etude Et L'exploitation Des Procedes Georges Claude | Réservoir composite et ensemble comprenant un tel réservoir et un organe receveur et/ou distributeur de gaz |
| KR101333837B1 (ko) * | 2012-04-24 | 2013-11-29 | 임근섭 | 개인 충전 방지 기능을 갖는 재충전 용기용 밸브 구조체 |
| CN103814248A (zh) * | 2011-06-28 | 2014-05-21 | 赫克萨贡拉加斯克股份有限公司 | 用于复合容器的改进凸台 |
| JP2015105659A (ja) * | 2013-11-28 | 2015-06-08 | トヨタ自動車株式会社 | 貯蔵タンクおよびそれに取り付けられる金属部材、貯蔵タンクの製造方法 |
| US9874289B2 (en) | 2013-11-21 | 2018-01-23 | Jtekt Corporation | Valve main unit and method of manufacturing the same |
| CN108679440A (zh) * | 2018-07-05 | 2018-10-19 | 张家港富瑞氢能装备有限公司 | 一种高压储氢气瓶 |
| WO2023279679A1 (zh) * | 2021-07-08 | 2023-01-12 | 亚普汽车部件(开封)有限公司 | 一种车用高压气瓶阀 |
| KR102536217B1 (ko) * | 2022-01-28 | 2023-05-26 | 주식회사 에테르씨티 | 수소용 저장용기 |
| KR20240095576A (ko) * | 2022-12-16 | 2024-06-26 | 주식회사 성우하이텍 | 압력 용기 |
| CN120933404A (zh) * | 2025-10-16 | 2025-11-11 | 协氢(上海)新能源科技有限公司 | 一种具备泄漏报警功能的氢燃料电池 |
-
2004
- 2004-04-02 JP JP2004109929A patent/JP2005291434A/ja active Pending
Cited By (21)
| Publication number | Priority date | Publication date | Assignee | Title |
|---|---|---|---|---|
| WO2006082765A1 (ja) * | 2005-02-02 | 2006-08-10 | Toyota Jidosha Kabushiki Kaisha | 高圧タンクのシール構造 |
| US7971852B2 (en) | 2005-02-02 | 2011-07-05 | Toyota Jidosha Kabushiki Kaisha | Seal structure of high-pressure tank |
| DE112007000888T5 (de) | 2006-04-11 | 2009-03-12 | Toyota Jidosha Kabushiki Kaisha, Toyota-shi | Verbindungsstruktur für Tankbauteile |
| CN102216666A (zh) * | 2008-11-18 | 2011-10-12 | 丰田自动车株式会社 | 高压罐 |
| WO2010058452A1 (ja) * | 2008-11-18 | 2010-05-27 | トヨタ自動車株式会社 | 高圧タンク |
| JP5168677B2 (ja) * | 2008-11-18 | 2013-03-21 | トヨタ自動車株式会社 | 高圧タンク |
| JP2010246178A (ja) * | 2009-04-01 | 2010-10-28 | Toyota Motor Corp | 燃料電池自動車用水素供給装置 |
| WO2011098703A1 (fr) * | 2010-02-11 | 2011-08-18 | L'air Liquide, Societe Anonyme Pour L'etude Et L'exploitation Des Procedes Georges Claude | Réservoir composite et ensemble comprenant un tel réservoir et un organe receveur et/ou distributeur de gaz |
| CN103814248A (zh) * | 2011-06-28 | 2014-05-21 | 赫克萨贡拉加斯克股份有限公司 | 用于复合容器的改进凸台 |
| CN103814248B (zh) * | 2011-06-28 | 2016-03-09 | 赫克萨贡拉加斯克股份有限公司 | 用于复合容器的改进凸台 |
| US9689531B2 (en) | 2011-06-28 | 2017-06-27 | Hexagon Ragasco As | Boss for composite container |
| KR101333837B1 (ko) * | 2012-04-24 | 2013-11-29 | 임근섭 | 개인 충전 방지 기능을 갖는 재충전 용기용 밸브 구조체 |
| US9874289B2 (en) | 2013-11-21 | 2018-01-23 | Jtekt Corporation | Valve main unit and method of manufacturing the same |
| JP2015105659A (ja) * | 2013-11-28 | 2015-06-08 | トヨタ自動車株式会社 | 貯蔵タンクおよびそれに取り付けられる金属部材、貯蔵タンクの製造方法 |
| CN108679440A (zh) * | 2018-07-05 | 2018-10-19 | 张家港富瑞氢能装备有限公司 | 一种高压储氢气瓶 |
| WO2023279679A1 (zh) * | 2021-07-08 | 2023-01-12 | 亚普汽车部件(开封)有限公司 | 一种车用高压气瓶阀 |
| US11953153B2 (en) | 2021-07-08 | 2024-04-09 | Yapp Automotive Parts (Kaifeng) Co., Ltd. | High-pressure gas cylinder valve for vehicle |
| KR102536217B1 (ko) * | 2022-01-28 | 2023-05-26 | 주식회사 에테르씨티 | 수소용 저장용기 |
| KR20240095576A (ko) * | 2022-12-16 | 2024-06-26 | 주식회사 성우하이텍 | 압력 용기 |
| KR102817765B1 (ko) * | 2022-12-16 | 2025-06-12 | 주식회사 성우하이텍 | 압력 용기 |
| CN120933404A (zh) * | 2025-10-16 | 2025-11-11 | 协氢(上海)新能源科技有限公司 | 一种具备泄漏报警功能的氢燃料电池 |
Similar Documents
| Publication | Publication Date | Title |
|---|---|---|
| JP2005291434A (ja) | 高圧タンク、タンクシステムの制御方法、及びタンクシステム | |
| US9568114B2 (en) | Valve unit comprising a check valve device | |
| KR20170006622A (ko) | 수소연료전지 차량의 수소탱크 내 리크 감지 장치 및 방법 | |
| JP2014228105A (ja) | 高圧ガス容器および高圧ガス容器シール部のガス漏れ判定方法 | |
| CN101010648A (zh) | 具有减压与截流功能的阀 | |
| CN111322518B (zh) | 高压罐装置和流体排出方法 | |
| US6431196B1 (en) | Combination pressure relief device | |
| JP4007538B2 (ja) | ガス燃料供給装置 | |
| KR20180069307A (ko) | 인-탱크 레귤레이터 압력 측정 시스템 | |
| CN112628436B (zh) | 一种高压爆破片夹持装置及其密封性检测方法 | |
| KR20050006066A (ko) | 실린더 헤드 개스킷 | |
| JP2017090104A (ja) | 燃料供給装置の燃料ガス漏れ診断装置 | |
| KR200196268Y1 (ko) | 안전밸브의 설정압력 검사장치 | |
| US8931754B2 (en) | Safety valve and electromagnetic valve | |
| JP2007051917A (ja) | 気密性異常判断装置およびガス供給装置 | |
| WO2011105038A1 (ja) | タンク内圧力計測用回路及びそれを備えるタンク装置 | |
| CN110792782A (zh) | 隔膜泵软管故障监测装置 | |
| JP5389485B2 (ja) | 燃料電池システムの制御方法 | |
| CN105697808B (zh) | 一种新型波纹管密封球阀 | |
| CN211398593U (zh) | 隔膜泵软管故障监测装置 | |
| CN204085808U (zh) | 一种气密性检测装置 | |
| JP5733265B2 (ja) | ガス充填装置、ガスタンク検査装置及びガスタンク検査方法 | |
| CN219013470U (zh) | 泄压阀及氢气供给系统 | |
| CN112594242B (zh) | 一种压力表阀 | |
| CN213364549U (zh) | 一种腐蚀监测探针装置 |