JP2005291432A - クリップ、および、エアバッグ本体の取り付け構造 - Google Patents

クリップ、および、エアバッグ本体の取り付け構造 Download PDF

Info

Publication number
JP2005291432A
JP2005291432A JP2004109833A JP2004109833A JP2005291432A JP 2005291432 A JP2005291432 A JP 2005291432A JP 2004109833 A JP2004109833 A JP 2004109833A JP 2004109833 A JP2004109833 A JP 2004109833A JP 2005291432 A JP2005291432 A JP 2005291432A
Authority
JP
Japan
Prior art keywords
male part
female part
head
female
male
Prior art date
Legal status (The legal status is an assumption and is not a legal conclusion. Google has not performed a legal analysis and makes no representation as to the accuracy of the status listed.)
Granted
Application number
JP2004109833A
Other languages
English (en)
Other versions
JP4376680B2 (ja
Inventor
Hiroshi Tajima
拓 田島
Kazuo Ito
和夫 伊藤
Current Assignee (The listed assignees may be inaccurate. Google has not performed a legal analysis and makes no representation or warranty as to the accuracy of the list.)
Nifco Inc
Original Assignee
Nifco Inc
Priority date (The priority date is an assumption and is not a legal conclusion. Google has not performed a legal analysis and makes no representation as to the accuracy of the date listed.)
Filing date
Publication date
Application filed by Nifco Inc filed Critical Nifco Inc
Priority to JP2004109833A priority Critical patent/JP4376680B2/ja
Priority to US11/094,316 priority patent/US7219400B2/en
Priority to KR1020050027637A priority patent/KR100680490B1/ko
Publication of JP2005291432A publication Critical patent/JP2005291432A/ja
Application granted granted Critical
Publication of JP4376680B2 publication Critical patent/JP4376680B2/ja
Anticipated expiration legal-status Critical
Expired - Fee Related legal-status Critical Current

Links

Images

Classifications

    • FMECHANICAL ENGINEERING; LIGHTING; HEATING; WEAPONS; BLASTING
    • F16ENGINEERING ELEMENTS AND UNITS; GENERAL MEASURES FOR PRODUCING AND MAINTAINING EFFECTIVE FUNCTIONING OF MACHINES OR INSTALLATIONS; THERMAL INSULATION IN GENERAL
    • F16BDEVICES FOR FASTENING OR SECURING CONSTRUCTIONAL ELEMENTS OR MACHINE PARTS TOGETHER, e.g. NAILS, BOLTS, CIRCLIPS, CLAMPS, CLIPS OR WEDGES; JOINTS OR JOINTING
    • F16B5/00Joining sheets or plates, e.g. panels, to one another or to strips or bars parallel to them
    • F16B5/06Joining sheets or plates, e.g. panels, to one another or to strips or bars parallel to them by means of clamps or clips
    • F16B5/0607Joining sheets or plates, e.g. panels, to one another or to strips or bars parallel to them by means of clamps or clips joining sheets or plates to each other
    • F16B5/0621Joining sheets or plates, e.g. panels, to one another or to strips or bars parallel to them by means of clamps or clips joining sheets or plates to each other in parallel relationship
    • F16B5/0642Joining sheets or plates, e.g. panels, to one another or to strips or bars parallel to them by means of clamps or clips joining sheets or plates to each other in parallel relationship the plates being arranged one on top of the other and in full close contact with each other
    • HELECTRICITY
    • H01ELECTRIC ELEMENTS
    • H01HELECTRIC SWITCHES; RELAYS; SELECTORS; EMERGENCY PROTECTIVE DEVICES
    • H01H13/00Switches having rectilinearly-movable operating part or parts adapted for pushing or pulling in one direction only, e.g. push-button switch
    • H01H13/70Switches having rectilinearly-movable operating part or parts adapted for pushing or pulling in one direction only, e.g. push-button switch having a plurality of operating members associated with different sets of contacts, e.g. keyboard
    • HELECTRICITY
    • H01ELECTRIC ELEMENTS
    • H01HELECTRIC SWITCHES; RELAYS; SELECTORS; EMERGENCY PROTECTIVE DEVICES
    • H01H13/00Switches having rectilinearly-movable operating part or parts adapted for pushing or pulling in one direction only, e.g. push-button switch
    • H01H13/70Switches having rectilinearly-movable operating part or parts adapted for pushing or pulling in one direction only, e.g. push-button switch having a plurality of operating members associated with different sets of contacts, e.g. keyboard
    • H01H13/83Switches having rectilinearly-movable operating part or parts adapted for pushing or pulling in one direction only, e.g. push-button switch having a plurality of operating members associated with different sets of contacts, e.g. keyboard characterised by legends, e.g. Braille, liquid crystal displays, light emitting or optical elements
    • HELECTRICITY
    • H05ELECTRIC TECHNIQUES NOT OTHERWISE PROVIDED FOR
    • H05BELECTRIC HEATING; ELECTRIC LIGHT SOURCES NOT OTHERWISE PROVIDED FOR; CIRCUIT ARRANGEMENTS FOR ELECTRIC LIGHT SOURCES, IN GENERAL
    • H05B33/00Electroluminescent light sources
    • H05B33/02Details
    • H05B33/04Sealing arrangements, e.g. against humidity
    • BPERFORMING OPERATIONS; TRANSPORTING
    • B60VEHICLES IN GENERAL
    • B60RVEHICLES, VEHICLE FITTINGS, OR VEHICLE PARTS, NOT OTHERWISE PROVIDED FOR
    • B60R21/00Arrangements or fittings on vehicles for protecting or preventing injuries to occupants or pedestrians in case of accidents or other traffic risks
    • B60R21/02Occupant safety arrangements or fittings, e.g. crash pads
    • B60R21/16Inflatable occupant restraints or confinements designed to inflate upon impact or impending impact, e.g. air bags
    • B60R21/20Arrangements for storing inflatable members in their non-use or deflated condition; Arrangement or mounting of air bag modules or components
    • FMECHANICAL ENGINEERING; LIGHTING; HEATING; WEAPONS; BLASTING
    • F16ENGINEERING ELEMENTS AND UNITS; GENERAL MEASURES FOR PRODUCING AND MAINTAINING EFFECTIVE FUNCTIONING OF MACHINES OR INSTALLATIONS; THERMAL INSULATION IN GENERAL
    • F16BDEVICES FOR FASTENING OR SECURING CONSTRUCTIONAL ELEMENTS OR MACHINE PARTS TOGETHER, e.g. NAILS, BOLTS, CIRCLIPS, CLAMPS, CLIPS OR WEDGES; JOINTS OR JOINTING
    • F16B21/00Means for preventing relative axial movement of a pin, spigot, shaft or the like and a member surrounding it; Stud-and-socket releasable fastenings
    • F16B21/06Releasable fastening devices with snap-action
    • F16B21/08Releasable fastening devices with snap-action in which the stud, pin, or spigot has a resilient part
    • F16B21/086Releasable fastening devices with snap-action in which the stud, pin, or spigot has a resilient part the shank of the stud, pin or spigot having elevations, ribs, fins or prongs intended for deformation or tilting predominantly in a direction perpendicular to the direction of insertion
    • HELECTRICITY
    • H01ELECTRIC ELEMENTS
    • H01HELECTRIC SWITCHES; RELAYS; SELECTORS; EMERGENCY PROTECTIVE DEVICES
    • H01H2219/00Legends
    • H01H2219/002Legends replaceable; adaptable
    • H01H2219/014LED
    • YGENERAL TAGGING OF NEW TECHNOLOGICAL DEVELOPMENTS; GENERAL TAGGING OF CROSS-SECTIONAL TECHNOLOGIES SPANNING OVER SEVERAL SECTIONS OF THE IPC; TECHNICAL SUBJECTS COVERED BY FORMER USPC CROSS-REFERENCE ART COLLECTIONS [XRACs] AND DIGESTS
    • Y10TECHNICAL SUBJECTS COVERED BY FORMER USPC
    • Y10TTECHNICAL SUBJECTS COVERED BY FORMER US CLASSIFICATION
    • Y10T24/00Buckles, buttons, clasps, etc.
    • Y10T24/30Trim molding fastener
    • Y10T24/309Plastic type
    • YGENERAL TAGGING OF NEW TECHNOLOGICAL DEVELOPMENTS; GENERAL TAGGING OF CROSS-SECTIONAL TECHNOLOGIES SPANNING OVER SEVERAL SECTIONS OF THE IPC; TECHNICAL SUBJECTS COVERED BY FORMER USPC CROSS-REFERENCE ART COLLECTIONS [XRACs] AND DIGESTS
    • Y10TECHNICAL SUBJECTS COVERED BY FORMER USPC
    • Y10TTECHNICAL SUBJECTS COVERED BY FORMER US CLASSIFICATION
    • Y10T24/00Buckles, buttons, clasps, etc.
    • Y10T24/42Independent, headed, aperture pass-through fastener

Landscapes

  • Engineering & Computer Science (AREA)
  • General Engineering & Computer Science (AREA)
  • Mechanical Engineering (AREA)
  • Insertion Pins And Rivets (AREA)
  • Air Bags (AREA)

Abstract

【課題】雄パーツと雌パーツとを連接する連結片が長くても、屈曲された連結片が外方に張り出してしまわないようにする。
【解決手段】雄パーツ2の頭部21と雌パーツ1の外鍔10とを雄パーツ2の脚軸20の下端が雌パーツ1の筒上端の直上に位置されるように連接させると共に、雄パーツ2の前記押し込みにより屈曲される連結片3を有している。連結片3は、雄パーツ2の脚軸20の軸線xを挟んだ一方側において、片上端30をこの雄パーツ2の頭部21に接合させ、かつ、片下端31を雌パーツ1の外鍔10に接合させている。連結片3は、雄パーツ2の前記押し込みにより片中間部を屈曲中心32として雄パーツ2の脚軸20の軸線xを挟んだ他方側に向けられた側を屈曲外側として屈曲されるようになっている。
【選択図】図1

Description

この発明は、パネルなどに形成された取り付け穴に入れ込まれてこのパネルなどに仮留めされる雌パーツと、このように仮留めされた雌パーツ内に押し込まれてこの雌パーツの留め付け状態を強固な本留めに移行させる雄パーツとを備えてなるクリップ、および、このクリップを含んで構成されるエアバッグ本体の取り付け構造に関する。
貫通穴を備えた部材のこの貫通穴に入れ込まれる挿入部と、この挿入部の入れ込まれる開口を備えたフランジとを、屈曲可能な連結片によって連結させてなり、フランジの開口を通じてかかる貫通穴に連結片を屈曲させながら挿入部を押し込ませることにより、かかる部材に留め付けられるクリップとして、特許文献1に示されるものがある。
しかるに、かかるクリップは、挿入部の前記押し込みにあたって、連結片がその屈曲中心を挿入部の挿入軸部から離れ出させるように屈曲される構造のものであるため、クリップの留め付けにあたって前記部材の貫通穴の周囲に一定のスペースを必要とさせるものであった。特に、挿入部を構成する挿入軸部の長さが長くなればなる程、連結片も長くせざるを得ず、そして、連結片が長くなれば屈曲されて外方に張り出す連結片のこの張り出し寸法も大きくなることから、かかる挿入部の長さを長くさせる要請があっても、この要請に十分に応え難いものであった。
実公平4−29123号公報
この発明が解決しようとする主たる問題点は、雌パーツとこの雌パーツ内に押し込まれて取り付け穴へのクリップの本留め状態を作り出す雄パーツとを雄パーツのこの押し込みによって屈曲される連結片によって連結させてなるクリップにおいて、雄パーツの雌パーツ内に入り込む脚軸の長さが比較的長くなり、したがってまた連結片の長さが比較的長くなってしまう場合であっても、屈曲された連結片が徒に外方に張り出してしまわないようにする点にある。
前記問題点を解決するために、この発明にあっては、クリップが以下の(1)〜(5)の構造を備えたものとした。
(1)筒両端を解放させた筒状をなすと共に、筒上端部に外鍔を有し、かつ、筒側部に形成された割溝によって区分された筒側部の一部を外鍔に掛合面を向けた弾性掛合片としており、取り付け穴への入れ込みによって弾性掛合片を一旦内向きに撓み込ませた後の入れ込み終了位置での弾性掛合片の弾発によって前記掛合面をこの取り付け穴の入れ込み先側の穴縁部に掛合させるように構成された雌パーツと、
(2)脚軸とこの脚軸の上端に設けられた押し込み操作用の頭部とを有し、雌パーツの筒上端から脚軸をこの雌パーツ内に押し込ませることによりこの雌パーツの弾性掛合片の内向きへの撓み込みを阻止するように構成された雄パーツと、
(3)雄パーツの頭部と雌パーツの外鍔とを雄パーツの脚軸の下端が雌パーツの筒上端の直上に位置されるように連接させると共に、雄パーツの前記押し込みにより屈曲される連結片とを有しており、
(4)この連結片が、雄パーツの脚軸の軸線を挟んだ一方側において、片上端をこの雄パーツの頭部に接合させ、かつ、片下端を雌パーツの外鍔に接合させていると共に、
(5)この連結片が、雄パーツの前記押し込みにより片中間部を屈曲中心として雄パーツの脚軸の軸線を挟んだ他方側に向けられた側を屈曲外側として屈曲されるようになっている。
雄パーツと雌パーツとはかかる連結片によって一体化されていることから、製造ラインなどにおけるクリップの管理は容易なものとされる。
また、かかる連結片によって雄パーツは、雌パーツの筒上端の直上に脚軸の下端を位置させた状態で雌パーツに支持されることから、取り付け穴に雌パーツを入れ込みこの取り付け穴に前記のように雌パーツを掛合・仮留めさせた状態から雄パーツの頭部を利用して雄パーツを真っ直ぐに押し込むだけで雌パーツ内に雄パーツを位置あわせすることなく適切に押し込ませることができ、これによりワンタッチで雌パーツを取り付け穴に本留めさせることができる。
この雄パーツの押し込みによって連結片は屈曲されて雄パーツの頭部と雌パーツの外鍔との間に折り畳み状に挟み込みこまれるが、かかる連結片は雄パーツのこの押し込みにより片中間部を屈曲中心として雄パーツの脚軸の軸線を挟んだ他方側に向けられた側を屈曲外側として屈曲されるようになっていることから、雄パーツの頭部の外縁よりも外方に屈曲された連結片がはみ出ないようにすることができる。すなわち、クリップの本留め状態において、クリップの取り付け箇所には雄パーツの頭部の大きさ以上のスペースを必要としないようにすることができる。この結果、連結片を長く構成させることにも支障がなく、よって、この連結片によって前記のように支持される雄パーツの脚軸も支障なく長く構成させることができる。
前記連結片が雄パーツの脚軸を挟んだ両側にそれぞれ設けられているようにしておくこともある。
このようにした場合、雌パーツの外鍔の上方に雄パーツを安定的に支持することができる。
また、前記雄パーツの頭部と雌パーツの外鍔とがそれぞれ、外縁形状を略四角形状とするように構成されていると共に、
一対の連結片の一方が、片上端を雄パーツの頭部における一つの隅部に接合させ、かつ、片下端をこの頭部の一つの隅部の直下にある雌パーツの外鍔における一つの隅部に接合させており、
かつ、一対の連結片の他方が、片上端を雄パーツの頭部における前記一つの隅部の対角位置にある隅部に接合させ、かつ、片下端を雌パーツの外鍔における前記一つの隅部の対角位置にある隅部に接合させているようにしておくこともある。
このようにした場合、雌パーツの外鍔の上方に雄パーツをより安定的に支持することができる。
また、前記連結片の長さ方向ほぼ中程の位置に薄肉部が形成されており、かつ、この連結片の長さの2分の1となる長さが雄パーツの頭部の幅内に納まる長さとなっているようにしておくこともある。
このようにした場合、雄パーツの押し込み操作によって雄パーツの脚軸が雌パーツの筒上端から雌パーツ内に真っ直ぐに入り込むようにすることができると共に、雌パーツ内に雄パーツを押し込み切った本留め状態において、屈曲されて雄パーツの頭部と雌パーツの外鍔との間に折り畳み状に挟み込まれた連結片がこの頭部の外縁の外方にはみ出すことがないようにすることができる。
また、この発明にかかるエアバッグ本体の取り付け構造は、
エアバッグ装置を構成するエアバッグ本体に取り付けられたこのエアバッグ本体の取り付け用プレートに貫通状態に設けられた取り付け穴を、
自動車のボディパネルに貫通状態に設けられた取り付け穴に連通させるようにして、
両取り付け穴に前記クリップを構成する雌パーツを入れ込ませた後、この雌パーツ内に雄パーツの脚軸を押し込ませてエアバッグ本体をボディパネルに取り付けさせているようにしたものである。
かかる構造によれば、ボディパネルにエアバッグ本体を容易かつ安定的に取り付けることができる。
この発明にかかるクリップによれば、雄パーツの脚軸の長さが比較的長くなり、したがってまた連結片の長さが比較的長くなってしまう場合であっても、屈曲された連結片が徒に外方に張り出してしまうことがない。
また、この発明にかかるエアバッグ本体の取り付け構造によれば、ボディパネルにエアバッグ本体を容易かつ安定的に取り付けることができると共に、エアバッグ本体の取り付け用プレートの取り付け穴近傍にはクリップを構成する雄パーツの頭部分のスペースさえ確保されていればクリップの留め付けに何らの支障も生じさせることがない特長を有する。
以下、図1ないし図9に基づいて、この発明を実施するための最良の形態について説明する。
なお、ここで図1は、仮留め状態にあるクリップを、図2は、本留め状態にあるクリップを、それぞれ示している。
この実施の形態にかかるクリップは、パネルPなどに形成された取り付け穴Hに入れ込まれてこのパネルPなどに仮留めされる雌パーツ1と、このように仮留めされた雌パーツ1内に押し込まれてこの雌パーツ1の留め付け状態を強固な本留めに移行させる雄パーツ2とを備えてなるものである。
かかるクリップは、典型的には、二以上のパネルPなどにそれぞれ形成された取り付け穴Hを連通させるようにしてこれらを重ね合わせた状態においてこの連通された取り付け穴Hに入れ込み留め付けられることで、これら二以上のパネルPなどをクリップを介して留め付け合わせるように用いられる。
また、この実施の形態にかかるエアバッグ本体(通常時は畳み込まれて収納されており、自動車の衝突時に生じる衝撃をトリガとしてガス放出装置から放出されるガスによって展張される袋体/一般にバッグと称される。)の取り付け構造は、
エアバッグ装置を構成するエアバッグ本体(図示は省略する。)に取り付けられたこのエアバッグ本体の取り付け用プレートP’に貫通状態に設けられた取り付け穴Hを、
自動車のボディパネルP”に貫通状態に設けられた取り付け穴Hに連通させるようにして、
両取り付け穴H、Hに前記クリップを構成する雌パーツ1を入れ込ませた後、この雌パーツ1内に雄パーツ2の脚軸を押し込ませてエアバッグ本体をボディパネルP”に取り付けさせてなるものである。
このようにした場合、ボディパネルP”にエアバッグ本体を容易かつ安定的に取り付けることができる。すなわち、エアバッグ装置の作動時、つまり、衝突時に、エアバッグ本体の展張動作に伴ってボデイパネルPからエアバッグ本体が脱落してしまうことがない強固な取り付け状態を確保しつつ、ボデイパネルPにエアバッグ本体を容易に取り付けさせることができる。また、後述するように、雌パーツ1と雄パーツ2とを一体化させる連結片3は雌パーツ1内への雄パーツ2の脚軸20の押し込みによってこの雌パーツ1の外鍔10と雄パーツ2の頭部21との間にこの頭部21の外側にはみ出すことなく折り畳み状態で挟み込まれることから、エアバッグ本体の取り付け用プレートP’の取り付け穴H近傍にはクリップを構成する雄パーツ2の頭部21分のスペースさえ確保されていればクリップの留め付けに何らの支障も生じさせることがない特長を有する。
かかるクリップは、雌パーツ1と、雄パーツ2と、連結片3とを備えている。
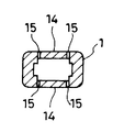
雌パーツ1は、筒両端を解放させた筒状をなすと共に、筒上端部に外鍔10を有している。
図示の例では、かかる雌パーツ1は、幅広の一対の側板部11、11を有すると共に、この幅広の一対の側板部11、11間に幅狭の側板部12を備え、筒上端と筒下端とに共にほぼ長方形状をなす穴口を持った角筒状体の筒上端部を、板状体13の一面に一体に接合させるようにして構成されている。そして、このように接合された板状体13によって、前記外鍔10を形成させるようにしている。また、図示の例では、板状体13の他面において開放されている雌パーツ1の筒上端部の穴口18における向き合った穴縁部には、この穴縁部に沿って延びる雄パーツ2の脚軸20の押し込みをガイドする案内片19が設けられている。
また、かかる雌パーツ1は、筒側部に形成された割溝によって区分された筒側部の一部を外鍔10に掛合面14dを向けた弾性掛合片14としており、取り付け穴Hへの入れ込みによって弾性掛合片14を一旦内向きに撓み込ませた後の入れ込み終了位置での弾性掛合片14の弾発によって前記掛合面14dをこの取り付け穴Hの入れ込み先側の穴縁部に掛合させるように構成されている。
図示の例では、前記角筒状体における一対の幅広の側板部11、11にそれぞれ、前記弾性掛合片14が形成されている。具体的には、かかる幅広の側板部11には、角筒状体の筒軸に沿って延びる一対の縦向きの割溝15、15と、この一対の縦向きの割溝15、15における外鍔10側にある溝端間に亘る横向きの割溝16とが形成されており、これらの割溝15、16によって角筒状体の筒下端側を変形中心となる基部とした前記弾性掛合片14が形成されている。この弾性掛合片14の外面は、かかる基部からこの弾性掛合片14の自由端に向けて次第に高まる傾斜面14aとなっており、この傾斜面14aの最上端の先に前記掛合面14dが形成されている。すなわち、弾性掛合片14の外面部には、前記傾斜面14aの最上端を頂部14cとした掛合突部14bが形成されている。そして、図示の例にあっては、前記角筒状体の横断面外郭形状に倣った穴内郭形状を持った取り付け穴Hであって、向き合った穴内面間の間隔を一対の前記弾性掛合片14における掛合突部14bの頂部14c間の間隔よりやや小さくし、かつ、前記外鍔10の外径よりも穴径を小さくした取り付け穴Hに対し、角筒状体の筒下端を先にして外鍔10が引っかかる位置(つまり、前記入れ込み終了位置)まで雌パーツ1を入れ込ませることにより、前記傾斜面14aによって一旦角筒状体の内方に弾性掛合片14を撓み込ませた後、この弾性掛合片14に形成された前記掛合突部14bの頂部14cが取り付け穴Hの入れ込み先側の穴縁部より先に入り込んだ位置でのこの弾性掛合片14の弾発によってこの穴縁部に掛合面14dを掛合させ、これにより雌パーツ1を取り付け穴Hにワンタッチで仮留めさせるようにしてある。
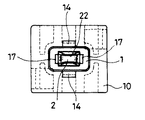
一方、雄パーツ2は、脚軸20とこの脚軸20の上端に設けられた押し込み操作用の頭部21とを有している。
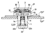
図示の例にあっては、かかる脚軸20は、板状をなす頭部21の一面のほぼ中央部に上端を一体に接合させると共に、雌パーツ1の角筒状体内に、その筒上端から押し込み入れられる太さを持つように構成されている。すなわち、図示の例にあっては、雄パーツ2の脚軸20は、雌パーツ1の角筒状体の横断面内郭形状に倣った横断面外郭形状を持った主体部20aを有しており、雌パーツ1内に押し込まれることにより雌パーツ1の幅広の側板部11の内面に接する幅広の側面20bと、雌パーツ1の幅狭の側板部12の内面に接する幅狭の側面20cとを持つように構成されている。これにより、雌パーツ1の筒上端から脚軸20をこの雌パーツ1内に押し込ませることによりこの雌パーツ1の前記弾性掛合片14の内向きへの撓み込みが阻止され、取り付け穴Hに対する雌パーツ1の留め付け状態が強固に維持される。(つまり、本留め状態が作り出される。)
また、図示の例では、脚軸20の下端には、脚軸20の軸線に沿って延び上端を主体部20aの下端に一体に接合させたアンカー基体22aと、このアンカー基体22aの下端に下端を一体に接合させると共に自由端に向かうに連れて次第にこのアンカー基体22aから離れる向きに傾斜状に突き出し且つ自由端に頭部21に向いた掛合面22cを備えた一対のアンカーアーム22bとからなるアンカー状掛合部22が形成されている。そして図示の例にあっては、雌パーツ1内に雄パーツ2を押し込み切った位置で、雌パーツ1の幅狭の側板部12におけるこの雌パーツ1の筒下端側の内面に形成されたこの筒下端に向いた段差面17に、この押し込みによって一旦内向きに弾性変形させられたアンカーアーム22bが弾発によってその掛合面22cを下方から引っかけるようになっている。これにより図示の例にあっては、雌パーツ1内に入れ込み切られた雄パーツ2は再びこの雌パーツ1内から抜け出されることがないようにしてある。
また、連結片3は、雄パーツ2の頭部21と雌パーツ1の外鍔10とを雄パーツ2の脚軸20の下端が雌パーツ1の筒上端の直上に位置されるように連接させると共に、雄パーツ2の前記押し込みにより屈曲されるように構成されている。
図示の例にあっては、かかる連結片3によって、雄パーツ2の脚軸20の下端と雌パーツ1の筒上端の穴口18との間に間隔を開けた状態で、雌パーツ1の外鍔10の上方に雄パーツ2が支持されるようになっている。
また、この連結片3は、雄パーツ2の脚軸20の軸線xを挟んだ一方側において、片上端30をこの雄パーツ2の頭部21に接合(図示の例では一体的につなぎ合わされている。)させ、かつ、片下端31を雌パーツ1の外鍔10に接合(図示の例では一体的につなぎ合わされている。)させていると共に、
この連結片3は、雄パーツ2の前記押し込みにより片中間部を屈曲中心32として雄パーツ2の脚軸20の軸線xを挟んだ他方側に向けられた側を屈曲外側として屈曲されるようになっている。
雄パーツ2と雌パーツ1とはかかる連結片3によって一体化されていることから、製造ラインなどにおけるクリップの管理は容易なものとされる。
また、かかる連結片3によって雄パーツ2は、雌パーツ1の筒上端の直上に脚軸20の下端を位置させた状態で雌パーツ1に支持されることから、取り付け穴Hに雌パーツ1を入れ込みこの取り付け穴Hに前記のように雌パーツ1を掛合・仮留めさせた状態から雄パーツ2の頭部21を利用して雄パーツ2を真っ直ぐに押し込むだけで雌パーツ1内に雄パーツ2を位置あわせすることなく適切に押し込ませることができ、これによりワンタッチで雌パーツ1を取り付け穴Hに本留めさせることができる。
この雄パーツ2の押し込みによって連結片3は屈曲されて雄パーツ2の頭部21と雌パーツ1の外鍔10との間に折り畳み状に挟み込みこまれるが、かかる連結片3は雄パーツ2のこの押し込みにより片中間部を屈曲中心32として雄パーツ2の脚軸20の軸線xを挟んだ他方側に向けられた側を屈曲外側として屈曲されるようになっていることから、雄パーツ2の頭部21の外縁よりも外方に屈曲された連結片3がはみ出ないようにすることができる。すなわち、クリップの本留め状態においては、クリップの取り付け箇所には雄パーツ2の頭部21の大きさ以上のスペースを必要としない。この結果、連結片3を長く構成させることにも支障がなく、よって、この連結片3によって前記のように支持される雄パーツ2の脚軸20も支障なく長く構成させることができる。
図示の例では、かかる連結片3が雄パーツ2の脚軸20を挟んだ両側にそれぞれ設けられている。
具体的には、雄パーツ2の脚軸20の軸線xを含んだ仮想の平面yを挟んだ一方側と他方側とにそれぞれ、連結片3が設けられている。
これにより図示の例にあっては、雌パーツ1の外鍔10の上方に雄パーツ2を安定的に支持できるようになっている。
より具体的には、図示の例にあっては、雄パーツ2の脚軸20の軸線xを含んだ仮想の平面yを挟んだ一方側にある連結片3は、雄パーツ2の脚軸20の軸線xを挟んだ一方側において、片上端30をこの雄パーツ2の頭部21に接合させ、かつ、片下端31を雌パーツ1の外鍔10に接合させており、
前記仮想の平面yを挟んだ他方側にある連結片3は、雄パーツ2の脚軸20の軸線xを挟んだ他方側において、片上端30をこの雄パーツ2の頭部21に接合させ、かつ、片下端31を雌パーツ1の外鍔10に接合させている。
図示の例にあっては、雄パーツ2の頭部21と雌パーツ1の外鍔10とがそれぞれ、外縁形状を略四角形状とするように構成されていると共に、
一対の連結片3の一方が、片上端30を雄パーツ2の頭部21における一つの隅部21aに接合させ、かつ、片下端31をこの頭部21の一つの隅部21aの直下にある雌パーツ1の外鍔10における一つの隅部10aに接合させており、
かつ、一対の連結片3の他方が、片上端30を雄パーツ2の頭部21における前記一つの隅部21aの対角位置にある隅部21aに接合させ、かつ、片下端31を雌パーツ1の外鍔10における前記一つの隅部10aの対角位置にある隅部10aに接合させている。
これにより、図示の例にあっては、雌パーツ1の外鍔10の上方に雄パーツ2をより安定的に支持できるようになっている。
また、図示の例にあっては、連結片3の長さ方向ほぼ中程の位置に薄肉部33が形成されており、かつ、この連結片3の長さの2分の1となる長さが雄パーツ2の頭部21の幅内に納まる長さとなっている。
具体的には、図示の例にあっては、連結片3は帯板状をなすように構成されていると共に、その長さ方向ほぼ中程の位置に連結片3の幅方向に亘る溝状部34を備えており、この溝状部34によって前記薄肉部33が形成されている。この溝状部34は雄パーツ2の脚軸20の軸線xを挟んだ一方側に溝口を向けており、また、この溝状部34によって形成された薄肉部33は雄パーツ2の脚軸20の軸線xを挟んだ他方側を湾曲外側とした湾曲片状をなすように構成されている。これにより、雄パーツ2を押し込み操作すると、連結片3はこの薄肉部33を屈曲中心32として雄パーツ2の脚軸20の軸線xを挟んだ他方側に向けられた側を屈曲外側として屈曲される。また、図示の例では、連結片3の片上端30と片下端31とにもそれぞれ連結片3の幅方向に亘る溝状部34が形成されており、これにより、この連結片3の片上端30と片下端31とにもそれぞれ薄肉部33が形成されている。これにより、雄パーツ2の押し込み操作によって連結片3の片中間部を前記のように円滑に屈曲できるようになっている。また、連結片3の長さの2分の1となる長さが雄パーツ2の頭部21の幅、図示の例では、外縁形状をほぼ四角形状とする雄パーツ2の頭部21の一辺の長さ内に納まる長さとなっている。
図示の例にあっては、連結片3の長さ方向ほぼ中程の位置にかかる薄肉部33が形成されていると共に、この連結片3の長さの2分の1となる長さが雄パーツ2の頭部21の幅内に納まる長さとなっていることから、雄パーツ2の押し込み操作によって雄パーツ2の脚軸20が雌パーツ1の筒上端から雌パーツ1内に真っ直ぐに入り込むようにすることができると共に、雌パーツ1内に雄パーツ2を押し込み切った本留め状態において、屈曲されて雄パーツ2の頭部21と雌パーツ1の外鍔10との間に折り畳み状に挟み込まれた連結片3がこの頭部21の外縁の外方にはみ出すことがないようにすることができる。
図示の例では、帯板状をなす連結片3は、その肉厚方向にある面を雄パーツ2の脚軸20の幅広の側面側に向けた状態で、雄パーツ2と雌パーツ1とを連結させるように構成されている。
以上に説明したクリップにおける弾性変形特性を備えるべき箇所へのこの特性の付与は、典型的には、かかるクリップを射出成形などのプラスチック成型によって形成させることで容易に確保させることができる。
クリップの使用状態を示した正面図 クリップの使用状態を示した正面図 クリップの正面図 同右側面図 同底面図 図3におけるA−A線断面図 図3におけるB−B線断面図 図3におけるC−C線断面図 図3におけるD−D線要部断面図
符号の説明
1 雌パーツ
10 外鍔
14 弾性掛合片
15、16 割溝
2 雄パーツ
20 脚軸
21 頭部
3 連結片
30 片上端
31 片下端
x 軸線
P パネル
H 取り付け穴

Claims (5)

  1. 筒両端を解放させた筒状をなすと共に、筒上端部に外鍔を有し、かつ、筒側部に形成された割溝によって区分された筒側部の一部を外鍔に掛合面を向けた弾性掛合片としており、取り付け穴への入れ込みによって弾性掛合片を一旦内向きに撓み込ませた後の入れ込み終了位置での弾性掛合片の弾発によって前記掛合面をこの取り付け穴の入れ込み先側の穴縁部に掛合させるように構成された雌パーツと、
    脚軸とこの脚軸の上端に設けられた押し込み操作用の頭部とを有し、雌パーツの筒上端から脚軸をこの雌パーツ内に押し込ませることによりこの雌パーツの弾性掛合片の内向きへの撓み込みを阻止するように構成された雄パーツと、
    雄パーツの頭部と雌パーツの外鍔とを雄パーツの脚軸の下端が雌パーツの筒上端の直上に位置されるように連接させると共に、雄パーツの前記押し込みにより屈曲される連結片とを有しており、
    この連結片が、雄パーツの脚軸の軸線を挟んだ一方側において、片上端をこの雄パーツの頭部に接合させ、かつ、片下端を雌パーツの外鍔に接合させていると共に、
    この連結片が、雄パーツの前記押し込みにより片中間部を屈曲中心として雄パーツの脚軸の軸線を挟んだ他方側に向けられた側を屈曲外側として屈曲されるようになっていることを特徴とするクリップ。
  2. 連結片が雄パーツの脚軸を挟んだ両側にそれぞれ設けられていることを特徴とする請求項1記載のクリップ。
  3. 雄パーツの頭部と雌パーツの外鍔とがそれぞれ、外縁形状を略四角形状とするように構成されていると共に、
    一対の連結片の一方が、片上端を雄パーツの頭部における一つの隅部に接合させ、かつ、片下端をこの頭部の一つの隅部の直下にある雌パーツの外鍔における一つの隅部に接合させており、
    かつ、一対の連結片の他方が、片上端を雄パーツの頭部における前記一つの隅部の対角位置にある隅部に接合させ、かつ、片下端を雌パーツの外鍔における前記一つの隅部の対角位置にある隅部に接合させていることを特徴とする請求項2記載のクリップ。
  4. 連結片の長さ方向ほぼ中程の位置に薄肉部が形成されており、かつ、この連結片の長さの2分の1となる長さが雄パーツの頭部の幅内に納まる長さとなっていることを特徴とする請求項1から請求項3のいずれか1項に記載のクリップ。
  5. エアバッグ装置を構成するエアバッグ本体に取り付けられたこのエアバッグ本体の取り付け用プレートに貫通状態に設けられた取り付け穴を、
    自動車のボディパネルに貫通状態に設けられた取り付け穴に連通させるようにして、
    両取り付け穴に請求項1から請求項4のいずれか1項に記載のクリップを構成する雌パーツを入れ込ませた後、この雌パーツ内に雄パーツの脚軸を押し込ませてエアバッグ本体をボディパネルに取り付けさせていることを特徴とするエアバッグ本体の取り付け構造。
JP2004109833A 2004-04-02 2004-04-02 クリップ、および、エアバッグ本体の取り付け構造 Expired - Fee Related JP4376680B2 (ja)

Priority Applications (3)

Application Number Priority Date Filing Date Title
JP2004109833A JP4376680B2 (ja) 2004-04-02 2004-04-02 クリップ、および、エアバッグ本体の取り付け構造
US11/094,316 US7219400B2 (en) 2004-04-02 2005-03-31 Clip and airbag body installation structure
KR1020050027637A KR100680490B1 (ko) 2004-04-02 2005-04-01 클립 및 에어백본체의 부착구조

Applications Claiming Priority (1)

Application Number Priority Date Filing Date Title
JP2004109833A JP4376680B2 (ja) 2004-04-02 2004-04-02 クリップ、および、エアバッグ本体の取り付け構造

Publications (2)

Publication Number Publication Date
JP2005291432A true JP2005291432A (ja) 2005-10-20
JP4376680B2 JP4376680B2 (ja) 2009-12-02

Family

ID=35052614

Family Applications (1)

Application Number Title Priority Date Filing Date
JP2004109833A Expired - Fee Related JP4376680B2 (ja) 2004-04-02 2004-04-02 クリップ、および、エアバッグ本体の取り付け構造

Country Status (3)

Country Link
US (1) US7219400B2 (ja)
JP (1) JP4376680B2 (ja)
KR (1) KR100680490B1 (ja)

Cited By (3)

* Cited by examiner, † Cited by third party
Publication number Priority date Publication date Assignee Title
JP2010539420A (ja) * 2007-09-21 2010-12-16 アー ライモント エ カンパニュイ 2つの取付け部材を1つの支持部材に取り付けるための装置
CN101522478B (zh) * 2006-10-09 2011-05-04 关键安全体系股份有限公司 安全气囊组件安装系统
KR20210112033A (ko) * 2020-03-04 2021-09-14 주식회사 니프코코리아 언더커버 체결용 클립

Families Citing this family (12)

* Cited by examiner, † Cited by third party
Publication number Priority date Publication date Assignee Title
DE102005062242B3 (de) * 2005-12-24 2007-08-30 A. Raymond Et Cie Vorrichtung zum Befestigen eines Anbauteiles an einem Trägerteil
JP2009051272A (ja) * 2007-08-24 2009-03-12 Nippon Pop Rivets & Fasteners Ltd カーテンサイドエアバッグ用トリム等のトリムクリップ
CN101861259B (zh) * 2007-11-16 2012-06-13 百乐仕株式会社 气囊用卡具
CN102803757A (zh) * 2009-06-29 2012-11-28 株式会社利富高 夹子、及夹子装置
CN101959386A (zh) * 2009-07-17 2011-01-26 鸿富锦精密工业(深圳)有限公司 扣具
US9022415B2 (en) * 2011-01-11 2015-05-05 Autoliv Development Ab Cover for airbag device, and airbag device
TWI548548B (zh) 2014-01-16 2016-09-11 提愛思科技股份有限公司 安裝構件及裝備氣囊模組之座椅
US11692571B2 (en) 2019-04-08 2023-07-04 Volvo Car Corporation Clip assembly for holding a component during a vehicle assembly/disassembly process
DE102020110407A1 (de) * 2020-04-16 2021-10-21 Illinois Tool Works Inc. Befestigungsvorrichtung zum Befestigen eines Bauteils an einem Trägerbauteil
CN113623302B (zh) * 2021-07-01 2022-12-27 济宁兴发弹簧有限公司 一种多段减震的空气弹簧紧固件
CN113482234B (zh) * 2021-07-22 2022-08-19 江苏宝鹏建筑工业化材料有限公司 一种防火型蒸压加气混凝土板
US11686332B1 (en) * 2022-07-27 2023-06-27 NIFCO America Corporation Accordion clip

Family Cites Families (8)

* Cited by examiner, † Cited by third party
Publication number Priority date Publication date Assignee Title
US3074134A (en) * 1961-04-14 1963-01-22 Thompson Ind Inc Fastening means
JPS5218564A (en) 1975-08-01 1977-02-12 Kojima Press Co Ltd Stud
JP2532721B2 (ja) 1990-05-25 1996-09-11 日本電信電話株式会社 光増幅器
JPH07233807A (ja) * 1994-02-22 1995-09-05 Nifco Inc クリップ
JP2001317515A (ja) 2000-05-11 2001-11-16 Nippon Pop Rivets & Fasteners Ltd 保持具
US6431585B1 (en) * 2000-10-05 2002-08-13 Lear Corporation Dual stage fastener
US6851710B2 (en) * 2001-03-06 2005-02-08 Autoliv Asp, Inc. Apparatus and method for rapid airbag component installation
US6659701B1 (en) * 2002-10-17 2003-12-09 Illinois Tool Works Inc. Rocker panel fastener

Cited By (4)

* Cited by examiner, † Cited by third party
Publication number Priority date Publication date Assignee Title
CN101522478B (zh) * 2006-10-09 2011-05-04 关键安全体系股份有限公司 安全气囊组件安装系统
JP2010539420A (ja) * 2007-09-21 2010-12-16 アー ライモント エ カンパニュイ 2つの取付け部材を1つの支持部材に取り付けるための装置
KR20210112033A (ko) * 2020-03-04 2021-09-14 주식회사 니프코코리아 언더커버 체결용 클립
KR102361302B1 (ko) * 2020-03-04 2022-02-11 주식회사 니프코코리아 언더커버 체결용 클립

Also Published As

Publication number Publication date
KR20060045435A (ko) 2006-05-17
KR100680490B1 (ko) 2007-02-08
US7219400B2 (en) 2007-05-22
US20050217083A1 (en) 2005-10-06
JP4376680B2 (ja) 2009-12-02

Similar Documents

Publication Publication Date Title
JP4376680B2 (ja) クリップ、および、エアバッグ本体の取り付け構造
JP5243749B2 (ja) クリップ及び支持部材
US10056748B2 (en) Electrical box support
CN104136277B (zh) 拴系夹和包括其的装饰件联接装置
JP4213381B2 (ja) クリップ
JP6466310B2 (ja) クリップ
JP2010276145A (ja) 止め具
JP2010090991A (ja) ホールプラグ
CN102405354A (zh) 具有带肋凸缘的紧固件
KR20100045994A (ko) 플라스틱 물질로 된 일체형 클립
JP2004156722A (ja) 本留め用の雄パーツを有する連結具
CN104806615A (zh) 拴系夹和柱装饰件安装结构
JP2010229637A (ja) 外装材端留め付け金具および外装材端留め付け金具を備えた外装材取付金具
JP4950674B2 (ja) クリップ
JP2006044529A (ja) 車両用ドアインナパネル
JP2007110806A (ja) 取付具
WO2015080153A1 (ja) 留め具
JP3115378U (ja) 掛け具及び陳列具
JPH1162921A (ja) 壁穴用スクリューグロメット
JP2006214479A (ja) 樹脂部材の嵌合構造
KR100569236B1 (ko) 범퍼 커버 그릴 결합 구조
JP2006125571A (ja) クリップ
JP2017009098A (ja) 留め具
JP2004270874A (ja) 留め具
JP2008085664A (ja) スピーカの取付け構造

Legal Events

Date Code Title Description
A621 Written request for application examination

Free format text: JAPANESE INTERMEDIATE CODE: A621

Effective date: 20061225

A977 Report on retrieval

Free format text: JAPANESE INTERMEDIATE CODE: A971007

Effective date: 20090220

TRDD Decision of grant or rejection written
A01 Written decision to grant a patent or to grant a registration (utility model)

Free format text: JAPANESE INTERMEDIATE CODE: A01

Effective date: 20090901

A01 Written decision to grant a patent or to grant a registration (utility model)

Free format text: JAPANESE INTERMEDIATE CODE: A01

A61 First payment of annual fees (during grant procedure)

Free format text: JAPANESE INTERMEDIATE CODE: A61

Effective date: 20090909

R150 Certificate of patent or registration of utility model

Free format text: JAPANESE INTERMEDIATE CODE: R150

FPAY Renewal fee payment (event date is renewal date of database)

Free format text: PAYMENT UNTIL: 20120918

Year of fee payment: 3

FPAY Renewal fee payment (event date is renewal date of database)

Free format text: PAYMENT UNTIL: 20120918

Year of fee payment: 3

FPAY Renewal fee payment (event date is renewal date of database)

Free format text: PAYMENT UNTIL: 20120918

Year of fee payment: 3

FPAY Renewal fee payment (event date is renewal date of database)

Free format text: PAYMENT UNTIL: 20120918

Year of fee payment: 3

FPAY Renewal fee payment (event date is renewal date of database)

Free format text: PAYMENT UNTIL: 20130918

Year of fee payment: 4

R250 Receipt of annual fees

Free format text: JAPANESE INTERMEDIATE CODE: R250

LAPS Cancellation because of no payment of annual fees