JP2005291402A - 可変プーリ装置 - Google Patents

可変プーリ装置 Download PDF

Info

Publication number
JP2005291402A
JP2005291402A JP2004108406A JP2004108406A JP2005291402A JP 2005291402 A JP2005291402 A JP 2005291402A JP 2004108406 A JP2004108406 A JP 2004108406A JP 2004108406 A JP2004108406 A JP 2004108406A JP 2005291402 A JP2005291402 A JP 2005291402A
Authority
JP
Japan
Prior art keywords
movable pulley
pulley
shaft
outer cylinder
movable
Prior art date
Legal status (The legal status is an assumption and is not a legal conclusion. Google has not performed a legal analysis and makes no representation as to the accuracy of the status listed.)
Granted
Application number
JP2004108406A
Other languages
English (en)
Other versions
JP4511230B2 (ja
Inventor
Tomohiro Uematsu
知洋 植松
Yoshinori Kawashima
芳徳 川島
Current Assignee (The listed assignees may be inaccurate. Google has not performed a legal analysis and makes no representation or warranty as to the accuracy of the list.)
Yamada Manufacturing Co Ltd
Original Assignee
Yamada Seisakusho KK
Priority date (The priority date is an assumption and is not a legal conclusion. Google has not performed a legal analysis and makes no representation as to the accuracy of the date listed.)
Filing date
Publication date
Application filed by Yamada Seisakusho KK filed Critical Yamada Seisakusho KK
Priority to JP2004108406A priority Critical patent/JP4511230B2/ja
Publication of JP2005291402A publication Critical patent/JP2005291402A/ja
Application granted granted Critical
Publication of JP4511230B2 publication Critical patent/JP4511230B2/ja
Anticipated expiration legal-status Critical
Expired - Fee Related legal-status Critical Current

Links

Images

Landscapes

  • Transmissions By Endless Flexible Members (AREA)
  • General Details Of Gearings (AREA)
  • Sealing With Elastic Sealing Lips (AREA)
  • Pulleys (AREA)

Abstract

【課題】 可変プーリの固定プーリ半体と可動プーリ半体との可動部における潤滑剤の外部への漏れ及び外部からの埃塵の侵入を防止するとともに、耐久性を有し且つ部品点数を減少させ、構造を極めて簡単なものとした可変プーリ装置とすること。
【解決手段】 外周面にガイドピン2が装着された固定側プーリ軸1の軸方向端部に固定側プーリフェース3が設けられてなる固定プーリ半体A1と、前記ガイドピン2が遊挿するガイド長孔6を有し,軸端部の内周面に周状凹部5aが形成された可動側プーリ軸5の軸方向端部に可動側プーリフェース7が設けられてなる可動プーリ半体A2 と、前記可動側プーリ軸5の外周面を覆う外筒9と、オイルシール12とからなること。該オイルシール12が前記周状凹部5aに収納されるともに、前記外筒9には前記オイルシール12の外側面部を被覆する折曲部9dが形成されてなること。
【選択図】 図1

Description

本発明は、可変プーリの固定プーリ半体と可動プーリ半体との可動部における潤滑剤の外部への漏れ及び外部からの埃塵の侵入を防止するとともに、耐久性を有し且つ部品点数を減少させ、構造を極めて簡単なものとした可変プーリ装置に関する。
従来より、通常の前進走行時におけるエンジン等の動力源の回転速度の変化により、カム機構が作動し、そのプーリに巻掛けられているベルト駆動径を適宜,無段に可変させて変速する無段変速プーリ装置が存在している。この無段変速機において、駆動軸と従動軸にそれぞれ固定プーリ半体と、該固定プーリ半体に対し進退移動し得る可動プーリ半体とよりなる伝動プーリを設け、駆動軸および従動軸上の伝動プーリ間に無端Vベルトを掛回し、駆動軸および従動軸上の可動プーリ半体を移動調整して駆動軸の回転と従動軸の回転を無段に変速させて従動軸に伝達するようにした無段変速機が存在している。かかる変速機では、その運転中において、前記可動プーリ半体は固定プーリ半体に対して絶えず進退移動により、両間隔が調整されるので、前記可動プーリ半体が常に円滑、軽快な無段変速を行うには可動プーリ半体の被潤滑部に常に、有効に潤滑油もしくはグリスを供給することが望まれる。
実公昭61−605号
従来の技術として特許文献1(実公昭61−605号)に開示されているように、固定プーリ半体と一体構成とした固定側プーリ軸を回転軸外周に回転自在に支承し、この固定側プーリ軸上に可動プーリ半体と一体構成の可動側プーリ軸を軸方向に摺動自在とした構成となっている。
その可動側プーリ軸の軸方向両端部には、オイルシールが設けられ、そのシール面が固定側プーリ軸の外周面に摺接している。さらに、前記可動側プーリ軸の内周面には断面凹状の通油溝を形成し、この通油溝と、固定側プーリ軸の外周面とにより潤滑油溜を形成し、かつ通油溝の底面をオイルシールのシール面よりも径方向外方に位置させている。これによって、可動側プーリ軸の回転による遠心力を利用して潤滑油溜内に潤滑油を貯留させて、余分な潤滑油がオイルシールに供給され、その結果シール性がよくなり、潤滑油の、固定および可動側プーリ軸聞からの洩れを有効に防止することができる。
上記の特許文献1においては、固定側プーリ軸と可動側プーリ軸の軸間および可動側プーリ軸と外筒間にある潤滑油(グリス)の洩れを、可動側プーリ軸両端のオイルシール(固定側プーリ軸と可動側プーリ軸の軸間)と、可動側プーリ軸の外周の両端部にあるOリング(可動側プーリ軸と外筒間)によって防止している。しかし、オイルシールおよびOリングが経年劣化により、そのシール性能が低下した場合には、前記固定側プーリ軸と可動側プーリ軸の軸問および可動側プーリ軸と外筒間の潤滑油(グリス)が洩れ、必要量より少なくなった場合には、固定側プーリ軸と可動側プーリ軸の軸間が磨耗,固着し、可動プーリ半体が円滑に移動できなくなるおそれがある。本発明の技術的課題(目的)は、可変プーリ装置において、可変プーリの固定プーリ半体と可動プーリ半体との可動部における潤滑剤の外部への漏れ及び外部からの埃塵の侵入を防止するとともに、耐久性を有し且つ部品点数を減少させ、構造を極めて簡単なものにすることにある。
そこで、発明者は、上記課題を解決すべく、鋭意,研究を重ねた結果、本発明を、外周面にガイドピンが装着された固定側プーリ軸の軸方向端部に固定側プーリフェースが設けられてなる固定プーリ半体と、前記ガイドピンが遊挿するガイド長孔を有し,軸端部の内周面に周状凹部が形成された可動側プーリ軸の軸方向端部に可動側プーリフェースが設けられてなる可動プーリ半体と、前記可動側プーリ軸の外周面を覆う外筒と、オイルシールとからなり、該オイルシールが前記周状凹部に収納されるともに、前記外筒には前記オイルシールの外側面部を被覆する折曲部が形成されてなる可変プーリ装置としたことにより、上記課題を解決したものである。
また、前述の構成において、前記折曲部の内周縁は、前記固定ボス部の外周側面に近接してなる可変プーリ装置としたり、或いは前記折曲部は前記外筒とは別材としてなる可変プーリ装置としたことにより、上記課題を解決したものである。さらに、前述の構成において前記外筒と可動側プーリ軸との間にはOリングが装着されてなる可変プーリ装置としたことにより、上記課題を解決したものである。
請求項1の発明によれば、シール性を向上させ、潤滑油の漏れを防止することができる。請求項2の発明によれば、可変プーリ装置へのオイルシールを安定した状態で装着することができる。請求項3の発明によれば、装着されたオイルシールへの埃塵の侵入を格段に少なくすることができる。請求項4の発明によれば、潤滑油(グリース)の漏れをより一層確実に防止することができる。
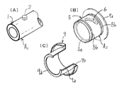
以下、本発明を図面に基づいて説明する。図1は、本発明における従動プーリ機構を示したものである。その従動プーリAは、図1(A),(B)に示すように、固定プーリ半体A1 と可動プーリ半体A2 とから構成される。その固定プーリ半体A1は、図2,図3(A)等に示すように、中空状の固定側プーリ軸1と、扁平円錐状の固定側プーリフェース3とが形成されている。その固定側プーリ軸1の外周側面の所定箇所には、ガイドピン2が装着されている。
該ガイドピン2は、円筒状に形成され、前記固定側プーリ軸1の所定箇所に圧入されている。可動プーリ半体A2 は、図2,図3(B)等に示すように、中空状の可動側プーリ軸5,ガイド長孔6と扁平円錐状の可動側プーリフェース7から構成される。その可動側プーリ軸5の軸方向の端部の端面には、その内周面側に沿って周状凹部5aが形成されている。該周状凹部5aは、周方向に直交する断面が略方形状に形成されたものであり、オイルシール12が挿入固着されるようになっている。
その固定プーリ半体A1の固定側プーリ軸1は、図1(A)に示すように、遠心クラッチBとの間に設けられた従動軸10に回動自在に支承されている。ニードルベアリング及びボールベアリング等の軸受11を介してこの固定プーリ半体A1の固定側プーリ軸1の外周に前記可動プーリ半体A2 の可動側プーリ軸5が摺動自在に装着されている。そして、固定プーリ半体A1と可動プーリ半体A2 における固定側プーリフェース3と可動側プーリフェース7とが相対向して、無端Vベルト23が掛けられる。
その固定プーリ半体A1と可動プーリ半体A2 とからなる従動プーリAは、図示しない駆動側プーリと対をなす。前記ガイド長孔6には、図1に示すように、前記固定側プーリ軸1に装着されたガイドピン2が挿入される。このガイドピン2は、図1(B)に示すように、回転自在なガイドローラ2aが装着されており、前記可動側プーリ軸5はガイド長孔6と、前記ガイドピン2の係合によって案内され、前記固定側プーリ軸1と可動側プーリ軸5とが相互に周方向に回動することなく、軸方向に沿って相互に摺動動作が行なえるようになっている。その可動側プーリ軸5の外周には、外筒9を装着される。
該外筒9は、円筒部9aと鍔状部9bとから構成されている。その円筒部9aには、前記可動プーリ半体A2 の可動側プーリ軸5が挿入されるものであって、円筒部9aの内径は、可動側プーリ軸5が円滑に入り込むことができる程度である。前記可動側プーリ軸5の外周を円筒部9aにて覆われることにより、前記ガイド長孔6は周囲が略閉鎖状となった空隙部を構成する。この空隙部は、潤滑油貯留室S1 となり、前記ガイド長孔6に充填されたグリース等の潤滑剤が外部に漏れないように溜めておくことができるようになっている。
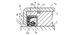
その可動側プーリ軸5の軸方向端部には、図3(B),図4及び図5等に示すように、前述したように周状凹部5aが形成されており、該周状凹部5aにオイルシール12が挿入装着されている。この場合、オイルシール12は周状凹部5aに対して圧入状態で装着されるものであるが、すきま嵌め状態でもかまわない。そのオイルシール12は、そのシール面が前記固定プーリ半体A1の固定側プーリ軸1の外周面に摺接されている。
また、前記可動側プーリ軸5の軸方向中間部には断面凹状の潤滑油貯留室S1が形成され、この潤滑油貯留室S1は固定側プーリ軸1に穿設した連通孔1aを介して、固定側プーリ軸1と前記従動軸10との間に形成された空隙部となる潤滑油貯留室S2 に連通されている。その鍔状部9bは、後述するコイルバネ14からの弾発力を受けるためのかばね座として使用される部位である。その鍔状部9bは、前記可動プーリ半体A2 の可動側プーリフェース7の背面側(Vベルトと接触する面とは反対側となる側)に当接し、前記コイルバネ14の弾性力を伝達するものである。
その外筒9の軸方向端部には、円筒部9aの内径中心部側に向かって折曲されてオイルシールの外側面を覆うようにして折曲部9dが形成されている。該折曲部9dは、前記円筒部9aの端縁側において、その直径方向中心側に向かって略直角状に折曲形成されたものである〔図1(B)参照〕。この折曲部9dは、円板状に形成され、その中心に可動プーリ半体A2 の可動側プーリ軸5が挿通することになる。前記折曲部9dの内周側端縁は、前記可動側プーリ軸5の外周に極めて近接した状態にすることが好まく、しかもその近接状態は、前記固定側プーリ軸1に接触しない程度とする。その折曲部9dは、〔図1(B)参照〕前記オイルシール12の外側の側面を覆う役目をなし、この折曲部9dがオイルシール12のための防壁(堰)となって、図5に示すように、外部からの塵挨の侵入を防ぐことができ、製品として安定した耐久性を保つことができる。
また、外筒9の折曲部9dは、円筒部9aの軸方向端部における折り曲げ加工となっているため、それによって外筒9全体の力学的強度を向上させる補強となり、その外筒9自体の強度が高くなる。そのため、折り曲げ加工が施されない従来の外筒は強度が弱く、歪も生じやすいものであったが、本発明における外筒9はその直径方向の折曲部により成形後の変形が防げ、形状を維持することが容易となり、加工工数も削減できる。なお、前記可動側プーリフェース7のボス部7aにもオイルシールが装着されており、このオイルシールは前記ボス部7aに軸方向に凹む収納部が形成され、この収納部にオイルシールが収納装着されている〔図1(A)参照〕。
潤滑油貯留室S2 内の潤滑油(グリス)は、ニードルベアリング,ボールベアリング等の軸受11に給油されるとともに、従動側プーリの回転による遠心力をうけて連通孔1aを通って潤滑油貯留室S1 に圧送され、潤滑油貯留室S1 内に貯留された潤滑油が固定側プーリ軸1,可動側プーリ軸5間のガイドピン2とガイド長孔6との係合箇所に送り込まれ、潤滑させ、可動プーリ半体A2 を常に円滑に移動させることができる。
前記従動プーリAには、図1(A)に示すように、乾式摩擦遠心クラッチBが隣接して配置されている。その従動プーリAの固定側プーリ軸1の左端には、この遠心クラッチBを構成する駆動プレート20が固着されており、無端Vベルト23によって固定プーリ半体A1に伝達された回転力は、前記固定側プーリ軸1を通じて前記駆動プレート20に伝えられる。次いで、遠心ウェイト21およびクラッチアウタ22を経て前記従動軸10に伝達される。
前記可動プーリ半体A2 の可動側プーリフェース7の裏面側と、前記駆動プレート20との間にはコイルバネ14が配置されている。そのコイルバネ14は、外筒9の外周側に配置され、そのコイルバネ14の長手方向一端側が前記駆動プレート20に当接し、また、コイルバネ14の長手方向他端側が外筒9の鍔状部9bに当接して、その鍔状部9bを介して前記可動側プーリフェース7を固定プーリ半体A1の固着側プーリフェース3に接近するように弾性的付勢している〔図1(A),(B)参照〕。
無段変速機の遠心クラッチBの前方には、図示しない駆動プーリが設けられており、駆動側プーリも前記従動プーリAと同様に固定プーリ半体と可動プーリ半体とから構成されている。そして、その駆動プーリと従動プーリとの間に無端Vベルト23が掛け渡され、エンジン回転数に応じて駆動側の可動プーリ半体が遠心力により軸線方向に移動することにより、駆動側における固定側プーリフェースと可動側プーリフェースに巻き掛かられている領域の無端Vベルト23の半径が変化し、これに応じて従動プーリAにおける無端Vベルト23の巻きかけられている領域の半径も変化する。こにれよって、エンジン出力軸の回転数が自動的にかつ無段的に変速されて、従動プーリAに伝えられる。
次に、前記外筒9の折曲部9d箇所を別部材とすることもある〔図6(A)参照〕。これは、該折曲部9dに、前記円筒部9aの外周に重合する接続用円筒部9d1 が形成され、該接続用円筒部9d1 を円筒部9aの軸端に重合状態で接合させる構造としたものである。この接続用円筒部9d1 は円筒部9aに溶接等の固着手段を介して接合固着したり、或いは接続用円筒部9d1 を円筒部9aに圧入状態で固着してもかまわない〔図6(B),(C)参照〕。このように、折曲部9dを外筒9か独立した別部材とすることにより、従来タイプの可変プーリ装置において、本発明における外筒9に相当する部材に、折曲部9dを装着することにより、本発明のような構成とすることができる。
本発明では、前記オイルシール12ともに、Oリング13が併用されている。前記可動プーリ半体A2 の可動側プーリ軸5にOリング13が装着される溝5bが形成される。そして、前記外筒9の円筒部9aの内周面と固定側プーリ軸1との間が前記Oリング13によりシールされるものである。Oリング13をオイルシール12と併用することにより、オイルシール12と可動側プーリ軸5との間の潤滑油の漏れを防止するとともに、Oリング13により可動側プーリ軸5と外筒9との間の潤滑油の漏れも確実に防止することができる。なお、前記可動側プーリ軸5と外筒9とが十分な密着状態を維持する場合には、Oリング13は必ずしも必要ないものである。
本発明では、前記外筒9の軸方向端部がオイルシール12の外側端の側面を覆うようにして折曲部9dが形成されているので、その折曲部9dが防壁(堰)となって外部からの塵埃侵入をその端部によって防ぐことができ、製品として安定した耐久性を保つことができる。さらに、外筒9の折曲部9dによって、潤滑油の外部漏出がなくなるため、潤滑油が遠心クラッチに飛散することがない。
よって、遠心クラッチのクラッチウェイトの摩擦係合部に潤滑油が付着することがないため、性能が安定し、製品自体の信頼性,耐久性が良くなる。また、前記折曲部9dによって、外部からの塵挨侵入を防ぐことができ、オイルシール12のリップ部12aに塵挨の付着がなくなるため、リップ自体の劣化が促進しにくくなり、安定したシール性を保つことができる。
さらに前記折曲部9dによって、可動側プーリ軸5から離れたりしてしまうようなことを防止することができ、製品自体の信頼性を高くすることができる。さらに折曲部9dは、外筒9の補強となり、外筒9自体の強度を高くすることができる。また外筒9の折曲部9dは折り曲げ加工にて形成可能なため、製造が簡単で、製造コストを低く抑えることができる。
(A)は本発明の第1実施形態における構成を示す縦断側面図、(B)は(A)の要部拡大断面図である。 本発明の第1実施形態における主用構成部材の分解断面図である。 (A)は固定プーリ半体の固定側プーリ軸の要部斜視図、(B)は可動プーリ半体の可動側プーリ軸の斜視図、(C)は外筒の一部切除した斜視図である。 折曲部を形成する工程の拡大断面図である。 折曲部による埃塵を除去する作用図である。 (A)は本発明の第2実施形態を示す拡大図、(B)は(A)の要部を拡大断面図、(C)は(B)のさらに拡大断面図である。
符号の説明
A…従動プーリ、A1 …固定プーリ半体、A2 …可動プーリ半体、
1…固定側プーリ軸、1a…連通孔、2…ガイドピン、3…固定側プーリフェース、
5…可動側プーリ軸、5a…周状凹部、6…ガイド長孔、7…可動側プーリフェース、
9…外筒、9c…段差部、9d…折曲部、9d1 …接続用円筒部、12…オイルシール、12a…リップ部。

Claims (4)

  1. 外周面にガイドピンが装着された固定側プーリ軸の軸方向端部に固定側プーリフェースが設けられてなる固定プーリ半体と、前記ガイドピンが遊挿するガイド長孔を有し,軸端部の内周面に周状凹部が形成された可動側プーリ軸の軸方向端部に可動側プーリフェースが設けられてなる可動プーリ半体と、前記可動側プーリ軸の外周面を覆う外筒と、オイルシールとからなり、該オイルシールが前記周状凹部に収納されるともに、前記外筒には前記オイルシールの外側面部を被覆する折曲部が形成されてなることを特徴とする可変プーリ装置。
  2. 請求項1において、前記折曲部の内周縁は、前記固定ボス部の外周側面に近接してなることを特徴とする可変プーリ装置。
  3. 請求項1又は2において、前記折曲部は前記外筒とは別材としてなることを特徴とする可変プーリ装置。
  4. 請求項1,2又は3のいずれか1項の記載において、前記外筒と可動側プーリ軸との間にはOリングが装着されてなることを特徴とする可変プーリ装置。
JP2004108406A 2004-03-31 2004-03-31 可変プーリ装置 Expired - Fee Related JP4511230B2 (ja)

Priority Applications (1)

Application Number Priority Date Filing Date Title
JP2004108406A JP4511230B2 (ja) 2004-03-31 2004-03-31 可変プーリ装置

Applications Claiming Priority (1)

Application Number Priority Date Filing Date Title
JP2004108406A JP4511230B2 (ja) 2004-03-31 2004-03-31 可変プーリ装置

Publications (2)

Publication Number Publication Date
JP2005291402A true JP2005291402A (ja) 2005-10-20
JP4511230B2 JP4511230B2 (ja) 2010-07-28

Family

ID=35324554

Family Applications (1)

Application Number Title Priority Date Filing Date
JP2004108406A Expired - Fee Related JP4511230B2 (ja) 2004-03-31 2004-03-31 可変プーリ装置

Country Status (1)

Country Link
JP (1) JP4511230B2 (ja)

Cited By (3)

* Cited by examiner, † Cited by third party
Publication number Priority date Publication date Assignee Title
JP2013122274A (ja) * 2011-12-09 2013-06-20 Kanzaki Kokyukoki Manufacturing Co Ltd プーリー式無段変速機構
WO2015146616A1 (ja) * 2014-03-24 2015-10-01 ジヤトコ株式会社 シール機構付き車両用無段変速機
EP4582719A1 (en) * 2024-01-02 2025-07-09 Polaris Industries Inc. Driven clutch for continuously variable transmission

Citations (4)

* Cited by examiner, † Cited by third party
Publication number Priority date Publication date Assignee Title
JPS61605Y2 (ja) * 1982-09-16 1986-01-10
JPS61160658A (ja) * 1984-11-15 1986-07-21 ヴアレオ 輪心のまわりにシ−ルリングのついた変速機用動輪
JPH037568U (ja) * 1990-06-19 1991-01-24
JPH0658393A (ja) * 1992-04-10 1994-03-01 Borg Warner Automot Diversified Transmission Prod Corp トルク伝動装置

Patent Citations (4)

* Cited by examiner, † Cited by third party
Publication number Priority date Publication date Assignee Title
JPS61605Y2 (ja) * 1982-09-16 1986-01-10
JPS61160658A (ja) * 1984-11-15 1986-07-21 ヴアレオ 輪心のまわりにシ−ルリングのついた変速機用動輪
JPH037568U (ja) * 1990-06-19 1991-01-24
JPH0658393A (ja) * 1992-04-10 1994-03-01 Borg Warner Automot Diversified Transmission Prod Corp トルク伝動装置

Cited By (7)

* Cited by examiner, † Cited by third party
Publication number Priority date Publication date Assignee Title
JP2013122274A (ja) * 2011-12-09 2013-06-20 Kanzaki Kokyukoki Manufacturing Co Ltd プーリー式無段変速機構
WO2015146616A1 (ja) * 2014-03-24 2015-10-01 ジヤトコ株式会社 シール機構付き車両用無段変速機
JP2015183754A (ja) * 2014-03-24 2015-10-22 ジヤトコ株式会社 シール機構付き車両用無段変速機
KR101836024B1 (ko) 2014-03-24 2018-03-07 쟈트코 가부시키가이샤 시일 기구가 구비된 차량용 무단 변속기
US9970516B2 (en) 2014-03-24 2018-05-15 Jatco Ltd Vehicle continuously variable transmission equipped with seal mechanism
EP4582719A1 (en) * 2024-01-02 2025-07-09 Polaris Industries Inc. Driven clutch for continuously variable transmission
US12612956B2 (en) 2024-01-02 2026-04-28 Polaris Industries Inc. Driven clutch for continuously variable transmission

Also Published As

Publication number Publication date
JP4511230B2 (ja) 2010-07-28

Similar Documents

Publication Publication Date Title
KR102175892B1 (ko) 실크햇형 파동기어장치
WO2012014069A1 (en) Roller bearing with seal integral with cage and camshaft apparatus having such a roller bearing
US7909140B2 (en) Lubricating structure of planetary gear mechanism
JP4511230B2 (ja) 可変プーリ装置
JPH08178004A (ja) Vベルト式自動変速装置
FR2903468A1 (fr) Amortisseur d'oscillation de torsion.
JP2005291403A (ja) 可変プーリ装置
JP2005291401A (ja) 可変プーリ装置
JP3472003B2 (ja) クラッチ内蔵形回転部品
JPH10103390A (ja) クラッチ内蔵形回転部品
JP4306032B2 (ja) オルタネータ用一方向クラッチ内蔵型プーリ装置
US20230009118A1 (en) Oil passage structure
JP2007218414A (ja) ベルト式自動変速機の軸受シール構造
JPS622349Y2 (ja)
JP2020063785A (ja) ダンパ装置
JPH11148549A5 (ja)
JP2000291785A (ja) オルタネータ用一方向クラッチ内蔵型プーリ装置
JP2001208154A (ja) クラッチ機構付摩擦ローラ式変速機
JPS60252858A (ja) Vベルト無段変速機
JP4513246B2 (ja) 摩擦ローラ式変速機及び原動機付摩擦ローラ式変速機
JP2005009583A (ja) 一方向クラッチ内蔵型プーリ装置
JPH1113848A (ja) 摩擦ローラ式変速機
JP2000320578A (ja) オルタネータ用一方向クラッチ内蔵型プーリ装置
JP2002372133A (ja) オイル供給機構
JPH07317808A (ja) ワンウェイクラッチ複合軸受

Legal Events

Date Code Title Description
A621 Written request for application examination

Free format text: JAPANESE INTERMEDIATE CODE: A621

Effective date: 20061017

A131 Notification of reasons for refusal

Free format text: JAPANESE INTERMEDIATE CODE: A131

Effective date: 20091124

A521 Written amendment

Free format text: JAPANESE INTERMEDIATE CODE: A523

Effective date: 20100125

TRDD Decision of grant or rejection written
A01 Written decision to grant a patent or to grant a registration (utility model)

Free format text: JAPANESE INTERMEDIATE CODE: A01

Effective date: 20100413

A01 Written decision to grant a patent or to grant a registration (utility model)

Free format text: JAPANESE INTERMEDIATE CODE: A01

A61 First payment of annual fees (during grant procedure)

Free format text: JAPANESE INTERMEDIATE CODE: A61

Effective date: 20100506

FPAY Renewal fee payment (event date is renewal date of database)

Free format text: PAYMENT UNTIL: 20130514

Year of fee payment: 3

R150 Certificate of patent or registration of utility model

Free format text: JAPANESE INTERMEDIATE CODE: R150

FPAY Renewal fee payment (event date is renewal date of database)

Free format text: PAYMENT UNTIL: 20140514

Year of fee payment: 4

R250 Receipt of annual fees

Free format text: JAPANESE INTERMEDIATE CODE: R250

LAPS Cancellation because of no payment of annual fees