JP2005291286A - ガス栓における防水構造 - Google Patents
ガス栓における防水構造 Download PDFInfo
- Publication number
- JP2005291286A JP2005291286A JP2004104620A JP2004104620A JP2005291286A JP 2005291286 A JP2005291286 A JP 2005291286A JP 2004104620 A JP2004104620 A JP 2004104620A JP 2004104620 A JP2004104620 A JP 2004104620A JP 2005291286 A JP2005291286 A JP 2005291286A
- Authority
- JP
- Japan
- Prior art keywords
- handle
- waterproof packing
- main body
- contact surface
- waterproofing
- Prior art date
- Legal status (The legal status is an assumption and is not a legal conclusion. Google has not performed a legal analysis and makes no representation as to the accuracy of the status listed.)
- Pending
Links
- 238000004078 waterproofing Methods 0.000 title claims abstract 11
- 238000012856 packing Methods 0.000 claims abstract description 56
- 230000002093 peripheral effect Effects 0.000 claims description 19
- 239000002184 metal Substances 0.000 description 3
- 239000012141 concentrate Substances 0.000 description 2
- 239000012530 fluid Substances 0.000 description 2
- 230000000694 effects Effects 0.000 description 1
- 229920003002 synthetic resin Polymers 0.000 description 1
- 239000000057 synthetic resin Substances 0.000 description 1
Images
Landscapes
- Taps Or Cocks (AREA)
- Details Of Valves (AREA)
Abstract
【技術課題】 密着力が高く、経年的に密着力が低下せず、ハンドルの回転トルクにも影響しないガス栓における防水構造を提供する。
【解決手段】 ガス栓本体1のハンドル取付口4の外側に断面L型の防水パッキン装着部9を形成すると共に、ハンドル本体11の鍔部12の下端内縁に防水パッキン圧接面17を形成する。防水パッキン20には内周垂直密着面21と底部水平密着面22を形成し、この外側には円弧状密着面23を形成すると共に、肉厚内に空洞24を形成する。この防水パッキン20をガス栓本体1の防水パッキン装着部9に装着し、ハンドル本体11側の防水パッキン圧接面17を防水パッキン20の円弧状密着面23に圧接させる。
このような防水構造とすることにより、密着力が高く、この密着力は経年的に低下せず、ハンドルの回転トルクが大きくなることもない。
【選択図】 図1
【解決手段】 ガス栓本体1のハンドル取付口4の外側に断面L型の防水パッキン装着部9を形成すると共に、ハンドル本体11の鍔部12の下端内縁に防水パッキン圧接面17を形成する。防水パッキン20には内周垂直密着面21と底部水平密着面22を形成し、この外側には円弧状密着面23を形成すると共に、肉厚内に空洞24を形成する。この防水パッキン20をガス栓本体1の防水パッキン装着部9に装着し、ハンドル本体11側の防水パッキン圧接面17を防水パッキン20の円弧状密着面23に圧接させる。
このような防水構造とすることにより、密着力が高く、この密着力は経年的に低下せず、ハンドルの回転トルクが大きくなることもない。
【選択図】 図1
Description
本発明は、ガス配管、あるいはガス機器に取り付けて用いられるガス栓の防水構造に関する。
通常のガス栓は、ガス栓本体内に組み込まれた閉子(栓)をハンドルで開閉する構造となっている。そして、閉子をガス栓本体内に組み込んだり、この閉子とハンドルを連結するために、ガス栓本体にはハンドル取付口が形成されている。
このようなガス栓の場合、通常はガス栓本体のハンドル取付口とハンドル間はメタルタッチの部分が一部に在るだけで、防水構造ではないことから、内部に水や埃等が侵入してトラブルの原因となることがある。
そこで、ガス栓本体とハンドル間に防水パッキンを装着する提案がある。
実開昭60−37672号公報 この特許文献(実用新案公開公報)1に開示されているガス栓の防水構造は、流体出入口を両側に有しかつテーパ状の摺動面を有する本体に、通過孔を有しかつ前記本体のテーパ状の摺動面に合致するテーパ状の摺動面を有する栓を装着すると共に、スプリングを介して前記栓を押圧しつつ回転を栓に伝達するハンドルを前記本体に接続し、該ハンドルの回動を所定の角度に規制して流体の流路を開閉するコックにおいて、前記本体とハンドルのツバ部との間に間隔を設け、該間隔に合成樹脂等の弾性体から成る横断面V形のガスケットを装着したことを特徴とするものである。
このようなガス栓の場合、通常はガス栓本体のハンドル取付口とハンドル間はメタルタッチの部分が一部に在るだけで、防水構造ではないことから、内部に水や埃等が侵入してトラブルの原因となることがある。
そこで、ガス栓本体とハンドル間に防水パッキンを装着する提案がある。
しかし、上記特許文献1に開示されたガス栓(ガスコック)の防水構造においては、次のような欠点がある。
1.弾性体から成るガスケットを断面V型に形成しているため、このガスケットは、装着 された状態ではV型が圧縮された状態に変形している。
このため、V型の基部に応力が集中し、経年的にこの基部に疲労が集中して弾性力が 低下し、密着力が低下する。
2.ガスケットは、V型をしているため、密着力は基部の弾性力で決ってしまう。
このため、密着力には限界があることから、この特許文献1では、金属割リングをV 型の間に挟み込んでいる。しかし、このように金属割リングを挟み込んだ場合、ガスケ ットの柔軟性が大きく制限を受けてしまい、ハンドルの回転トルクが大きくなり、使い 勝手が悪くなる。
3.V型のガスケットの場合、密着点は、ハンドル側においては1点、ガス栓本体側にお いては2点だけであり、特にハンドル側の密着点が1点にすぎないことから、シール性 能としてはそれ程高くない。
1.弾性体から成るガスケットを断面V型に形成しているため、このガスケットは、装着 された状態ではV型が圧縮された状態に変形している。
このため、V型の基部に応力が集中し、経年的にこの基部に疲労が集中して弾性力が 低下し、密着力が低下する。
2.ガスケットは、V型をしているため、密着力は基部の弾性力で決ってしまう。
このため、密着力には限界があることから、この特許文献1では、金属割リングをV 型の間に挟み込んでいる。しかし、このように金属割リングを挟み込んだ場合、ガスケ ットの柔軟性が大きく制限を受けてしまい、ハンドルの回転トルクが大きくなり、使い 勝手が悪くなる。
3.V型のガスケットの場合、密着点は、ハンドル側においては1点、ガス栓本体側にお いては2点だけであり、特にハンドル側の密着点が1点にすぎないことから、シール性 能としてはそれ程高くない。
本発明は、上記した特許文献1に記載のガス栓における防水構造を改善することが目的であって、第1の目的は、密着力が高く、経年的にこの密着力が低下しないガス栓における防水構造を提供することである。
更に、第2の目的は、防水パッキン自体の弾性力を大きく、然も弾性力に幅を持たせることにより、密着力を高めてもハンドルの回転トルクがそれ程大きくならないガス栓における防水構造を提供することである。
更に、第3の目的は、防水パッキンの弾性力で密着力を高めながら、密着面積が大きくなるように防水パッキンの形状とガス栓本体側の防水パッキン装着部の形状及びハンドル側の形状に工夫を凝らしたガス栓における防水構造を提供することである。
更に、第2の目的は、防水パッキン自体の弾性力を大きく、然も弾性力に幅を持たせることにより、密着力を高めてもハンドルの回転トルクがそれ程大きくならないガス栓における防水構造を提供することである。
更に、第3の目的は、防水パッキンの弾性力で密着力を高めながら、密着面積が大きくなるように防水パッキンの形状とガス栓本体側の防水パッキン装着部の形状及びハンドル側の形状に工夫を凝らしたガス栓における防水構造を提供することである。
上記目的を達成するため、請求項1に記載の発明においては、ガス栓の防水構造において、ガス栓本体のハンドル取付口の外周面に垂直壁と水平壁から成る断面L型の防水パッキン装着部を形成したこと、前記ガス栓本体のハンドル取付口の外側に鍔部を被せるようにして取り付けられるハンドル本体側においては、前記ガス栓本体の外周面とハンドル本体の鍔部の内周面との間に隙間を形成し、且つ前記鍔部の下端面と内周面とが交わる角の部分には防水パッキン圧接面を形成したこと、前記ガス栓本体の防水パッキン装着部とハンドル本体側の鍔部に形成した防水パッキン圧接面との間に装着される防水パッキンは、防水パッキン装着部の垂直壁と水平壁に夫々密着する内周垂直密着面と底部水平密着面が内周面と底面に形成されていると共に、前記内周垂直密着面と底部水平密着面の外側には、前記防水パッキン圧接面に密着する円弧状密着面が形成され、更に肉厚内には、密閉された空洞が形成されていること、を特徴とするものである。
更に、請求項2に記載の発明においては、請求項1に記載の防水パッキン圧接面は、その断面形状が平面又は凹状の曲面であること、を特徴とするものである。
本発明では、ガス栓本体側のハンドル取付口の外周面に、垂直壁と水平壁から成る防水パッキン装着部を形成し、防水パッキン側には、前記垂直壁と水平壁に夫々密着する内周垂直密着面と底部水平密着面を形成したことにより、防水パッキンに圧縮力が作用すると、ガス栓本体と防水パッキンは2面で密着する。
一方、ハンドル本体側においては、防水パッキン側の円弧状密着面に対して防水パッキン圧接面で密着することから、密着面積が大きくなる。
この結果、防水効果が従来のV状ガスケットに比較して高くなる。
一方、ハンドル本体側においては、防水パッキン側の円弧状密着面に対して防水パッキン圧接面で密着することから、密着面積が大きくなる。
この結果、防水効果が従来のV状ガスケットに比較して高くなる。
また、本発明の防水パッキンは、肉厚の内部に空洞を形成し、この空洞は密閉されていることから、弾性力及び変形性が大きく、応力が一部分に集中せず、分散されているため、経年的に弾性力が低下しない。
また、本発明の防水パッキンは、空洞による変形量が大きいにも拘らず、この空洞は密閉されているため、この空洞がエアークッションとして作用する。この結果、密着力を高い水準に維持しても、ハンドルの回転トルクは大きくならないで済む。
また、本発明の防水パッキンは、空洞による変形量が大きいにも拘らず、この空洞は密閉されているため、この空洞がエアークッションとして作用する。この結果、密着力を高い水準に維持しても、ハンドルの回転トルクは大きくならないで済む。
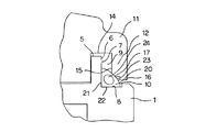
図1は本発明を実施したガス栓の断面図、図2は要部の断面図、図3は防水パッキンの平面図、図4は側面図、図5はA−A線断面図、図6は防水パッキンの一部拡大断面図である。
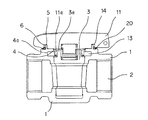
図1及び図2において、符号の1はガス栓本体であって、このガス栓本体1内には、水平方向にガス流路2が形成されていると共に、このガス流路2に直交するように閉子3が組み込まれている。4はガス栓本体1において、前記閉子3を組み込むためのハンドル取付口であって、このハンドル取付口4の上縁5の外周面6には、垂直壁7と水平壁8から成る断面L型の防水パッキン装着部9が形成されている。10はガス栓本体1において、前記防水パッキン装着部9の水平壁8の外側に形成された防水パッキン脱落防止用の段部である。
図1及び図2において、符号の1はガス栓本体であって、このガス栓本体1内には、水平方向にガス流路2が形成されていると共に、このガス流路2に直交するように閉子3が組み込まれている。4はガス栓本体1において、前記閉子3を組み込むためのハンドル取付口であって、このハンドル取付口4の上縁5の外周面6には、垂直壁7と水平壁8から成る断面L型の防水パッキン装着部9が形成されている。10はガス栓本体1において、前記防水パッキン装着部9の水平壁8の外側に形成された防水パッキン脱落防止用の段部である。
11はハンドル本体であって、このハンドル本体11の下部には、前記ガス栓本体1の外側に被る鍔部12が形成されていると共に、下面中央部分には、前記閉子3に形成した回転軸3aが係合する係合部11aが形成されている。更に、前記ハンドル取付口4の内周面に形成した円周回転溝4aと係合してハンドル本体11の回転を誘導する係合鍔13が形成されている。更に、ハンドル本体11の下面には、前記ハンドル取付口4の上縁5が収まる円周溝14が形成され、この円周溝14の外側の内周面15と下端面16とが交わる部分には、平面形状の防水パッキン圧接面17が形成されている。
20は防水パッキンであって、この防水パッキン20は、図3〜図6に示すように、内周に内周垂直密着面21を形成し、底部に底部水平密着面22を形成すると共に、この内周垂直密着面21と底部水平密着面22の外側に円弧状密着面23を形成し、更に内部に密閉された空洞24を形成した構成である。
20は防水パッキンであって、この防水パッキン20は、図3〜図6に示すように、内周に内周垂直密着面21を形成し、底部に底部水平密着面22を形成すると共に、この内周垂直密着面21と底部水平密着面22の外側に円弧状密着面23を形成し、更に内部に密閉された空洞24を形成した構成である。
上記構成の防水パッキン20は、図1及び図2に示すように、ガス栓本体1側に形成した防水パッキン装着部9の垂直壁7に内周垂直密着面21が密着し、水平壁8に底部水平密着面22が密着するようにして装着され、ハンドル本体11側の防水パッキン圧接面17は、防水パッキン20の円弧状密着面23に外側から圧接する。
この状態は、図2に良く示されていて、防水パッキン20の円弧状密着面23は、少しへこむように変形し、空洞24は楕円形に変形している。
なお、本実施例において、ハンドル本体11側の防水パッキン圧接面17は平面となっているが、凹曲面であっても良い。また、空洞24の断面形状は真円又は楕円形状が好ましいが、その他の形状であってもよい。
この状態は、図2に良く示されていて、防水パッキン20の円弧状密着面23は、少しへこむように変形し、空洞24は楕円形に変形している。
なお、本実施例において、ハンドル本体11側の防水パッキン圧接面17は平面となっているが、凹曲面であっても良い。また、空洞24の断面形状は真円又は楕円形状が好ましいが、その他の形状であってもよい。
1 ガス栓本体
9 防水パッキン装着部
11 ハンドル本体
17 防水パッキン圧接面
20 防水パッキン
21 内周垂直密着面
22 底部水平密着面
23 円弧状密着面
24 空洞
9 防水パッキン装着部
11 ハンドル本体
17 防水パッキン圧接面
20 防水パッキン
21 内周垂直密着面
22 底部水平密着面
23 円弧状密着面
24 空洞
Claims (2)
- ガス栓本体のハンドル取付口の外周面に垂直壁と水平壁から成る断面L型の防水パッキン装着部を形成したこと、前記ガス栓本体のハンドル取付口の外側に鍔部を被せるようにして取り付けられるハンドル本体側においては、前記ガス栓本体の外周面とハンドル本体の鍔部の内周面との間に隙間を形成し、且つ前記鍔部の下端面と内周面とが交わる角の部分には防水パッキン圧接面を形成したこと、前記ガス栓本体の防水パッキン装着部とハンドル本体側の鍔部に形成した防水パッキン圧接面との間に装着される防水パッキンは、防水パッキン装着部の垂直壁と水平壁に夫々密着する内周垂直密着面と底部水平密着面が内周面と底面に形成されていると共に、前記内周垂直密着面と底部水平密着面の外側には、前記防水パッキン圧接面に密着する円弧状密着面が形成され、更に肉厚内には、密閉された空洞が形成されていること、を特徴とするガス栓の防水構造。
- 請求項1に記載の防水パッキン圧接面は、その断面形状が平面又は凹状の曲面であること、を特徴とするガス栓の防水構造。
Priority Applications (1)
| Application Number | Priority Date | Filing Date | Title |
|---|---|---|---|
| JP2004104620A JP2005291286A (ja) | 2004-03-31 | 2004-03-31 | ガス栓における防水構造 |
Applications Claiming Priority (1)
| Application Number | Priority Date | Filing Date | Title |
|---|---|---|---|
| JP2004104620A JP2005291286A (ja) | 2004-03-31 | 2004-03-31 | ガス栓における防水構造 |
Publications (1)
| Publication Number | Publication Date |
|---|---|
| JP2005291286A true JP2005291286A (ja) | 2005-10-20 |
Family
ID=35324457
Family Applications (1)
| Application Number | Title | Priority Date | Filing Date |
|---|---|---|---|
| JP2004104620A Pending JP2005291286A (ja) | 2004-03-31 | 2004-03-31 | ガス栓における防水構造 |
Country Status (1)
| Country | Link |
|---|---|
| JP (1) | JP2005291286A (ja) |
-
2004
- 2004-03-31 JP JP2004104620A patent/JP2005291286A/ja active Pending
Similar Documents
| Publication | Publication Date | Title |
|---|---|---|
| JP4978320B2 (ja) | バルブ及び弁構造 | |
| JP4017509B2 (ja) | ミシン用ガスケット及びそれを使用したミシン | |
| MX2007012934A (es) | Valvula con sello de doble carga. | |
| JP2024001893A5 (ja) | ||
| JP2005291286A (ja) | ガス栓における防水構造 | |
| JP4545473B2 (ja) | ガス栓における防水構造 | |
| US6533241B1 (en) | Retaining piece of a ball valve | |
| JP5156675B2 (ja) | ガスコンロ | |
| JPS62266272A (ja) | ステム先端シ−ル | |
| JP5612910B2 (ja) | クラッチ操作装置の脈動ダンパ | |
| CN203686129U (zh) | 发动机用钢丝环结构金属气缸垫 | |
| JP6877240B2 (ja) | 逆止め弁 | |
| JP2565484B2 (ja) | バルブハンドル用キャップ | |
| JP4677283B2 (ja) | ヘッドカバーガスケットの位置決め構造 | |
| JP3001337U (ja) | 携帯用ガス器具の口金ガスケット | |
| JP4746528B2 (ja) | ガスケット | |
| JP7220830B1 (ja) | ダイヤフラム弁 | |
| CN215410352U (zh) | 三通球阀结构 | |
| US5454546A (en) | Water faucet mechanism | |
| CN214534599U (zh) | 一片式高平台半球球阀 | |
| JP2006057736A (ja) | オイルシール | |
| KR101975897B1 (ko) | 기밀성이 강화된 볼 밸브 | |
| JP2007024058A (ja) | バタフライバルブ | |
| JPH0449422Y2 (ja) | ||
| KR100294111B1 (ko) | 플러그밸브 |
Legal Events
| Date | Code | Title | Description |
|---|---|---|---|
| A711 | Notification of change in applicant |
Free format text: JAPANESE INTERMEDIATE CODE: A711 Effective date: 20050831 |