JP2005291071A - 排気ガス浄化システムおよび排気ガス浄化方法 - Google Patents
排気ガス浄化システムおよび排気ガス浄化方法 Download PDFInfo
- Publication number
- JP2005291071A JP2005291071A JP2004106440A JP2004106440A JP2005291071A JP 2005291071 A JP2005291071 A JP 2005291071A JP 2004106440 A JP2004106440 A JP 2004106440A JP 2004106440 A JP2004106440 A JP 2004106440A JP 2005291071 A JP2005291071 A JP 2005291071A
- Authority
- JP
- Japan
- Prior art keywords
- exhaust gas
- plasma
- nox
- gas purification
- catalyst
- Prior art date
- Legal status (The legal status is an assumption and is not a legal conclusion. Google has not performed a legal analysis and makes no representation as to the accuracy of the status listed.)
- Pending
Links
Images
Classifications
-
- F—MECHANICAL ENGINEERING; LIGHTING; HEATING; WEAPONS; BLASTING
- F01—MACHINES OR ENGINES IN GENERAL; ENGINE PLANTS IN GENERAL; STEAM ENGINES
- F01N—GAS-FLOW SILENCERS OR EXHAUST APPARATUS FOR MACHINES OR ENGINES IN GENERAL; GAS-FLOW SILENCERS OR EXHAUST APPARATUS FOR INTERNAL-COMBUSTION ENGINES
- F01N3/00—Exhaust or silencing apparatus having means for purifying, rendering innocuous, or otherwise treating exhaust
- F01N3/08—Exhaust or silencing apparatus having means for purifying, rendering innocuous, or otherwise treating exhaust for rendering innocuous
- F01N3/10—Exhaust or silencing apparatus having means for purifying, rendering innocuous, or otherwise treating exhaust for rendering innocuous by thermal or catalytic conversion of noxious components of exhaust
- F01N3/24—Exhaust or silencing apparatus having means for purifying, rendering innocuous, or otherwise treating exhaust for rendering innocuous by thermal or catalytic conversion of noxious components of exhaust characterised by constructional aspects of converting apparatus
- F01N3/28—Construction of catalytic reactors
- F01N3/2803—Construction of catalytic reactors characterised by structure, by material or by manufacturing of catalyst support
- F01N3/2825—Ceramics
- F01N3/2828—Ceramic multi-channel monoliths, e.g. honeycombs
-
- F—MECHANICAL ENGINEERING; LIGHTING; HEATING; WEAPONS; BLASTING
- F01—MACHINES OR ENGINES IN GENERAL; ENGINE PLANTS IN GENERAL; STEAM ENGINES
- F01N—GAS-FLOW SILENCERS OR EXHAUST APPARATUS FOR MACHINES OR ENGINES IN GENERAL; GAS-FLOW SILENCERS OR EXHAUST APPARATUS FOR INTERNAL-COMBUSTION ENGINES
- F01N13/00—Exhaust or silencing apparatus characterised by constructional features
- F01N13/009—Exhaust or silencing apparatus characterised by constructional features having two or more separate purifying devices arranged in series
-
- F—MECHANICAL ENGINEERING; LIGHTING; HEATING; WEAPONS; BLASTING
- F01—MACHINES OR ENGINES IN GENERAL; ENGINE PLANTS IN GENERAL; STEAM ENGINES
- F01N—GAS-FLOW SILENCERS OR EXHAUST APPARATUS FOR MACHINES OR ENGINES IN GENERAL; GAS-FLOW SILENCERS OR EXHAUST APPARATUS FOR INTERNAL-COMBUSTION ENGINES
- F01N3/00—Exhaust or silencing apparatus having means for purifying, rendering innocuous, or otherwise treating exhaust
- F01N3/08—Exhaust or silencing apparatus having means for purifying, rendering innocuous, or otherwise treating exhaust for rendering innocuous
- F01N3/0807—Exhaust or silencing apparatus having means for purifying, rendering innocuous, or otherwise treating exhaust for rendering innocuous by using absorbents or adsorbents
- F01N3/0814—Exhaust or silencing apparatus having means for purifying, rendering innocuous, or otherwise treating exhaust for rendering innocuous by using absorbents or adsorbents combined with catalytic converters, e.g. NOx absorption/storage reduction catalysts
-
- F—MECHANICAL ENGINEERING; LIGHTING; HEATING; WEAPONS; BLASTING
- F01—MACHINES OR ENGINES IN GENERAL; ENGINE PLANTS IN GENERAL; STEAM ENGINES
- F01N—GAS-FLOW SILENCERS OR EXHAUST APPARATUS FOR MACHINES OR ENGINES IN GENERAL; GAS-FLOW SILENCERS OR EXHAUST APPARATUS FOR INTERNAL-COMBUSTION ENGINES
- F01N3/00—Exhaust or silencing apparatus having means for purifying, rendering innocuous, or otherwise treating exhaust
- F01N3/08—Exhaust or silencing apparatus having means for purifying, rendering innocuous, or otherwise treating exhaust for rendering innocuous
- F01N3/0807—Exhaust or silencing apparatus having means for purifying, rendering innocuous, or otherwise treating exhaust for rendering innocuous by using absorbents or adsorbents
- F01N3/0828—Exhaust or silencing apparatus having means for purifying, rendering innocuous, or otherwise treating exhaust for rendering innocuous by using absorbents or adsorbents characterised by the absorbed or adsorbed substances
- F01N3/0842—Nitrogen oxides
-
- F—MECHANICAL ENGINEERING; LIGHTING; HEATING; WEAPONS; BLASTING
- F01—MACHINES OR ENGINES IN GENERAL; ENGINE PLANTS IN GENERAL; STEAM ENGINES
- F01N—GAS-FLOW SILENCERS OR EXHAUST APPARATUS FOR MACHINES OR ENGINES IN GENERAL; GAS-FLOW SILENCERS OR EXHAUST APPARATUS FOR INTERNAL-COMBUSTION ENGINES
- F01N3/00—Exhaust or silencing apparatus having means for purifying, rendering innocuous, or otherwise treating exhaust
- F01N3/08—Exhaust or silencing apparatus having means for purifying, rendering innocuous, or otherwise treating exhaust for rendering innocuous
- F01N3/0892—Electric or magnetic treatment, e.g. dissociation of noxious components
-
- F—MECHANICAL ENGINEERING; LIGHTING; HEATING; WEAPONS; BLASTING
- F01—MACHINES OR ENGINES IN GENERAL; ENGINE PLANTS IN GENERAL; STEAM ENGINES
- F01N—GAS-FLOW SILENCERS OR EXHAUST APPARATUS FOR MACHINES OR ENGINES IN GENERAL; GAS-FLOW SILENCERS OR EXHAUST APPARATUS FOR INTERNAL-COMBUSTION ENGINES
- F01N3/00—Exhaust or silencing apparatus having means for purifying, rendering innocuous, or otherwise treating exhaust
- F01N3/08—Exhaust or silencing apparatus having means for purifying, rendering innocuous, or otherwise treating exhaust for rendering innocuous
- F01N3/10—Exhaust or silencing apparatus having means for purifying, rendering innocuous, or otherwise treating exhaust for rendering innocuous by thermal or catalytic conversion of noxious components of exhaust
- F01N3/105—General auxiliary catalysts, e.g. upstream or downstream of the main catalyst
- F01N3/106—Auxiliary oxidation catalysts
-
- F—MECHANICAL ENGINEERING; LIGHTING; HEATING; WEAPONS; BLASTING
- F01—MACHINES OR ENGINES IN GENERAL; ENGINE PLANTS IN GENERAL; STEAM ENGINES
- F01N—GAS-FLOW SILENCERS OR EXHAUST APPARATUS FOR MACHINES OR ENGINES IN GENERAL; GAS-FLOW SILENCERS OR EXHAUST APPARATUS FOR INTERNAL-COMBUSTION ENGINES
- F01N2240/00—Combination or association of two or more different exhaust treating devices, or of at least one such device with an auxiliary device, not covered by indexing codes F01N2230/00 or F01N2250/00, one of the devices being
- F01N2240/28—Combination or association of two or more different exhaust treating devices, or of at least one such device with an auxiliary device, not covered by indexing codes F01N2230/00 or F01N2250/00, one of the devices being a plasma reactor
-
- F—MECHANICAL ENGINEERING; LIGHTING; HEATING; WEAPONS; BLASTING
- F01—MACHINES OR ENGINES IN GENERAL; ENGINE PLANTS IN GENERAL; STEAM ENGINES
- F01N—GAS-FLOW SILENCERS OR EXHAUST APPARATUS FOR MACHINES OR ENGINES IN GENERAL; GAS-FLOW SILENCERS OR EXHAUST APPARATUS FOR INTERNAL-COMBUSTION ENGINES
- F01N2390/00—Arrangements for controlling or regulating exhaust apparatus
-
- F—MECHANICAL ENGINEERING; LIGHTING; HEATING; WEAPONS; BLASTING
- F01—MACHINES OR ENGINES IN GENERAL; ENGINE PLANTS IN GENERAL; STEAM ENGINES
- F01N—GAS-FLOW SILENCERS OR EXHAUST APPARATUS FOR MACHINES OR ENGINES IN GENERAL; GAS-FLOW SILENCERS OR EXHAUST APPARATUS FOR INTERNAL-COMBUSTION ENGINES
- F01N2610/00—Adding substances to exhaust gases
- F01N2610/03—Adding substances to exhaust gases the substance being hydrocarbons, e.g. engine fuel
-
- Y—GENERAL TAGGING OF NEW TECHNOLOGICAL DEVELOPMENTS; GENERAL TAGGING OF CROSS-SECTIONAL TECHNOLOGIES SPANNING OVER SEVERAL SECTIONS OF THE IPC; TECHNICAL SUBJECTS COVERED BY FORMER USPC CROSS-REFERENCE ART COLLECTIONS [XRACs] AND DIGESTS
- Y02—TECHNOLOGIES OR APPLICATIONS FOR MITIGATION OR ADAPTATION AGAINST CLIMATE CHANGE
- Y02T—CLIMATE CHANGE MITIGATION TECHNOLOGIES RELATED TO TRANSPORTATION
- Y02T10/00—Road transport of goods or passengers
- Y02T10/10—Internal combustion engine [ICE] based vehicles
- Y02T10/12—Improving ICE efficiencies
Landscapes
- Engineering & Computer Science (AREA)
- Chemical & Material Sciences (AREA)
- Chemical Kinetics & Catalysis (AREA)
- Combustion & Propulsion (AREA)
- Mechanical Engineering (AREA)
- General Engineering & Computer Science (AREA)
- Health & Medical Sciences (AREA)
- Toxicology (AREA)
- Ceramic Engineering (AREA)
- Materials Engineering (AREA)
- Exhaust Gas After Treatment (AREA)
- Exhaust Gas Treatment By Means Of Catalyst (AREA)
- Processes For Solid Components From Exhaust (AREA)
- Treating Waste Gases (AREA)
Abstract
【解決手段】 排気ガスが流通する上流側から下流側に向かって、プラズマにより、第1プラズマ励起種を発生させる第1プラズマ発生ユニット10と、第2プラズマ励起種を発生させる第2プラズマ発生ユニット20と、NOx吸着触媒ユニット30と、NOx選択還元触媒ユニット40と、最下流の酸化触媒ユニット50と、還元剤添加手段60と、ECU70を備え、第1プラズマ発生ユニット10のプラズマ空間電力密度は、0.8W/cm3以上であり、第2プラズマ発生ユニット20のプラズマ空間電力密度は、0.4〜9.5W/cm3であり、粒子状物質およびNOxを連続的に浄化する排気ガス浄化システムS1である。
【選択図】 図1
Description
そして、DPFが所定量のPMを捕集したとき、例えばエンジンを所定に制御して排気ガス温度を上昇させ、前記捕集したPMを燃焼させることによって、DPFの再生を行っている。
一方、第2プラズマ励起種はプラズマ発生ユニットの下流側で発生しやすくなる。そして、第2プラズマ励起種がNOxと作用してNO2などに変換し、NO2は排気ガス浄化触媒により浄化される。
なお、このように第1プラズマ励起種の発生率が上流側で、第2プラズマ励起種の発生率が下流側で高くなるように構成するためには、例えば、プラズマを発生させる電極の数、大きさ、間隔、印加する電圧などを、上流側から下流側に流通する排気ガスの流れに対して、連続的、段階的に変化させて、プラズマ空間密度が、下流に向かうにつれ低くなるように構成するなどが挙げられる。
また、一般に、NOxをNO2などに変換するには、PMの浄化に対して、高いプラズマ空間電力密度を必要としないため、第2プラズマ発生ユニットにおけるプラズマ空間電力密度が、第1プラズマ発生ユニットのプラズマ空間電力密度以下に設定された場合には、PMが浄化された排気ガスが流通する第2プラズマ発生ユニットにおいて、プラズマを発生させるために、無駄なく電力を消費することができる。
また、還元剤添加手段により、第2プラズマ発生ユニットの上流側で、還元剤を添加可能に構成し、例えば、還元剤としてHCを使用した場合には、第2プラズマ発生ユニットによる第2プラズマ励起種とHCとが作用して、アルデヒド種、含窒素酸化物炭化水素など反応性の高い物質が生成し、この物質は、NOx選択還元触媒にてNOxを高効率で分解するため、さらに好適に排気ガスを浄化することができる。
すなわち、請求項1および請求項10に係る発明によれば、プラズマ励起種により、PMおよびNOxを連続的に浄化することができる。
請求項2に係る発明によれば、粒子状物質がプラズマを発生させる電極に付着しにくくなり、耐久性が高くなる。
請求項3および請求項11に係る発明によれば、第1プラズマ励起種と第2プラズマ励起種を、別々により確実に発生させることができる。
請求項4に係る発明によれば、PMを高い浄化率で浄化し、NOxをNO2などに高い変換率で変換することができる。
請求項5に係る発明によれば、NOx選択還元触媒により、排気ガスを浄化することができる。
請求項6に係る発明によれば、NOxを一時的に吸着することができる。
請求項7に係る発明によれば、電力を節約し、第2プラズマ発生ユニットを無駄なく作動させることができる。
請求項8に係る発明によれば、無駄なく還元剤を添加することができる。
請求項9に係る発明によれば、酸化触媒によって、排気ガスをさらに酸化浄化することができる。
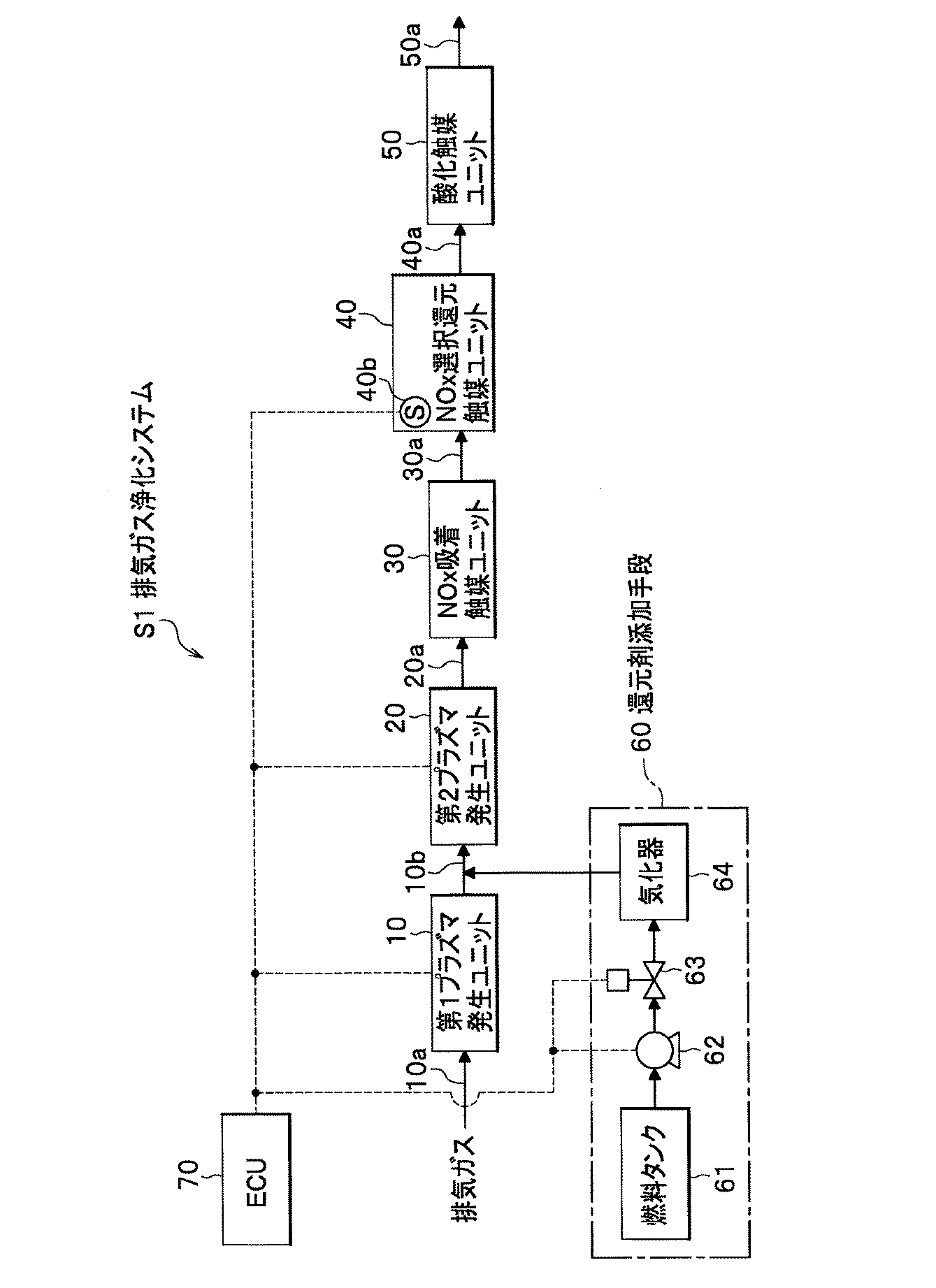
参照する図面において、図1は、本実施形態に係る排気ガス浄化システムの全体構成図である。図2は、図1に示すNOx吸着触媒ユニットに内蔵されたNOx吸着触媒ユニット本体の断面図である。
図1に示すように、本実施形態に係る排気ガス浄化システムS1は、エンジン(内燃機関)を有する車両に搭載されており、エンジンから排出される排気ガス中のPMおよびNOxを連続的に浄化するシステムである。
排気ガス浄化システムS1は、主として、排気ガス発生側(上流側)から排気側(下流側)に向かって、第1プラズマ発生ユニット10と、第2プラズマ発生ユニット20と、NOx吸着触媒ユニット30と、NOx選択還元触媒ユニット40(排気ガス浄化触媒ユニット)と、酸化触媒ユニット50とを備え、さらに、第1プラズマ発生ユニット10と第2プラズマ発生ユニット20の間(第2プラズマ発生ユニット上流側)で排気ガスに還元剤であるHCを添加する還元剤添加手段60と、制御ユニット70(以下、ECUという)を備えて構成されている。
第1プラズマ発生ユニット10は、前記エンジンから排出された排気ガスが流通する配管10aの下流側に接続している。また、第1プラズマ発生ユニット10は、ECU70と電気的に接続しており、ECU70は第1プラズマ発生ユニット10を作動を制御可能となっている。
第1プラズマ発生ユニット10は、プラズマを発生可能な電極板を内蔵し、プラズマにより、主としてPMに作用するO(酸素原子)励起種、OH(ハイドロオキサイド)励起種、OOH(パーハイドロオキサイド)励起種、などの第1プラズマ励起種を生成させるものである。詳細には、例えば、所定間隔に配置された電極板間に所定電圧を印加することでプラズマが発生し、これにより、電極板から飛び出した電子が、排気ガス中の分子に衝突することで、主として前記第1プラズマ励起種を生成可能となっている。そして、この第1プラズマ励起種は、高い酸化力を有するため、逐次、排気ガス中のPMと接触することによって、PMを酸化し浄化可能となっている。ここで、プラズマを発生させる形式は、本発明では特に限定はないが、例えば、コロナ放電形式、パルス放電方式、バリア放電方式などを採用することができる。
なお、プラズマ空間電力密度とは、プラズマを発生するにときに消費された電力を、プラズマが発生する空間の体積(以下、プラズマ空間体積)で除算した値である。プラズマ空間Sとは、例えば、後記実施例のように、プラズマを発生させる電極板112、112…を所定間隔で平行に配置された場合には(図4参照)、電極板112、112…間の空間の体積が相当する。そして、プラズマ空間電力密度が高いほど、プラズマ中に高いエネルギーを有する電子が存在していることを意味し、第1プラズマ励起種を効率的に生成可能であることを意味する。
第2プラズマ発生ユニット20は、第1プラズマ発生ユニット10の後段に配管10bを介して接続している。また、第2プラズマ発生ユニット20は、ECU70と電気的に接続しており、ECU70は第2プラズマ発生ユニット20の作動を制御可能となっている。
第2プラズマ発生ユニット20は、プラズマにより、主として、排気ガス中のNOx、還元剤添加手段60から添加されたHCに作用するO(酸素原子)励起種、OH(ハイドロオキサイド)励起種、OOH(パーハイドロオキサイド)励起種、NOx励起種などの第2プラズマ励起種を生成させるものである。これら第2プラズマ励起種のうち、主として、O励起種がO2(酸素)と反応し、O3(オゾン)が生成する。O3は、排気ガス中のNOxと直ちに反応し、NO2が生成可能となっている。また、O3は、燃料添加手段から添加されたHCと反応して、アセトアルデヒド(CH3CHO)などのアルデヒド種や、プラズマ中に存在するNOx励起種と反応して窒素酸化物を含む炭化水素(以下、含窒素酸化物炭化水素という)を生成可能となっている。
NOx吸着触媒ユニット30は、第2プラズマ発生ユニット20の後段に配管20aを介して接続されており、所定温度(NOx選択還元触媒の活性温度)以下ではNOxを一時的に吸着し、前記所定温度以上では吸着したNOxを放出するNOx吸着触媒を有している。
さらに説明すると、NOx吸着触媒ユニット30は、その内部に、排気ガスが流通する複数の細孔32aを有する支持体32を含むNOx吸着触媒ユニット本体31を備えている(図2参照)。NOx吸着触媒ユニット本体31は、支持体32と、支持体32の複数の細孔32aを取り囲む内壁面32bを覆うように層状で形成されたNOx吸着触媒33を有している。ここで、NOx吸着触媒33は、後記実施例で記載するように、支持体32をスラリ状のNOx吸着触媒スラリに含浸して製造されるため、ウォッシュコート(層)、と称されることもある。
また、NOx吸着触媒33としては、例えば、触媒活性物質として、アルカリ金属やアルカリ土類金属を担持した多孔質担体を使用することができる。多孔質担体としては、アルミナ、シリカ、シリカアルミナ、ゼオライト等が挙げられる。
図1に戻って説明を続ける。
NOx選択還元触媒ユニット40は、NOx吸着触媒ユニット30の後段に配管30aを介して接続されており、NOxを選択的に浄化するNOx選択還元触媒(排気ガス浄化触媒)を有している。
さらに説明すると、NOx選択還元触媒ユニット40は、NOx吸着触媒ユニット30と同様の構造であり、その内部にハニカム状のNOx選択還元触媒ユニット本体を内蔵している。このNOx選択還元触媒ユニット本体は、前記NOx吸着触媒に代えてNOx選択還元触媒を有している。NOx選択還元触媒は、例えば、触媒活性物質として、銀(Ag)を担持した多孔質担体を使用することができる。多孔質担体としては、アルミナ、シリカ、シリカアルミナ、ゼオライト等が挙げられる。また、銀に代えて酸点を有するゼオライト(例えば、モデルナイト)がアルミナに担持されたものを使用することができる。
また、NOx選択還元触媒ユニット40には、前記NOx選択還元触媒の温度を検出する温度センサ40bが内蔵されており、この温度センサ40bは電気的にECU70と接続している。したがって、ECU70は、温度センサ40bを介してNOx選択還元触媒の温度を監視することによって、NOx選択還元触媒の活性状態を把握可能となっている。
酸化触媒ユニット50は、NOx選択還元触媒ユニット40の後段に配管40aを介して接続されており、排気ガスを補助的に酸化浄化する酸化触媒を内蔵する。そして、酸化触媒ユニット50の下流側には、排気用の配管50aが設けられている。
さらに説明すると、酸化触媒ユニット50は、NOx吸着触媒ユニット30と同様の構造であり、その内部にハニカム状の酸化触媒ユニット本体を有している。この酸化触媒ユニット本体は、前記NOx吸着触媒に代えて、酸化触媒を有している。酸化触媒は、前記セシウム(Cs)に代えて、触媒活性物質として、例えば、白金(Pt)がベースのアルミナに担持されたものを使用することができる。
還元剤添加手段60は、第2プラズマ発生ユニット20の直上流側で、排気ガスに還元剤としてHCを添加する手段であり、本実施形態ではHCとして軽油、ガソリンなどの燃料を使用している。還元剤添加手段60は、下流側に向かって、燃料タンク61、燃料ポンプ62、流量調整弁63、気化器64と、これら機器を接続させる配管を備えて構成されている。燃料ポンプ62および流量調整弁63は、ECU70と電気的に接続しており、ECU70により制御可能となっている。また、気化器64自体は流通する排気ガスの熱により、所定に加熱され、燃料を気化可能となっている。したがって、ECU70により、燃料ポンプ62を適宜作動させ、流量調整弁63を所定の開度に制御することで、所定量のHCを排気ガスに添加可能となっている。
ECU70は、排気ガス浄化システムの動作を制御するものであり、CPU、ROM、I/Oなどから構成されている。ECU70は、第1プラズマ発生ユニット10と、第2プラズマ発生ユニット20と、温度センサ40bと、燃料ポンプ62と、流量調整弁63と電気的に接続している。なお、ECU70の機能は、次の動作の記載において詳細に説明する。
続いて、排気ガス浄化システムS1の動作とともに、本実施形態に係る排気ガス浄化方法について、図1を参照して説明する。
このうち、O励起種は酸素(O2)と反応し、オゾン(O3)が生成する。オゾン(O3)は、排気ガス中のNOxと直ちに反応し、NO2が生成する。また、O3は添加されたHCと反応して、アセトアルデヒド(CH3CHO)などのアルデヒド種や、NOx励起種と反応して含窒素酸化物炭化水素が生成する。なお、この工程が特許請求の範囲における第1B工程に相当する。
一方、ECU70は、エンジンの作動直後など排気ガスの温度が低く、温度センサ40bにより検出されたNOx選択還元触媒の温度が所定の活性温度より低い場合、第2プラズマ発生ユニット20を作動させない。これにより電力を節約することができる。
一方、排気ガスの温度が上昇し、NOx選択還元触媒の温度も上昇し、所定の触媒活性を有するとき、吸着したNOxを放出する。
なお、この工程が特許請求の範囲における第2工程に相当する。
(1−1)排気ガス浄化システムの構成
まず、実施例において使用した排気ガス浄化システムS2の構成について、図3を参照して説明する。
排気ガス浄化システムS2は、最上流側の排気ガス発生部200で発生した排気ガスを浄化するシステムであり、下流側に向かって、主として、第1プラズマ発生ユニット110と、第2プラズマ発生ユニット120と、NOx吸着触媒ユニット130と、NOx選択還元触媒ユニット140と、酸化触媒ユニット150と、排気ガス量を測定する最下位置の流量計161と、これら機器を接続させる配管110b、120a、130a、140a、150aを備えており、図示しない還元剤添加手段により、第1プラズマ発生ユニット110と第2プラズマ発生ユニット120の間で、排気ガスにHC(還元剤)を添加可能となっている。HCとしては、ノルマルデカン(n−C10H22)を使用した。また、第1プラズマ発生ユニット110を迂回するように、開閉弁V6を有する配管110dが設けられている。
次に、プラズマ発生ユニットについて説明する。
第1プラズマ発生ユニット110は、その内部に、図4に示す第1プラズマ発生ユニット本体111を内蔵している。なお、図4は第1プラズマ発生ユニット本体の構成を部分的に示す断面図である。
第1プラズマ発生ユニット本体111は、片面が誘電体113で被覆された金属製の電極板112、112…を同一の向きにて所定間隔(d1)で配置し、1枚おきに電極板112、112…を高電圧入力側に接続し、高電圧入力側に接続しない電極板112、112…をアース側(GND)に接続し、誘電体113、113…と、前記所定間隔(d1)を隔てて対向した電極板112、112…との間をプラズマが発生するプラズマ空間Sとなるように構成した。電極板112、112…は、SUS316で形成し、厚さは1.0mm、大きさは20mm×50mmとした。一方、誘電体113、113…は、アルミナ(Al2O3)で形成し、厚さは0.5mmとした。そして、第1プラズマ発生ユニット110では、前記所定間隔d1(プラズマ空間Sの厚み)を0.5mmに設定し、プラズマ空間Sが10層となるように、電極板112、112…を配置した。したがって、第1プラズマ発生ユニット110において、1層あたりのプラズマ空間Sの体積は0.5cm3となり、プラズマ空間Sの総体積は5.0cm3となる(後記する表3参照)。
図3に戻って排気ガス発生部200について説明する。
排気ガス発生部200は、主として、次の表1に示す仕様のディーゼルエンジン201と、高圧の窒素が貯蔵されたN2タンク202と、高圧の酸素が貯蔵されたO2タンク203と、ヒータ204を備えて構成されている。ディーゼルエンジン201は、流量調整弁201bを有する配管201aを介して、第1プラズマ発生ユニット110に接続している。N2タンク202、O2タンク203は、流量調整弁201bの下流側で配管201aに接続しており、ディーゼルエンジン201で発生した排気ガスに、所定量の窒素、酸素を添加可能となっている。ヒータ204は、排気ガス浄化システムS2に導入される排気ガスを所定温度に加熱可能となるように、配管201aの近傍に設けられている。
次に、このように構成された排気ガス浄化システムS2を流通する排気ガスを分析する排気ガス分析部について説明する。
まず、ヒータ204の下流側において、配管201aから分岐するように、開閉弁V1を有する配管201cが設けられている。配管201cは、その下流側でガス分析計162(堀場製作所社製、MEXA-4300FT)と接続している。したがって、開閉弁V1を適宜開放することで、第1プラズマ発生ユニット110に導入される排気ガスの組成を分析可能となっている。なお、NOx濃度は、NOとNO2の和として算出した。
次に、NOx吸着触媒ユニット130、NOx選択還元触媒ユニット140、酸化触媒ユニット150の製造方法について説明する。
NOx吸着触媒としては、Cs−USY型ゼオライト触媒粉末を使用した。その調製方法は次の通りである。
Na−USY型ゼオライト粉末100g、硝酸セシウム257g、イオン交換水1000gをセパラブルフラスコに入れ、90℃に加熱しながら14時間撹拌し、濾過、純水洗浄した後、乾燥炉にて150℃で2時間、さらにマッフル炉にて400℃で12時間乾燥して、粉末状のCsイオン交換USY型ゼオライト触媒粉末(NOx吸着触媒粉末)を得た。
次いで、ハニカム支持体をNOx吸着触媒スラリから取り出して、ハニカム支持体に付着した過剰のスラリを、エア噴射により除去した後、150℃、1時間焼成した。そして、この操作を所定の担持量が得られるまで繰り返した。所定の担持量が得られた後、マッフル炉にて500℃で2時間焼成した。
このようなウォッシュコート法で形成したNOx吸着触媒の量は、細孔の単位体積当りのNOx吸着触媒の質量に換算して100g/Lであった。
NOx選択還元触媒としては、アルミナに銀(Ag)を担持したもの使用した。その調整方法は次の通りである。
硝酸銀(AgNO3)4.72g、γ−Al2O397g、イオン交換水1000gをナス型フラスコに入れ、所定に混合した後、ロータリエバポレータで余計な水分を除去した。そして、所定の乾燥機により、200℃で2時間、乾燥した後、マッフル炉にて600℃で2時間焼成し、Ag担持アルミナ粉末を得た。
次いで、ハニカム支持体をAg担持アルミナ触媒スラリから取り出して、ハニカム支持体に付着した過剰のスラリを、エア噴射により除去した後、150℃、1時間焼成した。そして、この操作を所定の担持量が得られるまで繰り返した。所定の担持量が得られた後、マッフル炉にて500℃で2時間焼成した。
このようなウォッシュコート法で形成したNOx選択還元触媒の量は、細孔の単位体積当りのNOx選択還元触媒の質量に換算して200g/Lであり、Ag担持量は3g/Lであった。
酸化触媒としては、アルミナに白金(Pt)を担持したものを使用した。その調整方法は、次の通りである。
白金(Pt)を5wt%含有したジニトロジアミン白金硝酸溶液(Pt(NH3)2(NO2)・HNO3)80g、γ−Al2O396g、イオン交換水1000gをナス型フラスコに入れ、所定に混合した後、ロータリーエバポレータで余計な水分を除去した。そして、所定の乾燥機により、200℃で2時間乾燥した後、マッフル炉にて600℃で2時間焼成し、Pt担持アルミナ粉末を得た。
このようなウォッシュコート法で形成した酸化触媒の量は、細孔の単位体積当りの酸化触媒の質量に換算して100g/Lであり、Pt担持量は4g/Lであった。
次に、このような排気ガス浄化システムS2を使用して、第1プラズマ発生ユニット110および第2プラズマ発生ユニット120におけるプラズマ空間電力密度の設定範囲を検証するため、第1プラズマ発生ユニット110、第2プラズマ発生ユニット120単体について以下の試験を行った。
第1プラズマ空間電力密度は、前記した表1に示す排気ガスを第1プラズマ発生ユニット110に導入し、第1プラズマ発生ユニット110、NOx吸着触媒ユニット130、NOx選択還元触媒ユニット140および酸化触媒ユニット150を作動させ、開閉弁V1、V4、V5を適宜に開閉させることによって、次の式(1)に基づいて、PM浄化率を測定した。すなわち、この検証において、第2プラズマ発生ユニット120は作動させなかった。そして、第1プラズマ発生ユニット110のプラズマ空間電力密度を、所定に変化させた。試験結果を図5に示す。
次に、開閉弁V6を開き、排気ガスを第1プラズマ発生ユニット110を迂回させて第2プラズマ発生ユニット120に導入し、開閉弁V3を開放した状態において、次の式(2)に基づいて、NO2生成率を算出した。なお、NO2生成率は、ガス中の全NOx量に対して、どれだけのNO2が生成したか示す値であり、NOx量は前記したようにNOとNO2の和とした。試験結果を図5に示す。
前記したプラズマ空間電力密度の検証を考慮して、排気ガス浄化システムS2の第1プラズマ発生ユニット110におけるプラズマ空間電力密度を6.0(W/cm3)、第2プラズマ発生ユニット120におけるプラズマ空間電力密度を2.2(W/cm3)に設定したものを実施例1とした。この設定において、第1プラズマ発生ユニット110には、600Hzの正弦波の交流を6.6kVppの交流電圧で印加し、15mArmsの電流を通電させた。第2プラズマ発生ユニット120には、800Hzの正弦波の交流を9.2kVppの交流電圧で印加し、5.3mArmsの電流を通電させた。
そして、表1に示す排気ガスを導入し、開閉弁V1、V4、V5を適宜開閉させて、前記した式(1)および次の式(3)に基づいて、PM浄化率およびNOx浄化率を測定した。
なお、排気ガスは、流量15L/min、300℃にて導入し、HC(n−C10H22)の添加量は3000ppmCとした。また、NOx選択還元触媒ユニット140に内蔵されるNOx選択還元触媒が200℃以上になったとき、HCを添加し、第2プラズマ発生ユニット120を作動させた。測定結果を図6に示す。
第1プラズマ発生ユニット110におけるプラズマ空間電力密度を8.0(W/cm3)、第2プラズマ発生ユニット120におけるプラズマ空間電力密度を2.2(W/cm3)に設定した排気ガス浄化システムS2を実施例2とした。この設定において、第1プラズマ発生ユニット110には、3000Hzの正弦波の交流を7.0kVppの交流電圧で印加し、30mArmsの電流を通電させた。第2プラズマ発生ユニット120については、実施例1と同一である。
そして、実施例1と同様に、PM浄化率およびNOx浄化率を測定した。測定結果を図6に示す。
第1プラズマ発生ユニット110および第2プラズマ発生ユニット120を作動させず、HCを添加しない排気ガス浄化システムS2を比較例1とした。そして、実施例1と同様に、PM浄化率およびNOx浄化率を測定した。測定結果を図6に示す。
図6より明らかなように、実施例1および実施例2では、PMおよびNOxの浄化率が80%以上となり、好適に排気ガスを浄化できたことがわかった。一方、比較例1では、特にPM浄化率が30%と低く、NOx浄化率も60%であった。
10 第1プラズマ発生ユニット
20 第2プラズマ発生ユニット
30 NOx吸着触媒ユニット
40 NOx選択還元触媒ユニット
50 酸化触媒ユニット
60 還元剤添加手段
70 ECU
Claims (11)
- 排気ガスが流通する上流側から下流側に向かって、
プラズマにより、前記排気ガス中の粒子状物質およびNOxに作用するプラズマ励起種を発生させるプラズマ発生ユニットと、
前記排気ガスに作用する排気ガス浄化触媒を有する排気ガス浄化触媒ユニットと、
を備え、
前記粒子状物質および前記NOxを連続的に浄化することを特徴とする排気ガス浄化システム。 - 前記プラズマ発生ユニットは、
前記粒子状物質に主として作用する第1プラズマ励起種の発生率が上流側で高く、
前記NOxに主として作用する第2プラズマ励起種の発生率が下流側で高くなるように構成されたことを特徴とする請求項1に記載の排気ガス浄化システム。 - 前記プラズマ発生ユニットは、
前記第1プラズマ励起種を発生させる上流側の第1プラズマ発生ユニットと、
前記第2プラズマ励起種を発生させる下流側の第2プラズマ発生ユニットと、
を備えたことを特徴とする請求項2に記載の排気ガス浄化システム。 - 前記第1プラズマ発生ユニットのプラズマ空間電力密度は、0.8W/cm3以上であり、
前記第2プラズマ発生ユニットのプラズマ空間電力密度は、0.4〜9.5W/cm3であることを特徴とする請求項3に記載の排気ガス浄化システム。 - 前記排気ガス浄化触媒は、NOx選択還元触媒であることを特徴とする請求項3または請求項4に記載の排気ガス浄化システム。
- 前記第2プラズマ発生ユニットと前記NOx選択還元触媒を有する前記排気ガス浄化触媒ユニットとの間に、NOx吸着触媒を有するNOx吸着触媒ユニットを、さらに備えたことを特徴とする請求項5に記載の排気ガス浄化システム。
- 前記NOx選択還元触媒の温度を検出する温度センサをさらに備え、
前記NOx選択還元触媒の温度が、所定の活性温度以上のとき、前記第2プラズマ発生ユニットを作動させることを特徴とする請求項5または請求項6に記載の排気ガス浄化システム。 - 前記NOx選択還元触媒を有する前記排気ガス浄化触媒ユニットの上流側で、前記排気ガスに還元剤を添加する還元剤添加手段をさらに備え、
前記NOx選択還元触媒が前記活性温度以上のとき、前記還元剤を添加することを特徴とする請求項7に記載の排気ガス浄化システム。 - 前記NOx選択還元触媒を有する前記排気ガス浄化触媒ユニットの下流側に、酸化触媒を有する酸化触媒ユニットを、さらに備えたことを特徴とする請求項5から請求項8のいずれか1項に記載の排気ガス浄化システム。
- 粒子状物質およびNOxを含む排気ガスを連続的に浄化する排気ガス浄化方法であって、
プラズマにより、前記排気ガス中の粒子状物質およびNOxに作用するプラズマ励起種を発生させる第1工程と、
排気ガス浄化触媒により、排気ガスを浄化する第2工程と、
を有することを特徴とする排気ガス浄化方法。 - 前記第1工程は、
前記粒子状物質に主として作用する第1プラズマ励起種を発生させる第1A工程と、
前記NOxに主として作用する第2プラズマ励起種を発生させる第1B工程と、
を有することを特徴とする請求項10に記載の排気ガス浄化方法。
Priority Applications (4)
| Application Number | Priority Date | Filing Date | Title |
|---|---|---|---|
| JP2004106440A JP2005291071A (ja) | 2004-03-31 | 2004-03-31 | 排気ガス浄化システムおよび排気ガス浄化方法 |
| US11/090,027 US7207169B2 (en) | 2004-03-31 | 2005-03-28 | System and method for purifying an exhaust gas |
| DE602005002388T DE602005002388T2 (de) | 2004-03-31 | 2005-03-31 | Vorrichtung und Verfahren zur Reinigung von Abgas |
| EP05007115A EP1582711B1 (en) | 2004-03-31 | 2005-03-31 | System and method for purifying an exhaust gas |
Applications Claiming Priority (1)
| Application Number | Priority Date | Filing Date | Title |
|---|---|---|---|
| JP2004106440A JP2005291071A (ja) | 2004-03-31 | 2004-03-31 | 排気ガス浄化システムおよび排気ガス浄化方法 |
Publications (1)
| Publication Number | Publication Date |
|---|---|
| JP2005291071A true JP2005291071A (ja) | 2005-10-20 |
Family
ID=34880087
Family Applications (1)
| Application Number | Title | Priority Date | Filing Date |
|---|---|---|---|
| JP2004106440A Pending JP2005291071A (ja) | 2004-03-31 | 2004-03-31 | 排気ガス浄化システムおよび排気ガス浄化方法 |
Country Status (4)
| Country | Link |
|---|---|
| US (1) | US7207169B2 (ja) |
| EP (1) | EP1582711B1 (ja) |
| JP (1) | JP2005291071A (ja) |
| DE (1) | DE602005002388T2 (ja) |
Cited By (5)
| Publication number | Priority date | Publication date | Assignee | Title |
|---|---|---|---|---|
| WO2009119753A1 (ja) * | 2008-03-28 | 2009-10-01 | 三井造船株式会社 | ディーゼル排気ガス中の粒子状物質除去装置 |
| JP2011012668A (ja) * | 2009-06-05 | 2011-01-20 | Toyota Motor Corp | 内燃機関の排気浄化装置 |
| WO2013035663A1 (ja) * | 2011-09-05 | 2013-03-14 | 日野自動車株式会社 | 排ガス浄化装置 |
| WO2013145994A1 (ja) * | 2012-03-30 | 2013-10-03 | 株式会社クボタ | ディーゼルエンジンの排気処理装置 |
| JP2015108355A (ja) * | 2013-12-05 | 2015-06-11 | 株式会社デンソー | 高活性物質添加装置 |
Families Citing this family (12)
| Publication number | Priority date | Publication date | Assignee | Title |
|---|---|---|---|---|
| US20060048506A1 (en) * | 2004-09-07 | 2006-03-09 | Neophotech, Inc. | System for processing combustion exhaust gas containing soot particles and NOx |
| JP4263711B2 (ja) * | 2005-09-16 | 2009-05-13 | トヨタ自動車株式会社 | 内燃機関の排気浄化装置 |
| US20070163243A1 (en) * | 2006-01-17 | 2007-07-19 | Arvin Technologies, Inc. | Exhaust system with cam-operated valve assembly and associated method |
| US7398643B2 (en) * | 2006-05-16 | 2008-07-15 | Dana Canada Corporation | Combined EGR cooler and plasma reactor |
| JP5045629B2 (ja) * | 2008-04-08 | 2012-10-10 | 三菱電機株式会社 | 排気ガス浄化装置 |
| DE102008062417A1 (de) | 2008-12-17 | 2010-07-01 | Volkswagen Ag | Abgasreinigung eines Abgasstroms einer Brennkraftmaschine |
| US8409515B2 (en) * | 2009-07-14 | 2013-04-02 | GM Global Technology Operations LLC | Exhaust gas treatment system |
| US8883103B1 (en) * | 2014-01-16 | 2014-11-11 | Denso International America, Inc. | Catalytic converter for treating ionized exhaust |
| CN105642115A (zh) * | 2015-12-31 | 2016-06-08 | 神华集团有限责任公司 | 一种烟气脱硝的装置和方法 |
| DE102018000434B4 (de) * | 2018-01-19 | 2021-05-27 | Daimler Ag | Verfahren zum Betreiben einer Abgasanlage einer Verbrennungskraftmaschine eines Kraftwagens und Abgasanlage für eine Verbrennungskraftmaschine eines Kraftwagens |
| US10598070B2 (en) * | 2018-03-30 | 2020-03-24 | Southwest Research Institute | NO/NO2 ratio adjustment using non-thermal plasma |
| CN108389788B (zh) * | 2018-04-25 | 2023-08-25 | 长鑫存储技术有限公司 | 扩散炉管设备及处理废气的方法 |
Family Cites Families (12)
| Publication number | Priority date | Publication date | Assignee | Title |
|---|---|---|---|---|
| US6038854A (en) * | 1996-08-19 | 2000-03-21 | The Regents Of The University Of California | Plasma regenerated particulate trap and NOx reduction system |
| PL339209A1 (en) | 1997-09-09 | 2000-12-04 | Aea Technology Plc | Method of purifying emitted gaseous substances |
| JPH11324652A (ja) * | 1998-04-09 | 1999-11-26 | Fev Motorentechnik Gmbh & Co Kg | 自動車の有害物質の放出を低減する方法 |
| US6775972B2 (en) * | 1998-10-09 | 2004-08-17 | Johnson Matthey Public Limited Company | Purification of exhaust gases |
| GB9901413D0 (en) | 1999-01-23 | 1999-03-10 | Aea Technology Plc | Reactor for plasma assisted gas processing |
| GB9919200D0 (en) * | 1999-08-14 | 1999-10-20 | Johnson Matthey Plc | Pollution control |
| US6363714B1 (en) * | 2000-06-09 | 2002-04-02 | Ford Global Technologies, Inc. | Plasma-catalyst control system |
| US6887438B2 (en) | 2000-12-21 | 2005-05-03 | Delphi Technologies, Inc. | NOx control |
| JP2002210366A (ja) | 2001-01-19 | 2002-07-30 | Toyota Central Res & Dev Lab Inc | NOx浄化用プラズマアシスト触媒 |
| DE10131588B8 (de) * | 2001-07-03 | 2013-11-14 | Daimler Ag | Betriebsverfahren für eine Abgasnachbehandlungseinrichtung, welche einen Stickoxid-Speicherkatalysator und stromab einen SCR-Katalysator aufweist, sowie Verwendung des SCR-Katalysators zur Entfernung von Schwefelwasserstoff |
| DE60314220T2 (de) | 2002-11-21 | 2007-09-20 | Honda Motor Co., Ltd. | Verfahren zur Verminderung des Partikelgehaltes der Abgase eines Magerverbrennungsmotors oder dergleichen |
| US7043902B2 (en) * | 2003-03-07 | 2006-05-16 | Honda Motor Co., Ltd. | Exhaust gas purification system |
-
2004
- 2004-03-31 JP JP2004106440A patent/JP2005291071A/ja active Pending
-
2005
- 2005-03-28 US US11/090,027 patent/US7207169B2/en not_active Expired - Fee Related
- 2005-03-31 DE DE602005002388T patent/DE602005002388T2/de not_active Expired - Lifetime
- 2005-03-31 EP EP05007115A patent/EP1582711B1/en not_active Expired - Lifetime
Cited By (9)
| Publication number | Priority date | Publication date | Assignee | Title |
|---|---|---|---|---|
| WO2009119753A1 (ja) * | 2008-03-28 | 2009-10-01 | 三井造船株式会社 | ディーゼル排気ガス中の粒子状物質除去装置 |
| JP2009243305A (ja) * | 2008-03-28 | 2009-10-22 | Mitsui Eng & Shipbuild Co Ltd | ディーゼル排気ガス中の粒子状物質除去装置 |
| JP2011012668A (ja) * | 2009-06-05 | 2011-01-20 | Toyota Motor Corp | 内燃機関の排気浄化装置 |
| WO2013035663A1 (ja) * | 2011-09-05 | 2013-03-14 | 日野自動車株式会社 | 排ガス浄化装置 |
| JP5465361B2 (ja) * | 2011-09-05 | 2014-04-09 | 日野自動車株式会社 | 排ガス浄化装置 |
| US9145805B2 (en) | 2011-09-05 | 2015-09-29 | Hino Motors, Ltd. | Exhaust gas purifier |
| WO2013145994A1 (ja) * | 2012-03-30 | 2013-10-03 | 株式会社クボタ | ディーゼルエンジンの排気処理装置 |
| US9347351B2 (en) | 2012-03-30 | 2016-05-24 | Kubota Corporation | Exhaust treatment device for diesel engine |
| JP2015108355A (ja) * | 2013-12-05 | 2015-06-11 | 株式会社デンソー | 高活性物質添加装置 |
Also Published As
| Publication number | Publication date |
|---|---|
| DE602005002388T2 (de) | 2008-01-17 |
| US20050217241A1 (en) | 2005-10-06 |
| EP1582711A1 (en) | 2005-10-05 |
| EP1582711B1 (en) | 2007-09-12 |
| US7207169B2 (en) | 2007-04-24 |
| DE602005002388D1 (de) | 2007-10-25 |
Similar Documents
| Publication | Publication Date | Title |
|---|---|---|
| JP6687666B2 (ja) | 車両ポジティブ点火内燃機関用排気システム | |
| KR101870397B1 (ko) | 이중 기능 촉매 필터 | |
| CN103442805B (zh) | 氨氧化催化剂以及使用了其的废气净化装置和废气净化方法 | |
| JP5989214B2 (ja) | アンモニア酸化触媒、およびそれを用いた排気ガス浄化装置並びに排気ガス浄化方法 | |
| JP6450540B2 (ja) | リーンバーンicエンジン用排気装置 | |
| CN102387851B (zh) | 具有氨生成和scr催化剂的排气处理系统 | |
| JP5769732B2 (ja) | 選択還元型触媒、およびそれを用いた排気ガス浄化装置並びに排気ガス浄化方法 | |
| KR102568461B1 (ko) | 촉매작용에 의한 오염 저감을 위한 수소 환원제 | |
| JP2005291071A (ja) | 排気ガス浄化システムおよび排気ガス浄化方法 | |
| JPWO2010041741A1 (ja) | 排ガス浄化装置 | |
| JPWO2018025827A1 (ja) | コールドスタート対応尿素scrシステム | |
| KR102484742B1 (ko) | 차량 내장식 수소 생성 및 배기 스트림에서의 용도 | |
| CN101305169B (zh) | 内燃机的排气净化装置 | |
| JP2003074331A (ja) | 排ガス浄化装置及び排ガス処理方法 | |
| EP1999346A1 (en) | Device for purification of exhaust gas | |
| JP3874246B2 (ja) | ディーゼル排ガス浄化用フィルタ型触媒 | |
| JPH05285387A (ja) | 排ガス浄化触媒及び方法 | |
| JP2017185467A (ja) | 排ガス浄化用触媒 | |
| CN115487859B (zh) | 一种n2o催化剂及车辆尾气处理系统 | |
| JP2008151100A (ja) | 排ガス浄化装置 | |
| JP2009273989A (ja) | 排ガス浄化装置 | |
| JP2004211565A (ja) | 排ガス浄化システムおよび排ガス浄化方法 | |
| JP2004211566A (ja) | 排ガス浄化システムおよび排ガス浄化方法 | |
| EP3617465B1 (en) | Device for treating exhaust gas from engine and method for manufacturing said device | |
| JPH10225635A (ja) | ディーゼル排ガス浄化用触媒 |
Legal Events
| Date | Code | Title | Description |
|---|---|---|---|
| A621 | Written request for application examination |
Free format text: JAPANESE INTERMEDIATE CODE: A621 Effective date: 20061128 |
|
| A977 | Report on retrieval |
Free format text: JAPANESE INTERMEDIATE CODE: A971007 Effective date: 20081001 |
|
| A131 | Notification of reasons for refusal |
Free format text: JAPANESE INTERMEDIATE CODE: A131 Effective date: 20081209 |
|
| A521 | Written amendment |
Free format text: JAPANESE INTERMEDIATE CODE: A523 Effective date: 20090206 |
|
| A131 | Notification of reasons for refusal |
Free format text: JAPANESE INTERMEDIATE CODE: A131 Effective date: 20090616 |
|
| A02 | Decision of refusal |
Free format text: JAPANESE INTERMEDIATE CODE: A02 Effective date: 20091110 |
