JP2005290846A - 人孔内周面の更生工法 - Google Patents

人孔内周面の更生工法 Download PDF

Info

Publication number
JP2005290846A
JP2005290846A JP2004107570A JP2004107570A JP2005290846A JP 2005290846 A JP2005290846 A JP 2005290846A JP 2004107570 A JP2004107570 A JP 2004107570A JP 2004107570 A JP2004107570 A JP 2004107570A JP 2005290846 A JP2005290846 A JP 2005290846A
Authority
JP
Japan
Prior art keywords
peripheral surface
inner peripheral
lining plate
hole
human hole
Prior art date
Legal status (The legal status is an assumption and is not a legal conclusion. Google has not performed a legal analysis and makes no representation as to the accuracy of the status listed.)
Granted
Application number
JP2004107570A
Other languages
English (en)
Other versions
JP4299715B2 (ja
Inventor
Hirohide Nakagawa
裕英 中川
Takayoshi Suzuki
隆善 鈴木
Current Assignee (The listed assignees may be inaccurate. Google has not performed a legal analysis and makes no representation or warranty as to the accuracy of the list.)
Sekisui Chemical Co Ltd
Original Assignee
Sekisui Chemical Co Ltd
Priority date (The priority date is an assumption and is not a legal conclusion. Google has not performed a legal analysis and makes no representation as to the accuracy of the date listed.)
Filing date
Publication date
Application filed by Sekisui Chemical Co Ltd filed Critical Sekisui Chemical Co Ltd
Priority to JP2004107570A priority Critical patent/JP4299715B2/ja
Publication of JP2005290846A publication Critical patent/JP2005290846A/ja
Application granted granted Critical
Publication of JP4299715B2 publication Critical patent/JP4299715B2/ja
Anticipated expiration legal-status Critical
Expired - Fee Related legal-status Critical Current

Links

Images

Landscapes

  • Sewage (AREA)
  • Underground Structures, Protecting, Testing And Restoring Foundations (AREA)
  • Protection Of Pipes Against Damage, Friction, And Corrosion (AREA)
  • Laminated Bodies (AREA)
  • Lining Or Joining Of Plastics Or The Like (AREA)

Abstract

【課題】 繊維強化合成樹脂製ライニング材が劣化しても外観の変化が少なく、かつ更生後の内周面が平滑でかつ水漏れがなく、工事手間がかからない人孔内周面の更生工法を提供する。
【解決手段】 縦内周面が平板形状であり底面と縦内周面との角部が直線状である老朽化した人孔の内周面と、繊維強化合成樹脂板からなるライニング板との間に裏込め材を充填する人孔内周面の更生工法であって、ライニング板に、頂上が平らな円錐形の突起部が人孔内周面側に突出して設けられ、頂上の中央に穿孔機で貫通孔が開けられて人孔内周面にアンカーナット又はアンカーボルトが設けられ、止水リングを介してアンカーボルト又はアンカーナットが螺結され、ライニング板と人孔内周面との間に突起部の突出高さだけの隙間を有するようにライニング板が人孔内周面に固定され、上記隙間に未硬化の液状モルタルを充填して硬化する。
【選択図】 図1

Description

本発明は、下水道における既設の人孔の内周面の更生方法に関する。
下水道等における人孔は、通常、コンクリート構造となっており、長い年月による腐食、人孔周囲からの外圧、あるいは下水等の中に含まれる硫化水素によるアルカリとの反応などによって、コンクリート躯体に亀裂が生じたり、コンクリート躯体が破損することがある。
このような亀裂や破損が生じると、地下水が人孔内に浸入してしまい、その浸入水が下水等とともに下流側に流出するという問題がある。特に、大雨時などにおいて多量の地下水が人孔内に浸入すると、下流側の下水処理場の処理能力を超える量の下水等が下流側に流出するおそれがある。
従って、既設人孔が老朽化した場合には再構築する必要がある。しかしながら、人孔の再構築には、人孔の周囲の掘削、既設人孔の撤去、型枠組立とコンクリート打設・養生、及び埋戻し等の作業を行わなければならず、工期が非常に長くなる。しかも、人孔を再構築する工期中において長期間にわたって道路を遮断する必要がある。また、バイパス管路を仮設する必要もある。
また、人孔内周面に固定部材をアンカーボルトで固定し、この固定部材にFRP(繊維補強合成樹脂)ライニング板を貼設し、人孔内周面とFRPライニング板との間隙に、流動性を有する未硬化のセメント等を打設する工法も行われている。この工法では、セメント等を注入して人孔底面の間隙にまで至るようにするには、高い注入圧を必要とするが、注入圧が高いとFRPライニング板および固定部材もその注入圧に耐える強度が必要となり、固定部材の数量も多く必要となり、補修費用が高くつく。また、注入圧を低くするためには間隙を広くすればよいが、間隙を広くすると人孔の断面積が小さくなり、好ましくない。
そこで、上記のようなライニング板を施工する際の課題を解消するべく、例えば、断面凹状の老朽化した既設水路内周面にスペーサを介在してライニング板を貼設し、そのライニング板と既設水路内周面との間に前記内周面とライニング板とを一体化する充填材を打設して水路内周面のライニングを行う工法であって、上記既設水路内周面の底面に上記スペーサを埋設して上記充填材を打設し、その後、その底面充填材層に上記ライニング板を敷設するか、もしくは上記既設水路の底面に上記スペーサを介在してライニング板を貼設し、そのライニング板と既設水路底面との間に充填材を打設し、その後、既設水路内周面の両側面にスペーサを介在してライニング板を貼設し、その両側ライニング板と既設水路内側面との間に充填材を打設することを特徴とする水路内周面のライニング工法が知られている(例えば、特許文献1参照。)。
また、既設水路の内周面に表裏面に凹凸が設けられて水路が形成された漏水防止シートを介在してライニング板(FRPライニング板)を直接にアンカー止めしたことを特徴とする水路内周面のライニング構造が提案されている(例えば、特許文献2参照。)。
特開2002−294665号公報(特許請求の範囲、図1、4参照)。 特開2002−266337号公報(特許請求の範囲、図1、2参照)。
しかしながら、特許文献1に記載の水路内周面のライニング工法におけるライニング方法では、ライニング材と既設水路内周面との間に充填材を打設するための隙間を設ける必要があり、このためのスペーサーがライニング材の裏面に固定される。この固定方法は、ライニング材裏面に配置されたスペーサーに、ライニング材の表面から、ライニング材に開けられた貫通孔を通して頭が皿形状とされたボルトを挿通してこれに螺結して固定されている。この場合、ライニング板の貫通孔は、ボルト頭側を面取りしてあるので、ボルト頭はライニング材面上に突出しないが、ボルトのねじ山を伝って水が浸入するという問題点がある。
また、特許文献2記載の水路内周面のライニング構造においては、既設水路内周面に設けられたアンカーボルトが、ライニング材及び/又は漏水防止シートとを貫通して突出し、突出したボルトの先端部にナットが螺結されて、ライニング材を水路内周面に固定している。従って、この固定ボルトの頭は、水流の抵抗になるばかりでなく、ボルト山を
伝って水がシート材側に浸入するという問題点がある。
更に、上記何れの文献においても、予めライニング材を固定するためのアンカーボルトを既設水路内周面に設けておかねばならず、しかもライニング材には、確実にアンカーボルトを挿通するためにアンカーボルト位置に対応した正確な位置に貫通孔等を設けるか、若干貫通孔を大きく開けておかねばならず、上記水漏れ等の問題点が発生し易いものである上、工事の手間が掛かるものであった。
加えて、ライニング材が、ガラス繊維等の補強繊維で強化された繊維強化合成樹脂の場合では、成形時に製品表面にゲルコート又はトップコートが掛かっていたとしても、長期に渡って使用された場合、下水等に混入する土砂等によってその表面がサンディングされ、ガラス繊維等が露出し、FRPの生地が露出して下水等と接触するために炭酸カルシウム等の充填材が損傷を受け、劣化が促進されるという問題点がある。
このために、表面保護の為の保護層等が設けられることがあるが、保護層は一般的に合成樹脂が用いられるので保護層表面の硬度が低く、やはりサンディングされ易いものであった。
本発明は、繊維強化合成樹脂製ライニング材が劣化しても外観の変化が少なく、かつ更生後の内周面が平滑でかつ水漏れがなく、工事手間がかからない人孔内周面の更生工法を提供することを目的とする。
本発明の請求項1記載のライニング板(発明1)は、縦内周面が平板形状であり底面と縦内周面との角部が直線状である老朽化した人孔の内周面と、繊維強化合成樹脂板からなるライニング板との間に裏込め材を充填する人孔内周面の更生工法であって、ライニング板に、頂上が平らな円錐形の突起部が人孔内周面側に突出して設けられ、頂上の中央に穿孔機で貫通孔が開けられて人孔内周面にアンカーナット又はアンカーボルトが設けられ、止水リングを介してアンカーボルト又はアンカーナットが螺結され、ライニング板と人孔内周面との間に突起部の突出高さだけの隙間を有するようにライニング板が人孔内周面に固定され、上記隙間に未硬化の液状モルタルを充填して硬化することを特徴とする。
請求項2記載の発明(発明2)は、頂上が平らな円錐形の突起部が人孔内周面側に突出して設けられたライニング板に、人孔に接続される管と同じ形状の貫通孔が設けられ、長さが突起部の長さと略同じとされ、外形がライニング板に開けられた貫通孔に嵌入される大きさとされ、かつ一端部が厚さが薄い外向きの鍔部とされた短管の鍔部が、上記貫通孔に被装されて他端部が上記人孔に接続された管の接続口に固定され、突起部頂上の中央に穿孔機で貫通孔が開けられて人孔内周面にアンカーナット又はアンカーボルトが設けられ、止水リングを介してアンカーボルト又はアンカーナットが螺結され、ライニング板と人孔内周面との間に突起部の突出高さだけの隙間を有するようにライニング板が人孔内周面に固定され、上記隙間に未硬化の液状モルタルを充填して硬化することを特徴とする発明1の人孔内周面の更生工法である。
請求項3記載の発明(発明3)は、ライニング板の下端が人孔底面上に置かれて、底面と縦内周面との角より上方の縦内周面に固定され、ライニング板と縦内周面との隙間に未硬化の液状モルタルを充填して硬化することを特徴とする発明1又は発明2の人孔内周面の更生工法である。
請求項4記載の発明(発明4)は、突起部を人孔内から見た時の凹部に充填性接着剤を充填し、その上に蓋体を接着固定して蓋表面をライニング材表面と略面一とすることを特徴とする発明1又は発明3の人孔内周面の更生工法である。
請求項5記載の発明(発明5)は、水平方向に少なくとも二部材以上に分割されたライニング材を上下方向に並設して人孔内側壁を覆い、ライニング板同士の並設を人孔内側壁位置とし、下方に配置されるライニング板の上端辺が、上方に配置されるライニング板の下端辺の人孔側壁側になるように、分割されたライニング板同士が重ね合わされ、重ね合わせ部に帯状の止水パッキンが設けられることを特徴とする発明1から発明4のいずれかの人孔内周面の更生工法である。
請求項6記載の発明(発明6)は、ライニング板の突起部がない面側が、珪砂等を総重量の20〜87重量%で混合した合成樹脂塗膜で被覆されていることを特徴とする発明1から発明5のいずれかの人孔内周面の更生工法である。
発明1は、繊維強化合成樹脂(FRP)ライニング板と老朽化した人孔内周面との間に裏込め材を充填する人孔内周面の更生工法である。本発明では、老朽化した既設人孔の内周面にFRPライニング板が貼設されるが、そのFRPライニング板に、頂上が平らな円錐形の突起部が人孔内周面側に突出して設けられてその中央に貫通孔が設けられている。
突起部高さは、FRPライニング板と老朽化した人孔内周面との間に裏打ち剤を充填する隙間を構成する高さとされる。突起頂上部の平らな部分の大きさは、FRPライニング板を固定する(固定方法は、後述する。)ために用いられるボルト又はナットを締めるための工具(ソケット)が入る大きさとされれば良く、通常は直径約20mm〜30mm程度とされることが多い。又、突起の形状は、FRPライニング板製造時の脱型を容易にするために、円錐形状とされると良い。
突起部の頂上には、施工時に貫通孔が開けられ、止水リングを介してアンカーボルトが挿通され、人孔内周面にホールインアンカー穴を設けて螺結される。なお、アンカーボルトを人孔内周面に設けて、アンカーナットを締め込むようにしても良い。FRPライニング板は、FRPライニング板と人孔内周面との間に突起部の突出高さだけの隙間を有するように人孔内周面に固定される。
例えば、アンカーボルトでFRPライニング板を固定する方法は、まず、FRPライニング板を、既設人孔の内周面に沿って組み立てて仮更生人孔を仮配置し、FRPライニング板の突起部の平らな頂上から、ホールソー等でFRPライニング板を貫通して既設人孔内周面に穴を開けてその穴にホールインアンカーを打ち込む。次いで、ボルトに座金と止水パッキンを装着し、ホールインアンカーに螺結してFRPライニング板を固定して、仮更生人孔の配置を固定する。
仮更生人孔が配置されたら、突起により出来た、FRPライニング板と既設人孔内周面の内周面との隙間に、未硬化の液状モルタル等を充填してこれを硬化させる。
発明2は、人孔に接続される管、例えば下水等流入管や流出管等が開口される人孔内周面に、FRPライニング板をライニングする方法に関する。即ち、ライニング板に人孔に接続されている管の断面形状と同じ形状の貫通孔が設けられ、貫通孔が管接続口と一致するようにライニング板を人孔内周面に配置する。
別に、長さが突起部の長さと略同じとされ、外径が上記ライニング板に開けられた貫通孔に嵌入される大きさとされ、一端部が厚さが薄い外向きの鍔部とされた短管を準備する。この短管を上記貫通孔に嵌装し、鍔部をライニング板に接着等で固定する。
短管の他端部を人孔に接続された管の接続口に当接して固定し、突起部頂上の中央に穿孔機で貫通孔が開けられて人孔内周面にアンカーナット又はアンカーボルトが設けられ、止水リングを介してアンカーボルト又はアンカーナットを螺結し、ライニング板と人孔内周面との間に突起部の突出高さだけの隙間を有するようにライニング板を固定する。上記隙間に未硬化の液状モルタルを充填して硬化する。
接続される下水等流入嵌や流出管が、底面スラブ面に設けられた開放溝に接続されている場合は、上記短管の接続部の形状は環形状とはならず、部分円弧の形状となる。従って鍔部もその円弧の個所にのみ設けられる。
発明3においては、ライニング板の下端が人孔底面上に置かれて、底面と縦内周面との角より上方の縦内周面に固定され、ライニング板と縦内周面との隙間に未硬化の液状モルタルを充填して硬化する。即ち、ライニング板による更生は人孔の内周側面のみとなり、底面は従来通りコンクリート等の打設により更生される。通常、先にFRPライニング板で人孔縦内周面を更生後、底面と縦内周面との角部を含めて底面を仕上げる。
人孔に、例えば下水管等が接続されている場合は、鍔付き短管で管接続口に合致する外径の短管を用いることは発明2の場合と同じである。
発明4では、ボルト又はナットに座金と止水パッキンを装着し、ホールインアンカー又はアンカーボルトに螺結してFRPライニング板を固定した後、ボルト又はナット頭が入っている凹部に充填性接着剤を充填し、その上に蓋体を接着固定して蓋表面をライニング材表面と略面一とする。
止水パッキンは一般的なゴム製で良く、充填性接着剤は、凹部矯正と凹部防水、螺結の弛み防止とを兼ねて凹部に充填される。従って、フィラー入り水硬化性エポキシ樹脂、ウレタン樹脂系接着剤、エポキシ樹脂系接着剤等、充填形接着剤やコーキング材が好適に用いられる。
蓋体はその表面を水が流下する場合がある。。従って、耐水性と耐摩耗性に優れた材料であることが好ましく、同時に上記充填性接着剤と確実に接着されるものであることが必要である。このような樹脂としては、塩化ビニル系樹脂、ポリエステル形樹脂、ウレタン形樹脂、エポキシ形樹脂等の合成樹脂類;これらを繊維補強した繊維強化合成樹脂類;ステンレススチール、防食鉄、防食アルミニウム、真鍮等の金属類が挙げられる
蓋体は、上部に厚さが薄い鍔が張り出し、下方がすぼまった円錐台形状とされ、充填性接着剤が満たされた凹部に、空気が残らないように被せられ、凹部を完全に覆う。蓋の表面はFRPライニング板面より若干上方に盛り上がるが、鍔の厚さが薄いので略面一となりマンホール内周面に出っ張らず、また下水等の流れを阻害しない。
このように、本発明においては、FRPライニング板で貫通孔が設けられる個所は、接着剤で充填されて該当個所と他の内周面との凹凸が少なくなるように矯正され、更に蓋が設けられるので確実に防水される。
発明5においては、FRPライニング板が、水平方向に少なくとも二部材以上に分割されている。分割されたFRPライニング部材は、平板状又は浅いU字形状又はL字形状となる。従って、各部材が小さくなるので、人孔入口等からの搬入が容易となり、かつ運搬しやすく、かつ一度に多くの部材を運搬できるので、作業効率が良くなる。また、様々な大きさ、形状への対応力が良い。
分割されたFRPライニング板は、並設部が水平方向となるように上下に並設して人孔内周面を覆うように配置される。並設部が人孔の縦内周面の位置である場合は、下方に配置されるFRPライニング板の上端辺が上方に配置されるFRPライニング板の下端辺の人孔内周面側になるように、分割されたFRPライニング板同士を重ね合わせる。
重ね合わせ部には帯状止水材が挿入されて挟み込まれると良く、更に重ね合わせ部が解けないように、平頭のボルトを貫通させて止水リングを介してナットで固定されたり、リベット等で固定されたり、水中硬化型接着剤等で接着固定されても良い。帯状止水材は一般的な止水用ゴムシートや発泡樹脂製パッキン、水膨張性合成樹脂、充填性弾性接着剤等が用いられればよく、水中硬化形接着剤としては、例えばフィラー入り水硬化性エポキシ樹脂等が用いられればよい。なお、重ね合わせたFRPライニング板の辺部を係止しても良い。
並設部が人孔底面である場合は、隣り合う一方のライニング板の端辺と他方のライニング板の端辺とが重ね合わされ、重ね合わせ部に帯状の止水パッキンが設けられてライニング板の互いの辺部先端が重ね合わされるようにされる。勿論、重ね合わせ部には帯状止水材が挿入されて挟み込まれると良く、更に重ね合わせ部が解けないように、平頭のボルトを貫通させて止水リングを介してナットで固定されたり、リベット等で固定されたり、水中硬化型接着剤等で接着固定されると良い。
なお、並設個所が縦内周面であろうと底面であろうと、FRPライニング板を人孔内周面に固定する為のアンカーが、アンカーボルト等が長くなって固定し難くなるので、人孔底面と縦内周面の角部近傍で分割されたFRPライニング板を連接しないようにする。
発明6においては、ライニング板の、更生後の人孔内周面側が、珪砂等を混合した合成樹脂で被覆されている。従って、ライニング板の外観が石目調となると共に、珪砂を混合した合成樹脂塗膜の厚さ方向の水平面の模様が、任意の深さで常に同じ石目調の模様となる。従って、この工法で更生された人孔は、長期に渡って使用した後でも劣化した様子が見え難く、見かけが良いので安心感がある。
発明1の人孔内周面の更生工法においては、FRPライニング板自体の一部に円錐台形状の突起部が設けられ、突起高さによってFRPライニング板と老朽化した既設人孔の内周面との間に隙間が設けられるので、スペーサー使わずに液状モルタル等で裏打ちでき、工事手間がかからない。
発明2では、FRPライニング板の人孔に接続される下水管等の接続口位置に貫通孔が設けられ、その貫通孔に鍔付き短管を嵌装してからライニング板が人孔8内周面に固定され、モルタル等で裏打ちされるので、水漏れのない更生が出来る。
発明3では、人孔の縦内周面のみFRPライニング板を用い、人孔底面は、従来通り、コンクリート等の打設により更生するので、ますます工事手間が掛からない。
発明4では、FRPライニング材に開けられたボルト穴を接着剤で充填し、更に蓋を設けるので確実に止水が出来る。又、仮更生人孔を既設人孔中に仮配置してから、突起部の反対側からFRPライニング板固定用のアンカー穴を開けボルトで止めるので、従来の様な予め設けられたアンカー位置に合わせてライニング板を配置する必要がなく、位置あわせの必要がない。
発明5においては、FRPライニング部材が分割されているので部材の運搬が容易で、かつ一度に大量に運搬できる。又分割部は、帯状の止水パッキンを介して重ね合わされ、必要に応じてリベット等で重なり部の解け防止がなされるので、水漏れがなくしかも手間のかからない更生が出来る。
発明6では、下水等に含まれる土砂等によって、ライニング板の表面が損傷又は摩耗されて表面が削れても、石目調の外観が変化せず、自然な風合いが保たれる。
次に、図面を参照して本発明を説明する。図1はFRPライニング板を用いた人孔更生工法の一例の断面図である。図2は図1のアンカー部の拡大断面図である。図3は、人孔縦内周面のみライニングし、底面はコンクリートを打設する更生工法の一例の角部の拡大断面図である。図4は人孔に接続されている下水流入管又は流出管の管接続口部の一例の拡大断面図である。図5は更生後の人孔内周面側が珪砂等を混合した合成樹脂で被覆されているFRPライニング板の一例の断面図である。
発明1においては、図1に示されるように、FRPライニング板1を老朽化した既設人孔3の内周面に貼設し、FRPライニング板1と老朽化した人孔3の内周面(底面31又は縦内周面32)との間に裏込め材4が充填される。貼設されるFRPライニング板1には、頂上51が平らな円錐形の突起部5が人孔3の内周面側に突出して設けられてその中央に貫通孔52が設けられている。
突起部5の高さは、FRPライニング板1と老朽化した人孔3の内周面との間に裏打ち剤4を充填する隙間を構成する高さとされ、通常は20mmから30mm程度とされる。但し、この高さは、老朽化した人孔3の内側寸法や勾配などを考慮して適宜変更されるものであるので、これに限ったものではない。
突起頂上部51の平らな部分の直径は、FRPライニング板1を固定する(固定方法は、後述する。)固定ボルト6又はナットを締めるためのソケット等の工具(図示せず。)が入る大きさとされれば良く、通常は直径約20mm〜30mm程度とされることが多い。又、突起部5の形状は、FRPライニング板1の製造時の脱型を容易にするために、円錐形状とされると良い。
FRPライニング板1は、FRPライニング板1を既設人孔の内周面3に沿って組み立て、仮更生人孔として所定の位置に仮配置し、FRPライニング板1の突起部5の平らな頂上51の内側から、ホールソー(図示せず。)等でFRPライニング板1を貫通して既設人孔3の内周面に穴53を開けてその穴53にホールインアンカー62を打ち込む。次いで、ボルト61に座金611と止水パッキン612を装着し、ホールインアンカー52に螺結してFRPライニング板1を固定して、仮更生人孔の配置を固定する。
仮更生人孔が固定されたら、FRPライニング板1と人孔3の内周面との隙間に未硬化の液状モルタル4を充填し、これが硬化したら更生工事が完了する。液状モルタル4は、送りホースの先端を該隙間の仮更生人孔の中央部近傍において、圧送ポンプにより液状モルタルを圧送する通常の方法で充填されれば良い。
突起部5の更生後の人孔側は凹部5となっている。固定ボルト6の頭は座金611、止水リング612と共にこの凹部5内でホールインアンカー62に螺結されている。この凹部5には、充填性接着剤7(本例ではフィラー入り水硬化性エポキシ樹脂)がFRPライニング板1と同じ高さになるまで充填され、防水と共に固定ボルト61の弛み防止がなされる。なお、この充填性接着剤7は、FRPライニング板1の表面と同色に着色されていると、見かけが良い。
凹部5は、充填性接着剤7が充填された上に、更に蓋体8が設けられても良い。蓋体8は、上部に厚さが薄い鍔81が張り出し下方がすぼまった円錐台形状のFRP製であり、充填性接着剤7が満たされた凹部5に、空気が残らないように被せられ、凹部5を完全に覆う。蓋体8の表面はFRPライニング板1の面より若干上方に盛り上がるが、鍔81の厚さが薄いので略面一となり、更生後の人孔内に出っ張らない。
蓋体8は必ずしも全ての凹部5に設けられる必要はない。例えば、通常時には人孔3を流れる水が接することがない人孔側面の最上方の固定個所の凹部5等においては、状況に応じて適宜設けられなくても良い。なお、蓋体8の色は、FRPライニング板1の表面色と同色とされると見かけが良い。
FRPライニング板1は、既設の人孔3の長さ方向に沿って少なくとも二部材以上に分割されていても良い。分割されたライニング板11、12、・・は、併設部が水平方向となるように併設して組み立てられ、更生人孔として老朽化した人孔3の内周面を覆う。
ホールインアンカーによる固定は、入隅には施工し難いため、FRPライニング板1の併設部は、人孔3の内周面の側面又は底面とされることが好ましい。従って、併設個所が底面に一個所であれば2分割、両側面の各1個所づつであれば3分割、底面に一個所と両側面に各一個所であれば四分割に分割されることになる。この時、どのような分割であっても、FRPライニング板1の、既設人孔3の底面と側面との角となる個所は、人孔の角に沿って曲げられた形状となる。従って、突起部5は、この角部でFRPライニング板1を既設人孔3の内周面に固定しないように、角部を外して設けられなければならない。
併設部が人孔3の内周面の側面位置となる場合は、人孔3の下方に配置されるFRPライニング板11の上端辺が、上方に配置されるFRPライニング板12の下端辺の人孔3の内周面側になるように、分割されたFRPライニング板11、12同士が重ね合わされる。重ね合わせ部9には、帯状止水パッキン92が挟み込まれて重ね合わされても良く、必要があればリベット91等で重ね合わせ部9が解けないように固定されても良い。
併設部が人孔3の内周面の底面位置である場合は、隣り合う一方のFRPライニング板11の端辺と他方のFRPライニング板13の端辺とを重ね合わせ、重ね合わせ部9に帯状の止水パッキン92が設けられている。FRPライニング板13、14の重ね合わせ部9は、重ね合わせが解けないように平頭のリベット91等で固定される。
FRPライニング板1を貼設して更生するのは、人孔3の縦内周面32のみとされても良い。この場合は、先ずFRPライニング板1の最下端部を既設人孔3の底面31上に接して配置し、これを上述の方法に従って、仮更生人孔に組み立てて既設人孔3の内周面に固定してから未硬化の液状モルタル4などを裏打ちし、硬化させる。その後、定法に従って、人孔縦内周面32と底面31との角部が、FRPライニング板1の下端部が打設するコンクリート104内に埋まるように、人孔3の底面31にコンクリート104を打ち、仕上げる。
人孔3に下水等の流入管101又は流出管102等の管10が接続されている場合、FRPライニング板1の管10相当位置に、管10の内径と同じ直径の貫通孔203を設け、これに鍔付き短管201を嵌装し、鍔部202をFRPライニング板1に接着して用いる。
流入管101や流出管102が、人孔3の底面31のインバートに設けられた溝103に接続されている場合は、短管201は輪状ではなく、管10の接続部開口形状に相当する、一部が切り取られた弧形状とされれば良く、この場合は、インバート表面は、コンクリート104打設による更生が行われれば良い。
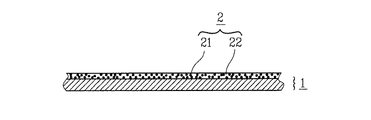
発明6においては、FRPライニング板1は、厚さ2mmのガラス繊維強化ポリエステル樹脂であり、その一方の面の表面を、有機溶剤を含ませた布で拭いて清浄にし、1号珪砂21を全重量中の60重量%混合したウレタン樹脂原料の混合液22を、乾燥後平均厚さ2mmとなるように塗布して硬化して珪砂入り塗膜2を設けたものである。他方の面はグラインダーで粗面化し、有機溶剤で拭いて研削粉を除くと共に表面を清浄化させてあるので、硬化後の裏込め材が剥がれない。
珪砂入り塗膜2を設けられた面は石目調の外観となり、更生後の人孔の内周面となる。珪砂が混合されており、かつ該塗膜2の厚さが厚いので、仮に塗膜2が下水中の土砂等で塗膜2の表面が損耗しても、石目調の外観が長く損なわれない。
FRPライニング板を用いた人孔更生工法の一例の断面図である。 図1のアンカー部の拡大断面図である。 人孔縦内周面のみライニングし、底面はコンクリートを打設する更生工法の一例の角部の拡大断面図である。 人孔に接続されている下水流入管又は流出管の管接続口部の一例の拡大断面図である。 更生後の人孔内周面側が珪砂等を混合した合成樹脂で被覆されているFRPライニング板の一例の断面図である。
符号の説明
1 FRPライニング板
11、12、13、・・・ 分割されたFRPライニング板
2 珪砂入り塗膜
21 珪砂
22 ウレタン樹脂原料の混合液
3 老朽化した既設人孔
31 人孔底面
32 縦内周面
4 裏込め材(未硬化の液状モルタル)
5 突起部、または反対面から見た場合の凹部
51突起部頂上
52 貫通孔
61 固定ボルト
611座金
612 止水パッキン
62 ホールインアンカー
7 充填性接着剤
8 蓋体
9 重ね合わせ部
91 リベット
92 帯状止水パッキン
10 管
101 流入管
102 流出管
103 インバート上の溝
104 コンクリート
201 鍔付き短管
202 鍔部
203 貫通孔

Claims (6)

  1. 縦内周面が平板形状であり、人孔底面と縦内周面との角部が直線状である老朽化した人孔の内周面と、繊維強化合成樹脂板からなるライニング板との間に裏込め材を充填する人孔内周面の更生工法であって、ライニング板に、頂上が平らな円錐形の突起部が人孔内周面側に突出して設けられ、突起部頂上の中央に穿孔機で貫通孔が開けられて人孔内周面にアンカーナット又はアンカーボルトが設けられ、止水リングを介してアンカーボルト又はアンカーナットが螺結され、ライニング板と人孔内周面との間に突起部の突出高さだけの隙間を有するようにライニング板が人孔内周面に固定され、上記隙間に未硬化の液状モルタルを充填して硬化することを特徴とする人孔内周面の更生工法。
  2. 頂上が平らな円錐形の突起部が人孔内周面側に突出して設けられたライニング板に、人孔に接続される管と同じ形状の貫通孔が設けられ、長さが突起部の長さと略同じとされ、外形がライニング板に開けられた貫通孔に嵌入される大きさとされ、かつ一端部が厚さが薄い外向きの鍔部とされた短管の鍔部が、上記貫通孔に被装されて他端部が上記人孔に接続された管の接続口に固定され、突起部頂上の中央に穿孔機で貫通孔が開けられて人孔内周面にアンカーナット又はアンカーボルトが設けられ、止水リングを介してアンカーボルト又はアンカーナットが螺結され、ライニング板と人孔内周面との間に突起部の突出高さだけの隙間を有するようにライニング板が人孔内周面に固定され、上記隙間に未硬化の液状モルタルを充填して硬化することを特徴とする請求項1記載の人孔内周面の更生工法。
  3. ライニング板の下端が人孔底面上に置かれて、底面と縦内周面との角より上方の縦内周面に固定され、ライニング板と縦内周面との隙間に未硬化の液状モルタルを充填して硬化することを特徴とする請求項1又は請求項2記載の人孔内周面の更生工法。
  4. 突起部を人孔内から見た時の凹部に充填性接着剤を充填し、その上に蓋体を接着固定して蓋表面をライニング材表面と略面一とすることを特徴とする請求項1又は請求項3の人孔内周面の更生工法。
  5. 水平方向に少なくとも二部材以上に分割されたライニング材を上下方向に並設して人孔内側壁を覆い、ライニング板同士の並設を人孔内側壁位置とし、下方に配置されるライニング板の上端辺が、上方に配置されるライニング板の下端辺の人孔側壁側になるように、分割されたライニング板同士が重ね合わされ、重ね合わせ部に帯状の止水パッキンが設けられることを特徴とする請求項1から請求項4のいずれかに記載の人孔内周面の更生工法。
  6. ライニング板の突起部がない面側が、珪砂等を総重量の20〜87重量%で混合した合成樹脂塗膜で被覆されていることを特徴とする請求項1から請求項5のいずれかに記載の人孔内周面の更生工法。
JP2004107570A 2004-03-31 2004-03-31 人孔内周面の更生工法 Expired - Fee Related JP4299715B2 (ja)

Priority Applications (1)

Application Number Priority Date Filing Date Title
JP2004107570A JP4299715B2 (ja) 2004-03-31 2004-03-31 人孔内周面の更生工法

Applications Claiming Priority (1)

Application Number Priority Date Filing Date Title
JP2004107570A JP4299715B2 (ja) 2004-03-31 2004-03-31 人孔内周面の更生工法

Publications (2)

Publication Number Publication Date
JP2005290846A true JP2005290846A (ja) 2005-10-20
JP4299715B2 JP4299715B2 (ja) 2009-07-22

Family

ID=35324092

Family Applications (1)

Application Number Title Priority Date Filing Date
JP2004107570A Expired - Fee Related JP4299715B2 (ja) 2004-03-31 2004-03-31 人孔内周面の更生工法

Country Status (1)

Country Link
JP (1) JP4299715B2 (ja)

Cited By (11)

* Cited by examiner, † Cited by third party
Publication number Priority date Publication date Assignee Title
JP2009249924A (ja) * 2008-04-07 2009-10-29 Ohbayashi Corp マンホールの補強構造、マンホールの補強方法
CN103243801A (zh) * 2013-04-25 2013-08-14 安徽建筑工业学院 一种检查井修复方法
JP2013159892A (ja) * 2012-02-01 2013-08-19 Airec Engineering Corp 排水桝補強
JP2016030897A (ja) * 2014-07-25 2016-03-07 東京都下水道サービス株式会社 地震対応人孔補修工法
JP2017218817A (ja) * 2016-06-08 2017-12-14 株式会社アイビルド マンホール補修方法及びマンホール補修構造
JP2018017024A (ja) * 2016-07-28 2018-02-01 則一 徳谷 公共汚水桝の改修方法
JP2018059353A (ja) * 2016-10-07 2018-04-12 株式会社カナサシテクノサービス 地中埋設された容積構造体の補修構造 並びにこれに用いる補修要素体 並びに地中埋設された容積構造体の補修方法
CN109334018A (zh) * 2018-10-12 2019-02-15 安徽郎川金鹏塑业有限公司 一种方便进入的注塑检查井的制备方法
KR102393354B1 (ko) * 2021-09-30 2022-05-03 경북대학교 산학협력단 발광 부재가 구비된 토목구조물 보강재 및 이를 이용하여 보강력을 형성한 토목구조물
WO2023033460A1 (ko) * 2021-08-31 2023-03-09 경북대학교 산학협력단 발광 부재가 구비된 구조물 보강재 및 이를 이용하여 보강력을 형성한 구조물
JP7780163B1 (ja) * 2025-06-10 2025-12-04 株式会社大阪防水建設社 ライニング管の支持装置、既設管の更生工法

Cited By (12)

* Cited by examiner, † Cited by third party
Publication number Priority date Publication date Assignee Title
JP2009249924A (ja) * 2008-04-07 2009-10-29 Ohbayashi Corp マンホールの補強構造、マンホールの補強方法
JP2013159892A (ja) * 2012-02-01 2013-08-19 Airec Engineering Corp 排水桝補強
CN103243801A (zh) * 2013-04-25 2013-08-14 安徽建筑工业学院 一种检查井修复方法
JP2016030897A (ja) * 2014-07-25 2016-03-07 東京都下水道サービス株式会社 地震対応人孔補修工法
JP2017218817A (ja) * 2016-06-08 2017-12-14 株式会社アイビルド マンホール補修方法及びマンホール補修構造
JP2018017024A (ja) * 2016-07-28 2018-02-01 則一 徳谷 公共汚水桝の改修方法
JP2018059353A (ja) * 2016-10-07 2018-04-12 株式会社カナサシテクノサービス 地中埋設された容積構造体の補修構造 並びにこれに用いる補修要素体 並びに地中埋設された容積構造体の補修方法
CN109334018A (zh) * 2018-10-12 2019-02-15 安徽郎川金鹏塑业有限公司 一种方便进入的注塑检查井的制备方法
CN109334018B (zh) * 2018-10-12 2021-06-18 安徽郎川金鹏塑业有限公司 一种方便进入的注塑检查井的制备方法
WO2023033460A1 (ko) * 2021-08-31 2023-03-09 경북대학교 산학협력단 발광 부재가 구비된 구조물 보강재 및 이를 이용하여 보강력을 형성한 구조물
KR102393354B1 (ko) * 2021-09-30 2022-05-03 경북대학교 산학협력단 발광 부재가 구비된 토목구조물 보강재 및 이를 이용하여 보강력을 형성한 토목구조물
JP7780163B1 (ja) * 2025-06-10 2025-12-04 株式会社大阪防水建設社 ライニング管の支持装置、既設管の更生工法

Also Published As

Publication number Publication date
JP4299715B2 (ja) 2009-07-22

Similar Documents

Publication Publication Date Title
CA2407297C (en) Duct repairing material, repairing structure, and repairing method
US20030136455A1 (en) Block unit for repairing flow passage facilities and method of repairing flow passage facilities
CN207527149U (zh) 一种地下结构预埋穿墙管防水装置
JP4299715B2 (ja) 人孔内周面の更生工法
JP6183869B2 (ja) マンホールの更新方法及びマンホールの新設方法
CN107504277A (zh) 一种地下结构预埋穿墙管防水装置
NO179846B (no) Tetning for en skjöt i betong, fremgangsmåte for å tette en skjöt ved hjelp av denne og anvendelse av tetningen
JP3198669U (ja) マンホール更新構造及び新設のマンホール構造
JP5133378B2 (ja) 下水道マンホールの更生方法とそのマンホール
KR101188724B1 (ko) 반전탱크를 이용한 매설관로 비굴착 전체 보수장치 및 이를 이용한 전체 보수 시공방법
JP4227926B2 (ja) 水路内周面の更生工法
NZ517503A (en) Structure lining and sealing system
KR100310457B1 (ko) 콘크리트 구조물의 방수공법
JPH0827822A (ja) マンホール補修方法及びマンホール補修材
JP2004124603A (ja) 覆工セグメントの製造方法、トンネル覆工方法及びトンネル覆工体の補修方法
JP4759683B1 (ja) 既設コンクリート製u字溝を補強又は再活用する方法及びその方法に用いる構造体
JPH0154487B2 (ja)
CN210530870U (zh) 一种隧道支护结构
EP1384937A1 (en) Block unit for repairing flow passage facilities and method of repairing flow passage facilities
KR102028867B1 (ko) 누수방지가 가능한 지상 및 지중 매설용 시설물 보호구조와 보호커버의 부착방법
JP2537383B2 (ja) 枝管付き既設管の内面ライニング方法
CN211397605U (zh) 一种地铁隧道加固止漏结构
KR200330013Y1 (ko) 콘크리트 수로의 신축이음 누수 보수 구조
JP2005076416A (ja) 補修板および補修板による施工方法
CN208056643U (zh) 一种消防水池管道漏埋的补救施工装置

Legal Events

Date Code Title Description
A621 Written request for application examination

Free format text: JAPANESE INTERMEDIATE CODE: A621

Effective date: 20061117

A977 Report on retrieval

Free format text: JAPANESE INTERMEDIATE CODE: A971007

Effective date: 20080821

A131 Notification of reasons for refusal

Free format text: JAPANESE INTERMEDIATE CODE: A131

Effective date: 20080903

A521 Written amendment

Free format text: JAPANESE INTERMEDIATE CODE: A523

Effective date: 20081104

TRDD Decision of grant or rejection written
A01 Written decision to grant a patent or to grant a registration (utility model)

Free format text: JAPANESE INTERMEDIATE CODE: A01

Effective date: 20090325

A01 Written decision to grant a patent or to grant a registration (utility model)

Free format text: JAPANESE INTERMEDIATE CODE: A01

A61 First payment of annual fees (during grant procedure)

Free format text: JAPANESE INTERMEDIATE CODE: A61

Effective date: 20090417

FPAY Renewal fee payment (event date is renewal date of database)

Free format text: PAYMENT UNTIL: 20120424

Year of fee payment: 3

FPAY Renewal fee payment (event date is renewal date of database)

Free format text: PAYMENT UNTIL: 20120424

Year of fee payment: 3

FPAY Renewal fee payment (event date is renewal date of database)

Free format text: PAYMENT UNTIL: 20130424

Year of fee payment: 4

FPAY Renewal fee payment (event date is renewal date of database)

Free format text: PAYMENT UNTIL: 20140424

Year of fee payment: 5

LAPS Cancellation because of no payment of annual fees