JP2005290736A - 床材 - Google Patents
床材 Download PDFInfo
- Publication number
- JP2005290736A JP2005290736A JP2004104749A JP2004104749A JP2005290736A JP 2005290736 A JP2005290736 A JP 2005290736A JP 2004104749 A JP2004104749 A JP 2004104749A JP 2004104749 A JP2004104749 A JP 2004104749A JP 2005290736 A JP2005290736 A JP 2005290736A
- Authority
- JP
- Japan
- Prior art keywords
- layer
- resin
- flooring
- decorative sheet
- thickness
- Prior art date
- Legal status (The legal status is an assumption and is not a legal conclusion. Google has not performed a legal analysis and makes no representation as to the accuracy of the status listed.)
- Pending
Links
Images
Landscapes
- Floor Finish (AREA)
- Laminated Bodies (AREA)
Abstract
【課題】従来の木質系床材と同等の表面意匠等を有しながら、表面の耐傷付き性や耐キャスター性にも優れた床材を提供する。
【解決手段】少なくとも床材用化粧シートが木質基材2上に積層してなる床材であって、該木質基材2と化粧シート1との間に厚さ200〜350μmの2軸延伸ポリエステルフィルムからなるバッカー3を有する床材。
【選択図】図1
【解決手段】少なくとも床材用化粧シートが木質基材2上に積層してなる床材であって、該木質基材2と化粧シート1との間に厚さ200〜350μmの2軸延伸ポリエステルフィルムからなるバッカー3を有する床材。
【選択図】図1
Description
本発明は、戸建て住宅、アパート、マンション、保養所、店舗等の建築物における床材に関する。
従来から床材としては、合板に木質化粧単板を張り合わせて塗装したもの、または合板と中密度繊維板(MDF)を積層させ、さらにMDFに木質化粧単板を貼り合わせて塗装したものが広く知られている。
しかしながら、木質化粧単板は、天然木材を薄くスライスしたものであり、木材資源の枯渇問題、世界的な資源保護運動の高まりから、天然木材の木質化粧単板に代えて、木目模様等を印刷等により人工的に表現した化粧シートを使用した床材が提案されている。係る床材は、表面意匠の自由度や安定性に優れることは勿論、化粧シートが合成材料であることから耐候性や耐水性にも優れるなどの利点があるが、反面、その表面が化粧シートという、天然木材の突板と比較すれば遥かに平滑且つ均質な材料であるために、表面の一部に傷がつくと相対的に目立ち易いという問題がある。
また、近年では室内調度の洋風化やバリアフリー化に伴い、キャスター付きの家具や車椅子等の室内での使用もますます増加しつつある。ところが、積層合板等の木質基材を用いた従来の床材は、小面積に大荷重がかかりつつ車輪が転動する際に、その軌跡に沿って凹みが残るという、いわゆる耐キャスター性の不足という問題がある。
上記した表面の耐傷付き性や耐キャスター性の問題を解決する発明が例えば特許文献1に提案されている。特許文献1は、木質基材の表面に化粧シートを具備してなる化粧材において、前記木質基材と前記化粧シートとの間に、高硬度の材質からなる硬質シート層を設ける構成を提案している。本願発明は、引用文献1と同様の目的を有しているが、その解決手段が全く異なる。
本発明は、上記事情に鑑みなされたものであって、従来の木質系床材と同等の表面意匠等を有しながら、表面の耐傷付き性や耐キャスター性にも優れた床材を提供することを目的とする。
すなわち、本発明は、少なくとも床材用化粧シートが木質基材上に積層してなる床材であって、該木質基材と化粧シートとの間に厚さ200〜350μmの2軸延伸ポリエステルフィルムからなるバッカーを有することを特徴とする、床材に関する。
本発明の床材は、耐キャスターに優れている。
本発明の床材1は、図1に示したように、床材用化粧シートと木質基材上との間に厚さ200〜350μmの2軸延伸ポリエステルフィルムからなるバッカーを有する。
(木質基材)
木質基材2としては、特に限定されず、例えば杉、檜、律、松、ラワン、チーク、メラピー等の各種素材から作られた突板、木材単板、木材合板、パティクルボード、中密度繊維板(MDF)等が挙げられる。なお、木材基材には、一方の面に、防湿効果を付与する観点から、例えば防湿層を形成していてもよい。
木質基材2としては、特に限定されず、例えば杉、檜、律、松、ラワン、チーク、メラピー等の各種素材から作られた突板、木材単板、木材合板、パティクルボード、中密度繊維板(MDF)等が挙げられる。なお、木材基材には、一方の面に、防湿効果を付与する観点から、例えば防湿層を形成していてもよい。
(バッカー)
バッカーは、本発明においては耐キャスター性を付与するために設けられるもので、厚さ200〜350μm、好ましくは250〜300μmの2軸延伸ポリエステルフィルムを使用するようにする。このようなバッカーを使用することにより、床材は耐キャスター性に優れたものとなる。より好ましくは引張り弾性率が3000MPa以上を有するものを使用するようにする。なお、引張り弾性率は、JIS K7127により測定した値を用いている。
バッカーは、本発明においては耐キャスター性を付与するために設けられるもので、厚さ200〜350μm、好ましくは250〜300μmの2軸延伸ポリエステルフィルムを使用するようにする。このようなバッカーを使用することにより、床材は耐キャスター性に優れたものとなる。より好ましくは引張り弾性率が3000MPa以上を有するものを使用するようにする。なお、引張り弾性率は、JIS K7127により測定した値を用いている。
バッカーを構成するポリエステルとしては、特に公知のものを使用することができるが、アルコール成分がエチレングリコール、カルボン酸成分がテレフタル酸であるポリエステルを使用することが好ましい。
本発明で使用する2軸延伸ポリエステルフィルムは、例えばA4300;東洋紡(株)製、U98;東レ(株)製)等として入手可能である。
(化粧シート)
図2に化粧シートの一実施形態の断面図を示す。化粧シート100はオレフィン系熱可塑性樹脂フィルム10の一方の面にプライマー層15を設け、該プライマー層15上にベタ印刷層17と絵柄層16からなる印刷層12を順に印刷形成し、前記印刷層12上に接着層18を介してオレフィン系熱可塑性樹脂層11を積層し、さらにオレフィン系熱可塑性樹脂層11の表面に表面保護層14を形成したものである。
図2に化粧シートの一実施形態の断面図を示す。化粧シート100はオレフィン系熱可塑性樹脂フィルム10の一方の面にプライマー層15を設け、該プライマー層15上にベタ印刷層17と絵柄層16からなる印刷層12を順に印刷形成し、前記印刷層12上に接着層18を介してオレフィン系熱可塑性樹脂層11を積層し、さらにオレフィン系熱可塑性樹脂層11の表面に表面保護層14を形成したものである。
(オレフィン系熱可塑性樹脂フィルム10)
オレフィン系熱可塑性樹脂フィルム10は、床材としての意匠を付与する機能を担うもので、例えばポリプロピレン樹脂、ポリエチレン樹脂、ポリオレフィン系熱可塑性エラストマー樹脂等のポリオレフィン系樹脂、ポリエチレンテレフタレート樹脂、ポリエチレンナフタレート樹脂、共重合ポリエステル樹脂(例.1,4−シクロヘキサンジメタノール共重合ポリエチレンテレフタレート樹脂である通称PET−G樹脂)、非晶質ポリエステル樹脂等のポリエステル系樹脂、ポリアクリロニトリル樹脂、ポリメチルメタクリレート樹脂等のアクリル樹脂、ポリ塩化ビニル樹脂等を使用することができる。
オレフィン系熱可塑性樹脂フィルム10は、床材としての意匠を付与する機能を担うもので、例えばポリプロピレン樹脂、ポリエチレン樹脂、ポリオレフィン系熱可塑性エラストマー樹脂等のポリオレフィン系樹脂、ポリエチレンテレフタレート樹脂、ポリエチレンナフタレート樹脂、共重合ポリエステル樹脂(例.1,4−シクロヘキサンジメタノール共重合ポリエチレンテレフタレート樹脂である通称PET−G樹脂)、非晶質ポリエステル樹脂等のポリエステル系樹脂、ポリアクリロニトリル樹脂、ポリメチルメタクリレート樹脂等のアクリル樹脂、ポリ塩化ビニル樹脂等を使用することができる。
フィルム10は、公知の着色剤の添加により着色されていても良いし、着色されていなくても良い。フィルム10の厚みは50μm以上、好ましくは50〜150μm程度、より好ましくは50〜80μmである。該フィルムの厚みが薄すぎると隠蔽性が要求される場合、隠蔽不足となる)であり、厚さの上限は特に限定されるものではないが、50μm以上あれば、その範囲で薄いほうが好ましく、一方厚いものを使用すればするほどコストアップにつながり、また入手容易なものは、150μm程度までのものである。
(プライマー層)
プライマー層15はオレフィン系熱可塑性樹脂層11と絵柄層16、ベタ印刷層17等の印刷層12との接着性を向上させる目的で設けるものであり、本発明においては、プライマー層は必ず形成しなければならないものではなく、必要により設ければよい。プライマー層を形成する樹脂としてはエステル樹脂、ウレタン樹脂、アクリル樹脂、ポリカーボネート樹脂、塩化ビニル‐酢酸ビニル共重合体、ポリビニルブチラール樹脂、ニトロセルロース樹脂等を挙げることができる。これらの樹脂は単独ないし混合して塗料組成物、又は、インキ組成物とし、ロールコート法やグラビア印刷法等の従来から公知の塗布手段を用いて、1〜6μm程度の厚さに形成すればよい。
プライマー層15はオレフィン系熱可塑性樹脂層11と絵柄層16、ベタ印刷層17等の印刷層12との接着性を向上させる目的で設けるものであり、本発明においては、プライマー層は必ず形成しなければならないものではなく、必要により設ければよい。プライマー層を形成する樹脂としてはエステル樹脂、ウレタン樹脂、アクリル樹脂、ポリカーボネート樹脂、塩化ビニル‐酢酸ビニル共重合体、ポリビニルブチラール樹脂、ニトロセルロース樹脂等を挙げることができる。これらの樹脂は単独ないし混合して塗料組成物、又は、インキ組成物とし、ロールコート法やグラビア印刷法等の従来から公知の塗布手段を用いて、1〜6μm程度の厚さに形成すればよい。
(印刷層12)
図2には、印刷層として絵柄層16およびベタ印刷層17を有する構成を示している。絵柄層16およびベタ印刷層17は、一般的にはグラビア印刷、オフセット印刷、シルクスクリーン印刷等の周知の印刷法でインキを用いてフィルム10の上に形成することができる。図2においては、絵柄層16およびベタ印刷層17の両方を設けた構成を示したが、いずれか一方の構成であっても構わない。絵柄層16としては、特に限定されるものではないが、たとえば、木目模様、石目模様、布目模様、皮紋模様、幾何学模様、文字、記号、線画、各種抽象模様柄が挙げられる。模様部の厚さは、通常1〜15μm程度である。ベタ印刷層17としては、隠蔽性を有する着色インキでベタ印刷したものであり、その厚さは、通常1〜10μm程度である。
図2には、印刷層として絵柄層16およびベタ印刷層17を有する構成を示している。絵柄層16およびベタ印刷層17は、一般的にはグラビア印刷、オフセット印刷、シルクスクリーン印刷等の周知の印刷法でインキを用いてフィルム10の上に形成することができる。図2においては、絵柄層16およびベタ印刷層17の両方を設けた構成を示したが、いずれか一方の構成であっても構わない。絵柄層16としては、特に限定されるものではないが、たとえば、木目模様、石目模様、布目模様、皮紋模様、幾何学模様、文字、記号、線画、各種抽象模様柄が挙げられる。模様部の厚さは、通常1〜15μm程度である。ベタ印刷層17としては、隠蔽性を有する着色インキでベタ印刷したものであり、その厚さは、通常1〜10μm程度である。
絵柄層16およびベタ印刷層17に用いるインキ組成物としては、ビヒクルとして、塩素化ポリエチレン、塩素化ポリプロピレン等の塩素化ポリオレフィン、ポリエステル、イソシアネートとポリオールからなるポリウレタン、ポリアクリル、ポリ酢酸ビニル、ポリ塩化ビニル、塩化ビニル−酢酸ビニル共重合体、セルロース系樹脂、ポリアミド系樹脂等を1種ないし2種以上混合して用い、これに顔料、溶剤、各種補助剤等を加えたものを用いることができるが、環境問題や被印刷面との接着性等を考慮すると、ポリエステル、イソシアネートとポリオールからなるポリウレタン、ポリアクリル、ポリアミド系樹脂等の1種ないし2種以上混合したものを使用することが好ましい。
(オレフィン系熱可塑性樹脂層11)
オレフィン系熱可塑性樹脂層11には、上記オレフィン系熱可塑性樹脂フィルム10に使用した同様の樹脂を使用することができる。厚みは60〜150μm程度、好ましくは80〜100μmである。該フィルムの厚みが薄すぎると耐摩耗性が低下する。また厚すぎると溝切削時に該フィルムが毛羽立つ等の問題が生じる。
オレフィン系熱可塑性樹脂層11には、上記オレフィン系熱可塑性樹脂フィルム10に使用した同様の樹脂を使用することができる。厚みは60〜150μm程度、好ましくは80〜100μmである。該フィルムの厚みが薄すぎると耐摩耗性が低下する。また厚すぎると溝切削時に該フィルムが毛羽立つ等の問題が生じる。
(接着層18)
接着層18は、印刷層12が形成されたフィルム10とオレフィン系熱可塑性樹脂層11とを接着させる働きをするものである。オレフィン系熱可塑性樹脂層11との積層方法としては、例えば、接着層18を介したドライラミネート法又はウエットラミネート法や、接着層18を介した又は介さない熱ラミネート法や高周波ラミネート法、透明熱可塑性樹脂を溶融状態で押し出すと同時に積層する押出ラミネート法等が適用可能である。押出ラミネート法にあっては、必要に応じて、接着層18としての酸変性オレフィン系樹脂又はオレフィン−(メタ)アクリレート共重合体樹脂等の接着性樹脂層を、樹脂層11との共押出にて同時に積層形成してもよい。また、当該積層に先立ち、樹脂層11との接着面に、例えば、コロナ放電、オゾン処理、プラズマ処理、電離放射線処理、酸処理、アルカリ処理、または、アンカー処理等の易接着化の為の表面処理を施しておいてもよい。
接着層18は、印刷層12が形成されたフィルム10とオレフィン系熱可塑性樹脂層11とを接着させる働きをするものである。オレフィン系熱可塑性樹脂層11との積層方法としては、例えば、接着層18を介したドライラミネート法又はウエットラミネート法や、接着層18を介した又は介さない熱ラミネート法や高周波ラミネート法、透明熱可塑性樹脂を溶融状態で押し出すと同時に積層する押出ラミネート法等が適用可能である。押出ラミネート法にあっては、必要に応じて、接着層18としての酸変性オレフィン系樹脂又はオレフィン−(メタ)アクリレート共重合体樹脂等の接着性樹脂層を、樹脂層11との共押出にて同時に積層形成してもよい。また、当該積層に先立ち、樹脂層11との接着面に、例えば、コロナ放電、オゾン処理、プラズマ処理、電離放射線処理、酸処理、アルカリ処理、または、アンカー処理等の易接着化の為の表面処理を施しておいてもよい。
(表面保護層)
化粧シート100の表面に設ける表面保護層14について説明する。この表面保護層14は、床材(図1参照)に要求される耐擦傷性、耐摩耗性、耐水性、耐汚染性等の表面物性を付与するために設けられる。この表面保護層14を形成する樹脂としては、従来から知られている熱硬化型樹脂ないし電離放射線硬化型樹脂等の硬化型樹脂等を用いて1〜100μm、好ましくは5〜100μmの厚さに形成するのが適当である。より詳しくは、特許文献1明細書第0031〜0044段に記載されている表面保護層に関する技術的事項を本願発明にもそのまま適用可能であるので、当該記載を本願明細書の一部としてここに引用する。本願発明において好ましいものは表面硬度が硬く生産性に優れる電離放射線硬化型樹脂である。
化粧シート100の表面に設ける表面保護層14について説明する。この表面保護層14は、床材(図1参照)に要求される耐擦傷性、耐摩耗性、耐水性、耐汚染性等の表面物性を付与するために設けられる。この表面保護層14を形成する樹脂としては、従来から知られている熱硬化型樹脂ないし電離放射線硬化型樹脂等の硬化型樹脂等を用いて1〜100μm、好ましくは5〜100μmの厚さに形成するのが適当である。より詳しくは、特許文献1明細書第0031〜0044段に記載されている表面保護層に関する技術的事項を本願発明にもそのまま適用可能であるので、当該記載を本願明細書の一部としてここに引用する。本願発明において好ましいものは表面硬度が硬く生産性に優れる電離放射線硬化型樹脂である。
(リコート樹脂層)
化粧シート100の表面に電離放射線硬化型樹脂からなる表面保護層14を設けるにあたり、該表面保護層14の形成面、すなわち図2に示す例では樹脂層11の表面、と電離放射線硬化型樹脂からなる表面保護層14との間に、十分な密着性を確保する必要がある。そのためには、樹脂層11の表面に例えばコロナ放電処理又はオゾン処理等の表面活性化処理を施すか、若しくは、樹脂層11を構成する熱可塑性樹脂と、表面保護層14を構成する電離放射線硬化型樹脂との双方に対して密着性の優れた樹脂組成物からなるリコート性樹脂層を、樹脂層11の表面に設けておくことが望ましい。
化粧シート100の表面に電離放射線硬化型樹脂からなる表面保護層14を設けるにあたり、該表面保護層14の形成面、すなわち図2に示す例では樹脂層11の表面、と電離放射線硬化型樹脂からなる表面保護層14との間に、十分な密着性を確保する必要がある。そのためには、樹脂層11の表面に例えばコロナ放電処理又はオゾン処理等の表面活性化処理を施すか、若しくは、樹脂層11を構成する熱可塑性樹脂と、表面保護層14を構成する電離放射線硬化型樹脂との双方に対して密着性の優れた樹脂組成物からなるリコート性樹脂層を、樹脂層11の表面に設けておくことが望ましい。
リコート性樹脂層としては、例えばウレタン系樹脂、エポキシ系樹脂、フェノール系樹脂、尿素樹脂、アルキド系樹脂、ポリエステル系樹脂等の熱硬化性樹脂を使用することが望ましく、中でもポリオール化合物とイソシアネート化合物との配合による2液硬化型ウレタン系樹脂を使用することが最も望ましい。ポリオール化合物としては、例えばアクリルポリオール化合物、ポリエーテルポリオール化合物、ポリエステルポリオール化合物等が使用可能であるが、中でも熱可塑性樹脂及び電離放射線硬化型樹脂との密着性と内部凝集力とのバランスの面から、ポリエステルポリオール化合物を使用することが最も望ましい。
リコート性樹脂層の塗布量は、乾燥後、0.1〜2.0μm程度とすることが望ましい。リコート性樹脂層の形成方法としては、例えばグラビアコート法、マイクログラビアコート法、ロールコート法、ナイフコート法、エアーナイフコート法、リップコート法、ダイコート法等、従来公知の各種の塗工方法を任意に採用することができる。
い。
い。
本発明の床材の製造にあたり、木質基材2、バッカー3、化粧シート1の相互間の積層方法は、本発明において特に限定されるものではなく、接着層を用いた通常の接着法(ウェットラミネート法)やドライラミネート法、接着剤を用いるか又は用いない、熱ラミネート法あるいは高周波ラミネート法等、従来公知の積層方法を任意に採用すれば良い。木質基材2、バッカー3、化粧シート1との接着性を向上する観点から、本発明の化粧シートの表面保護層側とは反対の他方の面(裏面)及びバッカーの両面に、プライマー層を設けてもよい。上記したプライマー層(15)に関する記載を、同様に該化粧シート裏面プライマー及びバッカー両面プライマー層に適用することができる。この場合、ブロッキング防止の目的でシリカ、硫酸バリウム等の体質顔料を添加してもよい。化粧シート1とバッカー3との接着には、例えばウレタン系接着剤等を用いた接着が好適であり、木質基材2とバッカー3との接着には、例えば水性塩化酢酸ビニル樹脂系接着剤や2液型水性ウレタン樹脂系接着剤などを用いた接着方法が好適である。
実施例
〔化粧シートの作製〕
両面コロナ放電処理した60μm厚さの着色ポリプロピレンフィルムの一方の面に2μm厚さの2液硬化型ウレタン系プライマー層を設けると共に他方の面に2液硬化型ウレタン系プライマー層及びアクリルウレタン系印刷インキで木目模様の印刷層を形成した。該印刷層上にウレタン系接着剤を介して透明なポリプロピレン系樹脂をTダイ押出機で厚さが80μmとなるように押出して積層体を作製した。
前記積層体の透明ポリプロピレン系樹脂面に2μm厚さのウレタン系プライマー層を形成し、該ウレタン系プライマー層上に電離放射線硬化型樹脂をグラビアリバースコート法で乾燥後に15μm厚さとなるように塗布・乾燥して未硬化の電離放射線硬化型樹脂層を形成した。該未硬化の電影放射線硬化型樹脂層に酸素濃度200PPM以下の環境下で電子線(加速電圧175keV、照射量5Mrad)を照射して硬化させて電離放射線硬化型樹脂からなる表面保護層を形成すると共に、該表面保護層側から版深50μmの木目導管形状エンボス版でエンボス加工を施して木目導管状凹凸模様を形成した。このようにして化粧シートを作製した。
〔化粧シートの作製〕
両面コロナ放電処理した60μm厚さの着色ポリプロピレンフィルムの一方の面に2μm厚さの2液硬化型ウレタン系プライマー層を設けると共に他方の面に2液硬化型ウレタン系プライマー層及びアクリルウレタン系印刷インキで木目模様の印刷層を形成した。該印刷層上にウレタン系接着剤を介して透明なポリプロピレン系樹脂をTダイ押出機で厚さが80μmとなるように押出して積層体を作製した。
前記積層体の透明ポリプロピレン系樹脂面に2μm厚さのウレタン系プライマー層を形成し、該ウレタン系プライマー層上に電離放射線硬化型樹脂をグラビアリバースコート法で乾燥後に15μm厚さとなるように塗布・乾燥して未硬化の電離放射線硬化型樹脂層を形成した。該未硬化の電影放射線硬化型樹脂層に酸素濃度200PPM以下の環境下で電子線(加速電圧175keV、照射量5Mrad)を照射して硬化させて電離放射線硬化型樹脂からなる表面保護層を形成すると共に、該表面保護層側から版深50μmの木目導管形状エンボス版でエンボス加工を施して木目導管状凹凸模様を形成した。このようにして化粧シートを作製した。
〔床材の作製〕
両面易接着処理を施した250μm厚さの2軸延伸ポリエチレンテレフタレート(引張り弾性率;3200MPa)(A4300;東洋紡績(株)製)を上記で作製した化粧シートの裏面側にポリエステルウレタン系接着剤を介して積層した。
次に該積層体の前記2軸延伸PET面と12mm厚さのラワン合板を水溶性ウレタン系エマルジョン接着剤を介して積層して本発明の床材用化粧材を作製した。
両面易接着処理を施した250μm厚さの2軸延伸ポリエチレンテレフタレート(引張り弾性率;3200MPa)(A4300;東洋紡績(株)製)を上記で作製した化粧シートの裏面側にポリエステルウレタン系接着剤を介して積層した。
次に該積層体の前記2軸延伸PET面と12mm厚さのラワン合板を水溶性ウレタン系エマルジョン接着剤を介して積層して本発明の床材用化粧材を作製した。
比較例1
250μm厚さの非晶性ポリエチレンテレフタレート(引張り弾性率;2000MPa)を化粧シートと積層した以外は実施例と同様にして比較例とする床材用化粧材を作製した。
250μm厚さの非晶性ポリエチレンテレフタレート(引張り弾性率;2000MPa)を化粧シートと積層した以外は実施例と同様にして比較例とする床材用化粧材を作製した。
比較例2
400μm厚さの非晶性ポリエチレンテレフタレート(引張り弾性率;2000MPa)を化粧シートと積層した以外は実施例と同様にして比較例とする床材用化粧材を作製した。
400μm厚さの非晶性ポリエチレンテレフタレート(引張り弾性率;2000MPa)を化粧シートと積層した以外は実施例と同様にして比較例とする床材用化粧材を作製した。
評価(耐キャスター)
上記実施例および比較例で得られた床材について、耐キャスター性を、耐キャスター試験装置L6−O4(浅野機械製作(株)製)を使用して評価した。
上記実施例および比較例で得られた床材について、耐キャスター性を、耐キャスター試験装置L6−O4(浅野機械製作(株)製)を使用して評価した。
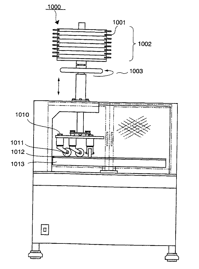
耐キャスター試験装置L6−O4の概略構成図を図3に示した。耐キャスター試験装置1000は、重り1001により荷重変更可能な加重部1002と、調節ハンドル1003と、回転可能のキャスター固定台1010(固定台:直径320mm、キャスター取り付け部の直径:260mm)と、前記キャスター固定台に等間隔(円形の固定台内に正三角形を描いた時の頂点位置)に取り付けられた3個のキャスター1011と、試料固定台1013(直径80cm、厚さ80mm)(アクリル製)とを備えてなるものである。使用したキャスターは、HANMMER CASTER社より入手した420SA−N(車輪:ナイロン製)(平均直径75mm、厚さ25mm)である。
試験する床材(試料)(30cm×30cm)を試料固定台1013に固定し、加重部1002に30kgの重り1001を乗せて、調節ハンドル1OO3により、床材の化粧層側の表面に、3個のキャスター1011を接触させ(総荷重70Kg/m2)、キャスター固定台1010を稼働し、20rpmの速度で5分間毎に反回転させて1000回転させた。
耐キャスター性を、床材表面に発生した割れの有無で評価し、以下のようにランク付けした。
○:凹み深さが70μm未満
△:凹み深さが70μm以上、100μm未満
×:凹み深さが100μm以上
○:凹み深さが70μm未満
△:凹み深さが70μm以上、100μm未満
×:凹み深さが100μm以上
なお、耐キャスター性は、L6−O4(浅野機械製作(株)製)と同等の評価ができれば、他の試験機でも評価可能である。
1 化粧シート
2 木質材質
3 バッカー
10 樹脂フィルム
11 樹脂層
12 印刷層
14 表面保護層
15 プライマー層
16 絵柄層
17 ベタ印刷層
18 接着層
100 化粧シート
1000 耐キャスター試験装置
1001 重り
1002 荷重部
1003 調節ハンドル
1010 キャスター固定台
1011 キャスター
1012 試料
1013 試料固定台
2 木質材質
3 バッカー
10 樹脂フィルム
11 樹脂層
12 印刷層
14 表面保護層
15 プライマー層
16 絵柄層
17 ベタ印刷層
18 接着層
100 化粧シート
1000 耐キャスター試験装置
1001 重り
1002 荷重部
1003 調節ハンドル
1010 キャスター固定台
1011 キャスター
1012 試料
1013 試料固定台
Claims (3)
- 少なくとも床材用化粧シートが木質基材上に積層してなる床材であって、該木質基材と化粧シートとの間に厚さ200〜350μmの2軸延伸ポリエステルフィルムからなるバッカーを有することを特徴とする、床材。
- ポリエステルが、PETである、請求項1記載の床材。
- 床材用化粧シートが、印刷層が印刷された厚さ60〜150μmオレフィン系熱可塑性樹脂フィルム上に順次、厚さ40〜100μmのオレフィン系熱可塑性樹脂層および厚さ5〜30μmの表面保護層を少なくとも有する、請求項1または請求項2いずれかに記載の床材。
Priority Applications (1)
| Application Number | Priority Date | Filing Date | Title |
|---|---|---|---|
| JP2004104749A JP2005290736A (ja) | 2004-03-31 | 2004-03-31 | 床材 |
Applications Claiming Priority (1)
| Application Number | Priority Date | Filing Date | Title |
|---|---|---|---|
| JP2004104749A JP2005290736A (ja) | 2004-03-31 | 2004-03-31 | 床材 |
Publications (1)
| Publication Number | Publication Date |
|---|---|
| JP2005290736A true JP2005290736A (ja) | 2005-10-20 |
Family
ID=35323985
Family Applications (1)
| Application Number | Title | Priority Date | Filing Date |
|---|---|---|---|
| JP2004104749A Pending JP2005290736A (ja) | 2004-03-31 | 2004-03-31 | 床材 |
Country Status (1)
| Country | Link |
|---|---|
| JP (1) | JP2005290736A (ja) |
Cited By (3)
| Publication number | Priority date | Publication date | Assignee | Title |
|---|---|---|---|---|
| JP2006218784A (ja) * | 2005-02-14 | 2006-08-24 | Toppan Printing Co Ltd | 床用化粧材 |
| JP2008075350A (ja) * | 2006-09-21 | 2008-04-03 | Toppan Cosmo Inc | 床用化粧材 |
| EP2308678A1 (en) | 2009-10-06 | 2011-04-13 | Dai Nippon Printing Co., Ltd. | Decorative sheet for flooring material and method for preparation thereof |
-
2004
- 2004-03-31 JP JP2004104749A patent/JP2005290736A/ja active Pending
Cited By (3)
| Publication number | Priority date | Publication date | Assignee | Title |
|---|---|---|---|---|
| JP2006218784A (ja) * | 2005-02-14 | 2006-08-24 | Toppan Printing Co Ltd | 床用化粧材 |
| JP2008075350A (ja) * | 2006-09-21 | 2008-04-03 | Toppan Cosmo Inc | 床用化粧材 |
| EP2308678A1 (en) | 2009-10-06 | 2011-04-13 | Dai Nippon Printing Co., Ltd. | Decorative sheet for flooring material and method for preparation thereof |
Similar Documents
| Publication | Publication Date | Title |
|---|---|---|
| JP2005290734A (ja) | 床材用化粧シート | |
| JP2003056168A (ja) | 床材及びその製造方法 | |
| JP2003049530A (ja) | 床材及びその製造方法 | |
| JP5360251B2 (ja) | 水性塗料 | |
| JP2011032866A (ja) | 床材用積層体 | |
| JP2001055826A (ja) | 床用化粧材 | |
| JP5170938B2 (ja) | 床材、及び床材表面を保護する方法 | |
| JP2015145616A (ja) | 床用化粧材 | |
| JP2003011277A (ja) | 化粧材 | |
| KR102120186B1 (ko) | 화장재 | |
| JP4679206B2 (ja) | 床用化粧材 | |
| JP5589510B2 (ja) | 化粧材及び化粧シート | |
| JPH11333985A (ja) | 反り防止化粧材 | |
| JP2010229788A (ja) | 床用化粧材 | |
| JP2009127298A (ja) | 床用化粧材 | |
| KR20150082652A (ko) | 바닥용 화장재 | |
| JP2017145583A (ja) | 床用化粧材 | |
| JP2005290736A (ja) | 床材 | |
| KR20090091188A (ko) | 화장 시트 및 그것을 사용한 화장판 | |
| JP2005127124A (ja) | 床材用積層体 | |
| JP4583059B2 (ja) | 床材用化粧シート | |
| JP5879872B2 (ja) | 床用化粧材 | |
| JP2009297896A (ja) | 床用化粧材 | |
| JP2010190035A (ja) | 床材 | |
| JP5028743B2 (ja) | 床用化粧材 |
