JP2005290726A - 浴室ユニットの支持架台及びこれに用いる補強材 - Google Patents

浴室ユニットの支持架台及びこれに用いる補強材 Download PDF

Info

Publication number
JP2005290726A
JP2005290726A JP2004104500A JP2004104500A JP2005290726A JP 2005290726 A JP2005290726 A JP 2005290726A JP 2004104500 A JP2004104500 A JP 2004104500A JP 2004104500 A JP2004104500 A JP 2004104500A JP 2005290726 A JP2005290726 A JP 2005290726A
Authority
JP
Japan
Prior art keywords
bathroom unit
reinforcing material
leg
support
pedestal portion
Prior art date
Legal status (The legal status is an assumption and is not a legal conclusion. Google has not performed a legal analysis and makes no representation as to the accuracy of the status listed.)
Granted
Application number
JP2004104500A
Other languages
English (en)
Other versions
JP4590903B2 (ja
Inventor
Kengo Shoji
賢吾 庄司
Current Assignee (The listed assignees may be inaccurate. Google has not performed a legal analysis and makes no representation or warranty as to the accuracy of the list.)
Noritz Corp
Original Assignee
Noritz Corp
Priority date (The priority date is an assumption and is not a legal conclusion. Google has not performed a legal analysis and makes no representation as to the accuracy of the date listed.)
Filing date
Publication date
Application filed by Noritz Corp filed Critical Noritz Corp
Priority to JP2004104500A priority Critical patent/JP4590903B2/ja
Publication of JP2005290726A publication Critical patent/JP2005290726A/ja
Application granted granted Critical
Publication of JP4590903B2 publication Critical patent/JP4590903B2/ja
Anticipated expiration legal-status Critical
Expired - Fee Related legal-status Critical Current

Links

Images

Landscapes

  • Residential Or Office Buildings (AREA)

Abstract

【課題】 脚の形成材料を節減でき、低コスト化、軽量化を図れ、床下のメンテナンススペースを狭小化させることなく、ぐらつき、横揺れを防止でき、製造、組立ても容易で快適な入浴感を害することもないようにする。
【解決手段】 浴室ユニット1を載せる水平状の台座部2と、この台座部2の棒状の脚3とで形成する。台座部2と脚3に補強材4を斜めにわたして取り付ける。補強材4としては、金属材で細長い板状に形成すると共に、台座部2の取付面と、脚3の取付面にあてがう一端部4aと他端部4bとを平板状に形成し、且つこの一端部4aと他端部4bとの間の位置4cを断面略コの字形に屈曲形成しているものがある。
【選択図】 図1

Description

本発明は浴室ユニットの支持架台に関し、更に詳しくは例えば洗い場の床パンや浴槽等の浴室ユニットを支持するための浴室ユニットの支持架台及びこれに用いる補強材に関するものである。
従来この種の支持架台としては、例えば図9に示されるように、架台aの周辺部等の適宜位置に、合成樹脂材で成型された逆円錐形の脚bを取り付け、この脚bで床パンcに加わる荷重を支持するよう形成しているものがある。
また従来この種の架台としては、例えば洗い場の略中央部から両側端に向かって緩やかな下り傾斜状に補強材を設け、この補強材のバネ性を利用して床パンを支持するよう形成しているものがある(例えば特許文献1参照)。
特開2002−129763号公報
ところで従来この種の架台の脚は、横揺れを防止するため、合成樹脂材等の形成材料を大量に用いて堅固に形成する必要があり、また洗い場の四隅に対応する位置だけではなく、中央位置等にも設ける必要があった。従って従来品は、脚が大型化して嵩張り易かったから、その分、コストが高く付き、重くなるのを避けられず、また床下のメンテナンススペースを狭小化させる、という問題点があった。
また特許文献1記載の従来品の場合は、補強材を床下にアーチ形に曲げながらその両端を取り付ける必要があるため、この種の取付作業に手間暇がかかるのを避けられなかった。またこれによると、補強材のバネ性を利用するため、洗い場の中央部を歩くと僅かに沈む感じを受け、快適な入浴感を害する、という問題点があった。
本発明は、このような従来技術の問題点に鑑み、提案されたものである。
従って本発明の解決しようとする技術的課題は、脚の形成材料を節減でき、低コスト化、軽量化を図れ、床下のメンテナンススペースを狭小化させることなく、ぐらつき、横揺れを防止でき、製造、組立ても容易で快適な入浴感を害することもないよう形成した浴室ユニットの支持架台、及びこのような効果を奏するよう形成したこの架台に用いる補強材を提供することにある。
本発明は、上記の課題を解決するため、次のような技術的手段を採る。
即ち本発明は、図1等に示されるように、浴室ユニット1を載せる水平状の台座部2と、この台座部2の棒状の脚3とで形成されている浴室ユニット1の支持架台であって、上記の台座部2と脚3に補強材4が斜めにわたされて取り付けられていることを特徴とする(請求項1)。
ここで、浴室ユニット1としては、例えば洗い場形成用の床パン、浴槽、浴槽を載せるための防水パン等がある。本発明の場合、台座部2は、通常、鋼材等で枠状に形成されるが、枠状に限定されるものではない。また補強材4は、例えば鉄板やステンレス鋼等の金属材で形成されるのが通例であるが、弾性変形する合成樹脂材等でも良く、その形成材料や形状は任意である。
而して本発明の課題を達成する他の構成としては、図1等に示されるように、浴室ユニット1としての浴槽を載せる水平状の台座部2と、この台座部2の上方に配置されて浴槽のフランジ部1bが係合される枠状の受け部材6と、この受け部材6を支持するため台座部2に起立状に設けられた支柱7とで形成されている浴室ユニット1の支持架台であって、上記の台座部2と支柱7に補強材4が斜めにわたされて取り付けられていることを特徴とするものがある(請求項2)。この本発明の場合、台座部2や補強材4の構成等は、上例と同様である。
またこの請求項2に係る本発明の場合は、隣り合う支柱7に筋かい9が交差状に設けられているのが好ましい(請求項3)。
なぜならこれによると、支柱7の連結状態が堅固になり、架台の強度を向上できるからである。
また請求項1乃至3の何れかに記載の支持架台の場合は、補強材4の一端部4aが取り付けられる台座部2の取付面と、他端部4bが取り付けられる脚3又は支柱7の取付面との位置が、前後にずらされて配置され、補強材4が、金属材で細長い板状に形成されると共に、上記の各取付面にあてがわれる一端部4aと他端部4bとが平板状に形成され、且つこの一端部4aと他端部4bとの間の位置4cが断面略コの字形に屈曲形成されているのが好ましい(請求項4)。
なぜならこれによると、補強材4の取付面がずらされているため、その分、横揺れ、ぐらつきを抑えることができるからである。またこの場合は、補強材4が金属材の細長い板で形成され、且つ一端部4aと他端部4bとが平板状であるから、台座部2等の取付面の位置に合わせて一端部4a、他端部4bを曲げてぴったり取り付けることができ、台座部2と脚3、又は支柱7との位置関係を様々に変更でき、仕様変更に対応し易いからである。ここで、断面略コの字形とは、断面形状が、例えばホッチキスの針形、リップ溝形、ハット形等に形成されていることを意味する。
また本発明の補強材4としては、図4に示されるように、金属材で細長い板状に形成されると共に、台座部2の取付面と、脚3又は支柱7の取付面にあてがわれる一端部4aと他端部4bとが平板状に形成され、且つこの一端部4aと他端部4bとの間の位置4cが断面略コの字形に屈曲形成されているものがある(請求項5)。
この補強材4の場合は、一端部4aと他端部4bを除いて断面略コの字形に形成されているから、強度を高く維持できる。また金属材の細長い板で形成され、且つ一端部4aと他端部4bとが平板状であるから、これによると台座部2等の取付面の位置に合わせて一端部4a、他端部4bを曲げてぴったりと取り付けることができる。従って台座部2と脚3、又は支柱7との位置関係を様々に変更した支持架台を簡単に製造でき、設計や仕様変更に柔軟に対応できる。なお断面略コの字形の意味は、上記の場合と同様である。
本発明の支持架台は、水平状の台座部と棒状の脚、又は支柱に、補強材を斜めにわたして取り付けているものである。
従って本発明によれば、本来、垂直から加わる荷重に対しては耐荷重性のある脚又は支柱を、横方向から加わる力に対しても簡易な構造で強化でき、横揺れや、ぐらつきを防止できる。
また本発明の場合、脚又は支柱は、垂直荷重に耐えることさえできれば良いから、太くしたり、複雑化、大型化する必要がない。従ってこれによれば、脚や支柱の形成材料を節減でき、軽量化、運搬の容易化、低コスト化を図ることができ、床下のメンテナンススペースを広くできる。
また本発明の補強材は、金属材で長板状に形成され、両端部が平板状に、また両端部の間の位置が断面略コの字形に形成されている。従ってこれによれば、安価、軽量でありながら、強度を高くでき、また平板状の両端部を曲げることで、台座部等の取付面の位置が前後にずれている場合でも容易に取り付けることができ、架台の仕様変更にも柔軟に対応できる。
以下、本発明を実施するための最良の形態を説明する。
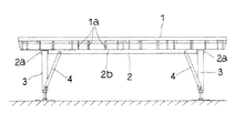
図1等において、1は、浴室ユニットとしての洗い場形成用の床パンである。この床パンは、図6〜図8に示されるように、外周面に補強用のリブ1aが格子状に形成されている。この実施形態に係る本発明は、このような浴室ユニット1としての床パンを載せる水平状の台座部2と、この台座部2の棒状の脚3とで形成されている。
上記の台座部2は、図1、図2、図8等に示されるように、平行状に所定間隔をあけて配置された断面コの字形の短い鋼材2aと、この鋼材2aに直交して横方向にわたされ、接続箇所が溶接されると共に、平行状に所定間隔をあけて配置された角パイプ形の長い鋼材2bとで枠状に形成されている。脚3は、角材で形成されて台座部2の略四隅に、短い鋼材2aと長い鋼材2bの接続箇所からずらされて、短い鋼材2aの下面に設けられている。また脚3は、その下端に高さ調節用のアジャスターボルト3aが設けられている。
4は、補強材である。この補強材4は、台座部2を形成する長い鋼材2bの側面と、脚3の設置面に近い先端部(下端部)に斜めにわたされて、この実施形態ではネジ5で取り付けられている。脚3は、上記の通り、台座部2の各鋼材2a、2bの接続箇所からずらされて配置されているから、補強材4の一端部4aが取り付けられる台座部2の取付面と、他端部4bが取り付けられる脚3の取付面とは、位置が前後にずらされている。
また補強材4は、例えばステンレス鋼等の金属材で細長い板状に形成され、この実施形態では全長が335mmに選定されている。またこの補強材4は、図4に示されるように、上記の各取付面にあてがわれる一端部4aと他端部4bとが平板状に形成され、且つこの一端部4aと他端部4bとの間の位置4cが、断面コの字形に屈曲形成されている。平板状の一端部4aと他端部4bの長さは、この実施形態では夫々40mmに選定されている。なお一端部4aと他端部4bには、ネジ孔4dが形成されている。
本発明では補強材4を取り付ける台座部2と脚3の取付面が、上記の通り、前後にずらされている。そして補強材4は金属材で、一端部4aと他端部4bが平板状に形成されている。従って作業者は、補強材4の一端部4aと他端部4bを、手指や手動工具で取付面にぴったり合うよう適宜曲げ、その後、取付面にあてがってネジ5等で固定し組み立てる。
次に請求項2に係る本発明品の好適な一実施形態を説明する。上例と同一箇所、同一部材については、同一の符号を付し、詳しい説明は省略する。
この本発明は、図1等に示されるように、浴室ユニット1としての浴槽を載せる水平状の台座部2と、この台座部2の上方に配置されて浴槽のフランジ部1bが係合される枠状の受け部材6と、この受け部材6を支持するため台座部2に起立状に設けられた支柱7とで形成されている。
上記の台座部2は、図1、図2に示されるように、平行一対状のハット形鋼21と、このハット形鋼21と直交して横方向にわたされた平行一対状の角材22とで枠状に形成されている。ハット型鋼の端部は、角材22に載せられ、溶接されている。21aは、浴槽の脚載せ台である。浴槽は、図3に示されるように、この脚載せ台21aを介してハット形鋼21に載置される。なお台座部2を形成する角材22の一端は、浴室ユニット1としての床パンを支持する台座部2の脚3に溶接されている。従って浴室ユニット1としての浴槽を支持する台座部2は、角材22の他端にだけ脚3が設けられ、洗い場側は床パンを支持する台座部2の脚3を共用している。8は、エプロンである。支柱7は、角材22の端部に立設され、エプロン8と対向する側の隣り合う左右の支柱7は、筋かい9が交差状に設けられ、強度が高くなるよう形成されている。
4は、ステンレス鋼で細長い板状に形成された補強材である。この補強材4は、台座部2を形成する角材22と、支柱7に斜めにわたされてネジ5で取り付けられている。補強材4は、台座部2の取付面としての側面にあてがわれる一端部4aと、支柱7の取付面にあてがわれる他端部4bとが平板状に形成され、且つこの一端部4aと他端部4bとの間の位置4cが断面コの字形に屈曲形成されている。
而して作業者は、補強材4の一端部4aと他端部4bを適宜曲げ、支柱7と台座部2の取付面にぴったり合うよう微調整してネジ5で固定する。本発明の場合は、支柱7と台座部2に補強材4が斜めにわたされて設けられているから、支柱7に加わる横方向の揺れは、補強材4で抑えられ、ぐらつきが防止される。
以上の処において、本発明の場合、補強材4は、一端部4aと他端部4bが台座部2等の取付面の位置に合わせて当初から所定角度曲げられているのでも良い。また補強材4は、薄い板金には限られず、ワイヤー等の金属線材や、また弾性変形する合成樹脂材等でも良く、材料は任意である。また補強材4は、断面略コの字形に屈曲形成されている場合には限られず、例えばL字形、ハット形等の他の断面形状でも良く、また屈曲形成されず、全長にわたって平板状に形成されているのでも良い。
また上例では、補強材4をネジ5で取り付けているが、本発明では例えば補強材4の一端だけがリベット等の締結部品で回転可能な状態で取り付けられ、他端は例えば施工現場で取り付け可能に形成されているのでも良い。この場合は、例えば脚3等も折り畳み可能に形成することで、台座部2の厚さを薄くできるから、嵩張りを防止でき、運搬や保管を容易化できる。
本発明の支持架台の好適な一実施形態を示す使用状態時の斜視図である。 同上支持架台の使用状態時の平面図である。 同上支持架台の使用状態時の側面図である。 補強材を示し、Aは平面図、Bは側面図である。 同上支持架台の一部を切欠した要部斜視図である。 同上支持架台の使用状態時の側面図である。 同上支持架台の使用状態時の正面図である。 同上支持架台の使用状態時の底面図である。 従来例の使用状態時の要部正面図である。
符号の説明
1 浴室ユニット
2 台座部
3 脚
4 補強材

Claims (5)

  1. 浴室ユニットを載せる水平状の台座部と、この台座部の棒状の脚とで形成されている浴室ユニットの支持架台であって、上記の台座部と脚に補強材が斜めにわたされて取り付けられていることを特徴とする浴室ユニットの支持架台。
  2. 浴室ユニットとしての浴槽を載せる水平状の台座部と、この台座部の上方に配置されて浴槽のフランジ部が係合される枠状の受け部材と、この受け部材を支持するため台座部に起立状に設けられた支柱とで形成されている浴室ユニットの支持架台であって、上記の台座部と支柱に補強材が斜めにわたされて取り付けられていることを特徴とする浴室ユニットの支持架台。
  3. 請求項2記載の浴室ユニットの支持架台であって、隣り合う支柱に筋かいが交差状に設けられていることを特徴とする浴室ユニットの支持架台。
  4. 請求項1乃至3の何れかに記載の浴室ユニットの支持架台であって、補強材の一端部が取り付けられる台座部の取付面と、他端部が取り付けられる脚又は支柱の取付面との位置が、前後にずらされて配置され、補強材が、金属材で細長い板状に形成されると共に、上記の各取付面にあてがわれる一端部と他端部とが平板状に形成され、且つこの一端部と他端部との間の位置が断面略コの字形に屈曲形成されていることを特徴とする浴室ユニットの支持架台。
  5. 請求項4記載の浴室ユニットの支持架台に用いる補強材であって、金属材で細長い板状に形成されると共に、台座部の取付面と、脚又は支柱の取付面にあてがわれる一端部と他端部とが平板状に形成され、且つこの一端部と他端部との間の位置が断面略コの字形に屈曲形成されていることを特徴とする補強材。
JP2004104500A 2004-03-31 2004-03-31 浴室ユニットの支持架台及びこれに用いる補強材 Expired - Fee Related JP4590903B2 (ja)

Priority Applications (1)

Application Number Priority Date Filing Date Title
JP2004104500A JP4590903B2 (ja) 2004-03-31 2004-03-31 浴室ユニットの支持架台及びこれに用いる補強材

Applications Claiming Priority (1)

Application Number Priority Date Filing Date Title
JP2004104500A JP4590903B2 (ja) 2004-03-31 2004-03-31 浴室ユニットの支持架台及びこれに用いる補強材

Related Child Applications (1)

Application Number Title Priority Date Filing Date
JP2010050502A Division JP2010163860A (ja) 2010-03-08 2010-03-08 浴室ユニットの支持架台

Publications (2)

Publication Number Publication Date
JP2005290726A true JP2005290726A (ja) 2005-10-20
JP4590903B2 JP4590903B2 (ja) 2010-12-01

Family

ID=35323975

Family Applications (1)

Application Number Title Priority Date Filing Date
JP2004104500A Expired - Fee Related JP4590903B2 (ja) 2004-03-31 2004-03-31 浴室ユニットの支持架台及びこれに用いる補強材

Country Status (1)

Country Link
JP (1) JP4590903B2 (ja)

Citations (8)

* Cited by examiner, † Cited by third party
Publication number Priority date Publication date Assignee Title
JPS54135033U (ja) * 1978-03-11 1979-09-19
JPS56812U (ja) * 1979-06-15 1981-01-07
JPS5761156A (en) * 1980-09-29 1982-04-13 Japan National Railway Vibration proofing bed construction for building
JPH01284676A (ja) * 1988-05-10 1989-11-15 Toto Ltd ユニツトバスルーム
JPH0318598U (ja) * 1990-07-09 1991-02-22
JPH07317340A (ja) * 1994-05-25 1995-12-05 Toto Ltd 浴室内装用面材の支持架台
JP2003074193A (ja) * 2001-08-30 2003-03-12 Ichiro Nagao 既存木造建築耐震補強筋交のシステム工法
JP2003210350A (ja) * 2002-01-23 2003-07-29 Yamaha Livingtec Corp 浴室ユニット

Patent Citations (8)

* Cited by examiner, † Cited by third party
Publication number Priority date Publication date Assignee Title
JPS54135033U (ja) * 1978-03-11 1979-09-19
JPS56812U (ja) * 1979-06-15 1981-01-07
JPS5761156A (en) * 1980-09-29 1982-04-13 Japan National Railway Vibration proofing bed construction for building
JPH01284676A (ja) * 1988-05-10 1989-11-15 Toto Ltd ユニツトバスルーム
JPH0318598U (ja) * 1990-07-09 1991-02-22
JPH07317340A (ja) * 1994-05-25 1995-12-05 Toto Ltd 浴室内装用面材の支持架台
JP2003074193A (ja) * 2001-08-30 2003-03-12 Ichiro Nagao 既存木造建築耐震補強筋交のシステム工法
JP2003210350A (ja) * 2002-01-23 2003-07-29 Yamaha Livingtec Corp 浴室ユニット

Also Published As

Publication number Publication date
JP4590903B2 (ja) 2010-12-01

Similar Documents

Publication Publication Date Title
JP4590903B2 (ja) 浴室ユニットの支持架台及びこれに用いる補強材
JP2010163860A (ja) 浴室ユニットの支持架台
GB2232344A (en) Improvements in or relating to a shelving arrangement
JP2018084089A (ja) 段床支持脚及びこれを用いた段床構造
JP7468243B2 (ja) デスク
JP7179573B2 (ja) テーブル
JP6959881B2 (ja) 吊り架台及びその製造方法
JP6175667B1 (ja) 段床支持脚及びこれを用いた段床構造
WO2015098682A1 (ja) 家具用の荷重支持部材
JP3156116B2 (ja) 椅子の肘当取付装置
JP2002081659A (ja) 支柱構造及びこれを用いたストーブガード、花台
JPH0628048Y2 (ja) 椅 子
JP6582346B2 (ja) 上板付き什器における支持体と上板との連結構造及び上板付き什器システム
JP6452227B2 (ja) 手摺装置
KR101325276B1 (ko) 테이블
KR200478238Y1 (ko) 낚시용 좌대
JP2024003572A (ja) 表示パネル用スタンド装置
JP3049500U (ja) プランタースタンド
JP2011206507A (ja) 介護用手摺
JP6687340B2 (ja) 支持脚
JP2016113832A (ja) 手すりブラケット
JP2009106412A (ja) 椅子等の家具の脚装置
KR20140004388A (ko) 벤치 의자
KR101571512B1 (ko) 의자용 프레임
RU19676U1 (ru) Стул, регулируемый по высоте

Legal Events

Date Code Title Description
A621 Written request for application examination

Free format text: JAPANESE INTERMEDIATE CODE: A621

Effective date: 20070323

A977 Report on retrieval

Free format text: JAPANESE INTERMEDIATE CODE: A971007

Effective date: 20091224

A131 Notification of reasons for refusal

Free format text: JAPANESE INTERMEDIATE CODE: A131

Effective date: 20100112

A521 Request for written amendment filed

Free format text: JAPANESE INTERMEDIATE CODE: A523

Effective date: 20100308

TRDD Decision of grant or rejection written
A01 Written decision to grant a patent or to grant a registration (utility model)

Free format text: JAPANESE INTERMEDIATE CODE: A01

Effective date: 20100817

A01 Written decision to grant a patent or to grant a registration (utility model)

Free format text: JAPANESE INTERMEDIATE CODE: A01

A61 First payment of annual fees (during grant procedure)

Free format text: JAPANESE INTERMEDIATE CODE: A61

Effective date: 20100830

FPAY Renewal fee payment (event date is renewal date of database)

Free format text: PAYMENT UNTIL: 20130924

Year of fee payment: 3

R150 Certificate of patent or registration of utility model

Ref document number: 4590903

Country of ref document: JP

Free format text: JAPANESE INTERMEDIATE CODE: R150

Free format text: JAPANESE INTERMEDIATE CODE: R150

R250 Receipt of annual fees

Free format text: JAPANESE INTERMEDIATE CODE: R250

R250 Receipt of annual fees

Free format text: JAPANESE INTERMEDIATE CODE: R250

R250 Receipt of annual fees

Free format text: JAPANESE INTERMEDIATE CODE: R250

R250 Receipt of annual fees

Free format text: JAPANESE INTERMEDIATE CODE: R250

R250 Receipt of annual fees

Free format text: JAPANESE INTERMEDIATE CODE: R250

R250 Receipt of annual fees

Free format text: JAPANESE INTERMEDIATE CODE: R250

R250 Receipt of annual fees

Free format text: JAPANESE INTERMEDIATE CODE: R250

R250 Receipt of annual fees

Free format text: JAPANESE INTERMEDIATE CODE: R250

LAPS Cancellation because of no payment of annual fees