JP2005290529A - 弁とその製造方法及びそれを用いた発電プラント並びに弁用部材 - Google Patents
弁とその製造方法及びそれを用いた発電プラント並びに弁用部材 Download PDFInfo
- Publication number
- JP2005290529A JP2005290529A JP2004111669A JP2004111669A JP2005290529A JP 2005290529 A JP2005290529 A JP 2005290529A JP 2004111669 A JP2004111669 A JP 2004111669A JP 2004111669 A JP2004111669 A JP 2004111669A JP 2005290529 A JP2005290529 A JP 2005290529A
- Authority
- JP
- Japan
- Prior art keywords
- valve
- base alloy
- less
- alloy
- cobalt
- Prior art date
- Legal status (The legal status is an assumption and is not a legal conclusion. Google has not performed a legal analysis and makes no representation as to the accuracy of the status listed.)
- Granted
Links
Images
Landscapes
- Manufacture Of Metal Powder And Suspensions Thereof (AREA)
- Powder Metallurgy (AREA)
- Sliding Valves (AREA)
- Pressure Welding/Diffusion-Bonding (AREA)
Abstract
本発明の目的は、より高硬度及び高耐衝撃性を有する弁とその製造方法及びそれを用いた発電プラント並びに弁用部材を提供することにある。
【解決手段】
本発明は、弁体と弁箱とを備え、互いに摺動する弁座表面に、基地中にクロム炭化物が分散したコバルト基合金部材、ニッケル基合金部材及び鉄基合金部材から選ばれた1種が形成されている弁において、前記部材は静水圧加圧焼結又は熱間押出し焼結によって形成され、前記弁座に拡散接合されていることを特徴とする。
【選択図】図1
Description
Claims (17)
- 弁体と弁箱とを備え、互いに摺動する弁座表面に、基地中にクロム炭化物が分散したコバルト基合金部材、ニッケル基合金部材及び鉄基合金部材から選ばれた1種が形成されている弁において、前記部材は静水圧加圧焼結又は熱間押出し焼結によって形成され、前記弁座に拡散接合されていることを特徴とする弁。
- 請求項1において、前記部材は、前記静水圧加圧焼結又は熱間押出し焼結後、熱間圧延、熱間鍛造又は熱間据え込み加工が施され、前記クロム炭化物の平均粒径が5μm以下であることを特徴とする弁。
- 請求項1又は2において、前記コバルト基合金が重量でC 1.0〜3.5%、Si 2%以下、Cr 25〜35%、W 15%以下、Fe 3%以下、Ni 3%以下、Mo 6%以下を含み、残部がCo及び不可避不純物からなり、前記ニッケル基合金が重量でC 1%以下、Si 7%以下、Cr 7〜20%、W 5%以下、B 3.5%以下を含み、残部がNiからなり、前記鉄基合金が重量でC 1.5%以下、Si 4%以下、C r15〜27%、Mo 8%以下を含み、残部がFe及び不可避不純物からなることを特徴とする弁。
- 請求項1〜3のいずれかにおいて、前記合金部材は、ビッカース硬さ(Hv)が400以上であることを特徴とする弁。
- 請求項1〜4のいずれかにおいて、前記合金部材は、Uノッチ衝撃値が5J/cm2 以上であることを特徴とする弁。
- 請求項1〜5のいずれかにおいて、前記弁体及び前記弁箱が、炭素鋼、低合金鋼又はステンレス鋼よりなることを特徴とする弁。
- 請求項1〜6のいずれかに記載の弁からなることを特徴とする逃がし安全弁。
- 弁体と弁箱とを備え、互いに摺動する弁座表面に、基地中にクロム炭化物が分散したコバルト基合金部材、ニッケル基合金部材及び鉄基合金部材から選ばれた1種を形成する弁の製造方法において、前記部材を前記コバルト基合金、ニッケル基合金及び鉄基合金から選ばれた1種よりなる合金粉末を用いて静水圧加圧焼結又は熱間押出し焼結によって形成し、次いで前記弁座に拡散接合することを特徴とする弁の製造方法。
- 弁体と弁箱とを備え、互いに摺動する弁座表面に、基地中にクロム炭化物が分散したコバルト基合金部材、ニッケル基合金部材及び鉄基合金部材から選ばれた1種を形成する弁の製造方法において、前記部材を前記コバルト基合金、ニッケル基合金及び鉄基合金から選ばれた1種よりなる合金粉末を用いて静水圧加圧焼結又は熱間押出し焼結後、熱間圧延、熱間鍛造又は熱間据え込み加工によって形成し、次いで前記弁座に拡散接合することを特徴とする弁の製造方法。
- 請求項8又は9において、前記静水圧加圧焼結又は熱間押出し焼結は、前記合金粉末を金属カプセルに充填封入し、静水圧加圧加熱又は熱間押出し加工であることを特徴とする弁の製造方法。
- 請求項8〜10のいずれかにおいて、前記拡散接合は、前記部材と弁座との間に前記弁座、弁体及び弁箱の融点よりも低融点のインサート材を介在させて、該インサートの融点以上の温度で加熱保持する液相拡散接合であることを特徴とする弁の製造方法。
- 請求項8〜11のいずれかにおいて、前記前記合金粉末を非酸化性ガスアトマイズ法により製造することを特徴とする弁の製造方法。
- 請求項11又は12において、前記インサート材は、重量で、Si 3.5〜5.5%及びB 2.0〜4.0%を含むニッケル基合金、Cr 6〜15%、Si 3.5〜5.5%及びB 2.0〜4.0%を含むニッケル基合金、及びP 10〜14%を含むニッケル基合金から選ばれた1つからなることを特徴とする弁の製造方法。
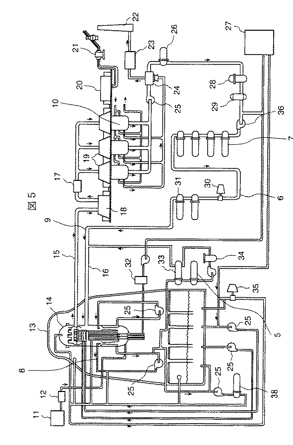
- 水蒸気及び高温水が循環する循環系統を有する火力発電プラントにおいて、前記循環系統内に配置された弁が、請求項1〜7のいずれかに記載の弁によって構成されていることを特徴とする火力発電プラント。
- 水蒸気及び高温水が循環する循環系統を有する原子力発電プラントにおいて、前記循環系統内に配置された弁が請求項1〜7のいずれかに記載の弁によって構成されていることを特徴とする原子力発電プラント。
- 弁体と弁箱が互いに摺動する弁座表面に形成される弁用部材において、クロム炭化物が分散したコバルト基合金部材、ニッケル基合金部材及び鉄基合金部材から選ばれた1種からなり、前記部材は前記コバルト基合金、ニッケル基合金及び鉄基合金から選ばれた1種よりなる合金粉末を用いて静水圧加圧焼結又は熱間押出し焼結によって形成されていることを特徴とする弁用部材。
- 請求項16において、前記部材は前記焼結後、熱間圧延、熱間鍛造又は熱間据え込み加工が施され、前記クロム炭化物の平均粒径が5μm以下であることを特徴とする弁用部材。
Priority Applications (1)
| Application Number | Priority Date | Filing Date | Title |
|---|---|---|---|
| JP2004111669A JP4063236B2 (ja) | 2004-04-06 | 2004-04-06 | 弁とその製造方法及びそれを用いた発電プラント並びに弁用部材 |
Applications Claiming Priority (1)
| Application Number | Priority Date | Filing Date | Title |
|---|---|---|---|
| JP2004111669A JP4063236B2 (ja) | 2004-04-06 | 2004-04-06 | 弁とその製造方法及びそれを用いた発電プラント並びに弁用部材 |
Publications (2)
| Publication Number | Publication Date |
|---|---|
| JP2005290529A true JP2005290529A (ja) | 2005-10-20 |
| JP4063236B2 JP4063236B2 (ja) | 2008-03-19 |
Family
ID=35323791
Family Applications (1)
| Application Number | Title | Priority Date | Filing Date |
|---|---|---|---|
| JP2004111669A Expired - Lifetime JP4063236B2 (ja) | 2004-04-06 | 2004-04-06 | 弁とその製造方法及びそれを用いた発電プラント並びに弁用部材 |
Country Status (1)
| Country | Link |
|---|---|
| JP (1) | JP4063236B2 (ja) |
Cited By (11)
| Publication number | Priority date | Publication date | Assignee | Title |
|---|---|---|---|---|
| JP2010504425A (ja) * | 2006-09-22 | 2010-02-12 | ホガナス アクチボラグ (パブル) | 冶金粉末組成物及び製造方法 |
| JP2010117051A (ja) * | 2008-11-11 | 2010-05-27 | Nippon Steel Corp | 高耐性バーナーチップ |
| CN102808689A (zh) * | 2011-06-01 | 2012-12-05 | 霍尼韦尔国际公司 | 用于排气旁通阀的阀座和衬垫 |
| JP2013194902A (ja) * | 2012-03-22 | 2013-09-30 | Toshiba Corp | 弁及びそれを用いた発電プラント |
| JP5323927B2 (ja) * | 2009-03-27 | 2013-10-23 | 国立大学法人 東京大学 | 接合方法 |
| US9163589B2 (en) | 2013-05-30 | 2015-10-20 | Honeywell International Inc. | Valve seat and gasket for exhaust gas bypass for turbocharger |
| JP2018100650A (ja) * | 2016-12-22 | 2018-06-28 | 日立オートモティブシステムズ株式会社 | 燃料流路、自動車燃料用高圧ポンプ、及び自動車 |
| JP2019117077A (ja) * | 2017-12-26 | 2019-07-18 | 日立Geニュークリア・エナジー株式会社 | 耐食耐摩耗盛金、耐食耐摩耗盛金の形成方法および耐食耐摩耗弁 |
| JP2019152859A (ja) * | 2018-03-01 | 2019-09-12 | キヤノン株式会社 | 光学部品の製造方法、光学部品、交換レンズ、光学機器、クイックリターンミラー、およびカメラ |
| JP2020112424A (ja) * | 2019-01-11 | 2020-07-27 | 日立Geニュークリア・エナジー株式会社 | 盛金部の検査方法、及びその方法を使用した弁の製造方法 |
| WO2023082335A1 (zh) * | 2021-11-14 | 2023-05-19 | 重庆三爱海陵实业有限责任公司 | 气门及其耐高温合金 |
Families Citing this family (1)
| Publication number | Priority date | Publication date | Assignee | Title |
|---|---|---|---|---|
| CN107725806A (zh) * | 2017-10-13 | 2018-02-23 | 南通国电电站阀门股份有限公司 | 超临界高压力带旁路扩张式无导流孔平行闸阀 |
-
2004
- 2004-04-06 JP JP2004111669A patent/JP4063236B2/ja not_active Expired - Lifetime
Cited By (16)
| Publication number | Priority date | Publication date | Assignee | Title |
|---|---|---|---|---|
| JP2010504425A (ja) * | 2006-09-22 | 2010-02-12 | ホガナス アクチボラグ (パブル) | 冶金粉末組成物及び製造方法 |
| KR101499707B1 (ko) * | 2006-09-22 | 2015-03-06 | 회가내스 아베 (피유비엘) | 야금 분말 조성물, 및 제조 방법 |
| JP2010117051A (ja) * | 2008-11-11 | 2010-05-27 | Nippon Steel Corp | 高耐性バーナーチップ |
| JP5323927B2 (ja) * | 2009-03-27 | 2013-10-23 | 国立大学法人 東京大学 | 接合方法 |
| CN102808689A (zh) * | 2011-06-01 | 2012-12-05 | 霍尼韦尔国际公司 | 用于排气旁通阀的阀座和衬垫 |
| US20120304952A1 (en) * | 2011-06-01 | 2012-12-06 | Honeywell International Inc. | Valve seat and gasket for exhaust bypass valve |
| US8667794B2 (en) * | 2011-06-01 | 2014-03-11 | Honeywell International Inc. | Valve seat and gasket for exhaust bypass valve |
| JP2013194902A (ja) * | 2012-03-22 | 2013-09-30 | Toshiba Corp | 弁及びそれを用いた発電プラント |
| US9163589B2 (en) | 2013-05-30 | 2015-10-20 | Honeywell International Inc. | Valve seat and gasket for exhaust gas bypass for turbocharger |
| JP2018100650A (ja) * | 2016-12-22 | 2018-06-28 | 日立オートモティブシステムズ株式会社 | 燃料流路、自動車燃料用高圧ポンプ、及び自動車 |
| JP2019117077A (ja) * | 2017-12-26 | 2019-07-18 | 日立Geニュークリア・エナジー株式会社 | 耐食耐摩耗盛金、耐食耐摩耗盛金の形成方法および耐食耐摩耗弁 |
| JP2019152859A (ja) * | 2018-03-01 | 2019-09-12 | キヤノン株式会社 | 光学部品の製造方法、光学部品、交換レンズ、光学機器、クイックリターンミラー、およびカメラ |
| JP7532011B2 (ja) | 2018-03-01 | 2024-08-13 | キヤノン株式会社 | 光学部品の製造方法、光学機器 |
| JP2020112424A (ja) * | 2019-01-11 | 2020-07-27 | 日立Geニュークリア・エナジー株式会社 | 盛金部の検査方法、及びその方法を使用した弁の製造方法 |
| JP7028808B2 (ja) | 2019-01-11 | 2022-03-02 | 日立Geニュークリア・エナジー株式会社 | 盛金部の検査方法、及びその方法を使用した弁の製造方法 |
| WO2023082335A1 (zh) * | 2021-11-14 | 2023-05-19 | 重庆三爱海陵实业有限责任公司 | 气门及其耐高温合金 |
Also Published As
| Publication number | Publication date |
|---|---|
| JP4063236B2 (ja) | 2008-03-19 |
Similar Documents
| Publication | Publication Date | Title |
|---|---|---|
| CN1307380C (zh) | 阀及其制造方法 | |
| Segura et al. | Grain boundary and microstructure engineering of Inconel 690 cladding on stainless-steel 316L using electron-beam powder bed fusion additive manufacturing | |
| JP4063236B2 (ja) | 弁とその製造方法及びそれを用いた発電プラント並びに弁用部材 | |
| US6896978B2 (en) | Joint construction of cobalt-based alloy | |
| DE60127503T2 (de) | Kernkraftwerk mit Ventilen aus korrosionsbeständiger und verschleißfester Legierung | |
| EP2494158B1 (en) | An exhaust valve spindle for an internal combustion engine, and a method of manufacturing | |
| US11174536B2 (en) | Transition metal-based materials for use in high temperature and corrosive environments | |
| US6672330B2 (en) | Valve bonded with corrosion and wear proof alloy and apparatuses using said valve | |
| JP3598977B2 (ja) | 耐食・耐摩耗合金を接合した弁 | |
| CN107988566A (zh) | 一种600MPa级核一级设备用钢及其制造方法 | |
| JP3503565B2 (ja) | 弁及びそれを用いた原子力発電プラント | |
| JP2005194602A (ja) | 弁、メカニカルシールおよびその製造方法 | |
| O'Brien | Development of Materials for Extreme Environment Applications by Laser Powder Bed Fusion | |
| JP3721300B2 (ja) | 弁 | |
| HK1051664A (en) | Joint construction of cobalt-based alloy | |
| JPH1072642A (ja) | 耐摩耗合金及びそれを用いた制御棒駆動装置と原子炉 | |
| JP2003028315A (ja) | 原子力・火力発電プラント用弁装置の製造方法 | |
| Goodall | Development of a Novel Ni-Based Multi-principal Element Alloy Filler Metal, Using an Alternative Melting Point Depressant | |
| Li et al. | Microstructure and Mechanical Properties of High Power CO 2 Laser Welded Inconel 625 Nickel Based Alloy. | |
| CN117600591A (zh) | 一种新型TiZrNbTa钎料连接TZM与高强石墨的钎焊工艺 | |
| JPH11106854A (ja) | 摺動材用合金及び該合金を使用した機器 | |
| Horowitz | ICONE19-43335 FURTHER BASIC STUDIES NEEDED TO SPECIFY MATERIALS FOR SODIUM COOLED FAST REACTORS | |
| JPH09209066A (ja) | 摺動部材用合金材料及び高温度高圧力用機器 | |
| Liu et al. | Laser Cladding of Ni-Based Hardfacing Alloy Replacing Stellite06 | |
| JP2003177189A (ja) | 耐腐食低摩擦化構造 |
Legal Events
| Date | Code | Title | Description |
|---|---|---|---|
| A621 | Written request for application examination |
Free format text: JAPANESE INTERMEDIATE CODE: A621 Effective date: 20060525 |
|
| A977 | Report on retrieval |
Free format text: JAPANESE INTERMEDIATE CODE: A971007 Effective date: 20070404 |
|
| A131 | Notification of reasons for refusal |
Free format text: JAPANESE INTERMEDIATE CODE: A131 Effective date: 20070724 |
|
| A521 | Request for written amendment filed |
Free format text: JAPANESE INTERMEDIATE CODE: A523 Effective date: 20070913 |
|
| TRDD | Decision of grant or rejection written | ||
| A01 | Written decision to grant a patent or to grant a registration (utility model) |
Free format text: JAPANESE INTERMEDIATE CODE: A01 Effective date: 20071211 |
|
| A61 | First payment of annual fees (during grant procedure) |
Free format text: JAPANESE INTERMEDIATE CODE: A61 Effective date: 20071224 |
|
| R150 | Certificate of patent or registration of utility model |
Free format text: JAPANESE INTERMEDIATE CODE: R150 Ref document number: 4063236 Country of ref document: JP Free format text: JAPANESE INTERMEDIATE CODE: R150 |
|
| FPAY | Renewal fee payment (event date is renewal date of database) |
Free format text: PAYMENT UNTIL: 20110111 Year of fee payment: 3 |
|
| FPAY | Renewal fee payment (event date is renewal date of database) |
Free format text: PAYMENT UNTIL: 20110111 Year of fee payment: 3 |
|
| FPAY | Renewal fee payment (event date is renewal date of database) |
Free format text: PAYMENT UNTIL: 20120111 Year of fee payment: 4 |
|
| FPAY | Renewal fee payment (event date is renewal date of database) |
Free format text: PAYMENT UNTIL: 20130111 Year of fee payment: 5 |
|
| EXPY | Cancellation because of completion of term |
