JP2005106967A - 液晶表示装置 - Google Patents

液晶表示装置 Download PDF

Info

Publication number
JP2005106967A
JP2005106967A JP2003337684A JP2003337684A JP2005106967A JP 2005106967 A JP2005106967 A JP 2005106967A JP 2003337684 A JP2003337684 A JP 2003337684A JP 2003337684 A JP2003337684 A JP 2003337684A JP 2005106967 A JP2005106967 A JP 2005106967A
Authority
JP
Japan
Prior art keywords
liquid crystal
common electrode
electrode
pixel electrode
substrate
Prior art date
Legal status (The legal status is an assumption and is not a legal conclusion. Google has not performed a legal analysis and makes no representation as to the accuracy of the status listed.)
Granted
Application number
JP2003337684A
Other languages
English (en)
Other versions
JP4082683B2 (ja
Inventor
Osamu Ito
理 伊東
Makoto Abe
阿部  誠
Current Assignee (The listed assignees may be inaccurate. Google has not performed a legal analysis and makes no representation or warranty as to the accuracy of the list.)
Hitachi Ltd
Japan Display Inc
Original Assignee
Hitachi Ltd
Hitachi Displays Ltd
Priority date (The priority date is an assumption and is not a legal conclusion. Google has not performed a legal analysis and makes no representation as to the accuracy of the date listed.)
Filing date
Publication date
Application filed by Hitachi Ltd, Hitachi Displays Ltd filed Critical Hitachi Ltd
Priority to JP2003337684A priority Critical patent/JP4082683B2/ja
Priority to CNB2004100549227A priority patent/CN100416386C/zh
Priority to US10/953,590 priority patent/US7362400B2/en
Publication of JP2005106967A publication Critical patent/JP2005106967A/ja
Application granted granted Critical
Publication of JP4082683B2 publication Critical patent/JP4082683B2/ja
Anticipated expiration legal-status Critical
Expired - Fee Related legal-status Critical Current

Links

Images

Classifications

    • GPHYSICS
    • G02OPTICS
    • G02FOPTICAL DEVICES OR ARRANGEMENTS FOR THE CONTROL OF LIGHT BY MODIFICATION OF THE OPTICAL PROPERTIES OF THE MEDIA OF THE ELEMENTS INVOLVED THEREIN; NON-LINEAR OPTICS; FREQUENCY-CHANGING OF LIGHT; OPTICAL LOGIC ELEMENTS; OPTICAL ANALOGUE/DIGITAL CONVERTERS
    • G02F1/00Devices or arrangements for the control of the intensity, colour, phase, polarisation or direction of light arriving from an independent light source, e.g. switching, gating or modulating; Non-linear optics
    • G02F1/01Devices or arrangements for the control of the intensity, colour, phase, polarisation or direction of light arriving from an independent light source, e.g. switching, gating or modulating; Non-linear optics for the control of the intensity, phase, polarisation or colour 
    • G02F1/13Devices or arrangements for the control of the intensity, colour, phase, polarisation or direction of light arriving from an independent light source, e.g. switching, gating or modulating; Non-linear optics for the control of the intensity, phase, polarisation or colour  based on liquid crystals, e.g. single liquid crystal display cells
    • G02F1/133Constructional arrangements; Operation of liquid crystal cells; Circuit arrangements
    • G02F1/1333Constructional arrangements; Manufacturing methods
    • G02F1/1343Electrodes
    • G02F1/134309Electrodes characterised by their geometrical arrangement
    • G02F1/134363Electrodes characterised by their geometrical arrangement for applying an electric field parallel to the substrate, i.e. in-plane switching [IPS]
    • GPHYSICS
    • G02OPTICS
    • G02FOPTICAL DEVICES OR ARRANGEMENTS FOR THE CONTROL OF LIGHT BY MODIFICATION OF THE OPTICAL PROPERTIES OF THE MEDIA OF THE ELEMENTS INVOLVED THEREIN; NON-LINEAR OPTICS; FREQUENCY-CHANGING OF LIGHT; OPTICAL LOGIC ELEMENTS; OPTICAL ANALOGUE/DIGITAL CONVERTERS
    • G02F1/00Devices or arrangements for the control of the intensity, colour, phase, polarisation or direction of light arriving from an independent light source, e.g. switching, gating or modulating; Non-linear optics
    • G02F1/01Devices or arrangements for the control of the intensity, colour, phase, polarisation or direction of light arriving from an independent light source, e.g. switching, gating or modulating; Non-linear optics for the control of the intensity, phase, polarisation or colour 
    • G02F1/13Devices or arrangements for the control of the intensity, colour, phase, polarisation or direction of light arriving from an independent light source, e.g. switching, gating or modulating; Non-linear optics for the control of the intensity, phase, polarisation or colour  based on liquid crystals, e.g. single liquid crystal display cells
    • G02F1/133Constructional arrangements; Operation of liquid crystal cells; Circuit arrangements
    • G02F1/1333Constructional arrangements; Manufacturing methods
    • G02F1/1335Structural association of cells with optical devices, e.g. polarisers or reflectors
    • G02F1/133553Reflecting elements
    • G02F1/133555Transflectors

Landscapes

  • Physics & Mathematics (AREA)
  • Nonlinear Science (AREA)
  • Geometry (AREA)
  • Mathematical Physics (AREA)
  • Chemical & Material Sciences (AREA)
  • Crystallography & Structural Chemistry (AREA)
  • General Physics & Mathematics (AREA)
  • Optics & Photonics (AREA)
  • Liquid Crystal (AREA)

Abstract

【課題】 明所から暗所を含む広範な環境で表示が可能で、かつ広視野角の透過表示が可能な表示装置の実現。
【解決手段】 櫛歯電極(21,22)で液晶層に横電界を印加するIPS(In Plane Switching)方式液晶表示装置において、櫛歯電極は光反射性でかつ間隙部(20)より突出した構造とし、櫛歯電極の断面を曲面状とする。
【効果】 櫛歯電極(21,22)の断面を曲面状とすることにより、櫛歯電極上の横電界成分が増大して櫛歯電極上の液晶を駆動することが可能になり、また、拡散反射光が増大し、IPS方式の広視野角の透過表示に加えて反射表示が可能になる。
【選択図】 図1

Description

本発明は、広視野角の半透過型液晶表示装置に係るものである。
現在,IPS(In Plane Switching)方式やVA(Vertical Alignment)方式を始めとする広視野角の透過型液晶表示装置が液晶モニターとして広く普及しており、更には動画特性を向上して液晶テレビとしても使われ始めている。これらの液晶モニターや液晶テレビは屋内に据え置いて用いるが、その一方で携帯電話やデジタルカメラを始めとする携帯型の情報機器にも液晶表示装置が普及している。携帯型情報機器用の表示装置は個人で使用するが、デジタルカメラのように斜め方向から観察する場合もあることから、やはり広視野角が望まれる。プライバシーの保護のために広視野角は不利との意見もあるが、何らかの覗き見防止装置が必要とされているのであって、狭い視野角特性が望まれているわけではない。
携帯型情報機器用の表示装置は晴天時の屋外から暗室までの広い環境下で用いられるため、半透過型であることが望まれる。半透過型液晶表示装置は一画素内に反射表示部と透過表示部を有する。
反射表示部は反射板を用いて周囲から入射する光を反射して表示を行い、周囲の明るさによらずコントラスト比が一定であるため、晴天時の屋外から室内までの比較的明るい環境下で良好な表示が得られる。
透過表示部はバックライトを用いるため、屋内から暗室までの比較的暗い環境下で高コントラスト比の表示が得られる。
反射表示部と透過表示部とを兼ね備えた半透過型液晶表示装置は、晴天時の屋外から暗室までの広い環境下で高コントラスト比の表示が得られる。
現在の半透過型液晶表示装置は、液晶層はホモジニアス配向か捩れ配向であり、これに対して基板法線方向に電界を印加しており、TN(Twisted Nematic)型液晶表示装置と同様の構成と電界印加方式である。更に、反射板を液晶セル内に内蔵した構成でコントラスト比を向上するために複数の位相板を用いている。そのため、その視覚特性は充分に広視野角ではなかった。
そこで、広視野角の透過表示で知られるIPS方式を半透過型にして、広視野角の半透過表示方法が、例えば、下記特許文献1に記載されている。
即ち、例えば、図21ないし図24に示すように、櫛歯電極21,22を反射電極にして反射表示部とし、櫛歯電極21,22の間隙部20を透過表示部とする。反射表示部において、光は液晶層を2回通過するのに対して透過表示部では1回だけ通過するが、両者の光路差を解消するために櫛歯電極21,22とその間隙の間に段差を形成して、透過表示部の液晶層厚を反射表示部の約2倍にする。
この場合に櫛歯電極21,22は基板上に突出しており、櫛歯方向に垂直な断面において櫛歯電極21,22の断面は概略方形で、その上面は平坦である。さらに、反射表示部のコントラスト比向上のために複数の位相板を追加し、液晶層のリタデーションも調整して反射表示部において4分の1波長相当にする。
また、下記特許文献2、特許文献3及び特許文献4では、櫛歯電極上にこれよりも更に微小な凹凸を形成して拡散反射電極としている。
特開平11−242226号公報 特開2002−139737号公報 特開2003−21824号公報 特開2003−21825号公報
透過型のIPS方式では、例えば、図23に示すように、主に櫛歯電極間の液晶分子50を動作させていた。従来の櫛歯電極21,22は平坦であり、その上部では基板平面に対して平行な電気力線成分である横電界が極めて弱いため、その上部の液晶分子50はほとんど動かない。櫛歯電極21,22を反射表示部とした半透過型のIPS方式では、櫛歯電極上部の液晶分子50が動作しなければ反射表示は常に暗表示のままなので、反射表示が出来ない。
また、電極上面が平坦であれば光を拡散反射しないため、使用者が感じる反射輝度が低下する。したがって、電極上面に凹凸を形成すれば光を拡散反射する拡散反射電極になるが、液晶表示装置製造プロセスの解像限界により凹凸のピッチは5〜10μm程度になり、これは櫛歯電極21,22に要求される幅と同程度である。よって、櫛歯電極21,22上に凹凸を複数列配置しようとすれば櫛歯電極21,22の幅を広くしなければならず、透過表示部の面積比が低下し、また、櫛歯電極上面は反射表示ができないため、実効的な開口率が低下する。
以上のとおり、従来の半透過型IPS方式は反射表示ができなかった。そこで、本発明は、半透過型IPS方式において反射表示を可能にするものである。
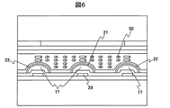
本発明では、反射表示を可能にするために、従来の半透過型IPS方式において方形であった櫛歯電極部の断面形状を、斜面を含む形状にする。この時、斜面では対向する櫛歯電極(こちらも斜面を有する)に向かう電気力線が発生する。図7に示したように電圧印加手段としての櫛歯電極21,22の端部を主にして横電界が発生して、図6に示したように櫛歯電極21,22の端部を主にして櫛歯電極上部の液晶分子50の動作が可能になる。
斜面を含む断面形状は、例えば櫛歯電極21,22の下層を有機絶縁膜にして作成する。有機絶縁膜を加熱焼成すると溶融状態になるが、溶融状態における表面張力を利用して円弧状の断面形状にする。その上にアルミニウム等の高反射率の金属膜を形成し、フォトリソグラフでパターンニングして有機絶縁膜の上部にのみ選択的に形成する。
櫛歯電極21,22の端部を角度が連続的に変化しながら傾いた斜面としたため、櫛歯電極21,22の端部は拡散反射板の凹凸構造と同様に光を拡散反射する。これにより、図4に示したように主に基板法線方向から観察する使用者70の方向に斜め方向から入射した光が反射されるため、使用者が感じる反射輝度が向上する。
これまで櫛歯電極上の液晶が動作しない、拡散反射が生じないという2つの原因のために半透過型IPS方式では反射表示が不可能であった。断面が円弧状の櫛歯電極21,22を用いることにより上記2つの原因を同時に解決できるため、半透過型IPS方式において反射表示が可能になる。
使用者は多くの場合に基板法線方向から表示装置を観察するが、櫛歯電極上の任意の微小斜面に着目すると、各微小斜面は反射面法線と基板法線を含む面内から入射した光を基板法線方向に反射する。櫛歯電極21,22の方向が一画素内で一定であれば、反射面法線の向きも一画素内で一定になり、指向性の強い反射特性になる。反射特性に指向性がある場合、ある特定の使用条件において特に良好な表示特性が得られる。
その一方で、指向性を低減すれば使用条件に依存しないで広範な環境下で良好な表示特性が得られる。本発明では一画素内における櫛歯電極21,22の方向を多様化することにより、各微小斜面の反射面法線に方位角方向の分布を付与する。具体的には、櫛歯電極21,22を屈曲構造にしたり、電極の幅が周期的若しくは非周期的に変化する波状構造にしたり、櫛歯電極上に微小な凹凸構造を付加する。これにより、指向性が低減してより等方向的な反射特性になる。
櫛歯電極21,22の分布形状が規則的であれば、反射光の干渉による虹色の着色が生じる。光拡散性を有する層を対向基板の内側、若しくは外側に配置して、櫛歯電極21,22に入射する光と反射した光を拡散すれば、反射光の干渉を低減できる。反射光の干渉をより完全に解消するには、櫛歯電極21,22の分布規則性の低減が有効である。具体的には、近接する画素電極と共通電極を異なる分布形状とする。あるいはまた、指向性低減のために導入する波状構造や凹凸構造も有効であり、波状構造や凹凸構造を不規則な分布にして導入する。これにより、指向性低減と同時に反射光の干渉低減の効果が得られる。
以上のとおり、本発明によると、種々の反射特性を有する反射表示及び透過表示を行う半透過型ISP方式液晶表示装置が実現でき、この表示装置は、晴天時の屋外から暗室に渡る多様な環境下で表示が可能な全環境型の表示装置であり、かつ透過表示ではモニターに比肩する広視野の表示が得られる。
したがって、モニターなみの高画質表示装置が持ち運び可能になり、これにより高精細な画像情報の取扱が可能になる。また、デジタルカメラに用いれば、撮影済画像の確認が容易になる。さらに、地上波デジタル放送の普及と共に、今後携帯型テレビの受信状態も大幅に向上することが予測されるが、携帯型テレビに用いれば、高画質の画像情報が場所を選ばずに再現可能になる。
以下、本発明を実施するための最良の形態を、実施例を用いてより詳細に説明する。
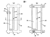
本発明の液晶表示装置の断面を図2に、その第二の基板12の上面図を図1に示す。図2は、図1(a)の点線1−2間の断面図であって、本発明の液晶表示装置は、主に第一の基板11と液晶層10と第二の基板12から構成され、第一の基板11と第二の基板12は液晶層10を挟持する。第一の基板11は液晶層10に近接する側に第一の配向膜13と平坦化層19とカラーフィルタ18を有する。
図1(a)は第二の基板12における共通電極22の分布状態を示し、図1(b)は図1(a)から共通電極22を除いてその下側の構造の分布状態を示す。第二の基板12は液晶層10に近接する側に第二の配向膜14を有し、また駆動手段としての薄膜トランジスタ28を有する。この薄膜トランジスタ28は逆スタガ型構造であり、チャネル部はアモルファスシリコン層26で形成されている。
走査配線27と信号配線25は交差しており、薄膜トランジスタ28はその交差部に位置している。薄膜トランジスタ28は走査配線27と信号配線25とソース配線23に接続されている。走査配線27と信号配線25は第一の絶縁層15で絶縁されており、信号配線25と電圧印加手段としての画素電極21は第二の絶縁層16及び第三の絶縁層17で絶縁されている。また、電圧印加手段としての画素電極21は信号配線25と平行に分布しており、ソース配線23が接続されている。画素電極21と薄膜トランジスタ28のソース配線23はスルーホール部24で結合されている。画素電極21上には第二の配向膜14があり、液晶層10に近接してその配向方向を規定する。
第一の基板11はホウケイサンガラス製であり、厚さは0.5mmである。カラーフィルタ18は赤、緑、青色を呈する各部分がストライプ状に繰り返して配列しており、カラーフィルタに起因する凹凸は樹脂製の平坦化層19により平坦化されている。第一の配向膜13はポリイミド系有機膜であり、層厚は0.2μmである。
第二の基板12は第一の基板11と同様にホウケイサンガラス製であり、厚さは0.5mmである。第二の配向膜14は光配向性の有機膜である。走査配線27と信号配線25はクロム製であり、第一の絶縁膜15と第二の絶縁膜16は窒化シリコン膜であり、第三の絶縁膜17は有機膜である。画素電極21と共通電極22はアルミニウム製であり、層厚は0.14μmである。画素電極21と共通電極22は何れも櫛歯状であり、一画素内において櫛歯を平行にして入れ込むように分布しており、電圧印加時には画素電極と共通電極の間に横電界が形成される。
第三の絶縁層17は画素電極21と共通電極22と同様に分布しており、画素電極21と共通電極22は第三の絶縁膜17上に形成されている。第三の絶縁膜17は有機膜をフォトリソグラフでパターンニングすることにより画素電極21及び共通電極22と同様の分布にする。
加熱焼成する過程でパターンニングされた有機膜は溶融状態になるが、溶融状態における表面張力により断面は対称な2次曲線状の対称構造になる。
画素電極21と共通電極22は高い反射率のアルミニウムからなるため、画素電極21と共通電極22の存在する部分が反射表示部である。画素電極21と共通電極22との間隙部20は透明であり、バックライト光を透過するため透過表示部である。画素電極21及び共通電極22は第三の絶縁膜17上に分布するため第二の基板12上に突出しており、これにより反射表示部の液晶層厚が透過表示部よりも小さくなっている。
画素電極21と共通電極22は、第三の絶縁膜17上において、2次曲線状の断面を完全に覆うように分布する。これにより、反射表示部における液晶層厚を透過表示部よりも小さく設定し、かつ透過表示部における液晶層厚をほぼ一定にする。第三の絶縁膜17上が、2次曲線状の断面を有することにより、反射表示部の液晶層厚は一定にならない。その平均値は、透過表示部の液晶層厚は反射表示部の平均値の約1.7倍から1.9倍である。
前述のように、反射表示部と透過表示部の光路差を完全に解消するためには、透過表示部の液晶層厚を反射表示部の2倍にするべきである。反射表示部の液晶層のリタデーションは4分の1波長であるため、透過表示部の液晶層のリタデーションはその2倍の2分の1波長にするべきである。しかし、透過表示部の液晶層のリタデーションを2分の1波長にすると透過表示の明るさは最大になるものの、表示色は黄色に着色する。透過表示の明るさを最大値に近い値に保ちながら着色を解消するために、透過表示部の液晶層厚を反射表示部の2倍よりもやや小さい1.7倍から1.9倍にする。
第三の絶縁層17上に着目すると、画素電極21と共通電極22が被覆する部分が反射表示部であり、残りが透過表示部になる。画素電極21と共通電極22が第三の絶縁層17上を完全に覆うと第三の絶縁層17上はすべて反射表示部になる。この時、透過表示部は電極間部のみになり、電極間部は平坦なため透過表示部の液晶層厚は一定になる。画素電極21と共通電極22が第三の絶縁層17上を部分的に覆うと、第三の絶縁層17上の一部(端部)も透過表示部になるため、透過表示部の液晶層厚は一定にならない。
したがって、透過表示の視覚特性向上を目的として広視野角の透過表示を与えるIPS方式を適用した本実施例では、透過表示部の液晶層厚を一定にして、透過表示品質を優先した設計にする。これにより暗表示透過を充分に低減して、透過表示のコントラスト比を増大する。
液晶層10には、フッ素系液晶材料を主にした正の誘電率異方性を示す液晶組成物を用いた。その複屈折は0.073であり、室温域を含む広い温度範囲においてネマチック相をとる。また、薄膜トランジスタ28を用いた駆動の保持期間中において、反射輝度と透過輝度を充分に保持するだけの高抵抗値を示す。
第一の配向膜13は日産化学社製のサンエバーを塗布焼成して成膜化し、ラビング法で配向処理を施した。第二の配向膜14は溶液状態で第二の基板12上に塗布成膜した後に紫外線を照射して配向処理を施した。第二の基板12上の反射表示部と透過表示部の境界には1.5μmの段差があるため、ラビング法では境界部が充分に配向処理されず配向不良が生じる。第二の配向膜14に光配向性の有機膜を用いたことにより、境界部も充分に配向処理することが可能になり、第二の基板12上を均一に配向処理できた。第一の配向膜13と第二の配向膜14の配向方向は、第一の基板11と第二の基板12を組み立てて液晶材料を封入し、液晶パネルとした時に液晶層が平行配向となり、かつ基板法線方向から観察した場合に画素電極21と共通電極22との間に形成される電界方向に対して配向方向が75度を成すように設定した。
液晶パネルの第一の基板11を上側、第二の基板12を下側と呼ぶことにする。第二の基板12は入射光を反射する画素電極21と共通電極22を備えており、通常の使用状態において使用者から見て下側に位置するからである。液晶パネルの上側には、第一の基板11に近接する順に第一の位相板53と第一の偏光板51を備える。液晶パネルの下側には、第二の基板12に近接する順に第二の位相板54と第三の位相板55と第二の偏光板52を備える。
反射表示部の液晶層厚は一定ではないが、反射表示部の代表的な液晶層厚(例えば反射表示部内での平均値)を有する微小部分に着目する。透過型IPS方式では液晶配向が一画素内において均一になる電圧無印加時を暗表示にするが、このことは半透過型IPS方式でも同様である。暗表示において入射した光が画素電極21もしくは共通電極22に到達した時点において円偏光になっていれば、反射後に再び第一の偏光板51に到達した時にその吸収軸に平行な直線偏光になり、第一の偏光板51によって完全に吸収されて暗表示の反射率を低減できる。かつ、可視波長の広範な領域において前記が実現できれば、無彩色でかつ低反射率の暗表示を実現できる。
第一の偏光板51と第一の位相板53と反射表示部液晶層の光学条件は上記を実現するように決定すべきであり、これは図3に示すポアンカレ球表示を用いて求めることが出来る。ポアンカレ球表示は偏光状態を記述するストークスパラメータ(S1、S2、S3)を3軸とする空間内で定義され、ポアンカレ球上の各点は偏光状態に一対一に対応する。例えば、ポアンカレ球上の(S1、S2)平面との交線(赤道)は直線偏光に対応し、S3軸との交点(北極と南極)は円偏光に対応し、それ以外は楕円偏光に対応する。また、(S1、S2、S3)は電気ベクトルの任意のX軸成分Ex、任意のY軸成分Ey、ExとEyの位相差δを用いてそれぞれ次式で表される。
S1=(Ex2−Ey2)/(Ex2+Ey2)
S2=2ExEycosδ/(Ex2+Ey2)
S3=2ExEysinδ/(Ex2+Ey2)
位相板や捩れのない液晶層による偏光状態の変換は、ポアンカレ球上では(S1、S2)平面内に含まれポアンカレ球の中心を通過する線の回りの回転として表される。この時の回転角は、位相板のリタデーションが1/2波長ならば1/2回転であり、1/4波長ならば1/4回転である。
可視光域のうちの代表的な波長(例えば人間の視感度が最高になる波長550nm)の入射光が、第一の偏光板51、第一の位相板53、反射表示部液晶層を順次通過して画素電極21もしくは共通電極22に到達する過程に着目する。
図3(a)に示したように、第一の偏光板51によって直線偏光になった入射光L1はポアンカレ球上の赤道に位置するが、第一の位相板53により1/2回転して赤道の別の一点L2に移動し、液晶層により1/4回転して北極NPに移動して円偏光に変換される。
次にこれ以外の波長の入射光に着目すると、リタデーションには波長依存性があり、位相板でも液晶層でも短波長側ほどリタデーションが大きく、長波長側ほど小さい。そのために回転角は波長によって異なり、第一の位相板53による回転において550nm以外の波長の光は1/2回転にならずに赤道から外れた点に移動する。
より具体的には、短波長側の青の光はリタデーションが1/2波長よりも大きいため1/2回転よりも大きく回転して赤道上から外れ、長波長側の赤の光はリタデーションが1/2波長よりも小さいため1/2回転よりも小さく回転して赤道上から外れる。しかし、次の液晶層による1/4回転では移動方向が概略反対方向になるため波長による回転角の違いが補償される。その結果、各波長の光は北極NPの近傍に集中し、即ち各波長の光はほぼ同一の円偏光になる。これを液晶の表示状態として観察した場合、可視波長の広い領域で反射率が低減した無彩色の暗表示が得られる。
第一の位相板53と反射表示部液晶層のポアンカレ球上での作用はそれぞれ1/2回転と1/4回転であるため、この時の第一の位相板53と反射表示部液晶層のリタデーションはそれぞれ1/2波長と1/4波長である。また、ポアンカレ球上での回転の中心軸が遅相軸の方位角に対応することから、第一の位相板53の遅相軸の方位角θPH1と反射表示部液晶層の配向方向の方位角θLCを第一の偏光板51の透過軸の方位角を0度として反時計回りに定義すると、次式で表される。
PH1=225°+θLC………(1)
また、図3(b)に示したように、同様にして各波長の入射光をポアンカレ球の南極SPに集中することができる。この場合も第一の位相板53と反射表示部液晶層のリタデーションはそれぞれ1/2波長と1/4波長であり、θPH1とθLCは次式で表される。
PH1=−45°+θLC………(2)
本実施例では(2)式を用い、θPH1=15°、θLC=75°とした。
次に、第二の位相板54と第三の位相板55と第二の偏光板52の光学条件を決定する。第二の位相板54と第三の位相板55と第二の偏光板52は、それぞれ透過表示部液晶層、第一の位相板53、第一の偏光板51の対として考える。ここで、第二の位相板54の対を反射表示部ではなく透過表示部の液晶層としたのは、反射表示の場合には入射光が第二の位相板54以下を通過することはなく、透過表示の場合のみこれらを通過するからである。
第二の位相板54のリタデーションは、その対である透過表示部液晶層と同一にし、その遅相軸は透過表示部液晶層の配向方向(反射表示部液晶層に等しい)に対して垂直にする。これにより、第二の位相板54と透過表示部液晶層のリタデーションは相殺される。
第三の位相板55のリタデーションは、その対である第一の位相板53と同一にし、その遅相軸は第一の位相板53の遅相軸に対して垂直にする。これにより、第三の位相板55と第一の位相板53のリタデーションは相殺される。第二の偏光板52の透過軸は第一の偏光板51の透過軸に対して垂直にする。
本実施例ではθPH2=165°、θPH3=105°、θPL2=90°とし、第二の位相板54と第三の位相板55のリタデーションはいずれも2分の1波長とした。第二の偏光板52と第一の偏光板51との間に存在する二組の複屈折媒体のリタデーションが相殺されたため第二の偏光板52と第一の偏光板51との間は等方相に等しく、第二の偏光板52と第一の偏光板51とを直交することにより理想的な暗表示が法線方向において実現される。
以上のように決定した光学条件で、液晶パネルの上側に第一の位相板53と第一の偏光板51を、液晶パネルの下側に第二の位相板54と第三の位相板55と第二の偏光板52を積層した。これらに加えて、第一の位相板53と第一の基板11の間に光拡散層56を配置した。
光拡散層56は第一の位相板53と第一の基板11を接着する粘着層の内部に、粘着層とは屈折率の異なる透明な微小球を多数混入した構造である。粘着層と微小球の界面において両者の屈折率が異なることによって生じる屈折の効果を利用して、入射光の光路を拡大する作用を有する。これにより、画素電極と共通電極における反射光の干渉で生じる虹色の着色を低減できる。
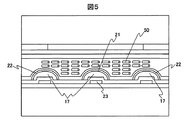
図4ないし図7は、以上のようにして作製した半透過型IPS方式液晶表示装置であって、図4は、反射表示時の使用者70と入射光、出射光の関係を示した断面図であり、図5は、電圧無印加時における液晶分子50の配向状態を示した断面図であり、図6は、電圧印加時における液晶分子50の配向状態を示した断面図であり、図7は、電圧印加時における電気力線49を示した断面図である。
この半透過型IPS方式液晶表示装置を駆動装置に接続し、背後にバックライトを配置して表示状態を観察した。バックライトを消燈した状態で、明所において観察したところ、反射表示による表示画像を確認できた。次に、バックライトを点燈した状態にして暗所において観察したところ、透過表示による表示画像を確認できた。以上のように、半透過型IPS方式において反射表示、透過表示とも表示画像を確認することができた。
また、画素電極21と共通電極22の断面は概略対称構造であり、断面の右方向、左方向の何れから入射した光に対しても同様の反射率を示す。そのため、反射表示は光源光の入射方向などに依存した反射率の変化が少なかった。
本実施例の半透過型IPS方式液晶表示装置の透過表示における視角特性を評価した結果を図18(a)に示す。図18(a)は第一の偏光板の透過軸方向(実線)、第一の偏光板の吸収軸方向(破線)において測定した透過効率の極角依存性である。極角0度は基板法線方向と一致して、基板法線方向から離れるにつれて極角は増大する。図18(a)のうち暗表示における透過効率に着目すると、何れの方向においても極角±20度の範囲内では透過効率の変化がほとんどなく、IPS方式を採用したことによる視角特性向上の効果が見られる。
なお、本発明の液晶表示装置の画素構造は、図1に示したものに限定されない。例えば図14(a)に示したように、共通配線29を走査配線27に対して平行に配置して、コンタクトホール24を通じて共通配線に導通するように共通電極を配置しても良い。図14(a)に示した画素構造は図1よりも複雑であるが、各共通電極は平坦な基板上に形成された共通配線に接続されるため、断線等の不良が生じにくいという利点がある。
また、図1と図14(a)では共通電極は各画素2本、画素電極は各画素に1本存在するが、例えば図14(b)に示したように共通電極を各画素に3本、画素電極は各画素2本としても良い。あるいはまた、図14(c)に示したように共通電極を各画素4本、画素電極は各画素3本としても良く、更には共通電極と画素電極の本数を図14(c)以上に増大しても良い。
液晶表示装置の開口率や駆動電圧や応答時間は、共通電極と画素電極の間隔の影響を受ける。例えば、1つの画素の大きさが決まっている場合には、1画素内の共通電極と画素電極の本数を最適化することにより、必要な表示特性をバランスよく満足すべく最適設計が可能である。なお、本発明では簡単のため、これ以降、図1に示した最も単純な画素構造を例にして説明することにする。
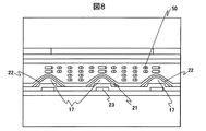
図8に示したように、本実施例では、画素電極21と共通電極22の断面形状を変えて、反射特性を更に向上した。本実施例の画素電極21と共通電極22の断面は、対称構造である点において実施例1と同様である。実施例1よりも中央の平坦部が減少しており、斜面の割合が増大している。
断面形状の画素電極21と共通電極22は、以下のようにして作製した。第三の絶縁膜17をフォトリソグラフを用いてパターニングする際に、露光量を段階的に変化することが可能なグレーティングマスクを用いた。櫛歯電極間は完全に露光して、絶縁膜を完全に除いた。櫛歯電極21,22の端部は不完全に露光して、絶縁膜厚をより薄く残した。櫛歯電極21,22の中央部は露光しないで、絶縁膜厚をより厚く残した。これを加熱溶融することにより、画素端部の斜面の割合が多くかつ傾斜角が滑らかに変化する断面形状とした。
これ以外にも、例えば中央の平坦部上に選択的に重ねる形で有機絶縁膜を追加形成し、これを加熱溶融しても、実施例1よりも斜面の割合が増大した断面形状の画素電極21と共通電極22を形成できる。
実施例1よりも斜面の割合を増大したことにより、画素電極21及び共通電極22上の横電界の強度が増大するので、電界印加時には液晶の配向変化がより大きく起こる。これに加えて、斜め方向から入射した光を法線方向に拡散反射する割合も増大したことから、より明るい反射表示が得られた。画素電極21と共通電極22の断面は実施例1と同様に概略対称構造であるため、光源光の入射方向に依存した反射率の変化が少ないことも同様であった。
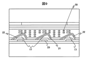
図9に示したように、本実施例では、画素電極21と共通電極22の断面形状を非対称構造にした。実施例1よりも平坦部が減少している点において実施例2と同様であるが、平坦部が中央にはなく非対称である。
非対称な断面形状は以下のようにして作製した。実施例2と同様にグレーティングマスクを用い、櫛歯電極21,22の中央部から偏った部分を露光せずに絶縁膜厚をより厚く残した。これ以外にも、例えば有機絶縁膜の中央から偏った部分の上に選択的に重ねる形で有機絶縁膜を追加形成し、これを加熱溶融しても同様の断面形状を形成できる。
非対称の断面形状にしたことにより、断面の一方から入射した光をより高い割合で法線方向に拡散反射できる。明所において表示状態を確認したところ、斜面法線が向いている方向から光入射した特定の場合において特に良好な反射表示が得られた。
図10ないし図13に示すものは、反射表示の指向性を軽減する実施例であって、具体的には、櫛歯電極の構造を改良してより広範な環境下で良好な反射表示が得られるようにした。櫛歯電極の向きが一定であれば櫛歯電極端部の斜面は一方向を向き、その結果として反射特性に指向性が生じる。これを解消するために、櫛歯電極の向きを一画素内で多様化する。その方法としては、櫛歯電極全体を何らかの屈曲構造にする方法と、櫛歯電極に微小な凹凸構造を付与する方法、あるいはまた両者の併用が考えられる。
図10(a)に示すように、本実施例ではこの内櫛歯電極全体を屈曲構造にする方法を適用した。実施例1では櫛歯電極は走査線方向に対して垂直であった。本実施例では櫛歯電極21,22をV字型にした例であり、櫛歯電極21,22は走査線方向に対して傾いている。櫛歯電極21,22の角度を走査線に対して垂直な方向を0度として反時計回りに定義する。図10(a)の上半分と下半分をそれぞれ領域1、領域2とすると、領域1と領域2において櫛歯電極21,22の走査線方向に対する傾きはそれぞれ20度と−20度とした。これにより櫛歯電極端部の斜面の向きは実施例1の2方向から4方向(61ないし64)に増加して、反射特性の指向性が低減されて等方性に近づき、より広範な条件で良好な表示が得られる。
また、反射特性の指向性が低減されたことにより、光拡散層の拡散性を低減できる。光拡散層56を第一の基板11と第一の位相板53との間に配置すると、光拡散層56と画素電極21は第一の基板11によって隔てられることになり、画素サイズよりも充分離れた位置にある光拡散層56によって入射光路が拡大される作用を受けるため、使用環境によっては解像度が低下する場合があった。本実施例では光拡散層の拡散性を低減できるため、解像度低下を防ぐことが出来る。
以上のようにして作製した半透過型IPS方式液晶表示装置を駆動装置に接続し、明所において表示状態を観察したところ、反射表示による表示画像を確認できた。反射光の入射方向を様々に変えても反射率の変化が比較的少なく、より広範な環境下で良好な反射表示が得られ、反射表示の指向性低減の効果を確認することができた。
図10(b)に示したように、本実施例では電極全体を屈曲構造にする方法を用いて反射表示の指向性の更なる軽減を試みた。本実施例の電極構造は実施例4のV字型を元にしているが、櫛歯電極21,22の屈曲する点を実施例4の1点から3点に増やしている。画素端部から約4分の1の部分において櫛歯電極21,22の傾きを変えている。櫛歯電極端部の斜面の向きは更に増加して8方向(61ないし68)になり、実施例4よりも更に等方的な反射特性に近づいた。
また、IPS方式の電気光学特性、即ちしきい値電圧や飽和電圧は初期配向方向と電界方向の成す角度に依存する。本実施例では走査線方向に対する櫛歯電極21,22の傾きを変えているため、初期配向方向と電界方向の成す角度の異なる領域が存在し、電気光学特性が異なる。一画素全体での電気光学特性は各部分の電気光学特性の重ね合わせになるため、透過率の駆動電圧依存が穏やかになり、よりきめ細かな階調表示が可能になる。
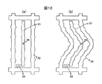
図11(a)に示すように、本実施例では電極全体を屈曲構造にする方法を用いて反射表示の指向性の更なる軽減を試みた。櫛歯電極21,22をU字型にした例であり、走査線方向に対する櫛歯電極21,22の傾きを連続的に変えている。この時、櫛歯電極端部の斜面の向きもまた連続的に変化するため、櫛歯電極端部の斜面の向きは広い範囲に分布する。実施例5よりも更に等方的な反射特性に近づいた。
図11(b)に示すように、本実施例では櫛歯電極21,22の形状と分布に不規則性を付与し、画素電極21と共通電極22における反射光の干渉によって生じる虹色の着色の低減を試みた。画素電極21と共通電極22の形状と分布がコヒーレント長内であれば、画素電極21と共通電極22の異なる部分で生じた反射光が干渉により強めあう角度条件が存在することになり、かつその角度条件が波長により連続的に変化することから虹色の縞模様となって観察される。干渉が生じれば表示部情報に虹色の縞模様が重畳するため、視認性が損なわれる。
実施例6では櫛歯電極21,22をU字にしてその傾きを連続的に変えたが、本実施例ではこれに加えて近接する画素電極21と共通電極22を互いに異なる形状とした。液晶の配向方向と電界の生す角度が90度に近くなる部位を最小限にして暗線の発生を低減するために、任意の画素電極21もしくは共通電極22のつくる櫛歯の一本において、走査配線に対して垂直になる部分は図11(b)に点線で示すように一箇所のみ生じるようにした。
携帯電話の液晶表示装置では、1インチあたりに約200画素が存在する比較的高い精密度が標準になりつつある。この場合に一画素の大きさは約40×120μmになるため、プロセスの解像度を約5μm程度とすると、各画素は画素電極が画素中央に1本、共通電極が画素の両端部にそれぞれ1本づつ配列した構造になる。各画素の光散乱性を同一にするためには各画素の構成を同一にしなければならないが、その上で近接する画素電極と共通電極を互いに異なる形状とするためには、全ての画素電極を同一の構造とし、かつ全ての共通電極を同一の構造にすればよい。
具体的な画素電極21と共通電極22の形状としては、例えば画素電極21と共通電極22の一方を曲率のより大きいS字構造で構成し、他方を曲率のより小さいS字構造で構成する。図11(b)では、共通電極22の曲率を画素電極21よりも大きくしている。
自然界に存在する光の干渉性を表すコヒーレント長は約20μm程度であり、蛍光灯などの人工照明の光についてもほぼ同様である。コヒーレント長の範囲内には接近する画素電極21と共通電極22が含まれるが、図11(b)に示したように接近する画素電極21と共通電極22の形状が異なるため画素電極21と共通電極22の距離は連続的に変化する。
実施例7のU字型の櫛歯電極21,22では、液晶の配向方向と電界方向の成す角度が90度に近くなる部分が存在し、図11(b)の点線部付近がこれに該当する。この部分では、電界印加字における液晶層の配向変化の方向が定まりにくい。即ち、電界印加字においで液晶層は基板平面内において右回りと左回りの何れかに回転するが、液晶の配向方向と電界方向の成す角度が90度に近づけば何れも同じくらいに容易になるため、回転方向が定まりにくい。その結果、電圧を印加しても配向変化が生じず、電圧印加時に透過率が増大しない暗線部が破線部近傍を中心にして広範囲に発生する可能性がある。暗線部が発生すれば透過性と反射率が減少するため好ましくない。
そこで、本実施例では図11(c)で示したように図11(b)の点線部に相当する部分の櫛歯電極21,22に突起を付加した。突起近傍では、突起に起因する局所電界により液晶の配向方向と電界方向の成す角度が90度よりも充分に小さくなり、電圧印加時の回転方向が定まる。また、突起近傍における配向変化がその周辺に伝播することにより、突起周辺の広範な領域で電圧印加時の回転方向が定まる。以上により暗線部は突起先端の狭い領域に限定されるため、暗線部の面積を低減できる。
図12(a)に本実施例の画素構造の一例を示した。本実施例では、櫛歯電極21,22の平面構造を変更して、櫛歯電極21,22に微小な突起構造を付与して反射表示の指向性の軽減を試みた。実施例1の真っ直ぐな電極構造に微小な突起を連続的に付与して波状構造とし、櫛歯電極端部の向きを一画素内で多様化した。また、微小な突起の分布に不規則性を付与して、反射面の分布を不規則にした。これにより、反射特性の等方化に加えて、虹色の干渉色を低減する効果が同時に得られた。
図12(b)に画素構造の一例を示したように、本実施例では実施例9と同様に櫛歯電極21,22に微小な突起構造を付与して反射表示の指向性の更なる軽減を試みた。第三の絶縁膜17及び櫛歯電極21,22はフォトリソグラフで形成されるが、これらの形状はフォトマスクの形状を変更してフォトレジスト上における光照射部と遮光部の境界線を変更することにより任意に変更可能である。微小な突起構造は、第三の絶縁膜17及び櫛歯電極21,22の形成に用いるフォトマスクの形状を変更することにより付与することができる。
V字型の電極構造に微小な突起を連続的に付与して波状構造とし、櫛歯電極端部の向きを一画素内で多様化した。V字型の電極構造が有する櫛歯電極21,22の向きの分布に微小な突起による分布が重畳するため、櫛歯電極21,22の向きの分布がより多様化し、より等方的な反射特性に近づけることができた。
図13(a)に本実施例の画素電極の一例を示した。本実施例では、櫛歯電極21,22の平面構造は変えずに微小な凹凸構造90を重畳して反射表示の指向性の軽減を試みた。実施例1の櫛歯電極21,22に微小な凹凸構造90を重畳している。個々の凹凸は概略断面が二次曲面状の回転体なので、回転中心の周囲に360度にわたって傾斜面を有する。微小な凹凸構造90を重畳したことにより、櫛歯電極21,22上の反射面法線の向きを実施例1よりも多様化することができた。
櫛歯状の突起構造の上に円形の凹凸構造が重畳した構造は、以下のようにして作製した。第3の絶縁膜17をフォトリソグラフを用いてパターニングする際に、露光量を段階的に変化することが可能なグレーティングマスクを用いた。櫛歯電極間は完全に露光して、絶縁膜を完全に除いた。櫛歯電極上の凹部は不完全に露光して、絶縁膜厚をより薄く残した。櫛歯電極上の凸部は露光しないで、絶縁膜厚をより厚く残した。その後、第3の絶縁膜17を焼成して各部の断面形状を2次曲面上にした。グレーティングマスクを用いることにより、絶縁膜厚の厚さが段階的に変化するより複雑な構造を、工程を増やさずに作製することができた。また、微小な凹凸構造90の分布に不規則性を付与したため、反射特性の等方化に加えて、虹色の干渉色を低減する効果が同時に得られた。
図13(b)に示したように、本実施例では実施例11と同様に微小な凹凸構造90を重畳して、反射表示の指向性の軽減を試みた。実施例6の櫛歯電極21,22に微小な凹凸構造90を重畳した。実施例6の櫛歯電極21,22はそのU字状構造により反射面法線の向きに分布を有するが、これに微小な凹凸構造による分布が重畳するため、反射面法線の向きを更に多様化することができた。これにより、反射特性をより等方的にすることができた。また、櫛歯電極21,22の形状自体がU字状であり、櫛歯電極21,22が屈曲しているため実施例11よりも微小な凹凸構造90の配置を不規則にすることができ、微小な凹凸構造に起因する虹色の干渉色を低減できた。
以下、実施例1において、第3の絶縁膜17を本発明による有機膜から従来の窒化シリコン膜に変えて作製した場合を簡単に説明すると、例えば、図21ないし図24に示したように、第3の絶縁膜17の断面形状が概略方形となる。その結果、第3の絶縁膜17の上に分布する共通電極22と画素電極21の反射面は平坦になった。
この半透過型IPS方式液晶表示装置を駆動装置に接続し、背後にバックライトを配置して表示状態を観察した。バックライトを点燈して暗所において観察したところ、実施例1と同様に透過表示による表示画像を確認できた。しかし、バックライトを消燈して暗所において観察した場合には、反射表示による表示画像を確認できなかった。
平坦な共通電極と画素電極を用いた場合に反射表示を確認できなかった理由は、以下のように考えられる。図21に反射表示における使用者70の観察方向と、入射光、出射光の光路の関係を示す。斜め方向から入射した光は平坦な共通電極22と画素電極21で反射されるため、入射角と出射角マクロな基板平面に対してほぼ等しい角度になる。光は入射方向に対して反対の方向に、法線方向に対して傾いた角度で出射し、多くの場合使用者70の観察する法線方向には向かわない。
また、平坦な共通電極22と画素電極21との間に電圧印加した場合に形成される電気力線49を図24に示す。共通電極22と画素電極21の上部には電界がほとんど存在しない。実施例1の液晶表示装置における電気力線の分布を示した図7では共通電極22と画素電極21の上部にも横電界が存在している。
このときの液晶分子50の配向状態を図23に示す。共通電極22と画素電極21の上部に電気力線が存在しないことを反映して、同部において液晶分子50はほとんど配向変化しておらず、電圧無印加時を示す図22とほぼ同様の配向状態である。反射表示部である共通電極22と画素電極21の上部は、電圧無印加時、電圧印加時とも常に暗表示のままであり、反射率にはほとんど変化が生じない。
以上のとおり、平坦な共通電極と画素電極を用いた場合には、反射光が使用者に向かわず、かつ、反射表示部の液晶層が動作しないという2つの理由により反射表示ができないが、本発明によりこの2つの理由が解決された。
実施例1の液晶表示装置の透過表示の視角特性は、図18(a)に示したように何れの方向においても極角20までは暗表示透過効率がほぼ一定である。しかし、±20度以上の極角では極角増大とともに暗表示透過効率が増大しており、この方向から観察した場合にコントラストが低下して見える。これより、実施例1の半透過型IPS方式液晶表示装置は特に高極角領域での暗表示透過効率の低減が必要である。
図19に、複屈折媒体の視角特性に関与する因子と、任意の視角方向84における複屈折媒体の光学特性の決定方法を示す。複屈折媒体の視角特性に関与する因子は遅相軸の方位、進相軸の方位と両方位における屈折率であり、これらは屈折率楕円体80に以下のような幾何学的な操作を加えることにより求められる。
屈折率楕円体とはx方向の屈折率nx、 y方向の屈折率ny、 z方向の屈折率nzを3軸とする楕円体であり、3軸の方向は実空間のx方向、y方向、z方向に平行である。注目する視角方向84に平行で屈折率楕円体の中心を通る直線を想定し、この直線に対して垂直な屈折率楕円体の中心を含む断面81を作る。断面81は一般に楕円形であり、その長軸82の方向が注目する視角方向の入射光に作用する遅相軸であり、長軸の長さが遅相軸の屈折率である。同様にして、短軸83の方向が注目する視角方向の入射光に作用する進相軸であり、短軸の長さが進相軸の屈折率である。
したがって、任意の視角方向における複屈折媒体の光学特性はnx、 ny、 nzの比で決定され、これは一般にNz係数で表される。Nz係数は、Yasuo Fujimura, Tatsuki Nagatsuka, Hiroyuki Yoshimi, Takefumi Simomuraらの発表(SID‘91 DIGEST (1991)739頁〜742頁)において、次式で定義されている。
Nz=(nx−nz)/(nx−ny) ………(3)
Nz係数が異なれば、視角特性も異なることになる。具体的な例として、基板法線方向から観察した場合に遅相軸が45度になるように配置したNz=1.0の複屈折媒体1について考える。図20(a)は、方位角−90度において極角が増大するように入射方向が変化した場合の複屈折媒体1の光学特性の変化を表す。複屈折媒体1の屈折率楕円体は、基板法線方向から観察した時に遅相軸方向が最も長い、ラグビーボール状の形状である。そのため、屈折率楕円体の断面は極角の増大と共に水平方向に平行な状態に近づくように変化する。これと同時に、断面の長軸方向も水平方向に近づくように変化する。
次に、基板法線方向から観察した場合に遅相軸が135度になるように配置したNz=0.0の複屈折媒体2について考える。図20(b)は、図20(a)と同様にして方位角−90度において極角が増大するように入射方向が変化した場合の複屈折媒体2の光学特性の変化を表す。屈折率楕円体は基板法線方向から観察した時の進相軸方向において最も短く、その垂直方向において最も長い、凸レンズ状の形状である。そのため、屈折率楕円体の断面は極角の増大と共に法線方向の厚さが現れて、垂直方向に膨らむように変化する。これと同時に、その長軸も垂直方向に近づくように変化する。
この複屈折媒体1と複屈折媒体2を同時に観察した様子を示したのが図20(c)である。図20(c)では複屈折媒体1と複屈折媒体2の遅相軸を区別するためにそれぞれ85、86で示してある。基板法線方向において複屈折媒体1と複屈折媒体2は遅相軸が直交するように配置している。方位角−90度において極角が増大すると、複屈折媒体1の屈折率楕円体の断面長軸は極角の増大と共に水平方向に近づくように変化し、複屈折媒体2の屈折率楕円体の断面長軸は垂直方向に近づくように変化する。
即ち、両者は共に反時計回りに回転するように変化し、極角増大に伴う回転のスピードは同じである。そのため、極角が増大しても両者の遅相軸は直交に保たれる。また、このことは方位角−90度においてだけではなく、全ての方位角において極角を変化させたときに成り立つ。そのため、複屈折媒体1と複屈折媒体2の遅相軸は全ての視角方向において直交に保たれる。
以上より、基板法線方向において遅相軸が直交している2つの複屈折媒体の対のうち、一方をNz=1にし、他方をNz=0にすれば両者のリタデーションをより広い視角範囲で相殺できるため、暗表示の視角特性を向上できる。実施例1において基板法線方向から見たときに遅相軸が直交しているのは、透過表示部液晶層と第二の位相板、第一の位相板と第三の位相板の2組である。
まず始めに透過表示部液晶層と第二の位相板の対について考えると、透過表示部液晶層はネマチック液晶からなり、その配向状態はホモジニアス配向である。ネマチック液晶は正の一軸性のため透過表示部液晶層は nx>nz=nyであり、Nz=1である。そこで、対の一方である第二の位相板をNz=0とする。第一の位相板と第三の位相板については、第一の位相板をNz=0に、第三の位相板をNz=1にしてもよく、あるいはまた第一の位相板をNz=1に、第三の位相板をNz=0にしてもよい。ここでは後者を選択する。
本実施例の半透過型IPS方式液晶表示装置の透過表示視角特性を図18(b)に示す。図18(a)に比較して、高極角領域における暗表示透過率が低減されており、Nz係数の組合せ最適化による視角方向での位相差補償向上の効果を確認できた。
実施例1の液晶表示装置において、上下の配向膜を垂直配向膜に換えた。垂直配向膜は側鎖にアルキル基を有するポリイミド系の有機高分子である。液晶材料には実施例1と同様に誘電率異方性が正のネマチック液晶を用いた。
本実施例の液晶表示装置の断面図を図15に示す。図15は液晶層に電圧を印加していない状態を示しており、上下の配向膜を垂直配向膜に換えたことにより液晶層は概略基板法線方向に配向している。
電圧無印加時に液晶層の配向状態は垂直配向のため、そのリタデーションは反射表示部、透過表示部とも基板法線においてほぼゼロである。この状態を暗表示とするため、位相板と偏光板の光学条件を変更した。
まず、反射表示部を暗表示にするために第一の基板の上側に配置する位相板と偏光板の光学条件を決定した。第一の基板の上側には第一の位相板を配置し、そのリタデーションを四分の一波長にする。櫛歯電極の垂直方向を基準に取ると、第一の位相板の遅相軸は櫛歯電極の垂直方向に対して45度を成すように配置した。更に、第一の位相板の上側には第一の偏光板を配置し、その透過軸は櫛歯電極の垂直方向に対して90度を成すように配置した。
第一の位相板と第一の偏光板により、円偏光が作られる。液晶層のリタデーションがゼロのため、第一の位相板と第一の偏光板で作られた円偏光がそのまま共通電極と画素電極に入射し、反射表示の暗表示が実現される。また、第一の位相板をリタデーションが波長と共に増大する逆分散位相板とすれば可視波長域内の広い波長範囲で反射率を低減できるので、より低反射率でかつ無彩色の反射表示が得られる。
次に、透過表示部を暗表示にするために第二の基板の下側に配置する位相板と偏光板の光学条件を決定した。第二の基板の下側には第二の位相板を一枚用い、そのリタデーションは第一の位相板と同じ四分の一波長とし、その遅相軸は第一の位相板の遅相軸に直交するように配置した。これにより、第一の位相板のリタデーションが相殺されて、第一の位相板と液晶層と第二の位相板の積層体のリタデーションがゼロになる。更には第二の偏光板の透過軸を第一の偏光板の透過軸に直交するように配置して、透過表示部の暗表示を実現する。
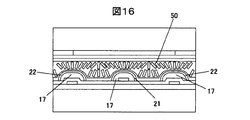
画素電極と共通電極の間に電圧を印加すると図7とほぼ同様の電気力線が形成されるが、この時の液晶層の配向状態を図16に示す。液晶材料の誘電率異方性が正のため、液晶層は電気力線に平行になるように配向変化する。その結果、液晶層にリタデーションが生じて反射表示部、透過表示部とも明表示となる。
図16を詳細に見ると、画素電極および共通電極の上面の中心部において液晶層は垂直配向になっているが、これはこの部分に電界が存在しないことによる。また、画素電極と共通電極の中間においても液晶層は垂直配向になっているが、これは画素電極側と共通電極側において互いに逆向きの配向が生じ、中間において両者が拮抗することによる。任意の画素電極-共通電極間の液晶層に着目すると、画素電極側と共通電極側において電気力線の傾きが逆であるため、画素電極-共通電極間の中間付近を境にして液晶配向方向が互いに逆方向になる。結果として電圧印加時に液晶層が2つのドメインに分割されて、広視野角が得られる。
画素電極と共通電極の断面が傾斜したことにより、電圧無印加時の液晶配向を垂直配向とした本実施例の場合にも画素電極および共通電極上の液晶が動作して、電圧印加に伴い反射率変化が得られる。また、本発明の液晶表示装置では、画素電極と共通電極の断面が傾斜しているので、反射表示部の液晶層厚は均一にならずに分布を有する。本実施例では電圧無印加時の液晶配向が垂直配向であるため、液晶層のリタデーションは液晶層厚に依らずにほぼゼロである。そのため、傾斜部の全域において液晶層のリタデーションが均一(ゼロ)になる。その結果、反射表示の暗表示がより低反射率になり、高コントラスト比の反射表示が得られる。
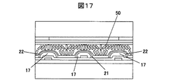
本実施例では、誘電率異方性が負の液晶材料を用いて電圧無印加時の液晶配向を垂直配向にした。本実施例の液晶表示装置の電圧印加時における断面図を図17に示す。液晶層は電気力線に対して垂直になるように配向変化するため、液晶配向は図16に示した実施例14と逆の方向に変化する。
即ち、任意の画素電極-共通電極間の液晶層に着目すると、実施例14では図16に示したように液晶層は画素電極と共通電極の中間点を向くように配向変化するが、本実施例では図17に示したように画素電極側の端部と共通電極側の端部を向くように配向変化する。この場合にも、高コントラスト比の反射表示と、広視野角の反射表示および透過表示が得られる。
本実施例では、図10、図11に示したような屈曲した平面構造の画素電極と共通電極を有する液晶表示装置において、電圧無印加時の液晶配向を垂直配向にした。この場合には、電圧印加時の液晶配向方向が4方向以上に分かれて、液晶層が4つ以上のドメインに分割される。そのため、各ドメインの視角特性がより良好に均一化されて、より広視野角の反射表示と透過表示が得られる。
実施例1における画素構造を示す図であって、図1(a)は、画素電極21と共通電極22の分布及び反射面法線分布61,62を示す図であり、図1(b)は、走査配線27、信号配線25、薄膜トランジスタ28及び画素電極21の分布を示す図である。 実施例1における画素電極21と共通電極22を主にした図1(a)の点線1−2間の断面図 実施例1における第一の偏光板51、第一の位相板53及び反射表示部液晶層の光学条件を求める図 実施例1における反射表示時の使用者70と入射光、出射光の関係を示した断面図 実施例1において、電圧無印加時における液晶分子50の配向状態を示した断面図 実施例1において、電圧印加時における液晶分子50の配向状態を示した断面図 実施例1において、電圧印加時における電気力線49を示した断面図 実施例2において、電圧印加時における液晶分子50の配向状態を示した断面図 実施例3において、電圧印加時における液晶分子50の配向状態を示した断面図 実施例4,5における画素構造を示す図であって、図10(a)は、実施例4における画素電極21と共通電極22の分布及び反射面法線方向の分布61〜64を示す図であり、図10(b)は、実施例5における画素電極21と共通電極22の分布及び反射面法線方向の分布61〜68を示す図である。 実施例6,7,8における画素構造を示す図であって、図11(a)は、実施例6における画素電極21と共通電極22の分布を示す図であり、また、図11(b)は、実施例7における画素電極21と共通電極22の分布を示す図であり、図11(c)は、実施例8における画素電極21と共通電極22の分布を示す図である。 実施例9,10における画素構造を示す図であって、図12(a)は、実施例9における画素電極21と共通電極22の分布を示す図であり、図12(b)は、実施例10における画素電極21と共通電極22の分布を示す図である。 実施例11,12における画素構造を示す図であって、図13(a)は、実施例11における画素電極21と共通電極22の分布を示す図であり、また、図13(b)は、実施例12における画素電極21と共通電極22の分布を示す図であり、図13(c)は、図13(a)の3−4間の断面図である。 共通配線を用いた画素構造と、これにおいて共通電極と画素電極の数を変えた例を示す図である。 実施例14の液晶表示装置の電圧無印加時における液晶配向状態を表す断面図である。 実施例14の液晶表示装置の電圧印加時における液晶配向状態を表す断面図である。 実施例15の液晶表示装置の電圧印加時における液晶配向状態を表す断面図である。 本発明の液晶表示装置の透過表示における視角特性を示す図である。 複屈折媒体の視角特性に関与する因子と、任意の視角方向における複屈折媒体の光学特性の決定方法を示す図である。 極角増大に伴う屈折率楕円体の断面形状の変化を表す図である。 従来の反射表示時の使用者70と入射光、出射光の関係を示した断面図 従来の電圧無印加時における液晶分子50の配向状態を示した断面図 従来の電圧印加時における液晶分子50の配向状態を示した断面図 従来の電圧印加時における電気力線49を示した断面図
符号の説明
10・・・液晶層、11・・・第一の基板、12・・・第二の基板、13・・・第一の配向膜、14・・・第二の配向膜、15・・・第一の絶縁膜、16・・・第二の絶縁膜、17・・・第三の絶縁膜、18・・・カラーフィルタ、19・・・平坦化膜、20・・・間隙部、21・・・画素電極、22・・・共通電極、23・・・ソース配線、24・・・スルーホール部、25・・・信号配線、26・・・アモルファスシリコン層、27・・・走査配線、28・・・薄膜トランジスタ、29・・・共通配線、49・・・電気力線、50・・・液晶分子、51・・・第一の偏光板、52・・・第二の偏光板、53・・・第一の位相板、54・・・第二の位相板、55・・・第三の位相板、56・・・光拡散層、61〜68・・・反射表示部における反射面の傾き方向、70・・・使用者、80・・・屈折率楕円体、81・・・屈折率楕円体の中心を含む断面、82・・・屈折率楕円体の断面の長軸、83・・・屈折率楕円体の断面の短軸、84・・・視角方向、85・・・Nz=1.0の位相板の遅相軸、86・・・Nz=0.0の位相板の遅相軸、90・・・微小な凹凸構造

Claims (13)

  1. 第一の基板と第二の基板と液晶層と駆動手段から主に構成され、第一の基板と第二の基板は液晶層を挟持し、第二の基板は基板面に対して平行な成分が主になるようにして液晶層に電界を印加する電圧印加手段を備えており、電圧印加手段は同一基板上に分布して櫛歯状の形状を有する画素電極と共通電極から構成され、電界は主に画素電極と共通電極の間に形成される液晶表示装置であって、
    画素電極と共通電極は光反射を示し、画素電極と共通電極は両電極の間の間隙部より突出しており、画素電極と共通電極の断面は傾斜面を有する液晶表示装置。
  2. 画素電極と共通電極の断面は対称構造である請求項1に記載の液晶表示装置。
  3. 画素電極と共通電極の断面は非対称構造である請求項1に記載の液晶表示装置。
  4. 画素電極と共通電極の傾斜面の法線は4方向以上の方向を向く請求項1に記載の液晶表示装置。
  5. 画素電極と共通電極の傾斜面の法線方向が連続的に変化する請求項1に記載の液晶表示装置。
  6. 画素電極と共通電極は基板平面内において屈曲構造を有する請求項4に記載の液晶表示装置。
  7. 画素電極と共通電極の幅が一画素内において変化する請求項4に記載の液晶表示装置。
  8. 少なくとも隣接する画素電極と共通電極の基板平面内における形状が互いに異なる請求項4に記載の液晶表示装置。
  9. 画素電極と共通電極が平面方向に分布する単数又は複数の微小な突起構造を有する請求項4に記載の液晶表示装置。
  10. 1画素内において平面方向に分布する複数の微小な突起構造の分布は不規則性を有する請求項9に記載の液晶表示装置。
  11. 画素電極と共通電極が厚さ方向に分布する複数の微小な凹凸構造を有する請求項1に記載の液晶表示装置。
  12. 1画素内において厚さ方向に分布する複数の微小な凹凸構造の分布は不規則性を有する請求項11に記載の液晶表示装置。
  13. 第一の基板上に第一の基板に近接する順に第一の位相板と第一の偏光板が積層され、第二の基板上に第二の基板に近接する順に第二の位相板と第三の位相板と第二の偏光板が積層され、第一の偏光板の透過軸と第二の偏光板の透過軸は直交し、第一の位相板の遅相軸と第三の位相板の遅相軸は直交し、第二の位相板の遅相軸と透過表示部における液晶層の配向方向は直交し、第一の位相板のリタデーションと第三の位相板のリタデーションは等しく、第二の位相板のリタデーションと透過表示部における液晶層のリタデーションは等しく、第二の位相板のNz係数は0であり、第一の位相板のNz係数と第三の位相板のNz係数の一方が1で他方が0であることを特徴とする液晶表示装置。
JP2003337684A 2003-09-29 2003-09-29 半透過型液晶表示装置 Expired - Fee Related JP4082683B2 (ja)

Priority Applications (3)

Application Number Priority Date Filing Date Title
JP2003337684A JP4082683B2 (ja) 2003-09-29 2003-09-29 半透過型液晶表示装置
CNB2004100549227A CN100416386C (zh) 2003-09-29 2004-07-21 液晶显示装置
US10/953,590 US7362400B2 (en) 2003-09-29 2004-09-29 Transreflective liquid crystal display panel having a wide viewing angle

Applications Claiming Priority (1)

Application Number Priority Date Filing Date Title
JP2003337684A JP4082683B2 (ja) 2003-09-29 2003-09-29 半透過型液晶表示装置

Publications (2)

Publication Number Publication Date
JP2005106967A true JP2005106967A (ja) 2005-04-21
JP4082683B2 JP4082683B2 (ja) 2008-04-30

Family

ID=34533442

Family Applications (1)

Application Number Title Priority Date Filing Date
JP2003337684A Expired - Fee Related JP4082683B2 (ja) 2003-09-29 2003-09-29 半透過型液晶表示装置

Country Status (3)

Country Link
US (1) US7362400B2 (ja)
JP (1) JP4082683B2 (ja)
CN (1) CN100416386C (ja)

Cited By (37)

* Cited by examiner, † Cited by third party
Publication number Priority date Publication date Assignee Title
JP2005173564A (ja) * 2003-11-21 2005-06-30 Toshiba Matsushita Display Technology Co Ltd 液晶表示装置
JP2007047732A (ja) * 2005-07-15 2007-02-22 Sanyo Epson Imaging Devices Corp 液晶表示装置及び電子機器
WO2007066677A1 (en) * 2005-12-05 2007-06-14 Semiconductor Energy Laboratory Co., Ltd. Liquid crystal display device
JP2007293290A (ja) * 2006-03-27 2007-11-08 Nec Corp 液晶パネル、液晶表示装置及び端末装置
JP2007334317A (ja) * 2006-05-16 2007-12-27 Semiconductor Energy Lab Co Ltd 液晶表示装置及び半導体装置
WO2008015815A1 (en) * 2006-08-02 2008-02-07 Sharp Kabushiki Kaisha Display device
JP2008083220A (ja) * 2006-09-26 2008-04-10 Seiko Epson Corp 液晶装置及び電子機器
JP2008083219A (ja) * 2006-09-26 2008-04-10 Seiko Epson Corp 液晶装置及び電子機器
JP2008107687A (ja) * 2006-10-27 2008-05-08 Nec Lcd Technologies Ltd 液晶表示装置、光学フィルムおよび端末装置
JP2008151817A (ja) * 2006-12-14 2008-07-03 Hitachi Displays Ltd 半透過型液晶表示装置
JP2009075421A (ja) * 2007-09-21 2009-04-09 Epson Imaging Devices Corp 液晶装置、及び電子機器
JP2009080303A (ja) * 2007-09-26 2009-04-16 Epson Imaging Devices Corp 液晶装置および電子機器
US7525626B2 (en) 2006-05-22 2009-04-28 Mitsubishi Electric Corporation Liquid crystal display and method for manufacturing the same
US7755723B2 (en) 2006-12-25 2010-07-13 Sony Corporation Liquid crystal display device and display apparatus
US7773182B2 (en) 2005-12-05 2010-08-10 Semiconductor Energy Laboratory Co., Ltd. Liquid crystal display device
JP2010262055A (ja) * 2009-04-30 2010-11-18 Sony Corp 表示素子および表示装置
WO2010137376A1 (ja) * 2009-05-29 2010-12-02 シャープ株式会社 液晶表示装置
WO2011001742A1 (ja) * 2009-07-03 2011-01-06 シャープ株式会社 液晶表示装置
JP2011138117A (ja) * 2009-12-04 2011-07-14 Semiconductor Energy Lab Co Ltd 表示装置、及び当該表示装置を具備する電子機器
JP2011180354A (ja) * 2010-03-01 2011-09-15 Hitachi Displays Ltd 液晶表示装置
JP2011237779A (ja) * 2010-04-12 2011-11-24 Semiconductor Energy Lab Co Ltd 液晶表示装置
WO2012017863A1 (ja) * 2010-08-02 2012-02-09 シャープ株式会社 液晶表示装置
JP4882375B2 (ja) * 2003-11-21 2012-02-22 日本ゼオン株式会社 液晶表示装置
US8139185B2 (en) 2006-07-07 2012-03-20 Sharp Kabushiki Kaisha Display device
US8208102B2 (en) 2006-07-21 2012-06-26 Sharp Kabushiki Kaisha Display device having reflective region and transmissive region
US8253869B2 (en) 2007-03-20 2012-08-28 Nlt Technologies, Ltd. Liquid crystal display device with touch panel and terminal device
US8338865B2 (en) 2006-05-16 2012-12-25 Semiconductor Energy Laboratory Co., Ltd. Liquid crystal display device and semiconductor device
JP2013037110A (ja) * 2011-08-05 2013-02-21 Japan Display East Co Ltd 液晶表示装置
JP2013137483A (ja) * 2011-02-18 2013-07-11 Semiconductor Energy Lab Co Ltd 液晶表示装置
JP2013195992A (ja) * 2012-03-23 2013-09-30 Japan Display Inc 液晶表示装置およびその製造方法
US8687157B2 (en) 2005-10-18 2014-04-01 Semiconductor Energy Laboratory Co., Ltd. Liquid crystal display device
JP2014526059A (ja) * 2011-06-20 2014-10-02 コミシリア ア レネルジ アトミック エ オ エナジーズ オルタネティヴズ 消去電極を含む液晶表示装置
US9207504B2 (en) 2006-04-06 2015-12-08 Semiconductor Energy Laboratory Co., Ltd. Liquid crystal display device, semiconductor device, and electronic appliance
WO2017026480A1 (ja) * 2015-08-11 2017-02-16 シャープ株式会社 光学装置
JPWO2018074219A1 (ja) * 2016-10-19 2019-09-05 ソニー株式会社 液晶表示装置および投射型表示装置
JP2019179192A (ja) * 2018-03-30 2019-10-17 シチズンファインデバイス株式会社 照明装置、構造化照明装置及び構造化照明顕微鏡装置
JP2021103320A (ja) * 2011-11-28 2021-07-15 株式会社半導体エネルギー研究所 液晶表示装置

Families Citing this family (53)

* Cited by examiner, † Cited by third party
Publication number Priority date Publication date Assignee Title
KR100564219B1 (ko) 2003-12-11 2006-03-28 엘지.필립스 엘시디 주식회사 횡전계형 액정표시장치용 어레이 기판
TWI328708B (en) * 2004-03-19 2010-08-11 Chimei Innolux Corp An ips liquid crystal display apparatus
KR100675635B1 (ko) * 2004-05-10 2007-02-02 엘지.필립스 엘시디 주식회사 대조비가 향상된 횡전계모드 액정표시소자
JP2006126551A (ja) * 2004-10-29 2006-05-18 Hitachi Displays Ltd 液晶表示装置
US7563490B2 (en) 2004-12-06 2009-07-21 Semiconductor Energy Laboratory Co., Ltd. Liquid crystal display device
TWM281196U (en) * 2005-04-15 2005-11-21 Innolux Display Corp A substrate and liquid crystal display device using the same
JP4863102B2 (ja) 2005-06-24 2012-01-25 Nltテクノロジー株式会社 液晶駆動電極、液晶表示装置およびその製造方法
KR100685938B1 (ko) * 2005-06-30 2007-02-22 엘지.필립스 엘시디 주식회사 Ips모드 액정표시소자 및 그 제조방법
JP4169035B2 (ja) * 2005-07-15 2008-10-22 エプソンイメージングデバイス株式会社 液晶装置及び電子機器
DE102006057333B4 (de) * 2005-12-30 2010-01-28 Lg Display Co., Ltd. IPS-Flüssigkristallanzeigevorrichtung
KR100760942B1 (ko) * 2005-12-30 2007-09-21 엘지.필립스 엘시디 주식회사 횡전계형 액정 표시 장치
US7847904B2 (en) 2006-06-02 2010-12-07 Semiconductor Energy Laboratory Co., Ltd. Liquid crystal display device and electronic appliance
JP2008014965A (ja) * 2006-06-30 2008-01-24 Mitsubishi Electric Corp 液晶表示装置
KR101308163B1 (ko) * 2006-06-30 2013-09-12 엘지디스플레이 주식회사 표시장치의 화소 전극 구조
TW200809353A (en) * 2006-07-07 2008-02-16 Hitachi Displays Ltd Optically isotropic liquid crystal materials and display apparatus using the same
JP4902284B2 (ja) * 2006-07-14 2012-03-21 株式会社 日立ディスプレイズ 半透過型液晶表示装置
CN100495180C (zh) * 2006-09-07 2009-06-03 瀚宇彩晶股份有限公司 液晶显示器装置
JP4203676B2 (ja) * 2006-09-27 2009-01-07 カシオ計算機株式会社 液晶表示素子
JP4889436B2 (ja) * 2006-10-13 2012-03-07 株式会社 日立ディスプレイズ 半透過型液晶表示装置
JP4866703B2 (ja) * 2006-10-20 2012-02-01 株式会社 日立ディスプレイズ 液晶表示装置
JP5216204B2 (ja) 2006-10-31 2013-06-19 株式会社半導体エネルギー研究所 液晶表示装置及びその作製方法
JP5021323B2 (ja) * 2007-01-25 2012-09-05 東洋製罐株式会社 検査用容器
US7751001B2 (en) * 2007-03-21 2010-07-06 Chimel Innolux Corporation Transflective LCD with reflective layer connected to reference voltage greater than 0.5 Vrms and less than LC threshold voltage
KR101344874B1 (ko) 2007-04-30 2013-12-26 삼성디스플레이 주식회사 액정 표시 장치
US7812909B2 (en) * 2007-04-20 2010-10-12 Samsung Electronics Co., Ltd. Liquid crystal display
JP4475303B2 (ja) * 2007-08-17 2010-06-09 ソニー株式会社 表示装置
JP4488057B2 (ja) * 2007-11-09 2010-06-23 セイコーエプソン株式会社 アクティブマトリクス装置、電気光学表示装置、および電子機器
JP5241853B2 (ja) * 2007-12-28 2013-07-17 ダウ グローバル テクノロジーズ エルエルシー 微小機能性材料
US20100302487A1 (en) * 2007-12-28 2010-12-02 Storer Joey W Phase compensation film
CN101526703B (zh) * 2008-03-04 2011-08-17 上海天马微电子有限公司 透射反射液晶显示装置
US8633879B2 (en) * 2009-02-13 2014-01-21 Apple Inc. Undulating electrodes for improved viewing angle and color shift
TWI392940B (zh) * 2009-03-11 2013-04-11 Au Optronics Corp 畫素結構、觸控式顯示面板以及液晶顯示器
WO2010131552A1 (ja) * 2009-05-13 2010-11-18 シャープ株式会社 液晶表示装置
RU2011132280A (ru) * 2009-05-29 2013-07-10 Шарп Кабушики Каиша Элемент жидкокристаллического дисплея, жидкокристаллическое дисплейное устройство и способ отображения с помощью элемента жидкокристаллического дисплея
WO2011040080A1 (ja) * 2009-09-30 2011-04-07 シャープ株式会社 液晶表示装置
CN102062978A (zh) * 2010-11-10 2011-05-18 友达光电股份有限公司 液晶显示面板
JP5851317B2 (ja) * 2012-04-10 2016-02-03 株式会社ジャパンディスプレイ 液晶表示装置
CN103513473A (zh) * 2012-06-25 2014-01-15 瀚宇彩晶股份有限公司 面内切换式液晶显示器之驱动电极结构
US9176347B2 (en) * 2012-12-07 2015-11-03 Vastview Technology Inc. Lateral electric field type liquid crystal display device having non-uniform spacings between two electrodes
TWI493265B (zh) * 2012-12-20 2015-07-21 Vastview Tech Inc 橫向電場型液晶顯示器
US9591298B2 (en) * 2013-09-30 2017-03-07 Superd Co. Ltd. System and method for two-dimensional (2D) and three-dimensional (3D) display
CN103760721A (zh) 2014-01-08 2014-04-30 北京京东方光电科技有限公司 薄膜晶体管阵列基板及其制备方法、显示装置
JP6336762B2 (ja) * 2014-01-24 2018-06-06 株式会社ジャパンディスプレイ 液晶表示装置
CN110780493B (zh) * 2014-12-15 2022-06-07 群创光电股份有限公司 显示装置
CN106324877B (zh) * 2016-10-20 2019-09-20 京东方科技集团股份有限公司 显示面板、显示面板制作方法及驱动方法、显示装置
US20180323239A1 (en) * 2017-05-03 2018-11-08 Innolux Corporation Display device
NL2022504B1 (en) * 2019-02-04 2020-08-19 Elstar Dynamics Patents B V Improved optical modulator
US11099451B1 (en) 2020-07-31 2021-08-24 Elstar Dynamics Patents B.V. Light modulator, substrate comprising electrodes and smart glazing
US11099453B1 (en) 2020-08-03 2021-08-24 Elstar Dynamics Patents B.V. Light modulator, light modulator method and smart glazing
CN112230466B (zh) * 2020-10-29 2022-07-01 湖北长江新型显示产业创新中心有限公司 液晶光栅及其制作方法和显示装置
US12007660B2 (en) 2021-06-24 2024-06-11 Elstar Dynamics Patents B.V. Light modulator, substrate comprising electrodes and smart glazing
CN118632789B (zh) 2021-12-24 2025-05-06 埃尔斯达动力专利私人有限公司 包括电极的基板和具有减小的衍射的光调制器
CN115731854B (zh) * 2022-11-24 2025-07-29 京东方科技集团股份有限公司 驱动基板、显示面板、其制作方法及显示装置

Family Cites Families (12)

* Cited by examiner, † Cited by third party
Publication number Priority date Publication date Assignee Title
DE69333323T2 (de) * 1992-09-18 2004-09-16 Hitachi, Ltd. Flüssigkristall-Anzeigevorrichtung
JPH08286211A (ja) * 1995-04-18 1996-11-01 Hitachi Ltd アクティブマトリクス型液晶表示装置
JPH10142635A (ja) * 1996-11-15 1998-05-29 Furontetsuku:Kk 液晶表示装置
JP3380482B2 (ja) 1997-12-26 2003-02-24 シャープ株式会社 液晶表示装置
TWI251697B (en) * 1999-05-26 2006-03-21 Matsushita Electric Industrial Co Ltd Liquid crystal display element and producing method thereof
US6646692B2 (en) * 2000-01-26 2003-11-11 Semiconductor Energy Laboratory Co., Ltd. Liquid-crystal display device and method of fabricating the same
JP3427981B2 (ja) * 2000-07-05 2003-07-22 日本電気株式会社 液晶表示装置及びその製造方法
JP2002040456A (ja) * 2000-07-28 2002-02-06 Nec Corp 液晶表示装置
JP2002139737A (ja) 2000-07-31 2002-05-17 Matsushita Electric Ind Co Ltd 液晶表示装置とその製造方法
JP2002350840A (ja) * 2001-05-28 2002-12-04 Hitachi Ltd 反射型液晶表示装置
EP1278097B1 (en) * 2001-07-16 2006-03-01 Hannstar Display Corporation Electrode structure for an in-plane switching mode liquid crystal display device
JP4047586B2 (ja) * 2002-01-10 2008-02-13 Nec液晶テクノロジー株式会社 横電界方式のアクティブマトリクス型液晶表示装置

Cited By (97)

* Cited by examiner, † Cited by third party
Publication number Priority date Publication date Assignee Title
JP4882375B2 (ja) * 2003-11-21 2012-02-22 日本ゼオン株式会社 液晶表示装置
JP2005173564A (ja) * 2003-11-21 2005-06-30 Toshiba Matsushita Display Technology Co Ltd 液晶表示装置
JP2007047732A (ja) * 2005-07-15 2007-02-22 Sanyo Epson Imaging Devices Corp 液晶表示装置及び電子機器
US8687157B2 (en) 2005-10-18 2014-04-01 Semiconductor Energy Laboratory Co., Ltd. Liquid crystal display device
US8619227B2 (en) 2005-12-05 2013-12-31 Semiconductor Energy Laboratory Co., Ltd. Liquid crystal display device
US7889295B2 (en) 2005-12-05 2011-02-15 Semiconductor Energy Laboratory Co., Ltd. Liquid crystal display device
US12216372B2 (en) 2005-12-05 2025-02-04 Semiconductor Energy Laboratory Co., Ltd. Liquid crystal display device
US8508700B2 (en) 2005-12-05 2013-08-13 Semiconductor Energy Laboratory Co., Ltd. Liquid crystal display device
US11899329B2 (en) 2005-12-05 2024-02-13 Semiconductor Energy Laboratory Co., Ltd. Liquid crystal display device
US8675158B2 (en) 2005-12-05 2014-03-18 Semiconductor Energy Laboratory Co., Ltd. Liquid crystal display device
US11592719B2 (en) 2005-12-05 2023-02-28 Semiconductor Energy Laboratory Co., Ltd. Liquid crystal display device
WO2007066677A1 (en) * 2005-12-05 2007-06-14 Semiconductor Energy Laboratory Co., Ltd. Liquid crystal display device
US11126053B2 (en) 2005-12-05 2021-09-21 Semiconductor Energy Laboratory Co., Ltd. Liquid crystal display device
US9835912B2 (en) 2005-12-05 2017-12-05 Semiconductor Energy Laboratory Co., Ltd. Liquid crystal display device
US11048135B2 (en) 2005-12-05 2021-06-29 Semiconductor Energy Laboratory Co., Ltd. Liquid crystal display device
US8164729B2 (en) 2005-12-05 2012-04-24 Semiconductor Energy Laboratory Co., Ltd. Liquid crystal display device
US7773182B2 (en) 2005-12-05 2010-08-10 Semiconductor Energy Laboratory Co., Ltd. Liquid crystal display device
US10539847B2 (en) 2005-12-05 2020-01-21 Semiconductor Energy Laboratory Co., Ltd. Liquid crystal display device
US10324347B1 (en) 2005-12-05 2019-06-18 Semiconductor Energy Laboratory Co., Ltd. Liquid crystal display device
US10203571B2 (en) 2005-12-05 2019-02-12 Semiconductor Energy Laboratory Co., Ltd. Liquid crystal display device
US10054830B2 (en) 2005-12-05 2018-08-21 Semiconductor Energy Laboratory Co., Ltd. Liquid crystal display device
US7880848B2 (en) 2005-12-05 2011-02-01 Semiconductor Energy Laboratory Co., Ltd. Liquid crystal display device
US7880836B2 (en) 2005-12-05 2011-02-01 Semiconductor Energy Laboratory Co., Ltd. Liquid crystal display device
TWI402583B (zh) * 2005-12-05 2013-07-21 Semiconductor Energy Lab 液晶顯示裝置及包括多個像素的液晶顯示裝置
US9128336B2 (en) 2005-12-05 2015-09-08 Semiconductor Energy Laboratory Co., Ltd. Liquid crystal display device
US7999892B2 (en) 2005-12-05 2011-08-16 Semiconductor Energy Laboratory Co., Ltd. Liquid crystal display device
US9904127B2 (en) 2005-12-05 2018-02-27 Semiconductor Energy Laboratory Co., Ltd. Liquid crystal display device
US9823526B2 (en) 2005-12-05 2017-11-21 Semiconductor Energy Laboratory Co., Ltd. Liquid crystal display device
US9417492B2 (en) 2005-12-05 2016-08-16 Semiconductor Energy Laboratory Co., Ltd. Liquid crystal display device
US9316881B2 (en) 2005-12-05 2016-04-19 Semiconductor Energy Laboratory Co., Ltd. Liquid crystal display device
US9235090B2 (en) 2005-12-05 2016-01-12 Semiconductor Energy Laboratory Co., Ltd. Liquid crystal display device
US8134663B2 (en) 2006-03-27 2012-03-13 Nlt Technologies, Ltd. Liquid crystal panel, liquid crystal display device and terminal device
US8054422B2 (en) 2006-03-27 2011-11-08 Nec Lcd Technologies, Ltd Liquid crystal display device
JP2007293290A (ja) * 2006-03-27 2007-11-08 Nec Corp 液晶パネル、液晶表示装置及び端末装置
US8395731B2 (en) 2006-03-27 2013-03-12 Nlt Technologies, Ltd. Liquid crystal panel, liquid crystal display device and terminal device
US9213206B2 (en) 2006-04-06 2015-12-15 Semiconductor Energy Laboratory Co., Ltd. Liquid crystal display device, semiconductor device, and electronic appliance
US9207504B2 (en) 2006-04-06 2015-12-08 Semiconductor Energy Laboratory Co., Ltd. Liquid crystal display device, semiconductor device, and electronic appliance
US9958736B2 (en) 2006-04-06 2018-05-01 Semiconductor Energy Laboratory Co., Ltd. Liquid crystal display device, semiconductor device, and electronic appliance
US10684517B2 (en) 2006-04-06 2020-06-16 Semiconductor Energy Laboratory Co., Ltd. Liquid crystal display device, semiconductor device, and electronic appliance
US11073729B2 (en) 2006-04-06 2021-07-27 Semiconductor Energy Laboratory Co., Ltd. Liquid crystal display device, semiconductor device, and electronic appliance
US11442317B2 (en) 2006-04-06 2022-09-13 Semiconductor Energy Laboratory Co., Ltd. Liquid crystal display device, semiconductor device, and electronic appliance
US11644720B2 (en) 2006-04-06 2023-05-09 Semiconductor Energy Laboratory Co., Ltd. Liquid crystal display device, semiconductor device, and electronic appliance
US11921382B2 (en) 2006-04-06 2024-03-05 Semiconductor Energy Laboratory Co., Ltd. Liquid crystal display device, semiconductor device, and electronic appliance
US10509271B2 (en) 2006-05-16 2019-12-17 Semiconductor Energy Laboratory Co., Ltd. Liquid crystal display device comprising a semiconductor film having a channel formation region overlapping with a conductive film in a floating state
JP2007334317A (ja) * 2006-05-16 2007-12-27 Semiconductor Energy Lab Co Ltd 液晶表示装置及び半導体装置
US9268188B2 (en) 2006-05-16 2016-02-23 Semiconductor Energy Laboratory Co., Ltd. Liquid crystal display device and semiconductor device
US8841671B2 (en) 2006-05-16 2014-09-23 Semiconductor Energy Laboratory Co., Ltd. Liquid crystal display device and semiconductor device
US11061285B2 (en) 2006-05-16 2021-07-13 Semiconductor Energy Laboratory Co., Ltd. Liquid crystal display device comprising a dogleg-like shaped pixel electrode in a plane view having a plurality of dogleg-like shaped openings and semiconductor device
US8338865B2 (en) 2006-05-16 2012-12-25 Semiconductor Energy Laboratory Co., Ltd. Liquid crystal display device and semiconductor device
US11435626B2 (en) 2006-05-16 2022-09-06 Semiconductor Energy Laboratory Co., Ltd. Liquid crystal display device and semiconductor device
US10001678B2 (en) 2006-05-16 2018-06-19 Semiconductor Energy Laboratory Co., Ltd. Liquid crystal display device and semiconductor device
US11106096B2 (en) 2006-05-16 2021-08-31 Semiconductor Energy Laboratory Co., Ltd. Liquid crystal display device and semiconductor device
US11726371B2 (en) 2006-05-16 2023-08-15 Semiconductor Energy Laboratory Co., Ltd. FFS-mode liquid crystal display device comprising a top-gate transistor and an auxiliary wiring connected to a common electrode in a pixel portion
US9709861B2 (en) 2006-05-16 2017-07-18 Semiconductor Energy Laboratory Co., Ltd. Liquid crystal display device and semiconductor device
US8872182B2 (en) 2006-05-16 2014-10-28 Semiconductor Energy Laboratory Co., Ltd. Liquid crystal display device and semiconductor device
US7525626B2 (en) 2006-05-22 2009-04-28 Mitsubishi Electric Corporation Liquid crystal display and method for manufacturing the same
US8139185B2 (en) 2006-07-07 2012-03-20 Sharp Kabushiki Kaisha Display device
US9195109B2 (en) 2006-07-21 2015-11-24 Sharp Kabushiki Kaisha In-plane switching liquid crystal display device having reflective region and transmissive region
US8208102B2 (en) 2006-07-21 2012-06-26 Sharp Kabushiki Kaisha Display device having reflective region and transmissive region
US8482711B2 (en) 2006-07-21 2013-07-09 Sharp Kabushiki Kaisha In-plane switching liquid crystal display device having reflective region and transmissive region
JP4854740B2 (ja) * 2006-08-02 2012-01-18 シャープ株式会社 表示装置
WO2008015815A1 (en) * 2006-08-02 2008-02-07 Sharp Kabushiki Kaisha Display device
JPWO2008015815A1 (ja) * 2006-08-02 2009-12-17 シャープ株式会社 表示装置
JP2009048213A (ja) * 2006-08-02 2009-03-05 Sharp Corp 表示装置
US8279382B2 (en) 2006-08-02 2012-10-02 Sharp Kabushiki Kaisha Display device
JP2008083220A (ja) * 2006-09-26 2008-04-10 Seiko Epson Corp 液晶装置及び電子機器
JP2008083219A (ja) * 2006-09-26 2008-04-10 Seiko Epson Corp 液晶装置及び電子機器
US7830481B2 (en) 2006-10-27 2010-11-09 Nec Lcd Technologies, Ltd. Liquid crystal display device with retardations of optical films and liquid crystal layer
JP2008107687A (ja) * 2006-10-27 2008-05-08 Nec Lcd Technologies Ltd 液晶表示装置、光学フィルムおよび端末装置
JP2008151817A (ja) * 2006-12-14 2008-07-03 Hitachi Displays Ltd 半透過型液晶表示装置
US7755723B2 (en) 2006-12-25 2010-07-13 Sony Corporation Liquid crystal display device and display apparatus
US8253869B2 (en) 2007-03-20 2012-08-28 Nlt Technologies, Ltd. Liquid crystal display device with touch panel and terminal device
JP2009075421A (ja) * 2007-09-21 2009-04-09 Epson Imaging Devices Corp 液晶装置、及び電子機器
JP2009080303A (ja) * 2007-09-26 2009-04-16 Epson Imaging Devices Corp 液晶装置および電子機器
JP2010262055A (ja) * 2009-04-30 2010-11-18 Sony Corp 表示素子および表示装置
WO2010137376A1 (ja) * 2009-05-29 2010-12-02 シャープ株式会社 液晶表示装置
CN102282505A (zh) * 2009-05-29 2011-12-14 夏普株式会社 液晶显示装置
WO2011001742A1 (ja) * 2009-07-03 2011-01-06 シャープ株式会社 液晶表示装置
JP2011138117A (ja) * 2009-12-04 2011-07-14 Semiconductor Energy Lab Co Ltd 表示装置、及び当該表示装置を具備する電子機器
JP2011180354A (ja) * 2010-03-01 2011-09-15 Hitachi Displays Ltd 液晶表示装置
JP2011237779A (ja) * 2010-04-12 2011-11-24 Semiconductor Energy Lab Co Ltd 液晶表示装置
JP2015163980A (ja) * 2010-04-12 2015-09-10 株式会社半導体エネルギー研究所 液晶表示装置
WO2012017863A1 (ja) * 2010-08-02 2012-02-09 シャープ株式会社 液晶表示装置
JP2013137483A (ja) * 2011-02-18 2013-07-11 Semiconductor Energy Lab Co Ltd 液晶表示装置
JP2014526059A (ja) * 2011-06-20 2014-10-02 コミシリア ア レネルジ アトミック エ オ エナジーズ オルタネティヴズ 消去電極を含む液晶表示装置
JP2013037110A (ja) * 2011-08-05 2013-02-21 Japan Display East Co Ltd 液晶表示装置
JP7395694B2 (ja) 2011-11-28 2023-12-11 株式会社半導体エネルギー研究所 液晶表示装置
JP2023017878A (ja) * 2011-11-28 2023-02-07 株式会社半導体エネルギー研究所 液晶表示装置
JP2021103320A (ja) * 2011-11-28 2021-07-15 株式会社半導体エネルギー研究所 液晶表示装置
JP2024035241A (ja) * 2011-11-28 2024-03-13 株式会社半導体エネルギー研究所 液晶表示装置
JP7532627B2 (ja) 2011-11-28 2024-08-13 株式会社半導体エネルギー研究所 液晶表示装置
JP2013195992A (ja) * 2012-03-23 2013-09-30 Japan Display Inc 液晶表示装置およびその製造方法
WO2017026480A1 (ja) * 2015-08-11 2017-02-16 シャープ株式会社 光学装置
JP6991985B2 (ja) 2016-10-19 2022-01-13 ソニーグループ株式会社 液晶表示装置および投射型表示装置
JPWO2018074219A1 (ja) * 2016-10-19 2019-09-05 ソニー株式会社 液晶表示装置および投射型表示装置
JP7084184B2 (ja) 2018-03-30 2022-06-14 シチズンファインデバイス株式会社 照明装置、構造化照明装置及び構造化照明顕微鏡装置
JP2019179192A (ja) * 2018-03-30 2019-10-17 シチズンファインデバイス株式会社 照明装置、構造化照明装置及び構造化照明顕微鏡装置

Also Published As

Publication number Publication date
US20050105033A1 (en) 2005-05-19
US7362400B2 (en) 2008-04-22
CN100416386C (zh) 2008-09-03
CN1603915A (zh) 2005-04-06
JP4082683B2 (ja) 2008-04-30

Similar Documents

Publication Publication Date Title
JP4082683B2 (ja) 半透過型液晶表示装置
JP4813842B2 (ja) 液晶表示装置
JP4223992B2 (ja) 液晶表示装置
JP4223993B2 (ja) 液晶表示装置
CN101828142B (zh) 液晶设备
JP4225279B2 (ja) 液晶表示装置及び電子機器
TWI284232B (en) Liquid crystal display device
JP2009104172A (ja) 液晶表示装置
JP2006098784A (ja) 視野角制御装置および表示装置
KR100865843B1 (ko) 금속격자를 이용한 단일갭형 반투과형 프린지 필드 스위칭액정표시소자
JP2006091229A (ja) 液晶表示装置
JP5332548B2 (ja) カラーフィルタ及びそれを備えた液晶表示装置
JP2004101773A (ja) 液晶表示装置
CN101261402B (zh) 液晶显示器及其制造方法
JP5254477B2 (ja) 液晶表示装置
JP4721879B2 (ja) 液晶表示装置
WO2006101083A1 (ja) 液晶表示装置
JP5252849B2 (ja) 液晶表示装置
JP4912245B2 (ja) 液晶表示装置
JP2000029021A (ja) 反射型液晶表示装置
JP3946746B2 (ja) 液晶表示装置
JP3946740B2 (ja) 液晶表示装置
JP3946738B2 (ja) 液晶表示装置
JP3946741B2 (ja) 液晶表示装置
JP3946744B2 (ja) 液晶表示装置

Legal Events

Date Code Title Description
A621 Written request for application examination

Free format text: JAPANESE INTERMEDIATE CODE: A621

Effective date: 20050216

A711 Notification of change in applicant

Free format text: JAPANESE INTERMEDIATE CODE: A711

Effective date: 20050310

A977 Report on retrieval

Free format text: JAPANESE INTERMEDIATE CODE: A971007

Effective date: 20070214

A131 Notification of reasons for refusal

Free format text: JAPANESE INTERMEDIATE CODE: A131

Effective date: 20070612

A521 Request for written amendment filed

Free format text: JAPANESE INTERMEDIATE CODE: A523

Effective date: 20070809

A131 Notification of reasons for refusal

Free format text: JAPANESE INTERMEDIATE CODE: A131

Effective date: 20071016

A521 Request for written amendment filed

Free format text: JAPANESE INTERMEDIATE CODE: A523

Effective date: 20071210

TRDD Decision of grant or rejection written
A01 Written decision to grant a patent or to grant a registration (utility model)

Free format text: JAPANESE INTERMEDIATE CODE: A01

Effective date: 20080205

A61 First payment of annual fees (during grant procedure)

Free format text: JAPANESE INTERMEDIATE CODE: A61

Effective date: 20080208

R150 Certificate of patent or registration of utility model

Free format text: JAPANESE INTERMEDIATE CODE: R150

FPAY Renewal fee payment (event date is renewal date of database)

Free format text: PAYMENT UNTIL: 20110222

Year of fee payment: 3

S111 Request for change of ownership or part of ownership

Free format text: JAPANESE INTERMEDIATE CODE: R313115

Free format text: JAPANESE INTERMEDIATE CODE: R313121

FPAY Renewal fee payment (event date is renewal date of database)

Free format text: PAYMENT UNTIL: 20110222

Year of fee payment: 3

R350 Written notification of registration of transfer

Free format text: JAPANESE INTERMEDIATE CODE: R350

FPAY Renewal fee payment (event date is renewal date of database)

Free format text: PAYMENT UNTIL: 20120222

Year of fee payment: 4

FPAY Renewal fee payment (event date is renewal date of database)

Free format text: PAYMENT UNTIL: 20120222

Year of fee payment: 4

FPAY Renewal fee payment (event date is renewal date of database)

Free format text: PAYMENT UNTIL: 20130222

Year of fee payment: 5

FPAY Renewal fee payment (event date is renewal date of database)

Free format text: PAYMENT UNTIL: 20140222

Year of fee payment: 6

R250 Receipt of annual fees

Free format text: JAPANESE INTERMEDIATE CODE: R250

R250 Receipt of annual fees

Free format text: JAPANESE INTERMEDIATE CODE: R250

R250 Receipt of annual fees

Free format text: JAPANESE INTERMEDIATE CODE: R250

R250 Receipt of annual fees

Free format text: JAPANESE INTERMEDIATE CODE: R250

LAPS Cancellation because of no payment of annual fees