JP2005102402A - ステータ製造装置 - Google Patents
ステータ製造装置 Download PDFInfo
- Publication number
- JP2005102402A JP2005102402A JP2003332333A JP2003332333A JP2005102402A JP 2005102402 A JP2005102402 A JP 2005102402A JP 2003332333 A JP2003332333 A JP 2003332333A JP 2003332333 A JP2003332333 A JP 2003332333A JP 2005102402 A JP2005102402 A JP 2005102402A
- Authority
- JP
- Japan
- Prior art keywords
- winding
- unit
- coil
- stator core
- stator
- Prior art date
- Legal status (The legal status is an assumption and is not a legal conclusion. Google has not performed a legal analysis and makes no representation as to the accuracy of the status listed.)
- Withdrawn
Links
- 238000004519 manufacturing process Methods 0.000 title claims abstract description 64
- 238000004804 winding Methods 0.000 claims abstract description 319
- 238000003780 insertion Methods 0.000 claims abstract description 106
- 230000037431 insertion Effects 0.000 claims abstract description 106
- 238000000465 moulding Methods 0.000 claims description 58
- 238000013459 approach Methods 0.000 claims description 9
- 238000012423 maintenance Methods 0.000 claims description 3
- 238000007493 shaping process Methods 0.000 abstract description 11
- 230000015572 biosynthetic process Effects 0.000 abstract description 9
- 238000000034 method Methods 0.000 description 22
- 230000002093 peripheral effect Effects 0.000 description 13
- 238000001125 extrusion Methods 0.000 description 4
- 238000009434 installation Methods 0.000 description 2
- 238000000926 separation method Methods 0.000 description 2
- 238000012546 transfer Methods 0.000 description 2
- 238000010586 diagram Methods 0.000 description 1
- 230000000694 effects Effects 0.000 description 1
- 238000004904 shortening Methods 0.000 description 1
Images
Classifications
-
- H—ELECTRICITY
- H02—GENERATION; CONVERSION OR DISTRIBUTION OF ELECTRIC POWER
- H02K—DYNAMO-ELECTRIC MACHINES
- H02K15/00—Processes or apparatus specially adapted for manufacturing, assembling, maintaining or repairing of dynamo-electric machines
- H02K15/06—Embedding prefabricated windings in the machines
-
- H—ELECTRICITY
- H02—GENERATION; CONVERSION OR DISTRIBUTION OF ELECTRIC POWER
- H02K—DYNAMO-ELECTRIC MACHINES
- H02K15/00—Processes or apparatus specially adapted for manufacturing, assembling, maintaining or repairing of dynamo-electric machines
- H02K15/04—Processes or apparatus specially adapted for manufacturing, assembling, maintaining or repairing of dynamo-electric machines of windings prior to their mounting into the machines
- H02K15/043—Processes or apparatus specially adapted for manufacturing, assembling, maintaining or repairing of dynamo-electric machines of windings prior to their mounting into the machines winding flat conductive wires or sheets
- H02K15/0431—Concentrated windings
-
- H—ELECTRICITY
- H02—GENERATION; CONVERSION OR DISTRIBUTION OF ELECTRIC POWER
- H02K—DYNAMO-ELECTRIC MACHINES
- H02K15/00—Processes or apparatus specially adapted for manufacturing, assembling, maintaining or repairing of dynamo-electric machines
- H02K15/20—Shaping or compacting conductors or winding heads after the installation of the winding in the cores or machines; Applying fastening means on winding heads
-
- Y—GENERAL TAGGING OF NEW TECHNOLOGICAL DEVELOPMENTS; GENERAL TAGGING OF CROSS-SECTIONAL TECHNOLOGIES SPANNING OVER SEVERAL SECTIONS OF THE IPC; TECHNICAL SUBJECTS COVERED BY FORMER USPC CROSS-REFERENCE ART COLLECTIONS [XRACs] AND DIGESTS
- Y10—TECHNICAL SUBJECTS COVERED BY FORMER USPC
- Y10T—TECHNICAL SUBJECTS COVERED BY FORMER US CLASSIFICATION
- Y10T29/00—Metal working
- Y10T29/49—Method of mechanical manufacture
- Y10T29/49002—Electrical device making
- Y10T29/49009—Dynamoelectric machine
-
- Y—GENERAL TAGGING OF NEW TECHNOLOGICAL DEVELOPMENTS; GENERAL TAGGING OF CROSS-SECTIONAL TECHNOLOGIES SPANNING OVER SEVERAL SECTIONS OF THE IPC; TECHNICAL SUBJECTS COVERED BY FORMER USPC CROSS-REFERENCE ART COLLECTIONS [XRACs] AND DIGESTS
- Y10—TECHNICAL SUBJECTS COVERED BY FORMER USPC
- Y10T—TECHNICAL SUBJECTS COVERED BY FORMER US CLASSIFICATION
- Y10T29/00—Metal working
- Y10T29/49—Method of mechanical manufacture
- Y10T29/49002—Electrical device making
- Y10T29/4902—Electromagnet, transformer or inductor
- Y10T29/49073—Electromagnet, transformer or inductor by assembling coil and core
-
- Y—GENERAL TAGGING OF NEW TECHNOLOGICAL DEVELOPMENTS; GENERAL TAGGING OF CROSS-SECTIONAL TECHNOLOGIES SPANNING OVER SEVERAL SECTIONS OF THE IPC; TECHNICAL SUBJECTS COVERED BY FORMER USPC CROSS-REFERENCE ART COLLECTIONS [XRACs] AND DIGESTS
- Y10—TECHNICAL SUBJECTS COVERED BY FORMER USPC
- Y10T—TECHNICAL SUBJECTS COVERED BY FORMER US CLASSIFICATION
- Y10T29/00—Metal working
- Y10T29/53—Means to assemble or disassemble
- Y10T29/5313—Means to assemble electrical device
- Y10T29/53143—Motor or generator
-
- Y—GENERAL TAGGING OF NEW TECHNOLOGICAL DEVELOPMENTS; GENERAL TAGGING OF CROSS-SECTIONAL TECHNOLOGIES SPANNING OVER SEVERAL SECTIONS OF THE IPC; TECHNICAL SUBJECTS COVERED BY FORMER USPC CROSS-REFERENCE ART COLLECTIONS [XRACs] AND DIGESTS
- Y10—TECHNICAL SUBJECTS COVERED BY FORMER USPC
- Y10T—TECHNICAL SUBJECTS COVERED BY FORMER US CLASSIFICATION
- Y10T29/00—Metal working
- Y10T29/53—Means to assemble or disassemble
- Y10T29/5313—Means to assemble electrical device
- Y10T29/53143—Motor or generator
- Y10T29/53157—Means to stake wire to commutator or armature
Landscapes
- Engineering & Computer Science (AREA)
- Manufacturing & Machinery (AREA)
- Power Engineering (AREA)
- Manufacture Of Motors, Generators (AREA)
Abstract
【課題】巻線コイルの挿入配置及び巻線コイルの形状の成形と、次に挿入配置を行う巻線コイルの形成とを並行して行うことができ、ステータを製造するための時間を短縮できるステータ製造装置を提供すること。
【解決手段】ステータ製造装置1は、電線90を巻回してなる複数の単極コイル91を連ねてなる巻線コイル9を形成する巻線ユニット2と、巻線ユニット2から巻線コイル9を受け取り、巻線コイル9をステータコア81に挿入配置するための挿入ユニット3と、ステータコア81に挿入配置した巻線コイル9の形状を成形するための成形ユニット4と、挿入ユニット3と成形ユニット4とに移動可能である移動ユニット5とを有している。移動ユニット5は、ステータコア81を保持した状態で、挿入ユニット3と相対移動を行って巻線コイル9の挿入配置を行うと共に、成形ユニット4と相対移動を行って巻線コイル9の形状の成形を行うよう構成されている。
【選択図】図1
【解決手段】ステータ製造装置1は、電線90を巻回してなる複数の単極コイル91を連ねてなる巻線コイル9を形成する巻線ユニット2と、巻線ユニット2から巻線コイル9を受け取り、巻線コイル9をステータコア81に挿入配置するための挿入ユニット3と、ステータコア81に挿入配置した巻線コイル9の形状を成形するための成形ユニット4と、挿入ユニット3と成形ユニット4とに移動可能である移動ユニット5とを有している。移動ユニット5は、ステータコア81を保持した状態で、挿入ユニット3と相対移動を行って巻線コイル9の挿入配置を行うと共に、成形ユニット4と相対移動を行って巻線コイル9の形状の成形を行うよう構成されている。
【選択図】図1
Description
本発明は、電線を巻回してなる巻線コイルをステータコアに配設してなるステータを製造するステータ製造装置に関する。
電線を巻回してなる巻線コイルを、ステータコアの内周面に形成したスロットに挿入配置してなるステータを形成する際には、巻線治具において巻線コイルを形成した後、この巻線コイルを挿入治具に一旦移し、その後、上記巻線コイルを挿入治具からステータコアに挿入配置している。
例えば、特許文献1の巻線装置は、上記巻線治具に相当するものとして、回転可能であると共に電線を供給可能なフライヤと、このフライヤによって電線を巻回される巻枠と、この巻枠に巻回された電線が巻き落とされるブレードとを有している。そして、上記フライヤと巻枠とによって電線を巻回してなる単極コイルを形成し、この単極コイルをブレードに逐次巻き落としながら、単極コイルが連なった巻線コイルを形成している。その後、上記巻線コイルを受け取ったブレードをステータコアに対向する位置まで移動させ、上記挿入治具に相当するコイル挿入子を移動させることにより、巻線コイルをブレードからステータコアに挿入配置している。
例えば、特許文献1の巻線装置は、上記巻線治具に相当するものとして、回転可能であると共に電線を供給可能なフライヤと、このフライヤによって電線を巻回される巻枠と、この巻枠に巻回された電線が巻き落とされるブレードとを有している。そして、上記フライヤと巻枠とによって電線を巻回してなる単極コイルを形成し、この単極コイルをブレードに逐次巻き落としながら、単極コイルが連なった巻線コイルを形成している。その後、上記巻線コイルを受け取ったブレードをステータコアに対向する位置まで移動させ、上記挿入治具に相当するコイル挿入子を移動させることにより、巻線コイルをブレードからステータコアに挿入配置している。
しかしながら、上記特許文献1の巻線装置においては、上記巻線コイルを形成した後に、上記巻線コイルを保持したブレードを、上記ステータコアに対向する位置まで移動させている。そのため、ブレードが、ステータコアに対向する位置まで移動し、巻線コイルをステータコアに挿入配置し、再びフライヤ及び巻枠に対向する位置まで戻るまでの間は、フライヤ及び巻枠においては、次にステータコアに挿入配置するための巻線コイルを形成することはできない。そのため、フライヤ及び巻枠が動作を行わずに待機する時間が長くなり、ステータを製造する時間を短縮させるためには十分ではない。
本発明は、かかる従来の問題点に鑑みてなされたもので、巻線コイルの挿入配置及び巻線コイルの形状の成形と、次に挿入配置を行う巻線コイルの形成とを並行して行うことができ、ステータを製造するための時間を短縮させることができるステータ製造装置を提供しようとするものである。
本発明は、電線を巻回してなる複数の単極コイルを連ねてなる巻線コイルを形成する巻線ユニットと、
該巻線ユニットから上記巻線コイルを受け取り、該巻線コイルをステータコアに挿入配置するための挿入ユニットと、
上記ステータコアに挿入配置した上記巻線コイルの形状を成形するための成形ユニットと、
上記挿入ユニットと上記成形ユニットとに移動可能である移動ユニットとを有しており、
該移動ユニットは、上記ステータコアを保持した状態で、上記挿入ユニットと相対移動を行って上記巻線コイルの挿入配置を行うと共に、上記成形ユニットと相対移動を行って上記巻線コイルの形状の成形を行うよう構成されていることを特徴とするステータ製造装置にある(請求項1)。
該巻線ユニットから上記巻線コイルを受け取り、該巻線コイルをステータコアに挿入配置するための挿入ユニットと、
上記ステータコアに挿入配置した上記巻線コイルの形状を成形するための成形ユニットと、
上記挿入ユニットと上記成形ユニットとに移動可能である移動ユニットとを有しており、
該移動ユニットは、上記ステータコアを保持した状態で、上記挿入ユニットと相対移動を行って上記巻線コイルの挿入配置を行うと共に、上記成形ユニットと相対移動を行って上記巻線コイルの形状の成形を行うよう構成されていることを特徴とするステータ製造装置にある(請求項1)。
本発明のステータ製造装置は、上記巻線ユニット、上記挿入ユニット及び上記成形ユニットを一体的に有しており、かつ、挿入ユニットと成形ユニットとに移動可能な上記移動ユニットを有している。これにより、上記ステータ製造装置においては、巻線コイルの形成からステータコアに挿入配置した巻線コイルの形状の成形までを一貫して行うことができる。また、これにより、上記ステータ製造装置の設置面積は、上記各ユニットを別々に設置している場合に比べて小さくすることができる。
さらに、本発明のステータ製造装置は、上記移動ユニットが上記ステータコアを挿入ユニット及び成形ユニットに移動させるものである。そして、ステータ製造装置は、移動ユニットと挿入ユニットとの相対移動を行って上記巻線コイルのステータコアへの挿入配置を行うことができ、移動ユニットと成形ユニットとの相対移動を行って上記ステータコアに挿入配置した巻線コイルの形状の成形を行うことができるものである。
以下に、本発明のステータ製造装置における各動作及び作用効果につき詳説する。
上記ステータ製造装置において各動作を行うに当たっては、まず、上記巻線ユニットにおいて、電線を巻回して複数の単極コイルが連なる巻線コイルを形成する。そして、巻線ユニットと挿入ユニットとを相対移動させることにより、巻線ユニットから挿入ユニットへと上記単極コイルが連なる巻線コイルを受け渡す。
また、上記巻線コイルの形成及び上記巻線コイルの受渡が行われているときには、上記移動ユニットは、上記ステータコアを保持して待機していることができる。
上記ステータ製造装置において各動作を行うに当たっては、まず、上記巻線ユニットにおいて、電線を巻回して複数の単極コイルが連なる巻線コイルを形成する。そして、巻線ユニットと挿入ユニットとを相対移動させることにより、巻線ユニットから挿入ユニットへと上記単極コイルが連なる巻線コイルを受け渡す。
また、上記巻線コイルの形成及び上記巻線コイルの受渡が行われているときには、上記移動ユニットは、上記ステータコアを保持して待機していることができる。
次いで、上記ステータコアを保持した移動ユニットを、上記巻線コイルを保持した挿入ユニットへと移動させ、移動ユニットと挿入ユニットとを相対移動させ、挿入ユニットに保持した巻線コイルを、移動ユニットに保持したステータコアに挿入配置する。
そして、移動ユニットと挿入ユニットとを再び相対移動させて、巻線コイルをステータコアに受け取った移動ユニットを上記成形ユニットに向けて移動させる。
そして、移動ユニットと挿入ユニットとを再び相対移動させて、巻線コイルをステータコアに受け取った移動ユニットを上記成形ユニットに向けて移動させる。
このように、上記巻線ユニットは、上記挿入ユニットとは別個に単独で上記単極コイルが連なった巻線コイルの形成を行うことができる。また、上記挿入ユニットは、上記巻線ユニットから単極コイルが連なった巻線コイルを受け取ることができ、移動ユニットと協働して上記巻線コイルをステータコアに挿入することができる。
そのため、上記巻線ユニットから挿入ユニットに巻線コイルを受け渡した後には、上記移動ユニットと挿入ユニットとによって、巻線コイルをステータコアに挿入配置している最中においても、上記巻線ユニットにおいては、次にステータコアに挿入配置するための巻線コイル(次の巻線コイル)の形成を開始することができる。
そのため、上記巻線ユニットから挿入ユニットに巻線コイルを受け渡した後には、上記移動ユニットと挿入ユニットとによって、巻線コイルをステータコアに挿入配置している最中においても、上記巻線ユニットにおいては、次にステータコアに挿入配置するための巻線コイル(次の巻線コイル)の形成を開始することができる。
次いで、上記巻線コイルを挿入配置したステータコアを保持した状態の移動ユニットを、上記成形ユニットまで移動させ、移動ユニットと成形ユニットとを相対移動させて、ステータコアに挿入配置された巻線コイルの形状を成形する。
そして、上記巻線ユニットは、上記移動ユニットが移動している最中、及び上記移動ユニットと成形ユニットとによって、ステータコアに挿入配置した巻線コイルの形状の成形を行っている最中においても、上記次の巻線コイルの形成を継続することができる。
そして、上記巻線ユニットは、上記移動ユニットが移動している最中、及び上記移動ユニットと成形ユニットとによって、ステータコアに挿入配置した巻線コイルの形状の成形を行っている最中においても、上記次の巻線コイルの形成を継続することができる。
それ故、本発明のステータ製造装置によれば、巻線コイルのステータコアへの挿入配置及びステータコアに挿入配置された巻線コイルの形状の成形と、次にステータコアに挿入配置するための巻線コイルの形成とを並行して行うことができ、ステータを製造するための時間を短縮させることができる。
なお、上記成形を行った後には、上記移動ユニットは、上記ステータコアを保持して再び上記挿入ユニットに移動することができ、上記挿入ユニットと相対移動を行って、上記次の巻線コイルを受け取ることができる。
そして、上記ステータ製造装置は、形成するステータの仕様に応じて、上記巻線ユニットにおいて繰り返し巻線コイルを形成することができ、上記移動ユニットは、上記挿入ユニット及び上記成形ユニットと協働して上記挿入配置及び上記成形を繰り返し行うことができる。
そして、上記ステータ製造装置は、形成するステータの仕様に応じて、上記巻線ユニットにおいて繰り返し巻線コイルを形成することができ、上記移動ユニットは、上記挿入ユニット及び上記成形ユニットと協働して上記挿入配置及び上記成形を繰り返し行うことができる。
上述した本発明における好ましい実施の形態につき説明する。
本発明のステータ製造装置においては、上記巻線コイルの形成、巻線コイルの挿入配置及び成形を必要に応じて繰り返すことにより、ステータコアにU相、V相及びW相の3相の巻線コイルを挿入配置してなる3相モータ用のステータを短時間で製造することができる。
本発明のステータ製造装置においては、上記巻線コイルの形成、巻線コイルの挿入配置及び成形を必要に応じて繰り返すことにより、ステータコアにU相、V相及びW相の3相の巻線コイルを挿入配置してなる3相モータ用のステータを短時間で製造することができる。
また、上記移動ユニットは、上記巻線コイルを上記ステータコアに挿入配置する際には、上記ステータコアを保持した状態で、上記巻線コイルを保持した上記挿入ユニットに対して接近するよう構成されていることが好ましい(請求項2)。
この場合には、上記巻線コイルの上記ステータコアへの挿入配置は、上記挿入ユニットは固定しておき、上記ステータコアを保持した移動ユニットを移動させることにより行うことができる。そのため、上記ステータ製造装置の構造を簡単にすることができる。
この場合には、上記巻線コイルの上記ステータコアへの挿入配置は、上記挿入ユニットは固定しておき、上記ステータコアを保持した移動ユニットを移動させることにより行うことができる。そのため、上記ステータ製造装置の構造を簡単にすることができる。
また、上記移動ユニットは、上記巻線コイルの形状を成形する際には、上記ステータコアを保持した状態で、上記成形ユニットに対して接近するよう構成されていることが好ましい(請求項3)。
この場合には、上記巻線コイルの形状の成形は、上記成形ユニットは固定しておき、上記巻線コイルが挿入配置されたステータコアを保持した移動ユニットを移動させることにより行うことができる。そのため、この場合にも、上記ステータ製造装置の構造を簡単にすることができる。
この場合には、上記巻線コイルの形状の成形は、上記成形ユニットは固定しておき、上記巻線コイルが挿入配置されたステータコアを保持した移動ユニットを移動させることにより行うことができる。そのため、この場合にも、上記ステータ製造装置の構造を簡単にすることができる。
また、上記移動ユニットは、上記ステータコアを保持する保持部と、旋回中心軸を中心に上記保持部を旋回させるための旋回アームとを有しており、上記挿入ユニット及び上記成形ユニットは、上記保持部の旋回軌跡上に対向配設されていることが好ましい(請求項4)。
この場合には、上記移動ユニットは、上記旋回アームを旋回させることにより、上記保持部に保持したステータコアを、上記挿入ユニットに対向する位置まで移動させることができ、上記成形ユニットに対向する位置まで移動させることもできる。そのため、上記ステータ製造装置をコンパクトに形成することができると共にステータ製造装置の構造を一層簡単にすることができる。
この場合には、上記移動ユニットは、上記旋回アームを旋回させることにより、上記保持部に保持したステータコアを、上記挿入ユニットに対向する位置まで移動させることができ、上記成形ユニットに対向する位置まで移動させることもできる。そのため、上記ステータ製造装置をコンパクトに形成することができると共にステータ製造装置の構造を一層簡単にすることができる。
また、上記巻線ユニットは、上記電線を巻回して上記単極コイルをそれぞれ形成するための複数のコイル巻枠をベースホルダーにそれぞれ移動可能に配設してなり、上記複数のコイル巻枠のうちのいずれか1つのコイル巻枠を残りのコイル巻枠に対して突出させ、該突出を行ったコイル巻枠を中心に上記巻線ユニットの全体を回転させることにより、上記単極コイルの形成を順次行うよう構成されていることが好ましい(請求項5)。
この場合には、上記挿入ユニットとは別個に単独で巻線コイルを形成することができる巻線ユニットを容易に構成することができる。そのため、ステータ製造装置の構造を一層簡単にすることができる。また、この場合には、上記巻線ユニットにおいては、上記電線の巻回を行う各コイル巻枠を順次移動させて、残りのコイル巻枠に対して突出させることにより、各コイル巻枠に対して順次単極コイルを形成し、複数の単極コイルが連なった巻線コイルを形成することができる。
この場合には、上記挿入ユニットとは別個に単独で巻線コイルを形成することができる巻線ユニットを容易に構成することができる。そのため、ステータ製造装置の構造を一層簡単にすることができる。また、この場合には、上記巻線ユニットにおいては、上記電線の巻回を行う各コイル巻枠を順次移動させて、残りのコイル巻枠に対して突出させることにより、各コイル巻枠に対して順次単極コイルを形成し、複数の単極コイルが連なった巻線コイルを形成することができる。
以下に、図面を用いて本発明のステータ製造装置にかかる実施例につき説明する。
本例のステータ製造装置1は、図1、図2に示すごとく、電線90を巻回してなる複数の単極コイル91を連ねてなる巻線コイル9を形成する巻線ユニット2と、この巻線ユニット2から上記巻線コイル9を受け取り、この巻線コイル9をステータコア81に挿入配置するための挿入ユニット3と、上記ステータコア81に挿入配置した上記巻線コイル9の形状を成形するための成形ユニット4と、上記挿入ユニット3と上記成形ユニット4とに移動可能である移動ユニット5とを有している。
上記移動ユニット5は、上記ステータコア81を保持した状態で、上記挿入ユニット3と相対移動を行って上記巻線コイル9の挿入配置を行うと共に、上記成形ユニット4と相対移動を行って上記巻線コイル9の形状の成形を行うよう構成されている。
以下に、これを詳説する。
本例のステータ製造装置1は、図1、図2に示すごとく、電線90を巻回してなる複数の単極コイル91を連ねてなる巻線コイル9を形成する巻線ユニット2と、この巻線ユニット2から上記巻線コイル9を受け取り、この巻線コイル9をステータコア81に挿入配置するための挿入ユニット3と、上記ステータコア81に挿入配置した上記巻線コイル9の形状を成形するための成形ユニット4と、上記挿入ユニット3と上記成形ユニット4とに移動可能である移動ユニット5とを有している。
上記移動ユニット5は、上記ステータコア81を保持した状態で、上記挿入ユニット3と相対移動を行って上記巻線コイル9の挿入配置を行うと共に、上記成形ユニット4と相対移動を行って上記巻線コイル9の形状の成形を行うよう構成されている。
以下に、これを詳説する。
図1、図2に示すごとく、本例の移動ユニット5は、上記ステータコア81を上記挿入ユニット3及び上記成形ユニット4まで搬送することができるものである。そして、移動ユニット5は、ステータコア81を保持する保持部52と、旋回中心軸C4を中心に保持部52を旋回させるための旋回アーム51とを有している。
また、図2に示すごとく、移動ユニット5は、旋回アーム51を旋回させる旋回装置(図示略)を有しており、上記挿入ユニット3及び上記成形ユニット4は、上記保持部52の旋回軌跡S上に対向配設されている。そして、移動ユニット5は、上記旋回装置を動作させて旋回アーム51を旋回させることにより、上記保持部52に保持したステータコア81を、上記挿入ユニット3に対向する位置まで移動させることができ、上記成形ユニット4に対向する位置まで移動させることもできる。
また、図2に示すごとく、移動ユニット5は、旋回アーム51を旋回させる旋回装置(図示略)を有しており、上記挿入ユニット3及び上記成形ユニット4は、上記保持部52の旋回軌跡S上に対向配設されている。そして、移動ユニット5は、上記旋回装置を動作させて旋回アーム51を旋回させることにより、上記保持部52に保持したステータコア81を、上記挿入ユニット3に対向する位置まで移動させることができ、上記成形ユニット4に対向する位置まで移動させることもできる。
また、図1、図2に示すごとく、上記保持部52は、上記ステータコア81の外周面を保持するよう構成されている。本例の保持部52は、上記旋回アーム51に設けた保持穴521と、この保持穴521の穴面積を縮小させるように移動することができるクランプ522とによって構成されている。そして、保持部52は、保持穴521内にステータコア81を挿入配置したときに、上記クランプ522を動作させて、ステータコア81を保持穴521に保持することができる。
また、図1、図2に示すごとく、上記移動ユニット5は、上記保持部52を旋回させることが可能であると共に、上記保持部52をその軸方向L1に移動させることが可能である。すなわち、本例の旋回アーム51は、旋回可能であると共に上記保持部52の軸方向L1にスライド可能である。そして、上記旋回アーム51は、上記巻線コイル9を上記ステータコア81に挿入配置する際には、上記ステータコア81を保持した状態で、巻線コイル9を保持した挿入ユニット3に対して接近することができる。また、旋回アーム51は、上記巻線コイル9の形状を成形する際には、ステータコア81を保持した状態で、上記成形ユニット4に対して接近することができる。
本例のステータ製造装置1は、上記巻線ユニット2、上記挿入ユニット3、上記成形ユニット4及び上記移動ユニット5の各ユニットを架台10に配設してなる。
また、ステータ製造装置1は、上記巻線コイル9の挿入配置を行う前のステータコア81を載置することができる載置台11と、上記巻線コイル9の挿入配置及び成形を行って形成したステータ8を、ステータ製造装置1の外部に搬送するための搬送コンベア12とを有している。
この搬送コンベア12は、上記ステータ製造装置1において製造したステータ8を載置して移動することができるパレット121を有している。
また、ステータ製造装置1は、上記巻線コイル9の挿入配置を行う前のステータコア81を載置することができる載置台11と、上記巻線コイル9の挿入配置及び成形を行って形成したステータ8を、ステータ製造装置1の外部に搬送するための搬送コンベア12とを有している。
この搬送コンベア12は、上記ステータ製造装置1において製造したステータ8を載置して移動することができるパレット121を有している。
そして、上記移動ユニット5は、上記旋回アーム51における保持部52を上記載置台11に対向する位置に移動させた状態で、上記保持部52にステータコア81を受け取ることができる。
また、移動ユニット5は、上記ステータ8を、上記保持部52に保持して上記挿入ユニット3又は成形ユニット4から上記搬送コンベア12まで移動させることができる。
また、移動ユニット5は、上記ステータ8を、上記保持部52に保持して上記挿入ユニット3又は成形ユニット4から上記搬送コンベア12まで移動させることができる。
本例においては、上記移動ユニット5における旋回中心軸C4を、上記架台10の略中心部分に配置し、この旋回中心軸C4の周りに、上記載置台11、巻線ユニット2、挿入ユニット3、成形ユニット4及び搬送コンベア12を配設している。
そして、移動ユニット5は、その旋回アーム51を旋回中心軸C4を中心に旋回させることにより、上記保持部52に保持したステータコア81を、上記載置台11、巻線ユニット2、挿入ユニット3、成形ユニット4及び搬送コンベア12に対向する位置まで移動させることができる。
そして、移動ユニット5は、その旋回アーム51を旋回中心軸C4を中心に旋回させることにより、上記保持部52に保持したステータコア81を、上記載置台11、巻線ユニット2、挿入ユニット3、成形ユニット4及び搬送コンベア12に対向する位置まで移動させることができる。
また、図3、図4に示すごとく、上記巻線ユニット2は、ベースホルダー21と、このベースホルダー21に対してそれぞれ進退方向L2に向けて進退可能に配設された複数のコイル巻枠22とを有している。各コイル巻枠22は、上記電線90を巻回して上記単極コイル91をそれぞれ形成するためのものである。また、本例では、ベースホルダー21におけるコイル巻枠22同士の間には、単極コイル91同士を連結する渡り線92を形成するための渡り線巻枠23が配設されている。また、各渡り線巻枠23もまた、ベースホルダー21に対して進退可能である。
そして、巻線ユニット2は、上記複数のコイル巻枠22のうちのいずれか1つのコイル巻枠22を残りのコイル巻枠22及び渡り線巻枠23に対して突出させ、この突出を行ったコイル巻枠22を中心に上記巻線ユニット2の全体を回転させることにより、上記単極コイル91を形成するよう構成されている。
また、上記巻線ユニット2においては、上記電線90の巻回を行う各コイル巻枠22を上記進退方向L2に順次移動させ、残りのコイル巻枠22及び渡り線巻枠23に対して突出させてから、各コイル巻枠22に対して順次単極コイル91を形成し、複数の単極コイル91が連なった巻線コイル9(図5参照)を形成することができる。
また、上記巻線ユニット2においては、上記電線90の巻回を行う各コイル巻枠22を上記進退方向L2に順次移動させ、残りのコイル巻枠22及び渡り線巻枠23に対して突出させてから、各コイル巻枠22に対して順次単極コイル91を形成し、複数の単極コイル91が連なった巻線コイル9(図5参照)を形成することができる。
また、図3、図4に示すごとく、上記ベースホルダー21は、旋回ベース中心軸C2を中心にして旋回可能に配設された旋回ベース20に対して移動可能に配設されている。また、各コイル巻枠22及び渡り線巻枠23は、これらにおける上記電線90の巻回を行う各巻回軸C1を互いに略平行であると共に上記旋回ベース中心軸C2に対しても略平行になるようにして、ベースホルダー21に配設されている。
そして、上記ベースホルダー21は、上記各コイル巻枠22のうちの上記電線90の巻回を行ういずれかのコイル巻枠22を、順次上記旋回ベース中心軸C2に接近させることができるよう構成されている。
そして、上記ベースホルダー21は、上記各コイル巻枠22のうちの上記電線90の巻回を行ういずれかのコイル巻枠22を、順次上記旋回ベース中心軸C2に接近させることができるよう構成されている。
また、図3、図4に示すごとく、本例のベースホルダー21は、上記旋回ベース中心軸C2に対して略平行にオフセットした位置に形成した回動中心軸C3を中心にして、上記旋回ベース20に回動移動可能に配設されている。また、図4に示すごとく、上記各コイル巻枠22及び各渡り線巻枠23は、それらの巻回軸C1が上記回動中心軸C3を中心に描いた仮想円R上に並ぶようにして、ベースホルダー21に配設されている。そして、上記ベースホルダー21を所定の角度回動移動させることによって、上記電線90の巻回を行うコイル巻枠22又は渡り線巻枠23を順次上記旋回ベース中心軸C2に接近させ、各コイル巻枠22又は渡り線巻枠23の巻回軸C1と、上記旋回ベース中心軸C2とをほぼ合わせることができる。
また、図3に示すごとく、上記各コイル巻枠22は、上記ベースホルダー21に取り付けた内側巻枠部225と、この内側巻枠部225に対向配設した外側巻枠部226とを有している。そして、外側巻枠部226は、図7に示すごとく、上記電線90の巻回を行う際の巻回位置P1と、図8に示すごとく、上記巻回を行った後の単極コイル91を当該コイル巻枠22から離脱させる際の離脱位置P2との間で、内側巻枠部22との間の距離を変更するよう移動可能である。
上記挿入ユニット3は、図9、図10に示すごとく、上記巻線コイル9を上記ステータコア81のステータ穴810に形成したスロット811に向けて押出挿入するための押出挿入コア31と、図7、図8に示すごとく、この押出挿入コア31の外周面に配設し、上記各コイル巻枠22から上記各単極コイル91をそれぞれ受け取る複数のコイル受け部32とを有している。
また、図6に示すごとく、各コイル受け部32同士の間には、コイル受け部32の形成方向と略同一方向に向けて形成された複数のガイド部33が配設されている。図11に示すごとく、このガイド部33は、ステータコア81の各スロット811同士の間に位置するティース812に対面して、上記巻線コイル9における各単極コイル91の各スロット811への挿入配置をガイドするものである。
また、本例の挿入ユニット3は、上記巻線ユニット2において形成した上記単極コイル91が連なる巻線コイル9を、上記巻線ユニット2との1回の相対移動により受け取ることができるものである。
また、本例の挿入ユニット3は、上記巻線ユニット2において形成した上記単極コイル91が連なる巻線コイル9を、上記巻線ユニット2との1回の相対移動により受け取ることができるものである。
また、図7、図8に示すごとく、本例のステータ製造装置1においては、巻線ユニット2と挿入ユニット3とが、互いに対向する位置に配設されている。また、上記巻線ユニット2は、挿入ユニット3に対して移動することができるよう構成されている。そして、巻線ユニット2を挿入ユニット3に対して接近させ、各コイル巻枠22における外側巻枠部226を上記巻回位置P1から上記離脱位置P2に移動させることにより、巻線ユニット2から挿入ユニット3へ巻線コイル9を受け渡すことができる。
上記成形ユニット4は、図12に示すごとく、上記ステータコア81におけるステータ穴810(図11参照)に挿入配置される本体部41と、この本体部41の外周方向D1に移動して、ステータコア81に挿入配置された巻線コイル9の成形を行うための可動成形部42とを有している。
そして、移動ユニット5を成形ユニット4に接近させて、移動ユニット5に保持したステータコア81におけるステータ穴810に成形ユニット4における本体部41を挿入配置したときには、上記可動成形部42を本体部41の外周方向D1に移動させることにより、ステータコア81に挿入配置された巻線コイル9の成形を行うことができる。
なお、上記ステータ穴810とは、ステータ8に対してロータを配設するときに用いる穴のことである。
そして、移動ユニット5を成形ユニット4に接近させて、移動ユニット5に保持したステータコア81におけるステータ穴810に成形ユニット4における本体部41を挿入配置したときには、上記可動成形部42を本体部41の外周方向D1に移動させることにより、ステータコア81に挿入配置された巻線コイル9の成形を行うことができる。
なお、上記ステータ穴810とは、ステータ8に対してロータを配設するときに用いる穴のことである。
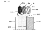
また、図10に示すごとく、上記巻線コイル9をステータコア81に挿入配置したときには、上記巻線コイル9における各単極コイル91の一部がステータコア81の軸方向端部813から突出したコイルエンド部93が形成される。そして、本例では、図12に示すごとく、上記移動ユニット5と上記成形ユニット4とを用いた巻線コイル9の成形においては、上記コイルエンド部93を、上記ステータコア81の外周方向D1に向けて変形移動させる成形を行う。
次に、上記ステータ製造装置1を用いて、巻線コイル9をステータコア81に配設してなるステータ8を製造する方法につき説明する。
本例においては、以下の巻線工程、受渡工程、挿入工程及び成形工程を行って、上記ステータ8を形成する。
まず、上記巻線工程においては、図5に示すごとく、上記巻線ユニット2を用いて、電線90をループ状に巻回してなる単極コイル91を複数連ねてなる巻線コイル9を形成する。この巻線工程においては、図3、図4に示すごとく、上記ベースホルダー21を上記回動中心軸C3を中心に所定角度回動させ、上記電線90の巻回を行うコイル巻枠22又は渡り線巻枠23の巻回軸C1を、上記旋回ベース中心軸C2にほぼ合わせる。
本例においては、以下の巻線工程、受渡工程、挿入工程及び成形工程を行って、上記ステータ8を形成する。
まず、上記巻線工程においては、図5に示すごとく、上記巻線ユニット2を用いて、電線90をループ状に巻回してなる単極コイル91を複数連ねてなる巻線コイル9を形成する。この巻線工程においては、図3、図4に示すごとく、上記ベースホルダー21を上記回動中心軸C3を中心に所定角度回動させ、上記電線90の巻回を行うコイル巻枠22又は渡り線巻枠23の巻回軸C1を、上記旋回ベース中心軸C2にほぼ合わせる。
また、図3に示すごとく、電線90の巻回を行うコイル巻枠22又は渡り線巻枠23を、残りのコイル巻枠22及び渡り線巻枠23に対して突出させる。そして、上記旋回ベース20を上記旋回ベース中心軸C2を中心に回転させたときには、上記巻線ユニット2の全体を上記突出を行ったコイル巻枠22又は渡り線巻枠23の巻回軸C1を中心に回転させることができる。これにより、上記突出を行ったコイル巻枠22又は渡り線巻枠23に対して電線90を巻回して、それぞれ単極コイル91又は渡り線92を形成する。
そして、図4に示すごとく、残りの各コイル巻枠22及び渡り線巻枠23に対しても同様に各単極コイル91及び各渡り線92を形成し、各単極コイル91が各渡り線92によって連なる巻線コイル9(図5参照)を形成する。
そして、図4に示すごとく、残りの各コイル巻枠22及び渡り線巻枠23に対しても同様に各単極コイル91及び各渡り線92を形成し、各単極コイル91が各渡り線92によって連なる巻線コイル9(図5参照)を形成する。
次いで、上記受渡工程においては、図6〜図8に示すごとく、上記巻線ユニット2及び挿入ユニット3を用いて、上記巻線ユニット2から上記巻回を行って形成した巻線コイル9を、上記挿入ユニット3に受け渡す(移載する)。この受渡工程においては、図7、図8に示すごとく、巻線ユニット2を挿入ユニット3に向けて接近させ、巻線ユニット2における各コイル巻枠22の上記巻回軸C1の方向に向けて形成した凹部221内に上記各コイル受け部32を挿入させる。
そして、図6、図8に示すごとく、各コイル巻枠22と各コイル受け部32とを連結すると共に、各コイル巻枠22と各コイル受け部32とのそれぞれが上記各単極コイル91を受け渡すための受渡ルート30を形成する。
そして、図6、図8に示すごとく、各コイル巻枠22と各コイル受け部32とを連結すると共に、各コイル巻枠22と各コイル受け部32とのそれぞれが上記各単極コイル91を受け渡すための受渡ルート30を形成する。
そして、この状態で、図8に示すごとく、各コイル巻枠22における外側巻枠部226を上記巻回位置P1から上記離脱位置P2に移動させると共に、上記ベースホルダー21内に移動可能に配設された押出コア211を前進させることにより、各コイル巻枠22によって保持した巻線コイル9を、この各コイル巻枠22から挿入ユニット3における各コイル受け部32へと受け渡す。
また、図1に示すごとく、上記巻線コイル9の形成及び上記巻線コイル9の受渡を行っているときには、上記移動ユニット5の保持部52を上記載置台11に対向する位置まで移動させておき、移動ユニット5の保持部52にステータコア81を保持させて、移動ユニット5を待機させておく。
また、図1に示すごとく、上記巻線コイル9の形成及び上記巻線コイル9の受渡を行っているときには、上記移動ユニット5の保持部52を上記載置台11に対向する位置まで移動させておき、移動ユニット5の保持部52にステータコア81を保持させて、移動ユニット5を待機させておく。
次いで、上記挿入工程においては、図9〜図11、図13、図14に示すごとく、上記挿入ユニット3に保持した巻線コイル9を移動ユニット5に保持したステータコア81に挿入配置する。この挿入工程においては、図13、図14に示すごとく、上記移動ユニット5における保持部52を上記挿入ユニット3に対向する位置まで移動させ、その後、上記旋回アーム51を挿入ユニット3に接近させる。
そして、図9、図11に示すごとく、移動ユニット5における保持部52に保持したステータコア81におけるステータ穴810に挿入ユニット3における各コイル受け部32を挿入配置する。そして、図10に示すごとく、上記挿入ユニット3における押出挿入コア31をステータコア81に接近させて、各コイル受け部32に保持した各単極コイル91を、上記移動ユニット5における保持部52に保持したステータコア81におけるスロット811に挿入配置して、挿入ユニット3からステータコア81に巻線コイル9を挿入配置する。
また、上記巻線コイル9の挿入配置が行われた後には、図10に示すごとく、ステータコア81においては、巻線コイル9における各単極コイル91の一部がステータコア81の軸方向端部813から突出してなるコイルエンド部93が形成される。
また、上記巻線コイル9の挿入配置が行われた後には、図10に示すごとく、ステータコア81においては、巻線コイル9における各単極コイル91の一部がステータコア81の軸方向端部813から突出してなるコイルエンド部93が形成される。
次いで、上記成形工程においては、図12、図15、図16に示すごとく、上記ステータコア81に挿入配置された巻線コイル9の形状を成形する。この成形工程においては、図15に示すごとく、上記移動ユニット5における保持部52を上記成形ユニット4に対向する位置まで移動させ、その後、図16に示すごとく、上記旋回アーム51を成形ユニット4に接近させる。そして、移動ユニット5における保持部52に保持したステータコア81のステータ穴810に、成形ユニット4における本体部41及び可動成形部42を挿入配置する。
そして、上記挿入配置を行った状態で、図12に示すごとく、上記可動成形部42を上記本体部41の外周方向D1に移動させて、可動成形部42により、上記コイルエンド部93をステータコア81の外周方向D1に変形移動させる。
これにより、上記ステータコア81に挿入配置した巻線コイル9の形状の成形を行うことができ、次に上記巻線ユニット2において形成した巻線コイル9(次の巻線コイル9)を、上記巻線コイル9の内周側から重ねるようにして、ステータコア81におけるスロット811に容易に挿入配置することができるようになる。
これにより、上記ステータコア81に挿入配置した巻線コイル9の形状の成形を行うことができ、次に上記巻線ユニット2において形成した巻線コイル9(次の巻線コイル9)を、上記巻線コイル9の内周側から重ねるようにして、ステータコア81におけるスロット811に容易に挿入配置することができるようになる。
また、上記成形を行った後には、上記移動ユニット5は、上記ステータコア81を保持して再び上記挿入ユニット3に移動することができ、上記挿入ユニット3と相対移動を行って、上記次の巻線コイル9を受け取ることができる。
そして、上記ステータ製造装置1は、形成するステータ8の仕様に応じて、巻線ユニット2において繰り返し巻線コイル9を形成することができ、移動ユニット5は、上記巻線コイル9の挿入配置及び上記巻線コイル9の形状の成形を繰り返し行うことができる。
そして、上記ステータ製造装置1は、形成するステータ8の仕様に応じて、巻線ユニット2において繰り返し巻線コイル9を形成することができ、移動ユニット5は、上記巻線コイル9の挿入配置及び上記巻線コイル9の形状の成形を繰り返し行うことができる。
また、図17、図18に示すごとく、上記ステータ製造装置1において製造したステータ8は、上記移動ユニット5が上記搬送コンベア12におけるパレット121まで移動させることができる。そして、図19に示すごとく、このパレット121を移動させることによって、上記ステータ8をステータ製造装置1の次の工程に運搬することができる。
また、本例においては、上記巻線コイル9を形成するための電線90は、複数のワイヤ901を束ねてなるものである(図3、図7参照)。
また、本例においては、上記巻線コイル9を形成するための電線90は、複数のワイヤ901を束ねてなるものである(図3、図7参照)。
本例のステータ製造装置1においては、図20、図21に示すごとく、上記巻線工程、上記受渡工程、上記挿入工程及び上記成形工程を繰り返すことによって、ステータコア81にU相、V相及びW相の3相の巻線コイル9を挿入配置してなる3相モータ用のステータ8を製造する。
すなわち、本例では、上記巻線工程を行ってU相の巻線コイル9Uを形成し、上記受渡工程及び挿入工程を行ってU相の巻線コイル9Uをステータコア81に挿入配置すると共に、上記成形工程を行って、ステータコア81に挿入配置されたU相の巻線コイル9Uにおけるコイルエンド部93をステータコア81の外周方向D1に向けて変形移動させる。
すなわち、本例では、上記巻線工程を行ってU相の巻線コイル9Uを形成し、上記受渡工程及び挿入工程を行ってU相の巻線コイル9Uをステータコア81に挿入配置すると共に、上記成形工程を行って、ステータコア81に挿入配置されたU相の巻線コイル9Uにおけるコイルエンド部93をステータコア81の外周方向D1に向けて変形移動させる。
また、上記U相の巻線コイル9Uに対して上記受渡工程、挿入工程及び成形工程を行っている時間を利用して、上記巻線工程においては、V相の巻線コイル9Vを形成する。そして、受渡工程及び挿入工程を行ってV相の巻線コイル9Vをステータコア81に挿入配置すると共に、上記成形工程を行ってステータコア81に挿入配置されたV相の巻線コイル9Vにおけるコイルエンド部93をステータコア81の外周方向D1に向けて変形移動させる。
また、上記V相の巻線コイル9Vに対して上記受渡工程、挿入工程及び成形工程を行っている時間を利用して、上記巻線工程においては、W相の巻線コイル9Wを形成する。
そして、受渡工程及び挿入工程を行ってW相の巻線コイル9Wをステータコア81に挿入配置して、U相、V相及びW相の3相の巻線コイル9をステータコア81に挿入配置し、上記3相モータ用のステータ8を製造することができる。
そして、受渡工程及び挿入工程を行ってW相の巻線コイル9Wをステータコア81に挿入配置して、U相、V相及びW相の3相の巻線コイル9をステータコア81に挿入配置し、上記3相モータ用のステータ8を製造することができる。
なお、上記巻線ユニット2においては、上記各相の巻線コイル9を複数回に分割して形成することができる。この場合には、上記巻線工程及び上記受渡工程を行って、上記挿入ユニット3に分割して形成した巻線コイル9をそれぞれ受け渡した後に、上記挿入工程において、巻線コイル9のステータコア81への挿入配置を行うことができる。また、この場合にも、上記と同様に、巻線工程、受渡工程、挿入工程及び成形工程を行って、3相モータ用のステータ8を製造することができる。
上記製造を行ったステータ8においては、図20に示すごとく、U相、V相及びW相の各巻線コイル9は、上記ステータコア81の円周方向D2に所定のスロット811数オフセットして挿入配置されている。
また、ステータ8においては、図21に示すごとく、ステータコア81の軸方向端部813から突出する各相のコイルエンド部93は、U相のコイルエンド部93の内周側にV相のコイルエンド部93が重なり、V相のコイルエンド部93の内周側にW相のコイルエンド部93が重なって、ステータコア81に配置されている。
また、ステータ8においては、図21に示すごとく、ステータコア81の軸方向端部813から突出する各相のコイルエンド部93は、U相のコイルエンド部93の内周側にV相のコイルエンド部93が重なり、V相のコイルエンド部93の内周側にW相のコイルエンド部93が重なって、ステータコア81に配置されている。
本例のステータ製造装置1は、上記載置台11、上記巻線ユニット2、上記挿入ユニット3、上記成形ユニット4及び上記搬送コンベア12を上記架台10に一体的に配設してなる。さらに、ステータ製造装置1は、上記ステータコア81を保持する保持部52を移動させることができる上記移動ユニット5を上記架台10に配設してなる。これにより、上記ステータ製造装置1においては、各相の巻線コイル9を形成すると共にこれらをステータコア81に挿入配置することができ、上記ステータ8の製造を一貫して行うことができる。また、これにより、上記ステータ製造装置1の設置面積は、上記各ユニット2〜5を別々に設置している場合に比べて小さくすることができる。
さらに、上記ステータ製造装置1は、上記移動ユニット5が上記ステータコア81を挿入ユニット3及び成形ユニット4に移動させるものである。そして、ステータ製造装置1は、移動ユニット5を挿入ユニット3に接近させて、上記巻線コイル9のステータコア81への挿入配置を行うことができ、移動ユニット5を成形ユニット4に接近させて、上記ステータコア81に挿入配置した巻線コイル9の形状の成形を行うことができる。そのため、上記ステータ製造装置1は、上記ステータコア81を保持して挿入ユニット3及び成形ユニット4と協働動作することができる上記移動ユニット5により、短時間でステータ8を製造することができる。
また、上述したように、上記巻線ユニット2は、上記挿入ユニット3とは別個に単独で上記単極コイル91が連なった巻線コイル9の形成を行うことができる。また、上記挿入ユニット3は、上記巻線ユニット2から単極コイル91が連なった巻線コイル9を受け取ることができ、移動ユニット5と協働して上記巻線コイル9をステータコア81に挿入することができる。
そのため、上記巻線ユニット2から挿入ユニット3に巻線コイル9を受け渡した後には、上記移動ユニット5と挿入ユニット3とによる上記挿入工程を行っている最中においても、上記巻線工程として、上記巻線ユニット2は、次にステータコア81に挿入配置するための巻線コイル9(次の巻線コイル9)の形成を開始することができる。また、上記移動ユニット5が移動している最中、及び上記移動ユニット5と成形ユニット4とによる上記成形工程を行っている最中においても、上記巻線ユニット2は、上記次の巻線コイル9の形成を継続することができる。
それ故、本例のステータ製造装置1によれば、巻線コイル9のステータコア81への挿入配置及びステータコア81に挿入配置された巻線コイル9の成形と、次にステータコア81に挿入配置するための巻線コイル9の形成とを並行して行うことができ、ステータ8を製造するための時間を短縮させることができる。
1 ステータ製造装置
2 巻線ユニット
20 旋回ベース
21 ベースホルダー
22 コイル巻枠
3 挿入ユニット
31 押出挿入コア
32 コイル受け部
4 成形ユニット
41 本体部
42 可動成形部
5 移動ユニット
51 旋回アーム
52 保持部
8 ステータ
81 ステータコア
811 スロット
9 巻線コイル
90 電線
91 単極コイル
93 コイルエンド部
C1 巻回軸
C2 旋回ベース中心軸
C3 回動中心軸
C4 旋回中心軸
S 旋回軌跡
2 巻線ユニット
20 旋回ベース
21 ベースホルダー
22 コイル巻枠
3 挿入ユニット
31 押出挿入コア
32 コイル受け部
4 成形ユニット
41 本体部
42 可動成形部
5 移動ユニット
51 旋回アーム
52 保持部
8 ステータ
81 ステータコア
811 スロット
9 巻線コイル
90 電線
91 単極コイル
93 コイルエンド部
C1 巻回軸
C2 旋回ベース中心軸
C3 回動中心軸
C4 旋回中心軸
S 旋回軌跡
Claims (5)
- 電線を巻回してなる複数の単極コイルを連ねてなる巻線コイルを形成する巻線ユニットと、
該巻線ユニットから上記巻線コイルを受け取り、該巻線コイルをステータコアに挿入配置するための挿入ユニットと、
上記ステータコアに挿入配置した上記巻線コイルの形状を成形するための成形ユニットと、
上記挿入ユニットと上記成形ユニットとに移動可能である移動ユニットとを有しており、
該移動ユニットは、上記ステータコアを保持した状態で、上記挿入ユニットと相対移動を行って上記巻線コイルの挿入配置を行うと共に、上記成形ユニットと相対移動を行って上記巻線コイルの形状の成形を行うよう構成されていることを特徴とするステータ製造装置。 - 請求項1において、上記移動ユニットは、上記巻線コイルを上記ステータコアに挿入配置する際には、上記ステータコアを保持した状態で、上記巻線コイルを保持した上記挿入ユニットに対して接近するよう構成されていることを特徴とするステータ製造装置。
- 請求項1又は2において、上記移動ユニットは、上記巻線コイルの形状を成形する際には、上記ステータコアを保持した状態で、上記成形ユニットに対して接近するよう構成されていることを特徴とするステータ製造装置。
- 請求項1〜3のいずれか一項において、上記移動ユニットは、上記ステータコアを保持する保持部と、旋回中心軸を中心に上記保持部を旋回させるための旋回アームとを有しており、
上記挿入ユニット及び上記成形ユニットは、上記保持部の旋回軌跡上に対向配設されていることを特徴とするステータ製造装置。 - 請求項1〜4のいずれか一項において、上記巻線ユニットは、上記電線を巻回して上記単極コイルをそれぞれ形成するための複数のコイル巻枠をベースホルダーにそれぞれ移動可能に配設してなり、上記複数のコイル巻枠のうちのいずれか1つのコイル巻枠を残りのコイル巻枠に対して突出させ、該突出を行ったコイル巻枠を中心に上記巻線ユニットの全体を回転させることにより、上記単極コイルの形成を順次行うよう構成されていることを特徴とするステータ製造装置。
Priority Applications (5)
| Application Number | Priority Date | Filing Date | Title |
|---|---|---|---|
| JP2003332333A JP2005102402A (ja) | 2003-09-24 | 2003-09-24 | ステータ製造装置 |
| US10/560,775 US7380335B2 (en) | 2003-09-24 | 2004-09-21 | Stator manufacturing device |
| CNB2004800141610A CN100463335C (zh) | 2003-09-24 | 2004-09-21 | 定子制造装置 |
| PCT/JP2004/013729 WO2005029682A1 (ja) | 2003-09-24 | 2004-09-21 | ステータ製造装置 |
| DE112004000904T DE112004000904T5 (de) | 2003-09-24 | 2004-09-21 | Statorherstellungsgerät |
Applications Claiming Priority (1)
| Application Number | Priority Date | Filing Date | Title |
|---|---|---|---|
| JP2003332333A JP2005102402A (ja) | 2003-09-24 | 2003-09-24 | ステータ製造装置 |
Publications (1)
| Publication Number | Publication Date |
|---|---|
| JP2005102402A true JP2005102402A (ja) | 2005-04-14 |
Family
ID=34373069
Family Applications (1)
| Application Number | Title | Priority Date | Filing Date |
|---|---|---|---|
| JP2003332333A Withdrawn JP2005102402A (ja) | 2003-09-24 | 2003-09-24 | ステータ製造装置 |
Country Status (5)
| Country | Link |
|---|---|
| US (1) | US7380335B2 (ja) |
| JP (1) | JP2005102402A (ja) |
| CN (1) | CN100463335C (ja) |
| DE (1) | DE112004000904T5 (ja) |
| WO (1) | WO2005029682A1 (ja) |
Cited By (2)
| Publication number | Priority date | Publication date | Assignee | Title |
|---|---|---|---|---|
| JP2015126661A (ja) * | 2013-12-27 | 2015-07-06 | ファナック株式会社 | 集中巻ステータの巻線挿入方法および巻線挿入機 |
| KR20230054524A (ko) * | 2021-10-15 | 2023-04-25 | 주식회사 야호텍 | 블레이드의 위치가 조정된 인서트 툴 |
Families Citing this family (13)
| Publication number | Priority date | Publication date | Assignee | Title |
|---|---|---|---|---|
| ITTO20070436A1 (it) * | 2007-06-18 | 2008-12-19 | Atop Spa | "apparecchio e procedimento per avvolgere ed inserire bobine in nuclei di macchine dinamoelettriche" |
| DE102008018971A1 (de) * | 2008-04-16 | 2009-10-22 | Rist Gmbh | Verfahren und Vorrichtung zur Herstellung einer elektrischen Wicklung |
| DE102010026527A1 (de) * | 2010-06-25 | 2012-03-29 | Aumann Gmbh | Verfahren und Vorrichtung zur Bewicklung von Polsternen, insbesondere für Statoren von Innenläufermotoren |
| US8978238B2 (en) * | 2012-02-20 | 2015-03-17 | Louis J. Finkle | Apparatus and method for efficient stator windings termination |
| ITPI20130020A1 (it) * | 2013-03-20 | 2014-09-21 | Atop Spa | Apparecchiatura e metodo per produrre statori di macchine dinamoelettriche formati da un assemblato di segmenti di polo |
| CN103840618A (zh) * | 2014-01-16 | 2014-06-04 | 合肥凯邦电机有限公司 | 多功能定位工装板 |
| JP6234565B2 (ja) * | 2014-05-26 | 2017-11-22 | 三菱電機株式会社 | 回転電機の製造方法 |
| CN110798028B (zh) * | 2019-11-27 | 2024-06-25 | 江苏本格自动化科技有限公司 | 一种三相电机定子绕嵌扩一体设备 |
| US11411477B2 (en) * | 2020-06-22 | 2022-08-09 | Yoshio Kato | Coil insertion method and coil insertion device |
| CN111725953B (zh) * | 2020-07-08 | 2024-08-16 | 江苏本格自动化科技有限公司 | 一种扩张机 |
| CN113635075B (zh) * | 2021-08-23 | 2022-08-12 | 浙江德浔科技有限公司 | 全自动定子生产线 |
| KR102865949B1 (ko) * | 2021-11-16 | 2025-10-01 | 현대모비스 주식회사 | 고정자 제조 방법 및 고정자 제조 장치 |
| US20250239904A1 (en) * | 2024-01-18 | 2025-07-24 | Flowserve Pte. Ltd. | Coil assembly of an integrated motor pump or turbine having reduced thermal stress at cryogenic temperatures |
Family Cites Families (14)
| Publication number | Priority date | Publication date | Assignee | Title |
|---|---|---|---|---|
| JPS60170446A (ja) * | 1984-02-13 | 1985-09-03 | Mitsubishi Electric Corp | 複合巻線装置 |
| JPS60245452A (ja) * | 1984-05-21 | 1985-12-05 | Mitsubishi Electric Corp | 回転電機の固定子複合巻線装置 |
| US5186405A (en) * | 1990-09-27 | 1993-02-16 | Globe Products Inc. | Programmable lead pull method and apparatus for use with a stator winding machine |
| US5370324A (en) * | 1990-09-25 | 1994-12-06 | Globe Products Inc. | Stator winding method and apparatus |
| US5363546A (en) * | 1992-02-03 | 1994-11-15 | General Electric Company | Apparatus for making armatures for electrodynamic machines |
| JPH0833290A (ja) * | 1994-07-14 | 1996-02-02 | Toshiba Corp | スロット内絶縁体の挿入方法及び挿入装置 |
| WO1998039835A1 (en) * | 1997-02-24 | 1998-09-11 | Globe Products Inc. | Stator manufacturing method and apparatus |
| JPH11289723A (ja) * | 1998-04-03 | 1999-10-19 | Hitachi Ltd | 回転電機の固定子の製造装置及び製造方法 |
| JP4040784B2 (ja) | 1999-02-26 | 2008-01-30 | 日特エンジニアリング株式会社 | 巻線装置 |
| WO2001080406A1 (en) * | 2000-04-13 | 2001-10-25 | Globe Products Inc. | Stator winding and coil lead termination method and apparatus |
| US6732971B2 (en) * | 2000-07-13 | 2004-05-11 | Axis U.S.A., Inc. | Apparatus and methods for winding and transferring dynamoelectric machine stators |
| JP2002136069A (ja) * | 2000-10-17 | 2002-05-10 | Besutec:Kk | 巻線機のワーク保持治具、ワーク入替装置 |
| JP3798968B2 (ja) * | 2001-11-08 | 2006-07-19 | 三菱電機株式会社 | 回転電機の固定子の製造方法 |
| EP1528657B1 (en) * | 2002-08-08 | 2015-02-11 | Aisin Aw Co., Ltd. | Coil forming method and coil forming device |
-
2003
- 2003-09-24 JP JP2003332333A patent/JP2005102402A/ja not_active Withdrawn
-
2004
- 2004-09-21 WO PCT/JP2004/013729 patent/WO2005029682A1/ja not_active Ceased
- 2004-09-21 DE DE112004000904T patent/DE112004000904T5/de not_active Withdrawn
- 2004-09-21 US US10/560,775 patent/US7380335B2/en not_active Expired - Fee Related
- 2004-09-21 CN CNB2004800141610A patent/CN100463335C/zh not_active Expired - Fee Related
Cited By (3)
| Publication number | Priority date | Publication date | Assignee | Title |
|---|---|---|---|---|
| JP2015126661A (ja) * | 2013-12-27 | 2015-07-06 | ファナック株式会社 | 集中巻ステータの巻線挿入方法および巻線挿入機 |
| KR20230054524A (ko) * | 2021-10-15 | 2023-04-25 | 주식회사 야호텍 | 블레이드의 위치가 조정된 인서트 툴 |
| KR102664482B1 (ko) | 2021-10-15 | 2024-05-14 | 주식회사 야호텍 | 블레이드의 위치가 조정된 인서트 툴 |
Also Published As
| Publication number | Publication date |
|---|---|
| CN1795601A (zh) | 2006-06-28 |
| US20070101569A1 (en) | 2007-05-10 |
| US7380335B2 (en) | 2008-06-03 |
| CN100463335C (zh) | 2009-02-18 |
| WO2005029682A1 (ja) | 2005-03-31 |
| DE112004000904T5 (de) | 2006-10-19 |
Similar Documents
| Publication | Publication Date | Title |
|---|---|---|
| CN1465128B (zh) | 电动机的制造方法 | |
| KR101078489B1 (ko) | 코일 형성 장치 및 코일 형성 방법 | |
| JP2005102402A (ja) | ステータ製造装置 | |
| US11682939B2 (en) | Method for producing slot insulators for winding slots of a component of an electrical machine | |
| JP7158481B2 (ja) | 発電機の連続的なバー状の巻き線を形成するための加工法 | |
| CN100369363C (zh) | 制造电动机械定子或转子用的波形绕组的方法和设备 | |
| CN100471011C (zh) | 电机的制造方法 | |
| CN100413185C (zh) | 线圈形成插入装置以及线圈形成插入方法 | |
| JPH06303748A (ja) | 波形状巻線製造方法および波形状巻線製造装置 | |
| JP2003158860A (ja) | コイル移載装置 | |
| JP4461833B2 (ja) | コイル形成装置 | |
| US6565032B1 (en) | Winding method and apparatus of armature | |
| JP4259066B2 (ja) | モータの製造方法 | |
| JP4461832B2 (ja) | コイル形成装置 | |
| JP2006054967A (ja) | コイル巻線方法 | |
| US6343762B1 (en) | Winders for electric motor armatures | |
| JP2005012153A (ja) | コイル形成装置 | |
| JP2005051983A (ja) | コイル形成装置及びコイル形成方法 | |
| JP2005012985A (ja) | コイル形成装置 | |
| JP2007143369A (ja) | ステータ製造装置 | |
| JP2000262022A (ja) | 電気子の巻線方法 |
Legal Events
| Date | Code | Title | Description |
|---|---|---|---|
| A621 | Written request for application examination |
Free format text: JAPANESE INTERMEDIATE CODE: A621 Effective date: 20060906 |
|
| A761 | Written withdrawal of application |
Free format text: JAPANESE INTERMEDIATE CODE: A761 Effective date: 20090610 |