JP2004359255A - 折り畳み容易な口栓付き軟包装袋 - Google Patents
折り畳み容易な口栓付き軟包装袋 Download PDFInfo
- Publication number
- JP2004359255A JP2004359255A JP2003156617A JP2003156617A JP2004359255A JP 2004359255 A JP2004359255 A JP 2004359255A JP 2003156617 A JP2003156617 A JP 2003156617A JP 2003156617 A JP2003156617 A JP 2003156617A JP 2004359255 A JP2004359255 A JP 2004359255A
- Authority
- JP
- Japan
- Prior art keywords
- bag
- folding
- bag body
- main body
- soft packaging
- Prior art date
- Legal status (The legal status is an assumption and is not a legal conclusion. Google has not performed a legal analysis and makes no representation as to the accuracy of the status listed.)
- Pending
Links
- 238000004806 packaging method and process Methods 0.000 title claims abstract description 14
- 238000003466 welding Methods 0.000 claims abstract description 15
- 238000005452 bending Methods 0.000 claims description 17
- 239000000463 material Substances 0.000 claims description 5
- 238000000034 method Methods 0.000 abstract description 14
- 239000005022 packaging material Substances 0.000 abstract description 4
- 230000002708 enhancing effect Effects 0.000 abstract 1
- 238000011084 recovery Methods 0.000 abstract 1
- 238000005476 soldering Methods 0.000 abstract 1
- 238000009459 flexible packaging Methods 0.000 description 14
- 230000000694 effects Effects 0.000 description 3
- 239000002985 plastic film Substances 0.000 description 3
- 229920006255 plastic film Polymers 0.000 description 3
- 239000011888 foil Substances 0.000 description 2
- 239000007788 liquid Substances 0.000 description 2
- -1 polyethylene Polymers 0.000 description 2
- 239000004698 Polyethylene Substances 0.000 description 1
- 239000004743 Polypropylene Substances 0.000 description 1
- 150000001336 alkenes Chemical class 0.000 description 1
- 229910052782 aluminium Inorganic materials 0.000 description 1
- XAGFODPZIPBFFR-UHFFFAOYSA-N aluminium Chemical compound [Al] XAGFODPZIPBFFR-UHFFFAOYSA-N 0.000 description 1
- 239000003086 colorant Substances 0.000 description 1
- 239000002537 cosmetic Substances 0.000 description 1
- 239000003599 detergent Substances 0.000 description 1
- 238000010586 diagram Methods 0.000 description 1
- 239000008157 edible vegetable oil Substances 0.000 description 1
- 239000012530 fluid Substances 0.000 description 1
- 238000010030 laminating Methods 0.000 description 1
- 229910052751 metal Inorganic materials 0.000 description 1
- 239000002184 metal Substances 0.000 description 1
- 238000000465 moulding Methods 0.000 description 1
- JRZJOMJEPLMPRA-UHFFFAOYSA-N olefin Natural products CCCCCCCC=C JRZJOMJEPLMPRA-UHFFFAOYSA-N 0.000 description 1
- 239000006072 paste Substances 0.000 description 1
- 229920000728 polyester Polymers 0.000 description 1
- 229920000573 polyethylene Polymers 0.000 description 1
- 229920001155 polypropylene Polymers 0.000 description 1
- 238000007639 printing Methods 0.000 description 1
- 238000004064 recycling Methods 0.000 description 1
- 230000001172 regenerating effect Effects 0.000 description 1
- 238000007789 sealing Methods 0.000 description 1
- 239000000344 soap Substances 0.000 description 1
- 230000000007 visual effect Effects 0.000 description 1
Images
Landscapes
- Bag Frames (AREA)
Abstract
【解決手段】上側縁辺,下側縁辺および左右両側の縁辺を溶着代として製袋された扁平状に押し潰し可能な軟包材からなる袋本体とその一端側に取付けられた注ぎ出し用口栓部材とからなる口栓付き軟包装袋において、使用後の空になった袋本体を折り畳む際の折り曲げ位置を示す縦方向及び/又は横方向の折り曲げ予定線を袋本体の表面に印刷表示すると共に、袋本体の折り畳み形状を保持するための係止手段を袋本体の溶着代に形設している。所望により上記折り曲げ予定線の折り曲げ順序が袋本体に印刷表示される。使用後の廃棄に際して面サイズを小さくコンパクト化することができ回収作業が容易化し回収効率が高められる。
【選択図】図1
Description
【発明の属する技術分野】
本発明は、口栓付き軟包装袋に係り、特に使用後の廃棄・回収処理効率を高めるために、袋本体の容積及び面サイズを可及的に小さくすると共にコンパクトな形態を保持し得るようにしたものである。
【0002】
【従来の技術】
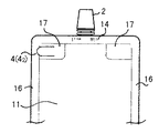
軟質易変形性の袋本体に注ぎ出し用の口栓を設けた口栓付き軟包装袋は、液状洗剤,浴用液状石鹸,液状もしくはペースト状化粧料,食用油等、各種流動状物の包装に広く使用されている。図8は口栓付き軟包装袋の例(内容物が充填される前の扁平形態)を示している。袋本体(1)は、前・後面(11)(12)及び側面(13)(13)の各フィルムを重ね、上下の縁辺(14)(15)、左右の縁辺(16)(16)及び上辺の左右の肩部(17)(17)を溶着代としてシールすることにより製袋される。口栓部材(2)は溶着前の前・後面(11)(12)のフィルム上側縁辺に挟み込まれ溶着により袋本体(1)に一体的に取付けられている。
【0003】
上記軟包装袋の袋本体(1)は、側面(13)(13)のフィルムが内向きに屈曲して折り畳まれた扁平形状を呈する所謂ガセット袋であり、内容物が充填されると、図9に示すように膨出して立体形状となる。また、内容物が消費されて空になった袋本体は、前後面(11)(12)を押し潰せば、元の扁平状態となる。
【0004】
【発明が解決しようとする課題】
この種の軟包装袋の用途は多方面に亘り消費量は膨大であることから、使用後の廃棄に際して、資源として再生し又はゴミとして焼却処理するための回収効率が重要視されている。上記袋本体(1)は、内容物が消費されて空になると、嵩張りの少ない扁平形状になるという利点を有するが、扁平形状になっても、面サイズはほぼ元のままである。回収処理効率をより一層高めるには、廃棄される際の厚みを薄くすると同時に、その面サイズをできるだけ小さくコンパクト化することが望まれる。
【0005】
使用後の包装材を小さくする方案として、容器の向い合う2つの側壁に、互に嵌合し得る凹凸を設けておき、空になった状態で凹凸同士を嵌合して扁平状態を保持するようにしたもの(特開平7−101442号公報)、あるいは容器の側面形状を略三角形状に成形すると共に、側壁と底壁とに折れ線を設けておき、折れ線部に沿って扁平形状に押し潰すようにしたもの(特開2001−72030号公報)等が提案されている。これらの方案は、使用後の容器を扁平化して薄くするだけであるから、面サイズを小さくコンパクト化するという効果を得ることはできない。
【0006】
本発明は上記に鑑み、口栓付き軟包装袋について、使用後の廃棄に際して、回収効率をより一層高めるための厚み及び面サイズを可及的に小さくコンパクト化し得るようにした口栓付き軟包装袋を提供するものである。
【0007】
【課題を解決するための手段】
本発明は、上側縁辺,下側縁辺および左右両側の縁辺を溶着代として製袋された扁平状に押し潰し可能な軟包材からなる袋本体とその一端側に取付けられた注ぎ出し用口栓部材とからなる口栓付き軟包装袋において、
使用後の空になった袋本体を折り畳む際の折り曲げ位置を示す縦方向及び/又は横方向の折り曲げ予定線、および袋本体の折り畳み形状を保持するための係止手段を袋本体の溶着代に形設したことを特徴としている。
上記軟包装袋は、所望により袋本体の折り曲げ位置を示す縦方向及び/又は横方向の折り曲げ予定線の折り曲げ順序が袋本体の表面に印刷表示される。
【0008】
【発明の実施の形態】
以下、本発明について図面を参照して具体的に説明する。
図1[a][b]は、本発明の口栓付き軟包装袋の実施例を示している(a図:前面,b図:後面)。この口栓付き軟包装袋は、同図[a]に示すように、袋本体(1)の前面(11)の略中央位置に横方向の折り曲げ予定線(31)が表示されている一方、同図[b]に示すように後面(12)には、下半部の面域を略3等分する縦方向の折り曲げ予定線(32)(33)が表示されている。これらの折り曲げ予定線(3)(31,32,33)のそれぞれの近傍に付された「▲1▼」「▲2▼」「▲3▼」の各数字は折り曲げを行なう順序を表示している。
【0009】
また袋本体(1)は、その肩部に位置する左右の溶着代(17)の一方に係止手段(4)が設けられている。この係止手段(4)は、溶着代(17)の外縁に開口する切込み線であり、この例ではミシン目線(41)として形成されている。係止手段(4)は左右の溶着代(17)のそれぞれに設けてもよい。
【0010】
上記口栓付き軟包装袋は、袋本体(1)の内容物の全量が消費されて空になると、前・後面(11)(12)の両側から押し潰されて扁平形状にされたうえ、折り曲げ予定線(3)(31,32,33)に沿って折り畳まれる。
図3〜図5にその折り畳み手順を示す。袋本体(1)に印刷表示されている折り曲げ予定線の折り曲げ順序に従って、先ず前面(11)の横向きの折り曲げ線(31)(図1[a])を谷折りして、図3に示すように袋本体(1)の下半部(B)をその上半部(A)の上に折り重ねる。
【0011】
下半部(B)を上半部(A)の上に折り重ねると、折り曲げ予定線(32)(33)が表示された後面(12)が現れる(図3)。その後面(12)の表示に従って、先ず折り曲げ予定線(32)を谷折りして、図4のように片側部(C)を中央面域(E)に折り畳む。ついで、折り曲げ予定線(33)(図3)を谷折りして、図5に示すように他方の片側部(D)を折り重ねる。片側部(D)を折り重ねる際に、片側部(D)の端縁(e)を切込み線(4)に差し込む。上記手順により袋本体(1)の折り畳みによるコンパクト化を完成する。
【0012】
上記のように折り畳まれた袋本体(1)は、端縁(e)を係止手段である切込み線(4)に差し込んだことによる係止効果として、折り畳み形状の崩れ(袋本体の弾性復帰力による型崩れ)が抑制防止され、コンパクトな折り畳み形状が保持される。またこの例では3本の折り曲げ予定線(31)(32)(33)による3回の折り重ねにより、袋本体(1)の面サイズは当初の約1/6に減縮される。
【0013】
上記説明では、袋本体(1)の面域を2分する横方向の折り曲げ予定線(31)及びその折り畳み後の面域を3分する縦方向の折り曲げ予定線(32)(33)に沿って折り畳むこととしているが、これは一例であり、折り曲げ予定線(3)の表示位置、横方向又は縦方向の折り畳み回数等は、袋本体(1)のサイズやその包装材の材種等に応じて適宜設定される。
【0014】
また、袋本体(1)の表面に施される折り曲げ予定線(3)の表示形態は、図1に示した線(鎖線,点線,実線等)に限定されない。例えば、前記図1[a]の鎖線で示した横方向の折り曲げ線(31)の表示方法として、図2[a]のように、上半部面域(A)と下半部面域(B)とに異なる色又は模様等を印刷すれば、その視覚効果として、隣合う面域の境界を折り曲げ予定線(31)として表示することができる。同じように、図1[b]の鎖線で示した折り曲げ予定線(32)(32)についても、3つの面域に互いに異なる色又は模様等を印刷することにより、面域の境界を折り曲げ予定線(32)(32)として表示することができる。
【0015】
更に、袋本体(1)を折り畳んだ後の折り畳み形態を維持するための係止手段(4)として、前記図示の例では、溶着代(17)に切込み線(41)を形設しているが、これに代えて例えば図7に示すように、溶着代(17)の面内に型押し成形によりU字形状のスリットからなる舌状片(42)が形成される。舌状片(42)は溶着代(17)の面内から折り起され、折り起された舌状片(42)の内側に、折り畳まれた袋本体(1)の端縁(e)を差し込むことにより折り畳み形態を保持することができる。
【0016】
なお、上記の折り畳み操作を容易に行なうための付加的表示として、例えば図6のように、折り畳まれたときの形態を示す適当なイラスト(7)を袋本体(1)の表面の適宜個所に印刷表示することも有効である。そのほか、使用者の便宜のために、折り畳み操作手順についての説明書きを、必要に応じて袋本体(1)の適宜面域に印刷表示してよい。
【0017】
袋本体(1)のガセット形態として、前記図示の例では、前・後面(11)(12)及び側面(13)(13)の各フィルムを重ね、縁辺(14)(15)(16)及び肩部(17)(17)を溶着(シール)して製袋される形態(図8)を示したが、ガゼット袋の形態はこれに限定されず、例えば前・後面のフィルムと底面フィルムとを使用し、底面フィルムを内向きに折り曲げて、上下縁片および両側の縁辺を溶着代として製袋されるもの等、内容物を充填すると膨出した立体形状を呈し、内容物が消費されて空の状態になると、扁平形状に押し潰すことができる各種構造の軟包装袋を包含している。
【0018】
また、袋本体(1)を形成するフィルム材種は、ポリエチレン,ポリプロピレン等のオレフィン系プラスチックフィルム、ポリエステル系プラスチックフィルム等、及びこれらのプラスチックフィルムと金属箔(アルミ箔等)とが積層されたラミネート材等が例示されるが、押し潰しにより容易に扁平化し得る軟質包装材からなるものであればよい。
【0019】
【発明の効果】
本発明の口栓付き軟包装袋は、使用後の廃棄に際して、袋本体が扁平化されると共に、その面サイズを小さくし、コンパクトで取り扱いの容易な形態にすることができ、単なる扁平形状として処理される場合に比し、資源としての再生処理又はゴミとしての焼却処理の効率を大きく高めることができる。また、本発明によれば、袋本体に、折り曲げ予定線及び折り曲げ手順等を印刷表示すると共に切込み線等の係止手段を設けるだけでよく、製袋ラインにおける工程の付加や変更を要しないので、既設のラインでの実施が容易であり、実用性に富むものである。
【図面の簡単な説明】
【図1】本発明の口栓付き軟包装袋の実施例を示す平面図(a図:前側面,b図:後側面)である。
【図2】本発明の口栓付き軟包装袋の他の実施例を示す平面図(a図:前側面,b図:後側面)である。
【図3】本発明の口栓付き軟包装袋の使用後における折り畳み要領の例を示す正面図である。
【図4】本発明の口栓付き軟包装袋の使用後における折り畳み要領の例を示す正面図である。
【図5】本発明の口栓付き軟包装袋の使用後における折り畳み要領の例を示す正面図である。
【図6】本発明の口栓付き軟包装袋の他の実施例を示す平面図である。
【図7】本発明の口栓付き軟包装袋の他の実施例を示す要部平面図である。
【図8】口栓付き軟包装袋の使用前(又は使用後)の空の状態における扁平形状の例を示す図(a図:外観斜視図,b図:X−X矢符断面図)である。
【図9】図8の口栓付き軟包装袋に内容物が充填された状態を示す外観斜視図である。
【符号の説明】
1:袋本体
14,15,16,17:製袋溶着代(シール部)
2:口栓部材
3(31,32,33):折り曲げ予定線
4(41,42):係止手段
7:イラスト表示
Claims (2)
- 上側縁辺,下側縁辺および左右両側の縁辺を溶着代として製袋された扁平状に押し潰し可能な軟包材からなる袋本体とその一端側に取付けられた注ぎ出し用口栓部材とからなる口栓付き軟包装袋において、
使用後の空になった袋本体を折り畳む際の折り曲げ位置を示す縦方向及び/又は横方向の折り曲げ予定線を袋本体の表面に印刷表示すると共に、袋本体の折り畳み形状を保持するための係止手段を袋本体の溶着代に形設したことを特徴とする折り畳み容易な口栓付き軟包装袋。 - 袋本体の折り曲げ位置を示す縦方向及び/又は横方向の各折り曲げ予定線の折り曲げ順序を袋本体の表面に印刷表示したことを特徴とする請求項1に記載の折り畳み容易な口栓付き軟包装袋。
Priority Applications (1)
| Application Number | Priority Date | Filing Date | Title |
|---|---|---|---|
| JP2003156617A JP2004359255A (ja) | 2003-06-02 | 2003-06-02 | 折り畳み容易な口栓付き軟包装袋 |
Applications Claiming Priority (1)
| Application Number | Priority Date | Filing Date | Title |
|---|---|---|---|
| JP2003156617A JP2004359255A (ja) | 2003-06-02 | 2003-06-02 | 折り畳み容易な口栓付き軟包装袋 |
Publications (1)
| Publication Number | Publication Date |
|---|---|
| JP2004359255A true JP2004359255A (ja) | 2004-12-24 |
Family
ID=34050652
Family Applications (1)
| Application Number | Title | Priority Date | Filing Date |
|---|---|---|---|
| JP2003156617A Pending JP2004359255A (ja) | 2003-06-02 | 2003-06-02 | 折り畳み容易な口栓付き軟包装袋 |
Country Status (1)
| Country | Link |
|---|---|
| JP (1) | JP2004359255A (ja) |
Cited By (8)
| Publication number | Priority date | Publication date | Assignee | Title |
|---|---|---|---|---|
| JP2006240131A (ja) * | 2005-03-04 | 2006-09-14 | Brother Ind Ltd | インク収容パック及びインクカートリッジ |
| WO2006005349A3 (en) * | 2004-07-14 | 2006-10-26 | Coloplast As | A compact bag |
| JP2007168204A (ja) * | 2005-12-21 | 2007-07-05 | Fuji Seal International Inc | ラベル付きパウチの製造方法、及びラベル付きパウチ |
| JP2012016444A (ja) * | 2010-07-07 | 2012-01-26 | Livedo Corporation | 男性用尿吸収物品 |
| JP2016120944A (ja) * | 2014-12-25 | 2016-07-07 | 三笠産業株式会社 | 容器 |
| JP2017165470A (ja) * | 2016-03-17 | 2017-09-21 | 花王株式会社 | スパウト付パウチ容器 |
| JP2018523614A (ja) * | 2015-08-21 | 2018-08-23 | エス.シー. ジョンソン アンド サン、インコーポレイテッド | 直立プラスチック製保存袋 |
| JP2020083363A (ja) * | 2018-11-21 | 2020-06-04 | 大日本印刷株式会社 | 液体収納容器、容器組立体、液体収納容器の折り畳み方法、容器組合体の製造方法、及び、液体充填済み容器組合体の製造方法 |
-
2003
- 2003-06-02 JP JP2003156617A patent/JP2004359255A/ja active Pending
Cited By (19)
| Publication number | Priority date | Publication date | Assignee | Title |
|---|---|---|---|---|
| WO2006005349A3 (en) * | 2004-07-14 | 2006-10-26 | Coloplast As | A compact bag |
| EP2275058A1 (en) * | 2004-07-14 | 2011-01-19 | Coloplast A/S | A compact bag |
| US8852171B2 (en) | 2004-07-14 | 2014-10-07 | Coloplast A/S | Compact bag |
| EP2275058B2 (en) † | 2004-07-14 | 2015-09-23 | Coloplast A/S | Catheter assembly with a compact bag |
| JP2006240131A (ja) * | 2005-03-04 | 2006-09-14 | Brother Ind Ltd | インク収容パック及びインクカートリッジ |
| US7926925B2 (en) | 2005-03-04 | 2011-04-19 | Brother Kogyo Kabushiki Kaisha | Ink pack having welded tap and ink cartridge |
| JP2007168204A (ja) * | 2005-12-21 | 2007-07-05 | Fuji Seal International Inc | ラベル付きパウチの製造方法、及びラベル付きパウチ |
| JP2012016444A (ja) * | 2010-07-07 | 2012-01-26 | Livedo Corporation | 男性用尿吸収物品 |
| JP2016120944A (ja) * | 2014-12-25 | 2016-07-07 | 三笠産業株式会社 | 容器 |
| JP2018523614A (ja) * | 2015-08-21 | 2018-08-23 | エス.シー. ジョンソン アンド サン、インコーポレイテッド | 直立プラスチック製保存袋 |
| JP2021176785A (ja) * | 2015-08-21 | 2021-11-11 | エス.シー. ジョンソン アンド サン、インコーポレイテッド | 直立プラスチック製保存袋 |
| JP2021176786A (ja) * | 2015-08-21 | 2021-11-11 | エス.シー. ジョンソン アンド サン、インコーポレイテッド | 直立プラスチック製保存袋 |
| JP7235812B2 (ja) | 2015-08-21 | 2023-03-08 | エス.シー. ジョンソン アンド サン、インコーポレイテッド | 直立プラスチック製保存袋 |
| JP7327764B2 (ja) | 2015-08-21 | 2023-08-16 | エス.シー. ジョンソン アンド サン、インコーポレイテッド | 直立プラスチック製保存袋 |
| JP2023145598A (ja) * | 2015-08-21 | 2023-10-11 | エス.シー. ジョンソン アンド サン、インコーポレイテッド | 直立プラスチック製保存袋 |
| JP7623092B2 (ja) | 2015-08-21 | 2025-01-28 | エス.シー. ジョンソン アンド サン、インコーポレイテッド | 直立プラスチック製保存袋 |
| JP2017165470A (ja) * | 2016-03-17 | 2017-09-21 | 花王株式会社 | スパウト付パウチ容器 |
| JP2020083363A (ja) * | 2018-11-21 | 2020-06-04 | 大日本印刷株式会社 | 液体収納容器、容器組立体、液体収納容器の折り畳み方法、容器組合体の製造方法、及び、液体充填済み容器組合体の製造方法 |
| JP7286954B2 (ja) | 2018-11-21 | 2023-06-06 | 大日本印刷株式会社 | 液体収納容器、容器組立体、液体収納容器の折り畳み方法、容器組合体の製造方法、及び、液体充填済み容器組合体の製造方法 |
Similar Documents
| Publication | Publication Date | Title |
|---|---|---|
| JP3336878B2 (ja) | ガゼット袋 | |
| JP2004359255A (ja) | 折り畳み容易な口栓付き軟包装袋 | |
| JPH05330561A (ja) | 瓶代替用の簡易容器 | |
| JP4015592B2 (ja) | 包装容器 | |
| JP2009090987A (ja) | 自立性包装袋 | |
| JP3422093B2 (ja) | 簡易自立袋 | |
| JP3745021B2 (ja) | 詰め替え容易な液体注出容器 | |
| JP6060435B2 (ja) | パウチ包装体の製造方法及びパウチ包装体並びにパウチ容器 | |
| JP2012176782A (ja) | パウチ容器 | |
| JP3077751B2 (ja) | 詰め替え袋 | |
| JP3743205B2 (ja) | 液体包装容器 | |
| JP2003137318A (ja) | 詰め替え用包装袋 | |
| JP6175639B2 (ja) | パウチ包装体及びパウチ容器 | |
| JP2005298006A (ja) | 詰め替え用包装袋 | |
| JP2000177749A (ja) | 詰め替え用パウチ | |
| JPH11314644A (ja) | 口栓付き簡易自立袋 | |
| JP2003040292A (ja) | すすぎ口機能を有する包装袋 | |
| JPH11310276A (ja) | 液体用包装容器 | |
| JP2002274549A (ja) | 液体・流動体用軟包装袋 | |
| JP2002128094A (ja) | 自立袋 | |
| JP4182591B2 (ja) | 内容物取出し容易な容器 | |
| KR200369241Y1 (ko) | 파우치의 개봉구조 | |
| JP2002179100A (ja) | 内容物充填用スタンディングパウチ及び内容物充填用スタンディングパウチの注出方法 | |
| JP2004136938A (ja) | 包装袋 | |
| JP6983555B2 (ja) | ガセット容器 |
Legal Events
| Date | Code | Title | Description |
|---|---|---|---|
| A621 | Written request for application examination |
Free format text: JAPANESE INTERMEDIATE CODE: A621 Effective date: 20060601 |
|
| RD03 | Notification of appointment of power of attorney |
Free format text: JAPANESE INTERMEDIATE CODE: A7423 Effective date: 20070802 |
|
| RD04 | Notification of resignation of power of attorney |
Free format text: JAPANESE INTERMEDIATE CODE: A7424 Effective date: 20070813 |
|
| A977 | Report on retrieval |
Free format text: JAPANESE INTERMEDIATE CODE: A971007 Effective date: 20080930 |
|
| A131 | Notification of reasons for refusal |
Free format text: JAPANESE INTERMEDIATE CODE: A131 Effective date: 20081007 |
|
| A02 | Decision of refusal |
Free format text: JAPANESE INTERMEDIATE CODE: A02 Effective date: 20090623 |