JP2004349371A - 電子部品ホルダー - Google Patents
電子部品ホルダー Download PDFInfo
- Publication number
- JP2004349371A JP2004349371A JP2003143045A JP2003143045A JP2004349371A JP 2004349371 A JP2004349371 A JP 2004349371A JP 2003143045 A JP2003143045 A JP 2003143045A JP 2003143045 A JP2003143045 A JP 2003143045A JP 2004349371 A JP2004349371 A JP 2004349371A
- Authority
- JP
- Japan
- Prior art keywords
- holder
- electronic component
- lead frame
- cover member
- main body
- Prior art date
- Legal status (The legal status is an assumption and is not a legal conclusion. Google has not performed a legal analysis and makes no representation as to the accuracy of the status listed.)
- Pending
Links
Images
Landscapes
- Structures For Mounting Electric Components On Printed Circuit Boards (AREA)
Abstract
【課題】別工程によるリードフレームのフォーミング加工を省略することができる電子部品ホルダーを提供する。
【解決手段】ホルダー本体4とカバー部材5とをヒンジ6を介して一体的に形成する。ホルダー本体4により、プリント配線基板1から所定の高さにLED2を保持する。カバー部材5により、LED2のリードフレーム2aの中間部を係合する。カバー部材5をヒンジ6の周りに回動させることにより、リードフレーム2aをフォーミング加工可能とする。カバー部材5をホルダー本体4に嵌着することにより、フォーミング加工後のリードフレーム2aを保持する。
【選択図】 図1
【解決手段】ホルダー本体4とカバー部材5とをヒンジ6を介して一体的に形成する。ホルダー本体4により、プリント配線基板1から所定の高さにLED2を保持する。カバー部材5により、LED2のリードフレーム2aの中間部を係合する。カバー部材5をヒンジ6の周りに回動させることにより、リードフレーム2aをフォーミング加工可能とする。カバー部材5をホルダー本体4に嵌着することにより、フォーミング加工後のリードフレーム2aを保持する。
【選択図】 図1
Description
【0001】
【発明の属する技術分野】
本発明は、プリント配線基板にLEDなどの電子部品を実装するために電子部品を保持する電子部品ホルダーに関するものである。
【0002】
【従来の技術】
一般に、プリント配線基板に実装されるLEDなどの電子部品は、電子部品ホルダーによってプリント配線基板から所定の高さおよび位置に保持されると共に、リードフレームにフォーミング加工が施されてプリント配線に接続されている。
【0003】
図6に電子部品ホルダーの一例を示す。この電子部品ホルダーは、プリント配線基板101に装着されるホルダー本体102と、ホルダー本体102の上面に嵌着されるカバー部材103とからなり、両者間に電子部品(LED)104のリードフレーム105の基部を介在させることにより、電子部品104を所定の高さおよび位置に保持するようになっている。
【0004】
ホルダー本体102には、リードフレーム105の中間部を保持するリード保持穴106が形成されている。リード保持穴106は、その中心軸をプリント配線基板101の板面に垂直な方向と平行に設定され、挿入されたリードフレーム105をプリント配線基板101のリード取付孔107に合うように位置決めする。
【0005】
電子部品104を保持しつつリードフレーム105をリード保持穴106に挿入可能にするため、リードフレーム105にフォーミング加工が施される。このフォーミング加工は、あらかじめ専用の治具などを用いて行われていた。
【0006】
また、特許文献1に、別の電子部品ホルダーが開示されている。図7(a)は電子部品ホルダーの斜視図、図7(b)はプリント配線基板に装着された電子部品ホルダーの断面図である。
【0007】
この電子部品ホルダーは、電子部品108のリードフレーム109の直径の2倍以上の幅を有する腕部110を、ホルダー本体111の両側に形成し、この腕部110の先端にリードフレーム109を把む把持部112を設けるとともに、ホルダー本体111の中央の、腕部110と反対側に、プリント配線基板113のホルダー取付孔114に挿通して固定する脚部115を設けてなるもので、電子部品108のリードフレーム109をホルダー本体111の方向に折り曲げた後、リードフレーム109はプリント配線基板113の電子部品取付孔116に、脚部115はホルダー取付孔114にそれぞれ挿入し、リードフレーム109と配線回路とをはんだ117で接続している。
【0008】
【特許文献1】
特開昭61−59796号公報(第2頁左下欄第5行−第18行、第2図、第3図)
【0009】
【発明が解決しようとする課題】
ところが、図6に示す電子部品ホルダーでは、あらかじめ専用の治具を用いた別工程のフォーミング加工をする必要がある。リードフレームをリード保持穴に挿入して、カバー部材をホルダー本体に嵌着させることにより、リードフレームの基部を押さえつけてフォーミング加工することができるが、このようにすると、リードフレームの基部の位置があらかじめ定まっていないため、電子部品の位置ずれを生じさせるおそれがある。また、フォーミング加工時にリードフレームの根元に負荷がかかって、電子部品に不具合を生じさせたりするおそれがある。
【0010】
また、図7に示す電子部品ホルダーでは、例え、装着前に折り曲げたとしても、リードフレームの下端の位置が定まらず、ホルダー本体の脚部とリードフレームとを同時にプリント配線基板に装着するのが難しくなる。
【0011】
本発明は、電子部品を所定の高さおよび位置に保持すると共に、リードフレームを位置決めでき、かつ、リードフレームの根元に負荷をかけることなく、専用の治具を要する別工程のフォーミング加工を省略することができる電子部品ホルダーを提供することを目的とする。
【0012】
【課題を解決するための手段】
上記目的を達成するため、本発明は、プリント配線基板から所定の高さに電子部品を実装するための構造を前提として、リードフレームを位置決めするための機能と、リードフレームの根元に負荷をかけることなくフォーミング加工可能な治具としての機能とを備えた電子部品ホルダーを提供するものである。
【0013】
電子部品およびそのリードフレームの基部を所定の高さに保持するホルダー本体と、電子部品のリードフレームの中間部を係合してホルダー本体に嵌着されるカバー部材とを備える。カバー部材にリードフレームを係合して、そのカバー部材をホルダー本体に嵌着することにより、リードフレームをフォーミング加工可能とする。
【0014】
この構成によれば、リードフレームの基部をホルダー本体で保持しておき、リードフレームをフォーミング加工するので、リードフレームの根元に負荷がかからないようにすることができる。リードフレームを係合したカバー部材をホルダー本体に嵌着することにより、リードフレームをフォーミング加工することができる。カバー部材の嵌着後は、リードフレームの中間部を保持して位置決めすることができる。
【0015】
カバー部材とホルダー本体とをヒンジを介して一体的に形成し、カバー部材をヒンジの周りに回動させることにより、ホルダー本体に嵌着可能とする。そうすれば、リードフレームのフォーミング加工を伴うカバー部材の嵌着を簡単にすることができる。
【0016】
ホルダー本体を複数の電子部品を保持可能に形成し、このカバー部材をホルダー本体に嵌着することにより、複数の電子部品のリードフレームを同時にフォーミング加工可能とする。そうすれば、プリント配線基板に複数の電子部品を実装するとき、そのリードフレームのフォーミング加工を簡単にすることができる。
【0017】
ホルダー本体のリードフレームの基部を保持する保持部に、リードフレームの位置ずれを防止する位置ずれ防止手段を設ければ、リードフレームをフォーミング加工するときの位置ずれを防止して、電子部品を所定の位置に保持することができる。
【0018】
位置ずれ防止手段としては、リードフレームを挿入可能な挿入穴又は挿入溝で保持部を構成し、この保持部を屈曲状に形成してリードフレームを屈曲させる構成を例示できる。なお、他の構成としては、ホルダー本体との間にリードフレームを挟持する挟持部材を設けて、ホルダー本体とリードフレームとの摩擦によりリードフレームの位置ずれを防止する構造を例示できる。
【0019】
カバー部材に、ホルダー本体に嵌着するためのカバー用係合爪を設ければ、カバー部材のホルダー本体への嵌着を簡単かつ確実にすることができる。
【0020】
ホルダー本体を、前記電子部品とは別の第二電子部品を保持可能とすれば、例えばLEDとリードスイッチとを組み合わせて、プリント配線基板に実装することができ好適である。この場合、カバー部材に、ホルダー本体の座部との間に第二電子部品のリードを挟み込むための突起を形成すれば、ホルダー本体にカバー部材を嵌着することにより、電子部品のリードフレームをフォーミング加工すると共に第二電子部品のリードを固定することができる。
【0021】
【発明の実施の形態】
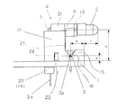
以下、本発明に係る電子部品ホルダーの実施の形態について、図面を用いて説明する。図1は本発明の電子部品ホルダーの斜視図(開状態)、図2はそのC−C断面図、図3は電子部品ホルダーの斜視図(閉状態)、図4はそのD−D断面図、図5はプリント配線基板に装着した電子部品ホルダーの側面図である。
【0022】
この電子部品ホルダーは、プリント配線基板1からの所定の高さおよび位置にLED(電子部品)2およびリードスイッチ(第二電子部品)3を実装するためのものであり、LED2およびリードスイッチ3を保持するホルダー本体4と、ホルダー本体4が保持するLED2のリードフレーム2aをフォーミング加工して保持するカバー部材5とを備えている。
【0023】
ホルダー本体4およびカバー部材5は、ヒンジ6を介して一体的に形成され、カバー部材5をヒンジ6の周りに回動させることにより、LED2を装着する開状態からリードフレーム2aを保持する閉状態に切り換え自在とされている。開状態から閉状態への切り換えにより、リードフレーム2aをフォーミング加工可能とされる。
【0024】
ホルダー本体4は、前板4a、後板4bおよび上板4cからなる断面略逆U形とされ、その上板4cの上面に、前方からLED2の二本のリードフレーム2aを挿入する二本の挿入溝7が形成されている。挿入溝7は、リードフレーム2aの基部を保持するようになっており、LED2を保持する保持部とされる。
【0025】
挿入溝7の溝壁は、両挿入溝7間に形成された内溝壁8と、内溝壁8の左右面に対向する二つの外溝壁9とからなり、挿入溝7に挿入されたリードフレーム2aの左右方向の移動を規制する。なお、内溝壁8の前方部分には、リードフレーム2aを挿入しやすくするためのテーパ10が形成されている。
【0026】
挿入溝7の深さは、ホルダー本体4の上板4cを貫通する深さに設定され、前板4aおよび後板4bの上端が、挿入溝7に挿入されたリードフレーム2aの下方への移動を規制する。なお、挿入溝7の後端である後板4bの上端には、リードフレーム2aの貫通を容易にするための面取り11が形成されている。
【0027】
左右の外溝壁9の前方部分を接続するように、挿入溝7の前部を跨ぐ前跨材12が設けられ、左右の外溝壁8の中央部分を接続するように、挿入溝7の中央付近を跨ぐ中跨材14が設けられている。この前跨材12および中跨材14により、リードフレーム2aの上方への移動が規制される。なお、前跨材12の左右方向における中央には、LED2を当てて位置決めするためのLED座13が突設されている。
【0028】
中跨材14は、その下面が挿入溝7に侵入する大きさに設定され、前板4a、後板4b、前跨材12および中跨材14により、挿入溝7に挿入されたリードフレーム2aを屈曲させる凹凸が構成される。この凹凸が、リードフレーム2aの位置ずれを防止する位置ずれ防止手段とされる。
【0029】
なお、リードフレーム2aの上方への移動を規制する前跨材12および中跨材14と、リードフレーム2aの下方への移動を規制する前板4aおよび後板4bとは、その前後方向の位置をずらして交互に形成され、上型および下型による成型が可能とされている。
【0030】
前板4aの下端には、前方に突出してリードスイッチ3を保持する第二保持部15が設けられている。第二保持部15には、リードスイッチ3のリード3aを配置するリード溝16が形成され、このリード溝16に、リード3aを下方に貫通させるリード貫通穴17が形成されている。これにより、リードスイッチ3を保持すると共に、リード3aをプリント配線基板1に接続可能とされる。
【0031】
ホルダー本体4の左右端は側板18で覆われ、この両側板18から下方に突出する脚部19に本体用係合爪20が形成されている。プリント配線基板1に形成されたホルダー取付孔(図示せず)に脚部19を挿入して本体用係合爪20を係合させることにより、電子部品ホルダーをプリント配線基板1に装着可能とされる。
【0032】
カバー部材5は、その左右方向およびこれに直交する方向の幅がホルダー本体4の前板4aおよび後板4bと等しい板状とされ、ホルダー本体4の後方に配されている。このカバー部材5は、開状態において、ホルダー本体4の上板4cと略同一平面に位置し、カバー部材5の前端と、ホルダー本体4の上板4cに突設されたヒンジ接続部21とが、薄板からなるヒンジ6を介して接続されている。ヒンジ6を屈曲させることにより、カバー部材5の下面とホルダー本体4の後板4bとが対向する閉状態に切換可能とされる。
【0033】
カバー部材5の下面には、リードフレーム2aを係合する二本のガイド溝22が形成されている。ガイド溝22は、開状態において、ホルダー本体4の挿入溝7の延長線上に位置し、挿入溝7を貫通したLED2のリードフレーム2aを侵入可能とされている。このガイド溝22は、フォーミング加工するときのリードフレーム2aの横ずれを阻止し、閉状態においては、ホルダー本体4の後板4bとの間にリードフレーム2aの中間部を保持する。
【0034】
カバー部材5の左右端には、カバー用係合爪24が形成され、このカバー用係合爪24をホルダー本体4の側板18に形成された切欠23に係合するにより、カバー部材5をホルダー本体4に嵌着可能とされる。カバー部材5の左右端付近には、閉状態において前板4aおよび後板4bを貫通する突起25が形成され、この突起25と、ホルダー本体4のリード溝(座部)16との間にリードスイッチ3のリード3aを挟み込むようになっている。
【0035】
次に、この電子部品ホルダーを用いてプリント配線基板1にLED2を実装する手順を説明する。まず、図1および図2に示す開状態において、LED2のリードフレーム2aをホルダー本体4の前方から挿入溝7に挿入し、LED2がLED座13に当たるまで、図1および図2における矢印Aの方向に押し込む。リードフレーム2aは、挿入溝7の凹凸によって屈曲しながら、面取り11に沿って挿入溝7を貫通し、ガイド溝22に侵入してカバー部材5に係合する。
【0036】
ヒンジ6を屈曲させながらカバー部材5を図2における矢印Bの方向に回動させて、図3および図4に示す閉状態に切り換えることにより、リードフレーム2aをカバー部材5のガイド溝22でガイドしながらフォーミング加工する。このとき、リードフレーム2aの基部は、挿入溝7の凹凸によって屈曲しており、矢印Aと逆方向へのLED2の位置ずれが防止される。
【0037】
カバー用係合爪24をホルダー本体4の切欠23に係合させてカバー部材5をホルダー本体4に嵌着させる。これにより、ホルダー本体4の後板4bおよびカバー部材5のガイド溝22が、リードフレーム2aの中間部を保持してプリント配線基板1のリード取付孔(図示せず)に挿入可能に位置決めする。また、カバー部材5の突起25が、ホルダー本体4の前板4aおよび後板4bを貫通して、ホルダー本体4のリード溝16に挿入されたリードスイッチ3のリード3aを押さえ、その上下方向の浮き上がりを規制する。
【0038】
脚部19をプリント配線基板1のホルダー取付孔(図示せず)に挿入して本体用係合爪20を係合させる。これにより、図5に示すように、電子部品ホルダーがプリント配線基板1に装着され、位置決めされたリードフレーム2aおよびリード3aがプリント配線基板1のリード取付孔に挿入される。
【0039】
はんだ槽に浸漬してはんだ付けをすることにより、プリント配線基板1から高さ(a)、プリント配線基板1の縁端から外方への距離(c)の位置にLED2が実装され、プリント配線基板1から高さ(b)、プリント配線基板1の縁端から内方への距離(d)の位置にリードスイッチ3が実装される。
【0040】
上記構成によれば、ホルダー本体4によってLED2およびリードスイッチ3を保持し、カバー部材5によってリードフレーム2aをフォーミング加工することができる。また、フォーミング加工後には、ホルダー本体4の後壁4bとカバー部材5のガイド溝22とでリードフレーム2aの中間部を保持し、プリント配線基板1のリード取付孔に挿入可能に位置決めすることができる。
【0041】
これにより、一つの電子部品ホルダーに、LED2およびリードスイッチ3を保持する機能と、LED2のリードフレーム2aをフォーミング加工する機能と、フォーミング加工したリードフレーム2aを保持する機能とを備えることができる。ホルダー本体4をプリント配線基板1に装着することにより、LED2およびリードスイッチ3をプリント配線基板1から所定の高さおよび位置に実装することができる。
【0042】
リードフレーム2aの基部を保持する挿通溝7に凹凸を形成するので、リードフレーム2aをフォーミング加工するときのLED2の位置ずれを防止することができる。また、カバー部材5にガイド溝22を形成するので、リードフレーム2aをフォーミング加工するときのリードフレーム2aの横ずれを阻止することができる。
【0043】
カバー部材5に形成した突起25がホルダー本体4のリード溝16との間にリードスイッチ3のリード3aを押さえるので、リード3aの浮き上がりを規制することができる。これにより、はんだ槽に浸漬してはんだ付けをするとき、噴流等によるリードスイッチ3の浮きを防止することができる。
【0044】
なお、本発明は、上記の実施の形態に限定されるものではなく、本発明の範囲内において、適宜変更を加えることができる。例えば、ホルダー本体は、一つのLED2を保持可能に形成するだけでなく、複数のLED2を保持可能に形成して、カバー部材5をホルダー本体4に嵌着することにより、複数のLED2のリードフレーム2aを同時にフォーミング加工可能としてもよい。
【0045】
この場合、LED2の個数に応じて、ホルダー本体4に複数の挿入溝7を形成し、カバー部材5に複数のガイド溝22を形成すればよい。また、LED2の代わりに、他の電子部品を保持してもよく、リードスイッチ3を装着せずに、LED2だけを保持するようにしてもよい。
【0046】
ヒンジ6を薄板状に形成する代わりに、ピンを用いた構造にしてもよく、カバー部材5とホルダー本体4とをヒンジ6を介して一体的に形成する代わりに、カバー部材5およびホルダー本体4を別体のものとしてもよい。カバー部材5に、カバー用係合爪24を形成する代わりに、ビスなどを用いてホルダー本体4に嵌着させるようにしてもよい。ホルダー本体4に本体用係合爪20を形成する代わりに、ビスなどを用いてプリント配線基板1に装着するようにしてもよい。
【0047】
リードフレーム2aの基部の位置ずれを防止する位置ずれ防止手段として、ホルダー本体4の挿入溝7を屈曲状に形成する代わりに、別体の挟圧部材を設けて、挟圧部材およびホルダー本体4との摩擦により、リードフレーム2aの基部の位置ずれを防止するようにしてもよい。
【0048】
リードフレーム2aの基部を保持する保持部として、挿入溝の代わりに挿入孔を形成してもよく、カバー部材5のガイド溝22の代わりに、カバー部材5を貫通するガイド孔を形成してもよい。
【0049】
【発明の効果】
以上の説明から明らかなように、本発明では、電子部品を所定の高さに保持するホルダー本体と、電子部品のリードフレームの中間部を係合してフォーミング加工するカバー部材とで電子部品ホルダーを構成している。そのため、電子部品をホルダー本体で保持したまま、リードフレームの根元に負荷をかけることなくフォーミング加工することができる。
【0050】
その結果、治具などを用いた別工程によるフォーミング加工を省略することができ、電子部品をプリント配線基板に実装するための工数およびコストの低減を図ることができる。
【0051】
カバー部材のガイド溝やガイド穴にリードフレームを係合することにより、リードフレームの横ずれを規制して、容易かつ確実にフォーミング加工することができる。フォーミング加工後には、カバー部材をホルダー本体に嵌着させることによってリードフレームを保持するので、リードフレームをプリント配線基板への所定の取付位置に位置決めすることができる。
【0052】
リードフレームの基部を保持するためのホルダー本体の保持部を屈曲状にするので、電子部品のリードフレームを屈曲させて、フォーミング加工時の電子部品の位置ずれを防止することができる。また、ホルダー本体が第二電子部品を保持可能となっているので、LEDとリードスイッチなどの組み合わせて実装することができる。複数の電子部品を併設する場合には、そのリードフレームを同時にフォーミング加工することができる。
【図面の簡単な説明】
【図1】本発明の電子部品ホルダーの斜視図(開状態)
【図2】そのC−C断面図
【図3】電子部品ホルダーの斜視図(閉状態)
【図4】そのD−D断面図
【図5】プリント配線基板に装着した電子部品ホルダーの側面図
【図6】従来の電子部品ホルダーの断面図
【図7】従来の別の電子部品ホルダーで、(a)は電子部品ホルダーの斜視図、(b)はプリント配線基板に装着された電子部品ホルダーの断面図
【符号の説明】
1 プリント配線基板
2 LED
2a リードフレーム
3 リードスイッチ
3a リード
4 ホルダー本体
4a 前板
4b 後板
5 カバー部材
6 ヒンジ
7 挿入溝
11 面取り
12 前跨材
14 中跨材
15 第二保持部
16 リード溝
20 本体用係合爪
22 ガイド溝
24 カバー用係合爪
25 突起
【発明の属する技術分野】
本発明は、プリント配線基板にLEDなどの電子部品を実装するために電子部品を保持する電子部品ホルダーに関するものである。
【0002】
【従来の技術】
一般に、プリント配線基板に実装されるLEDなどの電子部品は、電子部品ホルダーによってプリント配線基板から所定の高さおよび位置に保持されると共に、リードフレームにフォーミング加工が施されてプリント配線に接続されている。
【0003】
図6に電子部品ホルダーの一例を示す。この電子部品ホルダーは、プリント配線基板101に装着されるホルダー本体102と、ホルダー本体102の上面に嵌着されるカバー部材103とからなり、両者間に電子部品(LED)104のリードフレーム105の基部を介在させることにより、電子部品104を所定の高さおよび位置に保持するようになっている。
【0004】
ホルダー本体102には、リードフレーム105の中間部を保持するリード保持穴106が形成されている。リード保持穴106は、その中心軸をプリント配線基板101の板面に垂直な方向と平行に設定され、挿入されたリードフレーム105をプリント配線基板101のリード取付孔107に合うように位置決めする。
【0005】
電子部品104を保持しつつリードフレーム105をリード保持穴106に挿入可能にするため、リードフレーム105にフォーミング加工が施される。このフォーミング加工は、あらかじめ専用の治具などを用いて行われていた。
【0006】
また、特許文献1に、別の電子部品ホルダーが開示されている。図7(a)は電子部品ホルダーの斜視図、図7(b)はプリント配線基板に装着された電子部品ホルダーの断面図である。
【0007】
この電子部品ホルダーは、電子部品108のリードフレーム109の直径の2倍以上の幅を有する腕部110を、ホルダー本体111の両側に形成し、この腕部110の先端にリードフレーム109を把む把持部112を設けるとともに、ホルダー本体111の中央の、腕部110と反対側に、プリント配線基板113のホルダー取付孔114に挿通して固定する脚部115を設けてなるもので、電子部品108のリードフレーム109をホルダー本体111の方向に折り曲げた後、リードフレーム109はプリント配線基板113の電子部品取付孔116に、脚部115はホルダー取付孔114にそれぞれ挿入し、リードフレーム109と配線回路とをはんだ117で接続している。
【0008】
【特許文献1】
特開昭61−59796号公報(第2頁左下欄第5行−第18行、第2図、第3図)
【0009】
【発明が解決しようとする課題】
ところが、図6に示す電子部品ホルダーでは、あらかじめ専用の治具を用いた別工程のフォーミング加工をする必要がある。リードフレームをリード保持穴に挿入して、カバー部材をホルダー本体に嵌着させることにより、リードフレームの基部を押さえつけてフォーミング加工することができるが、このようにすると、リードフレームの基部の位置があらかじめ定まっていないため、電子部品の位置ずれを生じさせるおそれがある。また、フォーミング加工時にリードフレームの根元に負荷がかかって、電子部品に不具合を生じさせたりするおそれがある。
【0010】
また、図7に示す電子部品ホルダーでは、例え、装着前に折り曲げたとしても、リードフレームの下端の位置が定まらず、ホルダー本体の脚部とリードフレームとを同時にプリント配線基板に装着するのが難しくなる。
【0011】
本発明は、電子部品を所定の高さおよび位置に保持すると共に、リードフレームを位置決めでき、かつ、リードフレームの根元に負荷をかけることなく、専用の治具を要する別工程のフォーミング加工を省略することができる電子部品ホルダーを提供することを目的とする。
【0012】
【課題を解決するための手段】
上記目的を達成するため、本発明は、プリント配線基板から所定の高さに電子部品を実装するための構造を前提として、リードフレームを位置決めするための機能と、リードフレームの根元に負荷をかけることなくフォーミング加工可能な治具としての機能とを備えた電子部品ホルダーを提供するものである。
【0013】
電子部品およびそのリードフレームの基部を所定の高さに保持するホルダー本体と、電子部品のリードフレームの中間部を係合してホルダー本体に嵌着されるカバー部材とを備える。カバー部材にリードフレームを係合して、そのカバー部材をホルダー本体に嵌着することにより、リードフレームをフォーミング加工可能とする。
【0014】
この構成によれば、リードフレームの基部をホルダー本体で保持しておき、リードフレームをフォーミング加工するので、リードフレームの根元に負荷がかからないようにすることができる。リードフレームを係合したカバー部材をホルダー本体に嵌着することにより、リードフレームをフォーミング加工することができる。カバー部材の嵌着後は、リードフレームの中間部を保持して位置決めすることができる。
【0015】
カバー部材とホルダー本体とをヒンジを介して一体的に形成し、カバー部材をヒンジの周りに回動させることにより、ホルダー本体に嵌着可能とする。そうすれば、リードフレームのフォーミング加工を伴うカバー部材の嵌着を簡単にすることができる。
【0016】
ホルダー本体を複数の電子部品を保持可能に形成し、このカバー部材をホルダー本体に嵌着することにより、複数の電子部品のリードフレームを同時にフォーミング加工可能とする。そうすれば、プリント配線基板に複数の電子部品を実装するとき、そのリードフレームのフォーミング加工を簡単にすることができる。
【0017】
ホルダー本体のリードフレームの基部を保持する保持部に、リードフレームの位置ずれを防止する位置ずれ防止手段を設ければ、リードフレームをフォーミング加工するときの位置ずれを防止して、電子部品を所定の位置に保持することができる。
【0018】
位置ずれ防止手段としては、リードフレームを挿入可能な挿入穴又は挿入溝で保持部を構成し、この保持部を屈曲状に形成してリードフレームを屈曲させる構成を例示できる。なお、他の構成としては、ホルダー本体との間にリードフレームを挟持する挟持部材を設けて、ホルダー本体とリードフレームとの摩擦によりリードフレームの位置ずれを防止する構造を例示できる。
【0019】
カバー部材に、ホルダー本体に嵌着するためのカバー用係合爪を設ければ、カバー部材のホルダー本体への嵌着を簡単かつ確実にすることができる。
【0020】
ホルダー本体を、前記電子部品とは別の第二電子部品を保持可能とすれば、例えばLEDとリードスイッチとを組み合わせて、プリント配線基板に実装することができ好適である。この場合、カバー部材に、ホルダー本体の座部との間に第二電子部品のリードを挟み込むための突起を形成すれば、ホルダー本体にカバー部材を嵌着することにより、電子部品のリードフレームをフォーミング加工すると共に第二電子部品のリードを固定することができる。
【0021】
【発明の実施の形態】
以下、本発明に係る電子部品ホルダーの実施の形態について、図面を用いて説明する。図1は本発明の電子部品ホルダーの斜視図(開状態)、図2はそのC−C断面図、図3は電子部品ホルダーの斜視図(閉状態)、図4はそのD−D断面図、図5はプリント配線基板に装着した電子部品ホルダーの側面図である。
【0022】
この電子部品ホルダーは、プリント配線基板1からの所定の高さおよび位置にLED(電子部品)2およびリードスイッチ(第二電子部品)3を実装するためのものであり、LED2およびリードスイッチ3を保持するホルダー本体4と、ホルダー本体4が保持するLED2のリードフレーム2aをフォーミング加工して保持するカバー部材5とを備えている。
【0023】
ホルダー本体4およびカバー部材5は、ヒンジ6を介して一体的に形成され、カバー部材5をヒンジ6の周りに回動させることにより、LED2を装着する開状態からリードフレーム2aを保持する閉状態に切り換え自在とされている。開状態から閉状態への切り換えにより、リードフレーム2aをフォーミング加工可能とされる。
【0024】
ホルダー本体4は、前板4a、後板4bおよび上板4cからなる断面略逆U形とされ、その上板4cの上面に、前方からLED2の二本のリードフレーム2aを挿入する二本の挿入溝7が形成されている。挿入溝7は、リードフレーム2aの基部を保持するようになっており、LED2を保持する保持部とされる。
【0025】
挿入溝7の溝壁は、両挿入溝7間に形成された内溝壁8と、内溝壁8の左右面に対向する二つの外溝壁9とからなり、挿入溝7に挿入されたリードフレーム2aの左右方向の移動を規制する。なお、内溝壁8の前方部分には、リードフレーム2aを挿入しやすくするためのテーパ10が形成されている。
【0026】
挿入溝7の深さは、ホルダー本体4の上板4cを貫通する深さに設定され、前板4aおよび後板4bの上端が、挿入溝7に挿入されたリードフレーム2aの下方への移動を規制する。なお、挿入溝7の後端である後板4bの上端には、リードフレーム2aの貫通を容易にするための面取り11が形成されている。
【0027】
左右の外溝壁9の前方部分を接続するように、挿入溝7の前部を跨ぐ前跨材12が設けられ、左右の外溝壁8の中央部分を接続するように、挿入溝7の中央付近を跨ぐ中跨材14が設けられている。この前跨材12および中跨材14により、リードフレーム2aの上方への移動が規制される。なお、前跨材12の左右方向における中央には、LED2を当てて位置決めするためのLED座13が突設されている。
【0028】
中跨材14は、その下面が挿入溝7に侵入する大きさに設定され、前板4a、後板4b、前跨材12および中跨材14により、挿入溝7に挿入されたリードフレーム2aを屈曲させる凹凸が構成される。この凹凸が、リードフレーム2aの位置ずれを防止する位置ずれ防止手段とされる。
【0029】
なお、リードフレーム2aの上方への移動を規制する前跨材12および中跨材14と、リードフレーム2aの下方への移動を規制する前板4aおよび後板4bとは、その前後方向の位置をずらして交互に形成され、上型および下型による成型が可能とされている。
【0030】
前板4aの下端には、前方に突出してリードスイッチ3を保持する第二保持部15が設けられている。第二保持部15には、リードスイッチ3のリード3aを配置するリード溝16が形成され、このリード溝16に、リード3aを下方に貫通させるリード貫通穴17が形成されている。これにより、リードスイッチ3を保持すると共に、リード3aをプリント配線基板1に接続可能とされる。
【0031】
ホルダー本体4の左右端は側板18で覆われ、この両側板18から下方に突出する脚部19に本体用係合爪20が形成されている。プリント配線基板1に形成されたホルダー取付孔(図示せず)に脚部19を挿入して本体用係合爪20を係合させることにより、電子部品ホルダーをプリント配線基板1に装着可能とされる。
【0032】
カバー部材5は、その左右方向およびこれに直交する方向の幅がホルダー本体4の前板4aおよび後板4bと等しい板状とされ、ホルダー本体4の後方に配されている。このカバー部材5は、開状態において、ホルダー本体4の上板4cと略同一平面に位置し、カバー部材5の前端と、ホルダー本体4の上板4cに突設されたヒンジ接続部21とが、薄板からなるヒンジ6を介して接続されている。ヒンジ6を屈曲させることにより、カバー部材5の下面とホルダー本体4の後板4bとが対向する閉状態に切換可能とされる。
【0033】
カバー部材5の下面には、リードフレーム2aを係合する二本のガイド溝22が形成されている。ガイド溝22は、開状態において、ホルダー本体4の挿入溝7の延長線上に位置し、挿入溝7を貫通したLED2のリードフレーム2aを侵入可能とされている。このガイド溝22は、フォーミング加工するときのリードフレーム2aの横ずれを阻止し、閉状態においては、ホルダー本体4の後板4bとの間にリードフレーム2aの中間部を保持する。
【0034】
カバー部材5の左右端には、カバー用係合爪24が形成され、このカバー用係合爪24をホルダー本体4の側板18に形成された切欠23に係合するにより、カバー部材5をホルダー本体4に嵌着可能とされる。カバー部材5の左右端付近には、閉状態において前板4aおよび後板4bを貫通する突起25が形成され、この突起25と、ホルダー本体4のリード溝(座部)16との間にリードスイッチ3のリード3aを挟み込むようになっている。
【0035】
次に、この電子部品ホルダーを用いてプリント配線基板1にLED2を実装する手順を説明する。まず、図1および図2に示す開状態において、LED2のリードフレーム2aをホルダー本体4の前方から挿入溝7に挿入し、LED2がLED座13に当たるまで、図1および図2における矢印Aの方向に押し込む。リードフレーム2aは、挿入溝7の凹凸によって屈曲しながら、面取り11に沿って挿入溝7を貫通し、ガイド溝22に侵入してカバー部材5に係合する。
【0036】
ヒンジ6を屈曲させながらカバー部材5を図2における矢印Bの方向に回動させて、図3および図4に示す閉状態に切り換えることにより、リードフレーム2aをカバー部材5のガイド溝22でガイドしながらフォーミング加工する。このとき、リードフレーム2aの基部は、挿入溝7の凹凸によって屈曲しており、矢印Aと逆方向へのLED2の位置ずれが防止される。
【0037】
カバー用係合爪24をホルダー本体4の切欠23に係合させてカバー部材5をホルダー本体4に嵌着させる。これにより、ホルダー本体4の後板4bおよびカバー部材5のガイド溝22が、リードフレーム2aの中間部を保持してプリント配線基板1のリード取付孔(図示せず)に挿入可能に位置決めする。また、カバー部材5の突起25が、ホルダー本体4の前板4aおよび後板4bを貫通して、ホルダー本体4のリード溝16に挿入されたリードスイッチ3のリード3aを押さえ、その上下方向の浮き上がりを規制する。
【0038】
脚部19をプリント配線基板1のホルダー取付孔(図示せず)に挿入して本体用係合爪20を係合させる。これにより、図5に示すように、電子部品ホルダーがプリント配線基板1に装着され、位置決めされたリードフレーム2aおよびリード3aがプリント配線基板1のリード取付孔に挿入される。
【0039】
はんだ槽に浸漬してはんだ付けをすることにより、プリント配線基板1から高さ(a)、プリント配線基板1の縁端から外方への距離(c)の位置にLED2が実装され、プリント配線基板1から高さ(b)、プリント配線基板1の縁端から内方への距離(d)の位置にリードスイッチ3が実装される。
【0040】
上記構成によれば、ホルダー本体4によってLED2およびリードスイッチ3を保持し、カバー部材5によってリードフレーム2aをフォーミング加工することができる。また、フォーミング加工後には、ホルダー本体4の後壁4bとカバー部材5のガイド溝22とでリードフレーム2aの中間部を保持し、プリント配線基板1のリード取付孔に挿入可能に位置決めすることができる。
【0041】
これにより、一つの電子部品ホルダーに、LED2およびリードスイッチ3を保持する機能と、LED2のリードフレーム2aをフォーミング加工する機能と、フォーミング加工したリードフレーム2aを保持する機能とを備えることができる。ホルダー本体4をプリント配線基板1に装着することにより、LED2およびリードスイッチ3をプリント配線基板1から所定の高さおよび位置に実装することができる。
【0042】
リードフレーム2aの基部を保持する挿通溝7に凹凸を形成するので、リードフレーム2aをフォーミング加工するときのLED2の位置ずれを防止することができる。また、カバー部材5にガイド溝22を形成するので、リードフレーム2aをフォーミング加工するときのリードフレーム2aの横ずれを阻止することができる。
【0043】
カバー部材5に形成した突起25がホルダー本体4のリード溝16との間にリードスイッチ3のリード3aを押さえるので、リード3aの浮き上がりを規制することができる。これにより、はんだ槽に浸漬してはんだ付けをするとき、噴流等によるリードスイッチ3の浮きを防止することができる。
【0044】
なお、本発明は、上記の実施の形態に限定されるものではなく、本発明の範囲内において、適宜変更を加えることができる。例えば、ホルダー本体は、一つのLED2を保持可能に形成するだけでなく、複数のLED2を保持可能に形成して、カバー部材5をホルダー本体4に嵌着することにより、複数のLED2のリードフレーム2aを同時にフォーミング加工可能としてもよい。
【0045】
この場合、LED2の個数に応じて、ホルダー本体4に複数の挿入溝7を形成し、カバー部材5に複数のガイド溝22を形成すればよい。また、LED2の代わりに、他の電子部品を保持してもよく、リードスイッチ3を装着せずに、LED2だけを保持するようにしてもよい。
【0046】
ヒンジ6を薄板状に形成する代わりに、ピンを用いた構造にしてもよく、カバー部材5とホルダー本体4とをヒンジ6を介して一体的に形成する代わりに、カバー部材5およびホルダー本体4を別体のものとしてもよい。カバー部材5に、カバー用係合爪24を形成する代わりに、ビスなどを用いてホルダー本体4に嵌着させるようにしてもよい。ホルダー本体4に本体用係合爪20を形成する代わりに、ビスなどを用いてプリント配線基板1に装着するようにしてもよい。
【0047】
リードフレーム2aの基部の位置ずれを防止する位置ずれ防止手段として、ホルダー本体4の挿入溝7を屈曲状に形成する代わりに、別体の挟圧部材を設けて、挟圧部材およびホルダー本体4との摩擦により、リードフレーム2aの基部の位置ずれを防止するようにしてもよい。
【0048】
リードフレーム2aの基部を保持する保持部として、挿入溝の代わりに挿入孔を形成してもよく、カバー部材5のガイド溝22の代わりに、カバー部材5を貫通するガイド孔を形成してもよい。
【0049】
【発明の効果】
以上の説明から明らかなように、本発明では、電子部品を所定の高さに保持するホルダー本体と、電子部品のリードフレームの中間部を係合してフォーミング加工するカバー部材とで電子部品ホルダーを構成している。そのため、電子部品をホルダー本体で保持したまま、リードフレームの根元に負荷をかけることなくフォーミング加工することができる。
【0050】
その結果、治具などを用いた別工程によるフォーミング加工を省略することができ、電子部品をプリント配線基板に実装するための工数およびコストの低減を図ることができる。
【0051】
カバー部材のガイド溝やガイド穴にリードフレームを係合することにより、リードフレームの横ずれを規制して、容易かつ確実にフォーミング加工することができる。フォーミング加工後には、カバー部材をホルダー本体に嵌着させることによってリードフレームを保持するので、リードフレームをプリント配線基板への所定の取付位置に位置決めすることができる。
【0052】
リードフレームの基部を保持するためのホルダー本体の保持部を屈曲状にするので、電子部品のリードフレームを屈曲させて、フォーミング加工時の電子部品の位置ずれを防止することができる。また、ホルダー本体が第二電子部品を保持可能となっているので、LEDとリードスイッチなどの組み合わせて実装することができる。複数の電子部品を併設する場合には、そのリードフレームを同時にフォーミング加工することができる。
【図面の簡単な説明】
【図1】本発明の電子部品ホルダーの斜視図(開状態)
【図2】そのC−C断面図
【図3】電子部品ホルダーの斜視図(閉状態)
【図4】そのD−D断面図
【図5】プリント配線基板に装着した電子部品ホルダーの側面図
【図6】従来の電子部品ホルダーの断面図
【図7】従来の別の電子部品ホルダーで、(a)は電子部品ホルダーの斜視図、(b)はプリント配線基板に装着された電子部品ホルダーの断面図
【符号の説明】
1 プリント配線基板
2 LED
2a リードフレーム
3 リードスイッチ
3a リード
4 ホルダー本体
4a 前板
4b 後板
5 カバー部材
6 ヒンジ
7 挿入溝
11 面取り
12 前跨材
14 中跨材
15 第二保持部
16 リード溝
20 本体用係合爪
22 ガイド溝
24 カバー用係合爪
25 突起
Claims (7)
- プリント配線基板から所定の高さに電子部品を実装するための電子部品ホルダーにおいて、前記電子部品およびそのリードフレームの基部を所定の高さに保持するホルダー本体と、前記電子部品のリードフレームの中間部を係合してホルダー本体に嵌着されるカバー部材とを備え、前記カバー部材は、前記リードフレームを係合してホルダー本体に嵌着することにより、リードフレームをフォーミング加工可能とされたことを特徴とする電子部品ホルダー。
- 前記カバー部材は、ヒンジを介してホルダー本体と一体的に形成され、ヒンジの周りに回動させることにより、ホルダー本体に嵌着可能とされたことを特徴とする請求項1に記載の電子部品ホルダー。
- 前記ホルダー本体は、複数の電子部品を保持可能に形成され、前記カバー部材は、ホルダー本体に嵌着することにより、複数の電子部品のリードフレームを同時にフォーミング加工可能とされたことを特徴とする請求項1又は2に記載の電子部品ホルダー。
- 前記カバー部材に、ホルダー本体に嵌着するためのカバー用係合爪が設けられたことを特徴とする請求項1、2又は3に記載の電子部品ホルダー。
- 前記ホルダー本体は、リードフレームの基部を保持する保持部に、リードフレームの位置ずれを防止する位置ずれ防止手段が設けられたことを特徴とする請求項1〜4のいずれかに記載の電子部品ホルダー。
- 前記保持部は、リードフレームを挿入可能な挿入穴又は挿入溝とされ、前記位置ずれ防止手段として、リードフレームを屈曲させる屈曲状に形成されたことを特徴とする請求項5に記載の電子部品ホルダー。
- 前記ホルダー本体に、前記電子部品とは別の第二電子部品を保持する座部が設けられ、前記カバー部材に、ホルダー本体の座部との間に第二電子部品のリードを挟み込むための突起が形成されたことを特徴とする請求項1〜6のいずれかに記載の電子部品ホルダー。
Priority Applications (1)
| Application Number | Priority Date | Filing Date | Title |
|---|---|---|---|
| JP2003143045A JP2004349371A (ja) | 2003-05-21 | 2003-05-21 | 電子部品ホルダー |
Applications Claiming Priority (1)
| Application Number | Priority Date | Filing Date | Title |
|---|---|---|---|
| JP2003143045A JP2004349371A (ja) | 2003-05-21 | 2003-05-21 | 電子部品ホルダー |
Publications (1)
| Publication Number | Publication Date |
|---|---|
| JP2004349371A true JP2004349371A (ja) | 2004-12-09 |
Family
ID=33530934
Family Applications (1)
| Application Number | Title | Priority Date | Filing Date |
|---|---|---|---|
| JP2003143045A Pending JP2004349371A (ja) | 2003-05-21 | 2003-05-21 | 電子部品ホルダー |
Country Status (1)
| Country | Link |
|---|---|
| JP (1) | JP2004349371A (ja) |
Cited By (3)
| Publication number | Priority date | Publication date | Assignee | Title |
|---|---|---|---|---|
| JP2007005480A (ja) * | 2005-06-22 | 2007-01-11 | Daiman:Kk | 電子部品装着機構 |
| JP2013098206A (ja) * | 2011-10-28 | 2013-05-20 | Panasonic Corp | キャパシタモジュール |
| JP2016027670A (ja) * | 2015-10-13 | 2016-02-18 | パナソニックIpマネジメント株式会社 | キャパシタモジュール |
-
2003
- 2003-05-21 JP JP2003143045A patent/JP2004349371A/ja active Pending
Cited By (4)
| Publication number | Priority date | Publication date | Assignee | Title |
|---|---|---|---|---|
| JP2007005480A (ja) * | 2005-06-22 | 2007-01-11 | Daiman:Kk | 電子部品装着機構 |
| JP2013098206A (ja) * | 2011-10-28 | 2013-05-20 | Panasonic Corp | キャパシタモジュール |
| CN104900398A (zh) * | 2011-10-28 | 2015-09-09 | 松下电器产业株式会社 | 电容器组件 |
| JP2016027670A (ja) * | 2015-10-13 | 2016-02-18 | パナソニックIpマネジメント株式会社 | キャパシタモジュール |
Similar Documents
| Publication | Publication Date | Title |
|---|---|---|
| JP4121465B2 (ja) | フレキシブル基板用コネクタおよび回路基板とフレキシブル基板との接続構造 | |
| JP2004192976A (ja) | 端子の圧入用冶具及びその圧入装置 | |
| JP2004349371A (ja) | 電子部品ホルダー | |
| JPH0719956U (ja) | サーフェイスマウントコネクタ | |
| JP2002246085A (ja) | ボトムエントリ型コネクタ | |
| JPH07211402A (ja) | 回路基板用電気コネクタ | |
| JPH07282921A (ja) | ボードエッジコネクタ | |
| JP2986874B2 (ja) | 端子装置 | |
| JPH051174U (ja) | コネクタのピン構造 | |
| JP3701894B2 (ja) | Kgdキャリア | |
| JPH06275966A (ja) | フラットケーブル用クランプ | |
| KR200426244Y1 (ko) | 커넥터 전선 삽입용 지그 | |
| JP2623142B2 (ja) | フラットケーブル用圧接治具 | |
| JP2003028113A (ja) | 部材取付構造 | |
| JP2006086270A (ja) | 部品挿入装置の部品挿入チャックフィンガ | |
| JP7540178B2 (ja) | 基板保持治具 | |
| JPH0617153U (ja) | 電気コネクタ | |
| JP3000248U (ja) | 電子部品圧入工具 | |
| JP7294871B2 (ja) | コネクタ及び電気コネクタ | |
| JP4091607B2 (ja) | コネクタ | |
| JPH10322054A (ja) | 弾性基板保持装置 | |
| JPH0333115Y2 (ja) | ||
| JPH10199355A (ja) | リード端子付き部品の接続構造 | |
| JP2506685Y2 (ja) | Fpc用コネクタ | |
| JP4698084B2 (ja) | タッチ式スイッチ装置 |