JP2004242575A - 植物栽培方法、栽培容器用遮光体及び植物栽培装置 - Google Patents
植物栽培方法、栽培容器用遮光体及び植物栽培装置 Download PDFInfo
- Publication number
- JP2004242575A JP2004242575A JP2003035662A JP2003035662A JP2004242575A JP 2004242575 A JP2004242575 A JP 2004242575A JP 2003035662 A JP2003035662 A JP 2003035662A JP 2003035662 A JP2003035662 A JP 2003035662A JP 2004242575 A JP2004242575 A JP 2004242575A
- Authority
- JP
- Japan
- Prior art keywords
- cultivation
- plant
- side wall
- light
- container
- Prior art date
- Legal status (The legal status is an assumption and is not a legal conclusion. Google has not performed a legal analysis and makes no representation as to the accuracy of the status listed.)
- Pending
Links
Images
Classifications
-
- Y02P60/216—
Landscapes
- Hydroponics (AREA)
- Cultivation Receptacles Or Flower-Pots, Or Pots For Seedlings (AREA)
Abstract
【課題】少なくとも側壁部の一部が透明な栽培容器を用いて栽培及び出荷を行う際に、植物の茎の成長を円滑にするとともに、植物が傷つくのを防止する。
【解決手段】植物栽培装置1は、透明の栽培容器2に不透明の遮光体3を取り付けたものである。 栽培容器2は、透明の材質で底面部21と側壁部22,23,24,25を形成することで、上側が開口し内側に消費の一単位としての芽物野菜を栽培するための栽培室を設けている。遮光体3は、不透明または半透明の材質で形成し、前記栽培容器2の周りを覆う。栽培容器2の栽培室10には、発泡ウレタンマット、不織布等からなる植物栽培用培地40(以下、培地40と省略する)が配置され、この培地40の上に植物の芽物野菜としての貝割れ大根4の種子41を蒔くことによって貝割れ大根4を栽培する。栽培中の貝割れ大根4は、種子41から根42及び芽43が伸びる。
【選択図】 図1
【解決手段】植物栽培装置1は、透明の栽培容器2に不透明の遮光体3を取り付けたものである。 栽培容器2は、透明の材質で底面部21と側壁部22,23,24,25を形成することで、上側が開口し内側に消費の一単位としての芽物野菜を栽培するための栽培室を設けている。遮光体3は、不透明または半透明の材質で形成し、前記栽培容器2の周りを覆う。栽培容器2の栽培室10には、発泡ウレタンマット、不織布等からなる植物栽培用培地40(以下、培地40と省略する)が配置され、この培地40の上に植物の芽物野菜としての貝割れ大根4の種子41を蒔くことによって貝割れ大根4を栽培する。栽培中の貝割れ大根4は、種子41から根42及び芽43が伸びる。
【選択図】 図1
Description
【0001】
【発明の属する技術分野】
本発明は植物を栽培する植物栽培方法、栽培容器用遮光体及び植物栽培装置に係り、特に芽物野菜の栽培に好適な植物栽培方法、栽培容器用遮光体及び植物栽培装置に関する。
【0002】
【従来の技術】
従来、貝割れ大根、三ツ葉、そば芽や小大豆もやしなどの芽物野菜を透明な栽培兼包装容器を用いて栽培を行う際には、上部側からのみならず側壁部側からも光が当たるために、芽物野菜の茎が必ずしも垂直上方に向かって育成しないことがあった。
【0003】
このような難点を解決するために、栽培兼包装容器の内壁と栽培中の芽物野菜の間に栽培兼包装容器用遮光体の遮光部を挿入することで、側壁部側からの光が芽物野菜に当たるのを防止する技術がある(例えば、特許文献1参照)。
【0004】
【特許文献1】
特許番号第2731774号公報(第2−5頁、図1−3)
【0005】
【発明が解決しようとする課題】
しかしながら、前記栽培兼包装容器の内壁と芽物野菜の間に遮光部を挿入することで、側壁部側からの光が芽物野菜に当たるのを防止する技術では、遮光部を引き抜く際に、遮光部が芽物野菜を傷つけることが多々あり、この場合には栽培した芽物野菜を破棄しなければならなくなり、芽物野菜の原価を増大させていた。
【0006】
本発明は上記事情に鑑みてなされたものであり、少なくとも側壁部の一部が透明な栽培容器を用いて栽培及び出荷を行う際に、植物の茎の成長を円滑にするとともに、植物が傷つくのを防止できる植物栽培方法、栽培容器用遮光体及び植物栽培装置の提供を目的としている。
【0007】
また、本発明は栽培室の通気性を高めることができる植物栽培装置の提供を目的としている。
【0008】
【課題を解決するための手段】
前記目的を達成するため請求項1に記載の植物栽培方法は、底面部と側壁部を形成することで、上側が開口し内側に消費の一単位としての植物を栽培するための栽培室を設け、少なくとも側壁部の一部を透明に形成することで、前記植物の栽培と出荷とを兼用する栽培容器を用いて植物を栽培する植物栽培方法において、前記植物の栽培の際に、遮光性を備えた栽培容器用遮光体で、前記栽培容器の周りから前記側壁部の透明に形成された部分を覆うことを特徴とする。
【0009】
請求項2に記載の栽培容器用遮光体は、底面部と側壁部を形成することで、上側が開口し内側に消費の一単位としての植物を栽培するための栽培室を設け、少なくとも側壁部の一部を透明に形成することで、前記植物の栽培と出荷とを兼用する栽培容器を用いて植物を栽培する際に用いるものであって、遮光性を備え、前記栽培容器の周りから前記側壁部の透明に形成された部分を覆う遮光部を具備したことを特徴とする。
【0010】
請求項3に記載の植物栽培装置は、底面部と側壁部を形成することで、上側が開口し内側に消費の一単位としての植物を栽培するための栽培室を設け、少なくとも側壁部の一部を透明に形成することで、前記植物の栽培と出荷とを兼用する栽培容器と、遮光性を備え、前記栽培容器の周りから前記側壁部の透明に形成された部分を覆う栽培容器用遮光体と、を具備したことを特徴とする。
【0011】
請求項4に記載の植物栽培装置は、請求項3に記載の植物栽培装置であって、前記栽培容器の底面部と側壁部の内、少なくとも一方に貫通孔を形成したことを特徴とする。
【0012】
請求項5に記載の植物栽培装置は、請求項3に記載の植物栽培装置であって、前記栽培容器の底面部と側壁部の内、少なくとも側壁部の一部に貫通孔を設けたことを特徴とする。
【0013】
請求項6に記載の植物栽培方法は、底面部と側壁部を形成することで、上側が開口し内側に消費の一単位としての植物を栽培するための栽培室を設け、少なくとも側壁部の一部を透明に形成することで、前記植物の栽培と出荷とを兼用する栽培容器を用いて植物を栽培する植物栽培方法において、遮光性を備え、上側面に開口する複数の凹部を設けた栽培容器用遮光体を用意し、前記植物の栽培の際に、前記栽培容器用遮光体の複数の凹部にそれぞれ前記栽培容器を挿入することで、前記栽培容器用遮光体で、前記複数の栽培容器の前記側壁部の透明に形成された部分を覆うことを特徴とする。
【0014】
請求項7に記載の栽培容器用遮光体は、底面部と側壁部を形成することで、上側が開口し内側に消費の一単位としての植物を栽培するための栽培室を設け、少なくとも側壁部の一部を透明に形成することで、前記植物の栽培と出荷とを兼用する栽培容器を複数用いて植物を栽培する際に用いるものであって、遮光性を備え、上側面に開口する複数の凹部を設け、これら複数の凹部にそれぞれ前記栽培容器を挿入することで、前記複数の栽培容器の前記側壁部の透明に形成された部分を覆う遮光部を具備したことを特徴とする。
【0015】
請求項8に記載の植物栽培装置は、底面部と側壁部を形成することで、上側が開口し内側に消費の一単位としての植物を栽培するための栽培室をそれぞれ設け、少なくとも側壁部の一部を透明に形成することで、前記植物の栽培と出荷とを兼用する複数の栽培容器と、遮光性を備え、上側面に開口する複数の凹部を設け、これら複数の凹部にそれぞれ前記栽培容器を挿入することで、前記複数の栽培容器の前記側壁部の透明に形成された部分を覆う栽培容器用遮光体と、を具備したことを特徴とする。
【0016】
請求項9に記載の植物栽培方法は、底面部と側壁部を形成することで、上側が開口し内側に消費の一単位としての植物を栽培するための栽培室を設け、少なくとも側壁部の一部を透明に形成することで、前記植物の栽培と出荷とを兼用する栽培容器を用いて植物を栽培する植物栽培方法において、遮光性を備え、板状に形成するとともに、上面から下面に向けて開孔する複数の開孔部を設けた栽培容器用遮光体を用意し、前記植物の栽培の際に、前記栽培容器用遮光体に形成した複数の開孔部にそれぞれ前記栽培容器の下側を挿入して取り付けることで、前記栽培容器用遮光体で、前記複数の開孔部より下側の前記複数の栽培容器の側壁部外面を上側から遮蔽することを特徴とする。
【0017】
請求項10に記載の栽培容器用遮光体は、底面部と側壁部を形成することで、上側が開口し内側に消費の一単位としての植物を栽培するための栽培室を設け、少なくとも側壁部の一部を透明に形成することで、前記植物の栽培と出荷とを兼用する栽培容器を複数用いて植物を栽培する際に用いるものであって、遮光性を備え、板状に形成するとともに、上面から下面に向けて開孔する複数の開孔部を設け、これら複数の開孔部にそれぞれ前記栽培容器の下側を挿入して取り付けることで、前記複数の開孔部より下側の前記複数の栽培容器の側壁部外面を上側から遮蔽する遮光部を具備したことを特徴とする。
【0018】
請求項11に記載の植物栽培装置は、底面部と側壁部を形成することで、上側が開口し内側に消費の一単位としての植物を栽培するための栽培室をそれぞれ設け、少なくとも側壁部の一部を透明に形成することで、前記植物の栽培と出荷とを兼用する複数の栽培容器と、遮光性を備え、板状に形成するとともに、上面から下面に向けて開孔する複数の開孔部を設け、これら複数の開孔部にそれぞれ前記栽培容器の下側を挿入して取り付けることで、前記複数の開孔部より下側の前記複数の栽培容器の側壁部外面を上側から遮蔽する栽培容器用遮光体と、を具備したことを特徴とする。
【0019】
請求項12に記載の植物栽培装置は、請求項11に記載の植物栽培装置であって、前記栽培容器用遮光体の複数の開孔部から下側に突出した前記複数の栽培容器の周りをそれぞれ覆う複数の壁部を前記保持具の下面に設けたことを特徴とする。
【0020】
【発明の実施の形態】
以下、図面に基づいて本発明の実施の形態を説明する。
図1ないし図8は本発明に係る第1の実施の形態を示し、図1は芽物野菜栽培中の植物栽培装置を一部を切り欠いて示す斜視図、図2は植物栽培装置の分解斜視図、図3は栽培容器の底面図、図4は栽培箱を示す斜視図、図5は培地を敷く前の前の植物栽培装置を示す断面図、図6は培地を敷いた植物栽培装置を示す断面図、図7は培地に種子を蒔いた状態の植物栽培装置を示す断面図、図8は種子が発芽してある程度育った状態の植物栽培装置を示す断面図である。
【0021】
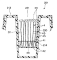
図1に示すように、植物栽培装置1は、透明の栽培容器2に不透明の栽培容器用遮光体3(以下、遮光体3と省略する)を取り付けたものである。
【0022】
栽培容器2は、底面部21と側壁部22,23,24,25を形成することで、上側が開口し内側に消費の一単位としての植物を栽培するための栽培室10を設け、少なくとも側壁部22,23,24,25の一部を透明に形成することで、前記植物の栽培と出荷とを兼用している。
【0023】
ここで、本実施の形態では底面部21と側壁部22,23,24,25の全てを透明に形成している。このように栽培容器2を透明に形成する理由は、出荷した際に、栽培容器2の外から内部の植物を確認できるようにするためである。
【0024】
遮光体3は、遮光性を備え、前記栽培容器2の周りから前記側壁部22,23,24,25の透明に形成された部分を覆う。
【0025】
栽培容器2の栽培室10には、パルプ、発泡ウレタンマット、不織布等からなる植物栽培用培地40(以下、培地40と省略する)が配置され、この培地40の上に前記植物の芽物野菜としての貝割れ大根4の種子41を蒔くことによって貝割れ大根4を栽培する。栽培中の貝割れ大根4は、種子41から根42及び芽43が伸びる。芽43は葉44と茎45を形成する。
【0026】
以下、第1の実施の形態をさらに詳細に説明する。
図1及び図2に示すように、栽培容器2は、例えば透明の合成樹脂を箱状に形成したものである。栽培容器2の上側は開口部20によって開放している。
【0027】
栽培容器2の底面部21は略四角形となっている。底面部21の縁には、四面の側壁部22,23,24,25が緩やかに湾曲して一体に繋がっている。側壁部22,23,24,25は下側が短い台形に形成されている。これにより、栽培容器2は、上側に向かって緩やかな拡開形状に形成されている。
【0028】
側壁部22,23,24,25の上辺には、外側に膨張する段部26を介してフランジ部27が形成されている。フランジ部27の外周には下側に向けて湾曲した湾曲部28が形成されている。
【0029】
側壁部22,23,24,25には、剛性を高めるために壁面を外側に向けて膨らませた凸部29が上下方向のストライプ状に形成されている。
【0030】
遮光体3は、例えば不透明プラスチック等の不透明な材質による四面の側壁部32,33,34,35を一体に繋げて形成したものである。遮光体3の上側及び下側はそれぞれ開口部30,31によって開放している。
【0031】
遮光体3の開口部30には、栽培容器2の底面部21及び側壁部22,23,24,25及び段部26が挿入され、遮光体3の上端には栽培容器2のフランジ部27が係止する。栽培容器2の段部26は、開口部30の裏側に圧接しており、作業中に栽培容器2から遮光体3が不用意に外れないようにしている。
【0032】
図3に示すように、栽培容器2の底面部21には、剛性を高めるために壁面を下側に向けて膨らませた凸部36が網目状に形成されている。また、底面部21には、5個の水抜き用の貫通孔37が形成されている。
【0033】
図4に示すように、栽培箱5は、合成樹脂製箱体51(以下、箱体51と省略する)内に複数の植物栽培装置1を収納して構成される。
【0034】
前記箱体51は、ポリスチレン、ポリエチレン−スチレングラフト共重合体、ポリ塩化ビニル、ポリエチレン、ポリプロピレン等の合成樹脂もしくはこれらの発泡体により構成されており、コストおよび軽量性の観点からポリスチレン発泡体が好適に使用される。
【0035】
前記箱体51は、例えば矩形をなす底面部52から全体の縁となる側壁部53,54,55,56を一体に周設してなり、その内側には隔壁等は設けられていない。
【0036】
この側壁部53,54,55,56の四隅の上側には係合凸部57が突設されている。側壁部53,54,55,56の四隅の底面部52側となる下部には係合凹部58が形成されている。前記係合凸部57は、前記植物栽培装置1の高さよりもやや高くなるように形成されていおり、上に配置される箱体51の係合凹部58に係合可能になっている。
【0037】
前記箱体51の内側の底面部52には、複数の水抜き孔59が形成されている。
次に、図5ないし図8を用いて貝割れ大根4の栽培方法を説明する。
まず、図5に示す殺菌を行った複数の植物栽培装置1を複数用意する。
【0038】
この後、図6に示すように、複数の植物栽培装置1の栽培容器2の栽培室10に培地40を配置し培地40に水や栽培液を含ませる。この操作は、全て自動で行う。
【0039】
さらに平行して、かいわれ大根4の種子41(図1及び図7参照)を洗浄する。この洗浄の処理においては、種子41に付着している不要なタンパク質やアミノ酸あるいはゴミなどを取り除くとともに、該種子41に付着している可能性のある雑菌並びに病原菌を取り除くようにする。
【0040】
次に、洗浄が済んだ種子41を水や栽培液に浸けることにより膨潤する。
上述で膨潤処理を行ったために、その後、種子41が発根する。種子41が発根したら、図7に示すように、各栽培室10に配置された培地40の上に貝割れ大根の種子41を直蒔する。
【0041】
この状態で、植物栽培装置1を複数、図4に示した箱体51に収納し、箱体51を栽培棚に収納する。これにより、図8に示すように、種子41が発芽し、培地40の中に貝割れ大根4の根42が延びるとともに、貝割れ大根4の芽43が成長する。そして芽43が所定の高さになった後、栽培棚の上側に設けた放電灯を点灯して貝割れ大根4に光合成を行わせ芽43の葉44を緑化させる。この場合、遮光体3によって、底面部21と側壁部22,23,24,25からの光が貝割れ大根4に当たるのを防止できるので、芽43は必ず垂直上方に向かって育成する。これに加えて芽43の茎45の緑化を防止できる。
【0042】
この状態を数日間つづけ、貝割れ大根4の芽43が適当な高さまで成長すると、箱体51を栽培棚から取り出し、例えばドームの中で超酸性水(オゾン水)の蒸気で殺菌を行う。この後、植物栽培装置1を箱体51から取り出して、栽培容器2から遮光体3を外し、栽培容器2の上側に蓋を取り付け、商品として出荷する。
【0043】
ここで、栽培中において、栽培容器2の上から潅水等によって培地40に含まれる余分な水または栽培液は、貫通孔37から栽培容器2の外に排出される。
【0044】
このような第1の実施の形態では、貝割れ大根4に光を当てて光合成を行わせ芽43の葉44を緑化させる際に、遮光体3によって、側壁部22,23,24,25から栽培室10に光が入射せず、貝割れ大根4に側方からの光が当たるのを防止できるので、芽43は必ず垂直上方に向かって育成できる。栽培容器2から遮光体3を外す際に遮光体3が貝割れ大根4に接触しないので、少なくとも側壁部の一部が透明な栽培容器を用いて栽培及び出荷を行う際に、貝割れ大根4の茎の成長を円滑にするとともに、貝割れ大根4が傷つくのを防止できる、出荷される植物の低価格化と品質を向上を両立できる。これに加えて芽43の茎45の緑化を防止できる。
【0045】
また、第1の実施の形態によれば、遮光体3の材質に不透明のもの選択することで芽物野菜の葉のみを重点的に緑化させて商品としての品位を向上している。しかしながら、第1の実施の形態において、遮光体3の材質に半透明のものを選択することで、芽物野菜の茎も有る程度緑化させるなど、消費者の嗜好に合わせた芽物野菜の緑化も可能である。
【0046】
図9は本発明に係る第2の実施の形態を示す栽培容器の断面図である。
図9を用いた第2の実施の形態の説明において、図1乃至図8に示した第1の実施の形態と同様の構成要素には同じ符号を付して説明を省略している。
【0047】
栽培容器8は底面部81と側壁部23,24,25及び図示しない正面側の側壁部の全てに貫通孔を設けていない。栽培容器8に取り付ける遮光体3は、第1の実施の形態と同様である。
【0048】
このような実施の形態によれば、第1の実施の形態と同様の効果を得ることができるとともに、栽培容器8内の培地に多くの水または栽培液を保持させることができ、多くの水または栽培液を要する根物野菜の栽培に好適である。
【0049】
図10は本発明に係る第3の実施の形態を示す栽培容器の断面図である。
図10を用いた第3の実施の形態の説明において、図1乃至図8に示した第1の実施の形態と同様の構成要素には同じ符号を付して説明を省略している。
【0050】
図10に示すように、栽培容器9は、側壁部93,94,95及び図示しない正面側の側壁部の上下の中間部には通気用の複数の貫通孔97を設け、底面部91には貫通孔を設けていない。栽培容器9に取り付ける遮光体3は、第1の実施の形態と同様である。
【0051】
このような実施の形態によれば、第1の実施の形態と同様の効果を得ることができるとともに、芽物野菜の栽培中において栽培容器9内の通気性を高めるとともに、培地に多くの水または栽培液を保持させることができ、生育のために多くの酸素または各種ガスを要するとともに多くの水または栽培液を要する根物野菜の栽培に好適である。
【0052】
図11は本発明に係る第4の実施の形態を示す栽培容器の断面図である。
図11を用いた第4の実施の形態の説明において、図1乃至図8に示した第1の実施の形態と同様の構成要素には同じ符号を付して説明を省略している。
【0053】
図11に示すように、栽培容器101は、側壁部113,114,115及び図示しない正面側の側壁部の上下の中間部には通気用の複数の貫通孔117を設け、底面部111には複数の貫通孔127を設けている。栽培容器101に取り付ける遮光体3は、第1の実施の形態と同様である。
【0054】
このような実施の形態によれば、第1の実施の形態と同様の効果を得ることができるとともに、栽培容器101内の通気性を高めるとともに、栽培容器101内の余分な水や栽培液を排出することができ、生育のために多くの酸素または各種ガスを要するとともに根腐れしやすい根物野菜の栽培に好適である。
【0055】
図12は本発明に係る第5の実施の形態を示す植物栽培装置の斜視図である。
図12を用いた第5の実施の形態の説明において、図1乃至図8に示した第1の実施の形態と同様の構成要素には同じ符号を付して説明を省略している。
【0056】
図12に示すように、第5の実施の形態の植物栽培装置では、図4に示したものと同様の栽培箱5に栽培容器用遮光体としての間仕切り150を収納し、間仕切り150の複数の収納部151にそれぞれ栽培容器2を収納している。
【0057】
前記間仕切り150は、全体の縁となる周側壁153,154,155,156を一体に周設してなり、その内側には区画をなす区画壁157が設けられている。前記間仕切り150は、周側壁153,154,155,156と区画壁157に囲まれた部分が収納部151になっている。
【0058】
ここで、周側壁153,154,155,156は、側壁部53,54,55,56の切り欠60からの光を遮る役目を有している。
【0059】
複数の栽培容栽培容器2器2は、栽培室10の開口を上側に向けた状態で、前記間仕切り150の複数の収納部151にそれぞれ挿入されるようになっている。また、複数の栽培容器2のフランジ部27は、区画壁157の上端に係止する。
【0060】
このような第5の実施の形態によれば、第1の実施の形態と同様の効果を得ることができるとともに、一体の栽培容器用遮光体としての間仕切り150で同時に複数の栽培容器2の遮光が行えるので、複数の栽培容器2に栽培容器用遮光体を取り付ける場合及び取り外す場合の作業性が向上する。
【0061】
尚、図12に示す第5の実施の形態において、栽培箱5の側壁部53,54,55,56に切り欠60を形成せず、側壁部53,54,55,56の上辺の全ての高さを、区画壁157と同等の高さにした場合、間仕切り150は、周側壁153,154,155,156を設けず、区画壁157のみで形成してもよい。
【0062】
図13乃至図15は本発明に係る第6の実施の形態を示し、図13は植物栽培装置の斜視図、図14は植物栽培装置の要部の断面図、図15は植物が成長した状態を示す説明図である。
【0063】
図13及び図14に示すように、植物栽培装置201は、各々分離して独立した状態の複数の栽培容器220を、一つの保持具210で保持した状態で植物の栽培を行うものである。
【0064】
保持具210は、不透明な合成樹脂で形成され、上面に開口する複数の凹部11を設けている。
【0065】
複数の栽培容器220は、底面部223と側壁部224,225,226,227を形成することで、上側が開口し内側に消費の一単位としての植物を栽培するための栽培室221を設け、少なくとも側壁部224,225,226,227の一部を透明に形成することで、前記植物の栽培と出荷とを兼用する。
【0066】
ここで、第6の実施の形態では底面部223と側壁部224,225,226,227の全てを透明に形成している。このように栽培容器220を透明に形成する理由は、出荷した際に、栽培容器220の外から内部の植物を確認できるようにするためである。
【0067】
保持具210は、栽培容器用遮光体となっている。即ち、保持具210は、不透明な合成樹脂で形成することで遮光性を備え、上側面に開口する複数の凹部211を設け、これら複数の凹部211にそれぞれ前記栽培容器220を挿入することで、前記複数の栽培容器220の前記側壁部の透明に形成された部分を覆う遮光部を有する。
【0068】
これら複数の栽培容器220は、栽培室221の開口を上側に向けた状態で、前記保持具210の複数の凹部211にそれぞれ挿入されるようになっている。また、複数の栽培容器220の側壁の上辺にはフランジ部222が形成されている。フランジ部222は、前記凹部211の周りの縁部212に係止する係止部となっている。
【0069】
次に、保持具210についてさらに詳細に説明する。
前記保持具210は、板状部213を介して箱状部214を連設したものである。
【0070】
板状部213には、複数の開孔部215が前後左右に配列して設けられている。
箱状部214は、上側が開口した箱状に形成され、それぞれの開口部が前記複数の開孔部215に連通した状態で前記板状部213に接続している。
【0071】
これにより、箱状部214の内側と板状部213の開孔部215は、前記凹部211を形成している。
【0072】
図14に示すように、栽培容器220の栽培室221には、パルプ、発泡ウレタンマット、不織布等からなる植物栽培用培地40(以下、培地40と省略する)が配置され、この培地40の上に植物の芽物野菜としての貝割れ大根4の種子41を蒔くことによって貝割れ大根4を栽培する。栽培中の貝割れ大根4は、図15に示すよう種子41から根42及び芽43が伸びる。
【0073】
培地40は、前記貝割れ大根の種蒔きから前記貝割れ大根の栽培が終了するまでの間、例えば1週間、前記貝割れ大根が必要とする水分を含有する。
【0074】
次に、植物の栽培方法を説明する。
まず、図13に示す殺菌を行った複数の栽培容器220と保持具210を用意する。
【0075】
次に、保持具210の複数の凹部211に栽培容器220を挿入するすることで植物栽培装置201を形成する。
【0076】
この後、複数の栽培容器220の栽培室221に培地40を配置し培地40に水や栽培液を含ませる。この操作は、全て自動で行う。
【0077】
さらに平行して、かいわれ大根の種子41を洗浄する。次に、洗浄が済んだ種子41を水や栽培液に浸けることにより膨潤する。この後、種子41が発根したら、図14に示すように、各栽培室221に配置された培地40の上に貝割れ大根の種子41を直蒔する。
【0078】
次に、栽培棚に植物栽培装置201を収納する。これにより、図15に示すように、培地40の中に貝割れ大根4の根42が延びるとともに、貝割れ大根4の芽43が成長する。そして芽43が所定の高さになった後、栽培棚の上側に設けた放電灯を点灯して貝割れ大根4に光合成を行わせ芽43の葉44を緑化させる。
【0079】
この場合、保持具210によって、底面部223と側壁部224,225,226,227からの光が貝割れ大根4に当たるのを防止できるので、芽43は必ず垂直上方に向かって育成する。これに加えて芽43の茎45の緑化を防止できる。
【0080】
この状態を数日間つづけ、貝割れ大根4の芽43が適当な高さまで成長すると、植物栽培装置201を栽培棚から取り出し、保持具210から栽培容器220を取り出し、栽培容器220の上側に蓋を取り付けて出荷する。
【0081】
このような第6の実施の形態によれば、貝割れ大根4に光を当てて光合成を行わせ芽43の葉44を緑化させる際に、保持具210によって、側壁部224,25,226,227から栽培室221に光が入射せず、貝割れ大根4に側方からの光が当たるのを防止できるので、芽43は必ず垂直上方に向かって育成できる。保持具210から栽培容器220を外す際に保持具210が貝割れ大根4に接触しないので、少なくとも側壁部の一部が透明な栽培容器を用いて栽培及び出荷を行う際に、貝割れ大根4の茎45の成長を円滑にするとともに、貝割れ大根4が傷つくのを防止できる、出荷される植物の低価格化と品質を向上を両立できる。これに加えて芽43の茎45の緑化を防止できる。
【0082】
また、第6の実施の形態によれば、保持具210の材質に不透明のもの選択することで芽物野菜の葉のみを重点的に緑化させて商品としての品位を向上している。しかしながら、第6の実施の形態において、保持具210の材質に半透明のものを選択することで、芽物野菜の茎も有る程度緑化させるなど、消費者の嗜好に合わせた芽物野菜の緑化も可能である。
【0083】
図16及び図17は本発明に係る第7の実施の形態を示し、図16は植物栽培装置の斜視図、図17は植物栽培装置の要部の断面図である。
【0084】
図16及び図17を用いた第7の実施の形態の説明において、図13及び図14に示した第6の実施の形態と同様の構成要素には同じ符号を付して説明を省略している。
【0085】
図16及び図17に示すように、植物栽培装置205は、各々分離して独立した状態の複数の栽培容器220を、一つの保持具250で保持した状態で植物の栽培を行うものである。
【0086】
前記保持具250は、底壁252と周側壁253,254,255,256と区画壁257とにより前記複数の凹部251の内面を形成した例えば発砲スチロール製の箱体である。
【0087】
前記保持具250は、例えば矩形をなす底壁252から全体の縁となる周側壁253,254,255,256を一体に周設してなり、その内側には区画をなす区画壁257が設けられている。保持具250は、底壁252と周側壁253,254,255,256と区画壁257に囲まれた部分が凹部251になっている。
【0088】
複数の栽培容器220は、栽培室221の開口を上側に向けた状態で、前記保持具250の複数の凹部251にそれぞれ挿入されるようになっている。また、複数の栽培容器220のフランジ部222は、前記凹部251の周りの縁部252に係止する。
【0089】
次に、植物の栽培方法を説明する。
まず、図17に示す殺菌を行った複数の栽培容器220と保持具250を用意する。
【0090】
保持具250の複数の凹部251に栽培容器220を挿入するすることで植物栽培装置205を形成する。
【0091】
この後、第6の実施の形態と同様の要領で植物の栽培が行える。
このような第7の実施の形態によれば、第6の実施の形態と同様の効果が得られる。
【0092】
図18及び図19は本発明に係る第8の実施の形態を示し、図18は植物栽培装置の斜視図、図19は植物栽培装置の要部の断面図である。
【0093】
図18及び図19を用いた第8の実施の形態の説明において、図13及び図14に示した第6の実施の形態と同様の構成要素には同じ符号を付して説明を省略している。
【0094】
図18及び図19に示すように、植物栽培装置206は、各々分離して独立した状態の複数の栽培容器220を、一つの保持具260で保持した状態で植物の栽培を行うものである。
【0095】
前記保持具260は、遮光性を有する遮光部となっており、不透明の素材を板状に形成するとともに、上面から下面に向けて開孔する複数の開孔部261を前後左右に並べて設けたものである。
【0096】
複数の栽培容器220は、栽培室221の開口を上側に向けた状態で、前記保持具260の上側から複数の開孔部261にそれぞれ挿入されるようになっている。また、複数の栽培容器220のフランジ部222は、前記開孔部261の周りの縁部262に係止する。
【0097】
前記保持具260は、これら複数の開孔部261にそれぞれ前記栽培容器220の下側を挿入して取り付けることで、前記複数の開孔部261より下側の前記複数の栽培容器220の前記側壁部224,225,226,227の外面を上側から遮蔽する栽培容器用遮光体となっている。
【0098】
次に、植物の栽培方法を説明する。
まず、図18に示す殺菌を行った複数の栽培容器220と保持具260を用意する。
【0099】
保持具260の複数の開孔部261に栽培容器220を挿入するすることで植物栽培装置206を形成する。
【0100】
この後、第6の実施の形態と同様の要領で植物の栽培が行える。
このような第8の実施の形態によれば、第6の実施の形態と同様の効果が得られる。
【0101】
図20及び図21は本発明に係る第9の実施の形態を示し、図20は植物栽培装置の斜視図、図21は植物栽培装置の要部の断面図である。
【0102】
図20及び図21を用いた第9の実施の形態の説明において、図13及び図14に示した第6の実施の形態と同様の構成要素には同じ符号を付して説明を省略している。
【0103】
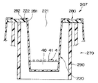
図20及び図21に示すように、植物栽培装置207は、各々分離して独立した状態の複数の栽培容器220を、一つの保持具270で保持した状態で植物の栽培を行うものである。
【0104】
前記保持具270は、板状部280の下面に複数の円筒部290を取り付けて形成している。
【0105】
板状部280は、遮光性を有する遮光部となっており、不透明の素材を板状に形成するとともに、複数の開孔部281を前後左右に並べて形成したものである。
【0106】
円筒部290は、板状部280の複数の開孔部281から下側に突出した複数の栽培容器220の周りを覆う壁部となっている。この場合、円筒部290は、好ましくは遮光性を有する素材で形成するが、必ずしも遮光性を有する必要はない。
【0107】
複数の栽培容器220は、栽培室221の開口を上側に向けた状態で、前記保持具270の複数の開孔部281にそれぞれ挿入されるようになっている。また、複数の栽培容器220のフランジ部222は、前記開孔部281の周りの縁部282に係止する。
【0108】
次に、植物の栽培方法を説明する。
まず、図20に示す殺菌を行った複数の栽培容器220と保持具270を用意する。
【0109】
保持具270の複数の開孔部281に栽培容器220を挿入するすることで植物栽培装置207を形成する。
【0110】
この後、第6の実施の形態と同様の要領で植物の栽培が行える。
このような第9の実施の形態によれば、第6の実施の形態と同様の効果が得られる。
【0111】
尚、本発明で適用できる植物としては、芽物野菜として貝割れ大根以外に、三ツ葉、そば芽、小大豆もやしや緑豆ブラックもやし等にも適用可能であり、さらに野菜としてブロッコリーにも適用可能である。
【0112】
また、図1乃至図21に示した実施の形態では、培地40には初めに栽培液ではなく水を含有させ、後に必要とする肥料を加え、または散布してもよい。
【0113】
また、図1乃至図21に示した実施の形態では、栽培容器全体を透明に形成したが、側壁部の一部に商品名を印刷することも可能で、少なくとも側壁部の一部を透明に形成することで、前記植物の栽培と出荷とを兼用できる。
【0114】
また、図10及び図11に示した実施の形態では、栽培容器は側壁部の上下の中間部には通気用の複数の貫通孔を設けたが、側壁部の全体に貫通孔を設けてもよく、さらに任意の一部に設けてよい。
【0115】
また、図1乃至図8及び図11に示した実施の形態では、栽培容器の底面部の貫通孔は、栽培容器の上から潅水した際等の余分な水分(水または栽培液)を排水するための排水孔として用いたが、栽培容器をプールに浮かべて給水する際の給水孔として用いることも可能である。
【0116】
図1乃至図12に示した実施の形態では、遮光体全体を不透明な遮光部としたが、栽培容器の透明な部分に合わせて、遮光体に対して部分的に不透明な遮光部を設け残りを透明部にしてもよい。
【0117】
また、図13乃至図21に示した実施の形態では、栽培容器220には貫通孔を形成しなかったが、栽培容器220は、側面や底面に、水抜き用、通気用や、栽培容器をプールに浮かべて給水する際の給水孔用の貫通孔を形成してもよい。
【0118】
図13乃至図15に示した実施の形態では、保持具210全体を遮光部としたが、板状部213と箱状部214との一方を不透明の遮光部とし、他方を透明にしてもよい。
【0119】
【発明の効果】
以上述べた様に本発明によれば、少なくとも側壁部の一部が透明な栽培容器を用いて栽培及び出荷を行う際に、植物の茎の成長を円滑にするとともに、植物が傷つくのを防止でき、出荷される植物の低価格化と品質を向上を両立できる。また、本発明によれば、栽培容器の側壁部に形成した通気孔により栽培容器内の通気性を高めることができる。
【図面の簡単な説明】
【図1】本発明の第1の実施の形態に係る植物栽培装置の斜視図。
【図2】本発明の第1の実施の形態に係る植物栽培装置の分解斜視図。
【図3】本発明の第1の実施の形態に係る栽培容器の底面図。
【図4】本発明の第1の実施の形態に係る栽培箱を示す斜視図。
【図5】本発明の第1の実施の形態に係る培地を敷く前の前の植物栽培装置を示す断面図。
【図6】本発明の第1の実施の形態に係る培地を敷いた植物栽培装置を示す断面図。
【図7】本発明の第1の実施の形態に係る培地に種子を蒔いた状態の植物栽培装置を示す断面図。
【図8】本発明の第1の実施の形態に係る種子が発芽してある程度育った状態の植物栽培装置を示す断面図。
【図9】本発明に係る第2の実施の形態を示す栽培容器の断面図。
【図10】本発明に係る第3の実施の形態を示す栽培容器の断面図。
【図11】本発明に係る第4の実施の形態を示す栽培容器の断面図。
【図12】本発明に係る第5の実施の形態を示す植物栽培装置の斜視図。
【図13】本発明に係る第6の実施の形態を示す植物栽培装置の斜視図。
【図14】本発明に係る第6の実施の形態を示す植物栽培装置の要部の断面図。
【図15】本発明に係る第6の実施の形態を示す植物栽培装置により植物が成長した状態を示す説明図。
【図16】本発明に係る第7の実施の形態を示す植物栽培装置の斜視図。
【図17】本発明に係る第7の実施の形態を示す植物栽培装置の要部の断面図。
【図18】本発明に係る第8の実施の形態を示す植物栽培装置の斜視図。
【図19】本発明に係る第8の実施の形態を示す植物栽培装置の要部の断面図。
【図20】本発明に係る第9の実施の形態を示す植物栽培装置の斜視図。
【図21】本発明に係る第9の実施の形態を示す植物栽培装置の要部の断面図。
【符号の説明】
1,201 …植物栽培装置
2,220 …栽培容器
3 …遮光体
4 …貝割れ大根
21 …底面部
22,23,24,25 …側壁部
40 …植物栽培用培地
41 …種子
210 …保持具
211 …凹部
213 …板状部
214 …箱状部
221 …栽培室
222 …フランジ部
【発明の属する技術分野】
本発明は植物を栽培する植物栽培方法、栽培容器用遮光体及び植物栽培装置に係り、特に芽物野菜の栽培に好適な植物栽培方法、栽培容器用遮光体及び植物栽培装置に関する。
【0002】
【従来の技術】
従来、貝割れ大根、三ツ葉、そば芽や小大豆もやしなどの芽物野菜を透明な栽培兼包装容器を用いて栽培を行う際には、上部側からのみならず側壁部側からも光が当たるために、芽物野菜の茎が必ずしも垂直上方に向かって育成しないことがあった。
【0003】
このような難点を解決するために、栽培兼包装容器の内壁と栽培中の芽物野菜の間に栽培兼包装容器用遮光体の遮光部を挿入することで、側壁部側からの光が芽物野菜に当たるのを防止する技術がある(例えば、特許文献1参照)。
【0004】
【特許文献1】
特許番号第2731774号公報(第2−5頁、図1−3)
【0005】
【発明が解決しようとする課題】
しかしながら、前記栽培兼包装容器の内壁と芽物野菜の間に遮光部を挿入することで、側壁部側からの光が芽物野菜に当たるのを防止する技術では、遮光部を引き抜く際に、遮光部が芽物野菜を傷つけることが多々あり、この場合には栽培した芽物野菜を破棄しなければならなくなり、芽物野菜の原価を増大させていた。
【0006】
本発明は上記事情に鑑みてなされたものであり、少なくとも側壁部の一部が透明な栽培容器を用いて栽培及び出荷を行う際に、植物の茎の成長を円滑にするとともに、植物が傷つくのを防止できる植物栽培方法、栽培容器用遮光体及び植物栽培装置の提供を目的としている。
【0007】
また、本発明は栽培室の通気性を高めることができる植物栽培装置の提供を目的としている。
【0008】
【課題を解決するための手段】
前記目的を達成するため請求項1に記載の植物栽培方法は、底面部と側壁部を形成することで、上側が開口し内側に消費の一単位としての植物を栽培するための栽培室を設け、少なくとも側壁部の一部を透明に形成することで、前記植物の栽培と出荷とを兼用する栽培容器を用いて植物を栽培する植物栽培方法において、前記植物の栽培の際に、遮光性を備えた栽培容器用遮光体で、前記栽培容器の周りから前記側壁部の透明に形成された部分を覆うことを特徴とする。
【0009】
請求項2に記載の栽培容器用遮光体は、底面部と側壁部を形成することで、上側が開口し内側に消費の一単位としての植物を栽培するための栽培室を設け、少なくとも側壁部の一部を透明に形成することで、前記植物の栽培と出荷とを兼用する栽培容器を用いて植物を栽培する際に用いるものであって、遮光性を備え、前記栽培容器の周りから前記側壁部の透明に形成された部分を覆う遮光部を具備したことを特徴とする。
【0010】
請求項3に記載の植物栽培装置は、底面部と側壁部を形成することで、上側が開口し内側に消費の一単位としての植物を栽培するための栽培室を設け、少なくとも側壁部の一部を透明に形成することで、前記植物の栽培と出荷とを兼用する栽培容器と、遮光性を備え、前記栽培容器の周りから前記側壁部の透明に形成された部分を覆う栽培容器用遮光体と、を具備したことを特徴とする。
【0011】
請求項4に記載の植物栽培装置は、請求項3に記載の植物栽培装置であって、前記栽培容器の底面部と側壁部の内、少なくとも一方に貫通孔を形成したことを特徴とする。
【0012】
請求項5に記載の植物栽培装置は、請求項3に記載の植物栽培装置であって、前記栽培容器の底面部と側壁部の内、少なくとも側壁部の一部に貫通孔を設けたことを特徴とする。
【0013】
請求項6に記載の植物栽培方法は、底面部と側壁部を形成することで、上側が開口し内側に消費の一単位としての植物を栽培するための栽培室を設け、少なくとも側壁部の一部を透明に形成することで、前記植物の栽培と出荷とを兼用する栽培容器を用いて植物を栽培する植物栽培方法において、遮光性を備え、上側面に開口する複数の凹部を設けた栽培容器用遮光体を用意し、前記植物の栽培の際に、前記栽培容器用遮光体の複数の凹部にそれぞれ前記栽培容器を挿入することで、前記栽培容器用遮光体で、前記複数の栽培容器の前記側壁部の透明に形成された部分を覆うことを特徴とする。
【0014】
請求項7に記載の栽培容器用遮光体は、底面部と側壁部を形成することで、上側が開口し内側に消費の一単位としての植物を栽培するための栽培室を設け、少なくとも側壁部の一部を透明に形成することで、前記植物の栽培と出荷とを兼用する栽培容器を複数用いて植物を栽培する際に用いるものであって、遮光性を備え、上側面に開口する複数の凹部を設け、これら複数の凹部にそれぞれ前記栽培容器を挿入することで、前記複数の栽培容器の前記側壁部の透明に形成された部分を覆う遮光部を具備したことを特徴とする。
【0015】
請求項8に記載の植物栽培装置は、底面部と側壁部を形成することで、上側が開口し内側に消費の一単位としての植物を栽培するための栽培室をそれぞれ設け、少なくとも側壁部の一部を透明に形成することで、前記植物の栽培と出荷とを兼用する複数の栽培容器と、遮光性を備え、上側面に開口する複数の凹部を設け、これら複数の凹部にそれぞれ前記栽培容器を挿入することで、前記複数の栽培容器の前記側壁部の透明に形成された部分を覆う栽培容器用遮光体と、を具備したことを特徴とする。
【0016】
請求項9に記載の植物栽培方法は、底面部と側壁部を形成することで、上側が開口し内側に消費の一単位としての植物を栽培するための栽培室を設け、少なくとも側壁部の一部を透明に形成することで、前記植物の栽培と出荷とを兼用する栽培容器を用いて植物を栽培する植物栽培方法において、遮光性を備え、板状に形成するとともに、上面から下面に向けて開孔する複数の開孔部を設けた栽培容器用遮光体を用意し、前記植物の栽培の際に、前記栽培容器用遮光体に形成した複数の開孔部にそれぞれ前記栽培容器の下側を挿入して取り付けることで、前記栽培容器用遮光体で、前記複数の開孔部より下側の前記複数の栽培容器の側壁部外面を上側から遮蔽することを特徴とする。
【0017】
請求項10に記載の栽培容器用遮光体は、底面部と側壁部を形成することで、上側が開口し内側に消費の一単位としての植物を栽培するための栽培室を設け、少なくとも側壁部の一部を透明に形成することで、前記植物の栽培と出荷とを兼用する栽培容器を複数用いて植物を栽培する際に用いるものであって、遮光性を備え、板状に形成するとともに、上面から下面に向けて開孔する複数の開孔部を設け、これら複数の開孔部にそれぞれ前記栽培容器の下側を挿入して取り付けることで、前記複数の開孔部より下側の前記複数の栽培容器の側壁部外面を上側から遮蔽する遮光部を具備したことを特徴とする。
【0018】
請求項11に記載の植物栽培装置は、底面部と側壁部を形成することで、上側が開口し内側に消費の一単位としての植物を栽培するための栽培室をそれぞれ設け、少なくとも側壁部の一部を透明に形成することで、前記植物の栽培と出荷とを兼用する複数の栽培容器と、遮光性を備え、板状に形成するとともに、上面から下面に向けて開孔する複数の開孔部を設け、これら複数の開孔部にそれぞれ前記栽培容器の下側を挿入して取り付けることで、前記複数の開孔部より下側の前記複数の栽培容器の側壁部外面を上側から遮蔽する栽培容器用遮光体と、を具備したことを特徴とする。
【0019】
請求項12に記載の植物栽培装置は、請求項11に記載の植物栽培装置であって、前記栽培容器用遮光体の複数の開孔部から下側に突出した前記複数の栽培容器の周りをそれぞれ覆う複数の壁部を前記保持具の下面に設けたことを特徴とする。
【0020】
【発明の実施の形態】
以下、図面に基づいて本発明の実施の形態を説明する。
図1ないし図8は本発明に係る第1の実施の形態を示し、図1は芽物野菜栽培中の植物栽培装置を一部を切り欠いて示す斜視図、図2は植物栽培装置の分解斜視図、図3は栽培容器の底面図、図4は栽培箱を示す斜視図、図5は培地を敷く前の前の植物栽培装置を示す断面図、図6は培地を敷いた植物栽培装置を示す断面図、図7は培地に種子を蒔いた状態の植物栽培装置を示す断面図、図8は種子が発芽してある程度育った状態の植物栽培装置を示す断面図である。
【0021】
図1に示すように、植物栽培装置1は、透明の栽培容器2に不透明の栽培容器用遮光体3(以下、遮光体3と省略する)を取り付けたものである。
【0022】
栽培容器2は、底面部21と側壁部22,23,24,25を形成することで、上側が開口し内側に消費の一単位としての植物を栽培するための栽培室10を設け、少なくとも側壁部22,23,24,25の一部を透明に形成することで、前記植物の栽培と出荷とを兼用している。
【0023】
ここで、本実施の形態では底面部21と側壁部22,23,24,25の全てを透明に形成している。このように栽培容器2を透明に形成する理由は、出荷した際に、栽培容器2の外から内部の植物を確認できるようにするためである。
【0024】
遮光体3は、遮光性を備え、前記栽培容器2の周りから前記側壁部22,23,24,25の透明に形成された部分を覆う。
【0025】
栽培容器2の栽培室10には、パルプ、発泡ウレタンマット、不織布等からなる植物栽培用培地40(以下、培地40と省略する)が配置され、この培地40の上に前記植物の芽物野菜としての貝割れ大根4の種子41を蒔くことによって貝割れ大根4を栽培する。栽培中の貝割れ大根4は、種子41から根42及び芽43が伸びる。芽43は葉44と茎45を形成する。
【0026】
以下、第1の実施の形態をさらに詳細に説明する。
図1及び図2に示すように、栽培容器2は、例えば透明の合成樹脂を箱状に形成したものである。栽培容器2の上側は開口部20によって開放している。
【0027】
栽培容器2の底面部21は略四角形となっている。底面部21の縁には、四面の側壁部22,23,24,25が緩やかに湾曲して一体に繋がっている。側壁部22,23,24,25は下側が短い台形に形成されている。これにより、栽培容器2は、上側に向かって緩やかな拡開形状に形成されている。
【0028】
側壁部22,23,24,25の上辺には、外側に膨張する段部26を介してフランジ部27が形成されている。フランジ部27の外周には下側に向けて湾曲した湾曲部28が形成されている。
【0029】
側壁部22,23,24,25には、剛性を高めるために壁面を外側に向けて膨らませた凸部29が上下方向のストライプ状に形成されている。
【0030】
遮光体3は、例えば不透明プラスチック等の不透明な材質による四面の側壁部32,33,34,35を一体に繋げて形成したものである。遮光体3の上側及び下側はそれぞれ開口部30,31によって開放している。
【0031】
遮光体3の開口部30には、栽培容器2の底面部21及び側壁部22,23,24,25及び段部26が挿入され、遮光体3の上端には栽培容器2のフランジ部27が係止する。栽培容器2の段部26は、開口部30の裏側に圧接しており、作業中に栽培容器2から遮光体3が不用意に外れないようにしている。
【0032】
図3に示すように、栽培容器2の底面部21には、剛性を高めるために壁面を下側に向けて膨らませた凸部36が網目状に形成されている。また、底面部21には、5個の水抜き用の貫通孔37が形成されている。
【0033】
図4に示すように、栽培箱5は、合成樹脂製箱体51(以下、箱体51と省略する)内に複数の植物栽培装置1を収納して構成される。
【0034】
前記箱体51は、ポリスチレン、ポリエチレン−スチレングラフト共重合体、ポリ塩化ビニル、ポリエチレン、ポリプロピレン等の合成樹脂もしくはこれらの発泡体により構成されており、コストおよび軽量性の観点からポリスチレン発泡体が好適に使用される。
【0035】
前記箱体51は、例えば矩形をなす底面部52から全体の縁となる側壁部53,54,55,56を一体に周設してなり、その内側には隔壁等は設けられていない。
【0036】
この側壁部53,54,55,56の四隅の上側には係合凸部57が突設されている。側壁部53,54,55,56の四隅の底面部52側となる下部には係合凹部58が形成されている。前記係合凸部57は、前記植物栽培装置1の高さよりもやや高くなるように形成されていおり、上に配置される箱体51の係合凹部58に係合可能になっている。
【0037】
前記箱体51の内側の底面部52には、複数の水抜き孔59が形成されている。
次に、図5ないし図8を用いて貝割れ大根4の栽培方法を説明する。
まず、図5に示す殺菌を行った複数の植物栽培装置1を複数用意する。
【0038】
この後、図6に示すように、複数の植物栽培装置1の栽培容器2の栽培室10に培地40を配置し培地40に水や栽培液を含ませる。この操作は、全て自動で行う。
【0039】
さらに平行して、かいわれ大根4の種子41(図1及び図7参照)を洗浄する。この洗浄の処理においては、種子41に付着している不要なタンパク質やアミノ酸あるいはゴミなどを取り除くとともに、該種子41に付着している可能性のある雑菌並びに病原菌を取り除くようにする。
【0040】
次に、洗浄が済んだ種子41を水や栽培液に浸けることにより膨潤する。
上述で膨潤処理を行ったために、その後、種子41が発根する。種子41が発根したら、図7に示すように、各栽培室10に配置された培地40の上に貝割れ大根の種子41を直蒔する。
【0041】
この状態で、植物栽培装置1を複数、図4に示した箱体51に収納し、箱体51を栽培棚に収納する。これにより、図8に示すように、種子41が発芽し、培地40の中に貝割れ大根4の根42が延びるとともに、貝割れ大根4の芽43が成長する。そして芽43が所定の高さになった後、栽培棚の上側に設けた放電灯を点灯して貝割れ大根4に光合成を行わせ芽43の葉44を緑化させる。この場合、遮光体3によって、底面部21と側壁部22,23,24,25からの光が貝割れ大根4に当たるのを防止できるので、芽43は必ず垂直上方に向かって育成する。これに加えて芽43の茎45の緑化を防止できる。
【0042】
この状態を数日間つづけ、貝割れ大根4の芽43が適当な高さまで成長すると、箱体51を栽培棚から取り出し、例えばドームの中で超酸性水(オゾン水)の蒸気で殺菌を行う。この後、植物栽培装置1を箱体51から取り出して、栽培容器2から遮光体3を外し、栽培容器2の上側に蓋を取り付け、商品として出荷する。
【0043】
ここで、栽培中において、栽培容器2の上から潅水等によって培地40に含まれる余分な水または栽培液は、貫通孔37から栽培容器2の外に排出される。
【0044】
このような第1の実施の形態では、貝割れ大根4に光を当てて光合成を行わせ芽43の葉44を緑化させる際に、遮光体3によって、側壁部22,23,24,25から栽培室10に光が入射せず、貝割れ大根4に側方からの光が当たるのを防止できるので、芽43は必ず垂直上方に向かって育成できる。栽培容器2から遮光体3を外す際に遮光体3が貝割れ大根4に接触しないので、少なくとも側壁部の一部が透明な栽培容器を用いて栽培及び出荷を行う際に、貝割れ大根4の茎の成長を円滑にするとともに、貝割れ大根4が傷つくのを防止できる、出荷される植物の低価格化と品質を向上を両立できる。これに加えて芽43の茎45の緑化を防止できる。
【0045】
また、第1の実施の形態によれば、遮光体3の材質に不透明のもの選択することで芽物野菜の葉のみを重点的に緑化させて商品としての品位を向上している。しかしながら、第1の実施の形態において、遮光体3の材質に半透明のものを選択することで、芽物野菜の茎も有る程度緑化させるなど、消費者の嗜好に合わせた芽物野菜の緑化も可能である。
【0046】
図9は本発明に係る第2の実施の形態を示す栽培容器の断面図である。
図9を用いた第2の実施の形態の説明において、図1乃至図8に示した第1の実施の形態と同様の構成要素には同じ符号を付して説明を省略している。
【0047】
栽培容器8は底面部81と側壁部23,24,25及び図示しない正面側の側壁部の全てに貫通孔を設けていない。栽培容器8に取り付ける遮光体3は、第1の実施の形態と同様である。
【0048】
このような実施の形態によれば、第1の実施の形態と同様の効果を得ることができるとともに、栽培容器8内の培地に多くの水または栽培液を保持させることができ、多くの水または栽培液を要する根物野菜の栽培に好適である。
【0049】
図10は本発明に係る第3の実施の形態を示す栽培容器の断面図である。
図10を用いた第3の実施の形態の説明において、図1乃至図8に示した第1の実施の形態と同様の構成要素には同じ符号を付して説明を省略している。
【0050】
図10に示すように、栽培容器9は、側壁部93,94,95及び図示しない正面側の側壁部の上下の中間部には通気用の複数の貫通孔97を設け、底面部91には貫通孔を設けていない。栽培容器9に取り付ける遮光体3は、第1の実施の形態と同様である。
【0051】
このような実施の形態によれば、第1の実施の形態と同様の効果を得ることができるとともに、芽物野菜の栽培中において栽培容器9内の通気性を高めるとともに、培地に多くの水または栽培液を保持させることができ、生育のために多くの酸素または各種ガスを要するとともに多くの水または栽培液を要する根物野菜の栽培に好適である。
【0052】
図11は本発明に係る第4の実施の形態を示す栽培容器の断面図である。
図11を用いた第4の実施の形態の説明において、図1乃至図8に示した第1の実施の形態と同様の構成要素には同じ符号を付して説明を省略している。
【0053】
図11に示すように、栽培容器101は、側壁部113,114,115及び図示しない正面側の側壁部の上下の中間部には通気用の複数の貫通孔117を設け、底面部111には複数の貫通孔127を設けている。栽培容器101に取り付ける遮光体3は、第1の実施の形態と同様である。
【0054】
このような実施の形態によれば、第1の実施の形態と同様の効果を得ることができるとともに、栽培容器101内の通気性を高めるとともに、栽培容器101内の余分な水や栽培液を排出することができ、生育のために多くの酸素または各種ガスを要するとともに根腐れしやすい根物野菜の栽培に好適である。
【0055】
図12は本発明に係る第5の実施の形態を示す植物栽培装置の斜視図である。
図12を用いた第5の実施の形態の説明において、図1乃至図8に示した第1の実施の形態と同様の構成要素には同じ符号を付して説明を省略している。
【0056】
図12に示すように、第5の実施の形態の植物栽培装置では、図4に示したものと同様の栽培箱5に栽培容器用遮光体としての間仕切り150を収納し、間仕切り150の複数の収納部151にそれぞれ栽培容器2を収納している。
【0057】
前記間仕切り150は、全体の縁となる周側壁153,154,155,156を一体に周設してなり、その内側には区画をなす区画壁157が設けられている。前記間仕切り150は、周側壁153,154,155,156と区画壁157に囲まれた部分が収納部151になっている。
【0058】
ここで、周側壁153,154,155,156は、側壁部53,54,55,56の切り欠60からの光を遮る役目を有している。
【0059】
複数の栽培容栽培容器2器2は、栽培室10の開口を上側に向けた状態で、前記間仕切り150の複数の収納部151にそれぞれ挿入されるようになっている。また、複数の栽培容器2のフランジ部27は、区画壁157の上端に係止する。
【0060】
このような第5の実施の形態によれば、第1の実施の形態と同様の効果を得ることができるとともに、一体の栽培容器用遮光体としての間仕切り150で同時に複数の栽培容器2の遮光が行えるので、複数の栽培容器2に栽培容器用遮光体を取り付ける場合及び取り外す場合の作業性が向上する。
【0061】
尚、図12に示す第5の実施の形態において、栽培箱5の側壁部53,54,55,56に切り欠60を形成せず、側壁部53,54,55,56の上辺の全ての高さを、区画壁157と同等の高さにした場合、間仕切り150は、周側壁153,154,155,156を設けず、区画壁157のみで形成してもよい。
【0062】
図13乃至図15は本発明に係る第6の実施の形態を示し、図13は植物栽培装置の斜視図、図14は植物栽培装置の要部の断面図、図15は植物が成長した状態を示す説明図である。
【0063】
図13及び図14に示すように、植物栽培装置201は、各々分離して独立した状態の複数の栽培容器220を、一つの保持具210で保持した状態で植物の栽培を行うものである。
【0064】
保持具210は、不透明な合成樹脂で形成され、上面に開口する複数の凹部11を設けている。
【0065】
複数の栽培容器220は、底面部223と側壁部224,225,226,227を形成することで、上側が開口し内側に消費の一単位としての植物を栽培するための栽培室221を設け、少なくとも側壁部224,225,226,227の一部を透明に形成することで、前記植物の栽培と出荷とを兼用する。
【0066】
ここで、第6の実施の形態では底面部223と側壁部224,225,226,227の全てを透明に形成している。このように栽培容器220を透明に形成する理由は、出荷した際に、栽培容器220の外から内部の植物を確認できるようにするためである。
【0067】
保持具210は、栽培容器用遮光体となっている。即ち、保持具210は、不透明な合成樹脂で形成することで遮光性を備え、上側面に開口する複数の凹部211を設け、これら複数の凹部211にそれぞれ前記栽培容器220を挿入することで、前記複数の栽培容器220の前記側壁部の透明に形成された部分を覆う遮光部を有する。
【0068】
これら複数の栽培容器220は、栽培室221の開口を上側に向けた状態で、前記保持具210の複数の凹部211にそれぞれ挿入されるようになっている。また、複数の栽培容器220の側壁の上辺にはフランジ部222が形成されている。フランジ部222は、前記凹部211の周りの縁部212に係止する係止部となっている。
【0069】
次に、保持具210についてさらに詳細に説明する。
前記保持具210は、板状部213を介して箱状部214を連設したものである。
【0070】
板状部213には、複数の開孔部215が前後左右に配列して設けられている。
箱状部214は、上側が開口した箱状に形成され、それぞれの開口部が前記複数の開孔部215に連通した状態で前記板状部213に接続している。
【0071】
これにより、箱状部214の内側と板状部213の開孔部215は、前記凹部211を形成している。
【0072】
図14に示すように、栽培容器220の栽培室221には、パルプ、発泡ウレタンマット、不織布等からなる植物栽培用培地40(以下、培地40と省略する)が配置され、この培地40の上に植物の芽物野菜としての貝割れ大根4の種子41を蒔くことによって貝割れ大根4を栽培する。栽培中の貝割れ大根4は、図15に示すよう種子41から根42及び芽43が伸びる。
【0073】
培地40は、前記貝割れ大根の種蒔きから前記貝割れ大根の栽培が終了するまでの間、例えば1週間、前記貝割れ大根が必要とする水分を含有する。
【0074】
次に、植物の栽培方法を説明する。
まず、図13に示す殺菌を行った複数の栽培容器220と保持具210を用意する。
【0075】
次に、保持具210の複数の凹部211に栽培容器220を挿入するすることで植物栽培装置201を形成する。
【0076】
この後、複数の栽培容器220の栽培室221に培地40を配置し培地40に水や栽培液を含ませる。この操作は、全て自動で行う。
【0077】
さらに平行して、かいわれ大根の種子41を洗浄する。次に、洗浄が済んだ種子41を水や栽培液に浸けることにより膨潤する。この後、種子41が発根したら、図14に示すように、各栽培室221に配置された培地40の上に貝割れ大根の種子41を直蒔する。
【0078】
次に、栽培棚に植物栽培装置201を収納する。これにより、図15に示すように、培地40の中に貝割れ大根4の根42が延びるとともに、貝割れ大根4の芽43が成長する。そして芽43が所定の高さになった後、栽培棚の上側に設けた放電灯を点灯して貝割れ大根4に光合成を行わせ芽43の葉44を緑化させる。
【0079】
この場合、保持具210によって、底面部223と側壁部224,225,226,227からの光が貝割れ大根4に当たるのを防止できるので、芽43は必ず垂直上方に向かって育成する。これに加えて芽43の茎45の緑化を防止できる。
【0080】
この状態を数日間つづけ、貝割れ大根4の芽43が適当な高さまで成長すると、植物栽培装置201を栽培棚から取り出し、保持具210から栽培容器220を取り出し、栽培容器220の上側に蓋を取り付けて出荷する。
【0081】
このような第6の実施の形態によれば、貝割れ大根4に光を当てて光合成を行わせ芽43の葉44を緑化させる際に、保持具210によって、側壁部224,25,226,227から栽培室221に光が入射せず、貝割れ大根4に側方からの光が当たるのを防止できるので、芽43は必ず垂直上方に向かって育成できる。保持具210から栽培容器220を外す際に保持具210が貝割れ大根4に接触しないので、少なくとも側壁部の一部が透明な栽培容器を用いて栽培及び出荷を行う際に、貝割れ大根4の茎45の成長を円滑にするとともに、貝割れ大根4が傷つくのを防止できる、出荷される植物の低価格化と品質を向上を両立できる。これに加えて芽43の茎45の緑化を防止できる。
【0082】
また、第6の実施の形態によれば、保持具210の材質に不透明のもの選択することで芽物野菜の葉のみを重点的に緑化させて商品としての品位を向上している。しかしながら、第6の実施の形態において、保持具210の材質に半透明のものを選択することで、芽物野菜の茎も有る程度緑化させるなど、消費者の嗜好に合わせた芽物野菜の緑化も可能である。
【0083】
図16及び図17は本発明に係る第7の実施の形態を示し、図16は植物栽培装置の斜視図、図17は植物栽培装置の要部の断面図である。
【0084】
図16及び図17を用いた第7の実施の形態の説明において、図13及び図14に示した第6の実施の形態と同様の構成要素には同じ符号を付して説明を省略している。
【0085】
図16及び図17に示すように、植物栽培装置205は、各々分離して独立した状態の複数の栽培容器220を、一つの保持具250で保持した状態で植物の栽培を行うものである。
【0086】
前記保持具250は、底壁252と周側壁253,254,255,256と区画壁257とにより前記複数の凹部251の内面を形成した例えば発砲スチロール製の箱体である。
【0087】
前記保持具250は、例えば矩形をなす底壁252から全体の縁となる周側壁253,254,255,256を一体に周設してなり、その内側には区画をなす区画壁257が設けられている。保持具250は、底壁252と周側壁253,254,255,256と区画壁257に囲まれた部分が凹部251になっている。
【0088】
複数の栽培容器220は、栽培室221の開口を上側に向けた状態で、前記保持具250の複数の凹部251にそれぞれ挿入されるようになっている。また、複数の栽培容器220のフランジ部222は、前記凹部251の周りの縁部252に係止する。
【0089】
次に、植物の栽培方法を説明する。
まず、図17に示す殺菌を行った複数の栽培容器220と保持具250を用意する。
【0090】
保持具250の複数の凹部251に栽培容器220を挿入するすることで植物栽培装置205を形成する。
【0091】
この後、第6の実施の形態と同様の要領で植物の栽培が行える。
このような第7の実施の形態によれば、第6の実施の形態と同様の効果が得られる。
【0092】
図18及び図19は本発明に係る第8の実施の形態を示し、図18は植物栽培装置の斜視図、図19は植物栽培装置の要部の断面図である。
【0093】
図18及び図19を用いた第8の実施の形態の説明において、図13及び図14に示した第6の実施の形態と同様の構成要素には同じ符号を付して説明を省略している。
【0094】
図18及び図19に示すように、植物栽培装置206は、各々分離して独立した状態の複数の栽培容器220を、一つの保持具260で保持した状態で植物の栽培を行うものである。
【0095】
前記保持具260は、遮光性を有する遮光部となっており、不透明の素材を板状に形成するとともに、上面から下面に向けて開孔する複数の開孔部261を前後左右に並べて設けたものである。
【0096】
複数の栽培容器220は、栽培室221の開口を上側に向けた状態で、前記保持具260の上側から複数の開孔部261にそれぞれ挿入されるようになっている。また、複数の栽培容器220のフランジ部222は、前記開孔部261の周りの縁部262に係止する。
【0097】
前記保持具260は、これら複数の開孔部261にそれぞれ前記栽培容器220の下側を挿入して取り付けることで、前記複数の開孔部261より下側の前記複数の栽培容器220の前記側壁部224,225,226,227の外面を上側から遮蔽する栽培容器用遮光体となっている。
【0098】
次に、植物の栽培方法を説明する。
まず、図18に示す殺菌を行った複数の栽培容器220と保持具260を用意する。
【0099】
保持具260の複数の開孔部261に栽培容器220を挿入するすることで植物栽培装置206を形成する。
【0100】
この後、第6の実施の形態と同様の要領で植物の栽培が行える。
このような第8の実施の形態によれば、第6の実施の形態と同様の効果が得られる。
【0101】
図20及び図21は本発明に係る第9の実施の形態を示し、図20は植物栽培装置の斜視図、図21は植物栽培装置の要部の断面図である。
【0102】
図20及び図21を用いた第9の実施の形態の説明において、図13及び図14に示した第6の実施の形態と同様の構成要素には同じ符号を付して説明を省略している。
【0103】
図20及び図21に示すように、植物栽培装置207は、各々分離して独立した状態の複数の栽培容器220を、一つの保持具270で保持した状態で植物の栽培を行うものである。
【0104】
前記保持具270は、板状部280の下面に複数の円筒部290を取り付けて形成している。
【0105】
板状部280は、遮光性を有する遮光部となっており、不透明の素材を板状に形成するとともに、複数の開孔部281を前後左右に並べて形成したものである。
【0106】
円筒部290は、板状部280の複数の開孔部281から下側に突出した複数の栽培容器220の周りを覆う壁部となっている。この場合、円筒部290は、好ましくは遮光性を有する素材で形成するが、必ずしも遮光性を有する必要はない。
【0107】
複数の栽培容器220は、栽培室221の開口を上側に向けた状態で、前記保持具270の複数の開孔部281にそれぞれ挿入されるようになっている。また、複数の栽培容器220のフランジ部222は、前記開孔部281の周りの縁部282に係止する。
【0108】
次に、植物の栽培方法を説明する。
まず、図20に示す殺菌を行った複数の栽培容器220と保持具270を用意する。
【0109】
保持具270の複数の開孔部281に栽培容器220を挿入するすることで植物栽培装置207を形成する。
【0110】
この後、第6の実施の形態と同様の要領で植物の栽培が行える。
このような第9の実施の形態によれば、第6の実施の形態と同様の効果が得られる。
【0111】
尚、本発明で適用できる植物としては、芽物野菜として貝割れ大根以外に、三ツ葉、そば芽、小大豆もやしや緑豆ブラックもやし等にも適用可能であり、さらに野菜としてブロッコリーにも適用可能である。
【0112】
また、図1乃至図21に示した実施の形態では、培地40には初めに栽培液ではなく水を含有させ、後に必要とする肥料を加え、または散布してもよい。
【0113】
また、図1乃至図21に示した実施の形態では、栽培容器全体を透明に形成したが、側壁部の一部に商品名を印刷することも可能で、少なくとも側壁部の一部を透明に形成することで、前記植物の栽培と出荷とを兼用できる。
【0114】
また、図10及び図11に示した実施の形態では、栽培容器は側壁部の上下の中間部には通気用の複数の貫通孔を設けたが、側壁部の全体に貫通孔を設けてもよく、さらに任意の一部に設けてよい。
【0115】
また、図1乃至図8及び図11に示した実施の形態では、栽培容器の底面部の貫通孔は、栽培容器の上から潅水した際等の余分な水分(水または栽培液)を排水するための排水孔として用いたが、栽培容器をプールに浮かべて給水する際の給水孔として用いることも可能である。
【0116】
図1乃至図12に示した実施の形態では、遮光体全体を不透明な遮光部としたが、栽培容器の透明な部分に合わせて、遮光体に対して部分的に不透明な遮光部を設け残りを透明部にしてもよい。
【0117】
また、図13乃至図21に示した実施の形態では、栽培容器220には貫通孔を形成しなかったが、栽培容器220は、側面や底面に、水抜き用、通気用や、栽培容器をプールに浮かべて給水する際の給水孔用の貫通孔を形成してもよい。
【0118】
図13乃至図15に示した実施の形態では、保持具210全体を遮光部としたが、板状部213と箱状部214との一方を不透明の遮光部とし、他方を透明にしてもよい。
【0119】
【発明の効果】
以上述べた様に本発明によれば、少なくとも側壁部の一部が透明な栽培容器を用いて栽培及び出荷を行う際に、植物の茎の成長を円滑にするとともに、植物が傷つくのを防止でき、出荷される植物の低価格化と品質を向上を両立できる。また、本発明によれば、栽培容器の側壁部に形成した通気孔により栽培容器内の通気性を高めることができる。
【図面の簡単な説明】
【図1】本発明の第1の実施の形態に係る植物栽培装置の斜視図。
【図2】本発明の第1の実施の形態に係る植物栽培装置の分解斜視図。
【図3】本発明の第1の実施の形態に係る栽培容器の底面図。
【図4】本発明の第1の実施の形態に係る栽培箱を示す斜視図。
【図5】本発明の第1の実施の形態に係る培地を敷く前の前の植物栽培装置を示す断面図。
【図6】本発明の第1の実施の形態に係る培地を敷いた植物栽培装置を示す断面図。
【図7】本発明の第1の実施の形態に係る培地に種子を蒔いた状態の植物栽培装置を示す断面図。
【図8】本発明の第1の実施の形態に係る種子が発芽してある程度育った状態の植物栽培装置を示す断面図。
【図9】本発明に係る第2の実施の形態を示す栽培容器の断面図。
【図10】本発明に係る第3の実施の形態を示す栽培容器の断面図。
【図11】本発明に係る第4の実施の形態を示す栽培容器の断面図。
【図12】本発明に係る第5の実施の形態を示す植物栽培装置の斜視図。
【図13】本発明に係る第6の実施の形態を示す植物栽培装置の斜視図。
【図14】本発明に係る第6の実施の形態を示す植物栽培装置の要部の断面図。
【図15】本発明に係る第6の実施の形態を示す植物栽培装置により植物が成長した状態を示す説明図。
【図16】本発明に係る第7の実施の形態を示す植物栽培装置の斜視図。
【図17】本発明に係る第7の実施の形態を示す植物栽培装置の要部の断面図。
【図18】本発明に係る第8の実施の形態を示す植物栽培装置の斜視図。
【図19】本発明に係る第8の実施の形態を示す植物栽培装置の要部の断面図。
【図20】本発明に係る第9の実施の形態を示す植物栽培装置の斜視図。
【図21】本発明に係る第9の実施の形態を示す植物栽培装置の要部の断面図。
【符号の説明】
1,201 …植物栽培装置
2,220 …栽培容器
3 …遮光体
4 …貝割れ大根
21 …底面部
22,23,24,25 …側壁部
40 …植物栽培用培地
41 …種子
210 …保持具
211 …凹部
213 …板状部
214 …箱状部
221 …栽培室
222 …フランジ部
Claims (12)
- 底面部と側壁部を形成することで、上側が開口し内側に消費の一単位としての植物を栽培するための栽培室を設け、少なくとも側壁部の一部を透明に形成することで、前記植物の栽培と出荷とを兼用する栽培容器を用いて植物を栽培する植物栽培方法において、
前記植物の栽培の際に、遮光性を備えた栽培容器用遮光体で、前記栽培容器の周りから前記側壁部の透明に形成された部分を覆うことを特徴とする植物栽培方法。 - 底面部と側壁部を形成することで、上側が開口し内側に消費の一単位としての植物を栽培するための栽培室を設け、少なくとも側壁部の一部を透明に形成することで、前記植物の栽培と出荷とを兼用する栽培容器を用いて植物を栽培する際に用いるものであって、
遮光性を備え、前記栽培容器の周りから前記側壁部の透明に形成された部分を覆う遮光部を具備したことを特徴とする栽培容器用遮光体。 - 底面部と側壁部を形成することで、上側が開口し内側に消費の一単位としての植物を栽培するための栽培室を設け、少なくとも側壁部の一部を透明に形成することで、前記植物の栽培と出荷とを兼用する栽培容器と、
遮光性を備え、前記栽培容器の周りから前記側壁部の透明に形成された部分を覆う栽培容器用遮光体と、
を具備したことを特徴とする植物栽培装置。 - 前記栽培容器の底面部と側壁部の内、少なくとも一方に貫通孔を形成したことを特徴とする請求項3に記載の植物栽培装置。
- 前記栽培容器の底面部と側壁部の内、少なくとも側壁部の一部に貫通孔を設けたことを特徴とする請求項3に記載の植物栽培装置。
- 底面部と側壁部を形成することで、上側が開口し内側に消費の一単位としての植物を栽培するための栽培室を設け、少なくとも側壁部の一部を透明に形成することで、前記植物の栽培と出荷とを兼用する栽培容器を用いて植物を栽培する植物栽培方法において、
遮光性を備え、上側面に開口する複数の凹部を設けた栽培容器用遮光体を用意し、前記植物の栽培の際に、前記栽培容器用遮光体の複数の凹部にそれぞれ前記栽培容器を挿入することで、前記栽培容器用遮光体で、前記複数の栽培容器の前記側壁部の透明に形成された部分を覆うことを特徴とする植物栽培方法。 - 底面部と側壁部を形成することで、上側が開口し内側に消費の一単位としての植物を栽培するための栽培室を設け、少なくとも側壁部の一部を透明に形成することで、前記植物の栽培と出荷とを兼用する栽培容器を複数用いて植物を栽培する際に用いるものであって、
遮光性を備え、上側面に開口する複数の凹部を設け、これら複数の凹部にそれぞれ前記栽培容器を挿入することで、前記複数の栽培容器の前記側壁部の透明に形成された部分を覆う遮光部を具備したことを特徴とする栽培容器用遮光体。 - 底面部と側壁部を形成することで、上側が開口し内側に消費の一単位としての植物を栽培するための栽培室をそれぞれ設け、少なくとも側壁部の一部を透明に形成することで、前記植物の栽培と出荷とを兼用する複数の栽培容器と、
遮光性を備え、上側面に開口する複数の凹部を設け、これら複数の凹部にそれぞれ前記栽培容器を挿入することで、前記複数の栽培容器の前記側壁部の透明に形成された部分を覆う栽培容器用遮光体と、
を具備したことを特徴とする植物栽培装置。 - 底面部と側壁部を形成することで、上側が開口し内側に消費の一単位としての植物を栽培するための栽培室を設け、少なくとも側壁部の一部を透明に形成することで、前記植物の栽培と出荷とを兼用する栽培容器を用いて植物を栽培する植物栽培方法において、
遮光性を備え、板状に形成するとともに、上面から下面に向けて開孔する複数の開孔部を設けた栽培容器用遮光体を用意し、前記植物の栽培の際に、前記栽培容器用遮光体に形成した複数の開孔部にそれぞれ前記栽培容器の下側を挿入して取り付けることで、前記栽培容器用遮光体で、前記複数の開孔部より下側の前記複数の栽培容器の側壁部外面を上側から遮蔽することを特徴とする植物栽培方法。 - 底面部と側壁部を形成することで、上側が開口し内側に消費の一単位としての植物を栽培するための栽培室を設け、少なくとも側壁部の一部を透明に形成することで、前記植物の栽培と出荷とを兼用する栽培容器を複数用いて植物を栽培する際に用いるものであって、
遮光性を備え、板状に形成するとともに、上面から下面に向けて開孔する複数の開孔部を設け、これら複数の開孔部にそれぞれ前記栽培容器の下側を挿入して取り付けることで、前記複数の開孔部より下側の前記複数の栽培容器の側壁部外面を上側から遮蔽する遮光部を具備したことを特徴とする栽培容器用遮光体。 - 底面部と側壁部を形成することで、上側が開口し内側に消費の一単位としての植物を栽培するための栽培室をそれぞれ設け、少なくとも側壁部の一部を透明に形成することで、前記植物の栽培と出荷とを兼用する複数の栽培容器と、
遮光性を備え、板状に形成するとともに、上面から下面に向けて開孔する複数の開孔部を設け、これら複数の開孔部にそれぞれ前記栽培容器の下側を挿入して取り付けることで、前記複数の開孔部より下側の前記複数の栽培容器の側壁部外面を上側から遮蔽する栽培容器用遮光体と、
を具備したことを特徴とする植物栽培装置。 - 前記栽培容器用遮光体の複数の開孔部から下側に突出した前記複数の栽培容器の周りをそれぞれ覆う複数の壁部を前記保持具の下面に設けたことを特徴とする請求項11に記載の植物栽培装置。
Priority Applications (1)
| Application Number | Priority Date | Filing Date | Title |
|---|---|---|---|
| JP2003035662A JP2004242575A (ja) | 2003-02-13 | 2003-02-13 | 植物栽培方法、栽培容器用遮光体及び植物栽培装置 |
Applications Claiming Priority (1)
| Application Number | Priority Date | Filing Date | Title |
|---|---|---|---|
| JP2003035662A JP2004242575A (ja) | 2003-02-13 | 2003-02-13 | 植物栽培方法、栽培容器用遮光体及び植物栽培装置 |
Publications (1)
| Publication Number | Publication Date |
|---|---|
| JP2004242575A true JP2004242575A (ja) | 2004-09-02 |
Family
ID=33021023
Family Applications (1)
| Application Number | Title | Priority Date | Filing Date |
|---|---|---|---|
| JP2003035662A Pending JP2004242575A (ja) | 2003-02-13 | 2003-02-13 | 植物栽培方法、栽培容器用遮光体及び植物栽培装置 |
Country Status (1)
| Country | Link |
|---|---|
| JP (1) | JP2004242575A (ja) |
Cited By (6)
| Publication number | Priority date | Publication date | Assignee | Title |
|---|---|---|---|---|
| CN101810110A (zh) * | 2010-05-17 | 2010-08-25 | 谭湘 | 一种萝卜种植箱 |
| JP2013141450A (ja) * | 2012-01-12 | 2013-07-22 | Richell Corp | 水耕栽培装置 |
| CN109258443A (zh) * | 2018-11-19 | 2019-01-25 | 永康市迷你行工贸有限公司 | 一种家用豆芽机 |
| CN110226427A (zh) * | 2019-07-12 | 2019-09-13 | 哈尔滨理工大学 | 一种促使植物夜晚间释放氧气的罩体 |
| CN111264231A (zh) * | 2020-03-13 | 2020-06-12 | 南京慧瞳作物表型组学研究院有限公司 | 一种栽培容器 |
| CN112913514A (zh) * | 2021-03-16 | 2021-06-08 | 贵州师范大学 | 高通量栽培原位观察用具 |
-
2003
- 2003-02-13 JP JP2003035662A patent/JP2004242575A/ja active Pending
Cited By (6)
| Publication number | Priority date | Publication date | Assignee | Title |
|---|---|---|---|---|
| CN101810110A (zh) * | 2010-05-17 | 2010-08-25 | 谭湘 | 一种萝卜种植箱 |
| JP2013141450A (ja) * | 2012-01-12 | 2013-07-22 | Richell Corp | 水耕栽培装置 |
| CN109258443A (zh) * | 2018-11-19 | 2019-01-25 | 永康市迷你行工贸有限公司 | 一种家用豆芽机 |
| CN110226427A (zh) * | 2019-07-12 | 2019-09-13 | 哈尔滨理工大学 | 一种促使植物夜晚间释放氧气的罩体 |
| CN111264231A (zh) * | 2020-03-13 | 2020-06-12 | 南京慧瞳作物表型组学研究院有限公司 | 一种栽培容器 |
| CN112913514A (zh) * | 2021-03-16 | 2021-06-08 | 贵州师范大学 | 高通量栽培原位观察用具 |
Similar Documents
| Publication | Publication Date | Title |
|---|---|---|
| JP2004242575A (ja) | 植物栽培方法、栽培容器用遮光体及び植物栽培装置 | |
| KR100820081B1 (ko) | 식물재배용 종자매트블록 및 그 제조방법 | |
| KR200482741Y1 (ko) | 새싹 재배용 키트 | |
| KR100241686B1 (ko) | 식물재배 및 유통용 용기 | |
| KR20130022838A (ko) | 채소 재배용 포트 및 이를 이용한 채소 재배 장치 | |
| JPH06327357A (ja) | 育苗装置 | |
| JP2004180572A (ja) | 植物栽培用培地、植物栽培方法及び植物栽培装置 | |
| JP2004242576A (ja) | 植物栽培方法及び植物栽培装置 | |
| JPH07289103A (ja) | 芽物野菜の栽培方法およびその装置 | |
| KR100553822B1 (ko) | 육묘용 트레이를 사용한 묘의 재배방법. | |
| JP2731774B2 (ja) | 栽培兼包装容器用遮光体 | |
| JP3009115U (ja) | 水耕栽培用装置 | |
| JP5642754B2 (ja) | 栽培容器 | |
| KR200375536Y1 (ko) | 가정용 새싹채소 재배 용기 | |
| JP2004236554A (ja) | 植物栽培装置及び植物栽培方法 | |
| JP2004350654A (ja) | 植物栽培装置 | |
| JPH10327676A (ja) | 植物栽培用容器 | |
| JPS58179419A (ja) | 植物の栽培方法並びに栽培装置 | |
| JPH08140483A (ja) | 植物の育成用ポット | |
| JP3136390U (ja) | 寄せ植え用容器 | |
| JP4027516B2 (ja) | 栽培セット | |
| JPH0715400Y2 (ja) | 茸及び野菜兼用栽培装置 | |
| KR200344753Y1 (ko) | 육묘용 트레이 | |
| JP2709290B2 (ja) | 栽培兼包装容器および栽培兼包装容器を用いる栽培方法 | |
| JP3250800B2 (ja) | 舞茸栽培装置 |
Legal Events
| Date | Code | Title | Description |
|---|---|---|---|
| A131 | Notification of reasons for refusal |
Free format text: JAPANESE INTERMEDIATE CODE: A131 Effective date: 20060718 |
|
| A02 | Decision of refusal |
Free format text: JAPANESE INTERMEDIATE CODE: A02 Effective date: 20061114 |