KR200482741Y1 - 새싹 재배용 키트 - Google Patents

새싹 재배용 키트 Download PDF

Info

Publication number
KR200482741Y1
KR200482741Y1 KR2020140007455U KR20140007455U KR200482741Y1 KR 200482741 Y1 KR200482741 Y1 KR 200482741Y1 KR 2020140007455 U KR2020140007455 U KR 2020140007455U KR 20140007455 U KR20140007455 U KR 20140007455U KR 200482741 Y1 KR200482741 Y1 KR 200482741Y1
Authority
KR
South Korea
Prior art keywords
plate
reed plate
sprout
container
sidewall
Prior art date
Legal status (The legal status is an assumption and is not a legal conclusion. Google has not performed a legal analysis and makes no representation as to the accuracy of the status listed.)
Expired - Fee Related
Application number
KR2020140007455U
Other languages
English (en)
Other versions
KR20160001318U (ko
Inventor
김정현
Original Assignee
김정현
Priority date (The priority date is an assumption and is not a legal conclusion. Google has not performed a legal analysis and makes no representation as to the accuracy of the date listed.)
Filing date
Publication date
Application filed by 김정현 filed Critical 김정현
Priority to KR2020140007455U priority Critical patent/KR200482741Y1/ko
Publication of KR20160001318U publication Critical patent/KR20160001318U/ko
Application granted granted Critical
Publication of KR200482741Y1 publication Critical patent/KR200482741Y1/ko
Anticipated expiration legal-status Critical
Expired - Fee Related legal-status Critical Current

Links

Images

Classifications

    • AHUMAN NECESSITIES
    • A01AGRICULTURE; FORESTRY; ANIMAL HUSBANDRY; HUNTING; TRAPPING; FISHING
    • A01GHORTICULTURE; CULTIVATION OF VEGETABLES, FLOWERS, RICE, FRUIT, VINES, HOPS OR SEAWEED; FORESTRY; WATERING
    • A01G31/00Soilless cultivation, e.g. hydroponics
    • A01G31/02Special apparatus therefor
    • AHUMAN NECESSITIES
    • A01AGRICULTURE; FORESTRY; ANIMAL HUSBANDRY; HUNTING; TRAPPING; FISHING
    • A01GHORTICULTURE; CULTIVATION OF VEGETABLES, FLOWERS, RICE, FRUIT, VINES, HOPS OR SEAWEED; FORESTRY; WATERING
    • A01G9/00Cultivation in receptacles, forcing-frames or greenhouses; Edging for beds, lawn or the like
    • A01G9/02Receptacles, e.g. flower-pots or boxes; Glasses for cultivating flowers
    • A01G9/026Foldable pots
    • AHUMAN NECESSITIES
    • A01AGRICULTURE; FORESTRY; ANIMAL HUSBANDRY; HUNTING; TRAPPING; FISHING
    • A01GHORTICULTURE; CULTIVATION OF VEGETABLES, FLOWERS, RICE, FRUIT, VINES, HOPS OR SEAWEED; FORESTRY; WATERING
    • A01G9/00Cultivation in receptacles, forcing-frames or greenhouses; Edging for beds, lawn or the like
    • A01G9/02Receptacles, e.g. flower-pots or boxes; Glasses for cultivating flowers
    • A01G9/029Receptacles for seedlings
    • A01G9/0293Seed or shoot receptacles
    • BPERFORMING OPERATIONS; TRANSPORTING
    • B65CONVEYING; PACKING; STORING; HANDLING THIN OR FILAMENTARY MATERIAL
    • B65DCONTAINERS FOR STORAGE OR TRANSPORT OF ARTICLES OR MATERIALS, e.g. BAGS, BARRELS, BOTTLES, BOXES, CANS, CARTONS, CRATES, DRUMS, JARS, TANKS, HOPPERS, FORWARDING CONTAINERS; ACCESSORIES, CLOSURES, OR FITTINGS THEREFOR; PACKAGING ELEMENTS; PACKAGES
    • B65D85/00Containers, packaging elements or packages, specially adapted for particular articles or materials
    • B65D85/50Containers, packaging elements or packages, specially adapted for particular articles or materials for living organisms, articles or materials sensitive to changes of environment or atmospheric conditions, e.g. land animals, birds, fish, water plants, non-aquatic plants, flower bulbs, cut flowers or foliage
    • B65D85/52Containers, packaging elements or packages, specially adapted for particular articles or materials for living organisms, articles or materials sensitive to changes of environment or atmospheric conditions, e.g. land animals, birds, fish, water plants, non-aquatic plants, flower bulbs, cut flowers or foliage for living plants; for growing bulbs
    • YGENERAL TAGGING OF NEW TECHNOLOGICAL DEVELOPMENTS; GENERAL TAGGING OF CROSS-SECTIONAL TECHNOLOGIES SPANNING OVER SEVERAL SECTIONS OF THE IPC; TECHNICAL SUBJECTS COVERED BY FORMER USPC CROSS-REFERENCE ART COLLECTIONS [XRACs] AND DIGESTS
    • Y02TECHNOLOGIES OR APPLICATIONS FOR MITIGATION OR ADAPTATION AGAINST CLIMATE CHANGE
    • Y02PCLIMATE CHANGE MITIGATION TECHNOLOGIES IN THE PRODUCTION OR PROCESSING OF GOODS
    • Y02P60/00Technologies relating to agriculture, livestock or agroalimentary industries
    • Y02P60/20Reduction of greenhouse gas [GHG] emissions in agriculture, e.g. CO2
    • Y02P60/21Dinitrogen oxide [N2O], e.g. using aquaponics, hydroponics or efficiency measures

Landscapes

  • Life Sciences & Earth Sciences (AREA)
  • Environmental Sciences (AREA)
  • Botany (AREA)
  • Health & Medical Sciences (AREA)
  • Evolutionary Biology (AREA)
  • General Health & Medical Sciences (AREA)
  • Marine Sciences & Fisheries (AREA)
  • Toxicology (AREA)
  • Zoology (AREA)
  • Engineering & Computer Science (AREA)
  • Mechanical Engineering (AREA)
  • Cultivation Receptacles Or Flower-Pots, Or Pots For Seedlings (AREA)

Abstract

본 고안은 새싹 재배용 키트에 관한 것으로, 보다 상세하게는 상호 결합되어 내부로 종자수용부를 형성하며 외부용기에 거치시킬 수 있도록 재배판과 측벽부재로 구성된 키트와, 재배를 위해 상기 종자수용부에 수용되는 식물종자를 동봉하여 포장한 상태로 일반 소비자에게 판매 유통시킬 수 있으며, 물만 있으면 어느 장소에서나 재배가 가능하여 판촉용, 식용, 교육용, 관람용 및 인테리어용 등으로 보급할 수 있는 새싹 재배용 키트에 관한 것이다.
본 고안에 따른 새싹 재배용 키트는, 식물을 재배하기 위한 키트에 있어서, 상광하협 형상으로 형성된 외부용기와; 상기 외부용기의 내부에 설치되되, 바닥면에 다수개의 배수용 통공이 형성되고, 둘레방향을 따라 다수개의 결합돌기가 외측방향으로 돌출형성된 재배판과; 상기 결합돌기와 끼움결합되는 다수개의 결합홀이 형성되고, 상기 재배판의 둘레방향을 따라 결합되어 상부방향으로 세워지며 내부로 종자수용부가 형성되는 측벽부재를; 포함하는 것을 특징으로 한다.

Description

새싹 재배용 키트{KIT FOR GROWING SPROUTS}
본 고안은 새싹 재배용 키트에 관한 것으로, 보다 상세하게는 상호 결합되어 내부로 종자수용부를 형성하며 외부용기에 거치시킬 수 있도록 재배판과 측벽부재로 구성된 키트와, 재배를 위해 상기 종자수용부에 수용되는 식물종자를 동봉하여 포장한 상태로 일반 소비자에게 판매 유통시킬 수 있으며, 물만 있으면 어느 장소에서나 재배가 가능하여 판촉용, 식용, 교육용, 관람용 및 인테리어용 등으로 보급할 수 있는 새싹 재배용 키트에 관한 것이다.
일반적으로 새싹채소는 씨앗을 발아시켜 순순한 물만으로 10cm 이내가 되게 5~15일 정도 재배하여 돋아난 새싹을 수확하여 먹는 속성재배채소를 의미한다.
이러한 새싹채소는 신선하고 부드러우며 향기가 독특하고 영양성분이 풍부하여 웰빙식품으로 좋고 건강 기능면에서도 매우 우수하여 수요가 늘어나고 있는 추세이다.
현재 재배되고 있는 새싹채소로는 콩나물, 숙주나물, 무순, 배추, 메밀, 알팔파, 호로파, 브로콜리싹, 클로버 등이 있다.
이와 같은 새싹채소를 재배하는 방법으로는 바구니 같은 곳에 씨앗을 담고 그 위에 빛을 차단하는 커버를 덮어씌운 후 주기적으로 물을 공급하여 씨앗을 발아시켜서 재배하는 방법과, 육묘상자에 솜이나 스펀지 등을 일정한 두께로 깔고 물을 공급한 후 그 위에 씨앗을 뿌려 재배하는 방법과, 비닐하우스 내부에 상토와 모래 또는 흙 등을 골고루 뿌린 후 그 위에 씨앗을 조밀하게 뿌려 물을 공급하여서 재배하는 방법 등이 이용되어 왔다.
근래에는 가정에서 수경재배를 통해 직접 새싹채소를 재배할 수 있는 새싹 재배장치들이 많이 개발되고 있으며, 이러한 종래기술로는 국내등록실용신안 제20-0389644호의 "새싹재배용 수경재배기" 및 국내등록실용신안 제20-0443127호의 "식물 새싹 재배기" 등이 있다.
한편, 최근에는 상기와 같이 식용을 목적으로 새싹채소를 재배하는 것이 아닌 가정이나 사무실, 학교 등에서 관상용이나 실내 인테리어용 또는 교육용으로 새싹채소를 재배하는 경우도 늘어나고 있는 추세이다.
상기와 같이 관상용 등의 목적으로 새싹채소를 재배하는 일반적인 방법으로는 컵과 같은 소형용기의 바닥에 탈지면을 깔고 물을 적당량 부어 탈지면에 물이 흡수되게 한 후 채소종자을 탈지면 위에 파종하고, 음지에 놓아 종자을 발아시킨 후 양지로 옮겨 광합성 하도록 하는 방법이 주로 사용된다.
그러나, 상기의 재배방법은 용기의 구조상 배수가 안 되기 때문에 용기의 바닥에 항상 물이 고이게 되고, 이 상태로 장시간 방치하게 되면 물이 썩어 냄새가 날뿐만 아니라 용기의 바닥의 탈지면 상에 파종되어 있는 채소종자 또한 썩는 문제점이 발생하게 된다.
한편, 상기와 같이 관상용의 목적으로 새싹채소를 재배하고자 할 때 그 재배용기로는 물을 담을 수 있는 구조로 되어 있다면 어떤 용기를 사용하여도 무방하겠으나, 주변에서 쉽게 구할 수 있고, 사이즈 및 형태상 적당하며, 자원 재활용의 측면에서 볼 때 커피나 음료잔으로 사용되는 테이크아웃용 일회용 컵이 적당할 것으로 생각된다. 그러나 현재 상기 테이크아웃용 일회용 컵은 상기와 같이 다른 용도로 재활용되기보다는 사용 후 바로 버려지고 있는 실정이다.
만약, 상기와 같이 버려지는 테이크아웃용 일회용 컵을 새싹 재배용 용기로 재활용하여 사용한다면 환경오염 및 자원의 낭비를 줄여주는 방법은 될 수 있으나, 상기와 같이 용기의 구조상 배수가 안 되어 용기 내의 물과 채소종자가 썩는 문제점은 여전히 남게 된다.
상기와 같은 문제점을 해결하기 위해서 종래기술로 국내등록특허 제10-1386043호의 "새싹채소 재배용 일체형 키트"가 제안된 바 있다.
상기 종래기술은 밑면에 물을 통과시킬 수 있도록 다수개의 관통구가 형성되어 있는 저장팩을 테이크아웃용 일회용 컵과 같은 외부용기의 내부에 설치하여 새싹채소를 재배하는 기술로서, 상기에서 언급한 배수문제로 인해 물과 채소종자가 썩는 문제점은 해결할 수 있는 장점이 있다.
그러나, 상기의 종래기술은 채소종자 저장용 저장팩의 초기 형태가 용기형태로 형성되어 있기 때문에 부피가 커 유통시 많은 점유면적을 차지하는 단점이 있다. 또한, 유통시 발생되는 외력에 의해 용기 형태의 저장팩의 모양이 변형될 수 있으며, 이 변형으로 인하여 외부용기의 내부에 설치가 불가능한 문제점이 발생할 수도 있다.
본 고안은 상기와 같은 문제점을 해결하기 위하여 안출된 것으로, 본 고안의 목적은 상호 결합되어 내부로 종자수용부를 형성하며 외부용기에 거치시킬 수 있도록 재배판과 측벽부재로 구성된 키트와, 재배를 위해 상기 종자수용부에 수용되는 식물종자를 동봉하여 포장한 상태로 일반 소비자에게 판매 유통시킬 수 있으며, 물만 있으면 어느 장소에서나 재배가 가능하여 판촉용, 식용, 교육용, 관람용 및 인테리어용 등으로 보급할 수 있는 새싹 재배용 키트를 제공하는 데에 있다.
상기와 같은 목적을 달성하기 위하여 본 고안에 따른 새싹 재배용 키트는, 식물을 재배하기 위한 키트에 있어서, 상광하협 형상으로 형성된 외부용기와; 상기 외부용기의 내부에 설치되되, 바닥면에 다수개의 배수용 통공이 형성되고, 둘레방향을 따라 다수개의 결합돌기가 외측방향으로 돌출형성된 재배판과; 상기 결합돌기와 끼움결합되는 다수개의 결합홀이 형성되고, 상기 재배판의 둘레방향을 따라 결합되어 상부방향으로 세워지며 내부로 종자수용부가 형성되는 측벽부재를; 포함하는 것을 특징으로 한다.
또한, 본 고안에 따른 새싹 재배용 키트는, 재배를 위해 상기 종자수용부에 수용되는 식물종자와; 상기 외부용기의 외주면을 감싸면서 끼워지도록 상광하협의 원통형 형상으로 이루어지고, 외부면에 상기 식물종자의 이름 및 재배 방법이 기재되어 있으며, 메시지의 기재가 가능한 용기홀더를; 더 포함하는 것을 특징으로 한다.
또한, 본 고안에 따른 새싹 재배용 키트는, 상기 재배판, 측벽부재, 식물종자 및 용기홀더를 내부에 수용한 상태로 포장되고, 외부면에 식물의 이름 및 재배 방법이 기재된 포장팩을; 더 포함하는 것을 특징으로 한다.
또한, 본 고안에 따른 새싹 재배용 키트는, 상기 재배판은, 다각형으로 이루어지고, 각 변의 중앙부에 상기 결합돌기가 각각 형성되며, 상기 측벽부재는, 일정길이와 폭을 갖는 띠 형상으로 형성되어 상기 재배판의 테두리를 감싸면서 결합되되, 상기 재배판과 동일한 각형으로 접히도록 상기 재배판의 각변에 대응되는 간격으로 접철선이 형성되며, 상기 재배판의 각각의 결합돌기와 대응되는 간격으로 상기 결합홀이 형성된 것을 특징으로 한다.
또한, 본 고안에 따른 새싹 재배용 키트는, 상기 측벽부재는, 길이방향의 일단부에는 끼움돌기가 형성되고, 타단부에는 끼움홀이 형성되어 상기 끼움돌기와 상기 끼움홀의 끼움결합에 의해 조립되는 것을 특징으로 한다.
상기와 같은 구성에 의하여 본 고안에 따른 새싹 재배용 키트는 상호 결합되어 내부로 종자수용부를 형성하며 외부용기에 거치시킬 수 있도록 재배판과 측벽부재로 구성된 키트와, 재배를 위해 상기 종자수용부에 수용되는 식물종자를 동봉하여 포장한 상태로 일반 소비자에게 판매 유통시킬 수 있으며, 물만 있으면 어느 장소에서나 재배가 가능하여 판촉용, 식용, 교육용, 관람용 및 인테리어용 등으로 보급할 수 있는 장점이 있다.
또한, 본 고안에 따른 새싹 재배용 키트는 외부용기로 시중에서 커피나 음료잔으로 사용되는 테이크아웃용 일회용 컵을 재활용하여 사용함으로써 환경오염을 방지하고, 자원의 낭비를 줄여주는 효과가 있다.
또한, 본 고안에 따른 새싹 재배용 키트는 외부용기의 내부에 설치되어 재배용기의 역할을 하는 구성을 상호 분리구성된 재배판과 측벽부재의 조립에 의해 형성되도록 함으로써 유통 및 보관시에는 작은 부피로 포장할 수 있는 장점이 있고, 사용시 비교적 간단한 조작으로 재배판과 측벽부재를 조립하여 용기형태의 구조체를 만들 수 있는 장점이 있다.
또한, 본 고안에 따른 새싹 재배용 키트는 재배판에 배수용 통공이 형성되어 물이 고이는 것을 방지할 수 있으므로 식물종자가 썩는 문제를 방지할 수 있으며, 측벽부재가 꽃잎 모양으로 디자인되어 측벽부재가 재배판과 결합되면 전체적으로 꽃봉오리 형상을 갖게 되어 심미성을 높일 수 있으므로 가정이나 사무실에서 본 고안에 따른 새싹 재배용 키트를 사용한 화분이 설치되는 경우 높은 인테리어 효과를 얻을 수 있다.
또한, 본 고안에 따른 새싹 재배용 키트는 용기홀더가 외부용기를 감싸면서 끼워지도록 구성되어 기존에 테이크아웃용 일회용 컵에 새겨져 있는 상호 및 이미지를 가릴 수 있고, 용기홀더의 외부면에 화분의 이미지를 연상시키는 아름다운 그림이나 도안 등을 삽입하여 심미감으로 높일 수 있는 장점이 있다.
도 1은 본 고안의 일실시예에 따른 새싹 재배용 키트의 재배판과 측벽부재가 결합된 상태를 도시한 사시도
도 2는 본 고안의 일실시예에 따른 새싹 재배용 키트의 재배판과 측벽부재가 결합된 상태를 도시한 평면도
도 3은 본 고안의 일실시예에 따른 새싹 재배용 키트의 종자수용부에 식물종자가 수용된 상태를 도시한 측면도
도 4는 본 고안에 따른 새싹 재배용 키트의 측벽부재의 여러가지 실시예를 도시한 측면도
도 5는 본 고안의 일실시예에 따른 새싹 재배용 키트의 식물종자가 별도로 포장되어 있는 상태를 도시한 예시도
도 6은 본 고안의 일실시예에 따른 새싹 재배용 키트의 재배판과 측벽부재가 결합된 상태에서 외부용기에 수용되는 과정을 도시한 상태도
도 7은 도 6의 상태에서 외부용기에 용기홀더가 결합되고 식물종자가 종자수용부에 뿌려진 상태를 도시한 상태도
도 8은 본 고안의 일실시예에 따른 새싹 재배용 키트의 포장팩을 도시한 사시도
이하에서는 도면에 도시된 실시예를 참조하여 본 고안에 따른 새싹 재배용 키트를 보다 상세하게 설명하기로 한다.
도 1은 본 고안의 일실시예에 따른 새싹 재배용 키트의 재배판과 측벽부재가 결합된 상태를 도시한 사시도이고, 도 2는 본 고안의 일실시예에 따른 새싹 재배용 키트의 재배판과 측벽부재가 결합된 상태를 도시한 평면도이며, 도 3은 본 고안의 일실시예에 따른 새싹 재배용 키트의 종자수용부에 식물종자가 수용된 상태를 도시한 측면도이고, 도 4는 본 고안에 따른 새싹 재배용 키트의 측벽부재의 여러가지 실시예를 도시한 측면도이며, 도 5는 본 고안의 일실시예에 따른 새싹 재배용 키트의 식물종자가 별도로 포장되어 있는 상태를 도시한 예시도이고, 도 6은 본 고안의 일실시예에 따른 새싹 재배용 키트의 재배판과 측벽부재가 결합된 상태에서 외부용기에 수용되는 과정을 도시한 상태도이며, 도 7은 도 6의 상태에서 외부용기에 용기홀더가 결합되고 식물종자가 종자수용부에 뿌려진 상태를 도시한 상태도이고, 도 8은 본 고안의 일실시예에 따른 새싹 재배용 키트의 포장팩을 도시한 사시도이다.
도면을 살펴보면, 본 고안에 따른 새싹 재배용 키트는 주변에서 쉽게 구할 수 있는 용기를 이용하여 가정이나 사무실, 학교 등에서 관상용, 실내 인테리어용 또는 교육용 등으로 식물을 재배하기 위한 키트에 관한 것으로, 외부용기(10), 재배판(20), 측벽부재(30), 식물종자(40), 용기홀더(50), 포장팩(60)을 포함하여 구성된다.
상기 외부용기(10)는 상광하협 형상으로 형성된 용기가 사용된다. 이는 도 6에 도시된 바와 같이, 소정의 폭을 갖는 상기 재배판(20)이 상기 외부용기(10)의 입구부를 통해 삽입된 후 일정깊이에서 상기 외부용의 내부면에 걸려 고정될 수 있도록 하기 위함이다.
즉, 상기 재배판(20)을 상기 외부용기(10)의 내부에 설치할 경우 상기 외부용기(10) 입구부의 직경보다 약간 작은 폭을 갖는 상기 재배판(20)이 상기 외부용기(10)의 내부에 삽입되어 상기 외부용기(10)의 바닥면까지 내려가지 않고 상기 외부용기(10)의 중간부측 내부면에 걸려 고정되도록 하기 위하여 상광하협 형상을 갖는 상기 외부용기(10)를 사용하는 것이다.
일반적으로 시중에서 커피나 음료잔으로 사용되는 테이크아웃용 일회용 컵은 대부분 상광하협의 형상을 갖고 있다. 따라서, 테이크아웃용 일회용 컵을 상기 외부용기(10)로 선택하여 사용하는 것은 용기의 구조적 측면에서 볼 때 바람직할 것이다.
또한, 테이크아웃용 일회용 컵을 상기 외부용기(10)로 사용함으로써 사용 후 대부분 버려지게 되는 상기 일회용 컵을 다른 용도로 재활용하게 되므로 환경오염 및 자원의 낭비를 줄여주는 효과가 발생하게 된다.
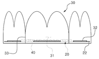
상기 재배판(20)은 상기 외부용기(10)의 내부에 삽입 설치되고, 그 위에 식물종자(40)가 놓여져 재배되는 구성으로, 두께가 얇은 판 형상으로 형성된다. 이때, 상기 재배판(20)은 상광하협 형상으로 형성된 상기 외부용기(10)의 입구부의 직경보다는 작은 폭으로 갖고, 상기 외부용기(10)의 바닥부의 직경보다는 큰 폭을 갖도록 형성된다.
상기와 같은 상기 재배판(20)과 상기 외부용기(10)의 구조적 특징에 의해 도 6에 도시된 바와 같이, 상기 재배판(20)이 상기 외부용기(10)의 내부에 삽입되게 되면 상기 외부용기(10)의 중간부측 내부면에 걸려 고정되게 된다.
본 고안의 일실시예에서 상기 재배판(20)은 합성수지 재질로 이루어진 투명한 얇은 판부재로 구성된다. 상기 재배판(20)은 상기와 같이 합성수지 재질뿐만 아니라 방수처리된 두꺼운 종이, 스테인리스 스틸 또는 스티로폼의 재질로도 제작될 수 있다.
또한, 상기 재배판(20)은 바닥면에 다수개의 배수용 통공(21)이 형성되며, 둘레방향으로 따라 다수개의 결합돌기(22)가 외측방향으로 돌출형성된다.
상기 통공(21)은 종래의 재배방법에서 배수불량으로 인해 식물종자(40)가 썩는 문제점를 해결하기 위한 구성으로, 새싹채소의 재배 특성상 물을 자주 줘야하는데 상기 통공(21)을 통해 물이 쉽게 배수되어 상기 외부용기(10)의 하부 공간으로 빠져나가기 때문에 상기 재배판(20)에는 물이 고이지 않게 되고, 이로써 상기 재배판(20) 위의 식물종자(40)가 썩는 것을 방지할 수 있게 된다.
한편, 도면에 도시되진 않았지만, 상기 재배판(20)의 상부면에 물을 흡수하여 일정시간 보유할 수 있는 탈지면, 부직포 또는 스펀지 등을 깔아 식물종자(40)의 발아를 돕도록 구성할 수 있다.
또한, 상기 재배판(20)은 다각형으로 이루어져 구성될 수 있다. 즉, 일반적인 컵의 내주면과 같은 원형으로 형성될 수 있을 뿐만 아니라 사각형, 오각형, 육각형 등 다양한 모양으로 형성될 수 있는 것이다. 본 고안의 일실시예에서는 육각형의 형상의 재배판(20)이 사용된다.
상술한 바와 같이 상기 재배판(20)이 다각형으로 이루어지되 다각형의 각 변의 중앙부에는 상기 결합돌기(22)가 각각 형성된다. 본 고안의 일실시예에서는 상기 재배판(20)이 육각형으로 형성되기 때문에 육각형의 각 변의 중앙부에 한 개씩 총 여섯 개의 상기 결합돌기(22)가 형성된다.
상기 결합돌기(22)는 후술할 상기 측벽부재(30)에 형성된 결합홀(32)와 끼움결합되어 상기 재배판(20)과 상기 측벽부재(30)를 상호 결합시키는 구성이다.
상기 측벽부재(30)는 상기 재배판(20)과 결합되어 용기형태를 갖도록 하는 구성으로, 일정길이와 폭을 갖는 띠 형상으로 형성되어 상기 재배판(20)의 둘레방향을 따라 상기 재배판(20)을 전체적으로 감싸면서 결합된다.
상기 측벽부재(30)는 상기 재배판(20)의 결합돌기(22)와 끼움결합되는 다수개의 결합홀(32)을 포함하여 구성된다. 즉, 상기 측벽부재(30)는 상기 재배판(20)의 테두리를 감싸면서 상기 결합홀(32)에 상기 재배판(20)의 결합돌기(22)가 끼워져 결합되게 된다.
상기 결합홀(32)은 상기 재배판(20)의 결합돌기(22)와 동일한 개수로 형성되며, 상기 재배판(20)의 둘레방향을 따라 형성된 상기 결합돌기(22)의 간격과 동일한 간격으로 형성된다.
한편, 결합홀(32)은 도 1 및 도 4에 도시된 바와 같이 상기 측벽부재(30)의 하단부에 형성된다. 이는 상기 측벽부재(30)와 상기 재배판(20)이 결합될 경우 용기형태를 갖출 수 있도록 상기 재배판(20)의 가장자리에서 상부방향으로 세워지는 소정높이의 외측벽을 형성시키기 위함이다.
또한, 상기 측벽부재(30)는 상기 재배판(20)의 둘레방향을 따라 결합되어 상부방향으로 세워지며 내부로 종자수용부(31)를 형성시킨다. 즉, 상기 측벽부재(30)가 상기 재배판(20)과 결합되어 식물종자(40)를 수용하여 재배할 수 있는 재배용기기 되는 것이다.
한편, 상기 측벽부재(30)는 상기 재배판(20)과 동일한 각형으로 접히도록 상기 재배판(20)의 각변에 대응되는 간격으로 접철선(33)이 형성된다.
상기 접철선(33)은 본 고안에 따른 상기 재배판(20)이 다각형으로 이루어지기 때문에 상기 재배판(20)의 둘레방향을 따라 상기 측벽부재(30)가 결할 될 때 상기 측벽부재(30)의 내면이 상기 재배판(20)의 각 변에 밀착되어 견고하게 결합될 수 있게 꺾임이 용이하도록 하기 위한 구성이다.
상기 측벽부재(30)는 길이방향의 일단부에는 끼움돌기(34)가 형성되고, 타단부에는 끼움홀(35)이 형성되어 상기 끼움돌기(34)와 상기 끼움홀(35)의 끼움결합에 의해 조립된다.
상기 끼움돌기(34)와 상기 끼움홀(35)은 상기 재배판(20)의 둘레방향을 따라 상기 측벽부재(30)가 결합될 때 통 모양의 외측벽을 형성하여 최종적으로 용기형태로 조립될 수 있도록 상기 측벽부재(30)의 양단으로 결합시키기 위한 구성이다.
상기 측벽부재(30)는 스티로폼, 방수처리된 두꺼운 종이, 골판지 등 다양한 재질로 제작될 수 있다.
또한, 상기 측벽부재(30)는 도 4에 도시된 바와 같이 폭방향의 상부가 아치 또는 타원과 같이 둥글게 형성되고, 외부면에 꽃잎 모양이 인쇄되거나 부착되어 상기 재배판(20)을 감싸면서 결합된 경우 꽃봉오리 형상이 되도록 구성될 수 있다.
또한, 상기 측벽부재(30)는 다양한 크기의 상기 외부용기(10)에 적용가능하도록 다양한 길이로 제작될 수 있다.
상기 식물종자(40)는 재배를 위해 상기 재배판(20)과 상기 측벽부재(30)의 결합에 의해 형성된 상기 종자수용부(31)에 수용된다.
상기 식물종자(40)는 무우, 쌈추종자, 순무, 적무, 경수채, 클로버, 크래스, 케일, 적케일, 적양배추, 청경채, 콜라비, 완두, 양배추, 알팔파, 유채, 보리, 배추, 다채, 겨자, 홍화, 열무, 적갓, 들깨, 벼, 강낭콩, 팥, 완두, 밀, 메밀, 들깨, 겨자 및 콩나물콩 종자 중에서 선택하여 사용할 수 있다.
상기 식물종자(40)는 도 5에 도시된 본 고안의 일실시예에서와 같이 포장지에 의해 팩의 형태로 포장되어 유통 및 보관시 식물종자(40)의 분실을 막고, 외부공기와의 접촉으로 차단하여 공기 중의 수분에 의해 식물종자(40)가 부패 및 오염되는 것을 막아 종자의 발아력이 떨어지는 것 방지하도록 구성될 수 있다.
상기 용기홀더(50)는 상기 외부용기(10)의 외주면을 감싸면서 끼워지도록 상광하협의 원통형 형상으로 형성된다.
상기 용기홀더(50)는 외부면에 상기 식물종자(40)의 이름 및 재배 방법이 기재되어 있으며, 메시지의 기재가 가능하도록 구성된다.
예를 들어, 구매자가 본 고안의 새싹 재배용 키트를 구매하여 새싹채소를 재배한 후 다른 사람에게 선물할 경우 축하 메시지 등을 상기 용기홀더(50)에 기재하여 전달할 수 있게 된다.
상기 포장팩(60)은 상기 재배판(20), 측벽부재(30), 식물종자(40) 및 용기홀더(50)를 내부에 수용한 상태로 포장하여 유동 및 보관을 용이하게 하는 구성이다. 또한, 상기 포장팩(60)의 외부면에는 식물의 이름 및 재배 방법이 기재된다.
상기 포장팩(60)은 도 8에 도시된 본 고안의 일실시예에서와 같이 종이 재질로 이루어진 두께가 얇은 박스형태로 형성될 수 있으며, 도면에 도시되진 않았지만, 종이 또는 비닐 재질로 이루어진 봉투형태로도 형성될 수 있다.
본 고안에 따른 새싹 재배용 키트를 사용하여 새싹채소를 재배하는 방법을 간략하게 설명하면 다음과 같다.
먼저, 본 고안에 따른 새싹 재배용 키트를 구매하여 상기 포장팩(60)을 개봉한 후 내부에 수용되어 있는 상기 재배판(20), 측벽부재(30), 식물종자(40), 용기홀더(50)를 꺼낸다.
다음으로, 상기 재배판(20)과 측벽부재(30)를 조립하여 용기형태로 만든 후 포장된 식물종자(40)를 개봉하여 상기 종자수용부(31)에 골고루 뿌려 파종한다. 한편, 상기 식물종자(40)를 파종하기 전 상기 재배판(20) 위에 탈지면, 부직포 또는 스펀지 등을 먼저 깔고 그 위에 식물종자(40)를 파종할 수도 있다.
마지막으로, 용기형태로 조립된 상기 재배판(20) 및 측벽부재(30)를 상기 외부용기(10)의 내부에 설치한 후 주기적으로 물을 적당량 뿌려가며 상기 식물종자(40)를 발아시켜 새싹채소를 재배한다.
앞에서 설명되고 도면에서 도시된 새싹 재배용 키트는 본 고안을 실시하기 위한 하나의 실시예에 불과하며, 본 고안의 기술적 사상을 한정하는 것으로 해석되어서는 안된다. 본 고안의 보호범위는 이하의 특허청구범위에 기재된 사항에 의해서만 정하여지며, 본 고안의 요지를 벗어남이 없이 개량 및 변경된 실시예는 본 고안이 속하는 기술분야에서 통상의 지식을 가진 자에게 자명한 것인 한 본 고안의 보호범위에 속한다고 할 것이다.
10 외부용기
20 재배판
21 통공
22 결합돌기
30 측벽부재
31 종자수용부
32 결합홀
33 접철선
34 끼움돌기
35 끼움홀
40 식물종자
50 용기홀더
60 포장팩

Claims (5)

  1. 식물을 재배하기 위한 키트에 있어서,
    상광하협 형상으로 형성된 외부용기와; 상기 외부용기의 내부에 설치되되, 바닥면에 다수개의 배수용 통공이 형성되고, 둘레방향을 따라 다수개의 결합돌기가 외측방향으로 돌출형성된 재배판과; 상기 결합돌기와 끼움결합되는 다수개의 결합홀이 형성되고, 상기 재배판의 둘레방향을 따라 결합되어 상부방향으로 세워지며 내부로 종자수용부가 형성되는 측벽부재를; 포함하되,
    상기 재배판은, 다각형으로 이루어지고, 각 변의 중앙부에 상기 결합돌기가 각각 형성되며,
    상기 측벽부재는, 일정길이와 폭을 갖는 띠 형상으로 형성되어 상기 재배판의 테두리를 감싸면서 결합되고 상기 재배판과 동일한 각형으로 접히도록 상기 재배판의 각변에 대응되는 간격으로 접철선이 형성되며 상기 각각의 결합돌기와 대응되는 간격으로 상기 결합홀이 형성된 것을 특징으로 하는 새싹 재배용 키트.
  2. 제1항에 있어서,
    재배를 위해 상기 종자수용부에 수용되는 식물종자와;
    상기 외부용기의 외주면을 감싸면서 끼워지도록 상광하협의 원통형 형상으로 이루어지고, 외부면에 상기 식물종자의 이름 및 재배 방법이 기재되어 있으며, 메시지의 기재가 가능한 용기홀더를; 더 포함하는 것을 특징으로 하는 새싹 재배용 키트.
  3. 제2항에 있어서.
    상기 재배판, 측벽부재, 식물종자 및 용기홀더를 내부에 수용한 상태로 포장되고, 외부면에 식물의 이름 및 재배 방법이 기재된 포장팩을; 더 포함하는 것을 특징으로 하는 새싹 재배용 키트.
  4. 삭제
  5. 제1항 내지 제3항 중 어느 하나의 항에 있어서,
    상기 측벽부재는, 길이방향의 일단부에는 끼움돌기가 형성되고, 타단부에는 끼움홀이 형성되어 상기 끼움돌기와 상기 끼움홀의 끼움결합에 의해 조립되는 것을 특징으로 하는 새싹 재배용 키트.
KR2020140007455U 2014-10-14 2014-10-14 새싹 재배용 키트 Expired - Fee Related KR200482741Y1 (ko)

Priority Applications (1)

Application Number Priority Date Filing Date Title
KR2020140007455U KR200482741Y1 (ko) 2014-10-14 2014-10-14 새싹 재배용 키트

Applications Claiming Priority (1)

Application Number Priority Date Filing Date Title
KR2020140007455U KR200482741Y1 (ko) 2014-10-14 2014-10-14 새싹 재배용 키트

Publications (2)

Publication Number Publication Date
KR20160001318U KR20160001318U (ko) 2016-04-22
KR200482741Y1 true KR200482741Y1 (ko) 2017-02-28

Family

ID=55916102

Family Applications (1)

Application Number Title Priority Date Filing Date
KR2020140007455U Expired - Fee Related KR200482741Y1 (ko) 2014-10-14 2014-10-14 새싹 재배용 키트

Country Status (1)

Country Link
KR (1) KR200482741Y1 (ko)

Cited By (3)

* Cited by examiner, † Cited by third party
Publication number Priority date Publication date Assignee Title
KR20190063024A (ko) 2017-11-29 2019-06-07 도현민 새싹채소 재배용 키트
KR20210075627A (ko) * 2019-12-13 2021-06-23 대한민국(농촌진흥청장) 새싹율무 생산용 상자 및 이를 이용한 새싹율무의 재배방법
KR102380880B1 (ko) 2021-08-03 2022-04-01 전국은 수경재배 포트로 사용 가능한 업사이클링 포장박스

Citations (3)

* Cited by examiner, † Cited by third party
Publication number Priority date Publication date Assignee Title
KR200329308Y1 (ko) 2003-07-12 2003-10-08 손해수 콩나물 시루 포장용기
KR100709720B1 (ko) 2006-09-08 2007-04-19 이상권 식물재배용기 제작용 시트와 상기 시트로 만들어진식물재배용기 및 상기 시트를 이용한 식물재배세트
KR101386043B1 (ko) 2011-11-25 2014-04-22 백철민 새싹채소 재배용 일체형 키트

Family Cites Families (1)

* Cited by examiner, † Cited by third party
Publication number Priority date Publication date Assignee Title
KR100433246B1 (ko) * 2001-09-07 2004-05-28 구선경 가정용 재배세트

Patent Citations (3)

* Cited by examiner, † Cited by third party
Publication number Priority date Publication date Assignee Title
KR200329308Y1 (ko) 2003-07-12 2003-10-08 손해수 콩나물 시루 포장용기
KR100709720B1 (ko) 2006-09-08 2007-04-19 이상권 식물재배용기 제작용 시트와 상기 시트로 만들어진식물재배용기 및 상기 시트를 이용한 식물재배세트
KR101386043B1 (ko) 2011-11-25 2014-04-22 백철민 새싹채소 재배용 일체형 키트

Cited By (4)

* Cited by examiner, † Cited by third party
Publication number Priority date Publication date Assignee Title
KR20190063024A (ko) 2017-11-29 2019-06-07 도현민 새싹채소 재배용 키트
KR20210075627A (ko) * 2019-12-13 2021-06-23 대한민국(농촌진흥청장) 새싹율무 생산용 상자 및 이를 이용한 새싹율무의 재배방법
KR102379576B1 (ko) * 2019-12-13 2022-03-29 대한민국 새싹율무 생산용 상자 및 이를 이용한 새싹율무의 재배방법
KR102380880B1 (ko) 2021-08-03 2022-04-01 전국은 수경재배 포트로 사용 가능한 업사이클링 포장박스

Also Published As

Publication number Publication date
KR20160001318U (ko) 2016-04-22

Similar Documents

Publication Publication Date Title
CN109310054B (zh) 园艺设备
US20130318871A1 (en) Planter having a multi-purpose lid
US20110277381A1 (en) Bio-degradable pot for pre-planted bulbs
KR200482741Y1 (ko) 새싹 재배용 키트
JP3173159U (ja) 簡易栽培用具
JPH0660332U (ja) 植物栽培容器
WO2011140650A1 (en) Cup and removable seed tab combination device
JP2018191560A (ja) 一般家庭向け簡易水耕栽培装置
JP6296515B2 (ja) 一般家庭向け簡易水耕栽培装置
KR101811871B1 (ko) 인삼을 재배하기 위한 화분 및 화분 받침대
JP2731774B2 (ja) 栽培兼包装容器用遮光体
JPH01108926A (ja) パック入り清浄野菜及び茸類の生産法及び装置
KR200493570Y1 (ko) 새싹채소 재배용 1회용 콤팩트 용기
JP2004242575A (ja) 植物栽培方法、栽培容器用遮光体及び植物栽培装置
TWM550029U (zh) 芽苗菜種植包裝容器
JP3172516U (ja) 植物育成用容器
KR102858779B1 (ko) 마이크로 그린 재배 장치
JPH07289103A (ja) 芽物野菜の栽培方法およびその装置
US20140059929A1 (en) Self contained planter for growing seeds
KR20150004397U (ko) 상하부 박스가 결합된 종이화분
KR101424757B1 (ko) 새싹, 어린잎 채소 재배장치
KR100709720B1 (ko) 식물재배용기 제작용 시트와 상기 시트로 만들어진식물재배용기 및 상기 시트를 이용한 식물재배세트
KR101432545B1 (ko) 종자팩 및 종자팩을 이용한 식물재배장치
KR101341841B1 (ko) 무토양 육묘포트
JP2024120641A (ja) 水耕栽培セット、および、その製造方法

Legal Events

Date Code Title Description
UA0108 Application for utility model registration

St.27 status event code: A-0-1-A10-A12-nap-UA0108

UA0201 Request for examination

St.27 status event code: A-1-2-D10-D11-exm-UA0201

D13-X000 Search requested

St.27 status event code: A-1-2-D10-D13-srh-X000

D14-X000 Search report completed

St.27 status event code: A-1-2-D10-D14-srh-X000

E902 Notification of reason for refusal
UE0902 Notice of grounds for rejection

St.27 status event code: A-1-2-D10-D21-exm-UE0902

UG1501 Laying open of application

St.27 status event code: A-1-1-Q10-Q12-nap-UG1501

E13-X000 Pre-grant limitation requested

St.27 status event code: A-2-3-E10-E13-lim-X000

P11-X000 Amendment of application requested

St.27 status event code: A-2-2-P10-P11-nap-X000

P13-X000 Application amended

St.27 status event code: A-2-2-P10-P13-nap-X000

E701 Decision to grant or registration of patent right
UE0701 Decision of registration

St.27 status event code: A-1-2-D10-D22-exm-UE0701

R18-X000 Changes to party contact information recorded

St.27 status event code: A-5-5-R10-R18-oth-X000

REGI Registration of establishment
UR0701 Registration of establishment

St.27 status event code: A-2-4-F10-F11-exm-UR0701

UR1002 Payment of registration fee

St.27 status event code: A-2-2-U10-U11-oth-UR1002

Fee payment year number: 1

UG1601 Publication of registration

St.27 status event code: A-4-4-Q10-Q13-nap-UG1601

P22-X000 Classification modified

St.27 status event code: A-4-4-P10-P22-nap-X000

P22-X000 Classification modified

St.27 status event code: A-4-4-P10-P22-nap-X000

UC1903 Unpaid annual fee

St.27 status event code: A-4-4-U10-U13-oth-UC1903

Not in force date: 20200223

Payment event data comment text: Termination Category : DEFAULT_OF_REGISTRATION_FEE

UC1903 Unpaid annual fee

St.27 status event code: N-4-6-H10-H13-oth-UC1903

Ip right cessation event data comment text: Termination Category : DEFAULT_OF_REGISTRATION_FEE

Not in force date: 20200223