JP2004106989A - 折畳装置 - Google Patents
折畳装置 Download PDFInfo
- Publication number
- JP2004106989A JP2004106989A JP2002270294A JP2002270294A JP2004106989A JP 2004106989 A JP2004106989 A JP 2004106989A JP 2002270294 A JP2002270294 A JP 2002270294A JP 2002270294 A JP2002270294 A JP 2002270294A JP 2004106989 A JP2004106989 A JP 2004106989A
- Authority
- JP
- Japan
- Prior art keywords
- paper
- groove
- cut
- cylinder
- outer peripheral
- Prior art date
- Legal status (The legal status is an assumption and is not a legal conclusion. Google has not performed a legal analysis and makes no representation as to the accuracy of the status listed.)
- Granted
Links
- 230000002093 peripheral effect Effects 0.000 claims description 58
- 230000000717 retained effect Effects 0.000 claims 2
- 238000003780 insertion Methods 0.000 abstract description 10
- 230000037431 insertion Effects 0.000 abstract description 10
- 230000006835 compression Effects 0.000 description 7
- 238000007906 compression Methods 0.000 description 7
- 230000000452 restraining effect Effects 0.000 description 6
- 238000006073 displacement reaction Methods 0.000 description 5
- 238000004804 winding Methods 0.000 description 4
- 230000000875 corresponding effect Effects 0.000 description 3
- 230000013011 mating Effects 0.000 description 3
- 210000000078 claw Anatomy 0.000 description 2
- 230000000694 effects Effects 0.000 description 2
- 230000000630 rising effect Effects 0.000 description 2
- 230000005540 biological transmission Effects 0.000 description 1
- 230000002079 cooperative effect Effects 0.000 description 1
- 230000006866 deterioration Effects 0.000 description 1
- 238000010586 diagram Methods 0.000 description 1
- 230000002452 interceptive effect Effects 0.000 description 1
- 230000009916 joint effect Effects 0.000 description 1
- 238000004519 manufacturing process Methods 0.000 description 1
- 238000012805 post-processing Methods 0.000 description 1
- 238000011084 recovery Methods 0.000 description 1
- 239000000758 substrate Substances 0.000 description 1
Images
Classifications
-
- B—PERFORMING OPERATIONS; TRANSPORTING
- B65—CONVEYING; PACKING; STORING; HANDLING THIN OR FILAMENTARY MATERIAL
- B65H—HANDLING THIN OR FILAMENTARY MATERIAL, e.g. SHEETS, WEBS, CABLES
- B65H45/00—Folding thin material
- B65H45/12—Folding articles or webs with application of pressure to define or form crease lines
- B65H45/16—Rotary folders
- B65H45/162—Rotary folders with folding jaw cylinders
- B65H45/163—Details of folding jaws therefor
-
- B—PERFORMING OPERATIONS; TRANSPORTING
- B65—CONVEYING; PACKING; STORING; HANDLING THIN OR FILAMENTARY MATERIAL
- B65H—HANDLING THIN OR FILAMENTARY MATERIAL, e.g. SHEETS, WEBS, CABLES
- B65H45/00—Folding thin material
- B65H45/12—Folding articles or webs with application of pressure to define or form crease lines
- B65H45/16—Rotary folders
- B65H45/162—Rotary folders with folding jaw cylinders
- B65H45/164—Details of folding blades therefor
Landscapes
- Folding Of Thin Sheet-Like Materials, Special Discharging Devices, And Others (AREA)
- Feeding Of Articles By Means Other Than Belts Or Rollers (AREA)
Abstract
【解決手段】対向外周面が同一方向に変位する2つの回転胴F2、F3の一方の胴に設けた保持機構で紙の先行側を保持し、この紙の先行側を一方の胴の回転によって他方の胴との近接位置を通過させた適宜位置で解放し、遅くとも解放時点に被切断紙PCとされているこの紙の中間部を、他方の胴の外周面に設けられた溝G内に向けて一方の胴に設けた差し刃F23で差し込み、この被切断紙を前記溝に受入れて前記中間部で他方の胴の中心線と平行に折畳む、輪転機の折畳装置において、溝に受入れた紙の紙幅方向中央に対して紙幅方向両側から進退し、紙の、差し刃が接触している側に接触して紙の中間部を溝内に留め得るよう他方の胴に設けられた紙留め手段と、紙留め手段を予め定めた所定のタイミングで進退動作させる紙留め動作付与手段21とからなっている。
【選択図】 図1
Description
【発明の属する技術分野】
この発明は、連続紙を切断して折畳む折畳装置に関し、詳細には、平行に設けられ近接する対向外周面が同一方向に変位する2つの回転胴の一方の胴に設けた保持機構で紙の先行側を保持し、保持した紙の先行側を一方の胴の回転によって他方の胴との近接位置を通過させ予め定めた適宜位置まで案内して保持から解放するとともに、遅くとも解放時点に予め定められた長さの被切断紙とされているこの紙の中間部を、この中間部と前記近接位置で対向する他方の胴の外周面に設けられた溝内に向けて一方の胴に設けた差し刃で差し込み、この差し込まれた被切断紙を前記溝に受入れて前記中間部で他方の胴の中心線と平行に折畳む、輪転機の折畳装置に関する。
【0002】
【従来の技術】
前記のような輪転機の折畳装置は、例えば、特開昭63−189367号公報に示されるものが公知である。
【0003】
特開昭63−189367号公報に示されるものは、平行に設けられて近接して回転するように第1の胴、第2の胴(一方の胴)、第3の胴(他方の胴)を備えた装置において、第1の胴と第2の胴の間に連続紙を通し、両胴の回転によって共同作用する第1の胴の切刃と第2の胴の受け部材とで連続紙を一定の長さで切断し、この切断した紙を第2の胴の受け部材に近接して設けた保持手段で第2の胴の周面に保持し、第2の胴の回転によって第2の胴の周面にそって移動した紙の中間部が、第2の胴に近接した第3の胴との近接位置に達したときに、この紙の中間部を第2の胴に設けられた押出部材で、この押出部材に対応させて第3の胴に設けられた係止手段に向けて押し出し、係止手段である固定して設けられた爪部材とこの爪部材に対して接近、離隔すべく揺動する押さえ板の間に突込み、係止手段に咥えさせて紙の中間部で折るように構成されている。
【0004】
【発明が解決しようとする課題】
以上記載のとおり、このような折畳装置は、差し込まれた被切断紙を、前記固定して設けられた爪部材で代表される固定部材とこの固定部材に対して接近、離隔すべく揺動する押さえ板で代表される移動部材とで咥え、この状態で、他方の胴が回転しつつ一方の胴から紙を引き取り、かつ紙に折り目付けをし、下流に引渡すようになっている。そのため、他方の胴が一方の胴から紙を引き取る動作中に作用する大きな引き戻し力によって紙が抜け落ちることが無いように、固定部材と移動部材とで極めて大きな力で紙を咥えるようになっており、この大きな力で咥えられる位置では、折畳まれ重ねられて接触している印刷面において、互いに接触している相手面の印刷画像が転移して、印刷面を汚し印刷品質を著しく低下させていた。
【0005】
この発明は、以上記載の課題を解決するためになされたもので、他方の胴の外周面に設けられた溝内に向けて一方の胴に設けた差し刃で差し込み、この差し込まれた被切断紙を前記溝に受入れて前記中間部で他方の胴の中心線と平行に折畳む輪転機の折畳装置において、他方の胴が一方の胴から紙を引き取る動作中に大きな引き戻し力が作用しても紙が抜け落ちることが無く、しかも、折畳まれ重ねられて接触している印刷面において、互いに接触している相手面からの印刷画像の転移を無くして、接触している相手面からの印刷画像の転移による印刷面の汚れをなくし、印刷品質低下を一掃しようとするものである。
【0006】
【課題を解決するための手段】
上記課題を解決するために、本発明の請求項1に係る折畳装置は、平行に設けられ近接する対向外周面が同一方向に変位する2つの回転胴の一方の胴に設けた保持機構で紙の先行側を保持し、保持した紙の先行側を一方の胴の回転によって他方の胴との近接位置を通過させ予め定めた適宜位置まで案内して保持から解放するとともに、遅くとも解放時点に予め定められた長さの被切断紙とされているこの紙の中間部を、この中間部と前記近接位置で対向する他方の胴の外周面に設けられた溝内に向けて一方の胴に設けた差し刃で差し込み、この差し込まれた被切断紙を前記溝に受入れて前記中間部で他方の胴の中心線と平行に折畳む、輪転機の折畳装置において、溝に受入れた紙の紙幅方向中央に対して紙幅方向両側から進退し、紙の、差し刃が接触している側に接触して紙の中間部を溝内に留め得るよう他方の胴に設けられた紙留め手段と、紙留め手段を予め定めた所定のタイミングで進退動作させる紙留め動作付与手段とからなっている。
【0007】
また、本発明の請求項2に係る折畳装置は、平行に設けられ近接する対向外周面が同一方向に変位する2つの回転胴の一方の胴に設けた保持機構で紙の先行側を保持し、保持した紙の先行側を一方の胴の回転によって他方の胴との近接位置を通過させ予め定めた適宜位置まで案内して保持から解放するとともに、遅くとも解放時点に予め定められた長さの被切断紙とされているこの紙の中間部を、この中間部と前記近接位置で対向する他方の胴の外周面に設けられた溝内に向けて一方の胴に設けた差し刃で差し込み、この差し込まれた被切断紙を前記溝に受入れて前記中間部で他方の胴の中心線と平行に折畳む、輪転機の折畳装置において、溝に受入れた紙の紙幅方向中央に対して紙幅方向両側から進退し、紙の、差し刃が接触している側に接触して紙の中間部を溝内に留め得るよう他方の胴に設けられた紙留め手段と、溝内で開閉可能に設けられ紙留め手段で溝内に留めた被切断紙をその幅方向にそって挟むよう他方の胴に設けられた紙挟み手段と、紙留め手段を予め定めた所定のタイミングで進退動作させる紙留め動作付与手段と、紙挟み手段を予め定めた所定のタイミングで挟み動作させる紙挟み動作付与手段とからなっている。
【0008】
【作 用】
一方の胴に設けた保持機構が紙の先行側を保持し、この一方の胴の回転によって保持した紙の先行側を、他方の胴との近接位置を通過させ予め定めた適宜位置まで案内し保持から解放する。この先行側の解放と略同じタイミングで、遅くとも解放時点に予め定められた長さの被切断紙とされているこの紙の中間部を、この中間部と前記近接位置で対向する他方の胴の外周面に設けられた溝内に向けて、一方の胴に設けた差し刃が突き出し、被切断紙を中間部でカーブしたヘアピン状の形状で前記溝内に差し込む。
【0009】
被切断紙が、中間部でカーブしたヘアピン状の形状で溝内に差し込まれると、被切断紙が差し込まれる際に差し込まれる被切断紙と干渉しないように、差し込まれる被切断紙の幅方向両側より外周に退避していた紙留め手段が、溝に差し入れられた被切断紙の紙幅方向両側から紙幅方向中央部に向けて移動し、被切断紙のヘアピン状の形状にカーブした部分の内側、すなわち被切断紙の、差し刃が接触している側に接触し被切断紙を溝内に留める。次いで差し刃が一方の胴側に引き込まれるとともに、一方の胴と他方の胴は、引き続き回転を続ける。
【0010】
一方の胴と他方の胴の引き続く回転により、他方の胴の外周面の溝は一方の胴の外周面から遠ざかり、紙留め手段は、被切断紙のヘアピン状の形状にカーブした部分の内側に接触して被切断紙を溝内に留め、溝から抜け出るのを防止する。また、この回転により、一方の胴の回転方向に向かう慣性力が働いている、被切断紙の差し刃に突き出された部位よりも先行側部分を、その慣性力に抗して一方の胴の外周面から引き離して他方の胴の外周面に引き取る。そして、被切断紙を紙留め手段が接触している部位でふたつ折れにし、被切断紙の差し刃に突き出された部位よりも先行側部分を、他方の胴の外周面上でこの外周面に沿った状態で、被切断紙の差し刃に突き出された部位よりも後行側部分の上に重ね合わせる。被切断紙の差し刃に突き出された部位よりも先行側部分を、その慣性力に抗して一方の胴の外周面から引き離して他方の胴の外周面に引き取る際、紙留め手段は、被切断紙のヘアピン状の形状にカーブした部分の内側、すなわち、慣性力によって引かれる側にあって被切断紙が溝から引き抜かれるのを妨げる。したがって、被切断紙は強い力で挟まれることがない。
【0011】
請求項2の構成においても、紙留め手段は被切断紙に同様に作用する。そして、紙挟み手段は、紙留め手段によって溝内に留められた被切断紙のヘアピン状の形状にカーブした部分の近傍を挟み、前記したように紙留め手段の留め作用と一方、他方2つの胴の回転との共同作用によって、紙留め手段が接触している部位でふたつ折れした被切断紙に、より明確な折り目付けをする。この折り目付けのために紙挟み手段が被切断紙を挟む力は、被切断紙が溝から引き抜かれるのを防止する必要がないので、折り目付けだけに必要な程度の小さな力で行われる。
【0012】
請求項1の構成、請求項2の構成のいずれにおいても、他方の胴は、引き続き回転を続け予め定められた所定の位相に達する。当該位相に達すると、被切断紙のふたつ折れ部位の内側に接触している紙留め手段が被切断紙の紙幅方向外側に向けて移動し、被切断紙が溝から抜け出す際に抜け出す被切断紙と干渉しないように、抜け出す被切断紙の幅方向両側より外側に退避させられる。次いで、被切断紙がふたつ折れの状態で適宜の手段によって溝から出され、より下流に設けられた適宜の機構に渡される。
【0013】
【発明の実施の形態】
次に、この発明の実施の形態について、図面を参照して説明する。
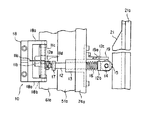
図1は、この発明の折畳装置に係る主要機構の1つの実施の形態を、回転胴との関係で示す、図2におけるT−T矢視断面図、図2は、図1のU−U矢視断面図、図3は、図1のV−V矢視断面図、図4は、この発明の折畳装置に係る主要機構である図1におけるW部を拡大して示す一部断面図、図5は、図4のX−X矢視一部断面図、図6は、図4に示す機構とは異なるこの発明の折畳装置に係る主要機構を拡大して示す一部断面図、図7は、図6のY−Y矢視一部断面図、図8は、図6のZ矢視図、図9は、この発明の折畳装置の1つの実施の形態の概略構成を示す説明図である。
【0014】
この発明に係る折畳装置は、図9に示すように、対向するフレームFFa、FFb(一方は図示せず)間に互いに中心線を平行にして、第1胴F1、一方の胴である第2胴F2、他方の胴である第3胴F3が設けられ、更に、第3胴F3から放出される折り畳まれた被切断紙PCを受領羽根FAで受領し、搬出コンベヤFCに放出する羽根車F4が設けられる。
【0015】
輪転機の印刷部(図示せず)で画像が印刷された少なくとも1枚の連続紙Wは、走行させられつつ適宜の手段によって重ね合せられまたはそのまま走行させられ、必要に応じて適宜の手段(例えば、フォーマー)によって折り重ね合せられて、ニッピングローラーFNによって第1胴F1と第2胴F2との間に向けて送り込まれる。第1胴F1と第2胴F2との間に送り込まれた連続紙Wは、まず、第2胴F2の軸方向にそって複数設けられた針F21でその先行側の部位を保持されるとともに、両胴の外周面近接位置で、第1胴F1の鋸刃F11が第2胴F2の鋸刃受けF22にくい込むことによって前記針F21による保持位置より若干先行する位置が切断されることが繰り返され、次々に第2胴F2の円周方向の複数箇所に設けられた針F21によって第2胴F2の外周面に保持された被切断紙PCとされ、第2胴F2の回転に従って移動させられる。
【0016】
そして、この被切断紙PCの中間部が第2胴F2と第3胴F3の外周面近傍位置に至り、第2胴F2の差し刃F23と第3胴F3の外周面に第3胴F3の中心線と平行に設けられた溝Gとが前記第2胴F2と第3胴F3の外周面近接位置で相対すると、針F21が第2胴F2の外周面から第2胴F2内に沈降して、被切断紙PCを放すとともに、差し刃F23が被切断紙PCの中間部を溝Gに向けて突き出す。差し刃F23にて突き出された被切断紙PCの中間部は、咥え胴F3の外周面近傍に咥え胴F3の中心線と平行に設けられた溝Gに、溝Gの開口部から中間部でヘアピン状にカーブした状態で差し入れられて折り目付けされるとともに、溝Gに対応して設けられた図1にて示した紙留め手段10によってヘアピン状のカーブの内側に干渉され溝G内に留められる。
【0017】
更に、図示の実施の形態では、差し刃F23に突き出された被切断紙PCの中間部は、ヘアピン状のカーブの近傍外側を溝G内に設けられた図1にて示した紙挟み手段30によって軽く挟まれ、紙留め手段10が接触している部位でふたつ折れした被切断紙に、より明確な折り目付けがなされる。
【0018】
紙留め手段10によって溝G内に留められ、紙挟み手段30によって軽く挟まれた被切断紙PCは、第3胴F3の回転によって、中間部より先行側が第2胴F2の回転する向きと逆に引き戻され、第3胴F3の外周面上で、中間部より後行側の外側に重ね合わせられ、中間部で折り畳まれた状態で、第3胴F3の回転に従って移動させられる。第3胴F3の回転に従って移動させられた被切断紙PCは、その咥えられた中間部が羽根車F4の受領羽根FAと相対する位置の近傍で解放され、受領羽根FA間の受領スペースで受領され、羽根車F4の回転によって搬出コンベヤFC上に放出される。
【0019】
以上記載の折畳装置における主要機構は、図1乃至図3に示すように前記第3胴F3に関連して以下のように構成される。
【0020】
折畳装置の第3胴F3は、紙挟み手段30の可動部材31が角変位可能に支持された第1基体50、紙挟み手段30の非可動部材32が固定された第2基体60、これら第1基体50と第2基体60とが個別に角変位可能に支持された第3基体70とより構成され、第3基体70の端軸73a、73bによって、フレームFFa、FFbに回転可能に支持されている。
【0021】
第1基体50は、第3基体70の両側に設けられた小径部にそれぞれ第3基体70の回転中心周りに角変位可能に取り付けられた第1側板51a、51b及びこれらを連結するとともに第3胴F3の外周面の一部を構成する複数のステー52(図2、図3参照)を有し、第1側板51a、51bにおける第3胴F3の外周面近傍には、紙挟み手段30を構成する可動軸33が角変位可能に設けられ、この可動軸33には、その長手方向に沿って紙挟み手段30の可動部材31が取り付けられている。
【0022】
第2基体60は、第3基体70の両側に設けられた小径部にそれぞれ第3基体70の回転中心周りに角変位可能に取り付けられた第2側板61a、61b及びこれらを連結するとともに咥え胴F3の外周面の一部を構成する複数のステー62(図2、図3参照)を有し、これらステー62の前記可動部材31と対向する先端部には紙挟み手段30の非可動部材32が固定されている。
【0023】
第3基体70は、両側が小径に形成されかつ中間に複数の立上り部が放射状に形成された本体71、前記立上り部に設けられるとともに第3胴F3の外周面の一部を構成する複数のステー72(図2、図3参照)、本体71の両端に設けられた端軸73a、73b及び第1基体50及び第2基体60の軸方向移動を拘束する拘束部材74a、74bを有している。一方の端軸73aは、軸受75、軸受スリーブ76を介して一方のフレームFFaに回転可能に支持されており、他方の端軸73bは、軸受77、軸受78、これら軸受77、78の間に第3基体70の回転中心周りに回転可能な歯車機構GS及び軸受78の外側に設けられた軸受スリーブ79を介して他方のフレームFFbに回転可能に支持されている。そして、第3基体70の軸方向両側近傍かつ外周面近傍の前記ステー52及びステー62の間には、紙留め手段10が、それぞれの紙留め部材11を第3胴F3の軸方向と平行な向きで対向した状態にして設けられている。
【0024】
また、第3基体70の他方の端軸73bの他方フレームFFbから突出した端部には、図示しない駆動源に連結された従動歯車90が取り付けられ、従動歯車90を介して第3基体70が回転され、ひいては咥え胴F3が回転されるようになっている。
【0025】
更に、第3基体70には、2本の連結軸80、80(図2、図3参照)が回転可能に設けられている。連結軸80、80のそれぞれは、図示しない偏心カムを介して第1側板51a、51bまたは第2側板61a、61bと連結され、第1基体50及び第2基体60の第3基体70に対する自由な回転変位を規制可能であるとともに、歯車機構GSの第1歯車G1と噛み合わせられた、図中に2点鎖線で示す歯車G3が取り付けられている。そして、歯車機構GSの前記第1歯車G1と一体で回転しかつ前記従動歯車90とともに中間歯車機構100のはすば歯車と噛み合わせられた第2歯車G2が、中間歯車機構100のはすば歯車の回転中心線と平行方向への移動操作によって従動歯車90に対する第2歯車G2の回転位相がずらされたときに、第1歯車G1および第1歯車G1と噛み合わせられた前記歯車G3を介して、前記連結軸80、80及び偏心カムが角変位され、第1基体50及び第2基体60の第3基体70に対する回転方向位相を相互に関連させて変位させることができ、前記紙挟み手段30の可動部材31と非可動部材32との近接時の間隔が調整可能になっている。
【0026】
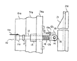
第3基体70に設けられる紙留め手段10は、図1、図2、図4及び図5に示すとおり以下のように構成される。
【0027】
すなわち、第3基体70に固定された前記拘束部材74a(74b)には、その外周面近傍かつステー52とステー62とが近接して第3胴F3外周面上の等分位置に形成する溝Gの近傍位置に、第3胴F3の中心線と平行な貫通穴を備えた案内部材13が拘束部材74a(74b)を貫通して取り付けられ、案内部材13の貫通穴には軸受13a、13aを介して軸方向に移動可能にロッド12が装着されている。
【0028】
ロッド12のフレーム側突出端にはカムフォロアー取付部12bが設けられ、このカムフォロアー取付部12bには、ロッド12の中心線と直角かつロッド12の中心線と交わる第3胴F3の半径と平行なピン14を介してカムフォロアー15が回転可能に取り付けられている。カムフォロアー15は、ロッド12に沿って案内部材13とカムフォロアー取付部12bとの間に設けられた圧縮ばね16の反発力によって、紙留め動作付与手段であるカム21のカム面に押し付けられている。
【0029】
カム21は、第3胴F3の回転中心を中心とした同心円状円弧乃至同心円状で、紙留め手段10に紙留め作用をさせる部位が、第3胴F3の軸方向と平行に第3胴F3側に高くなっており、後に説明する紙挟み手段30に動作を付与する紙挟み動作付与手段であるカム41に、ブラケット21aを介して(または第3胴F3をフレームFFbに支持する軸受スリーブ79にブラケット21bを介して)取り付けられている。加えて、カムフォロアー取付部12bには、ロッド12の中心線及びピン14の中心線の双方に直角なガイドピン12cが設けられている。このガイドピン12cは、拘束部材74a(74b)に取付けたブラケット19の、拘束部材74a(74b)の外側面及びガイドピン12cの双方に直角な面に設けられた第3胴F3の中心線と平行なスリット19aに挿入され、ロッド12が軸方向に移動するときのロッド12の軸線周りの位相を拘束するようになっている。
【0030】
また、ロッド12の第3胴内側突出端には、ロッド12の中心線及びロッド12の中心線と交わる第3胴F3の半径の双方に平行に面取りした2面幅部分が設けられ、この2面幅部分には円柱状の滑り部材12aが2面幅の面に直角に突出して設けられている。加えて、ロッド12の案内部材13と滑り部材12aとの間には、ストッパー17が固定されている。ストッパー17は、案内部材13の端面に接触し、圧縮ばね16の反発力によってカム21に向かって移動させられるロッド12の移動量を制限するようになっている。この制限は、カム21が円弧状に設けられた構成の場合に有効である。
【0031】
他方、第3基体70の本体71には、第3胴F3の半径方向に延びるブラケット18が取り付けられ、このブラケット18の先端部に適宜の間隔を開いてヨーク状に対向するアーム18a、18aが設けてあり、これの間に渡して、軸18bが設けられている。軸18bには、後に説明する紙挟み手段30の可動軸33を跨いでこれを躱すように第3胴F3の中心側が開いた二股部材11cが、軸受18cを介して角変位可能に設けられている。二股部材11cには、第3胴F3の外周方向に第3胴F3の外周を出ないように延びかつロッド12の中心線と平行な面を有する紙留め取付部11bが設けられている。更に、紙留め取付部11bには、前記滑り部材12aが移動可能に嵌入される長穴状のスリット11dが設けられておりかつ紙留め部材11が取り付けられている。
【0032】
紙留め部材11には、第3胴F3の外周面に開口する前記溝G内の第3胴F3の外周面の僅かに内側に、第3胴F3の中心線と平行に第3胴F3の中央部に向かって延びる紙留め部11aが設けられている。そして、カム21に従ってロッド12が軸方向に移動するときに、二股部材11cが軸18b周りに角変位し、前記紙留め部材11の紙留め部11aが、第3胴F3の外周面におけるこの折畳装置で折り畳む紙の巻付き領域L(図1参照)内に対しを出入りするようになっている。
【0033】
図6、図7には、前記図1、図2、図4及び図5に示す紙留め手段10とは、構成が若干相違する紙留め手段10が示されている。
【0034】
すなわち、前記拘束部材74a(74b)には、その外周面近傍かつステー52とステー62とが近接して第3胴F3外周面上の等分位置に形成する溝Gの近傍位置に、第3胴F3の中心線と平行な貫通穴を備えた案内部材13が拘束部材74a(74b)を貫通して取り付けられ、案内部材13の貫通穴には軸受13a、13aを介して軸方向に移動可能にロッド12が装着されている。
【0035】
ロッド12のフレーム側突出端にはカムフォロアー取付部12bが設けられ、このカムフォロアー取付部12bには、ロッド12の中心線と直角かつロッド12の中心線と交わる第3胴F3の半径と平行なピン14を介してカムフォロアー15が回転可能に取り付けられている。カムフォロアー15は、ロッド12に沿って案内部材13とカムフォロアー取付部12bとの間に設けられた圧縮ばね16の反発力によって、カム21のカム面に押し付けられている。カム21は、第3胴F3の回転中心を中心とした同心円状円弧乃至同心円状で、紙留め手段10に紙留め作用をさせる部位が、第3胴F3の軸方向と平行に第3胴F3側に高くなっており、後に説明する紙挟み手段30に動作を付与する紙挟み動作付与手段であるカム41に、ブラケット21aを介して(または第3胴F3をフレームFFbに支持する軸受スリーブ79にブラケット21bを介して)取り付けられている。加えて、カムフォロアー取付部12bには、ロッド12の中心線及びピン14の中心線の双方に直角なガイドピン12cが設けられている。このガイドピン12cは、拘束部材74a(74b)に取付けたブラケット19の、拘束部材74a(74b)の外側面及びガイドピン12cの双方に直角な面に設けられた第3胴F3の中心線と平行に設けたスリット19aに挿入され、ロッド12が軸方向に移動するときのロッド12の軸線周りの位相を拘束する。ここまでの構成は図4、図5に示した構成と同じである。
【0036】
そして、ロッド12の第3胴内側突出端には、紙留め取付部材11eがロッド12の中心線及びピン14の中心線と双方に平行な面を有するように取り付けられており、この面には紙留め部材11が取り付けられている。紙留め部材11には、第3胴F3の外周面に開口する前記溝G内の第3胴F3の外周面の僅かに内側に、第3胴F3の中心線と平行に第3胴F3の中央部に向かって延びる紙留め部11aが設けられている。そして、カム21に従ってロッド12が軸方向に移動するときに、このロッド12の移動に従って前記紙留め部材11の紙留め部11aが、第3胴F3の外周面におけるこの折畳装置で折り畳む紙の巻付き領域Lに対し平行に出入りするようになっている。加えて、ロッド12の案内部材13と紙留め取付部材11eとの間には、ストッパー17が固定されている。ストッパー17は、案内部材13の端面に接触し、圧縮ばね16の反発力によってカム21に向かって移動させられるロッド12の移動量を制限する。この制限は、カム21が円弧状に設けられた構成の場合に有効である。
【0037】
紙挟み手段30は、以下のように構成される。
すなわち、前記第1側板51a、51bには、その外周面近傍かつステー52とステー62とが近接して第3胴F3外周面上の等分位置に形成する溝Gの近傍位置に、可動軸33の両端が軸受を介して角変位可能に設けられ、この可動軸33には、その軸方向に適宜の間隔で設けられた可動部材取付けブロック37を介して可動部材31が取り付けられている。また、前記ステー52とステー62とが近接して第3胴F3外周面上の等分位置に形成する溝Gの、ステー62が形成する第3胴F3の軸方向に平行な内壁には、前記可動部材31と対応する位置に非可動部材32が取り付けられている。
【0038】
更に、前記可動軸33の一方端は、一方の第1側板51aからフレームFFa側に突出し、突出した端部に、可動軸33の中心線に対し放射方向に伸びるアーム34が取り付けられるとともに、このアーム34の自由端側には、可動軸33の中心線と平行なピン35が取り付けられ、さらに、ピン35には、カムフォロアー36が、回転可能に取り付けられており、可動軸33、アーム34、ピン35及びカムフォロアー36で可動部材31を角変位させる角変位伝達機構を構成している。
【0039】
更に、前記第3胴F3の一方の第1側板51aから突出した可動軸33の端部と対向するフレームFFaに設けられた軸受スリーブ76には、第3胴F3の回転中心(つまり、第3基体70の回転中心)を中心にしたカム案内面が設けられ、この案内面に沿って角変位可能であるように、紙挟み動作付与手段であるカム41が取付けられている。カム41には、前記咥え胴F3の回転中心を中心とした外周カム面41aを有し、カムフォロアー36の直径より僅かに広幅の溝41bが設けられ、外周カム面41aには、図示しないねじりばねの回復力の働きによって、ピン35に取り付けられたカムフォロアー36の外周面が接触させられている。
【0040】
さらに、カム41は図示しない調節機構によって軸受スリーブ76のカム案内面に沿って角変位調節可能に設けられている。この調節によって、紙挟み手段30の挟み動作のタイミングを調節可能である。
【0041】
以上の構成による動作は、次のように行われる。
【0042】
折畳装置を動作させ、各胴を回転させる。
すると、図示しない駆動源によって従動歯車90に駆動伝達され、従動歯車90を介して第3基体70が回転され、2本の連結軸80、80、偏心カムを介して第3基体70と一体で回転するように連結された第1基体50及び第2基体60が一斉に回転され、つまりは第3胴F3が回転する。各胴が回転し図9に示す回転位相に達すると、前記したように第2胴F2の先行側被切断紙PCの先行側を保持していた針F21が第2胴F2内に沈降して被切断紙PCを解放するとともに、第3胴F3との近接対向位置D1に位置する差し刃F23が第2胴F2の外周面から突出して解放された被切断紙PCのほぼ中央部をヘアピン状に曲げた状態で、当該回転位相において第2胴F2と第3胴F3との近接対向位置D1で第2胴F2の差し刃F23と対向している第3胴F3の外周面の溝G内に差し入れる。
【0043】
この差し刃F23による溝G内への被切断紙PCの差し入れに対応して、紙留め手段10の紙留め部材11の紙留め部11aが、第3胴F3の外周面における溝G内で、この折畳装置で折り畳む紙の巻付き領域L内に進入し、差し入れられた被切断紙PCのヘアピン状の曲がり部分の内側に入り込む。
【0044】
つまり、拘束部材74a(74b)に案内部材13及び軸受13a、13aを介して軸方向に移動可能に設けられたロッド12が第3胴F3の回転に従って移動し、ロッド12のフレーム側突出側にカムフォロアー取付部12b及びピン14を介して取り付けられたカムフォロアー15が、圧縮ばね16の反発力に抗して紙留め動作付与手段であるカム21のカム面に従って変位する。このカムフォロアー15の変位により、ロッド12が第3胴F3の中央に向かって軸方向に移動する。この移動の際、カムフォロアー取付部12bに設けられたガイドピン12cが、ブラケット19に第3胴F3の中心線と平行に設けられたスリット19aに従って移動し、ロッド12の軸方向移動のときのロッド12の軸線周りの位相を拘束する。
【0045】
ロッド12が軸方向に移動すると、図1、図2、図4及び図5に示す実施の形態では、ロッド12の第3胴内側突出端に滑り部材12aとスリット11dを介して連結された紙留め取付部11b及びこれと一体の二股部材11cが軸18bの中心線周りに角変位し、紙留め取付部11bに取り付けられた紙留め部材11が角変位する。図1、図2、図4及び図5に示す実施の形態では、紙留め部材11の紙留め部11aは、図4に実線で示す位置A4に移動し、差し入れられた被切断紙PCのヘアピン状の曲がり部分の内側に入り込む。
【0046】
また、図6及び図7に示す別の実施の形態では、ロッド12の第3胴内側突出端に連結された紙留め取付部材11e及び紙留め取付部11bに取り付けられた紙留め部材11が第3胴F3の中央に向かって軸方向に移動する。そしてこの実施の形態では、紙留め部材11の紙留め部11aは、図6に実線で示す位置A6に平行移動し、差し入れられた被切断紙PCのヘアピン状の曲がり部分の内側に入り込む。
【0047】
更に、差し刃F23による溝G内への被切断紙PCの差し入れに対応して、紙挟み手段30の可動部材31が第3胴F3の外周面における溝G内において被可動部材32に向かって接近移動し、差し入れられた被切断紙PCのヘアピン状の曲がり部分が外側から押さえられる。
【0048】
つまり、第1基材50に設けられた可動軸33及びアーム34が第3胴F3の回転に従って移動し、アーム34の自由端にピン35を介して取り付けられたカムフォロアー36が図示しないねじりばねの力によって紙挟み動作付与手段であるカム41の外周カム面41aに従って変位する。カムフォロアー36がカム41の外周カム面41aに従って変位すると、アーム34を介して可動軸33が角変位され、可動軸33に取り付けられた可動部材31が第2基材60に取り付けられた非可動部材32に対して接近移動し、差し入れられた被切断紙PCのヘアピン状の曲がり部分が外側から押さえられる。
【0049】
以上記載の第2胴F2の差し刃F23による被切断紙PCの差し込み動作に対応した前記紙留め手段10の動作及び紙挟み手段30の動作にかかわらず、折畳装置の各胴は回転を続ける。
【0050】
引き続く回転により、紙留め部材11の紙留め部11aがヘアピン状の曲がり部分の内側に達しかつ可動部材31と非可動部材32とでヘアピン状の曲がり部分を外側から押さえられた被切断紙PCは、紙留め部材11の紙留め部11aによって溝Gからの抜け出しが妨げられて第3胴F3に引き取られ、第3胴F3の回転に従って移動する。そして、被切断紙PCは紙留め部11aが接触している部位でふたつ折れにされ、被切断紙PCの、差し刃F23にて突き出された部位よりも先行側部分を、被切断紙PCの、差し刃F23に突き出された部位よりも後行側部分の上に重ね合わせられる。また、紙挟み手段30が被切断紙PCを挟む力は、被切断紙PCが溝Gから引き抜かれるのを防止する必要がないので、折り目付けだけに必要な程度の小さな力で行われる。
【0051】
被切断紙PCを引き取った溝Gが羽根車F4の上方位置、すなわち、略図9にで示すC1の位置に達すると、被切断紙PCは紙留め手段10及び紙挟み手段30から解放される。
【0052】
つまり、前記カムフォロアー15が、圧縮ばね16の反発力に従って紙留め動作付与手段であるカム21のカム面に従って変位する。このカムフォロアー15の変位により、ロッド12がフレームFFa(FFb)に向かって軸方向に移動する。この移動の際、ガイドピン12cとブラケット19に第3胴F3の中心線と平行に設けられたスリット19aとの共同作用によってロッド12の軸線周りの位相を拘束するのは、前記ロッド12が第3胴F3の中央に向かって軸方向に移動するときと同じである。
【0053】
ロッド12がフレームFFa(FFb)に向かって軸方向に移動すると、図1、図2、図4及び図5に示す実施の形態では、ロッド12の第3胴内側突出端に滑り部材12aとスリット11dを介して連結された紙留め取付部11b及びこれと一体の二股部材11cが軸18bの中心線周りに角変位し、紙留め取付部11bに取り付けられた紙留め部材11が角変位する。図1、図2、図4及び図5に示す実施の形態では、紙留め部材11の紙留め部11aは、被切断紙PCのヘアピン状の曲がり部分の内側から抜け出て第3胴F3の外周面におけるこの折畳装置で折り畳む紙の巻付き領域Lから外れ、被切断紙PCに干渉しない位置、つまり図4に一点鎖線で示す位置B4に移動する。
【0054】
また、図6及び図7に示す実施の形態では、ロッド12の第3胴内側突出端に連結された紙留め取付部材11e及び紙留め取付部11bに取り付けられた紙留め部材11がフレームFFa(FFb)に向かって軸方向に移動する。そして、紙留め部材11の紙留め部11aは、被切断紙PCのヘアピン状の曲がり部分の内側から抜け出て第3胴F3の外周面におけるこの折畳装置で折り畳む紙の巻付き領域Lから外れ、被切断紙PCに干渉しない位置(図示せず)に移動する。
【0055】
図1、図2、図4及び図5に示す実施の形態並びに図6及び図7に示す実施の形態のいずれの場合においても、紙留め動作付与手段であるカム21は、図9において羽根車F4の上方位置C1から第2胴F2と第3胴F3との近接対向位置D1までの間に必ずしも必要でなく、この間にカム21が設けられない場合は、ロッド12のフレームFFa(FFb)に向かう軸方向移動を、ストッパー17が案内部材13の第3胴F3の中央側端面に接触して制限する。
【0056】
他方、紙挟み手段30の可動部材31が第3胴F3の外周面における溝G内において非可動部材32から遠ざかるように移動し、被切断紙PCのヘアピン状の曲がり部分を押さえから解放する。
【0057】
つまり、カムフォロアー36が図示しないねじりばねの力に抗して紙挟み動作付与手段であるカム41の外周カム面41aに従って変位する。すると、アーム34を介して可動軸33が角変位され、可動軸33に取り付けられた可動部材31が非可動部材32から遠ざかるように移動し、被切断紙PCのヘアピン状の曲がり部分を押さえから解放する。
【0058】
【発明の効果】
以上記載のとおりなので、この発明を実施したことによって、一方の胴に設けた差し刃で他方の胴の外周面に設けられた溝内に差し込まれた被切断紙を前記溝に受入れて前記中間部で他方の胴の中心線と平行に折畳む輪転機の折畳装置において、他方の胴が一方の胴から紙を引き取る動作中に大きな引き戻し力が作用しても、紙留め手段により溝内に留められて紙の抜け落ちを無くすことができ、抜け落ちによる紙詰まりなどの生産トラブルを一掃し、生産性の向上を果たすことができた。
【0059】
また、前記引取りに際して、折畳まれ重ねられて接触している印刷面相互の接触圧力は小さくてすみ、互いに接触している相手面からの印刷画像の転移を無くすことができ、接触している相手面からの印刷画像の転移による印刷面の汚れを無くすことができたので、印刷品質の高い印刷物の生産が可能になった。
【0060】
さらに、請求項2の発明では、前記効果に加えて、折畳まれた印刷物により明確な折り目付けが可能となり、折りの弛さに起因する印刷物の後処理における不都合の発生を防止可能である。
【図面の簡単な説明】
【図1】この発明の折畳装置に係る主要機構の1つの実施の形態を、回転胴との関係で示す、図2におけるT−T矢視断面図である。
【図2】図1のU−U矢視断面図である。
【図3】図1のV−V矢視断面図である。
【図4】この発明の折畳装置に係る主要機構である図1におけるW部を拡大して示す一部断面図である。
【図5】図4のX−X矢視一部断面図である。
【図6】図4に示す機構とは異なるこの発明の折畳装置に係る主要機構を拡大して示す一部断面図である。
【図7】図6にY−Y矢視一部断面図である。
【図8】図6のVIII矢視図である。
【図9】この発明の折畳装置の1つの実施の形態の概略構成を示す説明図である。
【符号の説明】
10…紙留め手段、11…紙留め部材、11a…紙留め部、
11b…紙留め取付部、11c…二股部材、11d…スリット、
11e…紙留め取付部材、12…ロッド、12a…滑り部材、
12b…カムフォロアー取付部、12c…ガイドピン、13…案内部材、
13a…軸受、14…ピン、15…カムフォロアー、16…圧縮ばね、
17…ストッパー、18…ブラケット、18a…アーム、18b…軸、
19…ブラケット、19a…スリット、21…カム(紙留め動作付与手段)、
21a…ブラケット、
21b…ブラケット、30…紙挟み手段、31…可動部材、32…非可動部材、
33…可動軸、34…アーム、35…ピン、36…カムフォロアー、
37…可動部材取付けブロック、41…カム(紙挟み動作付与手段)、
41a…外周カム面、41b…溝、50…第1基体、51a、51b…第1側板、
52…ステー、60…第2基体、61a、61b…第2側板、62…ステー、
70…第3基板、71…本体、72…ステー、73a、73b…端軸、
74a、74b…拘束部材、75…軸受、76…軸受スリーブ、77…軸受、
78…軸受、79…軸受スリーブ、80…連結軸、90…従動歯車、
100…中間歯車機構、
F1…第1胴、F2…第2胴(一方の胴)、F3…第3胴(他方の胴)、
F4…羽根車、F11…鋸刃、F21…針、F22…鋸刃受け、F23…差し刃、
FA…受領羽根、FC…搬出コンベヤ、FFa、FFb…フレーム、
FN…ニッピングローラー、G…溝、G1…第1歯車、G2…第2歯車、G3…歯車、
GS…歯車機構、PC…被切断紙、W…連続紙、
A4…紙留め部が被切断紙のヘアピン状の曲がり部分の内側に入り込む位置、
A6…紙留め部が被切断紙のヘアピン状の曲がり部分の内側に入り込む位置、
B4…紙留め部が被切断紙のヘアピン状の曲がり部分の内側から抜け出た位置、
C1…羽根車の上方位置、D1…第2胴F2と第3胴F3との近接対向位置、
L…折畳装置で折り畳む紙の巻付き領域
Claims (2)
- 平行に設けられ近接する対向外周面が同一方向に変位する2つの回転胴の一方の胴に設けた保持機構で紙の先行側を保持し、保持した紙の先行側を一方の胴の回転によって他方の胴との近接位置を通過させ予め定めた適宜位置まで案内して保持から解放するとともに、遅くとも解放時点に予め定められた長さの被切断紙とされているこの紙の中間部を、この中間部と前記近接位置で対向する他方の胴の外周面に設けられた溝内に向けて一方の胴に設けた差し刃で差し込み、この差し込まれた被切断紙を前記溝に受入れて前記中間部で他方の胴の中心線と平行に折畳む、輪転機の折畳装置において、
溝に受入れた紙の紙幅方向中央に対して紙幅方向両側から進退し、紙の、差し刃が接触している側に接触して紙の中間部を溝内に留め得るよう他方の胴に設けられた紙留め手段と、
紙留め手段を予め定めた所定のタイミングで進退動作させる紙留め動作付与手段と、
を備えた折畳装置。 - 平行に設けられ近接する対向外周面が同一方向に変位する2つの回転胴の一方の胴に設けた保持機構で紙の先行側を保持し、保持した紙の先行側を一方の胴の回転によって他方の胴との近接位置を通過させ予め定めた適宜位置まで案内して保持から解放するとともに、遅くとも解放時点に予め定められた長さの被切断紙とされているこの紙の中間部を、この中間部と前記近接位置で対向する他方の胴の外周面に設けられた溝内に向けて一方の胴に設けた差し刃で差し込み、この差し込まれた被切断紙を前記溝に受入れて前記中間部で他方の胴の中心線と平行に折畳む、輪転機の折畳装置において、
溝に受入れた紙の紙幅方向中央に対して紙幅方向両側から進退し、紙の、差し刃が接触している側に接触して紙の中間部を溝内に留め得るよう他方の胴に設けられた紙留め手段と、
溝内で開閉可能に設けられ紙留め手段で溝内に留めた被切断紙をその幅方向にそって挟むよう他方の胴に設けられた紙挟み手段と、
紙留め手段を予め定めた所定のタイミングで進退動作させる紙留め動作付与手段と、
紙挟み手段を予め定めた所定のタイミングで挟み動作させる紙挟み動作付与手段と、
を備えた折畳装置。
Priority Applications (4)
| Application Number | Priority Date | Filing Date | Title |
|---|---|---|---|
| JP2002270294A JP3669354B2 (ja) | 2002-09-17 | 2002-09-17 | 折畳装置 |
| US10/446,651 US6779788B2 (en) | 2002-09-17 | 2003-05-29 | Apparatus for folding printed paper sections |
| DE60324872T DE60324872D1 (de) | 2002-09-17 | 2003-06-04 | Vorrichtung zum Falten von bedruckten Exemplaren |
| EP03101626A EP1400474B1 (en) | 2002-09-17 | 2003-06-04 | Apparatus for folding printed paper sections |
Applications Claiming Priority (1)
| Application Number | Priority Date | Filing Date | Title |
|---|---|---|---|
| JP2002270294A JP3669354B2 (ja) | 2002-09-17 | 2002-09-17 | 折畳装置 |
Publications (2)
| Publication Number | Publication Date |
|---|---|
| JP2004106989A true JP2004106989A (ja) | 2004-04-08 |
| JP3669354B2 JP3669354B2 (ja) | 2005-07-06 |
Family
ID=31944528
Family Applications (1)
| Application Number | Title | Priority Date | Filing Date |
|---|---|---|---|
| JP2002270294A Expired - Fee Related JP3669354B2 (ja) | 2002-09-17 | 2002-09-17 | 折畳装置 |
Country Status (4)
| Country | Link |
|---|---|
| US (1) | US6779788B2 (ja) |
| EP (1) | EP1400474B1 (ja) |
| JP (1) | JP3669354B2 (ja) |
| DE (1) | DE60324872D1 (ja) |
Families Citing this family (9)
| Publication number | Priority date | Publication date | Assignee | Title |
|---|---|---|---|---|
| DE10208292B4 (de) * | 2002-02-26 | 2004-04-15 | Koenig & Bauer Ag | Falzapparat |
| JP3674007B2 (ja) * | 2002-07-16 | 2005-07-20 | 株式会社東京機械製作所 | 咥え折装置 |
| US7329221B2 (en) * | 2003-09-30 | 2008-02-12 | Fpna Acquisition Corporation | Assembly for and method of gripping sheets of material in an interfolder |
| DE102005022232A1 (de) * | 2005-05-13 | 2006-11-16 | Man Roland Druckmaschinen Ag | Falzklappenzylinder eines Falzapparats für eine Druckmaschine |
| JP2009184280A (ja) * | 2008-02-08 | 2009-08-20 | Komori Corp | 折機の胴 |
| DE102013102728A1 (de) * | 2013-03-18 | 2014-09-18 | Manroland Web Systems Gmbh | Falzeinrichtung einer Druckmaschine und Verfahren zum Betreiben der Falzeinrichtung |
| AU2017420368B2 (en) | 2017-06-23 | 2024-03-07 | Kimberly-Clark Worldwide, Inc. | System and process for applying an adhesive to a moving web |
| US11993879B2 (en) | 2017-06-23 | 2024-05-28 | Kimberly-Clark Worldwide, Inc. | Adhesive pattern residing on a moving base web |
| CN107639885A (zh) * | 2017-10-30 | 2018-01-30 | 天津远达滤清器股份有限公司 | 一种滤清器过滤纸的折纸定型装置 |
Family Cites Families (10)
| Publication number | Priority date | Publication date | Assignee | Title |
|---|---|---|---|---|
| DE229783C (ja) * | ||||
| DE3404170C2 (de) * | 1984-02-07 | 1993-11-11 | Heidelberger Druckmasch Ag | Falzapparat an Rollenrotationsdruckmaschinen |
| JP2702477B2 (ja) | 1987-01-30 | 1998-01-21 | 東芝機械株式会社 | 印刷機の折胴装置 |
| FR2692875B1 (fr) * | 1992-06-25 | 1994-10-07 | Heidelberger Druckmasch Ag | Appareil de pliage pour la réalisation d'exemplaires pliés à partir d'une bande de papier imprimée. |
| JP3241187B2 (ja) * | 1993-09-21 | 2001-12-25 | 三菱重工業株式会社 | 折丁作成方法及びその装置 |
| DE4340858C2 (de) * | 1993-12-01 | 1998-02-12 | Koenig & Bauer Albert Ag | Zylinder |
| EP0734988B1 (de) * | 1995-03-25 | 2001-09-26 | Koenig & Bauer Aktiengesellschaft | Verfahren und Einrichtung zum Bewegen von Punkturnadeln |
| DE19533064C2 (de) * | 1995-03-25 | 2000-11-23 | Koenig & Bauer Ag | Verfahren zum Bewegen von Punkturnadeln |
| JPH11156794A (ja) * | 1997-11-28 | 1999-06-15 | Toshiba Mach Co Ltd | 印刷機の折機の横ミシン目入れ装置 |
| US6279890B1 (en) * | 2000-04-11 | 2001-08-28 | Goss Graphic Systems, Inc. | Combination rotary and jaw folder for a printing press |
-
2002
- 2002-09-17 JP JP2002270294A patent/JP3669354B2/ja not_active Expired - Fee Related
-
2003
- 2003-05-29 US US10/446,651 patent/US6779788B2/en not_active Expired - Fee Related
- 2003-06-04 DE DE60324872T patent/DE60324872D1/de not_active Expired - Fee Related
- 2003-06-04 EP EP03101626A patent/EP1400474B1/en not_active Expired - Lifetime
Also Published As
| Publication number | Publication date |
|---|---|
| EP1400474A2 (en) | 2004-03-24 |
| US6779788B2 (en) | 2004-08-24 |
| EP1400474B1 (en) | 2008-11-26 |
| EP1400474A3 (en) | 2006-05-17 |
| JP3669354B2 (ja) | 2005-07-06 |
| US20040053762A1 (en) | 2004-03-18 |
| DE60324872D1 (de) | 2009-01-08 |
Similar Documents
| Publication | Publication Date | Title |
|---|---|---|
| JPS6323911B2 (ja) | ||
| JP2004106989A (ja) | 折畳装置 | |
| WO2012090346A1 (ja) | 用紙切断装置 | |
| JP2666887B2 (ja) | 胴 | |
| US6093139A (en) | Folding apparatus for rotary printing presses | |
| JP3738418B2 (ja) | 折畳部の咥え装置 | |
| JPH11263531A (ja) | 輪転印刷機用折りたたみ装置、およびシ―ト材の端部を受け渡す方法 | |
| US7338425B1 (en) | Variable length cutting device | |
| JP2665033B2 (ja) | 巻三つ折、外三つ折兼用折機 | |
| JP4073556B2 (ja) | 折機の平行折装置 | |
| EP1209112B1 (en) | Guide apparatus for use in folder | |
| JP3674007B2 (ja) | 咥え折装置 | |
| JP3697694B2 (ja) | 輪転機の折部の咥え装置 | |
| EP2749415A1 (en) | Dynamic guide for a paper folding machine | |
| US7217233B2 (en) | Parallel folding apparatus of folding machine | |
| JP4326195B2 (ja) | 折込ローラ装置 | |
| JP2002362829A (ja) | 折畳部の咥え装置 | |
| JP3752771B2 (ja) | 冊子作成装置における用紙折り機構 | |
| EP1980517B1 (en) | Sheet-speed reduction mechanism for star wheel | |
| JP4226531B2 (ja) | 折機の胴 | |
| JP4103904B2 (ja) | 折畳装置 | |
| JP3840357B2 (ja) | 通帳頁めくり装置 | |
| JPH0711079Y2 (ja) | 折機の紙案内装置 | |
| JP2005015185A (ja) | 折機の平行折装置 | |
| JPH11171401A (ja) | 減速胴付き折機 |
Legal Events
| Date | Code | Title | Description |
|---|---|---|---|
| A977 | Report on retrieval |
Free format text: JAPANESE INTERMEDIATE CODE: A971007 Effective date: 20050324 |
|
| TRDD | Decision of grant or rejection written | ||
| A01 | Written decision to grant a patent or to grant a registration (utility model) |
Free format text: JAPANESE INTERMEDIATE CODE: A01 Effective date: 20050330 |
|
| A61 | First payment of annual fees (during grant procedure) |
Free format text: JAPANESE INTERMEDIATE CODE: A61 Effective date: 20050404 |
|
| R150 | Certificate of patent or registration of utility model |
Free format text: JAPANESE INTERMEDIATE CODE: R150 |
|
| FPAY | Renewal fee payment (event date is renewal date of database) |
Free format text: PAYMENT UNTIL: 20080422 Year of fee payment: 3 |
|
| FPAY | Renewal fee payment (event date is renewal date of database) |
Free format text: PAYMENT UNTIL: 20110422 Year of fee payment: 6 |
|
| LAPS | Cancellation because of no payment of annual fees |