JP2004028126A - ダイナミックダンパ - Google Patents
ダイナミックダンパ Download PDFInfo
- Publication number
- JP2004028126A JP2004028126A JP2002181232A JP2002181232A JP2004028126A JP 2004028126 A JP2004028126 A JP 2004028126A JP 2002181232 A JP2002181232 A JP 2002181232A JP 2002181232 A JP2002181232 A JP 2002181232A JP 2004028126 A JP2004028126 A JP 2004028126A
- Authority
- JP
- Japan
- Prior art keywords
- spring member
- vibration
- dynamic damper
- mass
- spring
- Prior art date
- Legal status (The legal status is an assumption and is not a legal conclusion. Google has not performed a legal analysis and makes no representation as to the accuracy of the status listed.)
- Pending
Links
- 238000013016 damping Methods 0.000 claims abstract description 59
- 239000000956 alloy Substances 0.000 claims abstract description 26
- 229910045601 alloy Inorganic materials 0.000 claims abstract description 25
- 229910052751 metal Inorganic materials 0.000 claims abstract description 15
- 239000002184 metal Substances 0.000 claims abstract description 15
- 230000000630 rising effect Effects 0.000 claims description 23
- 230000001629 suppression Effects 0.000 claims description 2
- 230000000694 effects Effects 0.000 abstract description 29
- 238000009434 installation Methods 0.000 abstract 1
- 230000008859 change Effects 0.000 description 14
- 239000000463 material Substances 0.000 description 8
- 238000012545 processing Methods 0.000 description 7
- 238000000034 method Methods 0.000 description 6
- 238000003466 welding Methods 0.000 description 5
- 239000010426 asphalt Substances 0.000 description 4
- 230000005489 elastic deformation Effects 0.000 description 4
- 230000009467 reduction Effects 0.000 description 4
- 238000010008 shearing Methods 0.000 description 4
- 230000002411 adverse Effects 0.000 description 3
- 230000001747 exhibiting effect Effects 0.000 description 3
- 239000007769 metal material Substances 0.000 description 3
- 230000008569 process Effects 0.000 description 3
- XEEYBQQBJWHFJM-UHFFFAOYSA-N Iron Chemical compound [Fe] XEEYBQQBJWHFJM-UHFFFAOYSA-N 0.000 description 2
- PXHVJJICTQNCMI-UHFFFAOYSA-N Nickel Chemical compound [Ni] PXHVJJICTQNCMI-UHFFFAOYSA-N 0.000 description 2
- 230000001133 acceleration Effects 0.000 description 2
- 230000000052 comparative effect Effects 0.000 description 2
- 230000006866 deterioration Effects 0.000 description 2
- 230000007613 environmental effect Effects 0.000 description 2
- 238000012986 modification Methods 0.000 description 2
- 230000004048 modification Effects 0.000 description 2
- RYGMFSIKBFXOCR-UHFFFAOYSA-N Copper Chemical compound [Cu] RYGMFSIKBFXOCR-UHFFFAOYSA-N 0.000 description 1
- PWHULOQIROXLJO-UHFFFAOYSA-N Manganese Chemical compound [Mn] PWHULOQIROXLJO-UHFFFAOYSA-N 0.000 description 1
- 229910000831 Steel Inorganic materials 0.000 description 1
- 239000006096 absorbing agent Substances 0.000 description 1
- 238000005452 bending Methods 0.000 description 1
- 230000015572 biosynthetic process Effects 0.000 description 1
- 238000005219 brazing Methods 0.000 description 1
- 238000002485 combustion reaction Methods 0.000 description 1
- 238000010276 construction Methods 0.000 description 1
- 229910052802 copper Inorganic materials 0.000 description 1
- 239000010949 copper Substances 0.000 description 1
- 239000013078 crystal Substances 0.000 description 1
- 238000013461 design Methods 0.000 description 1
- 230000002349 favourable effect Effects 0.000 description 1
- 230000005294 ferromagnetic effect Effects 0.000 description 1
- 230000006872 improvement Effects 0.000 description 1
- 229910052742 iron Inorganic materials 0.000 description 1
- 229910052748 manganese Inorganic materials 0.000 description 1
- 239000011572 manganese Substances 0.000 description 1
- 238000004519 manufacturing process Methods 0.000 description 1
- 238000005259 measurement Methods 0.000 description 1
- 229910052759 nickel Inorganic materials 0.000 description 1
- 230000002093 peripheral effect Effects 0.000 description 1
- 239000004033 plastic Substances 0.000 description 1
- 230000005855 radiation Effects 0.000 description 1
- 239000010959 steel Substances 0.000 description 1
- 230000007704 transition Effects 0.000 description 1
Images
Landscapes
- Vibration Prevention Devices (AREA)
Abstract
【課題】制振効果の温度依存性が小さく、広い周波数域に亘って有効な制振効果を安定して発揮し得る、コンパクトで且つ新規な構造のダイナミックダンパを提供することを目的とする。
【解決手段】主振動系たる制振対象部材16に対して所定質量のマス部14を弾性支持せしめて副振動系としてのダイナミックダンパ10を構成するバネ部材12を、損失係数が0.05以上の制振合金で形成すると共に、該バネ部材12を、該バネ部材12よりも高剛性の取付金具20を介して、制振対象部材16に固定的に取り付けるようにした。
【選択図】 図1
【解決手段】主振動系たる制振対象部材16に対して所定質量のマス部14を弾性支持せしめて副振動系としてのダイナミックダンパ10を構成するバネ部材12を、損失係数が0.05以上の制振合金で形成すると共に、該バネ部材12を、該バネ部材12よりも高剛性の取付金具20を介して、制振対象部材16に固定的に取り付けるようにした。
【選択図】 図1
Description
【0001】
【技術分野】
本発明は、制振対象部材に対してマス部材をバネ部材を介して弾性的に支持せしめることにより、主振動系たる制振対象部材に対する副振動系を構成して、制振対象部材の振動を抑えるダイナミックダンパに関するものである。
【0002】
【背景技術】
従来から、自動車におけるボデー等の如き振動部材(制振対象部材)において問題となる振動を低減する方法としては、▲1▼振動部材の表面にアスファルトシートやゴムシートを貼着して制振材を構成する方法や、▲2▼振動部材に対してバネ部材を介してマス部材を連結支持せしめてダイナミックダンパを構成する方法等が、知られている。
【0003】
ところが、上記▲1▼の制振材においては、アスファルトシートやゴムシートにおける制振効果の温度依存性が大きく、例えば自動車のボデー等のように内燃機関や日射等の影響で振動部材の温度が60℃以上に達すると制振効果が大幅に低下してしまうという問題があった。しかも、振動部材における1次等の低次の振動モードでは、アスファルトシートに生ぜしめられる剪断歪が小さくなることに起因して、十分な振動低減効果を得ることが難しいという問題があった。
【0004】
また、前記▲2▼のダイナミックダンパにおいては、バネ部材として一般に採用されているゴム弾性体の剛性が小さいことから、剛性を確保するためにゴム弾性体の容積を大きくしなければならず、結果的にダイナミックダンパの大型化を避け難いという問題があった。しかも、ダイナミックダンパは、それ自身のマス−バネ系からなる副振動系の固有振動数を、振動部材において制振すべき特定の振動周波数域に設定することにより特性のチューニングが施されるが、有効な制振効果が比較的に狭い一つのチューニング周波数域だけでしか発揮され難く、それに加えて、ゴム弾性体のばね定数の温度依存性が大きいことから、例えば自動車のボデー等のように季節や環境等の変化で60℃以上の温度差に晒される場合には、チューニング周波数が防振すべき振動周波数から外れてしまって、有効な制振効果を安定して得難いという問題があったのである。
【0005】
【解決課題】
ここにおいて、本発明は、上述の如き事情を背景として為されたものであって、その解決課題とするところは、コンパクトで且つ制振効果の温度依存性が小さく、大きな温度変化領域に亘って有効な制振効果を安定して発揮し得る、新規な構造のダイナミックダンパを提供することにある。
【0006】
【解決手段】
以下、このような課題を解決するために為された本発明の態様を記載する。なお、以下に記載の各態様において採用される構成要素は、可能な限り任意の組み合わせで採用可能である。また、本発明の態様乃至は技術的特徴は、以下に記載のものに限定されることなく、明細書全体および図面に記載され、或いはそれらの記載から当業者が把握することが出来る発明思想に基づいて認識されるものであることが理解されるべきである。
【0007】
本発明の第一の態様は、制振対象部材に対して所定質量のマス部をバネ部材で弾性的に連結支持せしめたダイナミックダンパにおいて、前記バネ部材を損失係数が0.05以上の制振合金で形成すると共に、該バネ部材の少なくとも一方の端部に該バネ部材よりも高剛性の取付金具を固着せしめて、該取付金具を前記制振対象部材に固定的に取り付け、該バネ部材を梁状に配設することにより前記マス部を該バネ部材で弾性変位可能に支持せしめるようにしたことを、特徴とする。
【0008】
このような本態様のダイナミックダンパにおいては、制振合金で形成されたバネ部材自体で有効な損失係数が実現されることとなり、ばね定数の温度依存性の大きいゴム弾性体等を別途設ける必要もないことから、副振動系のばね定数の温度変化に伴う変動が抑えられて、ダイナミックダンパのチューニング周波数の安定化が図られ得るのであり、それ故、例えば自動車のボデーパネルなどの環境温度の変化幅が大きい振動部材に装着される場合でも、予めチューニングされた特定周波数域の振動に対して、有効な制振効果を安定して得ることが可能となる。
【0009】
しかも、制振合金で形成されたバネ部材によって発揮される損失係数は、ゴム弾性体やアスファルト等のように温度変化に伴う大幅な変動もなく、特に損失係数を0.05以上としたことによって、チューニング周波数の上下の周波数域における振動状態の悪化が抑えられるのであり、それ故、本態様のダイナミックダンパにおいては、環境温度の変化に拘わらず、広い周波数域で有効な制振効果を得ることが出来るのである。
【0010】
加えて、本態様のダイナミックダンパにおいては、ゴム弾性体に比して高剛性な制振合金によってバネ部材が形成されることから、小さな容積のバネ部材で十分なばね剛性を確保することが出来ると共に、減衰手段を別途設ける必要もないことから、全体として極めてコンパクトなダイナミックダンパが実現され得る。
【0011】
また、本態様のダイナミックダンパにおいては、バネ部材に制振合金を採用するに際して、以下の(a),(b),(c)の特定構造を採用したことにより、継続的に弾性変形が繰り返されるバネ部材の強度や耐久性,信頼性を高度に確保することを可能と為し得たのである。
(a)制振対象部材に対する取り付けのための溶接やボルト孔形成等の加工が必要とされる部分を、バネ部材と別体の取付金具で構成することにより、バネ部材自体への直接的な加工を不要とし、そのような加工に伴う制振合金の特性変化が回避されるようにした。
(b)加振に伴って特に大きな応力が作用せしめられるバネ部材の支持端部を、バネ部材と別体の取付金具で構成することにより、取付金具の材質や形状,構造等をバネ部材や制振効果に影響を与えないで設計可能として、ダイナミックダンパの耐久性が十分に確保されるようにした。
(c)振動入力に際して弾性変形せしめられるバネ部材を梁状として、その長手方向に曲げ及び剪断変形を分散させることにより、バネ部材自体の耐久性が有利に確保されるようにした。
【0012】
なお、本態様において採用される制振合金は、従来から制振合金乃至は防振合金として公知の各種のものから、構造材として要求される強度や耐久性を考慮して適宜に選定することが可能であり、複合型や強磁性型,転移型,双晶型等の各種の結晶構造を備えたものが何れも選択対象となり得るが、なかでも、マンガンをベースに20%の銅,5%のニッケル,2%の鉄を含むM2052合金が、損失係数と強度を高度に両立し得ることから、本態様の制振合金として好適に採用される。
【0013】
また、本発明の第二の態様は、前記第一の態様に係るダイナミックダンパにおいて、前記バネ部材の一方の端部に前記取付金具を固着せしめて、該バネ部材により片端支持の梁構造を構成して、該バネ部材の自由端に前記マス部を設けたことを、特徴とする。このような本態様においては、片持ち梁タイプのバネ部材が構成されて、その一次振動モードで特に大きな振幅で効率的に作用せしめられるダイナミックダンパが、コンパクトに実現され得ることとなる。
【0014】
また、本発明の第三の態様は、前記第二の態様に係るダイナミックダンパにおいて、前記バネ部材を長手平板形状として、該バネ部材の長手方向一方の端部に前記取付金具を固着すると共に、他方の端部に別体のマス金具を固着せしめて前記マス部を形成したことを、特徴とする。このような本態様においては、バネ部材の形状を一層簡略化することが出来ると共に、別体のマス金具を採用することで、チューニングの変更に際しても共通したバネ部材を採用することも可能となることから、バネ部材の製造の容易化や低コスト化が図られ得ると共に、バネ部材の加工に伴う特性変化も一層有利に回避することが可能となる。
【0015】
また、本発明の第四の態様は、前記第一の態様に係るダイナミックダンパにおいて、前記バネ部材の長手方向両端部に前記取付金具をそれぞれ固着せしめると共に、該バネ部材の長手方向両側を屈曲させて一対の立上部と天板部からなる略門形状とし、該天板部に前記マス部を設けたことを、特徴とする。このような本態様においては、一対の立上部が有利に弾性変形せしめられる方向と、天板部が有利に弾性変形せしめられる方向が略直交することとなり、それら両方向で、それぞれ副振動系として機能し得ることから、互いに異なる二つの方向で有効な制振効果を発揮し得るダイナミックダンパが実現可能となる。なお、本態様において、好ましくは、門形構造とされたバネ部材の天板部の内周面から中央空所に突出するようにしてマス部が設けられる。また、天板部だけでなく立上部に対してマス部を設けても良い。
【0016】
また、本発明の第五の態様は、前記第一乃至第四の何れかの態様に係るダイナミックダンパにおいて、前記取付金具にかしめ部を一体形成し、該かしめ部によって前記バネ部材を挟持固定せしめたことを、特徴とする。このような本態様においては、バネ部材への特別な加工を必要とすることなく、バネ部材に取付金具を強固に固定することが出来るのであり、それ故、バネ部材を形成する制振合金に対して熱や塑性変形が及ぼされることに起因する、バネ部材の損失係数等の特性変化が回避されて、ダイナミックダンパにおいて目的とする制振効果を一層安定して得ることが可能となるのである。
【0017】
また、本発明の第六の態様は、前記第一乃至第五の何れかの態様に係るダイナミックダンパにおいて、前記バネ部材を引張強さが20kgf/mm2 以上の制振合金で形成したことを、特徴とする。このような本態様においては、マス部の質量も十分に大きく設定することが出来るのであり、例えば自動車のボデー等に生ぜしめられる振動レベルに対して極めて有利に適用されるダイナミックダンパが実現可能となる。なお、制振合金において20kgf/mm2 以上の引張強さは、例えば前述のMn−20Cu−5Ni−2Feの双晶型制振合金等を採用することによって有利に実現され得る。
【0018】
また、本発明の第七の態様は、前記第一乃至第六の何れかの態様に係るダイナミックダンパであって、前記制振対象部材がパネル状体であり、前記バネ部材と前記マス部によって構成される振動系の固有振動数を、該パネル状体の一次モードの振動周波数にチューニングしたことを、特徴とする。このような本態様においては、従来構造の制振材を用いても有効な振動低減が難しく、ダイナミックダンパの装着スペースも確保し難い、例えば自動車のルーフパネルやフロアパネル、ドアパネル等のパネル状体において、コンパクトな配設スペースをもって有利に適用され得て、一次等の低次の振動モードを含む複数のモードの振動に対して、それぞれ有効な制振効果を発揮し得るダイナミックダンパが提供され得るのである。
【0019】
なお、本態様は、前記第二の態様と組合せた態様が好適に採用されることとなり、そこにおいて、バネ部材の一方の端部に取付金具を設けることによりバネ部材を片端支持の梁構造をもって構成し、該取付金具をバネル状体から立ち上げて、該パネル状体から離隔して該パネル状体の表面に沿って延びるようにバネ部材を配設すると共に、該パネル状体と該バネ部材の対向面間に形成された空間に位置せしめられるように、マス部をバネ部材から突設せしめた態様が、特に好適に採用される。即ち、このような態様においては、パネル状体からの突出高さを抑えてコンパクトな配設空間に配設されるダイナミックダンパが、極めて有利に実現され得るのである。
【0020】
【発明の実施形態】
以下、本発明を更に具体的に明らかにするために、本発明の実施形態について、図面を参照しつつ、詳細に説明する。
【0021】
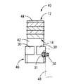
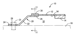
先ず、図1〜2には、本発明の一実施形態としてのダイナミックダンパ10の縦断面図と横断面図が示されている。このダイナミックダンパ10は、バネ部材12とマス部としてのマス金具14を含んで構成されており、バネ部材12によってマス金具14を振動部材(制振対象部材)16に対して連結支持せしめることによって、振動部材16に装着されるようになっている。そして、かかる装着状態下では、バネ部材12とマス金具14によって構成されるマス−バネ振動系が、主振動系たる振動部材16に対する副振動系として機能して、動的吸振器として制振効果を発揮し得るようになっている。
【0022】
より詳細には、バネ部材12は、略一定の肉厚寸法と幅寸法で広がる短冊状の平板形を有している。また、バネ部材12の長手方向一方の端部(図1中の左端部)には、取付金具20が固着されている。この取付金具20は、略一定厚さの長手板形状を有しており、長手方向中央部分がクランク状に屈曲せしめられて段差形状の立上部22が形成されている。そして、この立上部22を挟んで一方の端部側が平板形状の固定部24とされている一方、他方の端部側がかしめ部26とされている。また、固定部24には、ボルト孔28が形成されている一方、かしめ部26には、幅方向両側に延びる一対のかしめ片30,30が一体形成されている。
【0023】
そして、かしめ部26の上面に、バネ部材12の長手方向一方の端部が重ね合わされると共に、かしめ片30,30が屈曲せしめられて、かしめ部26がバネ部材12の端部を四面から抱き込むようにして密着せしめられることにより、バネ部材12の端部に取付金具20がかしめ固定されている。
【0024】
而して、取付金具20の固定部24が振動部材16の取付面に重ね合わされて、ボルト孔28に挿通される固定ボルト31で振動部材16に固着されることにより、ダイナミックダンパ10が振動部材16に装着されるようになっている。なお、立上部22は、ダイナミックダンパ10の装着状態下で、後述するマス金具14が振動部材16に干渉しない程度に、固定部24からの立ち上がり高さを小さく設定することが、ダイナミックダンパ10をコンパクトに構成する上で望ましい。
【0025】
また、バネ部材12は、ダイナミックダンパ10の振動部材16への装着状態下で、立上部22の立ち上がり高さよりも十分に大きな長さで、取付金具20のかしめ部26から振動部材16に沿うようにして略水平に延び出して形成されており、振動部材16とバネ部材12の対向面間に所定間隔の空間32が形成されるようになっている。
【0026】
更にまた、かかるバネ部材12における内側面(振動部材16との対向面)34には、延び出し方向の先端の自由端部分に対して、マス金具14が重ね合わされて溶接等で固着されている。なお、マス金具14は、ダイナミックダンパ10の振動部材16への装着状態下でバネ部材12が弾性変形せしめられた際に、振動部材16への干渉が回避され得るように、バネ部材12からの突出高さが、立上部22の突出高さよりも小さく設定されている。
【0027】
すなわち、上述の如く構成されたダイナミックダンパ10においては、バネ部材12が、長手方向一端側に固着された取付金具20において振動部材16に固定された片端支持の梁構造をもって構成されており、その自由端に対してマス金具14が取り付けられている。それにより、かかるダイナミックダンパ10は、全体として、主振動系たる振動部材16における板厚方向(図1,2中の略上下方向)の振動に関して、バネ部材12をバネとすると共に、該バネ部材12の先端に固着されたマス金具14をマスとして、1自由度の副振動系を構成するようになっている。
【0028】
ここにおいて、上述のバネ部材12は、振動部材16への装着状態下での加振に際して十分な強度を備えた制振合金であって、損失係数が0.05以上(対数減衰率としては0.15以上)からなる材料で形成されており、特に本実施形態では、株式会社セイシンによって製造されて制振合金の一種として市販されている「M2052」と称されるMn−20Cu−5Ni−2Feの双晶型制振合金によって形成されたバネ部材12が好適に採用される。なお、バネ部材12の強度は、20kgf/mm2 以上の引張強度を有するものが望ましく、それによって、自動車用のダイナミックダンパとしても、十分な強度と耐久性が実現可能となる。
【0029】
また、取付金具20は、バネ部材12よりも高強度の材料、例えば鉄鋼系材料で形成されており、全体としてバネ部材12よりも大きな剛性を発揮し得る形状や寸法を備えている。これにより、振動部材16への装着状態下では、取付金具20を略剛体として、実質的にバネ部材12だけが弾性変形せしめられるようになっている。
【0030】
このような構造とされたダイナミックダンパ10においては、その装着状態下、振動部材16に板厚方向の振動が生ぜしめられると、それが加振力としてバネ部材12に及ぼされて図中の上下方向に首振り状に剪断変形せしめられることにより一つの副振動系として作用する。それ故、かかる副振動系の固有振動数を、バネ部材12を主体として構成されたバネ系の動的ばね定数と、マス金具14を主体として構成されたマス系の質量とを調節して、振動部材16において防振すべき振動の周波数に対応させてチューニングすることにより、かかる防振すべき振動に対して有効な制振効果が発揮されることとなる。
【0031】
そこにおいて、かかる副振動系は、バネ系が、特性の温度依存性の小さい金属系材料で形成されたバネ部材12を主体として構成されていることから、自動車の一般的な使用条件下での温度変化領域(マイナス数十度〜プラス百℃の程度の温度領域)において、バネ系の動的ばね定数、ひいては副振動系の固有振動数の大幅な変化が回避されて、防振を目的とする振動に対して、有効な制振効果を安定して得ることが出来るのである。
【0032】
しかも、副振動系が加振された際には、バネ部材12自体の弾性変形によって大きな損失係数(ロスファクタ)が発揮されることから、副振動系のチューニング周波数域を挟んだ上下の周波数域においても振動状態の悪化が回避されることとなり、全体として広い周波数域に亘って良好な振動低減が実現され得るのである。加えて、バネ部材12が金属系材料で形成されていることから、その損失係数の温度変化に伴う変動が抑えられることとなり、温度変化の大きい環境下でも優れた制振特性が安定して発揮されることとなる。
【0033】
また、本実施形態のダイナミックダンパ10では、高いばね剛性を持つ金属系材料で形成されたバネ部材12によってバネ系が構成されていることに加えて、該バネ部材12自体が十分な損失係数を発揮し得ることから、従来のゴム弾性体でバネ系を構成したりゴム弾性体等からなる高減衰材を別途設ける場合に比して、全体をコンパクトに構成することが可能である。特に、本実施形態のように振動部材16の表面に沿って延びる形態の梁状のバネ部材12を採用することにより、振動部材16に沿った小さなスペースに極めて効率的にダイナミックダンパ10を配設することが可能となるのである。
【0034】
特に、本実施形態のダイナミックダンパ10においては、制振合金で形成されたバネ部材12が、取付金具20を介して、振動部材16に固定されることから、バネ部材12への応力集中が取付金具20で軽減され得ると共に、振動部材16に取り付けるための特別な加工をバネ部材12に施す必要がないことから、比較的に高価で加工が難しく、加工に起因する特性変化のおそれがある制振合金を採用した場合でも、副振動系による目的とする制振効果を有効に且つ安定して確保しつつ、目的とするダイナミックダンパ10が有利に実現され得るのである。
【0035】
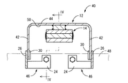
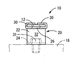
次に、図3〜4には、本発明の第二の実施形態としてのダイナミックダンパ40が、示されている。なお、本実施形態において、第一の実施形態と同様な構造とされた部材および部位については、それぞれ、第一の実施形態と同一の符号を付することにより、それらの詳細な説明を省略する。
【0036】
すなわち、本実施形態のダイナミックダンパ40において、副振動系を構成するバネ部材12は、略一定の肉厚寸法で延びる長手板形状を有しており、長手方向(図3中の左右方向)の両端部分がそれぞれ一方の面側(図3中の下方)に向かって屈曲した一対の立上部42,42とされていると共に、それら立上部42,42間の中央部分が、両立上部42,42の上端部を相互に繋ぐ平坦な天板部44とされている。要するに、本実施形態のバネ部材12は、一対の立上部42,42が互いに対向位置して略平行に立ち上がって形成されていると共に、それら両立上部42,42の突出先端部を相互に繋ぐようにして天板部44が一体形成されており、全体として、門形状とされている。
【0037】
また、バネ部材12における各立上部42,42の下端部には、取付金具46,46が固着されている。かかる取付金具46は、第一の実施形態の取付金具(20)と同様に、固定部24とかしめ部26を有しており、かしめ部26に一体形成されたかしめ片30,30で、バネ部材12の立上部42の下端部にかしめ固定される一方、固定部24のボルト孔28に挿通される固定ボルト31により、振動部材48に固着されるようになっている。
【0038】
そして、一対の取付金具46,46において振動部材48に固着されることにより、一対の立上部42,42および天板部44が、振動部材48との間に空間を形成するようにして、弾性変形可能に位置せしめられるようになっており、弾性変形可能とされた一対の立上部42,42と天板部44が、全体として、両端部で固定的に支持された両端固定の梁構造を構成している。
【0039】
また、バネ部材12の内側面50には、天板部44の長手方向略中央部分に位置して、第一の実施形態と同様なマス金具14が溶接等で固着されている。なお、本実施形態のマス金具14は、複数枚のマス板を重ね合わせて溶着等で一体化することにより、質量を調節した構造とされている。
【0040】
このような構造とされた本実施形態のダイナミックダンパ40においても、第一の実施形態と同様に、副振動系のバネが、特定の制振合金からなるバネ部材12で構成されていることから、かかる副振動系のばね定数とマス質量を適当に調節して、振動部材48において防振すべき振動に応じてチューニングすることにより、目的とする制振効果を、温度変化の悪影響を軽減乃至は回避しつつ安定して得ることが出来るのである。
【0041】
しかも、本実施形態のダイナミックダンパ40においても、バネ部材12の振動部材48への取付部が、バネ部材12と別体形成された取付金具46,46で形成されていることから、ダイナミックダンパ40を振動部材48に取り付けるための加工等による、制振合金からなるバネ部材12の特性への悪影響が軽減乃至は回避され得て、目的とする制振効果をより安定して得ることが出来るのである。
【0042】
また特に、本実施形態のダイナミックダンパ40は、バネ部材12における天板部44の厚さ方向(図3,4中の上下方向)の振動に対しては、天板部44の弾性変形が略剪断変形として有利に生ぜしめられると共に、それに直交する方向(図3中の左右方向)の振動に対しては、一対の立上部42,42の弾性変形が略剪断変形として有効に生ぜしめられることから、互いに直交するそれら二つの方向で、振動部材48に対する副振動系として有効に作用し得ることとなる。従って、それら各方向の固有振動数を適当にチューニングすることにより、振動部材48におけるそれぞれの方向の振動に対して、何れも有効な制振効果を得ることが可能となるのである。
【0043】
そして、このように複数の方向の振動に対して、それぞれ有効な制振効果を発揮し得る、本実施形態のダイナミックダンパ40にあっては、例えば、中心軸回りに回動せしめられる自動車用のステアリングホイール用のダイナミックダンパとしても有利に適用されることとなり、それによって、ステアリングホイールの振動を、その回動方向に拘わらず効果的に抑えることが可能となるのである。
【0044】
因みに、図5には、本実施形態のダイナミックダンパ40が装着された振動部材48を加振して、かかる振動部材48の振動加速度を測定することにより、ダイナミックダンパ40の制振特性の周波数依存性を測定した結果が、実施例として、示されている。なお、比較の為に、ダイナミックダンパ40が装着されていない振動部材を加振して、かかる振動部材の振動加速度を同一条件で測定し、その結果を、比較例として図5に併せ示す。
【0045】
図5に示された測定結果から明らかなように、本実施形態のダイナミックダンパ40は、振動部材の共振現象で問題となっていた周波数域(29〜30Hz程度)の振動レベルを大幅に抑え得ると共に、その前後の広い周波数域(20〜40Hz程度)で、良好な振動状態を発現せしめ得ることが認められる。
【0046】
以上、本発明の実施形態について詳述してきたが、これらはあくまでも例示であって、本発明は、かかる実施形態における具体的な記載によって何等限定的に解釈されるものでなく、当業者の知識に基づいて種々なる変更,修正,改良等を施した態様において実施され得るものであり、また、そのような実施態様が、本発明の趣旨を逸脱しない限り、何れも、本発明の範囲内に含まれるものであることは、言うまでもない。
【0047】
例えば、バネ部材12に対する取付金具20,46の固着構造は、例示の如きかしめ固定に限定されず、例えば、ロウ付け等の溶着の他、接着、或いはボルトやリベットによる固着構造等も採用可能である。
【0048】
さらに、第一の実施形態におけるバネ部材12や、第二の実施形態におけるバネ部材12(立上部42,42および天板部44)の長さ等の具体的寸法、更にマス金具14の大きさ(質量)等は、防振すべき振動周波数や振動レベル等に応じて適宜に変更されるものであって、限定されるものでない。そこにおいて、バネ部材12等の形状も、例えば振動部材16の取付面が湾曲形状等の異形状であれば、それに対応して湾曲形状等を採用し得る。
【0049】
また、ダイナミックダンパ10,40によって構成される副振動系の固有振動数は、振動部材16,48において制振すべき振動周波数に応じて決定されるものであり、必ずしも振動部材16,48の1次振動モード等の低次の振動モードにチューニングする必要はない。
【0050】
加えて、本発明に従う構造とされたダイナミックダンパは、自動車用のパネル部材やサブフレーム,ステアリングホイール等の他、振動が問題となる各種の装置等における各種の部材に対して装着され得る。
【0051】
【発明の効果】
上述の説明から明らかなように、本発明に従う構造とされたダイナミックダンパにおいては、副振動系のバネ系を構成するバネ部材が、特性の温度依存性が小さい合金材料で形成されていることから、大きな温度変化に晒された場合でも、目的とする振動に対して有効な制振効果を安定して得ることが出来ると共に、かかるバネ部材が、それ自体の弾性変形に際して大きな損失係数(ロスファクタ)を発揮し得ることから、全体として広い周波数域に亘って良好な振動低減が実現され得るのである。
【0052】
しかも、かかるダイナミックダンパは、高いばね剛性を持つ合金系のバネ部材が採用されていることに加えて、該バネ部材自体が大きな損失係数を発揮し得ることから、従来のゴム弾性体でバネ系を構成したりゴム弾性体等からなる減衰手段を別途設けていたダイナミックダンパに比して、全体をコンパクトに構成することが可能となる。
【0053】
加えて、本発明のダイナミックダンパにおいては、バネ部材の制振対象部材への取付部が、バネ部材と別体形成された取付金具で形成されていることから、ダイナミックダンパを制振対象部材に取り付けるための加工に際しての、制振合金からなるバネ部材の特性への悪影響が軽減乃至は回避され得るのであり、それ故、目的とする制振効果をより一層安定して得ることが出来るのである。
【図面の簡単な説明】
【図1】本発明の第一の実施形態としてのダイナミックダンパを示す縦断面図である。
【図2】図1におけるII−II断面図である。
【図3】本発明の第二の実施形態としてのダイナミックダンパを示す縦断面図である。
【図4】図3におけるIV−IV断面図である。
【図5】第二の実施形態のダイナミックダンパにおける制振特性の周波数依存性を測定した結果を、比較例と共に示すグラフである。
【符号の説明】
10 ダイナミックダンパ
12 バネ部材
14 マス金具
16 振動部材
20 取付金具
26 かしめ部
40 ダイナミックダンパ
42 立上部
44 天板部
46 取付金具
48 振動部材
【技術分野】
本発明は、制振対象部材に対してマス部材をバネ部材を介して弾性的に支持せしめることにより、主振動系たる制振対象部材に対する副振動系を構成して、制振対象部材の振動を抑えるダイナミックダンパに関するものである。
【0002】
【背景技術】
従来から、自動車におけるボデー等の如き振動部材(制振対象部材)において問題となる振動を低減する方法としては、▲1▼振動部材の表面にアスファルトシートやゴムシートを貼着して制振材を構成する方法や、▲2▼振動部材に対してバネ部材を介してマス部材を連結支持せしめてダイナミックダンパを構成する方法等が、知られている。
【0003】
ところが、上記▲1▼の制振材においては、アスファルトシートやゴムシートにおける制振効果の温度依存性が大きく、例えば自動車のボデー等のように内燃機関や日射等の影響で振動部材の温度が60℃以上に達すると制振効果が大幅に低下してしまうという問題があった。しかも、振動部材における1次等の低次の振動モードでは、アスファルトシートに生ぜしめられる剪断歪が小さくなることに起因して、十分な振動低減効果を得ることが難しいという問題があった。
【0004】
また、前記▲2▼のダイナミックダンパにおいては、バネ部材として一般に採用されているゴム弾性体の剛性が小さいことから、剛性を確保するためにゴム弾性体の容積を大きくしなければならず、結果的にダイナミックダンパの大型化を避け難いという問題があった。しかも、ダイナミックダンパは、それ自身のマス−バネ系からなる副振動系の固有振動数を、振動部材において制振すべき特定の振動周波数域に設定することにより特性のチューニングが施されるが、有効な制振効果が比較的に狭い一つのチューニング周波数域だけでしか発揮され難く、それに加えて、ゴム弾性体のばね定数の温度依存性が大きいことから、例えば自動車のボデー等のように季節や環境等の変化で60℃以上の温度差に晒される場合には、チューニング周波数が防振すべき振動周波数から外れてしまって、有効な制振効果を安定して得難いという問題があったのである。
【0005】
【解決課題】
ここにおいて、本発明は、上述の如き事情を背景として為されたものであって、その解決課題とするところは、コンパクトで且つ制振効果の温度依存性が小さく、大きな温度変化領域に亘って有効な制振効果を安定して発揮し得る、新規な構造のダイナミックダンパを提供することにある。
【0006】
【解決手段】
以下、このような課題を解決するために為された本発明の態様を記載する。なお、以下に記載の各態様において採用される構成要素は、可能な限り任意の組み合わせで採用可能である。また、本発明の態様乃至は技術的特徴は、以下に記載のものに限定されることなく、明細書全体および図面に記載され、或いはそれらの記載から当業者が把握することが出来る発明思想に基づいて認識されるものであることが理解されるべきである。
【0007】
本発明の第一の態様は、制振対象部材に対して所定質量のマス部をバネ部材で弾性的に連結支持せしめたダイナミックダンパにおいて、前記バネ部材を損失係数が0.05以上の制振合金で形成すると共に、該バネ部材の少なくとも一方の端部に該バネ部材よりも高剛性の取付金具を固着せしめて、該取付金具を前記制振対象部材に固定的に取り付け、該バネ部材を梁状に配設することにより前記マス部を該バネ部材で弾性変位可能に支持せしめるようにしたことを、特徴とする。
【0008】
このような本態様のダイナミックダンパにおいては、制振合金で形成されたバネ部材自体で有効な損失係数が実現されることとなり、ばね定数の温度依存性の大きいゴム弾性体等を別途設ける必要もないことから、副振動系のばね定数の温度変化に伴う変動が抑えられて、ダイナミックダンパのチューニング周波数の安定化が図られ得るのであり、それ故、例えば自動車のボデーパネルなどの環境温度の変化幅が大きい振動部材に装着される場合でも、予めチューニングされた特定周波数域の振動に対して、有効な制振効果を安定して得ることが可能となる。
【0009】
しかも、制振合金で形成されたバネ部材によって発揮される損失係数は、ゴム弾性体やアスファルト等のように温度変化に伴う大幅な変動もなく、特に損失係数を0.05以上としたことによって、チューニング周波数の上下の周波数域における振動状態の悪化が抑えられるのであり、それ故、本態様のダイナミックダンパにおいては、環境温度の変化に拘わらず、広い周波数域で有効な制振効果を得ることが出来るのである。
【0010】
加えて、本態様のダイナミックダンパにおいては、ゴム弾性体に比して高剛性な制振合金によってバネ部材が形成されることから、小さな容積のバネ部材で十分なばね剛性を確保することが出来ると共に、減衰手段を別途設ける必要もないことから、全体として極めてコンパクトなダイナミックダンパが実現され得る。
【0011】
また、本態様のダイナミックダンパにおいては、バネ部材に制振合金を採用するに際して、以下の(a),(b),(c)の特定構造を採用したことにより、継続的に弾性変形が繰り返されるバネ部材の強度や耐久性,信頼性を高度に確保することを可能と為し得たのである。
(a)制振対象部材に対する取り付けのための溶接やボルト孔形成等の加工が必要とされる部分を、バネ部材と別体の取付金具で構成することにより、バネ部材自体への直接的な加工を不要とし、そのような加工に伴う制振合金の特性変化が回避されるようにした。
(b)加振に伴って特に大きな応力が作用せしめられるバネ部材の支持端部を、バネ部材と別体の取付金具で構成することにより、取付金具の材質や形状,構造等をバネ部材や制振効果に影響を与えないで設計可能として、ダイナミックダンパの耐久性が十分に確保されるようにした。
(c)振動入力に際して弾性変形せしめられるバネ部材を梁状として、その長手方向に曲げ及び剪断変形を分散させることにより、バネ部材自体の耐久性が有利に確保されるようにした。
【0012】
なお、本態様において採用される制振合金は、従来から制振合金乃至は防振合金として公知の各種のものから、構造材として要求される強度や耐久性を考慮して適宜に選定することが可能であり、複合型や強磁性型,転移型,双晶型等の各種の結晶構造を備えたものが何れも選択対象となり得るが、なかでも、マンガンをベースに20%の銅,5%のニッケル,2%の鉄を含むM2052合金が、損失係数と強度を高度に両立し得ることから、本態様の制振合金として好適に採用される。
【0013】
また、本発明の第二の態様は、前記第一の態様に係るダイナミックダンパにおいて、前記バネ部材の一方の端部に前記取付金具を固着せしめて、該バネ部材により片端支持の梁構造を構成して、該バネ部材の自由端に前記マス部を設けたことを、特徴とする。このような本態様においては、片持ち梁タイプのバネ部材が構成されて、その一次振動モードで特に大きな振幅で効率的に作用せしめられるダイナミックダンパが、コンパクトに実現され得ることとなる。
【0014】
また、本発明の第三の態様は、前記第二の態様に係るダイナミックダンパにおいて、前記バネ部材を長手平板形状として、該バネ部材の長手方向一方の端部に前記取付金具を固着すると共に、他方の端部に別体のマス金具を固着せしめて前記マス部を形成したことを、特徴とする。このような本態様においては、バネ部材の形状を一層簡略化することが出来ると共に、別体のマス金具を採用することで、チューニングの変更に際しても共通したバネ部材を採用することも可能となることから、バネ部材の製造の容易化や低コスト化が図られ得ると共に、バネ部材の加工に伴う特性変化も一層有利に回避することが可能となる。
【0015】
また、本発明の第四の態様は、前記第一の態様に係るダイナミックダンパにおいて、前記バネ部材の長手方向両端部に前記取付金具をそれぞれ固着せしめると共に、該バネ部材の長手方向両側を屈曲させて一対の立上部と天板部からなる略門形状とし、該天板部に前記マス部を設けたことを、特徴とする。このような本態様においては、一対の立上部が有利に弾性変形せしめられる方向と、天板部が有利に弾性変形せしめられる方向が略直交することとなり、それら両方向で、それぞれ副振動系として機能し得ることから、互いに異なる二つの方向で有効な制振効果を発揮し得るダイナミックダンパが実現可能となる。なお、本態様において、好ましくは、門形構造とされたバネ部材の天板部の内周面から中央空所に突出するようにしてマス部が設けられる。また、天板部だけでなく立上部に対してマス部を設けても良い。
【0016】
また、本発明の第五の態様は、前記第一乃至第四の何れかの態様に係るダイナミックダンパにおいて、前記取付金具にかしめ部を一体形成し、該かしめ部によって前記バネ部材を挟持固定せしめたことを、特徴とする。このような本態様においては、バネ部材への特別な加工を必要とすることなく、バネ部材に取付金具を強固に固定することが出来るのであり、それ故、バネ部材を形成する制振合金に対して熱や塑性変形が及ぼされることに起因する、バネ部材の損失係数等の特性変化が回避されて、ダイナミックダンパにおいて目的とする制振効果を一層安定して得ることが可能となるのである。
【0017】
また、本発明の第六の態様は、前記第一乃至第五の何れかの態様に係るダイナミックダンパにおいて、前記バネ部材を引張強さが20kgf/mm2 以上の制振合金で形成したことを、特徴とする。このような本態様においては、マス部の質量も十分に大きく設定することが出来るのであり、例えば自動車のボデー等に生ぜしめられる振動レベルに対して極めて有利に適用されるダイナミックダンパが実現可能となる。なお、制振合金において20kgf/mm2 以上の引張強さは、例えば前述のMn−20Cu−5Ni−2Feの双晶型制振合金等を採用することによって有利に実現され得る。
【0018】
また、本発明の第七の態様は、前記第一乃至第六の何れかの態様に係るダイナミックダンパであって、前記制振対象部材がパネル状体であり、前記バネ部材と前記マス部によって構成される振動系の固有振動数を、該パネル状体の一次モードの振動周波数にチューニングしたことを、特徴とする。このような本態様においては、従来構造の制振材を用いても有効な振動低減が難しく、ダイナミックダンパの装着スペースも確保し難い、例えば自動車のルーフパネルやフロアパネル、ドアパネル等のパネル状体において、コンパクトな配設スペースをもって有利に適用され得て、一次等の低次の振動モードを含む複数のモードの振動に対して、それぞれ有効な制振効果を発揮し得るダイナミックダンパが提供され得るのである。
【0019】
なお、本態様は、前記第二の態様と組合せた態様が好適に採用されることとなり、そこにおいて、バネ部材の一方の端部に取付金具を設けることによりバネ部材を片端支持の梁構造をもって構成し、該取付金具をバネル状体から立ち上げて、該パネル状体から離隔して該パネル状体の表面に沿って延びるようにバネ部材を配設すると共に、該パネル状体と該バネ部材の対向面間に形成された空間に位置せしめられるように、マス部をバネ部材から突設せしめた態様が、特に好適に採用される。即ち、このような態様においては、パネル状体からの突出高さを抑えてコンパクトな配設空間に配設されるダイナミックダンパが、極めて有利に実現され得るのである。
【0020】
【発明の実施形態】
以下、本発明を更に具体的に明らかにするために、本発明の実施形態について、図面を参照しつつ、詳細に説明する。
【0021】
先ず、図1〜2には、本発明の一実施形態としてのダイナミックダンパ10の縦断面図と横断面図が示されている。このダイナミックダンパ10は、バネ部材12とマス部としてのマス金具14を含んで構成されており、バネ部材12によってマス金具14を振動部材(制振対象部材)16に対して連結支持せしめることによって、振動部材16に装着されるようになっている。そして、かかる装着状態下では、バネ部材12とマス金具14によって構成されるマス−バネ振動系が、主振動系たる振動部材16に対する副振動系として機能して、動的吸振器として制振効果を発揮し得るようになっている。
【0022】
より詳細には、バネ部材12は、略一定の肉厚寸法と幅寸法で広がる短冊状の平板形を有している。また、バネ部材12の長手方向一方の端部(図1中の左端部)には、取付金具20が固着されている。この取付金具20は、略一定厚さの長手板形状を有しており、長手方向中央部分がクランク状に屈曲せしめられて段差形状の立上部22が形成されている。そして、この立上部22を挟んで一方の端部側が平板形状の固定部24とされている一方、他方の端部側がかしめ部26とされている。また、固定部24には、ボルト孔28が形成されている一方、かしめ部26には、幅方向両側に延びる一対のかしめ片30,30が一体形成されている。
【0023】
そして、かしめ部26の上面に、バネ部材12の長手方向一方の端部が重ね合わされると共に、かしめ片30,30が屈曲せしめられて、かしめ部26がバネ部材12の端部を四面から抱き込むようにして密着せしめられることにより、バネ部材12の端部に取付金具20がかしめ固定されている。
【0024】
而して、取付金具20の固定部24が振動部材16の取付面に重ね合わされて、ボルト孔28に挿通される固定ボルト31で振動部材16に固着されることにより、ダイナミックダンパ10が振動部材16に装着されるようになっている。なお、立上部22は、ダイナミックダンパ10の装着状態下で、後述するマス金具14が振動部材16に干渉しない程度に、固定部24からの立ち上がり高さを小さく設定することが、ダイナミックダンパ10をコンパクトに構成する上で望ましい。
【0025】
また、バネ部材12は、ダイナミックダンパ10の振動部材16への装着状態下で、立上部22の立ち上がり高さよりも十分に大きな長さで、取付金具20のかしめ部26から振動部材16に沿うようにして略水平に延び出して形成されており、振動部材16とバネ部材12の対向面間に所定間隔の空間32が形成されるようになっている。
【0026】
更にまた、かかるバネ部材12における内側面(振動部材16との対向面)34には、延び出し方向の先端の自由端部分に対して、マス金具14が重ね合わされて溶接等で固着されている。なお、マス金具14は、ダイナミックダンパ10の振動部材16への装着状態下でバネ部材12が弾性変形せしめられた際に、振動部材16への干渉が回避され得るように、バネ部材12からの突出高さが、立上部22の突出高さよりも小さく設定されている。
【0027】
すなわち、上述の如く構成されたダイナミックダンパ10においては、バネ部材12が、長手方向一端側に固着された取付金具20において振動部材16に固定された片端支持の梁構造をもって構成されており、その自由端に対してマス金具14が取り付けられている。それにより、かかるダイナミックダンパ10は、全体として、主振動系たる振動部材16における板厚方向(図1,2中の略上下方向)の振動に関して、バネ部材12をバネとすると共に、該バネ部材12の先端に固着されたマス金具14をマスとして、1自由度の副振動系を構成するようになっている。
【0028】
ここにおいて、上述のバネ部材12は、振動部材16への装着状態下での加振に際して十分な強度を備えた制振合金であって、損失係数が0.05以上(対数減衰率としては0.15以上)からなる材料で形成されており、特に本実施形態では、株式会社セイシンによって製造されて制振合金の一種として市販されている「M2052」と称されるMn−20Cu−5Ni−2Feの双晶型制振合金によって形成されたバネ部材12が好適に採用される。なお、バネ部材12の強度は、20kgf/mm2 以上の引張強度を有するものが望ましく、それによって、自動車用のダイナミックダンパとしても、十分な強度と耐久性が実現可能となる。
【0029】
また、取付金具20は、バネ部材12よりも高強度の材料、例えば鉄鋼系材料で形成されており、全体としてバネ部材12よりも大きな剛性を発揮し得る形状や寸法を備えている。これにより、振動部材16への装着状態下では、取付金具20を略剛体として、実質的にバネ部材12だけが弾性変形せしめられるようになっている。
【0030】
このような構造とされたダイナミックダンパ10においては、その装着状態下、振動部材16に板厚方向の振動が生ぜしめられると、それが加振力としてバネ部材12に及ぼされて図中の上下方向に首振り状に剪断変形せしめられることにより一つの副振動系として作用する。それ故、かかる副振動系の固有振動数を、バネ部材12を主体として構成されたバネ系の動的ばね定数と、マス金具14を主体として構成されたマス系の質量とを調節して、振動部材16において防振すべき振動の周波数に対応させてチューニングすることにより、かかる防振すべき振動に対して有効な制振効果が発揮されることとなる。
【0031】
そこにおいて、かかる副振動系は、バネ系が、特性の温度依存性の小さい金属系材料で形成されたバネ部材12を主体として構成されていることから、自動車の一般的な使用条件下での温度変化領域(マイナス数十度〜プラス百℃の程度の温度領域)において、バネ系の動的ばね定数、ひいては副振動系の固有振動数の大幅な変化が回避されて、防振を目的とする振動に対して、有効な制振効果を安定して得ることが出来るのである。
【0032】
しかも、副振動系が加振された際には、バネ部材12自体の弾性変形によって大きな損失係数(ロスファクタ)が発揮されることから、副振動系のチューニング周波数域を挟んだ上下の周波数域においても振動状態の悪化が回避されることとなり、全体として広い周波数域に亘って良好な振動低減が実現され得るのである。加えて、バネ部材12が金属系材料で形成されていることから、その損失係数の温度変化に伴う変動が抑えられることとなり、温度変化の大きい環境下でも優れた制振特性が安定して発揮されることとなる。
【0033】
また、本実施形態のダイナミックダンパ10では、高いばね剛性を持つ金属系材料で形成されたバネ部材12によってバネ系が構成されていることに加えて、該バネ部材12自体が十分な損失係数を発揮し得ることから、従来のゴム弾性体でバネ系を構成したりゴム弾性体等からなる高減衰材を別途設ける場合に比して、全体をコンパクトに構成することが可能である。特に、本実施形態のように振動部材16の表面に沿って延びる形態の梁状のバネ部材12を採用することにより、振動部材16に沿った小さなスペースに極めて効率的にダイナミックダンパ10を配設することが可能となるのである。
【0034】
特に、本実施形態のダイナミックダンパ10においては、制振合金で形成されたバネ部材12が、取付金具20を介して、振動部材16に固定されることから、バネ部材12への応力集中が取付金具20で軽減され得ると共に、振動部材16に取り付けるための特別な加工をバネ部材12に施す必要がないことから、比較的に高価で加工が難しく、加工に起因する特性変化のおそれがある制振合金を採用した場合でも、副振動系による目的とする制振効果を有効に且つ安定して確保しつつ、目的とするダイナミックダンパ10が有利に実現され得るのである。
【0035】
次に、図3〜4には、本発明の第二の実施形態としてのダイナミックダンパ40が、示されている。なお、本実施形態において、第一の実施形態と同様な構造とされた部材および部位については、それぞれ、第一の実施形態と同一の符号を付することにより、それらの詳細な説明を省略する。
【0036】
すなわち、本実施形態のダイナミックダンパ40において、副振動系を構成するバネ部材12は、略一定の肉厚寸法で延びる長手板形状を有しており、長手方向(図3中の左右方向)の両端部分がそれぞれ一方の面側(図3中の下方)に向かって屈曲した一対の立上部42,42とされていると共に、それら立上部42,42間の中央部分が、両立上部42,42の上端部を相互に繋ぐ平坦な天板部44とされている。要するに、本実施形態のバネ部材12は、一対の立上部42,42が互いに対向位置して略平行に立ち上がって形成されていると共に、それら両立上部42,42の突出先端部を相互に繋ぐようにして天板部44が一体形成されており、全体として、門形状とされている。
【0037】
また、バネ部材12における各立上部42,42の下端部には、取付金具46,46が固着されている。かかる取付金具46は、第一の実施形態の取付金具(20)と同様に、固定部24とかしめ部26を有しており、かしめ部26に一体形成されたかしめ片30,30で、バネ部材12の立上部42の下端部にかしめ固定される一方、固定部24のボルト孔28に挿通される固定ボルト31により、振動部材48に固着されるようになっている。
【0038】
そして、一対の取付金具46,46において振動部材48に固着されることにより、一対の立上部42,42および天板部44が、振動部材48との間に空間を形成するようにして、弾性変形可能に位置せしめられるようになっており、弾性変形可能とされた一対の立上部42,42と天板部44が、全体として、両端部で固定的に支持された両端固定の梁構造を構成している。
【0039】
また、バネ部材12の内側面50には、天板部44の長手方向略中央部分に位置して、第一の実施形態と同様なマス金具14が溶接等で固着されている。なお、本実施形態のマス金具14は、複数枚のマス板を重ね合わせて溶着等で一体化することにより、質量を調節した構造とされている。
【0040】
このような構造とされた本実施形態のダイナミックダンパ40においても、第一の実施形態と同様に、副振動系のバネが、特定の制振合金からなるバネ部材12で構成されていることから、かかる副振動系のばね定数とマス質量を適当に調節して、振動部材48において防振すべき振動に応じてチューニングすることにより、目的とする制振効果を、温度変化の悪影響を軽減乃至は回避しつつ安定して得ることが出来るのである。
【0041】
しかも、本実施形態のダイナミックダンパ40においても、バネ部材12の振動部材48への取付部が、バネ部材12と別体形成された取付金具46,46で形成されていることから、ダイナミックダンパ40を振動部材48に取り付けるための加工等による、制振合金からなるバネ部材12の特性への悪影響が軽減乃至は回避され得て、目的とする制振効果をより安定して得ることが出来るのである。
【0042】
また特に、本実施形態のダイナミックダンパ40は、バネ部材12における天板部44の厚さ方向(図3,4中の上下方向)の振動に対しては、天板部44の弾性変形が略剪断変形として有利に生ぜしめられると共に、それに直交する方向(図3中の左右方向)の振動に対しては、一対の立上部42,42の弾性変形が略剪断変形として有効に生ぜしめられることから、互いに直交するそれら二つの方向で、振動部材48に対する副振動系として有効に作用し得ることとなる。従って、それら各方向の固有振動数を適当にチューニングすることにより、振動部材48におけるそれぞれの方向の振動に対して、何れも有効な制振効果を得ることが可能となるのである。
【0043】
そして、このように複数の方向の振動に対して、それぞれ有効な制振効果を発揮し得る、本実施形態のダイナミックダンパ40にあっては、例えば、中心軸回りに回動せしめられる自動車用のステアリングホイール用のダイナミックダンパとしても有利に適用されることとなり、それによって、ステアリングホイールの振動を、その回動方向に拘わらず効果的に抑えることが可能となるのである。
【0044】
因みに、図5には、本実施形態のダイナミックダンパ40が装着された振動部材48を加振して、かかる振動部材48の振動加速度を測定することにより、ダイナミックダンパ40の制振特性の周波数依存性を測定した結果が、実施例として、示されている。なお、比較の為に、ダイナミックダンパ40が装着されていない振動部材を加振して、かかる振動部材の振動加速度を同一条件で測定し、その結果を、比較例として図5に併せ示す。
【0045】
図5に示された測定結果から明らかなように、本実施形態のダイナミックダンパ40は、振動部材の共振現象で問題となっていた周波数域(29〜30Hz程度)の振動レベルを大幅に抑え得ると共に、その前後の広い周波数域(20〜40Hz程度)で、良好な振動状態を発現せしめ得ることが認められる。
【0046】
以上、本発明の実施形態について詳述してきたが、これらはあくまでも例示であって、本発明は、かかる実施形態における具体的な記載によって何等限定的に解釈されるものでなく、当業者の知識に基づいて種々なる変更,修正,改良等を施した態様において実施され得るものであり、また、そのような実施態様が、本発明の趣旨を逸脱しない限り、何れも、本発明の範囲内に含まれるものであることは、言うまでもない。
【0047】
例えば、バネ部材12に対する取付金具20,46の固着構造は、例示の如きかしめ固定に限定されず、例えば、ロウ付け等の溶着の他、接着、或いはボルトやリベットによる固着構造等も採用可能である。
【0048】
さらに、第一の実施形態におけるバネ部材12や、第二の実施形態におけるバネ部材12(立上部42,42および天板部44)の長さ等の具体的寸法、更にマス金具14の大きさ(質量)等は、防振すべき振動周波数や振動レベル等に応じて適宜に変更されるものであって、限定されるものでない。そこにおいて、バネ部材12等の形状も、例えば振動部材16の取付面が湾曲形状等の異形状であれば、それに対応して湾曲形状等を採用し得る。
【0049】
また、ダイナミックダンパ10,40によって構成される副振動系の固有振動数は、振動部材16,48において制振すべき振動周波数に応じて決定されるものであり、必ずしも振動部材16,48の1次振動モード等の低次の振動モードにチューニングする必要はない。
【0050】
加えて、本発明に従う構造とされたダイナミックダンパは、自動車用のパネル部材やサブフレーム,ステアリングホイール等の他、振動が問題となる各種の装置等における各種の部材に対して装着され得る。
【0051】
【発明の効果】
上述の説明から明らかなように、本発明に従う構造とされたダイナミックダンパにおいては、副振動系のバネ系を構成するバネ部材が、特性の温度依存性が小さい合金材料で形成されていることから、大きな温度変化に晒された場合でも、目的とする振動に対して有効な制振効果を安定して得ることが出来ると共に、かかるバネ部材が、それ自体の弾性変形に際して大きな損失係数(ロスファクタ)を発揮し得ることから、全体として広い周波数域に亘って良好な振動低減が実現され得るのである。
【0052】
しかも、かかるダイナミックダンパは、高いばね剛性を持つ合金系のバネ部材が採用されていることに加えて、該バネ部材自体が大きな損失係数を発揮し得ることから、従来のゴム弾性体でバネ系を構成したりゴム弾性体等からなる減衰手段を別途設けていたダイナミックダンパに比して、全体をコンパクトに構成することが可能となる。
【0053】
加えて、本発明のダイナミックダンパにおいては、バネ部材の制振対象部材への取付部が、バネ部材と別体形成された取付金具で形成されていることから、ダイナミックダンパを制振対象部材に取り付けるための加工に際しての、制振合金からなるバネ部材の特性への悪影響が軽減乃至は回避され得るのであり、それ故、目的とする制振効果をより一層安定して得ることが出来るのである。
【図面の簡単な説明】
【図1】本発明の第一の実施形態としてのダイナミックダンパを示す縦断面図である。
【図2】図1におけるII−II断面図である。
【図3】本発明の第二の実施形態としてのダイナミックダンパを示す縦断面図である。
【図4】図3におけるIV−IV断面図である。
【図5】第二の実施形態のダイナミックダンパにおける制振特性の周波数依存性を測定した結果を、比較例と共に示すグラフである。
【符号の説明】
10 ダイナミックダンパ
12 バネ部材
14 マス金具
16 振動部材
20 取付金具
26 かしめ部
40 ダイナミックダンパ
42 立上部
44 天板部
46 取付金具
48 振動部材
Claims (7)
- 制振対象部材に対して所定質量のマス部をバネ部材で弾性的に連結支持せしめたダイナミックダンパにおいて、
前記バネ部材を損失係数が0.05以上の制振合金で形成すると共に、該バネ部材の少なくとも一方の端部に該バネ部材よりも高剛性の取付金具を固着せしめて、該取付金具を前記制振対象部材に固定的に取り付け、該バネ部材を梁状に配設することにより前記マス部を該バネ部材で弾性変位可能に支持せしめるようにしたことを特徴とするダイナミックダンパ。 - 前記バネ部材の一方の端部に前記取付金具を固着せしめて、該バネ部材により片端支持の梁構造を構成して、該バネ部材の自由端に前記マス部を設けた請求項1に記載のダイナミックダンパ。
- 前記バネ部材を長手平板形状として、該バネ部材の長手方向一方の端部に前記取付金具を固着すると共に、他方の端部に別体のマス金具を固着せしめて前記マス部を形成した請求項2に記載のダイナミックダンパ。
- 前記バネ部材の長手方向両端部に前記取付金具をそれぞれ固着せしめると共に、該バネ部材の長手方向両側を屈曲させて一対の立上部と天板部からなる略門形状とし、該天板部に前記マス部を設けた請求項1に記載のダイナミックダンパ。
- 前記取付金具にかしめ部を一体形成し、該かしめ部によって前記バネ部材を挟持固定せしめた請求項1乃至4の何れかに記載のダイナミックダンパ。
- 前記バネ部材を引張強さが20kgf/mm2 以上の制振合金で形成した請求項1乃至5の何れかに記載のダイナミックダンパ。
- 前記制振対象部材がパネル状体であり、前記バネ部材と前記マス部によって構成される振動系の固有振動数を、該パネル状体の一次モードの振動周波数にチューニングした請求項1乃至6の何れかに記載のダイナミックダンパ。
Priority Applications (1)
| Application Number | Priority Date | Filing Date | Title |
|---|---|---|---|
| JP2002181232A JP2004028126A (ja) | 2002-06-21 | 2002-06-21 | ダイナミックダンパ |
Applications Claiming Priority (1)
| Application Number | Priority Date | Filing Date | Title |
|---|---|---|---|
| JP2002181232A JP2004028126A (ja) | 2002-06-21 | 2002-06-21 | ダイナミックダンパ |
Publications (1)
| Publication Number | Publication Date |
|---|---|
| JP2004028126A true JP2004028126A (ja) | 2004-01-29 |
Family
ID=31178120
Family Applications (1)
| Application Number | Title | Priority Date | Filing Date |
|---|---|---|---|
| JP2002181232A Pending JP2004028126A (ja) | 2002-06-21 | 2002-06-21 | ダイナミックダンパ |
Country Status (1)
| Country | Link |
|---|---|
| JP (1) | JP2004028126A (ja) |
Cited By (6)
| Publication number | Priority date | Publication date | Assignee | Title |
|---|---|---|---|---|
| JP2006300715A (ja) * | 2005-04-20 | 2006-11-02 | Ono Sokki Co Ltd | トルクセンサ |
| JP2008143209A (ja) * | 2006-12-06 | 2008-06-26 | Kubota Corp | キャビン付き走行車両 |
| JP2009262785A (ja) * | 2008-04-25 | 2009-11-12 | Nippon Plast Co Ltd | 車両用ステアリングホイール |
| JP2012237412A (ja) * | 2011-05-13 | 2012-12-06 | Tokai Rubber Ind Ltd | 振動構造体 |
| KR101266831B1 (ko) | 2011-07-26 | 2013-05-27 | (주)엔에스브이 | 금속판스프링을 이용한 동조질량감쇠기 및 이를 이용한 방진베이스 |
| CN107355905A (zh) * | 2017-08-24 | 2017-11-17 | 广东美的制冷设备有限公司 | 压缩机及具有其的制冷装置 |
-
2002
- 2002-06-21 JP JP2002181232A patent/JP2004028126A/ja active Pending
Cited By (6)
| Publication number | Priority date | Publication date | Assignee | Title |
|---|---|---|---|---|
| JP2006300715A (ja) * | 2005-04-20 | 2006-11-02 | Ono Sokki Co Ltd | トルクセンサ |
| JP2008143209A (ja) * | 2006-12-06 | 2008-06-26 | Kubota Corp | キャビン付き走行車両 |
| JP2009262785A (ja) * | 2008-04-25 | 2009-11-12 | Nippon Plast Co Ltd | 車両用ステアリングホイール |
| JP2012237412A (ja) * | 2011-05-13 | 2012-12-06 | Tokai Rubber Ind Ltd | 振動構造体 |
| KR101266831B1 (ko) | 2011-07-26 | 2013-05-27 | (주)엔에스브이 | 금속판스프링을 이용한 동조질량감쇠기 및 이를 이용한 방진베이스 |
| CN107355905A (zh) * | 2017-08-24 | 2017-11-17 | 广东美的制冷设备有限公司 | 压缩机及具有其的制冷装置 |
Similar Documents
| Publication | Publication Date | Title |
|---|---|---|
| JP4270502B2 (ja) | エンジンマウント | |
| JPH11159551A (ja) | 非線形異形コイルばね | |
| US9382961B2 (en) | Vibration damping device | |
| JP4780991B2 (ja) | エンジンマウントおよびそれを用いたパワーユニットの防振支持構造 | |
| JP4759527B2 (ja) | 制振装置 | |
| JP2009108912A (ja) | ダイナミックダンパ及びダイナミックダンパ構成部材の組合せ構造体 | |
| JP2009222094A (ja) | ダイナミックダンパ | |
| JP3812616B2 (ja) | ラジエータ及びエアコン用のコンデンサの取付構造 | |
| JP2004028126A (ja) | ダイナミックダンパ | |
| JP2005036845A (ja) | ダイナミックダンパ | |
| JP2013002614A (ja) | グロメット | |
| JP2004028124A (ja) | ダイナミックダンパ | |
| JP4785518B2 (ja) | 建物用制振装置 | |
| JP2004028125A (ja) | ダイナミックダンパ | |
| JP2008202608A (ja) | 制振装置 | |
| JPH0882341A (ja) | 防振マウント | |
| JP4086854B2 (ja) | ダイナミックダンパ | |
| CN102991465A (zh) | 刮水器部件—固定装置和刮水器装置 | |
| JPH07208158A (ja) | マフラ支持装置 | |
| JP2920264B2 (ja) | 排気管支持装置 | |
| JP2007064353A (ja) | 揺動型制振装置 | |
| JPH1163106A (ja) | 防振支持体 | |
| JP2003028234A (ja) | ダイナミックダンパ | |
| JPH1163107A (ja) | 防振支持体 | |
| JP2522643Y2 (ja) | 自動車における駆動系の振動減衰装置 |