EP3586974B1 - Sanitärer brausekopf - Google Patents

Sanitärer brausekopf Download PDF

Info

Publication number
EP3586974B1
EP3586974B1 EP19182263.4A EP19182263A EP3586974B1 EP 3586974 B1 EP3586974 B1 EP 3586974B1 EP 19182263 A EP19182263 A EP 19182263A EP 3586974 B1 EP3586974 B1 EP 3586974B1
Authority
EP
European Patent Office
Prior art keywords
jet
shower head
disk
contour
fluid
Prior art date
Legal status (The legal status is an assumption and is not a legal conclusion. Google has not performed a legal analysis and makes no representation as to the accuracy of the status listed.)
Active
Application number
EP19182263.4A
Other languages
English (en)
French (fr)
Other versions
EP3586974A1 (de
Inventor
Ulrich Kinle
Current Assignee (The listed assignees may be inaccurate. Google has not performed a legal analysis and makes no representation or warranty as to the accuracy of the list.)
Hansgrohe SE
Original Assignee
Hansgrohe SE
Priority date (The priority date is an assumption and is not a legal conclusion. Google has not performed a legal analysis and makes no representation as to the accuracy of the date listed.)
Filing date
Publication date
Application filed by Hansgrohe SE filed Critical Hansgrohe SE
Publication of EP3586974A1 publication Critical patent/EP3586974A1/de
Application granted granted Critical
Publication of EP3586974B1 publication Critical patent/EP3586974B1/de
Active legal-status Critical Current
Anticipated expiration legal-status Critical

Links

Images

Classifications

    • BPERFORMING OPERATIONS; TRANSPORTING
    • B05SPRAYING OR ATOMISING IN GENERAL; APPLYING FLUENT MATERIALS TO SURFACES, IN GENERAL
    • B05BSPRAYING APPARATUS; ATOMISING APPARATUS; NOZZLES
    • B05B15/00Details of spraying plant or spraying apparatus not otherwise provided for; Accessories
    • B05B15/50Arrangements for cleaning; Arrangements for preventing deposits, drying-out or blockage; Arrangements for detecting improper discharge caused by the presence of foreign matter
    • B05B15/52Arrangements for cleaning; Arrangements for preventing deposits, drying-out or blockage; Arrangements for detecting improper discharge caused by the presence of foreign matter for removal of clogging particles
    • B05B15/522Arrangements for cleaning; Arrangements for preventing deposits, drying-out or blockage; Arrangements for detecting improper discharge caused by the presence of foreign matter for removal of clogging particles using cleaning elements penetrating the discharge openings
    • B05B15/5223Arrangements for cleaning; Arrangements for preventing deposits, drying-out or blockage; Arrangements for detecting improper discharge caused by the presence of foreign matter for removal of clogging particles using cleaning elements penetrating the discharge openings the cleaning element, e.g. a needle, and the discharge opening being movable relative to each other in a direction substantially parallel to the flow of liquid or other fluent material through said opening
    • B05B15/5225Arrangements for cleaning; Arrangements for preventing deposits, drying-out or blockage; Arrangements for detecting improper discharge caused by the presence of foreign matter for removal of clogging particles using cleaning elements penetrating the discharge openings the cleaning element, e.g. a needle, and the discharge opening being movable relative to each other in a direction substantially parallel to the flow of liquid or other fluent material through said opening the cleaning element being located upstream of the discharge opening or being actuated upstream therefrom
    • BPERFORMING OPERATIONS; TRANSPORTING
    • B05SPRAYING OR ATOMISING IN GENERAL; APPLYING FLUENT MATERIALS TO SURFACES, IN GENERAL
    • B05BSPRAYING APPARATUS; ATOMISING APPARATUS; NOZZLES
    • B05B1/00Nozzles, spray heads or other outlets, with or without auxiliary devices such as valves, heating means
    • B05B1/14Nozzles, spray heads or other outlets, with or without auxiliary devices such as valves, heating means with multiple outlet openings; with strainers in or outside the outlet opening
    • B05B1/18Roses; Shower heads
    • B05B1/185Roses; Shower heads characterised by their outlet element; Mounting arrangements therefor
    • BPERFORMING OPERATIONS; TRANSPORTING
    • B05SPRAYING OR ATOMISING IN GENERAL; APPLYING FLUENT MATERIALS TO SURFACES, IN GENERAL
    • B05BSPRAYING APPARATUS; ATOMISING APPARATUS; NOZZLES
    • B05B1/00Nozzles, spray heads or other outlets, with or without auxiliary devices such as valves, heating means
    • B05B1/28Nozzles, spray heads or other outlets, with or without auxiliary devices such as valves, heating means with integral means for shielding the discharged liquid or other fluent material, e.g. to limit area of spray; with integral means for catching drips or collecting surplus liquid or other fluent material
    • BPERFORMING OPERATIONS; TRANSPORTING
    • B05SPRAYING OR ATOMISING IN GENERAL; APPLYING FLUENT MATERIALS TO SURFACES, IN GENERAL
    • B05BSPRAYING APPARATUS; ATOMISING APPARATUS; NOZZLES
    • B05B1/00Nozzles, spray heads or other outlets, with or without auxiliary devices such as valves, heating means
    • B05B1/30Nozzles, spray heads or other outlets, with or without auxiliary devices such as valves, heating means designed to control volume of flow, e.g. with adjustable passages
    • B05B1/3006Nozzles, spray heads or other outlets, with or without auxiliary devices such as valves, heating means designed to control volume of flow, e.g. with adjustable passages the controlling element being actuated by the pressure of the fluid to be sprayed
    • BPERFORMING OPERATIONS; TRANSPORTING
    • B05SPRAYING OR ATOMISING IN GENERAL; APPLYING FLUENT MATERIALS TO SURFACES, IN GENERAL
    • B05BSPRAYING APPARATUS; ATOMISING APPARATUS; NOZZLES
    • B05B15/00Details of spraying plant or spraying apparatus not otherwise provided for; Accessories
    • B05B15/50Arrangements for cleaning; Arrangements for preventing deposits, drying-out or blockage; Arrangements for detecting improper discharge caused by the presence of foreign matter
    • B05B15/52Arrangements for cleaning; Arrangements for preventing deposits, drying-out or blockage; Arrangements for detecting improper discharge caused by the presence of foreign matter for removal of clogging particles
    • B05B15/528Arrangements for cleaning; Arrangements for preventing deposits, drying-out or blockage; Arrangements for detecting improper discharge caused by the presence of foreign matter for removal of clogging particles by resilient deformation of the nozzle
    • BPERFORMING OPERATIONS; TRANSPORTING
    • B05SPRAYING OR ATOMISING IN GENERAL; APPLYING FLUENT MATERIALS TO SURFACES, IN GENERAL
    • B05BSPRAYING APPARATUS; ATOMISING APPARATUS; NOZZLES
    • B05B15/00Details of spraying plant or spraying apparatus not otherwise provided for; Accessories
    • B05B15/60Arrangements for mounting, supporting or holding spraying apparatus
    • B05B15/65Mounting arrangements for fluid connection of the spraying apparatus or its outlets to flow conduits
    • B05B15/652Mounting arrangements for fluid connection of the spraying apparatus or its outlets to flow conduits whereby the jet can be oriented
    • EFIXED CONSTRUCTIONS
    • E03WATER SUPPLY; SEWERAGE
    • E03CDOMESTIC PLUMBING INSTALLATIONS FOR FRESH WATER OR WASTE WATER; SINKS
    • E03C1/00Domestic plumbing installations for fresh water or waste water; Sinks
    • E03C1/02Plumbing installations for fresh water
    • EFIXED CONSTRUCTIONS
    • E03WATER SUPPLY; SEWERAGE
    • E03CDOMESTIC PLUMBING INSTALLATIONS FOR FRESH WATER OR WASTE WATER; SINKS
    • E03C1/00Domestic plumbing installations for fresh water or waste water; Sinks
    • E03C1/02Plumbing installations for fresh water
    • E03C1/04Water-basin installations specially adapted to wash-basins or baths
    • E03C1/0408Water installations especially for showers
    • E03C1/0409Shower handles
    • EFIXED CONSTRUCTIONS
    • E03WATER SUPPLY; SEWERAGE
    • E03CDOMESTIC PLUMBING INSTALLATIONS FOR FRESH WATER OR WASTE WATER; SINKS
    • E03C1/00Domestic plumbing installations for fresh water or waste water; Sinks
    • E03C1/02Plumbing installations for fresh water
    • E03C1/08Jet regulators or jet guides, e.g. anti-splash devices
    • BPERFORMING OPERATIONS; TRANSPORTING
    • B05SPRAYING OR ATOMISING IN GENERAL; APPLYING FLUENT MATERIALS TO SURFACES, IN GENERAL
    • B05BSPRAYING APPARATUS; ATOMISING APPARATUS; NOZZLES
    • B05B1/00Nozzles, spray heads or other outlets, with or without auxiliary devices such as valves, heating means
    • B05B1/26Nozzles, spray heads or other outlets, with or without auxiliary devices such as valves, heating means with means for mechanically breaking-up or deflecting the jet after discharge, e.g. with fixed deflectors; Breaking-up the discharged liquid or other fluent material by impinging jets
    • BPERFORMING OPERATIONS; TRANSPORTING
    • B05SPRAYING OR ATOMISING IN GENERAL; APPLYING FLUENT MATERIALS TO SURFACES, IN GENERAL
    • B05BSPRAYING APPARATUS; ATOMISING APPARATUS; NOZZLES
    • B05B15/00Details of spraying plant or spraying apparatus not otherwise provided for; Accessories
    • B05B15/70Arrangements for moving spray heads automatically to or from the working position
    • B05B15/72Arrangements for moving spray heads automatically to or from the working position using hydraulic or pneumatic means
    • B05B15/74Arrangements for moving spray heads automatically to or from the working position using hydraulic or pneumatic means driven by the discharged fluid

Definitions

  • the invention relates to a sanitary shower head, which comprises a shower head housing with a fluid inlet, a fluid chamber in the shower head housing that is in fluid communication with the fluid inlet, and a jet disc that has at least one jet outlet opening, which is arranged on a shower jet outlet side of the shower head housing and is held peripherally on the shower head housing and which The fluid chamber is limited on the outlet side, the jet disc being formed as an elastic disc which can be elastically deformed from an initial contour into an end contour by a fluid pressure in the fluid chamber.
  • the disclosure document DE 29 01 013 A1 discloses such a sanitary shower head of the type mentioned at the outset, the shower head there having a jet disc which is flat in the initial state without pressure and which retains its flat shape even at low water pressure and then generates a parallel shower jet.
  • the flat jet disc bulges and creates a diverging shower jet.
  • a spoke-shaped support limits the buckling of the flat jet disc.
  • sanitary shower heads with a deformable jet disk have also been proposed, which are not deformed by the fluid pressure acting on them, but rather by user-actuated adjustment means.
  • a converging shower jet can be generated with the concave deflection and a diverging shower jet can be generated with the convex deflection.
  • U.S. 6,223,998 B1 discloses a sanitary shower head which contains a jet disc which is flat in the initial state without pressure and has a plurality of jet outlet openings, the elastic jet disc being centrally located on a housing-side Support post and is fixed peripherally to a holding plate arranged axially movably on the shower head housing.
  • the patent discloses US Re. 26,889 a sanitary shower head with a deformable spray disc, which can be adjusted by the user via a central screw bolt or via a peripheral screw ring between two different outwardly curved courses or between a flat and an outwardly curved course by turning the jet disc provided with the screw bolt or by turning the peripheral screw ring can be adjusted in shape in order to set different shower jet profiles accordingly.
  • EP 1 613 814 B1 discloses a sanitary shower head with a spray disk that can be deformed like a spring as a function of temperature and that moves from a functional position to a cleaning position when a temperature limit value of a fluid flowing through is exceeded. In the cleaning position, for example, lime can be removed with little effort. If the temperature falls below the limit value, the spring-like spray disc springs back into the functional position.
  • EP 0 894 536 B1 discloses a sanitary shower head with a spring-like, flexible jet disc which is curved outwards in an initial position and can be pressed in by a user exerting a pressing force in the direction of the interior of the shower head housing. When the force is released, the flexible spray disc springs back to its original position by itself. Limescale and other deposits on the jet disc should be blasted off by such jumping processes of the flexible jet disc.
  • the disclosure document DE 43 00 322 A1 discloses a shower head for a shower and massage device, which is equipped with a permanently elastic brush plate that carries hollow bristles and has a central outlet opening, on the inside of which a peg that is provided with an angled inlet connection and is held hollow between the inlet connection opening and the outlet opening is arranged, which is attached to an in the end pointing towards the inside of the shower head has an external thread which is connected to a threaded part of a single-leaf, stop-limited actuator which is countersunk axially thereto on the outside of the shower head.
  • the actuator By rotating the actuator, the user can selectively adjust the brush plate from a flat central position to a curved position with a concave or convex shape.
  • EP 3 305 412 A1 discloses a shower jet generation device for a sanitary shower head, which has a multi-part jet disk, which includes a metal plate on the outlet side with jet disk openings and an elastomer plate lying against the metal plate on the inside. Formed on the elastomer plate are elastomer annular membranes and fluid outlet elements surrounded and movably supported by them, which extend through the jet disk openings and each have a movable valve body with a fluid outlet opening emerging from an upstream fluid chamber.
  • the fluid outlet opening is released or blocked depending on a fluid pressure in the fluid chamber, for which purpose the movable valve body interacts with a stationary valve seat which is formed on a plate body which delimits the fluid chamber on a side opposite the elastomer plate.
  • the invention is based on the technical problem of providing a sanitary shower head of the type mentioned at the outset that is improved over the prior art explained above and in particular reduces unwanted dripping after shutting off a water supply, is relatively easy to manufacture and is functionally reliable.
  • a fluid in particular water
  • the sanitary shower head can be supplied to the sanitary shower head via the fluid inlet, which then enters the fluid chamber and from there to the jet outlet opening(s) and emerges from this or these while forming a corresponding shower jet.
  • the elastically deformable jet disc assumes the initial contour or the final contour.
  • a position of a cylinder axis of the jet outlet opening can change.
  • Such a change in position of this cylinder axis can result in the propagation angle of a shower jet generated by the sanitary shower head also being dependent on the fluid pressure.
  • a diverging, converging or parallel shower jet can therefore be generated with such an arrangement if required.
  • a diverging shower jet its diameter increases as the axial spread of the shower jet progresses
  • the shower jet diameter is practically constant as the spread progresses, and in the case of a converging or focusing shower jet, the shower jet diameter decreases directly after the jet exit opening as the spread progresses.
  • the spray disk can be held on the circumference of the shower head housing, for example, in a positive or non-positive manner.
  • Held on the circumference is to be understood in the present case as meaning that the jet disc is held on its disc edge surface and/or a circumferential, annular holding surface covers or encompasses a front, i.e. outlet-side, end face of the jet disc, in particular a holding surface formed on the shower head housing.
  • the jet disc can consist of an elastic rubber, metal or plastic material or a mix of such materials.
  • the at least one jet outlet opening can be designed, for example, as a nozzle and/or as a circular-cylindrical hole.
  • the at least one jet outlet opening preferably has a geometry that is dimensionally stable independently of the fluid pressure.
  • the jet disk can have any number of jet outlet openings, in particular for example between ten and two hundred jet exit openings.
  • the sanitary shower head can have a single spray disk or, alternatively, a plurality of spray disks.
  • the jet disc is elastically deformed by the fluid pressure from the initial contour in the direction of the final contour as soon as the fluid pressure is greater than a previously defined limit pressure.
  • the previously defined limit pressure can be between 0.2 bar and 0.5 bar, for example.
  • the elastic deformation of the jet disc from the initial contour to the final contour preferably takes place in the direction of a main propagation direction of a shower jet generated by the sanitary shower head. As long as the limit pressure is not reached or exceeded, the jet disc remains in its original contour.
  • the jet disc is preferably designed to automatically return to the initial contour when it is in its final contour and the fluid pressure in the fluid chamber drops, for example below the limit pressure mentioned.
  • the jet disk can assume a plurality of different end contours as soon as the fluid pressure is greater than a predeterminable limit pressure assigned to the respective end contour.
  • the highest predetermined limit pressure can be, for example, a maximum fluid pressure that occurs during normal shower operation of the shower head, which is, for example, between 1 bar and 3 bar.
  • the final contour itself can be dependent on the fluid pressure, i.e. depending on the instantaneous fluid pressure in the fluid chamber, the jet disc then assumes its initial contour, a maximum final contour or an intermediate final contour or intermediate contour between the initial contour and the maximum final contour.
  • the fluid chamber is delimited on a side opposite the jet disk by a boundary surface which, at least in a partial surface area, conforms to the initial contour of the jet disk.
  • the fluid chamber has an initial volume when the jet disk assumes its initial contour and a deformation volume when the jet disk assumes its final contour takes.
  • the initial volume is smaller than the deformation volume, e.g. at least 50% smaller, whereby the initial volume can also be approximately zero in corresponding designs, e.g. by the jet disk with its initial contour against an opposite wall delimiting the fluid chamber axially inwards, i.e. to the rear of the shower head housing. If the jet disk now conforms to the boundary surface in the partial surface area, eg parallel and offset, or rests against it, a distance between the jet disk and the boundary surface can be kept very small in the partial surface area if necessary. As a result, the fluid chamber can have a particularly small initial volume.
  • a further advantage is that the jet disk, when it automatically returns to its initial contour, partially or almost completely presses the fluid in the fluid chamber out of the fluid chamber.
  • the initial contour is curved inwards in the direction of the fluid chamber, i.e. curved concavely.
  • Such a curvature of the initial contour can be particularly advantageous for generating a converging shower jet at low fluid pressure, which does not yet cause any deformation movement of the jet disk out of its initial contour, especially if there are a large number of jet outlet openings whose cylinder axis is a normal to the jet disk, ie is perpendicular to the jet disc surface at this point.
  • the end contour of the jet disk is curved outwards.
  • the end contour of the jet disk is convexly curved. This course makes it possible to generate a diverging shower jet, for example when the cylinder axis of the respective jet outlet opening is a normal to the jet disc.
  • the initial contour and/or the final contour is a metastable contour of the jet disk.
  • small changes of the Fluid pressure such as changes in fluid pressure of, for example, less than 0.2 bar or 0.25 bar, do not lead to a change in the initial or final contour in this case.
  • the spray disc can be designed as a so-called spring or clicker element.
  • the jet disc is made in one piece from a single material or from a combination of several materials or assembled from several components which can be made of the same material or different materials, in particular rubber, plastic and/or metal .
  • the jet disc provides a first shower jet in its initial contour and a second shower jet in its final contour, with the first and second shower jets differing in their propagation angle.
  • the propagation angle of the second shower jet can be larger than the propagation angle of the first shower jet.
  • the first shower jet can preferably be a converging or a parallel shower jet and the second shower jet can be a parallel or diverging shower jet.
  • the jet disk is supported with its initial contour against the boundary surface at least in a supporting surface area.
  • the supporting surface area can be part of the partial surface area, or the partial surface area can form the supporting surface area identically.
  • the at least one jet outlet opening contains a number of first jet outlet openings and a number of second jet outlet openings
  • the jet disk is supported with its initial contour on the boundary surface in such a way that the boundary surface closes the number of second jet outlet openings.
  • the number of first jet exit openings and the number of second jet exit openings can each be any desired number, for example between five and one hundred jet exit openings.
  • the at least one jet outlet opening includes a number of first jet outlet openings and a number of second jet outlet openings, the number of first jet outlet openings corresponding to a first fluid chamber subarea and the number of second jet outlet openings corresponding to a second fluid chamber subarea.
  • the first fluid chamber portion is in fluid communication with the fluid inlet both when the jet disc assumes its initial contour and when the jet disc assumes its final contour.
  • the second fluid chamber portion is in fluid communication with the fluid inlet when the jet disk assumes its final contour and is completely or partially blocked by a seal from the fluid inlet when the jet disk assumes its initial contour.
  • the seal can be arranged on the jet disc and/or on the boundary surface.
  • the seal can be a ring seal, for example, in particular an O-ring.
  • the boundary surface has at least one mandrel that protrudes into the at least one jet outlet opening when the jet disc assumes its initial contour.
  • the mandrel can protrude or protrude forward out of the at least one jet outlet opening when the jet disc assumes its initial contour.
  • the mandrel can still protrude into the at least one jet outlet opening or, alternatively, no longer extend as far as the at least one jet outlet opening, depending on requirements and the application.
  • Such a mandrel can be provided for each or only some of the jet outlet openings, as required. Limescale deposits on the jet outlet opening can be counteracted in an advantageous manner by the mandrel in that the mandrel detaches such deposits from the jet outlet opening when the jet disc assumes its initial or final contour or moves deformingly between these two contours.
  • the 1 and 2 show a sanitary shower head 1 with a shower head housing 2, which has a fluid inlet 3.
  • the fluid inlet 3 optionally has a thread 16 which, for the supply of a fluid, can be screwed to a corresponding thread (not shown) of a water hose, a shower hose, a connecting pipe of a domestic water supply or the like.
  • a fluid chamber 4 located in the shower head housing 2 is in fluid connection with the fluid inlet 3 .
  • the fluid chamber 4 is delimited on the outlet side by a jet disc 6 designed in one piece, alternatively in multiple pieces.
  • the jet disk 6 is arranged on a shower jet exit side 7 of the shower head housing 2 .
  • the spray disc 6 is held on the circumference of the shower head housing 2, e.g. by the shower head housing 2 enclosing the spray disc 6 in an annular end face area RS of the spray disc 6 in a form-fitting manner.
  • the jet disk 6 is formed as an elastic disk, which consists for example of a rubber, metal and/or plastic material, and can be elastically deformed by a fluid pressure in the fluid chamber 4 from an initial contour 8 into an end contour 9 .
  • the initial contour 8 runs as in 1 shown curved in the direction of the fluid chamber 4 inwards.
  • the jet disk 6 As long as there is no fluid pressure in the fluid chamber 4, the jet disk 6 remains in its initial contour 8, as in FIG 1 shown. If the fluid pressure exceeds a certain limit pressure of, for example, 0.25 bar, the jet disc 6 assumes its final contour 9, which is curved outward, for example 2 a. For this purpose, the jet disc 6 is elastically deformed outwards in the direction away from the fluid chamber 4 by the fluid pressure. In corresponding designs, the jet disc 6 deforms in a quasi-binary manner, jumping from the initial contour 8 directly into a single final contour 9, in which it then remains even if the fluid pressure continues to rise. In alternative embodiments, the jet disc 6 deforms with increasing fluid pressure from the initial contour 8 continuously or in stages into a respective fluid-pressure-dependent final contour 9 up to a predefinable maximum final contour.
  • the jet disc 6 automatically returns to the initial contour 8 due to its own elasticity or prestressing. During its return to the initial contour 8, the jet disk 6 can at least partially press fluid still in the fluid chamber 4 out of the fluid chamber 4 by using this return movement to reduce the volume of the fluid chamber 4, which had previously been reduced by the deformation of the jet disk 6 into the final contour has enlarged. Undesirable dripping after shutting off a fluid supply can be reduced as a result.
  • the jet disk 6 has at least one jet outlet opening 5, in the example shown specifically several jet outlet openings 5.
  • Each jet outlet opening 5 can be designed, for example, as a circular-cylindrical hole with a cylinder axis ZA, with the cylinder axis ZA forming a normal of the jet disk 6 at this point on the jet disk surface.
  • the jet outlet openings 5 are in fluid connection with the fluid chamber 4.
  • fluid in particular water, is under pressure in the fluid chamber 4 and from there it reaches the jet outlet openings 5, from which it flows on the shower jet outlet side 7, forming a first shower jet 12 , when the jet disk 6 is in its initial contour 8, or exits to form a second shower jet 13, if the jet disk 6 is in its final contour 9.
  • the propagation angle AW is an angle that results between an edge jet direction RB of the first shower jet 12 or of the second shower jet 13 and the main propagation direction AR or a straight line GE that is parallel and offset to the latter.
  • the first shower jet 12 shows the provision of the first shower jet 12 in the form of a converging shower jet. Since the exit contour 8 curves inwards in the direction of the fluid chamber 4 and the cylinder axes ZA of the spray outlet openings 5 are each a normal of the spray disc 6, the shower spray diameter of the first spray jet 12 increases immediately after it emerges from the spray outlet openings 5 and as the first shower spray continues to spread 12 in the main propagation direction AR.
  • the propagation angle AW of the first shower jet 12 is, for example, between approximately -20° and -3°, in corresponding embodiments more specifically between approximately -12° and -8°.
  • the second shower jet 13 in the form of a diverging shower jet. Since the end contour 9 curves outwards away from the fluid chamber 4 and the cylinder axes ZA of the jet outlet openings 5 are each a normal of the jet disc 6, the shower jet diameter of the second shower jet 13 increases as the second shower jet 13 propagates in the propagation direction AR.
  • the propagation angle AW of the second shower jet 13 is, for example, between approximately +20° and +3°, in corresponding versions more specifically between approximately +12° and +8°.
  • the second shower jet 13 and the first shower jet 12 differ in their propagation angle AW. Therefore, a converging shower jet or a diverging shower jet can be generated with the sanitary shower head 1 as required by adjusting the fluid pressure.
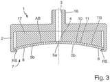
  • the jet outlet openings 5 of the jet disc 6 have a number of first jet outlet openings 5a and a number of second jet outlet openings 5b. Furthermore, the fluid chamber 4 is delimited by a conforming delimitation surface 11 on a side 10 opposite the jet disk 6 .
  • the boundary surface 11 is provided by an inner body 17 of the sanitary shower head 1 which is arranged opposite the spray disc 6 .
  • the volume of the fluid chamber 4 is reduced by the inner body 17. The reduced volume of the fluid chamber 4 is advantageous for avoiding undesired dripping after shutting off the fluid or water supply.
  • the boundary surface 11 runs at least in a partial surface area TB conforming to the initial contour 8.
  • the partial surface area TB optionally forms a supporting surface area AB, which supports the jet disk 6 with its initial contour 8 inwards.
  • the jet disk 6 is supported with its initial contour 8 against the boundary surface 11 in such a way that the boundary surface 11 closes the second jet outlet openings 5b, while the first jet outlet openings 5a remain open. Therefore, in this embodiment, fluid only emerges from the first jet outlet openings 5a and not also from the second jet outlet openings 5b when the jet disc 6 is in its initial contour 8 .
  • the jet pattern of the shower jet when the jet disc 6 is in its end contour 9 can be that of the variant according to 2 correspond.
  • the initial contour 8 in the example shown is a stable or at least metastable contour of the jet disk 6. Therefore, the jet disk 6 only deforms from its initial contour 8 when the fluid pressure exceeds a limit value, which is, for example, about 0.25 bar and alternatively one can have any other value. As long as the fluid pressure does not exceed the limit value, the contour of the jet disk 6 does not change. This can be determined by correspondingly realizing the jet disc 6 in terms of material and thickness, among other things.
  • the jet disc 6 is supported with its initial contour 8 by the boundary surface 11 in such a way that the latter closes all jet outlet openings 5 of the jet disc 6 . In this case, therefore, fluid can only emerge from the jet outlet openings 5 when the jet disc 6 is deformed from its initial contour 8 into its final contour 9 .
  • the final contour 9 or only the final contour 9 forms a metastable contour of the jet disc 6 instead of the initial contour 8.
  • the jet outlet openings 5 of the jet disc 6 have a number of first jet outlet openings 5a and a number of second jet outlet openings 5b, with the first jet outlet openings 5a corresponding to a first fluid chamber section 4a and the second jet outlet openings 5b corresponding to a second fluid chamber section 4b.
  • the first fluid chamber portion 4a is in fluid communication with the fluid inlet 3 both when the jet disk 6 assumes its initial contour 8 and when the jet disk 6 assumes its final contour 9.
  • the second fluid chamber subregion 4b is in fluid communication with the fluid inlet 3 when the jet disk 6 assumes its final contour 9 .
  • the second fluid chamber portion 4b is completely blocked off from the fluid inlet 3 .
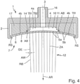
  • the shower head 1 can have a convergent partial jet as the respective shower jet at a lower fluid pressure 4 and at higher fluid pressure according to a divergent solid jet figure 5 hand over.
  • the jet disk 6 moves in a binary deformation movement through fluid pressure from its initial contour 8 according to FIG 4 in accordance with their final contour 9 figure 5 and automatically returns to its initial contour 8 when the fluid pressure is relieved, so that the shower head 1 optionally supplies the two associated shower jets.
  • the jet disk 6 moves out of its initial contour 8 in accordance with fluid pressure in a continuous deformation movement 4 out in fluid pressure-dependent continuously changing end contours 9, so that the shower head 1 provides a shower jet, the jet pattern corresponding to continuously between the jet pattern in the output contour 8 of the jet disk 6 according to 4 and according to the jet pattern in the maximum end contour 9 of the jet disc 6 figure 5 changes.
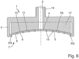
  • this has the inner body 17 on its opposite side 10 of the jet disk 6 compared to the example of FIG 3 modified form with regard to the boundary surface 11.
  • the boundary surface 11 only runs in a radially outer partial surface area TB1, which corresponds to the second fluid chamber partial area 4b, conforming to the initial contour 8 of the jet disc 6, while in a central partial surface area TB2, which corresponds to the first fluid chamber partial area 4a corresponds, stepping back.
  • the seal 14 consequently forms the support surface area AB, against which the jet disk 6 is supported in its initial contour 8 .
  • the seal 14 is held on the inner body 17 in the example shown.
  • the seal 14 is held on the jet disc 6, or a first part of the seal is held on the jet disc 6 and a second part on the inner body 17.
  • the second fluid chamber section 4b is only partially blocked off from the fluid inlet 3 by the seal 14 when the jet disk 6 assumes its initial contour 8 . In this case, this also then fluid from the first fluid chamber portion 4a into the second fluid chamber portion 4b when the jet disk 6 assumes its initial contour 8 .
  • the number of mandrels 15 is equal to the number of jet outlet openings 5, so that each jet outlet opening 5 is assigned a mandrel 15. In alternative embodiments, fewer mandrels 15 than jet outlet openings 5 are provided. In corresponding embodiments, each mandrel 15 protrudes into the respective jet outlet opening 5 in such a way that it protrudes from the jet outlet opening 5 when the jet disk 6 assumes its initial contour 8 . In alternative embodiments, each mandrel 15 protrudes into the jet outlet opening 5, but not out of it. When the jet disc 6 assumes its final contour 9, the mandrel 15 no longer protrudes into the jet outlet opening 5, so that the latter is completely free for the passage of shower jet-forming fluid. Limescale deposits on the jet outlet openings 5 can be avoided or removed by the mandrels 15, specifically by moving them into and out of the jet outlet openings 5.
  • the cylinder axis ZA ie longitudinal axis, of the jet outlet openings 5 is not oriented normal to the jet disc 6 .
  • the orientation of the cylinder axis ZA can be chosen such that, for example, a parallel shower jet or a diverging shower jet can be generated with the jet disc 6 in its initial contour 8 .
  • the number and/or the arrangement of the jet outlet openings 5 of the sanitary shower head 1 according to the invention is different from the examples shown.
  • the sanitary shower head 1 can have only one jet outlet opening 5 in corresponding designs in order to generate what is known as a surge jet.
  • the shower head can have a large number of jet outlet openings 5, which are evenly distributed in the central area or off-centre or over the entire jet disc surface or arranged in groups, including embodiments in which the jet outlet openings 5 can be used to generate various standard shower jet types, such as a soft jet and a massage jet.
  • the sanitary shower head 1 can be any combination of the variants shown Figures 1 to 7 be.
  • the sanitary shower head 1 can have the seal 14 and additionally the spikes 15 .
  • the invention provides a sanitary shower head which reduces undesired dripping after a water supply has been shut off, is relatively easy to manufacture and is functionally reliable.

Landscapes

  • Health & Medical Sciences (AREA)
  • Life Sciences & Earth Sciences (AREA)
  • Engineering & Computer Science (AREA)
  • Hydrology & Water Resources (AREA)
  • Public Health (AREA)
  • Water Supply & Treatment (AREA)
  • Nozzles (AREA)

Description

  • Die Erfindung bezieht sich auf einen sanitären Brausekopf, der ein Brausekopfgehäuse mit einem Fluideinlass, eine mit dem Fluideinlass in Fluidverbindung stehenden Fluidkammer im Brausekopfgehäuse und eine mindestens eine Strahlaustrittsöffnung aufweisende Strahlscheibe umfasst, die an einer Brausestrahlaustrittsseite des Brausekopfgehäuses angeordnet und umfangsseitig am Brausekopfgehäuse gehalten ist und die Fluidkammer austrittsseitig begrenzt, wobei die Strahlscheibe als eine elastische Scheibe gebildet ist, die durch einen Fluiddruck in der Fluidkammer von einer Ausgangskontur in eine Endkontur elastisch verformbar ist.
  • Die Offenlegungsschrift DE 29 01 013 A1 offenbart einen solchen sanitären Brausekopf der eingangs genannten Art, wobei der dortige Brausekopf eine im drucklosen Ausgangszustand ebene Strahlscheibe aufweist, die ihre ebene Form auch bei geringem Wasserdruck beibehält und dann einen parallelen Brausestrahl erzeugt. Bei höherem Wasserdruck wölbt sich die ebene Strahlscheibe auf und erzeugt einen divergierenden Brausestrahl. Eine speichenförmige Abstützung begrenzt das Aufwölben der ebenen Strahlscheibe.
  • Es sind auch bereits verschiedentlich sanitäre Brauseköpfe mit einer verformbaren Strahlscheibe vorgeschlagen worden, die nicht durch den auf sie wirkenden Fluiddruck verformt wird, sondern durch nutzerbetätigte Verstellmittel. So offenbart die Offenlegungsschrift DE 2 235 217 A einen sanitären Brausekopf mit einer verformbaren, in einem Ausgangszustand ebenen Strahlscheibe, die sich durch den Wasserdruck im Betrieb nicht verformt, jedoch durch ein nutzerbetätigtes, mechanisches Verstellmittel verformt werden kann, wobei sie je nach Bedarf eine konkave oder eine konvexe Durchbiegung annimmt. Bei der konkaven Durchbiegung kann ein konvergierender Brausestrahl und bei der konvexen Durchbiegung kann ein divergierender Brausestrahl erzeugt werden.
  • Die Patentschrift US 6.223.998 B1 offenbart einen sanitären Brausekopf, der eine im drucklosen Ausgangszustand ebene Strahlscheibe mit einer Mehrzahl von Strahlaustrittsöffnungen beinhaltet, wobei die elastische Strahlscheibe mittig an einem gehäuseseitigen Tragpfosten und umfangsseitig an einer am Brausekopfgehäuse axial beweglich angeordneten Halteplatte festgelegt ist. Durch axiales Zurückbewegen der Halteplatte kann der Benutzer die Strahlscheibe aus ihrem ebenen Ausgangszustand, in dem Längsachsen der Strahlaustrittsöffnungen parallel zueinander sind, in einen konkaven Zustand gebracht werden, in dem die Längsachsen der Strahlaustrittsöffnungen divergierend verlaufen.
  • In ähnlicher Weise offenbart die Patentschrift US Re. 26.889 einen sanitären Brausenkopf mit einer verformbaren Strahlscheibe, die über einen mittigen Schraubbolzen oder über einen peripheren Schraubring zwischen zwei unterschiedlich nach außen gewölbten oder zwischen einem ebenen Verlauf und einem nach außen vorgewölbten Verlauf vom Benutzer durch Verdrehen der mit dem Schraubbolzen versehenen Strahlscheibe bzw. durch Verdrehen des peripheren Schraubrings in ihrer Form verstellt werden kann, um entsprechend unterschiedliche Brausestrahlverläufe einzustellen.
  • Die Patentschrift EP 1 613 814 B1 offenbart einen sanitären Brausekopf mit einer temperaturabhängig springfederartig verformbaren Strahlscheibe, die sich bei Überschreiten eines Temperatur-Grenzwertes eines durchströmenden Fluids von einer Funktionslage in eine Reinigungslage bewegt. In der Reinigungslage kann beispielsweise Kalk mit geringem Aufwand entfernt werden. Bei Unterschreiten des Temperatur-Grenzwertes federt die springfederartige Strahlscheibe in die Funktionslage zurück.
  • Die Patentschrift EP 0 894 536 B1 offenbart einen sanitären Brausekopf mit einer springfederartig flexiblen Strahlscheibe, die in einer Ausgangslage nach außen gewölbt ist und von einem Benutzer durch Ausüben einer Eindrück-Kraft in Richtung Gehäuseinneres des Brausekopfs eingedrückt werden kann. Bei Kraftentlastung springt die flexible Strahlscheibe von selbst in die Ausgangslage zurück. Durch solche Sprungvorgänge der flexiblen Strahlscheibe sollen Kalk- und andere Ablagerungen an der Strahlscheibe abgesprengt werden.
  • Ein weiterer solcher Brausekopf mit springfederartig eindrückbarer Strahlscheibe ist in dem Gebrauchsmuster DE 79 04 756 U1 offenbart.
  • Die Offenlegungsschrift DE 43 00 322 A1 offenbart einen Duschkopf für ein Dusch- und Massagegerät, der mit einer Hohlborsten tragenden und eine mittige Austrittsöffnung aufweisenden dauerelastischen Bürstenplatte ausgestattet ist, auf deren Innenseite mittig ein mit einem abgewinkelten Zulaufstutzen versehener, zwischen Zulaufstutzeneinmündung und Austrittöffnung hohl gehaltener Zapfen angeordnet ist, der an einem in das Duschkopfinnere weisenden Ende ein Außengewinde aufweist, das mit einem Gewindeteil eines axial dazu an der Duschkopfaußenseite versenkt angebrachten, einflügeligen anschlagbegrenzten Stellgliedes verbunden ist. Durch Drehen des Stellgliedes kann der Benutzer die Bürstenplatte von einer planen Mittelstellung wahlweise in eine gekrümmte Stellung mit konkavem oder konvexem Verlauf verstellen.
  • Die Offenlegungsschrift EP 3 305 412 A1 offenbart eine Brausestrahlerzeugungsvorrichtung für einen sanitären Brausekopf, die eine mehrteilige Strahlscheibe aufweist, die eine austrittsseitige Metallplatte mit Strahlscheibenöffnungen und eine innenseitig gegen die Metallplatte anliegende Elastomerplatte umfasst. An der Elastomerplatte sind Elastomer-Ringmembranen und von diesen umgebene und beweglich getragene Fluidaustrittselemente ausgebildet, die sich durch die Strahlscheibenöffnungen hindurch erstrecken und jeweils einen beweglichen Ventilkörper mit einer aus einer vorgelagerten Fluidkammer ausmündenden Fluidaustrittsöffnung aufweisen. Die Fluidaustrittsöffnung ist abhängig von einem Fluiddruck in der Fluidkammer freigegeben oder abgesperrt, wozu der bewegliche Ventilkörper mit einem unbeweglichen Ventilsitz zusammenwirkt, der an einem Plattenkörper ausgebildet ist, der die Fluidkammer auf einer der Elastomerplatte gegenüberliegenden Seite begrenzt.
  • Der Erfindung liegt das technische Problem zugrunde, einen sanitären Brausekopf der eingangs genannten Art bereitzustellen, der gegenüber dem oben erläuterten Stand der Technik verbessert ist und insbesondere unerwünschtes Nachtropfen nach Absperren einer Wasserzufuhr reduziert, relativ einfach herstellbar und funktionssicher ist.
  • Die Erfindung löst dieses Problem durch die Bereitstellung eines sanitären Brausekopfs mit den Merkmalen des Anspruchs 1. Vorteilhafte sowie bevorzugte Ausgestaltungen der Erfindung sind Gegenstand der weiteren Ansprüche, deren Wortlaut hiermit durch Verweis vollumfänglich in die Beschreibung aufgenommen wird.
  • Dem sanitären Brausekopf kann über den Fluideinlass ein Fluid, insbesondere Wasser, zugeführt werden, das dann in die Fluidkammer und von dort zu der oder den Strahlaustrittsöffnungen gelangt und unter Bildung eines entsprechenden Brausestrahls aus dieser oder diesen austritt. Abhängig von dem in der Fluidkammer herrschenden Fluiddruck nimmt die elastisch verformbare Strahlscheibe die Ausgangskontur oder die Endkontur ein. Infolge der Verformung der Strahlscheibe kann sich beispielsweise eine Lage einer Zylinderachse der Strahlaustrittsöffnung ändern. Eine solche Lageänderung dieser Zylinderachse kann zur Folge haben, dass ein Ausbreitungswinkel eines von dem sanitären Brausekopf erzeugten Brausestrahls ebenfalls fluiddruckabhängig ist. Daher kann mit einer solchen Anordnung bei Bedarf je nach Systemauslegung und Fluiddruck ein divergierender, konvergierender oder paralleler Brausestrahl erzeugt werden. Bei einem divergierenden Brausestrahl nimmt dessen Brausestrahldurchmesser mit fortschreitender axialer Ausbreitung des Brausestrahls zu, bei einem parallelen Brausestrahl ist dessen Brausestrahldurchmesser mit fortschreitender Ausbreitung praktisch konstant, und bei einem konvergierenden bzw. fokussierenden Brausestrahl nimmt dessen Brausestrahldurchmesser direkt nach der Strahlaustrittsöffnung mit fortschreitender Ausbreitung ab.
  • Die Strahlscheibe kann beispielsweise formschlüssig oder kraftschlüssig am Brausekopfgehäuse umfangseitig gehalten sein. Umfangseitig gehalten ist vorliegend so zu verstehen, dass die Strahlscheibe an ihrer Scheibenrandfläche gehalten ist und/oder eine umfangsseitige, ringförmige Haltefläche eine vordere, d.h. austrittsseitige, Stirnfläche der Strahlscheibe überdeckt oder umgreift, insbesondere eine am Brausekopfgehäuse ausgebildete Haltefläche.
  • Die Strahlscheibe kann z.B. aus einem elastischen Gummi-, Metall- oder Kunststoffmaterial oder einem Mix aus solchen Materialien bestehen. Die mindestens eine Strahlaustrittsöffnung kann beispielsweise als Düse und/oder als kreiszylindrisches Loch ausgebildet sein. Vorzugsweise weist die mindestens eine Strahlaustrittsöffnung eine fluiddruckunabhängig formstabile Geometrie auf. Die Strahlscheibe kann eine beliebige Anzahl von Strahlaustrittsöffnungen, insbesondere beispielsweise zwischen zehn und zweihundert Strahlaustrittsöffnungen, aufweisen. Der sanitäre Brausekopf kann je nach Bedarf eine einzige Strahlscheibe oder alternativ eine Mehrzahl von Strahlscheiben aufweisen.
  • Die Strahlscheibe wird durch den Fluiddruck aus der Ausgangskontur heraus in Richtung Endkontur elastisch verformt, sobald der Fluiddruck größer als ein zuvor festgelegter Grenzdruck ist. Der zuvor festgelegte Grenzdruck kann beispielsweise zwischen 0,2 bar bis 0,5 bar liegen. Die elastische Verformung der Strahlscheibe von der Ausgangskontur in die Endkontur erfolgt vorzugsweise in Richtung einer Hauptausbreitungsrichtung eines von dem sanitären Brausekopf erzeugten Brausestrahls. Solange der Grenzdruck nicht erreicht oder überschritten ist, bleibt die Strahlscheibe in ihrer Ausgangskontur. Vorzugsweise ist die Strahlscheibe dazu ausgebildet, selbsttätig in die Ausgangskontur zurückzukehren, wenn sie sich in ihrer Endkontur befindet und der Fluiddruck in der Fluidkammer abfällt, beispielsweise unter den erwähnten Grenzdruck.
  • Insbesondere kann die Strahlscheibe in Abhängigkeit vom Fluiddruck in der Fluidkammer eine Mehrzahl von unterschiedlichen Endkonturen einnehmen, sobald der Fluiddruck größer als ein vorgebbarer und der jeweiligen Endkontur zugeordneter Grenzdruck ist. Der höchste vorgegebene Grenzdruck kann beispielsweise ein im normalen Brausebetrieb des Brausekopfs maximal auftretender Fluiddruck sein, der z.B. zwischen 1 bar und 3 bar liegt. Mit anderen Worten kann die Endkontur selbst fluiddruckabhängig sein, d.h. je nach dem momentanen Fluiddruck in der Fluidkammer nimmt die Strahlscheibe dann ihre Ausgangskontur, eine maximale Endkontur oder eine zwischenliegende Endkontur bzw. Zwischenkontur zwischen der Ausgnagskontur und der maximalen Endkontur ein.
  • Gemäß einem Aspekt der Erfindung ist bei dem erfindungsgemäßen sanitären Brausekopf die Fluidkammer auf einer der Strahlscheibe gegenüberliegenden Seite von einer Begrenzungsfläche begrenzt, die mindestens in einem Teilflächenbereich konform zur Ausgangskontur der Strahlscheibe verläuft.
  • Die Fluidkammer weist ein Ausgangsvolumen auf, wenn die Strahlscheibe ihre Ausgangskontur einnimmt, und ein Verformungsvolumen, wenn die Strahlscheibe ihre Endkontur einnimmt. Typischerweise ist das Ausgangsvolumen kleiner als das Verformungsvolumen, z.B. um mindestens 50% kleiner, wobei das Ausgangsvolumen in entsprechenden Ausführungen auch näherungsweise null sein kann, z.B. indem die Strahlscheibe mit ihrer Ausgangskontur gegen eine gegenüberliegende, die Fluidkammer axial einwärts, d.h. nach hinten, begrenzende Wandung des Brausekopfgehäuses anliegt. Wenn nun in dem Teilflächenbereich die Strahlscheibe konform, z.B. parallel und versetzt, zur Begrenzungsfläche verläuft oder gegen diese anliegt, kann in dem Teilflächenbereich ein Abstand zwischen der Strahlscheibe und der Begrenzungsfläche bei Bedarf sehr gering gehalten werden. Dadurch kann die Fluidkammer ein besonders kleines Ausgangsvolumen aufweisen. Da überwiegend das in der Fluidkammer befindliche Fluid für ein unerwünschtes Nachtropfen verantwortlich ist, wirkt ein kleines Ausgangsvolumen einem unerwünschten Nachtropfen nach Absperren der Wasserzufuhr entgegen. Ein weiterer Vorteil ist, dass die Strahlscheibe, wenn diese selbsttätig in die Ausgangskontur zurückkehrt, das in der Fluidkammer befindliche Fluid teilweise oder nahezu vollständig aus der Fluidkammer herausdrückt.
  • Gemäß einem weiteren Aspekt der Erfindung verläuft die Ausgangskontur in Richtung der Fluidkammer nach innen gewölbt, d.h. konkav gewölbt. Eine solche Wölbung der Ausgangskontur kann besonders für eine Erzeugung eines konvergierenden Brausestrahls bei geringem Fluiddruck, der noch keine Verformungsbewegung der Strahlscheibe aus ihrer Ausgangskontur heraus bewirkt, vorteilhaft sein, insbesondere wenn eine Vielzahl von Strahlaustrittsöffnungen vorhanden ist, deren Zylinderachse eine Normale der Strahlscheibe ist, d.h. senkrecht zur Strahlscheibenfläche an dieser Stelle ist.
  • In einer Ausgestaltung der Erfindung verläuft die Endkontur der Strahlscheibe nach außen gewölbt. Mit anderen Worten, die Endkontur der Strahlscheibe ist konvex gekrümmt. Dieser Verlauf ermöglicht die Erzeugung eines divergierenden Brausestrahls, beispielsweise wenn die Zylinderachse der jeweiligen Strahlaustrittsöffnung eine Normale der Strahlscheibe ist.
  • In einer Ausgestaltung der Erfindung ist die Ausgangskontur und/oder die Endkontur eine metastabile Kontur der Strahlscheibe. Mit anderen Worten, kleine Änderungen des Fluiddrucks, wie Fluiddruckänderungen von z.B. kleiner 0,2 bar oder 0,25 bar, führen in diesem Fall noch nicht zu einer Änderung der Ausgangs- bzw. Endkontur. Größere Änderungen des Fluiddrucks, wie z.B. Fluiddruckänderungen von größer oder gleich 0,25 bar, führen zu einer Änderung der Kontur. Optional kann die Strahlscheibe hierzu als sogenanntes Springfeder- bzw. Knackfrosch-Element ausgeführt sein.
  • In alternativen Ausgestaltungen der Erfindung ist die Strahlscheibe einteilig aus einem einzigen Material oder aus einer Kombination mehrerer Materialien ausgeführt oder aus mehreren Bauteilen zusammenmontiert, die aus dem gleichen Material oder aus unterschiedlichen Materialien, insbesondere einem Gummi, einem Kunststoff und/oder einem Metall, bestehen können.
  • In einer Ausgestaltung der Erfindung stellt die Strahlscheibe in ihrer Ausgangskontur einen ersten Brausestrahl und in ihrer Endkontur einen zweiten Brausestrahl bereit, wobei sich der erste und der zweite Brausestrahl in ihrem Ausbreitungswinkel unterscheiden. Beispielsweise kann der Ausbreitungswinkel des zweiten Brausestrahls größer sein als der Ausbreitungswinkel des ersten Brausestrahls. Bevorzugt können der erste Brausestrahl ein konvergierender oder ein paralleler Brausestrahl und der zweite Brausestrahl ein paralleler oder divergierender Brausestrahl sein.
  • In einer Ausgestaltung der Erfindung stützt sich die Strahlscheibe mit ihrer Ausgangskontur mindestens in einem Abstützflächenbereich gegen die Begrenzungsfläche ab. Beispielsweise kann der der Abstützflächenbereich ein Teil des Teilflächenbereichs sein, oder der Teilflächenbereich kann identisch den Abstützflächenbereich bilden.
  • In einer Ausgestaltung der Erfindung beinhaltet die mindestens eine Strahlaustrittsöffnung eine Anzahl von ersten Strahlaustrittsöffnungen und eine Anzahl von zweiten Strahlaustrittsöffnungen, und die Strahlscheibe stützt sich mit ihrer Ausgangskontur derart an der Begrenzungsfläche ab, dass die Begrenzungsfläche die Anzahl von zweiten Strahlaustrittsöffnungen verschließt. Dies hat zur Folge, dass aus den zweiten Strahlaustrittsöffnungen kein Fluid austritt, solange sich die Strahlscheibe in ihrer Ausgangskontur befindet. Die Anzahl von ersten Strahlaustrittsöffnungen und die Anzahl von zweiten Strahlaustrittsöffnungen können jeweils eine beliebige Anzahl von z.B. zwischen fünf und einhundert Strahlaustrittsöffnungen sein.
  • In einer Ausgestaltung der Erfindung beinhaltet die mindestens eine Strahlaustrittsöffnung eine Anzahl von ersten Strahlaustrittsöffnungen und eine Anzahl von zweiten Strahlaustrittsöffnungen, wobei die Anzahl von ersten Strahlaustrittsöffnungen mit einem ersten Fluidkammerteilbereich korrespondiert und die Anzahl von zweiten Strahlaustrittsöffnungen mit einem zweiten Fluidkammerteilbereich korrespondiert. Der erste Fluidkammerteilbereich steht sowohl dann, wenn die Strahlscheibe ihre Ausgangskontur einnimmt, als auch dann, wenn die Strahlscheibe ihre Endkontur einnimmt, in Fluidverbindung mit dem Fluideinlass. Der zweite Fluidkammerteilbereich steht in Fluidverbindung mit dem Fluideinlass, wenn die Strahlscheibe ihre Endkontur einnimmt, und ist durch eine Dichtung von dem Fluideinlass vollständig oder partiell abgesperrt, wenn die Strahlscheibe ihre Ausgangskontur einnimmt. Die Dichtung kann an der Strahlscheibe und/oder an der Begrenzungsfläche angeordnet sein. Die Dichtung kann beispielsweise eine Ringdichtung sein, insbesondere ein O-Ring.
  • In einer Ausgestaltung der Erfindung weist die Begrenzungsfläche mindestens einen Dorn auf, der in die mindestens eine Strahlaustrittsöffnung hinein ragt, wenn die Strahlscheibe ihre Ausgangskontur einnimmt. Der Dorn kann hierbei, wenn gewünscht, aus der mindestens einen Strahlaustrittsöffnung nach vorn herausragt bzw. überstehen, wenn die Strahlscheibe ihre Ausgangskontur einnimmt. Wenn die Strahlscheibe ihre Endkontur einnimmt, kann der Dorn je nach Bedarf und Anwendungsfall noch immer in die mindestens eine Strahlaustrittsöffnung hinein ragen oder sich alternativ nicht mehr bis zu der mindestens einen Strahlaustrittsöffnung erstrecken. Ein solcher Dorn kann je nach Bedarf für jede oder nur für einen Teil der Strahlaustrittsöffnungen vorgesehen sein. Durch den Dorn kann in vorteilhafter Weise Kalkablagerungen an der Strahlaustrittsöffnung entgegengewirkt werden, indem der Dorn solche Ablagerungen von der Strahlaustrittsöffnung ablöst, wenn die Strahlscheibe ihre Ausgangskontur oder Endkontur einnimmt bzw. sich zwischen diesen beiden Konturen verformend bewegt.
  • Vorteilhafte Ausführungsformen der Erfindung sind in den Zeichnungen dargestellt. Diese und weitere Ausführungsformen der Erfindungen werden im Folgenden näher erläutert. Hierbei zeigen:
  • Fig. 1
    eine Längsschnittansicht eines sanitären Brausekopfs mit verformbarer Strahlscheibe in ihrer Ausgangskontur,
    Fig. 2
    die Ansicht von Fig. 1 mit der Strahlscheibe in ihrer Endkontur,
    Fig. 3
    die Ansicht von Fig. 1 für eine Variante mit vollkonformer Fluidkammer-Begrenzungsfläche,
    Fig. 4
    die Ansicht von Fig. 1 für eine Variante mit teilkonformer Fluidkammer-Begrenzungsfläche,
    Fig. 5
    die Ansicht von Fig. 2 für die Variante von Fig. 4,
    Fig. 6
    die Ansicht von Fig. 3 für eine Variante mit Dornen und
    Fig. 7
    die Ansicht von Fig. 2 für die Variante von Fig. 6.
  • Die Fig. 1 und 2 zeigen einen sanitären Brausekopf 1 mit einem Brausekopfgehäuse 2, das einen Fluideinlass 3 aufweist. Der Fluideinlass 3 weist optional ein Gewinde 16 auf, das für die Zuführung eines Fluids mit einem nicht weiter dargestellten korrespondierenden Gewinde eines Wasserschlauchs, eines Duschschlauchs, eines Anschlussrohrs einer Hauswasserversorgung oder dgl. verschraubt werden kann.
  • Mit dem Fluideinlass 3 steht eine im Brausekopfgehäuse 2 befindliche Fluidkammer 4 in Fluidverbindung. Die Fluidkammer 4 ist von einer einteilig, alternativ mehrteilig, ausgeführten Strahlscheibe 6 austrittsseitig begrenzt. Die Strahlscheibe 6 ist an einer Brausestrahlaustrittsseite 7 des Brausekopfgehäuses 2 angeordnet. Die Strahlscheibe 6 ist umfangsseitig am Brausekopfgehäuse 2 gehalten, z.B. dadurch, dass das Brausekopfgehäuse 2 die Strahlscheibe 6 in einem ringförmigen Stirnflächenbereich RS der Strahlscheibe 6 formschlüssig umgreift.
  • Die Strahlscheibe 6 ist als eine elastische Scheibe gebildet, die z.B. aus einem Gummi-, Metall und/oder Kunststoffmaterial besteht, und ist durch einen Fluiddruck in der Fluidkammer 4 von einer Ausgangskontur 8 in eine Endkontur 9 elastisch verformbar. In entsprechenden Ausführungsformen verläuft die Ausgangskontur 8, wie in Fig. 1 gezeigt, in Richtung der Fluidkammer 4 nach innen gewölbt.
  • Solange in der Fluidkammer 4 kein Fluiddruck ansteht, bleibt die Strahlscheibe 6 in ihrer Ausgangskontur 8, wie in Fig. 1 gezeigt. Wenn der Fluiddruck einen bestimmten Grenzdruck von beispielsweise 0,25 bar überschreitet, nimmt die Strahlscheibe 6 ihre z.B. nach außen gewölbt verlaufende Endkontur 9 gemäß Fig. 2 ein. Hierzu wird die Strahlscheibe 6 durch den Fluiddruck elastisch nach außen in Richtung von der Fluidkammer 4 weg verformt. In entsprechenden Ausführungen verformt sich die Strahlscheibe 6 quasi binär umspringend von der Ausgangskontur 8 direkt in eine einzige Endkontur 9, in der sie dann verbleibt, auch wenn der Fluiddruck weiter ansteigt. In alternativen Ausführungen verformt sich die Strahlscheibe 6 mit steigendem Fluiddruck aus der Ausgangskontur 8 stetig oder in Stufen in eine jeweilige fluiddruckabhängige Endkontur 9 bis zu einer vorgebbaren maximalen Endkontur.
  • Wenn der Fluiddruck in der Fluidkammer 4 wieder unter den festgelegten Grenzdruck fällt, kehrt die Strahlscheibe 6 aufgrund ihrer Eigenelastizität bzw. Vorspannung selbsttätig in die Ausgangskontur 8 zurück. Während ihrer Rückkehr in die Ausgangskontur 8 kann die Strahlscheibe 6 noch in der Fluidkammer 4 befindliches Fluid zumindest teilweise aus der Fluidkammer 4 herausdrücken, indem sie durch diese Rückkehrbewegung das Volumen der Fluidkammer 4 verringert, das sich zuvor durch das Verformen der Strahlscheibe 6 in die Endkontur vergrößert hat. Dadurch kann ein unerwünschtes Nachtropfen nach Absperren einer Fluidzufuhr reduziert werden.
  • Die Strahlscheibe 6 weist mindestens eine Strahlaustrittsöffnung 5 auf, im gezeigten Beispiel konkret mehrere Strahlaustrittsöffnungen 5. Jede Strahlaustrittsöffnung 5 kann z.B. als ein kreiszylindrisches Loch mit einer Zylinderachse ZA ausgebildet sein, wobei die Zylinderachse ZA eine Normale der Strahlscheibe 6 an diesem Punkt der Strahlscheibenfläche bildet. Die Strahlaustrittsöffnungen 5 stehen in Fluidverbindung mit der Fluidkammer 4. Im Betrieb des Brausekopfs 1 steht Fluid, insbesondere Wasser, in der Fluidkammer 4 unter Druck an und gelangt von dort die Strahlaustrittsöffnungen 5, aus denen es an der Brausestrahlaustrittsseite 7 unter Bildung eines ersten Brausestrahls 12, wenn sich die Strahlscheibe 6 in ihrer Ausgangskontur 8 befindet, oder unter Bildung eines zweiten Brausestrahls 13 austritt, wenn sich die Strahlscheibe 6 in ihrer Endkontur 9 befindet. Nach Austritt aus den Strahlaustrittsöffnungen 5 breitet sich der erste Brausestrahl 12 oder der zweite Brausestrahl 13 in einer typischerweise axial verlaufenden Hauptausbreitungsrichtung AR und unter einem jeweiligen Ausbreitungswinkel AW aus. Der Ausbreitungswinkel AW ist ein Winkel, der sich zwischen einer Randstrahlrichtung RB des erstes Brausestrahls 12 bzw. des zweiten Brausestrahls 13 und der Hauptausbreitungsrichtung AR bzw. einer zu letzterer parallelen und versetzten Geraden GE ergibt.
  • Fig. 1 zeigt die Bereitstellung des ersten Brausestrahls 12 in Form eines konvergierenden Brausestrahls. Indem die Ausgangskontur 8 in Richtung der Fluidkammer 4 nach innen gewölbt verläuft und die Zylinderachsen ZA der Strahlaustrittsöffnungen 5 jeweils eine Normale der Strahlscheibe 6 sind, nimmt ein Brausestrahldurchmesser des ersten Brausestrahls 12 direkt nach dem Austritt aus den Strahlaustrittsöffnungen 5 und mit fortschreitender Ausbreitung des ersten Brausestrahls 12 in der Hauptausbreitungsrichtung AR ab. Der Ausbreitungswinkel AW des ersten Brausestrahls 12 beträgt beispielsweise zwischen etwa -20° und -3°, in entsprechenden Ausführungen spezieller zwischen etwa -12° und -8°.
  • Fig. 2 zeigt die Bereitstellung des zweiten Brausestrahls 13 in Form eines divergierenden Brausestrahls. Indem die Endkontur 9 von der Fluidkammer 4 weg nach außen gewölbt verläuft und die Zylinderachsen ZA der Strahlaustrittsöffnungen 5 jeweils eine Normale der Strahlscheibe 6 sind, nimmt der Brausestrahldurchmesser des zweiten Brausestrahls 13 mit fortschreitender Ausbreitung des zweiten Brausestrahls 13 in Ausbreitungsrichtung AR zu. Der Ausbreitungswinkel AW des zweiten Brausestrahls 13 beträgt beispielsweise zwischen etwa +20° und +3°, in entsprechenden Ausführungen spezieller zwischen etwa +12° und +8°. Somit unterscheiden sich der zweite Brausestrahl 13 und der erste Brausestrahl 12 in ihrem Ausbreitungswinkel AW. Daher kann mit dem sanitären Brausekopf 1 je nach Bedarf durch Einstellung des Fluiddrucks ein konvergierender Brausestrahl oder ein divergierender Brausestrahl erzeugt werden.
  • In Fig. 3 ist eine Variante des sanitären Brausekopfs 1 der Fig. 1 und 2 gezeigt, wobei zum besseren Verständnis für identische und funktionell äquivalente Elemente gleiche Bezugszeichen verwendet sind und insoweit auch auf die obigen Ausführungen zum Ausführungsbeispiel der Fig. 1 und 2 verwiesen werden kann, so dass nachstehend im Wesentlichen nur auf die bestehenden Unterschiede eingegangen wird.
  • Bei der Variante von Fig. 3 weisen die Strahlaustrittsöffnungen 5 der Strahlscheibe 6 eine Anzahl von ersten Strahlaustrittsöffnungen 5a und eine Anzahl von zweiten Strahlaustrittsöffnungen 5b auf. Des Weiteren ist die Fluidkammer 4 auf einer der Strahlscheibe 6 gegenüberliegenden Seite 10 von einer konformen Begrenzungsfläche 11 begrenzt. Die Begrenzungsfläche 11 wird von einem Innenkörper 17 des sanitären Brausekopfs 1 bereitgestellt, welcher der Strahlscheibe 6 gegenüberliegend angeordnet ist. Im Vergleich zur in den Fig. 1 und 2 gezeigten Variante ist bei der Variante von Fig. 3 das Volumen der Fluidkammer 4 durch den Innenkörper 17 reduziert. Das reduzierte Volumen der Fluidkammer 4 ist vorteilhaft für die Vermeidung eines unerwünschten Nachtropfens nach Absperren der Fluid- bzw. Wasserzufuhr.
  • Die Begrenzungsfläche 11 verläuft mindestens in einem Teilflächenbereich TB konform zur Ausgangskontur 8. Der Teilflächenbereich TB bildet optional wie gezeigt einen Abstützflächenbereich AB, der die Strahlscheibe 6 mit ihrer Ausgangskontur 8 nach innen abstützt. Dabei stützt sich die Strahlscheibe 6 mit ihrer Ausgangskontur 8 derart gegen die Begrenzungsfläche 11 ab, dass die Begrenzungsfläche 11 die zweiten Strahlaustrittsöffnungen 5b verschließt, während die ersten Strahlaustrittsöffnungen 5a freigegeben bleiben. Daher tritt in dieser Ausführung Fluid nur aus den ersten Strahlaustrittsöffnungen 5a und nicht auch aus den zweiten Strahlaustrittsöffnungen 5b aus, wenn sich die Strahlscheibe 6 in ihrer Ausgangskontur 8 befindet. Wenn die Strahlscheibe 6 ihre Endkontur 9 einnimmt, sind die zweiten Strahlaustrittsöffnungen 5b freigegeben und Fluid kann aus den ersten Strahlaustrittsöffnungen 5a und den zweiten Strahlaustrittsöffnungen 5b austreten. Das Strahlbild des Brausestrahls bei in ihrer Endkontur 9 befindlicher Strahlscheibe 6 kann demjenigen der Variante gemäß Fig. 2 entsprechen.
  • Im Ausführungsbeispiel der Fig. 3 verläuft die gesamte Begrenzungsfläche 11 konform zur Ausgangskontur 8 der Strahlscheibe 6, wobei der Innenkörper 17 eine mittige Bohrung aufweist, die dem Fluideinlass 3 gegenüberliegt und mit der die ersten Strahlaustrittsöffnungen 5a korrespondieren. In einer alternativen Ausführung fehlen die ersten Strahlaustrittsöffnungen 5a, d.h. mit der den Fluideinlass 3 verlängernden Bohrung im Innenkörper 17 korrespondieren keine Strahlaustrittsöffnungen 5. In diesem Fall wird kein Brausestrahl bereitgestellt, solange sich die Strahlscheibe 6 in ihrer Ausgangskontur 8 befindet.
  • Weiter ist die Ausgangskontur 8 im gezeigten Beispiel eine stabile oder jedenfalls metastabile Kontur der Strahlscheibe 6. Daher verformt sich die Strahlscheibe 6 aus ihrer Ausgangskontur 8 heraus erst dann, wenn der Fluiddruck einen Grenzwert überschreitet, der z.B. etwa 0,25 bar betragen und alternativ einen beliebigen anderen Wert haben kann. Solange der Fluiddruck den Grenzwert nicht überschreitet, ändert sich die Kontur der Strahlscheibe 6 nicht. Dies lässt sich durch entsprechende Realisierung der Strahlscheibe 6 u.a. hinsichtlich Material und Dicke festlegen.
  • In einer alternativen Variante ist die Strahlscheibe 6 mit ihrer Ausgangskontur 8 derart durch die Begrenzungsfläche 11 abgestützt, dass letztere alle Strahlaustrittsöffnungen 5 der Strahlscheibe 6 verschließt. Daher kann in diesem Fall Fluid erst dann aus den Strahlaustrittsöffnungen 5 austreten, wenn sich die Strahlscheibe 6 aus ihrer Ausgangskontur 8 heraus in ihre Endkontur 9 verformt. In weiteren alternativen Ausführungen bildet auch die Endkontur 9 oder nur die Endkontur 9 anstelle der Ausgangskontur 8 eine metastabile Kontur der Strahlscheibe 6.
  • In den Fig. 4 und 5 ist eine Variante des sanitären Brausekopfes 1 der Fig. 3 gezeigt, wobei zum besseren Verständnis für identische und funktionell äquivalente Elemente gleiche Bezugszeichen verwendet sind und insoweit auch auf die obigen Ausführungen zum Ausführungsbeispiel der Fig. 3 verwiesen werden kann, so dass nachstehend im Wesentlichen nur auf die bestehenden Unterschiede eingegangen wird. Bei dieser Variante weisen die Strahlaustrittsöffnungen 5 der Strahlscheibe 6 eine Anzahl von ersten Strahlaustrittsöffnungen 5a und eine Anzahl von zweiten Strahlaustrittsöffnungen 5b auf, wobei die ersten Strahlaustrittsöffnungen 5a mit einem ersten Fluidkammerteilbereich 4a korrespondieren und die zweiten Strahlaustrittsöffnungen 5b mit einem zweiten Fluidkammerteilbereich 4b korrespondieren. Der erste Fluidkammerteilbereich 4a steht sowohl dann, wenn die Strahlscheibe 6 ihre Ausgangskontur 8 einnimmt, als auch dann, wenn die Strahlscheibe 6 ihre Endkontur 9 einnimmt, in Fluidverbindung mit dem Fluideinlass 3. Der zweite Fluidkammerteilbereich 4b steht in Fluidverbindung mit dem Fluideinlass 3, wenn die Strahlscheibe 6 ihre Endkontur 9 einnimmt. Wenn die Strahlscheibe 6 ihre Ausgangskontur 8 einnimmt, ist der zweite Fluidkammerteilbereich 4b von dem Fluideinlass 3 vollständig abgesperrt.
  • Dementsprechend kann in dieser Ausführung der Brausekopf 1 als jeweiligen Brausestrahl bei geringerem Fluiddruck einen konvergenten Teilstrahl gemäß Fig. 4 und bei höherem Fluiddruck einen divergenten Vollstrahl gemäß Fig. 5 abgeben. In einer Variante gelangt die Strahlscheibe 6 in einer binären Verformungsbewegung durch Fluiddruck aus ihrer Ausgangskontur 8 gemäß Fig. 4 in ihre Endkontur 9 gemäß Fig. 5 und bei Fluiddruckentlastung selbsttätig wieder in ihre Ausgangskontur 8, so dass der Brausekopf 1 wahlweise die beiden zugehörigen Brausestrahlen liefert. In einer alternativen Variante gelangt die Strahlscheibe 6 in einer stetigen Verformungsbewegung durch Fluiddruck aus ihrer Ausgangskontur 8 gemäß Fig. 4 heraus in sich fluiddruckabhängig kontinuierlich verändernde Endkonturen 9, so dass der Brausekopf 1 einen Brausestrahl bereitstellt, dessen Strahlbild sich entsprechend kontinuierlich zwischen dem Strahlbild in der Ausgangskontur 8 der Strahlscheibe 6 gemäß Fig. 4 und dem Strahlbild in der maximalen Endkontur 9 der Strahlscheibe 6 gemäß Fig. 5 ändert.
  • Im gezeigten Beispiel besitzt hierfür der Innenkörper 17 auf seiner der Strahlscheibe 6 gegenüberliegenden Seite 10 eine gegenüber dem Beispiel der Fig. 3 modifizierte Form hinsichtlich der Begrenzungsfläche 11. Speziell verläuft hier die Begrenzungsfläche 11 nur in einem radial äußeren Teilflächenbereich TB1, der mit dem zweiten Fluidkammerteilbereich 4b korrespondiert, konform zur Ausgangskontur 8 der Strahlscheibe 6, während sie in einem mittigen Teilflächenbereich TB2, der mit dem ersten Fluidkammerteilbereich 4a korrespondiert, stufig zurückspringend verläuft. Eine Dichtung 14 in Form eines O-Rings, gegen die sich die Strahlscheibe 6 in ihrer Ausgangskontur 8 abstützt, sperrt in der Ausgangskontur 8 der Strahlscheibe 6 den zweiten Fluidkammerteilbereich 4b gegenüber dem ersten Fluidkammerteilbereich 4a und damit auch gegenüber dem in den ersten Fluidkammerteilbereich 4a einmündenden Fluideinlass 3 ab. Die Dichtung 14 bildet folglich in dieser Ausführung den Abstützflächenbereich AB, gegen den sich die Strahlscheibe 6 in ihrer Ausgangskontur 8 abstützt.
  • Die Dichtung 14 ist im gezeigten Beispiel am Innenkörper 17 gehalten. In alternativen Ausführungen ist die Dichtung 14 an der Strahlscheibe 6 gehalten, oder ein erster Teil der Dichtung ist an der Strahlscheibe 6 und ein zweiter Teil am Innenkörper 17 gehalten. In weiteren alternativen Ausführungen ist der zweite Fluidkammerteilbereich 4b durch die Dichtung 14 von dem Fluideinlass 3 nur teilweise abgesperrt, wenn die Strahlscheibe 6 ihre Ausgangskontur 8 einnimmt. Dadurch gelangt in diesem Fall auch dann Fluid von dem ersten Fluidkammerteilbereich 4a in den zweiten Fluidkammerteilbereich 4b, wenn die Strahlscheibe 6 ihre Ausgangskontur 8 einnimmt.
  • In den Fig. 6 und 7 ist eine weitere Variante des sanitären Brausekopfs der Fig. 3 gezeigt, wobei zum besseren Verständnis für identische und funktionell äquivalente Elemente gleiche Bezugszeichen verwendet sind und insoweit auch auf die obigen Ausführungen zu den Ausführungsbeispielen der Fig. 3 verwiesen werden kann, so dass nachstehend im Wesentlichen nur auf die bestehenden Unterschiede eingegangen wird. Bei dieser Variante korrespondieren alle Strahlaustrittsöffnungen 5 mit dem konform zur Ausgangskontur 8 verlaufenden Teilflächenbereich TB der Begrenzungsfläche 11, und die Begrenzungsfläche 11 des Innenkörpers 17 weist eine Anzahl von Dornen 15 auf, die in die Strahlaustrittsöffnungen 5 ragen, wenn die Strahlscheibe 6 ihre Ausgangskontur 8 einnimmt.
  • Die Anzahl von Dornen 15 ist in entsprechenden Ausführungen gleich der Anzahl von Strahlaustrittsöffnungen 5, so dass jeder Strahlaustrittsöffnung 5 ein Dorn 15 zugeordnet ist. In alternativen Ausführungen sind weniger Dorne 15 als Strahlaustrittsöffnungen 5 vorgesehen. In entsprechenden Ausführungen ragt jeder Dorn 15 derart in die jeweilige Strahlaustrittsöffnung 5, dass er aus der Strahlaustrittsöffnung 5 übersteht, wenn die Strahlscheibe 6 ihre Ausgangskontur 8 einnimmt. In alternativen Ausführungen ragt jeder Dorn 15 zwar in die Strahlaustrittsöffnung 5 hinein, aber nicht aus dieser heraus. Wenn die Strahlscheibe 6 ihre Endkontur 9 einnimmt, ragt der Dorn 15 nicht mehr in die Strahlaustrittsöffnung 5, so dass letztere vollständig für den Durchtritt von brausestrahlbildendem Fluid frei ist. Durch die Dorne 15, speziell durch deren Bewegung in die Strahlaustrittsöffnungen 5 hinein und aus diesen heraus, können Kalkablagerungen an den Strahlaustrittsöffnungen 5 vermieden bzw. abgelöst werden.
  • Abweichend von den gezeigten Beispielen ist es in einer alternativen Variante des erfindungsgemäßen sanitären Brausekopfs möglich, dass eine Orientierung der Zylinderachse ZA, d.h. Längsachse, der Strahlaustrittsöffnungen 5 nicht normal zur Strahlscheibe 6 orientiert ist. Insbesondere kann die Orientierung der Zylinderachse ZA derart gewählt sein, dass beispielsweise ein paralleler Brausestrahl oder ein divergierender Brausestrahl mit der Strahlscheibe 6 in ihrer Ausgangskontur 8 erzeugen werden kann.
  • In nicht dargestellten weiteren Varianten ist die Anzahl und/oder die Anordnung der Strahlaustrittsöffnungen 5 des erfindungsgemäßen sanitären Brausekopfs 1 gegenüber den gezeigten Beispielen variiert. Insbesondere kann der sanitäre Brausekopf 1 in entsprechenden Ausführungen über nur eine Strahlaustrittsöffnung 5 verfügen, um einen sogenannten Schwallstrahl zu erzeugen. Alternativ kann der Brausekopf über eine Vielzahl von Strahlaustrittsöffnungen 5 verfügen, die im Mittenbereich oder außermittig oder über die gesamte Strahlscheibenfläche hinweg gleichmäßig verteilt oder in Gruppen angeordnet sind, einschließlich Ausführungsformen, bei denen mit den Strahlaustrittsöffnungen 5 verschiedene übliche Brausestrahlarten erzeugt werden können, wie ein Softstrahl und ein Massagestrahl.
  • In weiteren Varianten kann der sanitäre Brausekopf 1 irgendeine Kombination aus den gezeigten Varianten der Fig. 1 bis 7 sein. So kann der sanitäre Brausekopf 1 beispielsweise über die Dichtung 14 und zusätzlich über die Dorne 15 verfügen.
  • Wie die gezeigten und oben erläuterten Ausführungsbeispiele deutlich machen, stellt die Erfindung einen sanitären Brausekopf bereit, der unerwünschtes Nachtropfen nach Absperren einer Wasserzufuhr reduziert, relativ einfach herstellbar und funktionssicher ist.

Claims (9)

  1. Sanitärer Brausekopf (1) mit
    - einem Brausekopfgehäuse (2) mit einem Fluideinlass (3),
    - einer mit dem Fluideinlass in Fluidverbindung stehenden Fluidkammer (4) im Brausekopfgehäuse und
    - einer mindestens eine Strahlaustrittsöffnung (5) aufweisenden Strahlscheibe (6), die an einer Brausestrahlaustrittsseite (7) des Brausekopfgehäuses angeordnet und umfangsseitig am Brausekopfgehäuse gehalten ist und die Fluidkammer austrittsseitig begrenzt,
    - wobei die Strahlscheibe als eine elastische Scheibe gebildet ist, die durch einen Fluiddruck in der Fluidkammer von einer Ausgangskontur (8) in eine Endkontur (9) elastisch verformbar ist,
    dadurch gekennzeichnet, dass
    - die Fluidkammer (4) auf einer der Strahlscheibe (6) gegenüberliegenden Seite (10) von einer Begrenzungsfläche (11) begrenzt ist, die mindestens in einem Teilflächenbereich (TB, TB1) konform zur Ausgangskontur (8) der Strahlscheibe verläuft, und/oder
    - die Ausgangskontur (8) der Strahlscheibe (6) in Richtung der Fluidkammer (4) nach innen gewölbt verläuft.
  2. Sanitärer Brausekopf nach einem der vorhergehenden Ansprüche, dadurch gekennzeichnet, dass die Endkontur der Strahlscheibe nach außen gewölbt verläuft.
  3. Sanitärer Brausekopf nach einem der vorhergehenden Ansprüche, dadurch gekennzeichnet, dass die Ausgangskontur und/oder die Endkontur eine metastabile Kontur der Strahlscheibe ist.
  4. Sanitärer Brausekopf nach einem der vorhergehenden Ansprüche, dadurch gekennzeichnet, dass die Strahlscheibe einteilig aus einem oder mehreren Materialien oder mehrteilig aus einem oder mehreren Materialien ausgeführt ist.
  5. Sanitärer Brausekopf nach einem der vorhergehenden Ansprüche, dadurch gekennzeichnet, dass die Strahlscheibe in ihrer Ausgangskontur einen ersten Brausestrahl (12) und in ihrer Endkontur einen zweiten Brausestrahl (13) bereitstellt, wobei sich der erste und der zweite Brausestrahl in ihrem Ausbreitungswinkel (AW) unterscheiden.
  6. Sanitärer Brausekopf nach einem der vorhergehenden Ansprüche, dadurch gekennzeichnet, dass sich die Strahlscheibe mit ihrer Ausgangskontur mindestens in einem Abstützflächenbereich (AB) gegen die Begrenzungsfläche abstützt.
  7. Sanitärer Brausekopf nach Anspruch 6, dadurch gekennzeichnet, dass
    - die mindestens eine Strahlaustrittsöffnung eine Anzahl von ersten Strahlaustrittsöffnungen (5a) und eine Anzahl von zweiten Strahlaustrittsöffnungen (5b) aufweist und
    - die Strahlscheibe mit ihrer Ausgangskontur derart abgestützt ist, dass die Begrenzungsfläche die Anzahl von zweiten Strahlaustrittsöffnungen verschließt.
  8. Sanitärer Brausekopf nach Anspruch 6, dadurch gekennzeichnet, dass
    - die mindestens eine Strahlaustrittsöffnung eine Anzahl von ersten Strahlaustrittsöffnungen (5a) und eine Anzahl von zweiten Strahlaustrittsöffnungen (5b) aufweist und
    - die Anzahl von ersten Strahlaustrittsöffnungen mit einem ersten Fluidkammerteilbereich (4a) korrespondieren und die Anzahl von zweiten Strahlaustrittsöffnungen mit einem zweiten Fluidkammerteilbereich (4b) korrespondieren,
    - wobei der erste Fluidkammerteilbereich sowohl dann, wenn die Strahlscheibe ihre Ausgangskontur einnimmt, als auch dann, wenn die Strahlscheibe ihre Endkontur einnimmt, in Fluidverbindung mit dem Fluideinlass steht, und
    - wobei der zweite Fluidkammerteilbereich in Fluidverbindung mit dem Fluideinlass steht, wenn die Strahlscheibe ihre Endkontur einnimmt, und durch eine Dichtung (14) von dem Fluideinlass vollständig oder partiell abgesperrt ist, wenn die Strahlscheibe ihre Ausgangskontur einnimmt.
  9. Sanitärer Brausekopf nach einem der vorhergehenden Ansprüche, dadurch gekennzeichnet, dass die Begrenzungsfläche mindestens einen Dorn (15) aufweist, der in die mindestens eine Strahlaustrittsöffnung ragt, wenn die Strahlscheibe ihre Ausgangskontur einnimmt.
EP19182263.4A 2018-06-25 2019-06-25 Sanitärer brausekopf Active EP3586974B1 (de)

Applications Claiming Priority (1)

Application Number Priority Date Filing Date Title
DE102018210331.3A DE102018210331B3 (de) 2018-06-25 2018-06-25 Sanitärer Brausekopf

Publications (2)

Publication Number Publication Date
EP3586974A1 EP3586974A1 (de) 2020-01-01
EP3586974B1 true EP3586974B1 (de) 2022-02-23

Family

ID=67070618

Family Applications (1)

Application Number Title Priority Date Filing Date
EP19182263.4A Active EP3586974B1 (de) 2018-06-25 2019-06-25 Sanitärer brausekopf

Country Status (3)

Country Link
EP (1) EP3586974B1 (de)
CN (1) CN110624703B (de)
DE (1) DE102018210331B3 (de)

Family Cites Families (16)

* Cited by examiner, † Cited by third party
Publication number Priority date Publication date Assignee Title
USRE26889E (en) * 1969-04-07 1970-05-19 Adjustable spray head
FR2149081A5 (de) 1971-07-31 1973-03-23 Knapp Alfons
US4211368A (en) * 1975-06-09 1980-07-08 Legros Francis R Device for aerating and chemically activating shower water
DE2901013C2 (de) 1979-01-12 1985-07-25 Hans Grohe Gmbh & Co Kg, 7622 Schiltach Brause, insbesondere Handbrause mit einer elastisch verformbaren Strahlscheibe
DE7904756U1 (de) 1979-02-21 1980-07-31 Hans Grohe Gmbh & Co Kg, 7622 Schiltach Brause
DE3107808A1 (de) * 1981-02-28 1982-09-16 Friedrich Grohe Armaturenfabrik Gmbh & Co, 5870 Hemer Selbstreinigender brausekopf
CN86205615U (zh) * 1986-08-08 1987-06-24 郭长征 节水型淋浴喷头
DE4300322C2 (de) 1993-01-08 1995-08-03 Burkhard Mueller Dusch- und/oder Massagegerät
DE19733291A1 (de) 1997-08-01 1999-02-04 Grohe Kg Hans Brauseeinrichtung
US6223998B1 (en) * 1997-10-08 2001-05-01 Charles J. Heitzman Shower head with continuous or cycling flow rate, fast or slow pulsation and variable spray pattern
JP4413435B2 (ja) * 1998-10-22 2010-02-10 陽介 内藤 シャワーヘッド
JP2000262427A (ja) * 1999-03-17 2000-09-26 Toto Ltd シャワー装置
DE10313501A1 (de) 2003-03-25 2004-10-14 Dieter Wildfang Gmbh Sanitäre Wasserauslaufeinheit, insbesondere Strahlregler oder Brause
CN201586577U (zh) * 2010-01-12 2010-09-22 厦门松霖科技有限公司 一种按钮切换花洒
JP2012152470A (ja) * 2011-01-27 2012-08-16 Lixil Corp シャワー吐水装置
DE102016219551B4 (de) * 2016-10-07 2022-01-05 Hansgrohe Se Brausestrahlerzeugungsvorrichtung

Also Published As

Publication number Publication date
DE102018210331B3 (de) 2019-08-22
CN110624703B (zh) 2022-01-07
CN110624703A (zh) 2019-12-31
EP3586974A1 (de) 2020-01-01

Similar Documents

Publication Publication Date Title
DE4105183C5 (de) Brausekopf
EP2664719B1 (de) Sanitäres Einbauelement
EP3305412B1 (de) Brausestrahlerzeugungsvorrichtung
EP3517212B1 (de) Brausestrahlerzeugungsvorrichtung mit überdruckventil
EP3338898B1 (de) Brausestrahlaustrittsvorrichtung und damit ausgerüstete brause
DE102005012706B4 (de) Duschkopf
DE112019004251T5 (de) Wasserauslassdüse und Wasserstrahleinrichtung mit derselben
DE102016213491A1 (de) Brausestrahlerzeugungsvorrichtung
EP3325864B1 (de) Eigenmediumgesteuertes regelventil
DE2923571C2 (de) Selbstreinigendes Ventil
EP3586974B1 (de) Sanitärer brausekopf
EP3517211B1 (de) Brausekopf mit überdruckventil
DE2901013C2 (de) Brause, insbesondere Handbrause mit einer elastisch verformbaren Strahlscheibe
DE2854572A1 (de) Durch fluessigkeitsdruck betaetigbares pilotventil
DE19504652A1 (de) Vorrichtung zur Erzeugung eines Flüssigkeitsstrahls
DE102013014942B4 (de) Brausekopf für eine Sanitärbrause
EP3677340B1 (de) Brausekopf mit strahlscheibenhaltevorrichtung
DE1804640B1 (de) Spritzkopf zur Herstellung von Kunststoffrohren oder -schlaeuchen
DE2200671A1 (de) Selbstschliessendes Absperrorgan
DE2830201C2 (de)
DE102021200951B3 (de) Sprühdüse und Satz mit mehreren Sprühdüsen
WO2023180466A1 (de) Sanitäre brause
WO2023110370A1 (de) Brausestrahlerzeugungsvorrichtung mit tropfschutz
DE7837426U1 (de) Durch Flüssigkeitsdruck betätigbares Pilotventil
DE9410663U1 (de) Kleinstrahlrohr

Legal Events

Date Code Title Description
PUAI Public reference made under article 153(3) epc to a published international application that has entered the european phase

Free format text: ORIGINAL CODE: 0009012

STAA Information on the status of an ep patent application or granted ep patent

Free format text: STATUS: THE APPLICATION HAS BEEN PUBLISHED

AK Designated contracting states

Kind code of ref document: A1

Designated state(s): AL AT BE BG CH CY CZ DE DK EE ES FI FR GB GR HR HU IE IS IT LI LT LU LV MC MK MT NL NO PL PT RO RS SE SI SK SM TR

AX Request for extension of the european patent

Extension state: BA ME

STAA Information on the status of an ep patent application or granted ep patent

Free format text: STATUS: REQUEST FOR EXAMINATION WAS MADE

17P Request for examination filed

Effective date: 20200624

RBV Designated contracting states (corrected)

Designated state(s): AL AT BE BG CH CY CZ DE DK EE ES FI FR GB GR HR HU IE IS IT LI LT LU LV MC MK MT NL NO PL PT RO RS SE SI SK SM TR

GRAP Despatch of communication of intention to grant a patent

Free format text: ORIGINAL CODE: EPIDOSNIGR1

STAA Information on the status of an ep patent application or granted ep patent

Free format text: STATUS: GRANT OF PATENT IS INTENDED

RIC1 Information provided on ipc code assigned before grant

Ipc: B05B 1/26 20060101ALI20210817BHEP

Ipc: B05B 1/30 20060101ALI20210817BHEP

Ipc: B05B 1/28 20060101ALI20210817BHEP

Ipc: B05B 15/522 20180101ALI20210817BHEP

Ipc: B05B 15/652 20180101ALI20210817BHEP

Ipc: E03C 1/04 20060101ALI20210817BHEP

Ipc: B05B 15/528 20180101ALI20210817BHEP

Ipc: B05B 1/18 20060101AFI20210817BHEP

INTG Intention to grant announced

Effective date: 20210910

GRAJ Information related to disapproval of communication of intention to grant by the applicant or resumption of examination proceedings by the epo deleted

Free format text: ORIGINAL CODE: EPIDOSDIGR1

STAA Information on the status of an ep patent application or granted ep patent

Free format text: STATUS: REQUEST FOR EXAMINATION WAS MADE

GRAP Despatch of communication of intention to grant a patent

Free format text: ORIGINAL CODE: EPIDOSNIGR1

STAA Information on the status of an ep patent application or granted ep patent

Free format text: STATUS: GRANT OF PATENT IS INTENDED

INTC Intention to grant announced (deleted)
INTG Intention to grant announced

Effective date: 20211022

GRAS Grant fee paid

Free format text: ORIGINAL CODE: EPIDOSNIGR3

GRAA (expected) grant

Free format text: ORIGINAL CODE: 0009210

STAA Information on the status of an ep patent application or granted ep patent

Free format text: STATUS: THE PATENT HAS BEEN GRANTED

AK Designated contracting states

Kind code of ref document: B1

Designated state(s): AL AT BE BG CH CY CZ DE DK EE ES FI FR GB GR HR HU IE IS IT LI LT LU LV MC MK MT NL NO PL PT RO RS SE SI SK SM TR

REG Reference to a national code

Ref country code: GB

Ref legal event code: FG4D

Free format text: NOT ENGLISH

REG Reference to a national code

Ref country code: CH

Ref legal event code: EP

REG Reference to a national code

Ref country code: AT

Ref legal event code: REF

Ref document number: 1470018

Country of ref document: AT

Kind code of ref document: T

Effective date: 20220315

REG Reference to a national code

Ref country code: IE

Ref legal event code: FG4D

Free format text: LANGUAGE OF EP DOCUMENT: GERMAN

REG Reference to a national code

Ref country code: DE

Ref legal event code: R096

Ref document number: 502019003465

Country of ref document: DE

REG Reference to a national code

Ref country code: LT

Ref legal event code: MG9D

REG Reference to a national code

Ref country code: NL

Ref legal event code: MP

Effective date: 20220223

PG25 Lapsed in a contracting state [announced via postgrant information from national office to epo]

Ref country code: SE

Free format text: LAPSE BECAUSE OF FAILURE TO SUBMIT A TRANSLATION OF THE DESCRIPTION OR TO PAY THE FEE WITHIN THE PRESCRIBED TIME-LIMIT

Effective date: 20220223

Ref country code: RS

Free format text: LAPSE BECAUSE OF FAILURE TO SUBMIT A TRANSLATION OF THE DESCRIPTION OR TO PAY THE FEE WITHIN THE PRESCRIBED TIME-LIMIT

Effective date: 20220223

Ref country code: PT

Free format text: LAPSE BECAUSE OF FAILURE TO SUBMIT A TRANSLATION OF THE DESCRIPTION OR TO PAY THE FEE WITHIN THE PRESCRIBED TIME-LIMIT

Effective date: 20220623

Ref country code: NO

Free format text: LAPSE BECAUSE OF FAILURE TO SUBMIT A TRANSLATION OF THE DESCRIPTION OR TO PAY THE FEE WITHIN THE PRESCRIBED TIME-LIMIT

Effective date: 20220523

Ref country code: NL

Free format text: LAPSE BECAUSE OF FAILURE TO SUBMIT A TRANSLATION OF THE DESCRIPTION OR TO PAY THE FEE WITHIN THE PRESCRIBED TIME-LIMIT

Effective date: 20220223

Ref country code: LT

Free format text: LAPSE BECAUSE OF FAILURE TO SUBMIT A TRANSLATION OF THE DESCRIPTION OR TO PAY THE FEE WITHIN THE PRESCRIBED TIME-LIMIT

Effective date: 20220223

Ref country code: HR

Free format text: LAPSE BECAUSE OF FAILURE TO SUBMIT A TRANSLATION OF THE DESCRIPTION OR TO PAY THE FEE WITHIN THE PRESCRIBED TIME-LIMIT

Effective date: 20220223

Ref country code: ES

Free format text: LAPSE BECAUSE OF FAILURE TO SUBMIT A TRANSLATION OF THE DESCRIPTION OR TO PAY THE FEE WITHIN THE PRESCRIBED TIME-LIMIT

Effective date: 20220223

Ref country code: BG

Free format text: LAPSE BECAUSE OF FAILURE TO SUBMIT A TRANSLATION OF THE DESCRIPTION OR TO PAY THE FEE WITHIN THE PRESCRIBED TIME-LIMIT

Effective date: 20220523

PG25 Lapsed in a contracting state [announced via postgrant information from national office to epo]

Ref country code: PL

Free format text: LAPSE BECAUSE OF FAILURE TO SUBMIT A TRANSLATION OF THE DESCRIPTION OR TO PAY THE FEE WITHIN THE PRESCRIBED TIME-LIMIT

Effective date: 20220223

Ref country code: LV

Free format text: LAPSE BECAUSE OF FAILURE TO SUBMIT A TRANSLATION OF THE DESCRIPTION OR TO PAY THE FEE WITHIN THE PRESCRIBED TIME-LIMIT

Effective date: 20220223

Ref country code: GR

Free format text: LAPSE BECAUSE OF FAILURE TO SUBMIT A TRANSLATION OF THE DESCRIPTION OR TO PAY THE FEE WITHIN THE PRESCRIBED TIME-LIMIT

Effective date: 20220524

Ref country code: FI

Free format text: LAPSE BECAUSE OF FAILURE TO SUBMIT A TRANSLATION OF THE DESCRIPTION OR TO PAY THE FEE WITHIN THE PRESCRIBED TIME-LIMIT

Effective date: 20220223

PG25 Lapsed in a contracting state [announced via postgrant information from national office to epo]

Ref country code: IS

Free format text: LAPSE BECAUSE OF FAILURE TO SUBMIT A TRANSLATION OF THE DESCRIPTION OR TO PAY THE FEE WITHIN THE PRESCRIBED TIME-LIMIT

Effective date: 20220623

PG25 Lapsed in a contracting state [announced via postgrant information from national office to epo]

Ref country code: SM

Free format text: LAPSE BECAUSE OF FAILURE TO SUBMIT A TRANSLATION OF THE DESCRIPTION OR TO PAY THE FEE WITHIN THE PRESCRIBED TIME-LIMIT

Effective date: 20220223

Ref country code: SK

Free format text: LAPSE BECAUSE OF FAILURE TO SUBMIT A TRANSLATION OF THE DESCRIPTION OR TO PAY THE FEE WITHIN THE PRESCRIBED TIME-LIMIT

Effective date: 20220223

Ref country code: RO

Free format text: LAPSE BECAUSE OF FAILURE TO SUBMIT A TRANSLATION OF THE DESCRIPTION OR TO PAY THE FEE WITHIN THE PRESCRIBED TIME-LIMIT

Effective date: 20220223

Ref country code: EE

Free format text: LAPSE BECAUSE OF FAILURE TO SUBMIT A TRANSLATION OF THE DESCRIPTION OR TO PAY THE FEE WITHIN THE PRESCRIBED TIME-LIMIT

Effective date: 20220223

Ref country code: DK

Free format text: LAPSE BECAUSE OF FAILURE TO SUBMIT A TRANSLATION OF THE DESCRIPTION OR TO PAY THE FEE WITHIN THE PRESCRIBED TIME-LIMIT

Effective date: 20220223

Ref country code: CZ

Free format text: LAPSE BECAUSE OF FAILURE TO SUBMIT A TRANSLATION OF THE DESCRIPTION OR TO PAY THE FEE WITHIN THE PRESCRIBED TIME-LIMIT

Effective date: 20220223

REG Reference to a national code

Ref country code: DE

Ref legal event code: R097

Ref document number: 502019003465

Country of ref document: DE

PG25 Lapsed in a contracting state [announced via postgrant information from national office to epo]

Ref country code: AL

Free format text: LAPSE BECAUSE OF FAILURE TO SUBMIT A TRANSLATION OF THE DESCRIPTION OR TO PAY THE FEE WITHIN THE PRESCRIBED TIME-LIMIT

Effective date: 20220223

PLBE No opposition filed within time limit

Free format text: ORIGINAL CODE: 0009261

STAA Information on the status of an ep patent application or granted ep patent

Free format text: STATUS: NO OPPOSITION FILED WITHIN TIME LIMIT

PG25 Lapsed in a contracting state [announced via postgrant information from national office to epo]

Ref country code: MC

Free format text: LAPSE BECAUSE OF FAILURE TO SUBMIT A TRANSLATION OF THE DESCRIPTION OR TO PAY THE FEE WITHIN THE PRESCRIBED TIME-LIMIT

Effective date: 20220223

REG Reference to a national code

Ref country code: CH

Ref legal event code: PL

26N No opposition filed

Effective date: 20221124

REG Reference to a national code

Ref country code: BE

Ref legal event code: MM

Effective date: 20220630

PG25 Lapsed in a contracting state [announced via postgrant information from national office to epo]

Ref country code: SI

Free format text: LAPSE BECAUSE OF FAILURE TO SUBMIT A TRANSLATION OF THE DESCRIPTION OR TO PAY THE FEE WITHIN THE PRESCRIBED TIME-LIMIT

Effective date: 20220223

PG25 Lapsed in a contracting state [announced via postgrant information from national office to epo]

Ref country code: LU

Free format text: LAPSE BECAUSE OF NON-PAYMENT OF DUE FEES

Effective date: 20220625

Ref country code: LI

Free format text: LAPSE BECAUSE OF NON-PAYMENT OF DUE FEES

Effective date: 20220630

Ref country code: IE

Free format text: LAPSE BECAUSE OF NON-PAYMENT OF DUE FEES

Effective date: 20220625

Ref country code: CH

Free format text: LAPSE BECAUSE OF NON-PAYMENT OF DUE FEES

Effective date: 20220630

PG25 Lapsed in a contracting state [announced via postgrant information from national office to epo]

Ref country code: BE

Free format text: LAPSE BECAUSE OF NON-PAYMENT OF DUE FEES

Effective date: 20220630

GBPC Gb: european patent ceased through non-payment of renewal fee

Effective date: 20230625

PG25 Lapsed in a contracting state [announced via postgrant information from national office to epo]

Ref country code: MK

Free format text: LAPSE BECAUSE OF FAILURE TO SUBMIT A TRANSLATION OF THE DESCRIPTION OR TO PAY THE FEE WITHIN THE PRESCRIBED TIME-LIMIT

Effective date: 20220223

Ref country code: CY

Free format text: LAPSE BECAUSE OF FAILURE TO SUBMIT A TRANSLATION OF THE DESCRIPTION OR TO PAY THE FEE WITHIN THE PRESCRIBED TIME-LIMIT

Effective date: 20220223

Ref country code: GB

Free format text: LAPSE BECAUSE OF NON-PAYMENT OF DUE FEES

Effective date: 20230625

PG25 Lapsed in a contracting state [announced via postgrant information from national office to epo]

Ref country code: HU

Free format text: LAPSE BECAUSE OF FAILURE TO SUBMIT A TRANSLATION OF THE DESCRIPTION OR TO PAY THE FEE WITHIN THE PRESCRIBED TIME-LIMIT; INVALID AB INITIO

Effective date: 20190625

PG25 Lapsed in a contracting state [announced via postgrant information from national office to epo]

Ref country code: MT

Free format text: LAPSE BECAUSE OF FAILURE TO SUBMIT A TRANSLATION OF THE DESCRIPTION OR TO PAY THE FEE WITHIN THE PRESCRIBED TIME-LIMIT

Effective date: 20220223

PGFP Annual fee paid to national office [announced via postgrant information from national office to epo]

Ref country code: DE

Payment date: 20250626

Year of fee payment: 7

PGFP Annual fee paid to national office [announced via postgrant information from national office to epo]

Ref country code: FR

Payment date: 20250624

Year of fee payment: 7

REG Reference to a national code

Ref country code: AT

Ref legal event code: MM01

Ref document number: 1470018

Country of ref document: AT

Kind code of ref document: T

Effective date: 20240625

PGFP Annual fee paid to national office [announced via postgrant information from national office to epo]

Ref country code: IT

Payment date: 20250623

Year of fee payment: 7

PG25 Lapsed in a contracting state [announced via postgrant information from national office to epo]

Ref country code: AT

Free format text: LAPSE BECAUSE OF NON-PAYMENT OF DUE FEES

Effective date: 20240625