EP3504755B2 - Federkraftklemmanschluss - Google Patents

Federkraftklemmanschluss Download PDF

Info

Publication number
EP3504755B2
EP3504755B2 EP17752398.2A EP17752398A EP3504755B2 EP 3504755 B2 EP3504755 B2 EP 3504755B2 EP 17752398 A EP17752398 A EP 17752398A EP 3504755 B2 EP3504755 B2 EP 3504755B2
Authority
EP
European Patent Office
Prior art keywords
spring
clamping
actuating
lever
bearing
Prior art date
Legal status (The legal status is an assumption and is not a legal conclusion. Google has not performed a legal analysis and makes no representation as to the accuracy of the status listed.)
Active
Application number
EP17752398.2A
Other languages
English (en)
French (fr)
Other versions
EP3504755B1 (de
EP3504755A1 (de
Inventor
Thomas Witte
Muhammet Ali TÜRKEKÖLE
Current Assignee (The listed assignees may be inaccurate. Google has not performed a legal analysis and makes no representation or warranty as to the accuracy of the list.)
Wago Verwaltungs GmbH
Original Assignee
Wago Verwaltungs GmbH
Priority date (The priority date is an assumption and is not a legal conclusion. Google has not performed a legal analysis and makes no representation as to the accuracy of the date listed.)
Filing date
Publication date
Family has litigation
First worldwide family litigation filed litigation Critical https://patents.darts-ip.com/?family=59631785&utm_source=google_patent&utm_medium=platform_link&utm_campaign=public_patent_search&patent=EP3504755(B2) "Global patent litigation dataset” by Darts-ip is licensed under a Creative Commons Attribution 4.0 International License.
Application filed by Wago Verwaltungs GmbH filed Critical Wago Verwaltungs GmbH
Priority to PL17752398T priority Critical patent/PL3504755T3/pl
Publication of EP3504755A1 publication Critical patent/EP3504755A1/de
Publication of EP3504755B1 publication Critical patent/EP3504755B1/de
Application granted granted Critical
Publication of EP3504755B2 publication Critical patent/EP3504755B2/de
Active legal-status Critical Current
Anticipated expiration legal-status Critical

Links

Images

Classifications

    • HELECTRICITY
    • H01ELECTRIC ELEMENTS
    • H01RELECTRICALLY-CONDUCTIVE CONNECTIONS; STRUCTURAL ASSOCIATIONS OF A PLURALITY OF MUTUALLY-INSULATED ELECTRICAL CONNECTING ELEMENTS; COUPLING DEVICES; CURRENT COLLECTORS
    • H01R4/00Electrically-conductive connections between two or more conductive members in direct contact, i.e. touching one another; Means for effecting or maintaining such contact; Electrically-conductive connections having two or more spaced connecting locations for conductors and using contact members penetrating insulation
    • H01R4/28Clamped connections, spring connections
    • H01R4/48Clamped connections, spring connections utilising a spring, clip, or other resilient member
    • H01R4/4809Clamped connections, spring connections utilising a spring, clip, or other resilient member using a leaf spring to bias the conductor toward the busbar
    • H01R4/4828Spring-activating arrangements mounted on or integrally formed with the spring housing
    • HELECTRICITY
    • H01ELECTRIC ELEMENTS
    • H01RELECTRICALLY-CONDUCTIVE CONNECTIONS; STRUCTURAL ASSOCIATIONS OF A PLURALITY OF MUTUALLY-INSULATED ELECTRICAL CONNECTING ELEMENTS; COUPLING DEVICES; CURRENT COLLECTORS
    • H01R4/00Electrically-conductive connections between two or more conductive members in direct contact, i.e. touching one another; Means for effecting or maintaining such contact; Electrically-conductive connections having two or more spaced connecting locations for conductors and using contact members penetrating insulation
    • H01R4/28Clamped connections, spring connections
    • H01R4/48Clamped connections, spring connections utilising a spring, clip, or other resilient member
    • H01R4/4809Clamped connections, spring connections utilising a spring, clip, or other resilient member using a leaf spring to bias the conductor toward the busbar
    • H01R4/48185Clamped connections, spring connections utilising a spring, clip, or other resilient member using a leaf spring to bias the conductor toward the busbar adapted for axial insertion of a wire end
    • H01R4/4819Clamped connections, spring connections utilising a spring, clip, or other resilient member using a leaf spring to bias the conductor toward the busbar adapted for axial insertion of a wire end the spring shape allowing insertion of the conductor end when the spring is unbiased
    • H01R4/4821Single-blade spring
    • HELECTRICITY
    • H01ELECTRIC ELEMENTS
    • H01RELECTRICALLY-CONDUCTIVE CONNECTIONS; STRUCTURAL ASSOCIATIONS OF A PLURALITY OF MUTUALLY-INSULATED ELECTRICAL CONNECTING ELEMENTS; COUPLING DEVICES; CURRENT COLLECTORS
    • H01R4/00Electrically-conductive connections between two or more conductive members in direct contact, i.e. touching one another; Means for effecting or maintaining such contact; Electrically-conductive connections having two or more spaced connecting locations for conductors and using contact members penetrating insulation
    • H01R4/28Clamped connections, spring connections
    • H01R4/48Clamped connections, spring connections utilising a spring, clip, or other resilient member
    • H01R4/4809Clamped connections, spring connections utilising a spring, clip, or other resilient member using a leaf spring to bias the conductor toward the busbar
    • H01R4/4828Spring-activating arrangements mounted on or integrally formed with the spring housing
    • H01R4/4835Mechanically bistable arrangements, e.g. locked by the housing when the spring is biased
    • HELECTRICITY
    • H01ELECTRIC ELEMENTS
    • H01RELECTRICALLY-CONDUCTIVE CONNECTIONS; STRUCTURAL ASSOCIATIONS OF A PLURALITY OF MUTUALLY-INSULATED ELECTRICAL CONNECTING ELEMENTS; COUPLING DEVICES; CURRENT COLLECTORS
    • H01R4/00Electrically-conductive connections between two or more conductive members in direct contact, i.e. touching one another; Means for effecting or maintaining such contact; Electrically-conductive connections having two or more spaced connecting locations for conductors and using contact members penetrating insulation
    • H01R4/28Clamped connections, spring connections
    • H01R4/48Clamped connections, spring connections utilising a spring, clip, or other resilient member
    • H01R4/4809Clamped connections, spring connections utilising a spring, clip, or other resilient member using a leaf spring to bias the conductor toward the busbar
    • H01R4/4846Busbar details
    • H01R4/4852Means for improving the contact with the conductor, e.g. uneven wire-receiving surface

Definitions

  • the invention relates to a spring-loaded clamp connection according to the preamble of claim 1, in particular a spring-loaded clamp connection for connecting an electrical conductor with an insulating housing, a busbar and a clamping spring which has a contact leg, a spring arch, a clamping leg and an actuating section, wherein the clamping leg has a clamping edge and the clamping edge with the busbar forms a clamping point for clamping the electrical conductor between the clamping edge and the busbar, and with an actuating element which is movably mounted in the insulating housing and is designed to apply force to the actuating section.
  • EP 2 400 595 A1 shows a connection terminal with an insulating housing and with at least one spring clamp unit with a clamping spring and a busbar section in the insulating housing.
  • An actuating lever is provided which is pivotably arranged in the insulating housing and which, when moved, exerts a tensile force on the clamping spring which acts counter to the spring force.
  • a movable tab is provided which is formed in one piece with the insulating housing and which delimits an actuating channel for an actuating tool and is suspended in an actuating section of a leg spring.
  • EP 2 234 211 A1 discloses a spring clamp connection for an electrical conductor with a carriage accommodated in an insulating housing in a linearly movable manner, which can be moved longitudinally opposite the contact leg of the contact body to open it at the clamping point.
  • the carriage has a deflection slope at its end facing the interior of the housing, which interacts with the clamping arm of the contact spring.
  • the carriage which is accessible from the outside, can be moved into the interior of the housing by pressing with a finger and has through-openings for receiving electrical conductors.
  • a similar design of a spring-loaded terminal with a pusher that can be moved linearly inside the insulating housing is shown in the EN 10 2006 018 129 B4 described.
  • an actuating leg is arranged on the side of the clamping leg, on which the area acted upon by the opener is located.
  • EN 10 2013 110 789 B3 shows an adapter for contacting busbars.
  • a connecting structure is provided that presses on spring terminals and is displaced by means of a common lever switch.
  • From the EP 2 849 287 A1 is an electrical connection device with at least one conductor in a terminal, which belongs to an electrical device. From the EN 10 2004 045 026 B3 An electrical connection or connecting terminal is known. From the EN 20 2015 103 176 U1 A terminal block wiring device is known. From the US 2016/0020543 A1 An electrical connection device with a spring clamp contact and a compact actuator as well as a four-pin connector with a large number of spring clamp contacts is known. DE 20 2009 002 324 U1 A connection terminal for connecting conductor ends is known, which corresponds to the preamble of claim 1.
  • the object of the present invention is to provide an improved spring-loaded terminal connection.
  • the actuating element is mounted in the insulating material housing so that it can be moved linearly and extends from the actuating section of the clamping spring beyond a plane spanned by the support surface of the contact leg on the busbar or the insulating material housing.
  • the actuating element is designed to apply force to the actuating section of the clamping spring on the side of the actuating section which faces away from the support surface of the contact leg on the busbar.
  • the clamping spring can be opened by reaching under or behind the actuating section in the pulling direction of the clamping spring, so that the linearly displaceable actuating element moves the clamping leg when the actuating lever is moved, e.g. by pivoting it in the direction of the contact leg.
  • the linearly displaceable actuating element can be guided past the clamping spring, e.g. to the side or, if necessary, in front of or behind the clamping spring, and extends from the actuating section of the clamping spring to beyond a plane that is spanned by the contact leg's support surface on the busbar or by the insulating housing.
  • a pivoting actuating lever can act on the actuating element that is positioned on the side of the spring-loaded terminal connection diametrically opposite the actuating leg.
  • the actuating element can be guided in a linearly displaceable manner by guide contours in the insulating housing and/or the clamping spring.
  • the guide can be limited by stops to prevent excessive deflection of the clamping leg.
  • the actuating element can have a bearing section for an actuating lever.
  • the bearing section and the support surface are coordinated with one another in such a way that the actuating element can be moved linearly, for example by pivoting the actuating lever supported on the support surface of the insulating housing and supported against the bearing section of the actuating element. There can then be a free space between the bearing section and the insulating housing to accommodate the actuating lever, delimited by a support surface of the insulating housing.
  • the actuating lever can be a part that is pivotably connected to the actuating element or a separate actuating tool that can be inserted into the spring-loaded terminal connection if required.
  • the bearing that connects the actuating lever to the actuating element can be designed as a pivot bearing for the actuating lever.
  • This provides the actuating lever as a functional component of the spring-loaded terminal connection.
  • This actuating lever can, for example, be a pivot lever made of insulating material that is hinged to the actuating element with the pivot bearing. The position of this pivot bearing is then coordinated with the actuating lever and the actuating element so that when the actuating lever is pivoted, the actuating element is moved linearly.
  • the insulating housing provides a support surface for the actuating lever that acts as a counter bearing.
  • Such an actuating lever can have a lever arm section and a pressure arm section which protrude in different directions from the pivot bearing.
  • the lever arm section and the pressure arm section can protrude in opposite directions.
  • the pressure arm section can then extend at an obtuse angle (greater than 90°) to the longitudinal axis of the lever arm section leading through the pivot bearing.
  • the lever arm section and the pressure arm section can be located on the same side of the pivot bearing, i.e. extend away from the pivot bearing on the same side of the actuating element.
  • the pressure arm section is then at an acute angle (less than 90°) to the longitudinal axis of the lever arm section leading through the pivot bearing. This enables an even more compact embodiment with a force transmission in which actuation takes place by exerting a pressure force on the lever arm section.
  • the actuating lever has a plain bearing support contour to form a plain bearing with the support surface of the insulating housing.
  • This support contour can be, for example, a rounded/curved contour or an angular contour, which reduces the contact surface compared to a full-surface support. This ensures that the actuating lever, which is linked to the actuating element with the pivot bearing, slides along the support surface when pivoting in order to cause a linear displacement of the actuating element.
  • the actuating lever can be a (separate) actuating tool that can be inserted into the free space.
  • the actuating element then has a bearing surface opposite the support surface of the insulating housing.
  • the support surface and the bearing surface are arranged offset from one another in the direction of extension of the actuating tool inserted into the free space.
  • a bearing for linear displacement of the actuating element when the actuating tool is pivoted is provided on the one hand by the support surface of the insulating housing and on the other hand by a bearing surface on the actuating element opposite the support surfaces.
  • the free space for receiving an actuating tool is then located between this pair of offset support surface and bearing surface.
  • the actuating element can have a guide wall arranged laterally next to the clamping spring and mounted on the insulating housing so that it can be moved linearly, and a finger protruding from the guide wall under the actuating section.
  • the finger is arranged in such a way that it comes into contact with the actuating section on the side of the actuating section that faces away from the contact leg and moves the actuating section in the direction of the contact leg of the clamping spring by applying force.
  • the clamping spring can be a U-shaped bent leg spring.
  • the actuating section of the clamping spring is then arranged at a distance from the clamping edge on the clamping leg or is connected to the clamping leg.
  • the actuating section thus acts on the clamping leg in order to move the clamping leg by applying force to the actuating section so that the clamping point formed by the clamping edge and the busbar is opened for clamping an electrical conductor.
  • the actuating section of the clamping spring can be formed on a tab that protrudes laterally from the clamping leg.
  • the actuating section thus forms a part that is integrally connected to the clamping leg and protrudes laterally from the clamping leg.
  • the actuating section of the clamping spring can also be designed as a frame element.
  • the frame element can be formed from a side web and a cross web protruding from the side web.
  • the frame element can also have two side webs connected to the clamping leg and spaced from one another and a cross web connecting the side webs.
  • a clamping tongue provided with the clamping edge protrudes from the clamping leg between the side webs.
  • the cross web is then positioned upstream and/or downstream of the clamping edge in the insertion direction. The frame element is thus formed from the clamping leg.
  • the clamping tongue which carries the clamping edge, is then aligned relative to the frame element in such a way that the clamping edge of the clamping tongue is not covered by the cross web, at least when a conductor is inserted and clamped, and can clamp the electrical conductor.
  • the crossbar can have a further clamping edge for clamping an electrical conductor or can form such a clamping edge.
  • the crossbar and the clamping tongue are then aligned in relation to the plane of the busbar and an electrical conductor lying against it in such a way that the clamping edge of the clamping tongue and the clamping edge of the crossbar are arranged one behind the other in the conductor insertion direction.
  • the crossbar can be positioned upstream or downstream of the clamping edge of the clamping tongue in the conductor insertion direction.
  • a clamping spring with such a frame element on the clamping leg also has advantages regardless of the existence or embodiment as an actuating element.
  • a spring-loaded clamping connection for clamping an electrical conductor with an insulating housing, a busbar and a clamping spring which has a contact leg, a spring arch, a clamping leg and an actuating section, offers further advantages.
  • the clamping leg has a clamping edge which, with the busbar, forms a clamping point for clamping the electrical conductor between the clamping edge and the busbar.
  • the actuating section of the clamping spring is then designed as a frame element which, for example, has two side webs connected to the clamping leg and spaced apart from one another and optionally a cross web connecting the side webs, wherein a clamping tongue provided with the clamping edge protrudes from the clamping leg between the at least one side web or at a distance therefrom and the cross web is positioned upstream or downstream of the clamping edge in the insertion direction.
  • the crossbar has a further clamping edge for clamping an electrical conductor.
  • the crossbar is optional for this actuating section of the clamping spring, which is designed as a frame element.
  • the frame element can also be formed by just two side bars connected to the clamping leg and spaced apart from each other. This eliminates the need for another clamping edge.
  • the advantage remains that the actuating section can be stabilized with the help of the side bars, particularly when the actuating element is acting on one side.
  • the clamping point can be opened by applying force to the actuating section in a structurally suitable manner.
  • the actuating lever can be aligned in the direction of the electrical conductor to be clamped, for example. This makes handling both the electrical conductor and the operating lever easier. However, an embodiment is also conceivable in which the operating arm of the operating lever is aligned away from the electrical conductor to be connected.
  • the insulating housing of the spring-loaded clamp connection in the previously described embodiments can have a recess, with the support surface for the actuating lever being arranged in the recess.
  • the counter bearing for the actuating lever provided by the support surface is thus arranged at a smaller distance from the actuating section of the clamping spring than the bearing section of the actuating element. This enables an even more compact design of the spring-loaded clamp connection with good kinematics.
  • the insulating housing can have a surface section which is aligned to hold the operating lever in an over-center position or rest position.
  • This surface section can, for example, be a stop surface adjacent to the support surface of the insulating housing for the pressure arm section of the actuating lever. This is arranged in the pivoting direction of the actuating lever towards the open position in such a way that the pressure arm section can be guided past the connecting line between the pivot bearing and the contact of the actuating element on the actuating section of the clamping spring and only hits the stop surface behind this connecting line in the pivoting direction in order to prevent further pivoting and to hold the actuating lever in this over-center position.
  • This surface section can also be a step that is opposite a bearing surface on the actuating element for guiding a separate actuating tool or a rest surface that adjoins the bearing surface. In the open position, the end of the actuating tool then rests on the step and is held on the step with a force that is transmitted to the actuating tool via the actuating element. in the direction of the step.
  • the object mentioned at the beginning is achieved by a spring-loaded clamp connection according to claim 1.
  • the clamping leg of the clamping spring is opened by a tensile force exerted by the tension element, which enables a mechanically favorable force transmission with a compact design of the spring-loaded clamp connection.
  • the operating lever can be designed to be particularly ergonomic.
  • An advantageous development of the invention relates to a spring-loaded clamp connection for clamping an electrical conductor, wherein the spring-loaded clamp connection has at least one clamping spring for clamping the electrical conductor to the spring-loaded clamp connection and at least one pivotable actuating lever for actuating the clamping spring, wherein the actuating lever can be moved back and forth between an open position in which a conductor clamping point formed with the clamping spring is open and a closed position in which the clamping point is closed, wherein the open position and the closed position form end positions of the pivoting movement of the actuating lever at which the actuating lever comes into contact with a mechanical stop, wherein the actuating lever can be pivoted beyond at least one of the end positions into an overpressure position without parts of the spring-loaded clamp connection being damaged or the actuating lever becoming detached from the spring-loaded clamp connection.
  • the spring-loaded clamp connection and in particular the bearing of the actuating lever can be protected from damage even if excessive force is applied.
  • the operating lever can therefore avoid excessive force to
  • the actuating element can be moved linearly by moving the actuating lever into the at least one over-pressing position. During this over-pressing movement of the actuating lever, the actuating element can thus at least partially continue its linear movement. Once the actuating lever has arrived in the over-pressing position, the actuating element can also be arranged in the same linear position as before in the end position close to the over-pressing position, i.e. the open position.
  • the actuating lever is rotatably mounted on the linearly displaceable actuating element, wherein the actuating lever follows the linear displacement of the actuating element when the actuating lever is moved into the at least one overpressure position.
  • the actuating lever can avoid the excessively high actuating force without causing damage to the actuating lever or its bearing.
  • the spring-loaded terminal connection has an overpressure contour formed on the insulating housing or another part of the spring-loaded terminal connection, along which the support contour guides when the actuating lever is moved into the overpressure position. In this way, the actuating lever can be safely guided into the overpressure position.
  • the overpressure contour runs at least in sections obliquely to the linear movement direction of the actuating element.
  • the overpressure contour can form a type of temporary stop in the end position of the actuating lever and at the same time bring about a suitable guidance of the actuating lever into the overpressure position.
  • the actuating force of the actuating lever increases when the actuating lever is moved from the end position to the overpressure position. This has the advantage that the user receives haptic information that the end position has been reached.
  • the operating lever is pivotably mounted on the spring clamp connection via a pivot bearing.
  • the operating lever can be attached to any holding part of the spring clamp connection, ie this holding part then contains bearing elements on the holding part side to form part of the pivot bearing.
  • This holding part of the spring clamp connection can be, for example, an area of the insulating housing or the operating element.
  • the operating lever has lever-side bearing elements of the pivot bearing.
  • one bearing element ie either the lever-side bearing elements or the holding part-side bearing elements, can be designed as a pin and the counterpart of the bearing element as a bearing hole, e.g. as a through hole. or as a blind hole.
  • the actuating lever is attached to a holding part of the spring-loaded clamp connection, in particular to the actuating element, in such a way that the actuating lever cannot be detached from the holding part without causing damage.
  • the spring-loaded clamp connection thus has a non-separable, prefabricated assembly which has at least the actuating lever and the holding part. In this way, assembly time can be saved when assembling the individual parts of the spring-loaded clamp connection.
  • the actuating lever is attached to a holding part of the spring-loaded clamp connection via a pivot bearing, wherein the actuating lever has lever-side bearing elements of the pivot bearing and the holding part has holding part-side bearing elements of the pivot bearing, wherein the holding part-side bearing elements are molded directly around the lever-side bearing elements or onto the lever-side bearing elements during manufacture.
  • This can be done, for example, by overmolding the lever-side bearing elements with the holding part-side bearing elements in a plastic injection molding process.
  • the material of the lever-side bearing elements has a different melting temperature than the material of the holding part-side bearing elements.
  • the melting temperature of the lever-side bearing elements can be higher than the melting temperature of the material of the holding part-side bearing elements. In this way, damage to the lever-side bearing elements is avoided during the molding process of the holding part-side bearing elements onto the lever-side bearing elements.
  • Figure 1 a shows a sketch of a spring-loaded terminal connection 1, which has an insulating housing 2 and a clamping spring 3 accommodated in the insulating housing 2, as well as a busbar 4.
  • the clamping spring 3 is mounted on the busbar 4 with a contact leg 5.
  • a holding frame 6 can extend away from a support section 7 of the busbar 4.
  • the clamping spring 3 is thus arranged self-supporting on the busbar 4, without exerting a significant force on the insulating housing 2.
  • An electrical conductor 8 is inserted into a conductor insertion channel (not shown) in the insulating housing 2 in the conductor insertion direction L into the insulating housing 2. It can then be guided in the open position shown between a clamping leg 9 of the clamping spring 3 and the support section 7 of the busbar 4 (contact section), so that a clamping edge 10 at the free end of the clamping leg 9 together with the busbar 4 forms a clamping point for clamping the electrical conductor 8. It is clear that the stripped end 11 of the electrical conductor 8 is positioned between the support section 7 and the clamping edge 10 and is guided through a conductor feedthrough opening 12 in a bearing section designed as a holding frame 6. A protruding contact edge can be present on the support section 7 of the busbar 4, onto which the contact force of the clamping spring 3 is concentrated when an electrical conductor 8 is clamped.
  • the clamping spring 3 is designed as a U-shaped leg spring with the contact leg 5, an adjoining spring arch 13 and the adjoining clamping leg 9.
  • an actuating element 14 is provided, which is installed in the insulating housing 2 so that it can be moved linearly.
  • the actuating element 14 engages under an actuating section 15 arranged on the clamping leg 9 in order to displace the clamping leg 9 in the direction of the contact leg 5 by linearly displacing the actuating element 14.
  • the actuating element 14 thus acts on the actuating section 15 of the clamping spring 3 on the side of the actuating section 15 facing away from the contact leg. This exerts a compressive force on the actuating section 15 in order to open the clamping point.
  • the actuating element 14 has a guide wall 16 which runs laterally past the clamping spring 3 and has a finger 17 arranged on the guide wall 16, which rests on the actuating section 15 in the open position shown.
  • an actuating lever 18 is pivotably mounted on the actuating element 14.
  • a pivot bearing 19 is provided on the actuating lever 18 and the actuating element 14.
  • the pivot bearing 19 can be designed, for example, as a pin bearing in which a pin dips into a bearing opening.
  • the pin can be provided on the actuating lever 18 or the actuating element 14 and the corresponding bearing opening can then be provided on another element, i.e. the actuating element 14 or the actuating lever 18.
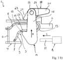
  • Figure 1 b) shows the spring clamp connection 1 from Figure 1 a) in the closed position.
  • the actuating lever 18 has now been pivoted downwards with its lever arm section 20 in the direction of the conductor insertion opening or in the direction of the clamping spring 3.
  • the actuating lever 18 has a pressure arm section 21 opposite the lever arm section 20.
  • This pressure arm section 21 interacts with a support surface 22 of the insulating housing 2 and rests on this support surface 22 of the insulating housing 2 at least when pivoting into the open position.
  • the pressure arm section 21 slides with its rounded support contour 23 along the surface of the support surface 22, so that a sliding bearing is formed.
  • the counter bearing is formed by the pivot bearing 19, as a result of which the actuating element 14 is then displaced linearly in the actuation direction B.
  • actuating element 14 In this embodiment of the spring-loaded clamp connection 1, not only one actuating element 14 can be present on one side of the clamping spring 3.
  • An embodiment is also conceivable in which two actuating elements 14 are arranged opposite one another, forming a free space for receiving the clamping spring 3 on both sides next to the clamping spring 3. The narrow edges of the contact leg 5 and the clamping leg 9 then each border on a Actuating element 14.
  • the actuating element 14 is not arranged laterally next to the clamping spring 3. It can also be arranged in another way adjacent to the clamping spring 3, for example upstream or downstream of the clamping spring 3 in the conductor insertion direction L.
  • the support surface 22 merges into a surface section in the form of a stop surface 24 that protrudes from the support surface 22.
  • This stop surface 24 is arranged in the pivoting direction of the actuating lever 18 towards the open position in such a way that the pressure arm section 21 can be guided past at least the connecting line between the pivot bearing 19 and the contact of the actuating element 14 on the actuating section 15 of the clamping spring 3 and only hits the stop surface 24 behind this connecting line in the pivoting direction in order to prevent further pivoting and to hold the actuating lever 18 in this over-center position.
  • an over-center position is ensured in any case when the pressure arm section 21 has passed the connecting line leading through the pivot bearing 19 and aligned in the actuation direction B and the stop surface 24 is arranged behind this connecting line in the pivoting direction towards the open position.
  • This connecting line is aligned parallel to the linear movement direction of the actuating element 14 and thus parallel to guide bearings (not shown) for the actuating element 14.
  • the stop surface 24 prevents further pivoting of the actuating lever 18 and the actuating lever 18 is held in an over-center position when the clamping point is open, with a force of the clamping spring 3 acting on the actuating element 14.
  • the pressure arm section 21 and the lever arm section 20 protrude from the common pivot bearing 19 in opposite directions.
  • the pressure arm section 21 and the lever arm section 20 are aligned with their main extension directions (e.g. central axes) at an obtuse angle (greater than 90°) to one another.
  • the interior angle between the pressure arm section 21 and the lever arm section 20 can, for example, be limited to a range of 180° to 120°.
  • Figure 2 a shows a sketch of a second embodiment of the spring-loaded clamp connection 1.
  • the difference to the first embodiment lies in the design of the actuating lever 18.
  • the pressure arm section 21 is located on the same side of the pivot bearing 19 as the lever arm section 20.
  • the pressure arm section 21 and the lever arm section 20 are aligned with their main extension directions (e.g. central axes) at an acute angle (less than 90°) to one another.
  • the internal angle between the pressure arm section 21 and the lever arm section 20 can, for example, be limited to a range of 10° to 90°.
  • Figure 2 b shows a sketch of the second embodiment of the spring-loaded terminal connection 1 in the closed position.
  • the pressure arm section 21 is aligned opposite to the conductor insertion direction L, pointing towards the electrical conductor 8 to be inserted.
  • the lever arm section 20 protrudes upwards away from the insulating housing 2, as is the case in the first embodiment in the open position ( Figure 1 a) .
  • a stop surface 24 (not shown) can optionally be provided as in the first embodiment, which then only projects spatially offset from the support surface 22 on the opposite side of the pivot bearing 19, approximately in the space above the finger 17.
  • the actuation of the clamping spring 3 by pivoting the actuating lever 18 takes place in the first embodiment by exerting a tensile force on the lever arm section 20 and in the second embodiment by exerting a compressive force on the lever arm section 20.
  • Figure 3 a) shows a modification of the Figures 1 a) and 1 b) illustrated first embodiment of the spring-loaded terminal connection 1. It is clear that the actuating lever 18 is arranged in a mirrored manner, so that the lever arm section in the closed position is aligned in the conductor insertion direction L. Here too, actuation takes place by exerting a pulling force on the actuating lever 18.
  • a stop surface 24 (not shown) can optionally be provided as in the first embodiment, which then protrudes from the support surface 22 on the opposite side approximately in the space above the finger 17.
  • Figure 3 b) shows a modification of the Figures 2 a) and 2 b) shown second embodiment of the spring clamp connection 1. It is clear that the actuating lever 18 is arranged in a mirrored manner, so that the lever arm section in the open position is aligned in the conductor insertion direction L. Here too, actuation takes place by exerting a pulling force on the actuating lever 18.
  • Stop surface 24 can be provided optionally as in the first embodiment.
  • Figure 4 shows a perspective view of a clamping spring 3 suitable for the previously described spring clamp connection 1, which is suspended with its contact leg 5 in the busbar 4.
  • a holding frame 6 with a holding opening 25 protrudes from the support section 7 of the busbar 4.
  • the free end of the contact leg 5 dips into this holding opening 25 in order to fix the clamping spring 3 in its position on the busbar 4.
  • the contact leg 5 is followed by a spring arch 13 which merges into the clamping leg 9.
  • the clamping leg 9 has a clamping tongue 26 which has the clamping edge 10 at its free end.
  • a frame element 27 is also connected to the clamping leg 9.
  • This frame element 27 has two side webs 28a, 28b which protrude from the clamping leg 9 and are integral with it and which can optionally be connected to one another at their end by a cross web 29.
  • the frame element 27 provides an actuating section onto which an actuating element 14 can exert an actuating force.
  • the cross web 29 can be omitted if the side webs 28a, 28b are suitably dimensioned. It is clear that the cross web 29 is located downstream of the clamping edge 10 in the conductor insertion direction L. In the rest position shown, the crossbar 29 can rest on the busbar 4 just like the clamping edge 10 of the clamping tongue 26.
  • a contact edge 30 is formed on the busbar 4.
  • the clamping edge 10 of the clamping tongue 26 is aligned such that, together with this contact edge 30, it forms a clamping point for clamping an electrical conductor 8, so that the clamping force of the clamping spring 3 is concentrated on the contact edge 30.
  • a plug contact socket 32 is formed on the busbar 4 by two fork tongues 31a, 31b.
  • Figure 5 a shows a third embodiment of a spring-cage terminal connection 1 with an insulating housing 2.
  • actuating lever 33 a separate actuating tool such as a screwdriver is provided as the actuating lever 33, which can be inserted into a free space 34 in the insertion direction E.
  • the actuating lever 33 designed as an actuating tool as indicated by the actuating lever 33 sketched in two positions and the arrow, the actuating element 35 can then be moved linearly in the insulating housing 2 in order to open the clamping point.
  • the conductor insertion channel 36 can be seen in the insulating housing 2, through which an electrical conductor 8 can be introduced into the interior of the insulating housing 2 in the conductor insertion direction L. This is still relatively large, but can have a reduced cross-section by snapping in a cover part (not shown) with a conductor guide opening made therein.
  • FIG 5 b shows a perspective rear view of the spring clamp connection 1 from Figure 5 a) A rear plug opening 37 for receiving a plug connector can now be seen, which leads to the plug contact socket 32.
  • the structure of the spring clamp connection 1 is shown in the sectional views with the Figure 6a ) in side view and the Figure 6 b) in the perspective view.
  • the actuating element 35 has a bearing surface 38 which lies opposite a support surface 39 of the insulating housing 2 in the free space 34.
  • the support surface 39 forms a pivot point D indicated by the arrow for the actuating tool (ie the actuating lever 33), which rests there on the insulating housing 2.
  • the opposite bearing surface 38 of the actuating element 35 forms a counter bearing along which the actuating tool slides when pivoted in the direction of the insulating housing 2.
  • the actuating element 35 is thereby displaced linearly upwards in the actuation direction B in order to move the clamping leg 9 of the clamping spring 3 (not shown) and to open the clamping point for clamping an electrical conductor 8 or for removing a clamped electrical conductor 8.
  • the actuating element 35 projects into the interior of the insulating housing 2 and has a finger 40 at its end. This finger engages under an actuating section of a clamping spring (not shown).
  • This actuating section can, for example, be a tab protruding laterally from the clamping shank 9.
  • bearing surface 38 of the actuating element 35 has a curved path shape pointing in the direction of the opposite support surface 39. It is also clear that the effective bearing surface 38 is arranged offset in the extension direction of the actuating tool (i.e. the actuating lever 33) or its insertion direction E to the support surface 39 of the insulating housing 2.
  • Figure 7 a omits spring clamp connection 1 Figures 5 a), 5b), 6a) and 6 b) in the open position in the side cut view and Figure 7 b) in the perspective sectional view.
  • actuating tool actuating lever 33
  • the actuating element 35 is now guided linearly out of the insulating housing 2 so far that the actuating tool rests on a rest surface 41 following the bearing surface 38.
  • the actuating tool (actuating lever 33) is inserted into the free space limited by the support surface 39 and the bearing surface 38 34 is introduced.
  • the free space 34 increases in the vertical direction (ie in the actuation direction B), the further the actuation lever 33 is inserted between the actuation element 35 and the insulating housing 2.
  • the actuation element 35 has two guide walls 42 spaced apart to accommodate the actuation lever 33, which are mounted in the insulating housing 2 so as to be linearly displaceable. At least one of the guide walls 42 has a finger 39 at its free end, which guides the actuation section 15 of the clamping leg 9 (not shown, but comparable to Figure 1 a) ).
  • This actuating section 15 can also be formed by the side webs 28 a, 28 b of the embodiment of Figure 4 or by the clamping tongue 26.
  • the free space 34 is designed as a channel pointing obliquely into the insulating housing 2 and adapted to the width of an actuating lever 33 designed as an actuating tool. This channel now expands when the actuating element 35 is moved linearly.
  • the free space 34 has a step 43 on its bottom, which is opposite the rest surface 41. In the open position according to Figure 7 a) and 7 b) the actuating tool can then be inserted into the free space 34 as shown so far that the free end of the actuating tool rests on the step 43 and the rest surface 41 acts on the actuating tool on the opposite side.
  • the clamping spring 3 exerts a spring force on the actuating element 35 via the support of the actuating section 15 of the clamping spring 3 on the finger 40, with which the actuating tool (ie the actuating lever 33) is clamped in the position shown.
  • the lever arm section 20 or the actuating lever 33 designed as an actuating tool can point towards or away from the conductor 8 to be clamped. Both variants can be implemented equally well, since the linear guide of the actuating element 14, 35 is independent of this.
  • the spring-loaded terminal connection 1 shown has an insulating housing 2 in which the other elements, including the busbar 4 and the clamping spring 3, are arranged and therefore in the illustrations of the Figure 8 are not visible.
  • the spring-loaded terminal connection 1 has an actuating lever 18, which is mounted on an actuating element 14 via a pivot bearing 19.
  • the actuating element 14 can in particular be shaped similarly to the Figures 5 a), 5 b) described actuating element 35.
  • the actuating lever 18 in turn has the lever arm section 20, via which it can be manually actuated.
  • the insulating housing 2 has a conductor insertion channel 36, into which an electrical conductor can be inserted.
  • the Figure 8 shows the spring clamp connection with the actuating lever 18 in the closed position ( Figure a), which forms one end position of the pivoting movement of the actuating lever 18.
  • the actuating lever is pivoted to the open position, which forms the other end position of the pivoting movement of the actuating lever 18.
  • Figure c it is shown that the actuating lever 18 is pivoted to an overpressure position by pivoting the actuating lever further beyond the end position corresponding to the closed position.
  • the Figure 9 shows the spring clamp connection according to Figure 8 in a side sectional view, with the actuating lever 18 in the open position.
  • the clamping spring 3 arranged in the insulating housing 2 with the clamping leg 9, the spring arch 13 and the contact leg 5 can be seen.
  • the contact leg 5 is attached to a holding frame 6 of the busbar 4. Since the actuating lever 18 is in the open position, the clamping leg 9 is deflected upwards via the support surface 39 of the actuating element 14, so that the clamping edge of the clamping leg 9 does not rest on the support section 7 of the busbar 4.
  • the actuating lever 18 has a support surface that extends over a first section 44 to a second section 45 that runs at an angle thereto. If the actuating lever 18 is in the closed position, the first section 44 of the support surface rests on the insulating housing 2. As can be seen, in the open position the lever 18 is supported on the insulating housing 2 via the second section 45 of the support surface and is loaded by the force of the clamping spring 3 against the insulating housing 2.
  • an obliquely extending overpressure contour 46 is connected to the area in which the actuating lever 18 rests on the insulating housing 2 in the open position. If the actuating lever 18 is in the open position ( Figure 9 ), the overpressure contour 46 forms a mechanical stop through which a user can feel that the actuating lever is in its end position.
  • overpressure is possible.
  • the Figure 10 shows the spring-loaded terminal connection with the actuating lever 18 in the overpressure position.
  • the second section 45 of the support surface of the actuating lever 18 has also overcome the overpressure section 46 and is located at a location behind it on the insulating housing 2 From this overpressure position, the actuating lever 18 can easily be moved back into the open position or the closed position without causing damage or loosening of the actuating lever 18.
  • the Figure 11 shows a further embodiment of the spring-loaded clamp connection, which corresponds to the previously explained embodiment in terms of the actuating lever 18 and its overpressure option.
  • the clamping spring 3 and most of the busbar 4 are not shown in this illustration, so that the position of the support surface 39 of the actuating element 14 in particular becomes clear, which forms a driver for the clamping section 9 or an actuating section of the clamping spring 3 formed thereon, corresponding to the actuating section 15.
  • the spring-loaded terminal connection can be designed with a plug contact socket 32 protruding from the insulating housing 2 with forked tongues 31a, 31b, which can be formed on the holding frame 6 of the busbar 4.
  • a contact pin 47 can be inserted into this plug contact socket 32.

Landscapes

  • Connections Arranged To Contact A Plurality Of Conductors (AREA)
  • Clamps And Clips (AREA)
  • Manufacturing Of Electrical Connectors (AREA)
  • Supports Or Holders For Household Use (AREA)
  • Electrotherapy Devices (AREA)
  • Input Circuits Of Receivers And Coupling Of Receivers And Audio Equipment (AREA)

Description

  • Die Erfindung betrifft einen Federkraftklemmanschluss gemäß dem Oberbegriff des Anspruchs 1, insbesondere einen Federkraftklemmanschluss zum Anschluss eines elektrischen Leiters mit einem Isolierstoffgehäuse, einer Stromschiene und einer Klemmfeder, die einen Anlageschenkel, einen Federbogen, einen Klemmschenkel und einen Betätigungsabschnitt hat, wobei der Klemmschenkel eine Klemmkante hat und die Klemmkante mit der Stromschiene eine Klemmstelle zum Anklemmen des elektrischen Leiters zwischen der Klemmkante und der Stromschiene bildet, und mit einem Betätigungselement, das beweglich in dem Isolierstoffgehäuse gelagert und zur Kraftbeaufschlagung des Betätigungsabschnittes ausgebildet ist.
  • Federkraftklemmanschlüsse der eingangs genannten Art sind in vielfältiger Form bekannt.
  • EP 2 400 595 A1 zeigt eine Anschlussklemme mit einem Isolierstoffgehäuse und mit mindestens einer Federklemmeinheit mit einer Klemmfeder und einem Stromschienenabschnitt in dem Isolierstoffgehäuse. Es ist ein schwenkbar in dem Isolierstoffgehäuse angeordneter Betätigungshebel vorgesehen, der bei Verlagerung eine entgegen der Federkraft wirkende Zugkraft auf die Klemmfeder ausübt. In einer Ausführungsform ist eine einstückig mit dem Isolierstoffgehäuse ausgebildete bewegliche Lasche vorgesehen, die einen Betätigungskanal für ein Betätigungswerkzeug begrenzt und in einen Betätigungsabschnitt einer Schenkelfeder eingehängt ist. Durch Verkippen des an der Isolierstofflasche anliegenden Betätigungswerkzeuges um einen gegenüberliegenden Drehpunkt am Isolierstoffgehäuse kann die Klemmstelle zwischen Schenkelfeder und einer Stromschiene geöffnet werden.
  • EP 2 234 211 A1 offenbart einen Federklemmanschluss für einen elektrischen Leiter mit einem linear beweglich in einem Isolierstoffgehäuse aufgenommenen Schlitten, der zum Öffnen an der Klemmstelle gegenüber dem Kontaktschenkel des Kontaktkörpers in Längsrichtung verfahrbar ist. Hierzu hat der Schlitten an seinem dem Innenraum des Gehäuses zugewandten Ende eine Auslenkschräge, die mit dem Klemmarm der Kontaktfeder zusammenwirkt. Der von außen zugängliche Schlitten ist durch einen Fingerdruck in den Innenraum des Gehäuses hinein verfahrbar und hat Durchtrittsöffnungen zur Aufnahme elektrischer Leiter.
  • Eine ähnliche Ausführungsform einer Federkraftklemme mit den im Innenraum des Isolierstoffgehäuses hinein linear verschiebbarem Drücker ist in der DE 10 2006 018 129 B4 beschrieben. Um das Verhältnis zwischen dem Verschiebeweg des Öffners und dem Schwenkweg des Klemmschenkels zu optimieren, ist seitlich am Klemmschenkel ein Betätigungsschenkel angeordnet, an dem sich der vom Öffner beaufschlagte Bereich befindet.
  • DE 10 2013 110 789 B3 zeigt einen Adapter zum Kontaktieren von Sammelschienen. Es ist eine Verbindungsstruktur vorgesehen, die auf Federklemmen drückt und mit Hilfe eines gemeinsamen Hebelschalters verlagert wird.
  • Aus der EP 2 849 287 A1 ist eine elektrische Anschlussvorrichtung mit mindestens einem Leiter in einer Klemme bekannt, die zu einem elektrischen Gerät gehört. Aus der DE 10 2004 045 026 B3 ist eine elektrische Anschluss- oder Verbindungsklemme bekannt. Aus der DE 20 2015 103 176 U1 ist eine Anschlussblock-Verdrahtungsvorrichtung bekannt. Aus der US 2016/0020543 A1 ist eine elektrische Anschlussvorrichtung mit einem Federkraftklemmkontakt und einem kompakten Aktuator sowie ein vierpoliger Steckverbinder mit einer Vielzahl von Federklemmkontakten bekannt. Aus der DE 20 2009 002 324 U1 ist eine Anschlussklemme zum Anschluss von Leiterenden bekannt, die dem Oberbegriff des Anspruchs 1 entspricht.
  • Ausgehend hiervon ist Aufgabe der vorliegenden Erfindung, einen verbesserten Federkraftklemmanschluss zu schaffen.
  • Die Aufgabe wird mit dem Federkraftklemmanschluss mit den Merkmalen des Anspruchs 1 gelöst. Vorteilhafte Ausführungsformen sind in den Unteransprüchen beschrieben.
  • Gemäß einer vorteilhaften Weiterbildung der Erfindung wird vorgeschlagen, dass das Betätigungselement linear verschiebbar in dem Isolierstoffgehäuse gelagert ist und sich von dem Betätigungsabschnitt der Klemmfeder über eine durch die Auflagerfläche des Anlageschenkels an der Stromschiene oder dem Isolierstoffgehäuse aufgespannte Ebene hinaus erstreckt. Das Betätigungselement ist zur Kraftbeaufschlagung des Betätigungsabschnitts der Klemmfeder auf der Seite des Betätigungsabschnitts, die der Auflagerfläche des Anlageschenkels an der Stromschiene abgewandt ist, ausgebildet.
  • Auf diese Weise kann ein sehr kompakter und hinsichtlich der Wirkung der Betätigungskraft optimierter Federkraftklemmanschluss geschaffen werden. Das Öffnen der Klemmfeder kann dabei durch Unter- bzw. Hintergreifen des Betätigungsabschnitts in Zugrichtung der Klemmfeder erfolgen, sodass das linear verschiebbare Betätigungselement den Klemmschenkel bei Verlagerung des Betätigungshebels z.B. durch Verschwenken in Richtung des Anlageschenkels bewegt. Das linear verschiebbare Betätigungselement kann dabei an der Klemmfeder z.B. seitlich oder ggf. auch vor oder hinter der Klemmfeder vorbeigeführt sein und erstreckt sich von dem Betätigungsabschnitt der Klemmfeder bis über eine Ebene hinaus, die mit der Auflagefläche des Anlageschenkels an der Stromschiene oder durch das Isolierstoffgehäuse aufgespannt wird. Damit kann z.B. schwenkbarer Betätigungshebel auf das Betätigungselement wirken, der auf der dem Betätigungsschenkel diametral gegenüberliegenden Seite des Federkraftklemmanschlusses positioniert ist.
  • Das Betätigungselement kann durch Führungskonturen im Isolierstoffgehäuse und/oder der Klemmfeder linear verschiebbar geführt sein. Dabei kann die Führung durch Anschläge begrenzt sein, um eine übermäßige Auslenkung des Klemmschenkels zu verhindern.
  • Das Betätigungselement kann einen Lagerabschnitt für einen Betätigungshebel haben. Der Lagerabschnitt und die Auflagerfläche sind derart aufeinander abgestimmt, dass das Betätigungselement z.B. durch Verschwenken des an der Auflagerfläche des Isolierstoffgehäuses aufgelagerten und an dem Lagerabschnitt des Betätigungselementes gegengelagerten Betätigungshebels linear verschiebbar ist. Zwischen dem Lagerabschnitt und dem Isolierstoffgehäuse kann dann ein durch eine Auflagerfläche des Isolierstoffgehäuses begrenzter Freiraum zur Aufnahme des Betätigungshebels vorhanden sein.
  • Der Betätigungshebel kann hierbei ein mit dem Betätigungselement schwenkbar verbundenes Teil oder aber auch ein separates, bedarfsweise in den Federkraftklemmanschluss einführbares Betätigungswerkzeug sein.
  • Das Lager, welches den Betätigungshebel mit dem Betätigungselement verbindet, kann als Schwenklager für den Betätigungshebel ausgestaltet sein. Damit wird der Betätigungshebel als Funktionsbestandteil des Federkraftklemmanschlusses bereitgestellt. Dieser Betätigungshebel kann beispielsweise ein aus Isolierstoffmaterial gebildeter Schwenkhebel sein, der mit dem Schwenklager an das Betätigungselement angelenkt ist. Die Lage dieses Schwenklagers ist dann so auf den Betätigungshebel und das Betätigungselement abgestimmt, dass bei Verschwenken des Betätigungshebels das Betätigungselement linear verschoben wird. Das Isolierstoffgehäuse stellt eine Auflagefläche für den Betätigungshebel bereit, die als Gegenlager wirkt.
  • Ein solcher Betätigungshebel kann einen Hebelarmabschnitt und einen Druckarmabschnitt haben, die ausgehend von dem Schwenklager in unterschiedliche Richtungen abragen.
  • In einer Ausführungsform können der Hebelarmabschnitt und der Druckarmabschnitt in entgegengesetzte Richtungen abragen. Der Druckarmabschnitt kann sich dann im stumpfen Winkel (größer 90°) zu der der durch das Schwenklager führenden Längsachse des Hebelarmabschnitts erstrecken. Dies hat den Vorteil, dass der mit der Auflagerfläche des Isolierstoffgehäuses zusammenwirkende Druckarmabschnitt nicht einfach dem freien Ende des Hebelarmabschnitts gegenüberliegt, sondern aus der Flucht des Hebelarmabschnitts heraus in Richtung Auflagerfläche geführt ist. Dies ermöglicht eine sehr kompakte Ausführungsform mit optimierter Kraftübertragung, bei der eine Betätigung durch Ausübung einer Zugkraft auf den Hebelarmabschnitt erfolgt.
  • In einer anderen Ausführungsform können sich der Hebelarmabschnitt und der Druckarmabschnitt auf der gleichen Seite des Schwenklagers befinden, d.h. sich an der gleichen Seite des Betätigungselementes von dem Schwenklager weg erstrecken. Der Druckarmabschnitt steht dann im spitzen Winkel (kleiner 90°) zu der der durch das Schwenklager führenden Längsachse des Hebelarmabschnitts. Dies ermöglicht eine noch kompaktere Ausführungsform mit einer Kraftübertragung, bei der eine Betätigung durch Ausübung einer Druckkraft auf den Hebelarmabschnitt erfolgt.
  • Der Betätigungshebel hat eine Gleitlager-Auflagerkontur zur Bildung einer Gleitlagerung mit der Auflagerfläche des Isolierstoffgehäuses haben. Diese Auflagerkontur kann z.B. eine gerundete / gekrümmte Kontur oder eine kantige Kontur sein, mit der die Kontaktfläche im Vergleich zu einer vollflächigen Auflage reduziert wird. Damit wird sichergestellt, dass der mit dem Schwenklager an das Betätigungselement angelenkte Betätigungshebel bei Verschwenken an der Auflagerfläche entlang gleitet, um eine Linearverschiebung des Betätigungselementes zu bewirken.
  • Der Betätigungshebel kann in einer anderen Ausführungsform ein in den Freiraum einführbares (separates) Betätigungswerkzeug sein. Das Betätigungselement hat dann eine der Auflagefläche des Isolierstoffgehäuses gegenüberliegende Lagerfläche. Die Auflagerfläche und die Lagerfläche sind in Erstreckungsrichtung des in dem Freiraum eingeführten Betätigungswerkzeuges versetzt zueinander angeordnet. Für ein solches separates Betätigungswerkzeug, wie beispielsweise ein Schraubendreher, wird ein Lager zur Linearverschiebung des Betätigungselementes bei Verschwenken des Betätigungswerkzeugs einerseits durch die Auflagerfläche des Isolierstoffgehäuses und andererseits durch eine der Auflagerflächen gegenüberliegende Lagerfläche am Betätigungselement bereitgestellt. Zwischen diesem Paar von versetzt zueinander angeordneter Auflagerfläche und Lagerfläche befindet sich dann der Freiraum zur Aufnahme eines Betätigungswerkzeuges.
  • Das Betätigungselement kann eine seitlich neben der Klemmfeder angeordnete und an dem Isolierstoffgehäuse linear verschiebbar gelagerte Führungswand und einen von der Führungswand unter den Betätigungsabschnitt ragenden Finger haben. Der Finger ist so angeordnet, um auf der Seite des Betätigungsabschnitts, die dem Anlageschenkel abgewandt ist, zur Anlage an dem Betätigungsabschnitt zu gelangen und durch Kraftbeaufschlagung den Betätigungsabschnitt in Richtung Anlageschenkel der Klemmfeder zu bewegen.
  • Der Begriff "unter" ist in diesem Zusammenhang somit als auf der Seite zu verstehen, die dem Anlageschenkel abgewandt ist.
  • Die Klemmfeder kann eine U-förmig gebogene Schenkelfeder sein. Der Betätigungsabschnitt der Klemmfeder ist dann im Abstand von der Klemmkante an dem Klemmschenkel angeordnet oder mit dem Klemmschenkel verbunden. Der Betätigungsabschnitt wirkt somit auf den Klemmschenkel, um durch Kraftbeaufschlagung des Betätigungsabschnitts den Klemmschenkel so zu bewegen, dass die durch die Klemmkante und die Stromschiene gebildete Klemmstelle zum Anklemmen eines elektrischen Leiters geöffnet wird.
  • Der Betätigungsabschnitt der Klemmfeder kann an einer seitlich von dem Klemmschenkel abragenden Lasche gebildet sein. Damit bildet der Betätigungsabschnitt ein integral mit dem Klemmschenkel verbundenes, seitlich vom Klemmschenkel abragendes Teil.
  • Der Betätigungsabschnitt der Klemmfeder kann aber auch als ein Rahmenelement ausgebildet sein. Das Rahmenelement kann aus einem Seitensteg und einem von dem Seitensteg abragenden Quersteg gebildet sein. Das Rahmenelement kann auch zwei mit dem Klemmschenkel verbundene und voneinander beabstandete Seitenstege und einen die Seitenstege verbindenden Quersteg aufweisen. Eine mit der Klemmkante versehene Klemmzunge ragt dabei von dem Klemmschenkel zwischen den Seitenstegen ab. Der Quersteg ist dann in Einsteckrichtung der Klemmkante vor- und/oder nachgelagert. Das Rahmenelement ist somit aus dem Klemmschenkel ausgeformt. Die Klemmzunge, welche die Klemmkante trägt, ist dann relativ zum Rahmenelement so ausgerichtet, dass die Klemmkante der Klemmzunge zumindest bei einem eingeführten und angeklemmten Leiter nicht von dem Quersteg verdeckt wird und den elektrischen Leiter anklemmen kann.
  • Der Quersteg kann eine weitere Klemmkante zum Anklemmen eines elektrischen Leiters haben oder eine solche Klemmkante ausbilden. Dann sind der Quersteg und die Klemmzunge so in Bezug auf die Ebene der Stromschiene und eines daran anliegenden elektrischen Leiters ausgerichtet, dass in Leitereinsteckrichtung die Klemmkante der Klemmzunge und die Klemmkante des Querstegs hintereinander angeordnet sind. Dabei kann der Quersteg in Leitereinsteckrichtung der Klemmkante der Klemmzunge vor- oder nachgelagert sein.
  • Die Ausbildung einer Klemmfeder mit einem solchen Rahmenelement an dem Klemmschenkel hat auch unabhängig von der Existenz oder der Ausführungsform als Betätigungselementes Vorteile. Insofern bietet ein Federkraftklemmanschluss zum Anklemmen eines elektrischen Leiters mit einem Isolierstoffgehäuse, einer Stromschiene und einer Klemmfeder, die einen Anlageschenkel, einen Federbogen, einen Klemmschenkel und einen Betätigungsabschnitt hat, weitere Vorteile. Der Klemmschenkel hat dabei eine Klemmkante, die mit der Stromschiene eine Klemmstelle zum Anklemmen des elektrischen Leiters zwischen der Klemmkante und der Stromschiene bildet. Der Betätigungsabschnitt der Klemmfeder ist dann als ein Rahmenelement ausgebildet, das beispielsweise zwei mit dem Klemmschenkel verbundene und voneinander beabstandete Seitenstege und optional einen die Seitenstege verbindenden Quersteg hat, wobei eine mit der Klemmkante versehene Klemmzunge von dem Klemmschenkel zwischen dem mindestens einen Seitensteg oder beabstandet dazu abragt und der Quersteg in Einsteckrichtung der Klemmkante vor- oder nachgelagert ist.
  • In einer weiteren vorteilhaften Ausführungsform eines solchen Federkraftklemmanschlusses hat der Quersteg eine weitere Klemmkante zum Anklemmen eines elektrischen Leiters.
  • Der Quersteg ist bei diesem als Rahmenelement ausgebildeten Betätigungsabschnitts der Klemmfeder optional. Das Rahmenelement kann auch nur durch zwei mit dem Klemmschenkel verbundenen und voneinander beabstandeten Seitenstegen gebildet sein. Dann entfällt zwar eine weitere Klemmkante. Es verbleibt aber der Vorteil, dass der Betätigungsabschnitt insbesondere bei einseitiger Beaufschlagung durch das Betätigungselement mit Hilfe der Seitenstege stabilisiert werden kann.
  • Das Öffnen der Klemmstelle gelingt durch Kraftbeaufschlagung des Betätigungsabschnitts auf konstruktiv geeignete Weise. Der Betätigungshebel kann dabei z.B. in Richtung des anzuklemmenden elektrischen Leiters hinweisend ausgerichtet
    sein. Dadurch wird die Handhabung sowohl des elektrischen Leiters, als auch des Betätigungshebels erleichtert. Denkbar ist aber z.B. auch eine Ausführungsform, bei welcher der Betätigungsarm des Betätigungshebels vom anzuklemmenden elektrischen Leiter wegweisend ausgerichtet ist.
  • Das Isolierstoffgehäuse des Federkraftklemmanschlusses in den vorbeschriebenen Ausführungsformen kann eine Vertiefung haben, wobei die Auflagerfläche für den Betätigungshebel in der Vertiefung angeordnet ist. Das durch die Auflagerfläche bereitgestellte Gegenlager für den Betätigungshebel wird auf diese Weise in einem geringeren Abstand zu dem Betätigungsabschnitt der Klemmfeder angeordnet, als der Lagerabschnitt des Betätigungselementes. Hierdurch wird ein noch kompakterer Aufbau des Federkraftklemmanschlusses bei guter Kinematik ermöglicht.
  • Um die Klemmfeder in der Offenstellung zu halten, bei der die Klemmstelle geöffnet ist, kann das Isolierstoffgehäuse einen Flächenabschnitt haben, der zum Halten des Betätigungshebels in einer Übertotpunktlage oder Ruhestellung ausgerichtet ist.
  • Dieser Flächenabschnitt kann beispielsweise eine sich an die Auflagerfläche des Isolierstoffgehäuses für den Druckarmabschnitt des Betätigungshebels angrenzende Anschlagfläche sein. Diese ist in Schwenkrichtung des Betätigungshebels zur Offenstellung hin so angeordnet, dass der Druckarmabschnitt an der Verbindungslinie zwischen dem Schwenklager und der Anlage des Betätigungselementes an dem Betätigungsabschnitt der Klemmfeder vorbeigeführt werden kann und in Schwenkrichtung erst hinter dieser Verbindungslinie an der Anschlagfläche anstößt, um ein weiteres Verschwenken zu verhindern und den Betätigungshebel in dieser Übertotpunktlage zu halten.
  • Dieser Flächenabschnitt kann aber auch eine Stufe sein, die einer Lagerfläche am Betätigungselement zur Führung eines separaten Betätigungswerkzeuges oder einer sich an die Lagerfläche anschließenden Ruhefläche gegenüberliegt. In der Offenposition liegt das Ende des Betätigungswerkzeuges dann auf der Stufe auf und wird mit einer Kraft auf der Stufe gehalten, die über das Betätigungselement auf das Betätigungswerkzeug in Richtung der Stufe wirkt.
  • Die eingangs genannte Aufgabe wird wie erwähnt gelöst durch einen Federkraftklemmanschluss gemäß Anspruch 1. Hierdurch können die zuvor erläuterten Vorteile realisiert werden. Im Unterschied zum Stand der Technik wird der Klemmschenkel der Klemmfeder durch eine durch das Zugelement ausgeübte Zugkraft geöffnet, was eine mechanisch günstige Kraftübertragung bei kompakter Bauweise des Federkraftklemmanschlusses ermöglicht. Zudem kann der Betätigungshebel besonders ergonomisch ausgebildet werden.
  • Eine vorteilhafte Weiterbildung der Erfindung betrifft einen Federkraftklemmanschluss zum Anklemmen eines elektrischen Leiters, wobei der Federkraftklemmanschluss wenigstens eine Klemmfeder zum Festklemmen des elektrischen Leiters am Federkraftklemmanschluss und wenigstens einen verschwenkbaren Betätigungshebel zum Betätigen der Klemmfeder aufweist, wobei der Betätigungshebel zwischen einer geöffneten Position, in der eine mit der Klemmfeder gebildete Leiterklemmstelle geöffnet ist, und einer geschlossenen Position, in der die Klemmstelle geschlossen ist, hin- und herbewegt werden kann, wobei die geöffnete Position und die geschlossene Position Endpositionen der Verschwenkbewegung des Betätigungshebels bilden, an denen der Betätigungshebel an einem mechanischen Anschlag zur Anlage kommt, wobei der Betätigungshebel über wenigstens eine der Endpositionen hinaus in eine Überdrückposition verschwenkbar ist, ohne dass dabei Teile des Federkraftklemmanschlusses beschädigt werden oder der Betätigungshebel sich vom Federkraftklemmanschluss löst. Auf diese Weise kann der Federkraftklemmanschluss und insbesondere die Lagerung des Betätigungshebels vor Beschädigungen auch bei zu hoher Krafteinwirkung geschützt werden. Der Betätigungshebel kann der zu hohen Krafteinwirkung somit in einem gewissen Umfang ausweichen, da er einen gewissen Leerlauf oder Leerweg aufweist.
  • Gemäß einer vorteilhaften Weiterbildung der Erfindung ist vorgesehen, dass durch das Bewegen des Betätigungshebels in die wenigstens eine Überdrückposition das Betätigungselement linear verschiebbar ist. Bei dieser Überdrückbewegung des Betätigungshebels kann somit das Betätigungselement seine Linearbewegung zumindest teilweise weiterführen. Ist der Betätigungshebel in der Überdrückposition angekommen, kann das Betätigungselement auch wieder in der gleichen Linearposition angeordnet sein wie zuvor in der der Überdrückposition nahegelegenen Endposition, d.h. der geöffneten Position.
  • Gemäß einer vorteilhaften Weiterbildung der Erfindung ist vorgesehen, dass der Betätigungshebel an dem linear verschiebbaren Betätigungselement drehbar gelagert ist, wobei der Betätigungshebel beim Bewegen des Betätigungshebels in die wenigstens eine Überdrückposition die Linearverschiebung des Betätigungselementes mitmacht. Auf diese Weise kann der Betätigungshebel der zu hohen einwirkenden Betätigungskraft ausweichen, ohne dass es zu Beschädigungen am Betätigungshebel oder dessen Lagerung kommt.
  • Gemäß einer vorteilhaften Weiterbildung der Erfindung ist vorgesehen, dass der Federkraftklemmanschluss eine am Isolierstoffgehäuse oder einem anderen Teil des Federkraftklemmanschlusses ausgebildete Überdrückkontur aufweist, auf der die Auflagerkontur beim Bewegen des Betätigungshebels in die Überdrückposition entlangleitet. Auf diese Weise kann der Betätigungshebel sicher in die Überdrückposition geführt werden.
  • Gemäß einer vorteilhaften Weiterbildung der Erfindung ist vorgesehen, dass die Überdrückkontur zumindest abschnittsweise schräg zur Linear-Bewegungsrichtung des Betätigungselementes verläuft. Auf diese Weise kann die Überdrückkontur eine Art temporären Anschlag in der Endposition des Betätigungshebels bilden und zugleich eine geeignete Führung des Betätigungshebels in die Überdrückposition bewirken.
  • Gemäß einer vorteilhaften Weiterbildung der Erfindung ist vorgesehen, dass die Betätigungskraft des Betätigungshebels beim Bewegen des Betätigungshebels von der Endposition in die Überdrückposition ansteigt. Dies hat den Vorteil, dass der Anwender auf haptischem Wege die Information erhält, dass an sich die Endposition erreicht ist.
  • Der Betätigungshebel ist, wie erwähnt, über ein Schwenklager an dem Federkraftklemmanschluss verschwenkbar gelagert. Der Betätigungshebel kann dabei an irgendeinem Halteteil des Federkraftklemmanschlusses befestigt sein, d.h. dieses Halteteil beinhaltet dann halteteilseitige Lagerelemente zur Bildung eines Teils des Schwenklagers. Dieses Halteteil des Federkraftklemmanschlusses kann z.B. ein Bereich des Isolierstoffgehäuses oder das Betätigungselement sein. Der Betätigungshebel weist dabei hebelseitige Lagerelemente des Schwenklagers auf. Hierbei können die einen Lagerelemente, d.h. entweder die hebelseitigen Lagerelemente oder die halteteilseitigen Lagerelemente, als Zapfen und das Gegenstück des Lagerelementes als Lagerungsloch ausgebildet sein, z.B. als Durchgangsloch oder als Sackloch.
  • Gemäß einer vorteilhaften Weiterbildung der Erfindung ist vorgesehen, dass der Betätigungshebel an einem Halteteil des Federkraftklemmanschlusses befestigt ist, insbesondere an dem Betätigungselement befestigt ist, und zwar derart, dass der Betätigungshebel von dem Halteteil nicht zerstörungsfrei lösbar ist. Der Federkraftklemmanschluss weist somit eine nicht trennbare, vorgefertigte Baugruppe auf, die zumindest den Betätigungshebel und das Halteteil aufweist. Auf diese Weise kann Montagezeit bei der Montage der Einzelteile des Federkraftklemmanschlusses eingespart werden.
  • Gemäß einer vorteilhaften Weiterbildung der Erfindung ist vorgesehen, dass der Betätigungshebel über ein Schwenklager an einem Halteteil des Federkraftklemmanschlusses befestigt ist, wobei der Betätigungshebel hebelseitige Lagerelemente des Schwenklagers und das Halteteil halteteilseitige Lagerelemente des Schwenklagers aufweist, wobei die halteteilseitigen Lagerelemente bei der Herstellung direkt formschlüssig um die hebelseitigen Lagerelemente oder an den hebelseitigen Lagerelementen angeformt sind. Dies kann z.B. dadurch erfolgen, dass die hebelseitigen Lagerelemente in einem Kunststoffspritzprozess mit den halteteilseitigen Lagerelementen umspritzt werden.
  • Gemäß einer vorteilhaften Weiterbildung der Erfindung ist vorgesehen, dass das Material der hebelseitigen Lagerelemente eine andere Schmelztemperatur aufweist als das Material der halteteilseitigen Lagerelemente. So kann insbesondere die Schmelztemperatur der hebelseitigen Lagerelemente höher sein als die Schmelztemperatur des Materials der halteteilseitigen Lagerelemente. Auf diese Weise wird beim Anformprozess der halteteilseitigen Lagerelemente an die hebelseitigen Lagerelemente eine Beschädigung der hebelseitigen Lagerelemente vermieden.
  • Die zuvor erwähnten Vorteile lassen sich zudem erzielen durch ein Verfahren zur Herstellung eines Federkraftklemmanschlusses zum Anklemmen eines elektrischen Leiters, wobei der Federkraftklemmanschluss wenigstens eine Klemmfeder zum Festklemmen des elektrischen Leiters am Federkraftklemmanschluss und wenigstens einen verschwenkbaren Betätigungshebel zum Betätigen der Klemmfeder aufweist, der über ein Schwenklager an einem Halteteil des Federkraftklemmanschlusses befestigt ist, mit den Schritten:
    1. a) Herstellen des Betätigungshebels mit hebelseitigen Elementen des Schwenklagers,
    2. b) Herstellen des Halteteils des Federkraftklemmanschlusses, an dem der Betätigungshebel gelagert ist, indem das Halteteil mit halteteilseitigen Lagerelementen des Schwenklagers um die hebelseitigen Lagerelemente des Schwenklagers herum geformt wird, sodass die hebelseitigen Lagerelemente des Schwenklagers während des Herstellprozesses des Halteteils von den halteteilseitigen Lagerelementen des Schwenklagers aufgenommen werden,
    3. c) Fertigstellen des Federkraftklemmanschlusses mit der Baugruppe aus dem Betätigungshebel und dem Halteteil des Federkraftklemmanschlusses, an dem der Betätigungshebel befestigt ist, sowie den weiteren Elementen des Federkraftklemmanschlusses einschließlich der Klemmfeder.
  • Die Erfindung wird nachfolgend anhand von Ausführungsbeispielen näher erläutert. Es zeigen:
  • Figur 1 a) -
    Skizze einer ersten Ausführungsform eines Federkraftklemmanschlusses in einer Offen-Position mit eingeführtem elektrischem Leiter und schwenkbarem Zugbetätigungshebel;
    Figur 1 b) -
    Skizze des Federkraftklemmanschlusses aus Figur 1 a) in der geschlossenen Position;
    Figur 2 a) -
    Skizze einer zweiten Ausführungsform eines Federkraftklemmanschlusses in einer Offen-Position mit eingeführtem elektrischem Leiter und schwenkbarem Druckbetätigungshebel;
    Figur 2 b) -
    Skizze des Federkraftklemmanschlusses aus Figur 2 a) in der geschlossenen Position;
    Figur 3 a) -
    Skizze einer Abwandlung der ersten Ausführungsform eines Federkraftklemmanschlusses in der Offen-Position mit in Leitereinsteckrichtung weisendem Zugbetätigungshebel;
    Figur 3 b) -
    Skizze einer Abwandlung der zweiten Ausführungsform eines Federkraftklemmanschlusses in der Offen-Position mit in Leitereinsteckrichtung weisendem Druckbetätigungshebel;
    Figur 4 -
    Perspektivische Ausschnittansicht einer an einer Stromschiene gelagerten Klemmfeder mit Rahmenelement;
    Figur 5 a) -
    Perspektivische Ansicht einer dritten Ausführungsform eines Federkraftklemmanschlusses mit separaten Betätigungswerkzeug als Betätigungshebel und Blick auf eine Steckkontaktöffnung;
    Figur 5 b) -
    Perspektivische Ansicht des Federkraftklemmanschlusses aus Figur 5 a) mit Blick auf den Leitereinführungskanal;
    Figur 6 a) -
    Seitenschnittansicht des Federkraftklemmanschlusses aus Figuren 5 a) und 5 b) mit eingeführtem Betätigungswerkzeug;
    Figur 6 b) -
    Perspektivische Schnittansicht des Federkraftklemmanschlusses aus Figuren 5 a) und 5 b) mit eingeführtem Betätigungswerkzeug;
    Figur 7 a) -
    Seitenschnittansicht des Federkraftklemmanschlusses aus Figuren 5 a) und 5 b) mit Betätigungswerkzeug in der Offenposition;
    Figur 7 b) -
    Perspektivische Schnittansicht des Federkraftklemmanschlusses aus Figuren 5 a) und 5 b) mit Betätigungswerkzeug in der Offenposition;
    Figur 8 -
    perspektivische Ansichten einer weiteren Ausführungsform eines Federkraftklemmanschlusses in unterschiedlichen Stellungen des Betätigungshebels;
    Figur 9, 10-
    der Federkraftklemmanschluss gemäß Figur 8 in seitlichen Schnittdarstellungen;
    Figur 11 -
    eine weitere Ausführungsform eines Federkraftklemmanschlusses in seitlicher Schnittdarstellung.
  • Figur 1 a) zeigt eine Skizze eines Federkraftklemmanschlusses 1, der ein Isolierstoffgehäuse 2 und eine in den Isolierstoffgehäuse 2 aufgenommen Klemmfeder 3 sowie eine Stromschiene 4 hat. Die Klemmfeder 3 ist mit einem Anlageschenkel 5 an der Stromschiene 4 gelagert. Hierzu kann sich beispielsweise ein Halterahmen 6 von einem Auflagerabschnitt 7 der Stromschiene 4 weg erstrecken. Damit ist die Klemmfeder 3 selbsttragend an der Stromschiene 4 angeordnet, ohne eine wesentliche Kraft auf das Isolierstoffgehäuse 2 auszuüben.
  • Ein elektrischer Leiter 8 wird in einen nicht dargestellten Leitereinführungskanal im Isolierstoffgehäuse 2 in Leitereinsteckrichtung L in das Isolierstoffgehäuse 2 eingeführt. Er kann dann in der dargestellten Offen-Position zwischen einem Klemmschenkel 9 der Klemmfeder 3 und dem Auflagerabschnitt 7 der Stromschiene 4 (Kontaktabschnitt) geführt werden, sodass eine Klemmkante 10 am freien Ende des Klemmschenkels 9 zusammen mit der Stromschiene 4 eine Klemmstelle zum Anklemmen des elektrischen Leiters 8 bildet. Deutlich wird, dass das abisolierte Ende 11 des elektrischen Leiters 8 zwischen dem Auflagerabschnitt 7 und der Klemmkante 10 positioniert und durch eine Leiterdurchführungsöffnung 12 in einem als Halterahmen 6 ausgebildetem Lagerabschnitt hindurchgeführt ist. An dem Auflagerabschnitt 7 der Stromschiene 4 kann eine vorstehende Kontaktkante vorhanden sein, auf die die Kontaktkraft der Klemmfeder 3 bei einem angeklemmten elektrischen Leiter 8 konzentriert wird.
  • Die Klemmfeder 3 ist als U-förmige Schenkelfeder mit dem Anlageschenkel 5, einem sich daran anschließenden Federbogen 13 und den sich daran anschließenden Klemmschenkel 9 ausgebildet.
  • Um nun die Klemmstelle zum Entnehmen des elektrischen Leiters 8 zu öffnen ist ein Betätigungselement 14 vorhanden, das linear verschiebbar in das Isolierstoffgehäuse 2 eingebaut ist. Das Betätigungselement 14 untergreift einen an dem Klemmschenkel 9 angeordneten Betätigungsabschnitt 15, um den Klemmschenkel 9 durch Linearverschiebung des Betätigungselementes 14 in Richtung des Anlageschenkels 5 zu verlagern. Das Betätigungselement 14 beaufschlagt den Betätigungsabschnitt 15 der Klemmfeder 3 somit auf der dem Anlageschenkel abgewandten Seite des Betätigungsabschnitts 15. Damit wird eine Druckkraft auf den Betätigungsabschnitt 15 ausgeübt, um die Klemmstelle zu öffnen.
  • Deutlich wird, dass das Betätigungselement 14 eine seitlich an der Klemmfeder 3 vorbeigeführte Führungswand 16 mit einem an der Führungswand 16 angeordneten Finger 17 hat, der in der dargestellten Offen-Position auf den Betätigungsabschnitt 15 aufliegt.
  • Zur Verlagerung des Betätigungselementes 14 ist ein Betätigungshebel 18 schwenkbar an dem Betätigungselement 14 angeordnet. Hierzu ist an dem Betätigungshebel 18 und dem Betätigungselement 14 ein Schwenklager 19 vorhanden. Das Schwenklager 19 kann beispielsweise als Zapfenlager ausgeführt sein, bei dem ein Zapfen in eine Lageröffnung eintaucht. Der Zapfen kann an dem Betätigungshebel 18 oder dem Betätigungselement 14 und die korrespondierende Lageröffnung dann an einem anderen Element, d.h. dem Betätigungselement 14 oder dem Betätigungshebel 18 vorhanden sein.
  • Figur 1 b) zeigt den Federkraftklemmanschluss 1 aus Figur 1 a) in der geschlossenen Position. Deutlich wird, dass der Betätigungshebel 18 nunmehr mit seinem Hebelarmabschnitt 20 nach unten in Richtung Leitereinführungsöffnung bzw. in Richtung Klemmfeder 3 heruntergeschwenkt ist. Erkennbar ist weiterhin, dass der Betätigungshebel 18 einen dem Hebelarmabschnitt 20 gegenüberliegenden Druckarmabschnitt 21 hat. Dieser Druckarmabschnitt 21 wirkt mit einer Auflagerfläche 22 des Isolierstoffgehäuses 2 zusammen und liegt zumindest bei dem Umschwenken in die Offen-Position auf dieser Auflagerfläche 22 des Isolierstoffgehäuses 2 auf. Der Druckarmabschnitt 21 gleitet dann bei Verschwenken mit seiner gerundeten Auflagerkontur 23 an der Oberfläche der Auflagerfläche 22 entlang, sodass ein Gleitlager gebildet wird. Das Gegenlager wird durch das Schwenklager 19 gebildet, wodurch dann das Betätigungselement 14 linear in Betätigungsrichtung B verlagert wird.
  • Wenn nun der Betätigungshebel 18 entgegen des Uhrzeigersinns in die Offen-Position gemäß Figur 1 verschwenkt wird, dann wandert der Finger 17 des Betätigungselementes 14 in Betätigungsrichtung B nach oben, um den Klemmschenkel 9 in Richtung Anlagenschenkel 5 entgegen der Federkraft der Klemmfeder 3 zu bewegen. Das Betätigungselement 14 wird dabei linear verschiebbar an dem Isolierstoffgehäuse 2 geführt.
  • Bei dieser Ausführungsform des Federkraftklemmanschlusses 1 kann nicht nur ein Betätigungselement 14 auf einer Seite der Klemmfeder 3 vorhanden sein. Denkbar ist auch eine Ausführungsform, bei der zwei Betätigungselemente 14 einander gegenüberliegend unter Bildung eines Freiraums zur Aufnahme der Klemmfeder 3 beidseits neben der Klemmfeder 3 angeordnet sind. Die Schmalkanten des Anlageschenkels 5 und des Klemmschenkels 9 grenzen dann jeweils an einem Betätigungselement 14 an.
  • Denkbar ist aber auch, dass das Betätigungselement 14 nicht seitlich neben der Klemmfeder 3 angeordnet ist. Es kann auch anderweitig benachbart zur Klemmfeder 3 angeordnet sein, wie beispielsweise der Klemmfeder 3 in Leitereinsteckrichtung L vor- oder nachgelagert.
  • Es ist dann jedenfalls konstruktiv so gestaltet, dass der Klemmschenkel 9 durch Linearverschiebung des Betätigungselementes 14 bewegbar ist. Die Linearverschiebung des Betätigungselementes 14 wird durch den schwenkbar mit dem Betätigungselement 14 verbundenen Betätigungshebel 18 bewirkt.
  • Erkennbar ist bei diesem Ausführungsbeispiel weiterhin, dass die Auflagerfläche 22 in einen Flächenabschnitt in Form einer Anschlagfläche 24 übergeht, die von der Auflagerfläche 22 abragt. Diese Anschlagfläche 24 ist in Schwenkrichtung des Betätigungshebels 18 zur Offenstellung hin so angeordnet, dass der Druckarmabschnitt 21 mindestens an der Verbindungslinie zwischen dem Schwenklager 19 und der Anlage des Betätigungselementes 14 an dem Betätigungsabschnitt 15 der Klemmfeder 3 vorbeigeführt werden kann und in Schwenkrichtung erst hinter dieser Verbindungslinie an der Anschlagfläche 24 anstößt, um ein weiteres Verschwenken zu verhindern und den Betätigungshebel 18 in dieser Übertotpunktlage zu halten. In dem dargestellten Ausführungsbeispiel ist eine Übertotpunktlage auf jeden Fall sichergestellt, wenn der Druckarmabschnitt 21 die durch das Schwenklager 19 führende und in Betätigungsrichtung B ausgerichtete Verbindungslinie passiert hat und die Anschlagfläche 24 in Schwenkrichtung zur Offenstellung hin hinter dieser Verbindungslinie angeordnet ist. Diese Verbindungslinie ist parallel zur Linearbewegungsrichtung des Betätigungselementes 14 und damit parallel zu nicht dargestellten Führungslagern für das Betätigungselement 14 ausgerichtet. Mit der Anschlagfläche 24 wird ein weitergehendes Umschwenken des Betätigungshebels 18 verhindert und der Betätigungshebel 18 bei geöffneter Klemmstelle in einer Übertotpunktlage gehalten, wobei eine Kraft der Klemmfeder 3 auf das Betätigungselement 14 einwirkt.
  • Bei der dargestellten ersten Ausführungsform ragen der Druckarmabschnitt 21 und der Hebelarmabschnitt 20 vom gemeinsamen Schwenklager 19 in entgegengesetzte Richtungen voneinander ab. Der Druckarmabschnitt 21 und der Hebelarmabschnitt 20 sind mit ihren Haupterstreckungsrichtungen (z.B. Zentralachsen) im stumpfen Winkel (größer 90°) zueinander ausgerichtet. Der Innenwinkel zwischen Druckarmabschnitt 21 und Hebelarmabschnitt 20 kann beispielsweise auf einen Bereich von 180° bis 120° begrenzt sein.
  • Figur 2 a) zeigt eine Skizze einer zweiten Ausführungsform des Federkraftklemmanschlusses 1. Dabei kann im Wesentlichen auf die vorstehenden Ausführungen verwiesen werden. Der Unterschied zur ersten Ausführungsform liegt in der Ausgestaltung des Betätigungshebels 18. Der Druckarmabschnitt 21 befindet sich auf der gleichen Seite des Schwenklagers 19, wie der Hebelarmabschnitt 20. Der Druckarmabschnitt 21 und der Hebelarmabschnitt 20 sind mit ihren Haupterstreckungsrichtungen (z.B. Zentralachsen) im spitzen Winkel (kleiner 90°) zueinander ausgerichtet. Der Innenwinkel zwischen Druckarmabschnitt 21 und Hebelarmabschnitt 20 kann beispielsweise auf einen Bereich von 10° bis 90° begrenzt sein.
  • In der in Figur 2 a) gezeigten Offenstellung ist der Druckarmabschnitt 21 dann vom Schwenklager 19 zur Auflagerfläche 22 hin ausgerichtet und liegt auf der Auflagerfläche 22 auf. Der Druckarmabschnitt 21 ist dann seitlich benachbart zum Betätigungselement 14 positioniert. Dies entspricht der Ausrichtung im ersten Ausführungsbeispiel und führt zum Öffnen der Klemmfeder 3.
  • Figur 2 b) zeigt eine Skizze der zweiten Ausführungsform des Federkraftklemmanschlusses 1 in der geschlossenen Position. Durch Verschwenken des Betätigungshebels 18 ist der Druckarmabschnitt 21 entgegengesetzt zur Leitereinsteckrichtung L zum einzusteckenden elektrischen Leiter 8 hin weisend ausgerichtet. Der Hebelarmabschnitt 20 ragt nach oben vom Isolierstoffgehäuse 2 weg, wie dies im ersten Ausführungsbeispiel in der Offenposition der Fall ist (Figur 1 a).
  • Eine nicht dargestellte Anschlagfläche 24 kann wie im ersten Ausführungsbeispiel optional vorgesehen sein, die dann nur räumlich versetzt auf der gegenüberliegenden Seite des Schwenklagers 19 etwa im Raum oberhalb des Fingers 17 von der Auflagerfläche 22 abragt.
  • Die Betätigung der Klemmfeder 3 durch Verschwenken des Betätigungshebels 18 erfolgt im ersten Ausführungsbeispiel durch Ausübung einer Zugkraft auf den Hebelarmabschnitt 20 und im zweiten Ausführungsbeispiel durch Ausübung einer Druckkraft auf den Hebelarmabschnitt 20.
  • Figur 3 a) zeigt eine Abwandlung des in den Figuren 1 a) und 1 b) dargestellten ersten Ausführungsbeispiels des Federkraftklemmanschlusses 1. Deutlich wird, dass der Betätigungshebel 18 gespiegelt angeordnet ist, so dass der Hebelarmabschnitt in der geschlossenen Position in Leitereinsteckrichtung L weisend ausgerichtet ist. Auch hier erfolgt eine Betätigung durch Ausübung einer Zugkraft auf den Betätigungshebel 18. Eine nicht dargestellte Anschlagfläche 24 kann wie im ersten Ausführungsbeispiel optional vorgesehen sein, die dann entsprechend auf der gegenüberliegenden Seite etwa im Raum oberhalb des Fingers 17 von der Auflagerfläche 22 abragt.
  • Figur 3 b) zeigt eine Abwandlung des in den Figuren 2 a) und 2 b) dargestellten zweiten Ausführungsbeispiels des Federkraftklemmanschlusses 1. Deutlich wird, dass der Betätigungshebel 18 gespiegelt angeordnet ist, so dass der Hebelarmabschnitt in der Offenposition in Leitereinsteckrichtung L weisend ausgerichtet ist. Auch hier erfolgt eine Betätigung durch Ausübung einer Zugkraft auf den Betätigungshebel 18. Eine nicht dargestellte Anschlagfläche 24 kann wie im ersten Ausführungsbeispiel optional vorgesehen sein.
  • Figur 4 zeigt eine perspektivische Ansicht einer für den vorher beschriebenen Federkraftklemmanschluss 1 geeigneten Klemmfeder 3, die mit ihrem Anlageschenkel 5 in die Stromschiene 4 eingehängt ist. Hierzu ragt von dem Auflagerabschnitt 7 der Stromschiene 4 ein Halterahmen 6 mit einer Halteöffnung 25 ab. Das freie Ende des Anlageschenkels 5 taucht in diese Halteöffnung 25 ein, um so die Klemmfeder 3 an der Stromschiene 4 in ihre Lage zu fixieren.
  • An den Anlageschenkel 5 schließt sich ein Federbogen 13 an, der in den Klemmschenkel 9 übergeht. Der Klemmschenkel 9 hat eine Klemmzunge 26, die an ihrem freien Ende die Klemmkante 10 aufweist. Weiterhin ist mit dem Klemmschenkel 9 ein Rahmenelement 27 verbunden. Dieses Rahmenelement 27 hat zwei von dem Klemmschenkel 9 abragende und integral damit ausgeführte Seitenstege 28a, 28b, die optional an ihrem Ende durch einen Quersteg 29 miteinander verbunden sein können. Das Rahmenelement 27 stellt ein Betätigungsabschnitt bereit, auf das ein Betätigungselement 14 eine Betätigungskraft ausüben kann. Der Quersteg 29 kann entfallen, wenn die Seitenstege 28a, 28b geeignet dimensioniert sind. Deutlich wird, dass der Quersteg 29 in Leitereinsteckrichtung L der Klemmkante 10 nachgelagert ist. Der Quersteg 29 kann dabei in der dargestellten Ruheposition ebenso wie die Klemmkante 10 der Klemmzunge 26 auf der Stromschiene 4 aufliegen.
  • Erkennbar ist weiterhin, dass an der Stromschiene 4 eine Kontaktkante 30 ausgebildet ist. Die Klemmkante 10 der Klemmzunge 26 ist so ausgerichtet, dass sie zusammen mit dieser Kontaktkante 30 eine Klemmstelle zum Anklemmen eines elektrischen Leiters 8 bildet, sodass die Klemmkraft der Klemmfeder 3 auf die Kontaktkante 30 konzentriert wird.
  • In dem dargestellten Ausführungsbeispiel ist an der Stromschiene 4 durch zwei Gabelzungen 31a, 31b eine Steckkontaktbuchse 32 gebildet.
  • Figur 5 a) lässt eine dritte Ausführungsform eines Federkraftklemmanschlusses 1 mit einem Isolierstoffgehäuse 2 erkennen.
  • Bei diesem Ausführungsbeispiel ist als Betätigungshebel 33 ein separates Betätigungswerkzeug wie beispielsweise ein Schraubendreher vorgesehen, der in Einsteckrichtung E in einen Freiraum 34 einführbar ist. Durch Verschwenken des als Betätigungswerkzeug ausgeführten Betätigungshebels 33, wie durch den in zwei Stellungen skizzierten Betätigungshebel 33 sowie den Pfeil angedeutet ist, lässt sich dann das Betätigungselement 35 im Isolierstoffgehäuse 2 linear verschieben, um so die Klemmstelle zu öffnen.
  • Es ist der Leitereinführungskanal 36 in dem Isolierstoffgehäuse 2 erkennbar, durch den ein elektrischer Leiter 8 in Leitereinführungsrichtung L in den Innenraum des Isolierstoffgehäuses 2 hineingeführt werden kann. Dieser ist noch relativ groß, kann aber durch Einrasten eines Deckelteils (nicht dargestellt) mit darin eingebrachter Leiterführungsöffnung einen reduzierten Querschnitt haben.
  • Figur 5 b) zeigt eine perspektivische Rückseitenansicht des Federkraftklemmanschlusses 1 aus Figur 5 a). Nunmehr ist eine rückwärtige Stecköffnung 37 zur Aufnahme eines Steckverbinders zu erkennen, die zu der Steckkontaktbuchse 32 führt.
  • Der Aufbau des Federkraftklemmanschlusses 1 wird aus den Schnittdarstellungen mit der Figur 6a) in Seitenansicht und der Figur 6 b) in der perspektivischen Ansicht deutlicher. Erkennbar ist, dass das Betätigungselement 35 eine Lagerfläche 38 hat, die im Freiraum 34 einer Auflagerfläche 39 des Isolierstoffgehäuses 2 gegenüberliegt. Die Auflagerfläche 39 bildet einen durch den Pfeil angedeuteten Drehpunkt D für das Betätigungswerkzeug (d.h. den Betätigungshebel 33), das dort auf dem Isolierstoffgehäuse 2 auflagert. Die gegenüberliegende Lagerfläche 38 des Betätigungselementes 35 bildet ein Gegenlager, an dem das Betätigungswerkzeug bei Verschwenken in Richtung Isolierstoffgehäuse 2 entlanggleitet. Dabei wird das Betätigungselement 35 in Betätigungsrichtung B linear nach oben verschoben, um auf diese Weise den Klemmschenkel 9 der Klemmfeder 3 (nicht dargestellt) zu bewegen und die Klemmstelle zum Anklemmen eines elektrischen Leiters 8 oder zum Entnehmen eines angeklemmten elektrischen Leiters 8 zu öffnen.
  • Erkennbar ist, dass das Betätigungselement 35 in den Innenraum des Isolierstoffgehäuses 2 hineinragt und an seinem Ende einen Finger 40 hat. Dieser untergreift einen nicht dargestellten Betätigungsabschnitt einer Klemmfeder (nicht dargestellt).
  • Dieser Betätigungsabschnitt kann beispielweise ein seitlich von dem Klemmschekel 9 abragende Lasche sein.
  • Deutlich wird weiterhin, dass die Lagerfläche 38 des Betätigungselementes 35 eine in Richtung der gegenüberliegenden Auflagerfläche 39 weisende gekrümmte Bahnform aufweist. Deutlich wird weiterhin, dass die effektiv wirksame Lagerfläche 38 in Erstreckungsrichtung des Betätigungswerkzeugs (d.h. des Betätigungshebels 33) bzw. dessen Einsteckrichtung E versetzt zur Auflagerfläche 39 des Isolierstoffgehäuses 2 angeordnet ist.
  • Figur 7 a) lässt den Federkraftklemmanschluss 1 aus Figuren 5 a), 5b), 6a) und 6 b) in der Offen-Position in der Seiten-Schnittansicht und Figur 7 b) in der perspektivischen Schnittansicht erkennen. Deutlich wird, dass das Betätigungswerkzeug (Betätigungshebel 33) nunmehr nach unten in Richtung Isolierstoffgehäuse 2 heruntergeschwenkt ist. Hierbei wird das Betätigungselement 35 nun so weit aus dem Isolierstoffgehäuse 2 linear herausgeführt, dass das Betätigungswerkzeug auf einer der Lagerfläche 38 folgenden Ruhefläche 41 aufliegt.
  • Deutlich wird auch, dass das Betätigungswerkzeug (Betätigungshebel 33) in den durch die Auflagerfläche 39 und die Lagerfläche 38 begrenzten Freiraum 34 eingeführt ist. Der Freiraum 34 vergrößert sich in Höhenrichtung (d.h. in Betätigungsrichtung B), je weiter der Betätigungshebel 33 zwischen Betätigungselement 35 und Isolierstoffgehäuse 2 eingeführt ist. Deutlich wird weiterhin, dass das Betätigungselement 35 zwei zur Aufnahme des Betätigungshebels 33 zwischen sich beabstandete Führungswände 42 hat, die linear verschiebbar in dem Isolierstoffgehäuse 2 gelagert sind. Mindestens eines der Führungswände 42 hat an seinem freien Ende einen Finger 39, der den Betätigungsabschnitt 15 des Klemmschenkels 9 (nicht dargestellt, aber vergleichbar mit Figur 1 a)) untergreift. Dieser Betätigungsabschnitt 15 kann auch durch die Seitenstege 28 a, 28 b des Ausführungsbeispiels aus Figur 4 oder durch die Klemmzunge 26 bereitgestellt werden.
  • Deutlich wird, dass der Freiraum 34 als schräg in das Isolierstoffgehäuse 2 weisender und an die Breite eines als Betätigungswerkzeug ausgeführten Betätigungshebels 33 angepasster Kanal ausgebildet ist. Dieser Kanal erweitert sich nun, wenn das Betätigungselement 35 linear verschoben wird. Der Freiraum 34 hat an seinem Boden eine Stufe 43, die der Ruhefläche 41 gegenüberliegt. In der Offen-Position gemäß Figur 7 a) und 7 b) kann das Betätigungswerkzeug dann wie dargestellt so weit in den Freiraum 34 eingesteckt werden, dass das freie Ende des Betätigungswerkzeugs auf der Stufe 43 aufliegt und auf der gegenüberliegenden Seite die Ruhefläche 41 auf das Betätigungswerkzeug wirkt. Hierbei wird durch die nicht dargestellte Klemmfeder 3 über die Auflagerung des Betätigungsabschnitts 15 der Klemmfeder 3 auf den Finger 40 eine Federkraft auf das Betätigungselement 35 ausgeübt, mit der das Betätigungswerkzeug (d.h. der Betätigungshebel 33) in der dargestellten Lage festgeklemmt wird.
  • Die in den Figuren 5 a) bis 7 b) dargestellte dritte Ausführungsform ist auch eine Abwandlung dahingehend denkbar, dass der dargestellte Betätigungshebel 33 kein separates Teil ist, sondern als schwenkbar an dem Isolierstoffgehäuse gelagerter Hebelarm ausgeführt ist.
  • In den vorbeschriebenen Ausführungsformen kann der Hebelarmabschnitt 20 oder der als Betätigungswerkzeug ausgeführte Betätigungshebel 33 zum anzuklemmenden Leiter 8 hin weisen oder von ihm weg. Beide Varianten sind gleichermaßen realisierbar, da die Linearführung des Betätigungselementes 14, 35 unabhängig davon ist.
  • Der in Figur 8 dargestellte Federkraftklemmanschluss 1 weist ein Isolierstoffgehäuse 2 auf, in dem die weiteren Elemente einschließlich der Stromschiene 4 und der Klemmfeder 3 angeordnet sind und daher in den Darstellungen der Figur 8 nicht sichtbar sind. Der Federkraftklemmanschluss 1 weist einen Betätigungshebel 18 auf, der über ein Schwenklager 19 an einem Betätigungselement 14 gelagert ist. Das Betätigungselement 14 kann insbesondere ähnlich geformt sein wie das anhand der Figuren 5 a), 5 b) beschriebene Betätigungselement 35. Der Betätigungshebel 18 weist wiederum den Hebelarmabschnitt 20 auf, über den er manuell betätigt werden kann. Das Isolierstoffgehäuse 2 weist einen Leitereinführungskanal 36 auf, in den ein elektrischer Leiter eingesteckt werden kann.
  • Die Figur 8 zeigt den Federkraftklemmanschluss mit dem Betätigungshebel 18 in der geschlossenen Position (Abbildung a), die die eine Endposition der Verschwenkbewegung des Betätigungshebels 18 bildet. In Abbildung b ist der Betätigungshebel in die geöffnete Position verschwenkt, die die andere Endposition der Verschwenkbewegung des Betätigungshebels 18 bildet. In Abbildung c ist dargestellt, dass der Betätigungshebel 18 in eine Überdrückposition verschwenkt ist, indem der Betätigungshebel über die Endposition, die der geschlossenen Position entspricht, weiter verschwenkt ist.
  • Die Figur 9 zeigt den Federkraftklemmanschluss gemäß Figur 8 in seitlicher Schnittdarstellung, wobei sich der Betätigungshebel 18 in der geöffneten Position befindet. Erkennbar ist insbesondere die im Isolierstoffgehäuse 2 angeordnete Klemmfeder 3 mit dem Klemmschenkel 9, dem Federbogen 13 und dem Anlageschenkel 5. Der Anlageschenkel 5 ist an einem Halterahmen 6 der Stromschiene 4 befestigt. Da der Betätigungshebel 18 in der geöffneten Position ist, ist über die Auflagerfläche 39 des Betätigungselementes 14 der Klemmschenkel 9 nach oben hin ausgelenkt, sodass die Klemmkante des Klemmschenkels 9 nicht an dem Auflagerabschnitt 7 der Stromschiene 4 aufliegt.
  • Der Betätigungshebel 18 weist eine Auflagerfläche auf, die sich über einen ersten Abschnitt 44 hin zu einem im Winkel dazu verlaufenden zweiten Abschnitt 45 erstreckt. Befindet sich der Betätigungshebel 18 in der geschlossenen Position, so liegt der erste Abschnitt 44 der Auflagerfläche am Isolierstoffgehäuse 2 auf. Wie erkennbar ist, stützt sich der Hebel 18 in der geöffneten Position über den zweiten Abschnitt 45 der Auflagerfläche am Isolierstoffgehäuse 2 ab und wird dabei durch die Kraft der Klemmfeder 3 gegenüber dem Isolierstoffgehäuse 2 belastet.
  • In der Figur 9 ist ferner erkennbar, dass sich an den Bereich, in dem der Betätigungshebel 18 in der geöffneten Position am Isolierstoffgehäuse 2 aufliegt, am Isolierstoffgehäuse 2 eine schräg verlaufende Überdrückkontur 46 anschließt. Befindet sich der Betätigungshebel 18 in der geöffneten Position (Figur 9), so bildet die Überdrückkontur 46 einen mechanischen Anschlag, durch den ein Benutzer spürt, dass sich der Betätigungshebel an sich in seiner Endposition befindet. Bei der hier dargestellten Ausführungsform des Federkraftklemmanschlusses ist aber ein Überdrücken möglich.
  • Die Figur 10 zeigt den Federkraftklemmanschluss mit dem Betätigungshebel 18 in der Überdrückposition. Wie erkennbar ist, hat auch der zweite Abschnitt 45 der Auflagerfläche des Betätigungshebels 18 den Überdrückabschnitt 46 überwunden und liegt an einer dahinterliegenden Stelle am Isolierstoffgehäuse 2 auf. Aus dieser Überdrückposition kann der Betätigungshebel 18 ohne weiteres wieder in die geöffnete Position oder die geschlossene Position bewegt werden, ohne dass es zu Beschädigungen oder zu einem Lösen des Betätigungshebels 18 kommt.
  • Die Figur 11 zeigt eine weitere Ausführungsform des Federkraftklemmanschlusses, die hinsichtlich des Betätigungshebels 18 und dessen Überdrückmöglichkeit der zuvor erläuterten Ausführungsform entspricht. Zur besseren Übersicht sind in dieser Darstellung die Klemmfeder 3 sowie größtenteils die Stromschiene 4 nicht mit dargestellt, sodass insbesondere die Lage der Auflagerfläche 39 des Betätigungselementes 14 deutlich wird, die entsprechend dem Betätigungsabschnitt 15einen Mitnehmer für den Klemmabschnitt 9 oder einen daran angeformten Betätigungsabschnitt der Klemmfeder 3 bildet.
  • Erkennbar ist ferner, dass der Federkraftklemmanschluss mit einer aus dem Isolierstoffgehäuse 2 abragenden Steckkontaktbuchse 32 mit Gabelzungen 31a, 31b ausgebildet sein kann, die an dem Halterahmen 6 der Stromschiene 4 angeformt sein können. In diese Steckkontaktbuchse 32 kann ein Kontaktstift 47 eingesteckt sein. Bezugszeichenliste
    Federkraftklemmanschluss 1
    Isolierstoffgehäuse 2
    Klemmfeder 3
    Stromschiene 4
    Anlageschenkel 5
    Halterahmen 6
    Auflagerabschnitt 7
    elektrischer Leiter 8
    Klemmschenkel 9
    Klemmkante 10
    abisoliertes Ende 11
    Leiterdurchführungsöffnung 12
    Federbogen 13
    Betätigungselement 14
    Betätigungsabschnitt 15
    Führungswand 16
    Finger 17
    Betätigungshebel 18, 33
    Schwenklager 19
    Hebelarmabschnitt 20
    Druckarmabschnitt 21
    Auflagerfläche 22
    Auflagerkontur 23
    Anschlagfläche 24
    Halteöffnung 25
    Klemmzunge 26
    Rahmenelement 27
    Seitenstege 28a, 28b
    Quersteg 29
    Kontaktkante 30
    Gabelzungen 31a, 31b
    Steckkontaktbuchse 32
    Freiraum 34
    Betätigungselement 35
    Leitereinführungskanal 36
    Stecköffnung 37
    Lagerfläche 38
    Auflagerfläche 39
    Finger 40
    Ruhefläche 41
    Führungswände 42
    Stufe 43
    erster Abschnitt 44
    zweiter Abschnitt 45
    Überdrückkontur 46
    Kontaktstift 47
    Betätigungsrichtung B
    Drehpunkt D
    Einsteckrichtung E
    Leitereinsteckrichtung L

Claims (13)

  1. Federkraftklemmanschluss (1) zum Anklemmen eines elektrischen Leiters (8), wobei der Federkraftklemmanschluss (1) wenigstens eine Klemmfeder (3) zum Festklemmen des elektrischen Leiters (8) am Federkraftklemmanschluss (1) und wenigstens einen verschwenkbaren Betätigungshebel (18) zum Betätigen der Klemmfeder (3) aufweist, wobei der Betätigungshebel (18) zwischen einer geöffneten Position, in der eine mit der Klemmfeder (3) gebildete Leiterklemmstelle geöffnet ist, und einer geschlossenen Position, in der die Klemmstelle geschlossen ist, hin- und herbewegt werden kann, wobei der Federkraftklemmanschluss (1) ein vom verschwenkbaren Betätigungshebel (18) betätigbares Betätigungselement (14, 35) aufweist, dadurch gekennzeichnet, dass das Betätigungselement (14, 35) als linear verschiebbar gelagertes Zugelement ausgebildet ist, durch das beim Verschwenken des Betätigungshebels (18) in die geöffnete Position die Klemmstelle mittels einer auf die Klemmfeder (3) einwirkenden Zugkraft zu öffnen ist, wobei der Betätigungshebel (18) eine Auflagerkontur (23) zur Bildung einer Gleitlagerung mit der Auflagerfläche (22) des Isolierstoffgehäuses (2) hat.
  2. Federkraftklemmanschluss (1) nach Anspruch 1, zum Anklemmen eines elektrischen Leiters (8) mit einem Isolierstoffgehäuse (2), einer Stromschiene (4) und einer Klemmfeder (3), die einen Anlageschenkel (5), einen Federbogen (13), einen Klemmschenkel (9) und einen Betätigungsabschnitt (15) hat, wobei der Klemmschenkel (9) eine Klemmkante (10) hat und die Klemmkante (10) mit der Stromschiene (4) eine Klemmstelle zum Anklemmen des elektrischen Leiters (8) zwischen der Klemmkante (10) und der Stromschiene (4) bildet, und mit einem Betätigungselement (14, 35), das beweglich in dem Isolierstoffgehäuse (2) gelagert und zur Kraftbeaufschlagung des Betätigungsabschnittes (15) ausgebildet ist, dadurch gekennzeichnet, dass das Betätigungselement (14, 35) linear verschiebbar in dem Isolierstoffgehäuse (2) gelagert ist und sich von dem Betätigungsabschnitt (15) der Klemmfeder (3) über eine durch die Auflagerfläche des Anlageschenkels (5) an der Stromschiene (4) oder dem Isolierstoffgehäuse (2) aufgespannte Ebene hinaus erstreckt, wobei das Betätigungselement (14, 35) zur Kraftbeaufschlagung des Betätigungsabschnitts (15) der Klemmfeder (3) auf der Seite des Betätigungsabschnitts (15), die der Auflagerfläche des Anlageschenkels (5) an der Stromschiene (4) abgewandt ist, ausgebildet ist.
  3. Federkraftklemmanschluss (1) nach Anspruch 1 oder 2, dadurch gekennzeichnet, dass ein Betätigungshebel (18), der verschwenkbar am Federkraftklemmanschluss gelagert ist, an einem Lagerabschnitt des Betätigungselementes (14) gelagert ist und das Isolierstoffgehäuse (2) eine Auflagerfläche (22) für den Betätigungshebel (18) aufweist, wobei der Lagerabschnitt und die Auflagerfläche (22) derart aufeinander abgestimmt sind, dass das Betätigungselement (14) durch Verschwenken des an der Auflagerfläche (22) des Isolierstoffgehäuses (2) aufgelagerten und an dem Lagerabschnitt des Betätigungselementes (14) gegengelagerten Betätigungshebel (18) linear verschiebbar ist.
  4. Federkraftklemmanschluss (1) nach Anspruch 3, dadurch gekennzeichnet, dass der Betätigungshebel (18) mit einem Schwenklager (19) an dem Betätigungselement (14) angeordnet ist.
  5. Federkraftklemmanschluss (1) nach Anspruch 1 oder 2, dadurch gekennzeichnet, dass das Isolierstoffgehäuse (2) eine Auflagerfläche (39) für einen Betätigungshebel (33) aufweist und das Betätigungselement (35) eine der Auflagerfläche (39) des Isolierstoffgehäuses (2) gegenüberliegende Lagerfläche (38) hat, dass ein Freiraum zur Aufnahme eines Abschnitts des Betätigungshebels (33) zwischen der Auflagerfläche (39) des Isolierstoffgehäuses (2) und der Lagerfläche (38) des Betätigungselementes (35) vorhanden ist, und dass der Betätigungshebel (33) ein in den Freiraum (34) einführbares Betätigungswerkzeug ist, wobei die Auflagerfläche (39) und die Lagerfläche (38) in Erstreckungsrichtung (E) des in den Freiraum (34) eingeführten Betätigungswerkzeuges versetzt zueinander sind.
  6. Federkraftklemmanschluss (1) nach einem der Ansprüche 1 bis 5, dadurch gekennzeichnet, dass der Betätigungshebel (18, 33) zum anzuklemmenden elektrischen Leiter (8) hin weisend ausgerichtet ist.
  7. Federkraftklemmanschluss (1) nach einem der vorhergehenden Ansprüche, dadurch gekennzeichnet, dass das Betätigungselement (14, 35) eine sich seitlich neben der Klemmfeder (3) erstreckende und an dem Isolierstoffgehäuse (2) linear verschiebbar gelagerte Führungswand (16, 42) und einen sich von der Führungswand (16, 42) unter den Betätigungsabschnitt (15) erstreckenden Finger (17, 40) hat.
  8. Federkraftklemmanschluss (1) nach einem der vorhergehenden Ansprüche, dadurch gekennzeichnet, dass der Betätigungsabschnitt (15) der Klemmfeder (3) als ein Rahmenelement (27) ausgebildet ist, das einen mit dem Klemmschenkel (9) vorhandenen Seitensteg (28a) und einen am Seitensteg befindlichen Quersteg (29) hat, wobei eine mit der Klemmkante (10) versehene Klemmzunge (26) von dem Klemmschenkel (9) neben dem Seitensteg (28a) abragt und der Quersteg (29) in Einsteckrichtung (E) der Klemmkante (10) vor- oder nachgelagert ist.
  9. Federkraftklemmanschluss nach einem der Ansprüche 1 bis 8, dadurch gekennzeichnet, dass der Federkraftklemmanschluss (1) eine am Isolierstoffgehäuse (2) oder einem anderen Teil des Federkraftklemmanschlusses (1) ausgebildete Überdrückkontur (46) aufweist, auf der die Auflagerkontur (44, 45) des Betätigungshebels (18) beim Bewegen des Betätigungshebels (18) in die Überdrückposition entlangleitet.
  10. Federkraftklemmanschluss nach einem der vorhergehenden Ansprüche, dadurch gekennzeichnet, dass der Betätigungshebel (18) an einem Halteteil des Federkraftklemmanschlusses befestigt ist und davon nicht zerstörungsfrei lösbar ist.
  11. Federkraftklemmanschluss nach dem vorhergehenden Anspruch, dadurch gekennzeichnet, dass der Betätigungshebel (18) über ein Schwenklager (19) an einem Halteteil des Federkraftklemmanschlusses (1) befestigt ist, wobei der Betätigungshebel (18) hebelseitige Lagerelemente des Schwenklagers (19) und das Halteteil halteteilseitige Lagerelemente des Schwenklagers (19) aufweist, wobei die halteteilseitigen Lagerelemente bei der Herstellung direkt formschlüssig um die hebelseitigen Lagerelemente oder an den hebelseitigen Lagerelementen angeformt sind.
  12. Federkraftklemmanschluss nach einem der vorhergehenden Ansprüche, dadurch gekennzeichnet, dass die geöffnete Position und die geschlossene Position Endpositionen der Verschwenkbewegung des Betätigungshebels (18) bilden, an denen der Betätigungshebel (18) an einem mechanischen Anschlag zur Anlage kommt, wobei der Betätigungshebel (18) über wenigstens eine der Endpositionen hinaus in eine Überdrückposition verschwenkbar ist, ohne dass dabei Teile des Federkraftklemmanschlusses (1) beschädigt werden oder der Betätigungshebel (3) sich vom Federkraftklemmanschluss (1) löst.
  13. Verfahren zur Herstellung eines Federkraftklemmanschlusses (1) nach einem der vorhergehenden Ansprüche 1 bis 12, wobei der Federkraftklemmanschluss (1) wenigstens eine Klemmfeder (3) zum Festklemmen des elektrischen Leiters (8) am Federkraftklemmanschluss (1) und wenigstens einen verschwenkbaren Betätigungshebel (18) zum Betätigen der Klemmfeder (3) aufweist, der über ein Schwenklager (19) an einem Halteteil des Federkraftklemmanschlusses (1) befestigt ist, mit den Schritten:
    a) Herstellen des Betätigungshebels (18) mit hebelseitigen Lagerelementen des Schwenklagers (19),
    b) Herstellen des Halteteils des Federkraftklemmanschlusses (1), an dem der Betätigungshebel (18) gelagert ist, indem das Halteteil mit halteteilseitigen Lagerelementen des Schwenklagers (19) um die hebelseitigen Lagerelemente des Schwenklagers (19) herum geformt wird, sodass die hebelseitigen Lagerelemente des Schwenklagers (19) während des Herstellprozesses des Halteteils von den halteteilseitigen Lagerelementen des Schwenklagers (19) aufgenommen werden,
    c) Fertigstellen des Federkraftklemmanschlusses (1) mit der Baugruppe aus dem Betätigungshebel (18) und dem Halteteil des Federkraftklemmanschlusses (1) an dem der Betätigungshebel (18) befestigt ist, sowie den weiteren Elementen des Federkraftklemmanschlusses (1) einschließlich der Klemmfeder (3).
EP17752398.2A 2016-08-23 2017-08-17 Federkraftklemmanschluss Active EP3504755B2 (de)

Priority Applications (1)

Application Number Priority Date Filing Date Title
PL17752398T PL3504755T3 (pl) 2016-08-23 2017-08-17 Sprężynowe złącze zaciskowe

Applications Claiming Priority (2)

Application Number Priority Date Filing Date Title
DE102016115601.9A DE102016115601A1 (de) 2016-08-23 2016-08-23 Federkraftklemmanschluss
PCT/EP2017/070839 WO2018036898A1 (de) 2016-08-23 2017-08-17 Federkraftklemmanschluss

Publications (3)

Publication Number Publication Date
EP3504755A1 EP3504755A1 (de) 2019-07-03
EP3504755B1 EP3504755B1 (de) 2021-07-07
EP3504755B2 true EP3504755B2 (de) 2024-06-19

Family

ID=59631785

Family Applications (1)

Application Number Title Priority Date Filing Date
EP17752398.2A Active EP3504755B2 (de) 2016-08-23 2017-08-17 Federkraftklemmanschluss

Country Status (8)

Country Link
US (1) US10367272B2 (de)
EP (1) EP3504755B2 (de)
JP (1) JP7080218B2 (de)
KR (1) KR102438953B1 (de)
CN (1) CN109643858B (de)
DE (1) DE102016115601A1 (de)
PL (1) PL3504755T3 (de)
WO (1) WO2018036898A1 (de)

Families Citing this family (30)

* Cited by examiner, † Cited by third party
Publication number Priority date Publication date Assignee Title
DE102016115490B4 (de) * 2016-08-22 2018-06-07 Harting Electric Gmbh & Co. Kg Anschlusselement
DE102016118331B4 (de) * 2016-08-26 2025-09-04 Wago Verwaltungsgesellschaft Mbh Leiteranschlussklemme zum Anschluss elektrischer Leiter
DE102018116665A1 (de) * 2018-07-10 2020-01-16 Wago Verwaltungsgesellschaft Mbh Leiteranschlussklemme
US10418727B1 (en) * 2018-11-15 2019-09-17 Dinkle Enterprise Co., Ltd. Rotate-to-open clamping unit and connection device having the same
DE102019104298B4 (de) * 2019-02-20 2025-06-05 Phoenix Contact Gmbh & Co. Kg Klemmanordnung sowie Anschlussklemme
DE202019101483U1 (de) * 2019-03-15 2020-06-18 WAGO Verwaltungsgesellschaft mit beschränkter Haftung Federkraftklemmanschluss
DE102019109467B4 (de) * 2019-04-10 2023-08-31 Wago Verwaltungsgesellschaft Mbh Leiteranschlussklemme
DE102019116930B4 (de) * 2019-06-24 2023-11-16 WAGO Verwaltungsgesellschaft mit beschränkter Haftung Elektrische Anschlussklemme
DE202019105009U1 (de) * 2019-09-11 2020-12-14 Wago Verwaltungsgesellschaft Mbh Leiteranschlussklemme
DE202019105075U1 (de) * 2019-09-13 2020-12-21 Weidmüller Interface GmbH & Co. KG Anschlussklemme für Leiter
DE102019125410B3 (de) 2019-09-20 2020-12-10 Wago Verwaltungsgesellschaft Mbh Leiteranschlussklemme und Verfahren zur Montage einer Leiteranschlussklemme
CN110534930B (zh) * 2019-09-27 2025-08-01 宁波高松电子有限公司 一种方便操作的接线端子
DE102019131141A1 (de) * 2019-11-19 2021-05-20 Phoenix Contact Gmbh & Co. Kg Anschlussanordnung, Anschlussklemme und elektronisches Gerät
DE102019131145A1 (de) * 2019-11-19 2021-05-20 Phoenix Contact Gmbh & Co. Kg Anschlussanordnung, Anschlussklemme und elektronisches Gerät
DE102019131144A1 (de) * 2019-11-19 2021-05-20 Phoenix Contact Gmbh & Co. Kg Anschlussanordnung, Anschlussklemme und elektronisches Gerät
DE102019131146B4 (de) * 2019-11-19 2021-08-05 Phoenix Contact Gmbh & Co. Kg Anschlussanordnung
DE102019133529B4 (de) * 2019-12-09 2024-05-29 Phoenix Contact Gmbh & Co. Kg Kontaktierungseinrichtung zum Kontaktieren eines Schirmleiters einer elektrischen Leitung
DE102021101505A1 (de) * 2020-01-31 2021-08-05 WAGO Verwaltungsgesellschaft mit beschränkter Haftung Leiteranschlussklemme
DE202020100782U1 (de) * 2020-02-13 2021-05-17 Wago Verwaltungsgesellschaft Mbh Leiteranschlussklemme
DE102020104077A1 (de) * 2020-02-17 2021-08-19 WAGO Verwaltungsgesellschaft mit beschränkter Haftung Federkraftklemmanschluss
DE102020104138B4 (de) 2020-02-18 2021-09-23 Phoenix Contact Gmbh & Co. Kg Anschlussanordnung
DE102020104140B4 (de) 2020-02-18 2021-09-23 Phoenix Contact Gmbh & Co. Kg Anschlussanordnung
CN112216998B (zh) * 2020-10-20 2025-09-09 宁波高松电子有限公司 一种方便操作的电连接器
DE102021103855A1 (de) * 2021-02-18 2022-08-18 Phoenix Contact Gmbh & Co. Kg Klemmfeder, Anschlussanordnung und Anschlussklemme
DE102021111072A1 (de) * 2021-04-29 2022-11-03 Phoenix Contact Gmbh & Co. Kg Anschlussanordnung, Anschlussklemme und elektronisches Gerät
CN113599857B (zh) * 2021-08-06 2022-11-25 无棣永利盐业有限公司 一种利用风能的盐场结晶打碎装置
DE102021125904A1 (de) 2021-10-06 2023-04-06 Phoenix Contact Gmbh & Co. Kg Elektrische Anschlussvorrichtung mit einer mehrteiligen Betätigungseinrichtung
LU501638B1 (de) * 2022-03-09 2023-09-14 Phoenix Contact Gmbh & Co Anschlussklemme für ein elektrisches Gerät
WO2023170015A1 (de) * 2022-03-09 2023-09-14 Phoenix Contact Gmbh & Co. Kg Anschlussklemme für ein elektrisches gerät
CN118336437B (zh) * 2024-06-12 2024-08-20 深圳市锦凌电子有限公司 一种快接式新能源端子台连接器

Citations (4)

* Cited by examiner, † Cited by third party
Publication number Priority date Publication date Assignee Title
DE102012110895A1 (de) 2012-11-13 2014-05-15 Wago Verwaltungsgesellschaft Mbh Anschlussklemme
DE102015104625A1 (de) 2015-03-26 2016-09-29 Phoenix Contact Gmbh & Co. Kg Leiteranschlussklemme
DE102015115612A1 (de) 2015-09-16 2017-03-16 Phoenix Contact Gmbh & Co. Kg Anschlussklemme zum Anschließen eines elektrischen Leiters
DE102015122143A1 (de) 2015-12-17 2017-06-22 Wago Verwaltungsgesellschaft Mbh Leiteranschlussklemme

Family Cites Families (23)

* Cited by examiner, † Cited by third party
Publication number Priority date Publication date Assignee Title
JPS6226928Y2 (de) * 1980-06-14 1987-07-10
US4406509A (en) * 1981-11-25 1983-09-27 E. I. Du Pont De Nemours & Co. Jack and plug electrical assembly
JPH0623165U (ja) * 1992-08-07 1994-03-25 株式会社白山製作所 差し込み形接続端子
US6045393A (en) * 1994-04-21 2000-04-04 Click Technologies, Inc. Foldable connector assembly for miniature circuit card
JP3357245B2 (ja) 1996-06-24 2002-12-16 サトーパーツ株式会社 プラグ、レセプタクル及びそれらを備える中継コネクタ
DE102004045026B3 (de) * 2004-09-15 2006-02-16 Phoenix Contact Gmbh & Co. Kg Elektrische Anschluß- oder Verbindungsklemme
US7118405B2 (en) * 2004-12-30 2006-10-10 John Peng Structure and method for connecting conducting lines to terminals
DE102006018129C5 (de) 2006-04-19 2013-04-11 Phoenix Contact Gmbh & Co. Kg Federkraftklemme mit einer in einem Gehäuse angeordneten Schenkelfeder
DE202009002324U1 (de) 2009-02-18 2010-07-29 Weidmüller Interface GmbH & Co. KG Anschlussklemme zum Anschluss von Leiterenden
DE102009014095A1 (de) 2009-03-23 2010-10-07 Wieland Electric Gmbh Federklemmanschluss für einen elektrischen Leiter
US7909657B1 (en) * 2009-11-12 2011-03-22 Hubbell Incorporated Electrical connector with low-stress, reduced-electrical-length contacts
US8376630B2 (en) * 2010-04-05 2013-02-19 Avago Technologies Fiber Ip (Singapore) Pte. Ltd. Hybrid 8P8C RJ-45 modular plug configured with both optical and electrical connections for providing both optical and electrical communications capabilities, and a method
DE102010024809B4 (de) 2010-06-23 2013-07-18 Wago Verwaltungsgesellschaft Mbh Anschlussklemme
DE102011056410B4 (de) 2011-12-14 2013-06-27 Wago Verwaltungsgesellschaft Mbh Anschlussklemme
DE202011052551U1 (de) * 2011-12-31 2012-05-22 Zellner Gmbh Stecker für ein Datenkabel
US9531136B2 (en) * 2012-05-14 2016-12-27 HCS KABLOLAMA SISTEMLERI SAN. ve TIC.A.S. Keystone jack for use in a computing network
US8777650B1 (en) * 2013-01-04 2014-07-15 Jyh Eng Technology Co., Ltd. Quick-detachable modular jack and face panel mounting structure
FR3010839B1 (fr) * 2013-09-17 2017-04-21 Schneider Electric Ind Sas Dispositif de raccordement electrique d'au moins un conducteur dans une borne appartenant a un appareil electrique
DE102013110789B3 (de) 2013-09-30 2014-12-04 Klaus Bruchmann Gmbh Adapter zum Kontaktieren von Sammelschienen
US9553387B2 (en) * 2014-07-15 2017-01-24 Industria Lombarda Materiale Elettrico—I.L.M.E. S.P.A. Electrical connecting device with spring connection element and compact actuator and multi-pole plug connector comprising a plurality of said spring contacts
DE102014119421B4 (de) 2014-12-22 2017-02-02 Wago Verwaltungsgesellschaft Mbh Verbindungsklemme und Verfahren zur Montage einer Verbindungsklemme
US9397444B1 (en) 2015-06-01 2016-07-19 Dinkle Enterprise Co., Ltd. Terminal block wiring device
DE202015103176U1 (de) * 2015-06-17 2015-06-29 Dinkle Enterprise Co., Ltd. Anschlussblock-Verdrahtungsvorrichtung

Patent Citations (4)

* Cited by examiner, † Cited by third party
Publication number Priority date Publication date Assignee Title
DE102012110895A1 (de) 2012-11-13 2014-05-15 Wago Verwaltungsgesellschaft Mbh Anschlussklemme
DE102015104625A1 (de) 2015-03-26 2016-09-29 Phoenix Contact Gmbh & Co. Kg Leiteranschlussklemme
DE102015115612A1 (de) 2015-09-16 2017-03-16 Phoenix Contact Gmbh & Co. Kg Anschlussklemme zum Anschließen eines elektrischen Leiters
DE102015122143A1 (de) 2015-12-17 2017-06-22 Wago Verwaltungsgesellschaft Mbh Leiteranschlussklemme

Also Published As

Publication number Publication date
EP3504755B1 (de) 2021-07-07
WO2018036898A1 (de) 2018-03-01
EP3504755A1 (de) 2019-07-03
KR20190039528A (ko) 2019-04-12
US20190190168A1 (en) 2019-06-20
CN109643858B (zh) 2021-07-09
PL3504755T3 (pl) 2021-12-27
JP2019525433A (ja) 2019-09-05
US10367272B2 (en) 2019-07-30
CN109643858A (zh) 2019-04-16
DE102016115601A1 (de) 2018-03-01
KR102438953B1 (ko) 2022-09-02
JP7080218B2 (ja) 2022-06-03

Similar Documents

Publication Publication Date Title
EP3504755B2 (de) Federkraftklemmanschluss
EP2843764B1 (de) Federkraftklemme für Leiter
EP3298659B1 (de) Leiteranschlussklemme
EP2768079B1 (de) Federkraftklemme für Leiter
DE102019132316A1 (de) Federkraftklemme für Leiter
DE102015118033B4 (de) Leiteranschlussklemme
DE102022100132A1 (de) Elektrische Anschlussvorrichtung
EP3491699B1 (de) Betätiger für eine anschlusseinrichtung für elektrische leiter
EP3028344B1 (de) Elektrische anschlussklemme und verfahren
DE102014117062B4 (de) Federkraftklemme
WO2020259926A1 (de) Elektrische anschlussklemme
WO2023213511A1 (de) Anschlussvorrichtung, die als federkraftklemme zum anschluss eines leiters ausgelegt ist
DE102014119406B4 (de) Anschlussklemme
DE102019106353B4 (de) Leiteranschlussklemme mit einem Betätigungselement mit angepasster Druckfläche
DE102024134941A1 (de) Federkraftklemmanschluss, Leiteranschlussklemme und Führhülse hierzu
EP3714511B1 (de) Anschlusseinrichtung zum anschliessen einer elektrischen leitung
EP1542317B1 (de) Vorrichtung zur Kontaktierung eines elektrischen Leiters
DE102019106352B4 (de) Leiteranschlussklemme mit einem Betätigungselement umfassend ein Mitnehmerelement
DE102014119413B4 (de) Leiteranschlussklemme
DE10039963C2 (de) Schneidklemmeinrichtung
DE202014011415U1 (de) Anschlussklemme
DE10205613B4 (de) Kontaktelement
DE102020115991B4 (de) Leiteranschlussklemme mit Betätigung durch ein Leiteranschlussmodul
BE1027120B1 (de) Leiteranschlussklemme mit einem Betätigungselement mit angepasster Druckfläche
DE102014020026B4 (de) Anschlussklemme

Legal Events

Date Code Title Description
STAA Information on the status of an ep patent application or granted ep patent

Free format text: STATUS: UNKNOWN

STAA Information on the status of an ep patent application or granted ep patent

Free format text: STATUS: THE INTERNATIONAL PUBLICATION HAS BEEN MADE

PUAI Public reference made under article 153(3) epc to a published international application that has entered the european phase

Free format text: ORIGINAL CODE: 0009012

STAA Information on the status of an ep patent application or granted ep patent

Free format text: STATUS: REQUEST FOR EXAMINATION WAS MADE

17P Request for examination filed

Effective date: 20190314

AK Designated contracting states

Kind code of ref document: A1

Designated state(s): AL AT BE BG CH CY CZ DE DK EE ES FI FR GB GR HR HU IE IS IT LI LT LU LV MC MK MT NL NO PL PT RO RS SE SI SK SM TR

AX Request for extension of the european patent

Extension state: BA ME

DAV Request for validation of the european patent (deleted)
DAX Request for extension of the european patent (deleted)
STAA Information on the status of an ep patent application or granted ep patent

Free format text: STATUS: EXAMINATION IS IN PROGRESS

17Q First examination report despatched

Effective date: 20200717

GRAP Despatch of communication of intention to grant a patent

Free format text: ORIGINAL CODE: EPIDOSNIGR1

STAA Information on the status of an ep patent application or granted ep patent

Free format text: STATUS: GRANT OF PATENT IS INTENDED

INTG Intention to grant announced

Effective date: 20210312

GRAS Grant fee paid

Free format text: ORIGINAL CODE: EPIDOSNIGR3

GRAA (expected) grant

Free format text: ORIGINAL CODE: 0009210

STAA Information on the status of an ep patent application or granted ep patent

Free format text: STATUS: THE PATENT HAS BEEN GRANTED

AK Designated contracting states

Kind code of ref document: B1

Designated state(s): AL AT BE BG CH CY CZ DE DK EE ES FI FR GB GR HR HU IE IS IT LI LT LU LV MC MK MT NL NO PL PT RO RS SE SI SK SM TR

REG Reference to a national code

Ref country code: GB

Ref legal event code: FG4D

Free format text: NOT ENGLISH

REG Reference to a national code

Ref country code: AT

Ref legal event code: REF

Ref document number: 1409483

Country of ref document: AT

Kind code of ref document: T

Effective date: 20210715

REG Reference to a national code

Ref country code: DE

Ref legal event code: R096

Ref document number: 502017010862

Country of ref document: DE

REG Reference to a national code

Ref country code: IE

Ref legal event code: FG4D

Free format text: LANGUAGE OF EP DOCUMENT: GERMAN

REG Reference to a national code

Ref country code: LT

Ref legal event code: MG9D

REG Reference to a national code

Ref country code: NL

Ref legal event code: MP

Effective date: 20210707

PG25 Lapsed in a contracting state [announced via postgrant information from national office to epo]

Ref country code: FI

Free format text: LAPSE BECAUSE OF FAILURE TO SUBMIT A TRANSLATION OF THE DESCRIPTION OR TO PAY THE FEE WITHIN THE PRESCRIBED TIME-LIMIT

Effective date: 20210707

Ref country code: ES

Free format text: LAPSE BECAUSE OF FAILURE TO SUBMIT A TRANSLATION OF THE DESCRIPTION OR TO PAY THE FEE WITHIN THE PRESCRIBED TIME-LIMIT

Effective date: 20210707

Ref country code: PT

Free format text: LAPSE BECAUSE OF FAILURE TO SUBMIT A TRANSLATION OF THE DESCRIPTION OR TO PAY THE FEE WITHIN THE PRESCRIBED TIME-LIMIT

Effective date: 20211108

Ref country code: NO

Free format text: LAPSE BECAUSE OF FAILURE TO SUBMIT A TRANSLATION OF THE DESCRIPTION OR TO PAY THE FEE WITHIN THE PRESCRIBED TIME-LIMIT

Effective date: 20211007

Ref country code: NL

Free format text: LAPSE BECAUSE OF FAILURE TO SUBMIT A TRANSLATION OF THE DESCRIPTION OR TO PAY THE FEE WITHIN THE PRESCRIBED TIME-LIMIT

Effective date: 20210707

Ref country code: LT

Free format text: LAPSE BECAUSE OF FAILURE TO SUBMIT A TRANSLATION OF THE DESCRIPTION OR TO PAY THE FEE WITHIN THE PRESCRIBED TIME-LIMIT

Effective date: 20210707

Ref country code: BG

Free format text: LAPSE BECAUSE OF FAILURE TO SUBMIT A TRANSLATION OF THE DESCRIPTION OR TO PAY THE FEE WITHIN THE PRESCRIBED TIME-LIMIT

Effective date: 20211007

Ref country code: HR

Free format text: LAPSE BECAUSE OF FAILURE TO SUBMIT A TRANSLATION OF THE DESCRIPTION OR TO PAY THE FEE WITHIN THE PRESCRIBED TIME-LIMIT

Effective date: 20210707

Ref country code: SE

Free format text: LAPSE BECAUSE OF FAILURE TO SUBMIT A TRANSLATION OF THE DESCRIPTION OR TO PAY THE FEE WITHIN THE PRESCRIBED TIME-LIMIT

Effective date: 20210707

Ref country code: RS

Free format text: LAPSE BECAUSE OF FAILURE TO SUBMIT A TRANSLATION OF THE DESCRIPTION OR TO PAY THE FEE WITHIN THE PRESCRIBED TIME-LIMIT

Effective date: 20210707

PG25 Lapsed in a contracting state [announced via postgrant information from national office to epo]

Ref country code: LV

Free format text: LAPSE BECAUSE OF FAILURE TO SUBMIT A TRANSLATION OF THE DESCRIPTION OR TO PAY THE FEE WITHIN THE PRESCRIBED TIME-LIMIT

Effective date: 20210707

Ref country code: GR

Free format text: LAPSE BECAUSE OF FAILURE TO SUBMIT A TRANSLATION OF THE DESCRIPTION OR TO PAY THE FEE WITHIN THE PRESCRIBED TIME-LIMIT

Effective date: 20211008

REG Reference to a national code

Ref country code: DE

Ref legal event code: R026

Ref document number: 502017010862

Country of ref document: DE

PLBI Opposition filed

Free format text: ORIGINAL CODE: 0009260

REG Reference to a national code

Ref country code: BE

Ref legal event code: MM

Effective date: 20210831

PG25 Lapsed in a contracting state [announced via postgrant information from national office to epo]

Ref country code: DK

Free format text: LAPSE BECAUSE OF FAILURE TO SUBMIT A TRANSLATION OF THE DESCRIPTION OR TO PAY THE FEE WITHIN THE PRESCRIBED TIME-LIMIT

Effective date: 20210707

PLAX Notice of opposition and request to file observation + time limit sent

Free format text: ORIGINAL CODE: EPIDOSNOBS2

26 Opposition filed

Opponent name: PHOENIX CONTACT GMBH & CO. KG

Effective date: 20220407

PG25 Lapsed in a contracting state [announced via postgrant information from national office to epo]

Ref country code: SM

Free format text: LAPSE BECAUSE OF FAILURE TO SUBMIT A TRANSLATION OF THE DESCRIPTION OR TO PAY THE FEE WITHIN THE PRESCRIBED TIME-LIMIT

Effective date: 20210707

Ref country code: SK

Free format text: LAPSE BECAUSE OF FAILURE TO SUBMIT A TRANSLATION OF THE DESCRIPTION OR TO PAY THE FEE WITHIN THE PRESCRIBED TIME-LIMIT

Effective date: 20210707

Ref country code: RO

Free format text: LAPSE BECAUSE OF FAILURE TO SUBMIT A TRANSLATION OF THE DESCRIPTION OR TO PAY THE FEE WITHIN THE PRESCRIBED TIME-LIMIT

Effective date: 20210707

Ref country code: MC

Free format text: LAPSE BECAUSE OF FAILURE TO SUBMIT A TRANSLATION OF THE DESCRIPTION OR TO PAY THE FEE WITHIN THE PRESCRIBED TIME-LIMIT

Effective date: 20210707

Ref country code: LU

Free format text: LAPSE BECAUSE OF NON-PAYMENT OF DUE FEES

Effective date: 20210817

Ref country code: EE

Free format text: LAPSE BECAUSE OF FAILURE TO SUBMIT A TRANSLATION OF THE DESCRIPTION OR TO PAY THE FEE WITHIN THE PRESCRIBED TIME-LIMIT

Effective date: 20210707

Ref country code: CZ

Free format text: LAPSE BECAUSE OF FAILURE TO SUBMIT A TRANSLATION OF THE DESCRIPTION OR TO PAY THE FEE WITHIN THE PRESCRIBED TIME-LIMIT

Effective date: 20210707

Ref country code: AL

Free format text: LAPSE BECAUSE OF FAILURE TO SUBMIT A TRANSLATION OF THE DESCRIPTION OR TO PAY THE FEE WITHIN THE PRESCRIBED TIME-LIMIT

Effective date: 20210707

PLBB Reply of patent proprietor to notice(s) of opposition received

Free format text: ORIGINAL CODE: EPIDOSNOBS3

PG25 Lapsed in a contracting state [announced via postgrant information from national office to epo]

Ref country code: IT

Free format text: LAPSE BECAUSE OF FAILURE TO SUBMIT A TRANSLATION OF THE DESCRIPTION OR TO PAY THE FEE WITHIN THE PRESCRIBED TIME-LIMIT

Effective date: 20210707

Ref country code: IE

Free format text: LAPSE BECAUSE OF NON-PAYMENT OF DUE FEES

Effective date: 20210817

Ref country code: BE

Free format text: LAPSE BECAUSE OF NON-PAYMENT OF DUE FEES

Effective date: 20210831

PGFP Annual fee paid to national office [announced via postgrant information from national office to epo]

Ref country code: GB

Payment date: 20220823

Year of fee payment: 6

Ref country code: AT

Payment date: 20220818

Year of fee payment: 6

PGFP Annual fee paid to national office [announced via postgrant information from national office to epo]

Ref country code: PL

Payment date: 20220804

Year of fee payment: 6

Ref country code: FR

Payment date: 20220824

Year of fee payment: 6

PGFP Annual fee paid to national office [announced via postgrant information from national office to epo]

Ref country code: CH

Payment date: 20220907

Year of fee payment: 6

REG Reference to a national code

Ref country code: DE

Ref legal event code: R082

Ref document number: 502017010862

Country of ref document: DE

Representative=s name: MEISSNER BOLTE PATENTANWAELTE RECHTSANWAELTE P, DE

P01 Opt-out of the competence of the unified patent court (upc) registered

Effective date: 20230516

PG25 Lapsed in a contracting state [announced via postgrant information from national office to epo]

Ref country code: CY

Free format text: LAPSE BECAUSE OF FAILURE TO SUBMIT A TRANSLATION OF THE DESCRIPTION OR TO PAY THE FEE WITHIN THE PRESCRIBED TIME-LIMIT

Effective date: 20210707

PG25 Lapsed in a contracting state [announced via postgrant information from national office to epo]

Ref country code: HU

Free format text: LAPSE BECAUSE OF FAILURE TO SUBMIT A TRANSLATION OF THE DESCRIPTION OR TO PAY THE FEE WITHIN THE PRESCRIBED TIME-LIMIT; INVALID AB INITIO

Effective date: 20170817

PLAB Opposition data, opponent's data or that of the opponent's representative modified

Free format text: ORIGINAL CODE: 0009299OPPO

R26 Opposition filed (corrected)

Opponent name: PHOENIX CONTACT GMBH & CO. KG

Effective date: 20220407

REG Reference to a national code

Ref country code: CH

Ref legal event code: PL

REG Reference to a national code

Ref country code: AT

Ref legal event code: MM01

Ref document number: 1409483

Country of ref document: AT

Kind code of ref document: T

Effective date: 20230817

PG25 Lapsed in a contracting state [announced via postgrant information from national office to epo]

Ref country code: AT

Free format text: LAPSE BECAUSE OF NON-PAYMENT OF DUE FEES

Effective date: 20230817

GBPC Gb: european patent ceased through non-payment of renewal fee

Effective date: 20230817

PG25 Lapsed in a contracting state [announced via postgrant information from national office to epo]

Ref country code: MK

Free format text: LAPSE BECAUSE OF FAILURE TO SUBMIT A TRANSLATION OF THE DESCRIPTION OR TO PAY THE FEE WITHIN THE PRESCRIBED TIME-LIMIT

Effective date: 20210707

Ref country code: AT

Free format text: LAPSE BECAUSE OF NON-PAYMENT OF DUE FEES

Effective date: 20230817

Ref country code: CH

Free format text: LAPSE BECAUSE OF NON-PAYMENT OF DUE FEES

Effective date: 20230831

PUAH Patent maintained in amended form

Free format text: ORIGINAL CODE: 0009272

STAA Information on the status of an ep patent application or granted ep patent

Free format text: STATUS: PATENT MAINTAINED AS AMENDED

27A Patent maintained in amended form

Effective date: 20240619

AK Designated contracting states

Kind code of ref document: B2

Designated state(s): AL AT BE BG CH CY CZ DE DK EE ES FI FR GB GR HR HU IE IS IT LI LT LU LV MC MK MT NL NO PL PT RO RS SE SI SK SM TR

REG Reference to a national code

Ref country code: DE

Ref legal event code: R102

Ref document number: 502017010862

Country of ref document: DE

PG25 Lapsed in a contracting state [announced via postgrant information from national office to epo]

Ref country code: GB

Free format text: LAPSE BECAUSE OF NON-PAYMENT OF DUE FEES

Effective date: 20230817

PG25 Lapsed in a contracting state [announced via postgrant information from national office to epo]

Ref country code: GB

Free format text: LAPSE BECAUSE OF NON-PAYMENT OF DUE FEES

Effective date: 20230817

Ref country code: FR

Free format text: LAPSE BECAUSE OF NON-PAYMENT OF DUE FEES

Effective date: 20230831

PG25 Lapsed in a contracting state [announced via postgrant information from national office to epo]

Ref country code: MT

Free format text: LAPSE BECAUSE OF FAILURE TO SUBMIT A TRANSLATION OF THE DESCRIPTION OR TO PAY THE FEE WITHIN THE PRESCRIBED TIME-LIMIT

Effective date: 20210707

PG25 Lapsed in a contracting state [announced via postgrant information from national office to epo]

Ref country code: PL

Free format text: LAPSE BECAUSE OF NON-PAYMENT OF DUE FEES

Effective date: 20230817

PGFP Annual fee paid to national office [announced via postgrant information from national office to epo]

Ref country code: DE

Payment date: 20250827

Year of fee payment: 9

PG25 Lapsed in a contracting state [announced via postgrant information from national office to epo]

Ref country code: TR

Free format text: LAPSE BECAUSE OF FAILURE TO SUBMIT A TRANSLATION OF THE DESCRIPTION OR TO PAY THE FEE WITHIN THE PRESCRIBED TIME-LIMIT

Effective date: 20210707