EP3290572B1 - Wäschepflegegerät mit einer umleitvorrichtung - Google Patents

Wäschepflegegerät mit einer umleitvorrichtung Download PDF

Info

Publication number
EP3290572B1
EP3290572B1 EP17186383.0A EP17186383A EP3290572B1 EP 3290572 B1 EP3290572 B1 EP 3290572B1 EP 17186383 A EP17186383 A EP 17186383A EP 3290572 B1 EP3290572 B1 EP 3290572B1
Authority
EP
European Patent Office
Prior art keywords
laundry
washing liquid
drum
appliance
care appliance
Prior art date
Legal status (The legal status is an assumption and is not a legal conclusion. Google has not performed a legal analysis and makes no representation as to the accuracy of the status listed.)
Active
Application number
EP17186383.0A
Other languages
English (en)
French (fr)
Other versions
EP3290572A1 (de
Inventor
Dirk MISCHKE
Raymond Römer
Jörg SKRIPPEK
Current Assignee (The listed assignees may be inaccurate. Google has not performed a legal analysis and makes no representation or warranty as to the accuracy of the list.)
BSH Hausgeraete GmbH
Original Assignee
BSH Hausgeraete GmbH
Priority date (The priority date is an assumption and is not a legal conclusion. Google has not performed a legal analysis and makes no representation as to the accuracy of the date listed.)
Filing date
Publication date
Application filed by BSH Hausgeraete GmbH filed Critical BSH Hausgeraete GmbH
Publication of EP3290572A1 publication Critical patent/EP3290572A1/de
Application granted granted Critical
Publication of EP3290572B1 publication Critical patent/EP3290572B1/de
Active legal-status Critical Current
Anticipated expiration legal-status Critical

Links

Images

Classifications

    • DTEXTILES; PAPER
    • D06TREATMENT OF TEXTILES OR THE LIKE; LAUNDERING; FLEXIBLE MATERIALS NOT OTHERWISE PROVIDED FOR
    • D06FLAUNDERING, DRYING, IRONING, PRESSING OR FOLDING TEXTILE ARTICLES
    • D06F39/00Details of washing machines not specific to a single type of machines covered by groups D06F9/00 - D06F27/00 
    • D06F39/08Liquid supply or discharge arrangements
    • D06F39/083Liquid discharge or recirculation arrangements
    • DTEXTILES; PAPER
    • D06TREATMENT OF TEXTILES OR THE LIKE; LAUNDERING; FLEXIBLE MATERIALS NOT OTHERWISE PROVIDED FOR
    • D06FLAUNDERING, DRYING, IRONING, PRESSING OR FOLDING TEXTILE ARTICLES
    • D06F37/00Details specific to washing machines covered by groups D06F21/00 - D06F25/00
    • D06F37/26Casings; Tubs
    • D06F37/267Tubs specially adapted for mounting thereto components or devices not provided for in preceding subgroups
    • DTEXTILES; PAPER
    • D06TREATMENT OF TEXTILES OR THE LIKE; LAUNDERING; FLEXIBLE MATERIALS NOT OTHERWISE PROVIDED FOR
    • D06FLAUNDERING, DRYING, IRONING, PRESSING OR FOLDING TEXTILE ARTICLES
    • D06F39/00Details of washing machines not specific to a single type of machines covered by groups D06F9/00 - D06F27/00 
    • D06F39/12Casings; Tubs
    • D06F39/14Doors or covers; Securing means therefor

Definitions

  • the present invention relates to a laundry care appliance with a diverting device.
  • pump-over systems are used in order to pump washing liquid out of the tub by means of a pump and to supply the pumped-off washing liquid again to the tub by means of the pump through the pump-over system.
  • the washing liquid supplied to the tub is directed onto the laundry in the laundry drum in order to wet the laundry with the washing liquid. If the laundry drum rotates quickly during the pumping process or if the laundry drum is fully loaded with laundry, the injected washing liquid can bounce off the laundry and flow into the tub without completely and effectively wetting the laundry, which may result in the laundry not being evenly wetted or can be washed through.
  • WO 2011/012589 A1 discloses a glass tray for a door assembly of a washing machine, the glass tray having a see-through portion.
  • the disclosure document DE 38 11 582 A1 discloses a front loading drum type washing machine.
  • JP 2009 006081 A reveals a washing machine.
  • the disclosure document DE 10 2004 043671 A1 discloses a front loading drum type washing machine.
  • the utility model document DE 92 14 331 U1 discloses a washing machine with an arrangement of a detergent container in the door window.
  • the disclosure document DE 10 2012 110179 A1 discloses a door dispenser for laundry aids in a laundry treating appliance.
  • EP 2 754 743 A1 reveals a washing machine.
  • the utility model document CN 202116872 U reveals a washing machine.
  • the object of the invention is achieved by a laundry care appliance with a device loading opening on a front side of the laundry care appliance Appliance door for closing the appliance loading opening, a laundry drum for receiving laundry, the laundry drum being rotatable about an axis of rotation, the axis of rotation extending from the front of the appliance to the rear of the laundry care appliance, and a suds container for receiving washing liquid, the suds container having a drain opening has, wherein the laundry care appliance has an inlet nozzle, wherein the outlet opening is fluidically connected to the inlet nozzle by a line, a pump for pumping the washing liquid out of the outlet opening through the line and through the inlet nozzle being arranged in the line, wherein on an inner side of the Appliance door is arranged a diverting device, wherein the inlet nozzle is designed to direct the washing liquid pumped out through the inlet nozzle radially to the axis of rotation onto the diverting device, and wherein the diverting device is designed to act on the diverting device direction to divert incident
  • laundry lies against the laundry drum due to centrifugal force during rapid rotation of the laundry drum and thereby forms a laundry ring.
  • the laundry ring has a laundry tunnel along the axis of rotation of the laundry drum.
  • washing liquid is supplied to the laundry in the laundry drum while the laundry drum is rotating.
  • the supplied washing liquid can ricochet off the laundry lying against the laundry drum and flow into the tub without completely wetting or flooding the laundry.
  • the centrifugal forces can become so great that the washing liquid can no longer be conveyed from the outside to the inside via the drum drivers with the aid of gravity.
  • the supplied washing liquid is advantageously introduced into the laundry tunnel of the laundry lying against the laundry drum.
  • the washing liquid is pumped out through the inlet nozzle or injection nozzle and is directed to the diverting device, which is arranged on the inside of the appliance door, which in turn is attached to the front of the laundry care appliance.
  • the diverting device enables the washing liquid impinging on the diverting device to be diverted in the direction of the laundry drum, in particular axially parallel to the axis of rotation, into the laundry tunnel.
  • the diverted washing liquid is guided from the front of the laundry care appliance along the axis of rotation into the interior of the laundry drum.
  • the washing liquid Due to the rotation of the laundry drum, the washing liquid is pressed through the laundry lying against the laundry drum due to the centrifugal force and can thus completely and advantageously wet the laundry. It is thus ensured by the advantageous injection of the washing liquid by the diverting device that the injection jet is not impeded or interrupted by the amount of laundry, not by the geometry of the laundry, and not by the geometry of the appliance door.
  • the shape of the diverted washing liquid jet can be influenced by the geometric shape of the diverting device.
  • the injection process can be visualized through a window in the appliance door by deflecting the jet of washing liquid.
  • a drum interior light can particularly advantageously illustrate the diverted injection process of the washing liquid.
  • a laundry care device is understood to mean a device that is used for laundry care, such as a washing machine or a tumble dryer.
  • a laundry care appliance is understood to mean a household laundry care appliance.
  • a laundry care device that is used as part of housekeeping and is used to treat laundry in normal household quantities.
  • the deflection device has a deflection surface against which the washing liquid impinging on the deflection device can be sprayed in order to direct the washing liquid in the direction of the To redirect laundry drum, wherein the deflection surface is designed as a curved or curved deflection surface.
  • the deflection surface of the deflection device enables a particularly effective deflection of the washing liquid jet impinging on the deflection surface.
  • the deflection surface of the deflection device makes it possible, in particular, for the washing liquid impinging on the deflection surface to be injected into the washing drum axially parallel to the axis of rotation.
  • a bent or curved deflection surface is particularly advantageous since the washing liquid jet impinging on the bent or curved deflection surface is deflected along the bend or curvature of the bent or curved deflection surface.
  • the direction of the jet of washing liquid injected into the laundry drum can thus be advantageously controlled by the formation of the bend or curvature of the bent or curved deflection surface.
  • the washing liquid pumped out through the inlet nozzle can be directed onto the diverting device along an injection axis, with the injection axis enclosing a diverting angle of 75° to 105°, in particular 90°, with the axis of rotation.
  • the deflection angle of 75° to 105°, in particular 90° ensures a particularly effective deflection of the washing liquid jet.
  • the point of impact of the diverted washing liquid jet in the laundry drum can advantageously be finely adjusted by the deflection angle, so that it is ensured that the diverted washing liquid jet can be introduced into the laundry drum by the deflection device on the front of the appliance, advantageously along the axis of rotation of the laundry drum.
  • the diverting device has a profiled surface structure which is designed to effectively fan out the impinging washing liquid, the profiled surface structure having in particular a depression, a groove or a rib.
  • the profiled surface structure in particular a depression, groove or rib, ensures that the jet of washing liquid fans out particularly effectively.
  • the fanned-out jet of washing liquid ensures that the washing liquid jet has a large surface area within the washing drum, so that the washing can advantageously be wetted.
  • the diverting device has a projecting edge on a side facing the laundry drum, which is designed to direct the diverted washing liquid in the direction of the laundry drum, and the diverting device on the projecting edge has in particular a progressive gradient.
  • the protruding edge ensures that the washing liquid does not flow downwards at the deflection device into the tub at a reduced pump pressure and a resulting reduced injection pressure of the injected washing liquid, without effectively wetting the laundry in the laundry drum or to flood. Diverted washing liquid can thus be injected into the washing drum in particular axially parallel to the axis of rotation.
  • the ledge and in particular the progressive gradient of the deflector at the ledge ensure that the jet of washing liquid when flowing over the ledge detaches from the deflector and can be effectively injected along the axis of rotation of the laundry drum into the laundry drum.
  • the diverting device has a bundling element which is designed to bundle the washing liquid in order to direct a bundled jet of washing liquid in the direction of the laundry drum, the bundling element in particular comprising a bundling nozzle or a bundling nozzle section.
  • the bundling element in particular the bundling nozzle or the bundling nozzle section, which is arranged geometrically on a door contour of the appliance door, ensures that an overly diversified jet of washing liquid is again advantageously bundled into the laundry drum can be, whereby splashing of the washing liquid can be prevented.
  • the entire washing liquid can be effectively used to wet or soak the laundry.
  • the diverting device is designed as a bent or curved metal plate, rubber plate, plastic plate or as a bent or curved window glass section and/or the diverting device is formed on the inside of the appliance door.
  • a bent or curved metal plate, rubber plate, plastic plate, or a bent or curved window glass section enables the diverting device to be advantageously manufactured, thereby ensuring that the washing liquid is effectively diverted through the diverting device.
  • a diverting device formed on the inside of the appliance door enables a particularly simple, advantageous and therefore cost-effective production of the appliance door together with the diverting device.
  • the laundry care appliance has a drum drive for rotating the laundry drum about the axis of rotation, the drum drive being designed to drive the laundry drum at a contact speed in order to bring the laundry accommodated in the laundry drum into contact with the laundry drum and a to form a laundry tunnel within the laundry lying against the laundry drum, with the diverting device being designed to direct the washing liquid in the direction of the axis of rotation into the laundry tunnel within the laundry lying against the laundry drum, the system speed in particular being in a range from 80 rpm to 200 rpm /min included.
  • the pump is designed to pump the washing liquid through the inlet nozzle at different pump pressures in order to vary where the washing liquid occurs within the rotating laundry drum.
  • the pump is designed to pump washing liquid through the inlet nozzle with pump pressures that change periodically over time, the pump pressures that change periodically over time corresponding in particular to a sinusoidal pump pressure change.
  • the laundry care appliance comprises a drum drive for rotating the laundry drum about the axis of rotation at a laundry drum rotation frequency
  • the pump is designed to pump washing liquid through the inlet nozzle with a pump pressure that changes according to a pump frequency, the pump frequency varying from the Laundry drum rotation frequency or different from a non-integer multiple of the laundry drum rotation frequency.
  • the different values of the pump frequency of the pump and the washing drum rotation frequency of the washing drum ensure that the changing location of the washing liquid pumped into the washing drum by the pump is distributed over a large area of the drum casing or the washing tunnel of the Laundry drum is directed and thus a complete wetting of the laundry in the laundry drum can be ensured.
  • the interference pattern depends on the variation in pump pressure over time, i.e. the variation in pump speed and drum speed, but not on the radius of the laundry ring or laundry tunnel.
  • the inlet nozzle is arranged on an upper front side of the tub, and the outlet opening is arranged on an underside of the tub, the inlet nozzle being arranged in particular on a sleeve between the laundry drum, the tub and an appliance housing of the laundry care appliance.
  • an inlet nozzle arranged on the upper front side of the tub, in particular on the collar ensures a particularly advantageous injection of the washing liquid directed onto the stationary, non-oscillating deflection device.
  • the inlet nozzle on the collar is positioned as far as possible on the stationary device housing, or the inlet nozzle is arranged as far away as possible from the vibrating tub.
  • By positioning the inlet nozzle of the boot will not impart vibrations to the inlet nozzle. This ensures that the injection jet directed through the inlet nozzle is always directed and is not deflected by vibrations in the tub.
  • a number of projections are arranged on the laundry drum, on a sleeve and/or on the appliance door, which projections are designed to move the laundry in the laundry drum during rotation of the laundry drum.
  • the object is achieved by a method for wetting laundry in a laundry drum of a laundry care appliance, the laundry care appliance having an appliance loading opening on a front side of the laundry care appliance, an appliance door for closing the appliance loading opening, a laundry drum for receiving laundry, the Laundry drum can be rotated about an axis of rotation, the axis of rotation extending from the front of the appliance to the rear of the laundry care appliance, and having a tub for holding washing liquid, the tub having a drain opening, the laundry care appliance having an inlet nozzle, the drain opening having the inlet nozzle is fluidically connected by a line, wherein a pump for pumping the washing liquid from the drain opening through the line and through the inlet nozzle is arranged in the line, wherein on an inside of the appliance door e diverting device is arranged, the diverting device having a diverting surface against which the washing liquid impinging on the diverting device can be sprayed in order to divert the washing liquid in the direction of the laundry drum, the diver
  • the diverting device effectively diverts washing liquid into the interior of the laundry drum and thereby an advantageous wetting of the laundry is ensured.
  • the inlet nozzle can be used for radial injection and the washing liquid jet can be deflected axially at the deflection device without the washer ring that is formed being able to impede or deflect the injection jet.
  • the cuff edge is used to inject diagonally into the laundry tunnel, there is always a risk in applications with full loads that the laundry ring will cover the injection corridor, meaning that the injected washing liquid for the washing process can flow out of the appliance door unused and the laundry cannot be washed again is wetted or flooded.
  • the laundry care appliance 100 includes a dispensing tray 101 into which the laundry care substance, such as detergent, can be filled.
  • the laundry care appliance 100 has a front side 103 , a rear side 105 , long sides 107 , a bottom side 109 and a top side 111 .
  • a device loading opening 113 is arranged on the front side 103 of the laundry care device 100 and can be closed by a device door 115 in order to load the laundry care device 100 with laundry.
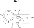
  • FIG. 2 shows a schematic view of a laundry care appliance with a pumping system. That in the 2 illustrated pumping system of the laundry care appliance 100 comprises a laundry drum 117 for receiving laundry, a tub 119 for receiving washing liquid, which has a drain opening 121, and wherein the laundry care appliance 100 has an inlet nozzle 123.
  • the inlet nozzle 123 and the drain opening 121 are fluidically connected by a line 125, with a pump 127 being arranged in the line 125, which is designed to pump washing liquid through the drain opening 121 from the tub 119 into the line 125 and to pump out the washing liquid that has been pumped out to the line 125 through the inlet nozzle 123 of the laundry drum 117 .
  • a drum drive 129 is also shown, which is designed to drive the laundry drum 117 via a drive connection 131.
  • the laundry care appliance 100 has a controller 133 which is connected to the drum drive 129 by a first control connection 135 and to the pump 127 by a second control connection 137 .
  • the washing liquid injected into the laundry drum 117 through the inlet nozzle 123 can bounce off the laundry, blocking access to the inside of the laundry tunnel, and the washing liquid can run back into the tub 119 without completely flooding the laundry .
  • the laundry drum 117 rotates very quickly, the laundry is pressed against the laundry drum 117 due to the centrifugal forces that occur, as a result of which a laundry tunnel is formed in the laundry drum 117 .
  • the washing liquid is pumped by the pump 127 through the line 125 to the inlet nozzle 123 . It must then be ensured that the washing liquid pumped out through the inlet nozzle 123 advantageously hits the washing tunnel of the washing in the rotating washing drum 117 . It can thereby be ensured that due to the centrifugal forces that occur, the laundry in the laundry drum 117 is advantageously flooded in a radial direction directed outwards from the laundry tunnel, from the inside to the outside.
  • FIG. 3 shows a schematic view of a laundry care appliance with a laundry drum and a diverting device.
  • the representation chosen shows a lateral longitudinal section of a laundry care appliance 100 in the loaded state during the pump-over-injection process.
  • In 3 is the top of the device 111, the back of the device 105, the front of the device 103 and the bottom of the device 109 of the Laundry care appliance 100 shown.
  • a device loading opening 113 is arranged on the front side 103 of the device, which can be closed by a device door 115, through which the interior of the laundry care device 100 is accessible for loading.
  • a suds container 119 for holding the washing liquid and a laundry drum 117 for holding laundry 139 are arranged in the interior of the laundry care appliance 100 , with the laundry drum 117 being rotatable along an axis of rotation 141 .
  • the axis of rotation 141 extends from the front side 103 to the rear side 105 of the laundry care appliance 100.
  • a sleeve 143 is arranged between the laundry drum 117, the tub 119 and the appliance door 115.
  • the sleeve 143 ensures a fluid-technical seal between the laundry drum 117 or the tub 119 and an appliance housing 145 of the laundry care appliance 100 . Furthermore, the sleeve 143 decouples the oscillating system, which is mounted on spring dampers, from the stationary device housing 145.
  • An inlet nozzle 123 is arranged on the stationary section of the sleeve 143, which is designed to direct washing liquid 147 pumped out of the inlet nozzle 123 along an injection axis 149 to a diverting device 151 , wherein the deflection device 151 is designed in particular as a bent or curved metal plate, rubber plate, plastic plate or as a bent or curved window glass section and/or as in 3 shown is formed on an inner side 153 of the appliance door 115 .
  • the diverting device 151 is arranged on the inside 153 of the appliance door 115 and is designed to divert the washing liquid 147 impinging on the diverting device 151 in the direction of the laundry drum 117, in particular parallel to the axis of rotation 141, and to divert the diverted washing liquid 147 along the axis of rotation 141 into the laundry tunnel 155 in of the laundry drum 117 to inject.
  • the diverted washing liquid 147 is introduced, in particular from the front side 103 of the appliance, into a washing tunnel 155 of the washing 139 lying against the washing drum 117 .
  • the diverting device 151 has a curved diverting surface 157 against which the washing liquid 147 impinging on the diverting device 151 can be sprayed in order to direct the washing liquid 147 in the direction of the laundry drum 117, in particular parallel to the Axis of rotation 114 redirect.
  • the deflection surface 157 is designed in particular as a bent or curved deflection surface 157 .
  • the injection axis 149 encloses a deflection angle 159 of 75° to 105°, in particular of 90°, with the axis of rotation 141 of the laundry drum 117 in order to achieve axis-parallel laundry tunnel 155 injection .
  • the diverting device 151 can have a profiled surface structure, in particular a depression, groove or rib. In order to ensure an effective bundling of the diverted washing liquid 147, the diverting device 151 can have a bundling element, in particular a bundling nozzle or a bundling nozzle section.
  • a protruding edge 163 of the deflection device 151 is arranged on a side 161 of the deflection device 151 that faces the laundry drum 117 .
  • the deflection device 151 has, in particular, a progressive incline at the projection edge 163 .
  • the protruding edge 163 ensures that, in the event of a reduced pump pressure and a resulting reduced injection pressure of the injected washing liquid 147, the washing liquid 147 does not flow downwards on the side 161 of the diverting device 151 facing the washing drum 117, without effectively closing the washing 139 in the washing drum 117 wet
  • the protruding edge 163 and in particular the progressive gradient of the deflection device 151 at the protruding edge 163 ensures that the jet of washing liquid, when flowing over the protruding edge 163, detaches itself from the deflection device 151 and can be effectively directed along the axis of rotation 141 of the laundry drum 117 into the laundry drum 117.
  • the diverting device 151 arranged on the inside 153 of the appliance door 115 is used directly for introducing the washing liquid 147 into the laundry 139 .
  • the washing liquid jet is deflected by the surface contour of the deflection device 151 .
  • the washing liquid 147 can first be injected radially into the center of the tub 119 and then deflected by approximately 90° at the deflection device 151 in order to distribute the deflected washing liquid 147, in particular along the axis of rotation 141 of the laundry drum 117, in particular parallel to the axis of rotation 141 or axially congruent to inject.
  • the injection jet deflection can be achieved with conventional diagonal injection from the cuff edge on a straight, semi-axial path into the laundry tunnel 155 by the rotating laundry ring can be avoided completely, because the appliance door 115 continues to fulfill its task in the radially outer areas to keep the laundry 139 away from the cuff 143, but in the central area it can Deflection of the injection jet of the pump-over system by the wash liquor.
  • the geometric design of the original injection corridor between the appliance door 115, sleeve 143, tub 119, laundry drum 117 and rotating laundry ring therefore no longer has any influence on the function of wetting or permeating the laundry.
  • the deflection device 151 of the appliance door 113 can be used not only for deflecting the injection washing liquid jet, but also for the geometric design of the jet pattern. For example, a so-called fan beam or a point-focused beam can be realized through the design of the deflection device 151.
  • the washing mesh phase can be accelerated or textiles that are particularly gentle can be dealt with.
  • the detachment of the jet of washing liquid at the deflection device 151 can be implemented by the projecting edge 163 , in which the gradient progresses progressively, so that the washing liquid 147 is reliably detached at the final projecting edge 163 .
  • the diverting device 151 enables washing liquid 147 to be injected independently of the load, with which it is always ensured that the injection jet is not impeded or interrupted either by the geometry of the items to be washed, in particular a laundry ring, or by the geometry of the window. In this way, the necessary washing liquid 147 for remoistening and flooding the laundry 139 along the axis of rotation 141 can always be added to the oscillating system in a functionally appropriate manner.
  • the design of the washing liquid jet can be influenced at the same time as the injection jet is deflected at the appliance door 115. In this way, not only the location but also the area where the injection occurs in the laundry ring can be influenced. In addition, this also affects the jet intensity, because a fanned-out jet represents, for example, less tissue stress on the laundry due to the impact of the jet of washing liquid.
  • the injection process can be visualized for the user by the jet deflection on the door geometry if the appliance door is implemented as usual with a sight glass.
  • a drum interior light which is provided on the same sleeve section as the deflection device 151, can further clarify the activity of the injection process, because the light cone and the injection jet are inclined or aligned with the same orientation towards the center of the drum.
  • the appliance door 115 has an outer side 165, which is 4 non-illustrated outside area of the laundry care appliance 100 faces.
  • the appliance door 115 has an inner side 153, which has an 4 non-illustrated laundry drum 117 of the laundry care appliance 100 faces.
  • diverting device 151 On the inside 153 of the appliance door 115 there is an exemplary diverting device 151 which is designed to divert washing liquid 147 hitting the diverting device 151 parallel to the axis of rotation 141 in the direction of the laundry drum 117 of the laundry care appliance 100 .
  • the diverting device 151 is formed on the inside 153 of the appliance door 115 .
  • Diverting device 151 has a diverting surface 157, against which washing liquid 147 impinging on diverting device 151 can be sprayed in order to divert washing liquid 147 in the direction of laundry drum 117 parallel to axis of rotation 141, diverting surface 157 being a curved or curved diverting surface 157 is trained.
  • the diverting device 151 has a projection edge 163 on a side 161 of the diverting device 151 facing the laundry drum 117 , which is designed to direct the diverted washing liquid 147 in the direction of the laundry drum 117 .
  • the deflection device 151 at the projection edge 163 has, in particular, a progressive gradient.
  • FIG 5 shows a sequence of a method for wetting laundry in a laundry drum, a laundry care appliance, the laundry care appliance according to FIG 3 is described.
  • the method 200 comprises as a method step the routing 201 of the washing liquid 147 pumped by the pump 127 through the inlet nozzle 123 onto the diverting device 151 radially to the axis of rotation 141 and the diverting 203 of the washing liquid 147 impinging on the diverting device 151 in the direction of the laundry drum 117, around the diverted Inject washing liquid 147 parallel to the axis of rotation 141 into the laundry drum 117 .

Landscapes

  • Engineering & Computer Science (AREA)
  • Textile Engineering (AREA)
  • Main Body Construction Of Washing Machines And Laundry Dryers (AREA)
  • Detail Structures Of Washing Machines And Dryers (AREA)
  • Accessory Of Washing/Drying Machine, Commercial Washing/Drying Machine, Other Washing/Drying Machine (AREA)

Description

  • Die vorliegende Erfindung betrifft ein Wäschepflegegerät mit einer Umleitvorrichtung.
  • In herkömmlichen Wäschepflegegeräten werden Umpumpsysteme verwendet, um Waschflüssigkeit aus dem Laugenbehälter mittels einer Pumpe abzupumpen, und die abgepumpte Waschflüssigkeit mittels der Pumpe durch das Umpumpsystem dem Laugenbehälter erneut zuzuführen. Hierbei wird die dem Laugenbehälter zugeführte Waschflüssigkeit auf die Wäsche in der Wäschetrommel geleitet, um die Wäsche mit der Waschflüssigkeit zu benetzen. Bei einer schnellen Rotation der Wäschetrommel während des Umpumpvorgangs oder einer Vollbeladung der Wäschetrommel mit Wäsche kann die eingespritzte Waschflüssigkeit von der Wäsche abprallen und in den Laugenbehälter fließen, ohne die Wäsche vollständig und wirksam zu durchfeuchten, wodurch die Wäsche unter Umständen nicht gleichmäßig benetzt, bzw. durchspült, werden kann.
  • In der DE 43 30 079 A1 ist eine Trommelwaschmaschine offenbart, welche eine in einen Trommelinnenraum gerichtete Einspritzdüse für Frischwasser oder umgewälzte Lauge aufweist, die von vorne und oben auf die Wäsche herabspritzen soll, aufweist.
  • In der WO 2011/012589 A1 ist eine Glasschale für eine Türanordnung einer Waschmaschine offenbart, wobei die Glasschale einen durchsichtigen Abschnitt aufweist.
  • Die Offenlegungsschrift DE 38 11 582 A1 offenbart eine stirnseitig beschickbare Trommelwaschmaschine.
  • Die Offenlegungsschrift US 2009/249840 A1 offenbart eine Waschmaschine.
  • Die Offenlegungsschrift JP 2009 006081 A offenbart eine Waschmaschine.
  • Die Offenlegungsschrift DE 10 2004 043671 A1 offenbart eine frontbeschickbare Trommelwaschmaschine.
  • Die Gebrauchsmusterschrift DE 92 14 331 U1 offenbart eine Waschmaschine mit einer Anordnung eines Waschmittelbehälters im Türfenster.
  • Die Offenlegungsschrift US 2007/240456 A1 offenbart eine Waschmaschine.
  • Die Offenlegungsschrift DE 10 2012 110179 A1 offenbart eine Tür-Ausgabeeinheit für Waschhilfsmittel in einem Waschgut-Behandlungsgerät.
  • Die Offenlegungsschrift EP 2 754 743 A1 offenbart eine Waschmaschine.
  • Die Gebrauchsmusterschrift CN 202116872 U offenbart eine Waschmaschine.
  • Es ist die der Erfindung zugrundeliegende Aufgabe, ein Wäschepflegegerät mit einem Umpumpsystem anzugeben, bei dem die Benetzung der Wäsche mit Waschflüssigkeit in der Wäschetrommel verbessert werden kann.
  • Diese Aufgabe wird durch einen Gegenstand mit den Merkmalen nach den unabhängigen Ansprüchen gelöst. Vorteilhafte Ausführungsformen sind Gegenstand der abhängigen Ansprüche, der Beschreibung und der Zeichnungen.
  • Gemäß einem Aspekt wird die erfindungsgemäße Aufgabe durch ein Wäschepflegegerät mit einer Gerätebeladeöffnung an einer Gerätevorderseite des Wäschepflegegeräts, einer Gerätetür zum Verschließen der Gerätebeladeöffnung, einer Wäschetrommel zur Aufnahme von Wäsche, wobei die Wäschetrommel um eine Rotationsachse rotierbar ist, wobei sich die Rotationsachse von der Gerätevorderseite zu einer Geräterückseite des Wäschepflegegeräts erstreckt, und einem Laugenbehälter zur Aufnahme von Waschflüssigkeit gelöst, wobei der Laugenbehälter eine Ablassöffnung aufweist, wobei das Wäschepflegegerät eine Einlassdüse aufweist, wobei die Ablassöffnung mit der Einlassdüse durch eine Leitung fluidtechnisch verbunden ist, wobei in der Leitung eine Pumpe zum Pumpen der Waschflüssigkeit aus der Ablassöffnung durch die Leitung und durch die Einlassdüse angeordnet ist, wobei an einer Innenseite der Gerätetür eine Umleitvorrichtung angeordnet ist, wobei die Einlassdüse ausgebildet ist, die durch die Einlassdüse herausgepumpte Waschflüssigkeit radial zur Rotationsachse auf die Umleitvorrichtung zu leiten, und wobei die Umleitvorrichtung ausgebildet ist, die auf die Umleitvorrichtung auftreffende Waschflüssigkeit in Richtung der Wäschetrommel umzuleiten und die umgeleitete Waschflüssigkeit entlang der Rotationsachse in die Wäschetrommel einzuspritzen, um die in der Wäschetrommel aufgenommene Wäsche vorteilhaft zu benetzen.
  • Dadurch wird der technische Vorteil erreicht, dass das Einspritzen der Waschflüssigkeit von der Gerätevorderseite aus entlang der Rotationsachse der Wäschetrommel in die Wäschetrommel zu einer besonders gleichmäßigen und damit vollständigen Benetzung bzw. Durchflutung der Wäsche in der Wäschetrommel führt.
  • In einem herkömmlichen Wäschepflegegerät legt sich Wäsche bei einer schnellen Rotation der Wäschetrommel aufgrund der Fliehkraft an der Wäschetrommel an und bildet dadurch einen Wäschering. Der Wäschering weist entlang der Rotationsachse der Wäschetrommel einen Wäschetunnel auf. Während eines Umpumpvorgangs des Wäschepflegegeräts wird Waschflüssigkeit während der Rotation der Wäschetrommel der Wäsche in der Wäschetrommel zugeführt. Jedoch kann die zugeführte Waschflüssigkeit hierbei von der Wäsche, welche an der Wäschetrommel anliegt, abprallen und in den Laugenbehälter fließen, ohne die Wäsche vollständig zu benetzen bzw. zu durchfluten. Bei hohen Waschdrehzahlen, welche eine Wäscheanlegedrehzahl überschreiten, können die Fliehkräfte, bzw. Zentrifugalkräfte, so groß werden, dass sich die Waschflüssigkeit nicht mehr mit Hilfe der Schwerkraft über die Trommelmitnehmer von außen nach innen befördern lässt.
  • In dem erfindungsgemäßen Wäschepflegegerät wird sichergestellt, dass die zugeführte Waschflüssigkeit vorteilhaft in den Wäschetunnel, der an der Wäschetrommel anliegenden Wäsche, eingeführt wird. Hierzu wird die Waschflüssigkeit durch die Einlassdüse, bzw. Einspritzdüse, herausgepumpt und wird auf die Umleitvorrichtung geleitet, welche an der Innenseite der Gerätetür, welche wiederum an der Gerätevorderseite des Wäschepflegegeräts befestigt ist, angeordnet ist. Die Umleitvorrichtung ermöglicht ein Umleiten der auf die Umleitvorrichtung auftreffenden Waschflüssigkeit in Richtung der Wäschetrommel, insbesondere achsparallel zur Rotationsachse, in den Wäschetunnel. Dadurch wird die umgeleitete Waschflüssigkeit von der Gerätevorderseite des Wäschepflegegeräts entlang der Rotationsachse in das Innere der Wäschetrommel geleitet. Durch die Rotation der Wäschetrommel wird die Waschflüssigkeit aufgrund der Fliehkraft durch die an der Wäschetrommel anliegende Wäsche gedrückt und kann dadurch die Wäsche vollständig und vorteilhaft benetzen. Somit wird durch das vorteilhafte Einspritzen der Waschflüssigkeit durch die Umleitvorrichtung sichergestellt, dass der Einspritzstrahl nicht durch die Wäschemenge, nicht durch die Geometrie der Wäsche, und nicht durch die Geometrie der Gerätetür behindert oder unterbrochen wird. Zudem kann durch die geometrische Form der Umleitvorrichtung Einfluss auf die Gestaltung des umgeleiteten Waschflüssigkeitsstrahls genommen werden. Zudem kann durch die Umlenkung des Waschflüssigkeitsstrahls der Einspritzprozess durch ein Fenster der Gerätetür visualisiert werden. Zudem kann eine Trommelinnenbeleuchtung den umgeleiteten Einspritzvorgang der Waschflüssigkeit besonders vorteilhaft verdeutlichen.
  • Unter einem Wäschepflegegerät wird ein Gerät verstanden, welches zur Wäschepflege eingesetzt wird, wie z.B. eine Waschmaschine oder ein Wäschetrockner. Insbesondere wird unter solch einem Wäschepflegegerät ein Haushaltswäschepflegegerät verstanden. Also ein Wäschepflegegerät, welches im Rahmen der Haushaltsführung verwendet wird, und mit dem Wäsche in haushaltsüblichen Mengen behandelt wird.
  • In dem erfindungsgemäßen Wäschepflegegerät weist die Umleitvorrichtung eine Umleitfläche auf, gegen welche die auf die Umleitvorrichtung auftreffende Waschflüssigkeit anspritzbar ist, um die Waschflüssigkeit in Richtung der Wäschetrommel umzuleiten, wobei die Umleitfläche als eine gebogene oder gekrümmte Umleitfläche ausgebildet ist.
  • Dadurch wird der technische Vorteil erreicht, dass durch die Umleitfläche der Umleitvorrichtung ein besonders wirksames Umleiten des auf die Umleitfläche auftreffenden Waschflüssigkeitsstrahls ermöglicht wird. Die Umleitfläche der Umleitvorrichtung ermöglicht insbesondere, dass die auf die Umleitfläche auftreffende Waschflüssigkeit achsparallel zur Rotationsachse in die Waschtrommel eingespritzt wird. Eine gebogene oder gekrümmte Umleitfläche ist insbesondere vorteilhaft, da der auf die gebogene oder gekrümmte Umleitfläche auftreffende Waschflüssigkeitsstrahl entlang der Biegung oder Krümmung der gebogenen oder gekrümmten Umleitfläche umgeleitet wird. Somit kann durch die Ausbildung der Biegung oder Krümmung der gebogenen oder gekrümmten Umleitfläche die Richtung des in die Wäschetrommel eingespritzten Waschflüssigkeitsstrahls vorteilhaft gesteuert werden.
  • In einer weiteren vorteilhaften Ausführungsform des Wäschepflegegeräts ist die durch die Einlassdüse herausgepumpte Waschflüssigkeit entlang einer Einspritzachse auf die Umleitvorrichtung leitbar, wobei die Einspritzachse mit der Rotationsachse einen Umleitwinkel von 75° bis 105°, insbesondere 90°, einschließt.
  • Dadurch wird der technische Vorteil erreicht, dass der Umleitwinkel von 75° bis 105°, insbesondere 90°, ein besonders wirksames Umleiten des Waschflüssigkeitsstrahls sicherstellt. Somit kann durch den Umleitwinkel der Auftreffort des umgeleiteten Waschflüssigkeitsstrahls in der Wäschetrommel vorteilhaft feinjustiert werden, so dass sichergestellt wird, dass der umgeleitete Waschflüssigkeitsstrahl von der Umleitvorrichtung an der Gerätevorderseite vorteilhaft entlang der Rotationsachse der Wäschetrommel in die Wäschetrommel eingeleitet werden kann.
  • In einer weiteren vorteilhaften Ausführungsform des Wäschepflegegeräts weist die Umleitvorrichtung eine profilierte Oberflächenstruktur auf, welche ausgebildet ist die auftreffende Waschflüssigkeit wirksam aufzufächern, wobei die profilierte Oberflächenstruktur insbesondere eine Vertiefung, eine Rille oder eine Rippe aufweist.
  • Dadurch wird der technische Vorteil erreicht, dass die profilierte Oberflächenstruktur, insbesondere Vertiefung, Rille oder Rippe ein besonders wirksames Auffächern des Waschflüssigkeitsstrahls sichergestellt. Der aufgefächerte Waschflüssigkeitsstrahl stellt eine große Auftrittsfläche des Waschflüssigkeitsstrahls innerhalb der Wäschetrommel sicher, so dass die Wäsche vorteilhaft benetzt werden kann.
  • In einer weiteren vorteilhaften Ausführungsform des Wäschepflegegeräts weist die Umleitvorrichtung an einer der Wäschetrommel zugewandten Seite eine Vorsprungkante auf, welche ausgebildet ist, die umgeleitete Waschflüssigkeit in Richtung der Wäschetrommel zu leiten, und wobei die Umleitvorrichtung an der Vorsprungkante insbesondere einen progressiven Steigungsverlauf aufweist.
  • Dadurch wird der technische Vorteil erreicht, dass die Vorsprungkante sicherstellt, dass die Waschflüssigkeit bei einem reduzierten Pumpendruck und einem daraus resultierenden reduzierten Einspritzdruck der eingespritzten Waschflüssigkeit nicht an der Umleitvorrichtung nach unten in den Laugenbehälter fließt, ohne die Wäsche in der Wäschetrommel wirksam zu benetzen bzw. zu durchfluten. Somit kann umgeleitete Waschflüssigkeit insbesondere achsparallel zur Rotationsachse in die Waschtrommel eingespritzt wird. Die Vorsprungkante und insbesondere der progressive Steigungsverlauf der Umleitvorrichtung an der Vorsprungkante stellen sicher, dass sich der Waschflüssigkeitsstrahl beim Strömen über die Vorsprungkante von der Umleitvorrichtung löst und wirksam entlang der Rotationsachse der Wäschetrommel in die Wäschetrommel eingespritzt werden kann.
  • In einer weiteren vorteilhaften Ausführungsform des Wäschepflegegeräts weist die Umleitvorrichtung ein Bündelelement auf, welches ausgebildet ist, die Waschflüssigkeit zu bündeln, um einen gebündelten Waschflüssigkeitsstrahl in Richtung der Wäschetrommel zu leiten, wobei das Bündelelement insbesondere eine Bündeldüse oder einen Bündeldüsenabschnitt umfasst.
  • Dadurch wird der technische Vorteil erreicht, dass das Bündelelement, insbesondere die Bündeldüse oder der Bündeldüsenabschnitt, welche geometrisch an einer Türkontur der Gerätetür angeordnet sind, sicherstellt, dass ein zu breit gefächerter Waschflüssigkeitsstrahl wieder vorteilhaft gebündelt in die Wäschetrommel geleitet werden kann, wodurch ein Verspritzen der Waschflüssigkeit verhindert werden kann. Somit kann die gesamte Waschflüssigkeit effektiv zum Benetzen oder Durchfeuchten der Wäsche genutzt werden.
  • In einer weiteren vorteilhaften Ausführungsform des Wäschepflegegeräts ist die Umleitvorrichtung als eine gebogene oder gekrümmte Metallplatte, Gummiplatte Kunststoffplatte oder als ein gebogener oder gekrümmter Fensterglasabschnitt ausgebildet und/oder ist die Umleitvorrichtung an die Innenseite der Gerätetür angeformt.
  • Dadurch wird der technische Vorteil erreicht, dass eine gebogene oder gekrümmte Metallplatte, Gummiplatte Kunststoffplatte, oder ein gebogener oder gekrümmter Fensterglasabschnitt eine vorteilhafte Fertigung der Umleitvorrichtung ermöglicht, wodurch ein wirksames Umleiten der Waschflüssigkeit durch die Umleitvorrichtung sichergestellt werden kann. Durch eine an die Innenseite der Gerätetür angeformte Umleitvorrichtung wird eine besonders einfache vorteilhafte und damit kostengünstige Herstellung der Gerätetür zusammen mit der Umleitvorrichtung ermöglicht.
  • In einer weiteren vorteilhaften Ausführungsform des Wäschepflegegeräts weist das Wäschepflegegerät einen Trommelantrieb zum Rotieren der Wäschetrommel um die Rotationsachse auf, wobei der Trommelantrieb ausgebildet ist, die Wäschetrommel mit einer Anlagedrehzahl anzutreiben, um die in der Wäschetrommel aufgenommene Wäsche mit der Wäschetrommel in Anlage zu bringen und einen Wäschetunnel innerhalb der an der Wäschetrommel anliegenden Wäsche zu bilden, wobei die Umleitvorrichtung ausgebildet ist, die Waschflüssigkeit in Richtung der Rotationsachse in den Wäschetunnel innerhalb der an der Wäschetrommel anliegenden Wäsche zu leiten, wobei die Anlagedrehzahl insbesondere einen Bereich von 80 U/min bis 200 U/min umfasst.
  • Dadurch wird der technische Vorteil erreicht, dass ein Einspritzen der Waschflüssigkeit in das Innere der Wäschetrommel, wenn die Wäschetrommel mit der Anlagedrehzahl oder größeren Drehzahlen rotiert wird und dadurch die Wäsche an der Wäschetrommel anliegt, eine besonders wirksame Benetzung, bzw. Durchflutung, der Wäsche in der Wäschetrommel sicherstellt. Die durch die Umleitvorrichtung in den Wäschetunnel der an der Wäschetrommel anliegenden Wäsche eingespritzte Waschflüssigkeit wird aufgrund der Fliehkraft der rotierenden Wäschetrommel durch die Wäsche gedrückt und ermöglicht ein vorteilhaftes Benetzen, bzw. Durchfluten, der Wäsche. Hierbei wird die Waschflüssigkeit insbesondere parallel zur Rotationsachse in den Wäschetunnel geleitet. Die Anlagedrehzahl kann insbesondere in Abhängigkeit des Radius der Wäschetrommel gewählt werden.
  • In einer weiteren vorteilhaften Ausführungsform des Wäschepflegegeräts ist die Pumpe ausgebildet, die Waschflüssigkeit mit unterschiedlichen Pumpendrücken durch die Einlassdüse zu pumpen, um einen Auftrittsort der Waschflüssigkeit innerhalb der sich drehenden Wäschetrommel zu variieren.
  • Dadurch wird der technische Vorteil erreicht, dass durch den unterschiedlichen Druck der aus der Einlassdüse herausgepumpten Waschflüssigkeit, welcher durch die Variation der Pumpendrehzahl erreicht wird, die Einspritzrichtung der Waschflüssigkeit leicht verändert wird und die Waschflüssigkeit an unterschiedlichen Positionen auf der Umleitvorrichtung auftrifft und anschließend dann auch auf eine innere Mantelfläche des Wäschetunnels auftrifft. Dadurch wird die durch die Umleitvorrichtung umgeleitete Waschflüssigkeit in unterschiedlicher Richtung in die Wäschetrommel geleitet, wodurch die Waschflüssigkeit an unterschiedlichen Auftrittsorten in der Wäschetrommel, bzw. auf dem Wäschering, auftrifft, wodurch eine gleichmäßige Benetzung bzw. Durchflutung der Wäsche in der Wäschetrommel sichergestellt werden kann.
  • In einer weiteren vorteilhaften Ausführungsform des Wäschepflegegeräts ist die Pumpe ausgebildet, Waschflüssigkeit mit sich zeitlich periodisch ändernden Pumpendrücken durch die Einlassdüse zu pumpen, wobei die sich zeitlich periodisch ändernden Pumpendrücke insbesondere einer sinusförmig verlaufenden Pumpendruckänderung entsprechen.
  • Dadurch wird der technische Vorteil erreicht, dass durch eine zeitlich periodische Änderung der Pumpendrücke, insbesondere eine sinusförmig verlaufende Pumpendruckänderung, eine zeitlich gleichmäßige Verteilung der Waschflüssigkeit auf der Wäsche erreicht wird. Die Pumpendruckänderung lässt sich am einfachsten durch ein Erhöhen und Reduzieren der Pumpendrehzahl der Pumpe ermöglichen.
  • In einer weiteren vorteilhaften Ausführungsform des Wäschepflegegeräts umfasst das Wäschepflegegerät einen Trommelantrieb zum Rotieren der Wäschetrommel um die Rotationsachse mit einer Wäschetrommelrotationsfrequenz, und ist die Pumpe ausgebildet, Waschflüssigkeit mit einem sich gemäß einer Pumpfrequenz ändernden Pumpendruck durch die Einlassdüse zu pumpen, wobei sich die Pumpfrequenz von der Wäschetrommelrotationsfrequenz oder von einem nicht ganzzahligen Vielfachen der Wäschetrommelrotationsfrequenz unterscheidet.
  • Dadurch wird der technische Vorteil erreicht, dass durch die unterschiedlichen Werte der Pumpfrequenz der Pumpe und der Wäschetrommelrotationsfrequenz der Wäschetrommel sichergestellt wird, dass der sich ändernde Auftrittsort der durch die Pumpe in die Wäschetrommel gepumpten Waschflüssigkeit auf eine große Fläche des Trommelmantels, bzw. des Wäschetunnels der Wäschetrommel geleitet wird und damit eine vollständige Benetzung der Wäsche in der Wäschetrommel sichergestellt werden kann. So wird nach mehrfachen Trommelrotationen sichergestellt, dass ein Einspritz-Interferenzmuster auf dem Wäschetunnel entsteht und nicht bereits abgefahrene Einspritzlinien auf dem Wäschering erneut benetzt oder bewässert werden. Das Interferenzmuster ist abhängig von der zeitlichen Variation des Pumpendrucks, also der Variation der Pumpendrehzahl und der Trommeldrehzahl, nicht aber vom Radius des Wäscherings, bzw. des Wäschetunnels.
  • In einer weiteren vorteilhaften Ausführungsform des Wäschepflegegeräts ist die Einlassdüse an einer oberen Vorderseite des Laugenbehälters angeordnet, und ist die Ablassöffnung an einer Unterseite des Laugenbehälters angeordnet, wobei die Einlassdüse insbesondere an einer Manschette zwischen der Wäschetrommel, dem Laugenbehälter und einem Gerätegehäuse des Wäschepflegegeräts angeordnet ist.
  • Dadurch wird der technische Vorteil erreicht, dass eine an der oberen Vorderseite des Laugenbehälters, insbesondere an der Manschette angeordnete, Einlassdüse ein besonders vorteilhaftes auf die ruhende, nicht schwingende Umleitvorrichtung gerichtetes Einspritzen der Waschflüssigkeit sicherstellt. Bei der genauen Positionierung der Einlass-, bzw. Einspritzdüse wird die Einlassdüse an der Manschette möglichst an dem ruhenden Gerätegehäuse positioniert, bzw. die Einlassdüse möglichst entfernt von dem schwingenden Laugenbehälter angeordnet. Durch die Positionierung der Einlassdüse an der Manschette werden keine Schwingungen auf die Einlassdüse auftragen. Somit wird sichergestellt, dass der durch die Einlassdüse geleitete Einspritzstrahl stets gerichtet ist und nicht durch Schwingungen des Laugenbehälters abgelenkt wird.
  • In einer weiteren vorteilhaften Ausführungsform des Wäschepflegegeräts ist an der Wäschetrommel, an einer Manschette und/oder an der Gerätetür eine Anzahl von Vorsprüngen angeordnet, welche ausgebildet sind, die Wäsche während einer Rotation der Wäschetrommel in der Wäschetrommel zu bewegen.
  • Dadurch wird der technische Vorteil erreicht, dass die Vorsprünge die Wäsche in der sicher rotierenden Wäschetrommel besonders vorteilhaft wenden können, wodurch eine wirksame Benetzung der Wäsche sichergestellt werden kann.
  • Gemäß einem zweiten Aspekt der Erfindung wird die Aufgabe durch ein Verfahren zum Benetzen von Wäsche in einer Wäschetrommel eines Wäschepflegegeräts gelöst, wobei das Wäschepflegegerät eine Gerätebeladeöffnung an einer Gerätevorderseite des Wäschepflegegeräts, eine Gerätetür zum Verschließen der Gerätebeladeöffnung, eine Wäschetrommel zur Aufnahme von Wäsche, wobei die Wäschetrommel um eine Rotationsachse rotierbar ist, wobei sich die Rotationsachse von der Gerätevorderseite zu einer Geräterückseite des Wäschepflegegeräts erstreckt, und einen Laugenbehälter zur Aufnahme von Waschflüssigkeit aufweist, wobei der Laugenbehälter eine Ablassöffnung aufweist, wobei das Wäschepflegegerät eine Einlassdüse aufweist, wobei die Ablassöffnung mit der Einlassdüse durch eine Leitung fluidtechnisch verbunden ist, wobei in der Leitung eine Pumpe zum Pumpen der Waschflüssigkeit aus der Ablassöffnung durch die Leitung und durch die Einlassdüse angeordnet ist, wobei an einer Innenseite der Gerätetür eine Umleitvorrichtung angeordnet ist, wobei die Umleitvorrichtung eine Umleitfläche aufweist, gegen welche die auf die Umleitvorrichtung auftreffende Waschflüssigkeit anspritzbar ist, um die Waschflüssigkeit in Richtung der Wäschetrommel umzuleiten, wobei die Umleitfläche als eine gebogene oder gekrümmte Umleitfläche ausgebildet ist, wobei das Verfahren die folgenden Schritte umfasst, Leiten der durch die Pumpe umgepumpten Waschflüssigkeit durch die Einlassdüse auf die Umleitvorrichtung radial zur Rotationsachse, und Umleiten der auf die Umleitvorrichtung auftreffenden Waschflüssigkeit in Richtung der Wäschetrommel, um die umgeleitete Waschflüssigkeit entlang der Rotationsachse in die Wäschetrommel einzuspritzen.
  • Dadurch wird der technische Vorteil erreicht, dass durch die Umleitvorrichtung ein wirksames Umleiten von Waschflüssigkeit in das Innere der Wäschetrommel und dadurch eine vorteilhafte Benetzung der Wäsche sichergestellt wird. So kann durch die Einlassdüse radial eingespritzt werden und an der Umleitvorrichtung der Waschflüssigkeitsstrahl axial umgelenkt werden, ohne dass der sich ausgebildete Wäschering den Einspritzstrahl behindern oder ablenken kann. Bei halbaxialer Einspritzung, bei der vom Manschettenrand diagonal in den Wäschetunnel eingespritzt wird, besteht bei Anwendungen mit Vollbeladungen stets das Risiko, dass der Wäschering den Einspritzkorridor verdeckt und so die eingespritzte Waschflüssigkeit für den Waschprozess ungenutzt an der Gerätetür abfließen kann und so die Wäsche nicht erneut benetzt oder durchflutet wird.
  • Weitere Ausführungsbeispiele werden Bezug nehmend auf die beiliegenden Zeichnungen erläutert. Es zeigen:
  • Fig. 1
    eine schematische Ansicht eines Wäschepflegegeräts;
    Fig. 2
    eine schematische Ansicht eines Wäschepflegegeräts mit einem Umpumpsystem;
    Fig. 3
    eine schematische Ansicht eines Wäschepflegegeräts mit einer Wäschetrommel und einer Umleitvorrichtung;
    Fig. 4
    eine schematische Ansicht einer Gerätetür mit Umleitvorrichtung außerhalb eines Wäschepflegegeräts; und
    Fig. 5
    einen Ablauf eines Verfahrens zum Benetzen von Wäsche in einer Wäschetrommel eines Wäschepflegegeräts.
  • Fig. 1 zeigt eine schematische Ansicht eines allgemeinen Wäschepflegegeräts 100, wie z.B. eine Waschmaschine. Das Wäschepflegegerät 100 umfasst eine Einspülschale 101, in die Waschpflegesubstanz, wie z.B. Waschmittel, eingefüllt werden kann. Das Wäschepflegegerät 100 weist eine Gerätevorderseite 103, eine Geräterückseite 105, Gerätelängsseiten 107, eine Geräteunterseite 109 und eine Geräteoberseite 111 auf. An der Gerätevorderseite 103 des Wäschepflegegeräts 100 ist eine Gerätebeladeöffnung 113 angeordnet, welche durch eine Gerätetür 115 verschließbar ist, um das Wäschepflegegerät 100 mit Wäsche zu beladen.
  • Fig. 2 zeigt eine schematische Ansicht eines Wäschepflegegeräts mit einem Umpumpsystem. Das in der Fig. 2 dargestellte Umpumpsystem des Wäschepflegegeräts 100 umfasst eine Wäschetrommel 117 zur Aufnahme von Wäsche, einen Laugenbehälter 119 zur Aufnahme von Waschflüssigkeit, welcher eine Ablassöffnung 121 aufweist, und wobei das Wäschepflegegerät 100 eine Einlassdüse 123 aufweist. Die Einlassdüse 123 und die Ablassöffnung 121 sind durch eine Leitung 125 fluidtechnisch verbunden, wobei in der Leitung 125 eine Pumpe 127 angeordnet ist, welche ausgebildet ist, Waschflüssigkeit durch die Ablassöffnung 121 aus dem Laugenbehälter 119 in die Leitung 125 zu pumpen und die abgepumpte Waschflüssigkeit aus der Leitung 125 durch die Einlassdüse 123 der Wäschetrommel 117 zuzuführen. In der Fig. 2 ist zudem ein Trommelantrieb 129 dargestellt, welcher ausgebildet ist, die Wäschetrommel 117 über eine Antriebsverbindung 131 anzutreiben. Das Wäschepflegegerät 100 weist eine Steuerung 133 auf, welche mit dem Trommelantrieb 129 durch eine erste Steuerungsverbindung 135 und mit der Pumpe 127 durch eine zweite Steuerungsverbindung 137 verbunden ist.
  • Bei einer vollen Wäschebeladung der Wäschetrommel 117 kann die durch die Einlassdüse 123 in die Wäschetrommel 117 eingespritzte Waschflüssigkeit von der Wäsche abprallen, so dass Zugang zum Inneren des Wäschetunnels blockiert ist, und die Waschflüssigkeit in den Laugenbehälter 119 zurücklaufen kann, ohne die Wäsche vollständig zu durchfluten. Wenn die Wäschetrommel 117 sehr schnell rotiert, wird die Wäsche aufgrund der auftretenden Fliehkräfte gegen die Wäschetrommel 117 gedrückt, wodurch sich ein Wäschetunnel in der Wäschetrommel 117 bildet. Die Waschflüssigkeit wird von der Pumpe 127 durch die Leitung 125 bis zur Einlassdüse 123 gepumpt. Anschließend muss sichergestellt werden, dass die durch die Einlassdüse 123 herausgepumpte Waschflüssigkeit den Wäschetunnel der Wäsche in der rotierenden Wäschetrommel 117 vorteilhaft trifft. Dadurch kann sichergestellt werden, dass aufgrund der auftretenden Fliehkräfte eine vorteilhaft Durchflutung der Wäsche in der Wäschetrommel 117 in einer sich von dem Wäschetunnel nach außen gerichteter radialer Richtung von innen nach außen erfolgt.
  • Fig. 3 zeigt eine schematische Ansicht eines Wäschepflegegeräts mit einer Wäschetrommel und einer Umleitvorrichtung. In der in Fig. 3 gewählten Darstellung ist ein seitlicher Längsschnitt eines Wäschepflegegeräts 100 im beladenen Zustand während des Umpump-Einspritz-Prozesses dargestellt. In Fig. 3 ist die Geräteoberseite 111, die Geräterückseite 105, die Gerätevorderseite 103 und die Geräteunterseite 109 des Wäschepflegegeräts 100 dargestellt. An der Gerätevorderseite 103 ist eine Gerätebeladeöffnung 113 angeordnet, welche durch eine Gerätetür 115 verschließbar ist, durch welche der Innenraum des Wäschepflegegeräts 100 zum Beladen zugänglich ist. In dem Innenraum des Wäschepflegegeräts 100 ist ein Laugenbehälter 119 zur Aufnahme der Waschflüssigkeit und eine Wäschetrommel 117 zur Aufnahme von Wäsche 139 angeordnet, wobei die Wäschetrommel 117 entlang einer Rotationsachse 141 rotierbar ist. Hierbei erstreckt sich die Rotationsachse 141 von der Gerätevorderseite 103 zu der Geräterückseite 105 des Wäschepflegegeräts 100.
  • Zwischen der Wäschetrommel 117, dem Laugenbehälter 119 und der Gerätetür 115 ist eine Manschette 143 angeordnet. Die Manschette 143 stellt eine fluidtechnische Abdichtung zwischen der Wäschetrommel 117 bzw. dem Laugenbehälter 119 und einem Gerätegehäuse 145 des Wäschepflegegeräts 100 sicher. Des Weiteren entkoppelt die Manschette 143 das auf Federdämpfern gelagerte Schwingsystem vom ruhenden Gerätegehäuse 145. An dem ruhenden Abschnitt der Manschette 143 ist eine Einlassdüse 123 angeordnet, welche ausgebildet ist, aus der Einlassdüse 123 herausgepumpte Waschflüssigkeit 147 entlang einer Einspritzachse 149 auf eine Umleitvorrichtung 151 zu leiten, wobei die Umleitvorrichtung 151 insbesondere als eine gebogene oder gekrümmte Metallplatte, Gummiplatte, Kunststoffplatte oder als ein gebogener der gekrümmter Fensterglasabschnitt ausgebildet ist und/oder wie in Fig. 3 dargestellt ist an eine Innenseite 153 der Gerätetür 115 angeformt ist.
  • Die Umleitvorrichtung 151 ist an der Innenseite 153 der Gerätetür 115 angeordnet und ausgebildet, die auf die Umleitvorrichtung 151 auftreffende Waschflüssigkeit 147 in Richtung der Wäschetrommel 117, insbesondere parallel zur Rotationsachse 141, umzuleiten und die umgeleitete Waschflüssigkeit 147 entlang der Rotationsachse 141 in den Wäschetunnel 155 in der Wäschetrommel 117 einzuspritzen. Hierbei wird die umgeleitete Waschflüssigkeit 147 insbesondere von der Gerätevorderseite 103 aus in einen Wäschetunnel 155 der an der Wäschetrommel 117 anliegenden Wäsche 139 eingeleitet.
  • Die Umleitvorrichtung 151 weist eine gekrümmte Umleitfläche 157 auf, gegen welche die auf die Umleitvorrichtung 151 auftreffende Waschflüssigkeit 147 anspritzbar ist, um die Waschflüssigkeit 147 in Richtung der Wäschetrommel 117, insbesondere parallel zu der Rotationsachse 114 umzuleiten. Hierbei ist die Umleitfläche 157 insbesondere als eine gebogene oder gekrümmte Umleitfläche 157 ausgebildet. Um ein wirksames Einleiten der Waschflüssigkeit 147 in den Wäschetunnel 155 zu ermöglichen schließt die Einspritzachse 149 mit der Rotationsachse 141 der Wäschetrommel 117 einen Umleitwinkel 159 von 75° bis 105°, insbesondere von 90°, ein, um eine achsparallele Wäschetunnel 155-Einspritzung zu erzielen. Um ein wirksames Auffächern der umgeleiteten Waschflüssigkeit 147 sicherzustellen kann die Umleitvorrichtung 151 eine profilierte Oberflächenstruktur, insbesondere eine Vertiefung, Rille oder Rippe, aufweisen. Um ein wirksames Bündeln der umgeleiteten Waschflüssigkeit 147 sicherzustellen kann die Umleitvorrichtung 151 ein Bündelelement, insbesondere eine Bündeldüse oder einen Bündeldüsen-Abschnitt, aufweisen.
  • An einer der Wäschetrommel 117 zugewandten Seite 161 der Umleitvorrichtung 151 ist eine Vorsprungkante 163 der Umleitvorrichtung 151 angeordnet. Die Umleitvorrichtung 151 weist an der Vorsprungkante 163 insbesondere einen progressiven Steigungsverlauf auf. Die Vorsprungkante 163 stellt sicher, dass die Waschflüssigkeit 147 bei einem reduzierten Pumpendruck und einem daraus resultierenden reduzierten Einspritzdruck der eingespritzten Waschflüssigkeit 147 nicht an der der Wäschetrommel 117 zugewandten Seite 161 der Umleitvorrichtung 151 nach unten fließt, ohne die Wäsche 139 in der Wäschetrommel 117 wirksam zu benetzen. Die Vorsprungkante 163 und insbesondere der progressive Steigungsverlauf der Umleitvorrichtung 151 an der Vorsprungkante 163 stellt sicher, dass sich der Waschflüssigkeitsstrahl beim Strömen über die Vorsprungkante 163 von der Umleitvorrichtung 151 löst und wirksam entlang der Rotationsachse 141 der Wäschetrommel 117 in die Wäschetrommel 117 geleitet werden kann.
  • Somit wird die an der Innenseite 153 der Gerätetür 115 angeordnete Umleitvorrichtung 151 direkt zum Einleiten der Waschflüssigkeit 147 in die Wäsche 139 genutzt. Durch die Oberflächenkontur der Umleitvorrichtung 151 wird eine Waschflüssigkeitsstrahlumlenkung vorgenommen. So kann die Waschflüssigkeit 147 ausgehend von der an der Manschette 143 angeordneten Einlassdüse 123 zunächst radial in die Mitte des Laugenbehälters 119 eingespritzt und dann an der Umleitvorrichtung 151 um ca. 90° umgelenkt werden, um die umgelenkte Waschflüssigkeit 147 insbesondere entlang der Rotationsachse 141 der Wäschetrommel 117, insbesondere parallel zur Rotationsachse 141 oder achskongruent, einzuspritzen. So kann die Einspritzstrahlablenkung bei einer herkömmlichen Diagonal-Einspritzung vom Manschettenrand auf geradlinigem, halb-axialen Weg in den Wäschetunnel 155 durch den rotierenden Wäschering vollständig vermieden werden, denn die Gerätetür 115 kommt weiterhin in den radial äußeren Bereichen ihrer Aufgabe nach die Wäsche 139 von der Manschette 143 abzuhalten, kann aber im zentralen Bereich eine Wachlaugenumlenkung des Einspritzstrahls des Umpumpsystems bewirken. Die geometrische Gestaltung des ursprünglichen Einspritz-Korridors zwischen Gerätetür 115, Manschette 143, Laugenbehälter 119, Wäschetrommel 117 und rotierendem Wäschering hat somit keinen Einfluss mehr auf die Funktion der Benetzung oder Durchflutung der Wäsche.
  • Die Umleitvorrichtung 151 der Gerätetür 113 kann nicht nur zur Einspritzwaschflüssigkeitsstrahl-Umlenkung verwendet werden, sondern auch zur geometrischen Gestaltung des Strahlbilds. So kann durch die Gestaltung der Umleitvorrichtung 151 z.B. ein sogenannter Fächerstrahl oder ein punktuell gebündelter Strahl realisiert werden. So kann beispielsweise die Wäsche-Netzphase beschleunigt werden oder auf besonders zu schonende Textilien eingegangen werden. Das Ablösen des Waschflüssigkeitsstrahls an der Umleitvorrichtung 151 kann durch die Vorsprungkante 163 umgesetzt werden, bei dem der Steigungsverlauf progressiv verläuft, so dass sich die Waschflüssigkeit 147 sicher an der finalen Vorsprungkante 163 ablöst.
  • Die erfindungsgemäße Umleitvorrichtung 151 ermöglicht ein beladungsunabhängiges Einspritzen von Waschflüssigkeit 147, bei dem stets sicher gestellt wird, dass der Einspritzstrahl weder durch die Waschgutgeometrie, insbesondere Wäschering, noch durch die Fenstergeometrie behindert oder unterbrochen wird. So kann funktionsgerecht immer die notwendige Waschflüssigkeit 147 zur Wiederbefeuchtung und Durchflutung der Wäsche 139 entlang der Rotationsachse 141 zum Schwingsystem zugegeben werden.
  • Durch die Umleitvorrichtung 151 kann bei der Einspritzstrahl-Umlenkung an der Gerätetür 115 gleichzeitig auf eine Waschflüssigkeitsstrahlgestaltung Einfluss genommen werden. So kann nicht nur der Auftrittsort, sondern auch die Auftrittsfläche der Einspritzung im Wäschering beeinflusst werden. Zusätzlich wird damit quasi auch die Strahlintensität beeinflusst, denn ein aufgefächerter Strahl stellt punktuell zum Beispiel eine geringere Gewebebelastung des Waschguts durch den auftreffenden Waschflüssigkeitsstrahl dar.
  • Vorteilhaft kann der Einspritzprozess für den Nutzer durch die Strahlumlenkung an der Türgeometrie visualisiert werden, wenn die Gerätetür wie üblich durch ein Schauglas realisiert ist. Eine Trommelinnenbeleuchtung, die am gleichen Manschettenabschnitt vorgesehen ist wie die Umleitvorrichtung 151 kann die Aktivität des Einspritzprozesses noch mal zusätzlich verdeutlichen, denn Lichtkegel und Einspritzstrahl sind mit gleicher Ausrichtung auf die Trommelmitte geneigt, bzw. ausgerichtet.
  • Fig. 4 zeigt eine schematische Ansicht einer Gerätetür mit Umleitvorrichtung außerhalb eines Wäschepflegegeräts. Die Gerätetür 115 weist eine Außenseite 165 auf, welche einem in Fig. 4 nicht dargestellten Außenbereich des Wäschepflegegeräts 100 zugewandt ist. Die Gerätetür 115 weist eine Innenseite 153 auf, welche einer in Fig. 4 nicht dargestellten Wäschetrommel 117 des Wäschepflegegeräts 100 zugewandt ist.
  • An der Innenseite 153 des Gerätetür 115 ist eine beispielhafte Umleitvorrichtung 151 angeordnet, welche ausgebildet ist, auf der Umleitvorrichtung 151 auftreffende Waschflüssigkeit 147 parallel zur Rotationsachse 141 in Richtung der Wäschetrommel 117 des Wäschepflegegeräts 100 umzuleiten. In der in Fig. 4 dargestellten Ausführungsform ist die Umleitvorrichtung 151 an die Innenseite 153 der Gerätetür 115 angeformt. Die Umleitvorrichtung 151 weist eine Umleitfläche 157 auf, gegen welche die auf die Umleitvorrichtung 151 auftreffende Waschflüssigkeit 147 anspritzbar ist, um die Waschflüssigkeit 147 in Richtung der Wäschetrommel 117 parallel zur Rotationsachse 141 umzuleiten, wobei die Umleitfläche 157 als eine gebogene, bzw. gekrümmte Umleitfläche 157 ausgebildet ist.
  • Die Umleitvorrichtung 151 weist an einer Wäschetrommel 117 zugewandten Seite 161 der Umleitvorrichtung 151 eine Vorsprungkante 163 auf, welche ausgebildet ist, die umgeleitete Waschflüssigkeit 147 in Richtung der Wäschetrommel 117 zu leiten. Wie in Fig. 4 dargestellt ist, weist die Umleitvorrichtung 151 an der Vorsprungkante 163 insbesondere einen progressiven Steigungsverlauf auf.
  • Fig. 5 zeigt einen Ablauf eines Verfahrens zum Benetzen von Wäsche in einer Wäschetrommel, eines Wäschepflegegeräts, wobei das Wäschepflegegerät gemäß Fig. 3 beschrieben ist.
  • Das Verfahren 200 umfasst als Verfahrensschritt das Leiten 201 der durch die Pumpe 127 gepumpten Waschflüssigkeit 147 durch die Einlassdüse 123 auf die Umleitvorrichtung 151 radial zur Rotationsachse 141 und das Umleiten 203 der auf die Umleitvorrichtung 151 auftreffenden Waschflüssigkeit 147 in Richtung der Wäschetrommel 117, um die umgeleitete Waschflüssigkeit 147 parallel zu der Rotationsachse 141 in die Wäschetrommel 117 einzuspritzen.
  • Alle in Verbindung mit einzelnen Ausführungsformen der Erfindung erläuterten und gezeigten Merkmale können in unterschiedlicher Kombination in dem erfindungsgemäßen Gegenstand vorgesehen sein, um gleichzeitig deren vorteilhafte Wirkungen zu realisieren.
  • Der Schutzbereich der vorliegenden Erfindung ist durch die Ansprüche gegeben und wird durch die in der Beschreibung erläuterten oder den Figuren gezeigten Merkmale nicht beschränkt.
  • Bezugszeichenliste
  • 100
    Wäschepflegegerät
    101
    Einspülschale
    103
    Gerätevorderseite
    105
    Geräterückseite
    107
    Gerätelängsseiten
    109
    Geräteunterseite
    111
    Geräteoberseite
    113
    Gerätebeladeöffnung
    115
    Gerätetür
    117
    Wäschetrommel
    119
    Laugenbehälter
    121
    Ablassöffnung
    123
    Einlassdüse
    125
    Leitung
    127
    Pumpe
    129
    Trommelantrieb
    131
    Antriebsverbindung
    133
    Steuerung
    135
    Erste Steuerungsverbindung
    137
    Zweite Steuerungsverbindung
    139
    Wäsche
    141
    Rotationsachse
    143
    Manschette
    145
    Gerätegehäuse
    147
    Waschflüssigkeit
    149
    Einspritzachse
    151
    Umleitvorrichtung
    153
    Innenseite der Gerätetür
    155
    Wäschetunnel
    157
    Umleitfläche
    159
    Umleitwinkel
    161
    Der Wäschetrommel zugewandte Seite der Umleitvorrichtung
    163
    Vorsprungkante
    165
    Außenseite der Gerätetür
    200
    Verfahren zum Benetzen von Wäsche in einer Wäschetrommel
    201
    Leiten von Waschflüssigkeit auf die Umleitvorrichtung
    203
    Umleiten der Waschflüssigkeit in Richtung der Wäschetrommel

Claims (14)

  1. Wäschepflegegerät (100) mit einer Gerätebeladeöffnung (113) an einer Gerätevorderseite (103) des Wäschepflegegeräts (100), einer Gerätetür (115) zum Verschließen der Gerätebeladeöffnung (113), einer Wäschetrommel (117) zur Aufnahme von Wäsche, wobei die Wäschetrommel (117) um eine Rotationsachse (141) rotierbar ist, wobei sich die Rotationsachse (141) von der Gerätevorderseite (103) zu einer Geräterückseite (105) des Wäschepflegegeräts (100) erstreckt, und einem Laugenbehälter (119) zur Aufnahme von Waschflüssigkeit (147), wobei der Laugenbehälter (119) eine Ablassöffnung (121) aufweist, wobei das Wäschepflegegerät (100) eine Einlassdüse (123) aufweist, wobei die Ablassöffnung (121) mit der Einlassdüse (123) durch eine Leitung (125) fluidtechnisch verbunden ist, wobei in der Leitung (125) eine Pumpe (127) zum Pumpen der Waschflüssigkeit (147) aus der Ablassöffnung (121) durch die Leitung (125) und durch die Einlassdüse (123) angeordnet ist, wobei
    an einer Innenseite (153) der Gerätetür (115) eine Umleitvorrichtung (151) angeordnet ist, wobei
    die Einlassdüse (123) ausgebildet ist, die durch die Einlassdüse (123) herausgepumpte Waschflüssigkeit (147) radial zur Rotationsachse (141) auf die Umleitvorrichtung (151) zu leiten, und wobei
    die Umleitvorrichtung (151) ausgebildet ist, die auf die Umleitvorrichtung (151) auftreffende Waschflüssigkeit (147) in Richtung der Wäschetrommel (117) umzuleiten und die umgeleitete Waschflüssigkeit (147) entlang der Rotationsachse (141) in die Wäschetrommel (117) einzuspritzen, um die in der Wäschetrommel (117) aufgenommene Wäsche (139) vorteilhaft zu benetzen, wobei die Umleitvorrichtung (151) eine Umleitfläche (157) aufweist, gegen welche die auf die Umleitvorrichtung (151) auftreffende Waschflüssigkeit (147) anspritzbar ist, um die Waschflüssigkeit (147) in Richtung der Wäschetrommel (117) umzuleiten, dadurch gekennzeichnet, dass die Umleitfläche (157) als eine gebogene oder gekrümmte Umleitfläche (157) ausgebildet ist.
  2. Wäschepflegegerät (100) nach Anspruch 1, dadurch gekennzeichnet, dass die durch die Einlassdüse (123) herausgepumpte Waschflüssigkeit (147) entlang einer Einspritzachse (149) auf die Umleitvorrichtung (151) leitbar ist, wobei die Einspritzachse (149) mit der Rotationsachse (141) einen Umleitwinkel (159) von 75° bis 105°, insbesondere 90°, einschließt.
  3. Wäschepflegegerät (100) nach einem der vorangehenden Ansprüche, dadurch gekennzeichnet, dass die Umleitvorrichtung (151) eine profilierte Oberflächenstruktur aufweist, welche ausgebildet ist die auftreffende Waschflüssigkeit (147) wirksam aufzufächern, wobei die profilierte Oberflächenstruktur insbesondere eine Vertiefung, eine Rille oder eine Rippe aufweist.
  4. Wäschepflegegerät (100) nach einem der vorangehenden Ansprüche, dadurch gekennzeichnet, dass die Umleitvorrichtung (151) an einer der Wäschetrommel (117) zugewandten Seite (161) eine Vorsprungkante (163) aufweist, welche ausgebildet ist, die umgeleitete Waschflüssigkeit (147) in Richtung der Wäschetrommel (117) zu leiten, wobei die Umleitvorrichtung (151) an der Vorsprungkante (163) insbesondere einen progressiven Steigungsverlauf aufweist.
  5. Wäschepflegegerät (100) nach einem der vorangehenden Ansprüche, dadurch gekennzeichnet, dass die Umleitvorrichtung (151) ein Bündelelement aufweist, welches ausgebildet ist, die Waschflüssigkeit (147) zu bündeln, um einen gebündelten Waschflüssigkeitsstrahl in Richtung der Wäschetrommel (117) zu leiten, wobei das Bündelelement insbesondere eine Bündeldüse oder einen Bündeldüsenabschnitt umfasst.
  6. Wäschepflegegerät (100) nach einem der vorangehenden Ansprüche, dadurch gekennzeichnet, dass die Umleitvorrichtung (151) als eine gebogene oder gekrümmte Metallplatte, Gummiplatte, Kunststoffplatte oder als ein gebogener oder gekrümmter Fensterglasabschnitt ausgebildet ist, oder dass die Umleitvorrichtung (151) an die Innenseite (153) der Gerätetür (115) angeformt ist.
  7. Wäschepflegegerät (100) nach einem der vorangehenden Ansprüche, dadurch gekennzeichnet, dass das Wäschepflegegerät (100) einen Trommelantrieb (129) zum Rotieren der Wäschetrommel (117) um die Rotationsachse (141) aufweist, wobei der Trommelantrieb (129) ausgebildet ist, die Wäschetrommel (117) mit einer Anlagedrehzahl anzutreiben, um die in der Wäschetrommel (117) aufgenommene Wäsche (139) mit der Wäschetrommel (117) in Anlage zu bringen und einen Wäschetunnel (155) innerhalb der an der Wäschetrommel (117) anliegenden Wäsche (139) zu bilden, wobei die Umleitvorrichtung (151) ausgebildet ist, die Waschflüssigkeit (147) in Richtung der Rotationsachse (141) in den Wäschetunnel (155) innerhalb der an der Wäschetrommel (117) anliegenden Wäsche (139) zu leiten, wobei die Anlagedrehzahl insbesondere einen Bereich von 80 U/min bis 200 U/min umfasst.
  8. Wäschepflegegerät (100) nach einem der vorangehenden Ansprüche, dadurch gekennzeichnet, dass die Pumpe (127) ausgebildet ist, die Waschflüssigkeit (147) mit unterschiedlichen Pumpendrücken durch die Einlassdüse (123) zu pumpen, um einen Auftrittsort der Waschflüssigkeit (147) innerhalb der sich drehenden Wäschetrommel (117) zu variieren.
  9. Wäschepflegegerät (100) nach Anspruch 8, dadurch gekennzeichnet, dass die Pumpe (127) ausgebildet ist, Waschflüssigkeit (147) mit sich zeitlich periodisch ändernden Pumpendrücken durch die Einlassdüse (123) zu pumpen, wobei die sich zeitlich periodisch ändernden Pumpendrücke insbesondere einer sinusförmig verlaufenden Pumpendruckänderung entsprechen.
  10. Wäschepflegegerät (100) nach einem der vorangehenden Ansprüche, dadurch gekennzeichnet, dass das Wäschepflegegerät (100) einen Trommelantrieb (129) zum Rotieren der Wäschetrommel (117) um die Rotationsachse (141) mit einer Wäschetrommelrotationsfrequenz umfasst, und dass die Pumpe (127) ausgebildet ist, Waschflüssigkeit (147) mit einem sich gemäß einer Pumpfrequenz ändernden Pumpendruck durch die Einlassdüse (123) zu pumpen, wobei sich die Pumpfrequenz von der Wäschetrommelrotationsfrequenz oder von einem nicht ganzzahligen Vielfachen der Wäschetrommelrotationsfrequenz unterscheidet.
  11. Wäschepflegegerät (100) nach einem der vorangehenden Ansprüche, dadurch gekennzeichnet, dass die Einlassdüse (123) an einer oberen Vorderseite des Laugenbehälters (119) angeordnet ist, und dass die Ablassöffnung (121) an einer Unterseite des Laugenbehälters (119) angeordnet ist, wobei die Einlassdüse (123) insbesondere an einer Manschette (143) zwischen der Wäschetrommel (117), dem Laugenbehälter (119) und einem Gerätegehäuse (145) des Wäschepflegegeräts (100) angeordnet ist.
  12. Wäschepflegegerät (100) nach einem der vorangehenden Ansprüche, dadurch gekennzeichnet, dass an der Wäschetrommel (117), an einer Manschette (143) oder an der Gerätetür (115) eine Anzahl von Vorsprüngen angeordnet ist, welche ausgebildet sind, die Wäsche (139) während einer Rotation der Wäschetrommel (117) in der Wäschetrommel (117) zu bewegen.
  13. Wäschepflegegerät (100) nach einem der vorangehenden Ansprüche, dadurch gekennzeichnet, dass das Wäschepflegegerät (100) eine Trommelinnenbeleuchtung aufweist, welche ausgebildet ist, einen Innenraum der Wäschetrommel (117) auszuleuchten.
  14. Verfahren (200) zum Benetzen von Wäsche (139) in einer Wäschetrommel (117) eines Wäschepflegegeräts (100), wobei das Wäschepflegegerät (100) eine Gerätebeladeöffnung (113) an einer Gerätevorderseite (103) des Wäschepflegegeräts (100), eine Gerätetür (115) zum Verschließen der Gerätebeladeöffnung (113), eine Wäschetrommel (117) zur Aufnahme von Wäsche (139), wobei die Wäschetrommel (117) um eine Rotationsachse (141) rotierbar ist, wobei sich die Rotationsachse (141) von der Gerätevorderseite (103) zu einer Geräterückseite (105) des Wäschepflegegeräts (100) erstreckt, und einen Laugenbehälter (119) zur Aufnahme von Waschflüssigkeit (147) aufweist, wobei der Laugenbehälter (119) eine Ablassöffnung (121) aufweist, wobei das Wäschepflegegerät (100) eine Einlassdüse (123) aufweist, wobei die Ablassöffnung (121) mit der Einlassdüse (123) durch eine Leitung (125) fluidtechnisch verbunden ist, wobei in der Leitung (125) eine Pumpe (127) zum Pumpen der Waschflüssigkeit (147) aus der Ablassöffnung (121) durch die Leitung (125) und durch die Einlassdüse (123) angeordnet ist, wobei an einer Innenseite (153) der Gerätetür (115) eine Umleitvorrichtung (151) angeordnet ist, wobei die Umleitvorrichtung (151) eine Umleitfläche (157) aufweist, gegen welche die auf die Umleitvorrichtung (151) auftreffende Waschflüssigkeit (147) anspritzbar ist, um die Waschflüssigkeit (147) in Richtung der Wäschetrommel (117) umzuleiten, wobei die Umleitfläche (157) als eine gebogene oder gekrümmte Umleitfläche (157) ausgebildet ist, dadurch gekennzeichnet, dass das Verfahren (200) die folgenden Schritte umfasst,
    Leiten (201) der durch die Pumpe (127) umgepumpten Waschflüssigkeit (147) durch die Einlassdüse (123) auf die Umleitvorrichtung (151) radial zur Rotationsachse (141), und
    Umleiten (203) der auf die Umleitvorrichtung (151) auftreffenden Waschflüssigkeit (147) in Richtung der Wäschetrommel (117), um die umgeleitete Waschflüssigkeit (147) entlang der Rotationsachse (141) in die Wäschetrommel (117) einzuspritzen.
EP17186383.0A 2016-08-31 2017-08-16 Wäschepflegegerät mit einer umleitvorrichtung Active EP3290572B1 (de)

Applications Claiming Priority (1)

Application Number Priority Date Filing Date Title
DE102016216391.4A DE102016216391A1 (de) 2016-08-31 2016-08-31 Wäschepflegegerät mit einer Umleitvorrichtung

Publications (2)

Publication Number Publication Date
EP3290572A1 EP3290572A1 (de) 2018-03-07
EP3290572B1 true EP3290572B1 (de) 2022-11-02

Family

ID=59631654

Family Applications (1)

Application Number Title Priority Date Filing Date
EP17186383.0A Active EP3290572B1 (de) 2016-08-31 2017-08-16 Wäschepflegegerät mit einer umleitvorrichtung

Country Status (4)

Country Link
EP (1) EP3290572B1 (de)
CN (1) CN107794721B (de)
DE (1) DE102016216391A1 (de)
PL (1) PL3290572T3 (de)

Families Citing this family (14)

* Cited by examiner, † Cited by third party
Publication number Priority date Publication date Assignee Title
CN110387707B (zh) * 2018-04-16 2021-12-03 青岛海尔洗涤电器有限公司 滚筒洗衣机及其门体和喷淋系统
CN110387713A (zh) * 2018-04-16 2019-10-29 青岛海尔滚筒洗衣机有限公司 滚筒洗衣机及其喷淋系统
CN110644203A (zh) * 2018-06-26 2020-01-03 苏州三星电子有限公司 洗衣机门体结构及洗衣机
CN109112763A (zh) * 2018-10-17 2019-01-01 宁波新乐电器有限公司 一种具有喷淋结构的滚筒洗衣机
US11761134B2 (en) 2019-05-23 2023-09-19 Whirlpool Corporation Laundry appliance
CN117888337A (zh) 2019-05-23 2024-04-16 惠而浦公司 洗衣设备
US11377772B2 (en) 2019-05-23 2022-07-05 Whirlpool Corporation Laundry appliance
EP3741907B1 (de) * 2019-05-23 2023-06-07 Whirlpool Corporation Waschmaschine
DE102019212838A1 (de) * 2019-08-27 2021-03-04 BSH Hausgeräte GmbH Anordnung zum Steuern einer Austrittsrichtung eines Fluids
DE102019213017A1 (de) * 2019-08-29 2021-03-04 BSH Hausgeräte GmbH Wäschepflegegerät mit einer Steuerung
DE102019213014A1 (de) * 2019-08-29 2021-03-04 BSH Hausgeräte GmbH Wäschepflegegerät mit einer Steuerung
DE102019213015A1 (de) * 2019-08-29 2021-03-04 BSH Hausgeräte GmbH Wäschepflegegerät mit einer Steuerung
US11725331B2 (en) 2020-11-20 2023-08-15 Whirlpool Corporation Water recirculation assembly for a laundry appliance
EP4047117A1 (de) * 2021-02-19 2022-08-24 Schulthess Maschinen AG Waschmaschine mit umwälzung

Citations (1)

* Cited by examiner, † Cited by third party
Publication number Priority date Publication date Assignee Title
CN202116872U (zh) * 2011-06-01 2012-01-18 无锡小天鹅通用电器有限公司 具有门玻璃自清洗功能的滚筒洗衣机

Family Cites Families (15)

* Cited by examiner, † Cited by third party
Publication number Priority date Publication date Assignee Title
DE3811582A1 (de) * 1988-04-07 1989-10-19 Licentia Gmbh Stirnseitig beschickbare trommelwaschmaschine
IT1256272B (it) * 1991-10-22 1995-11-29 Zanussi Elettrodomestici Lavabiancheria con contenitore detersivo ricavato nell'oblo'
IT1259234B (it) * 1992-11-11 1996-03-11 Zanussi Elettrodomestici Lavatrici con dispositivo perfezionato di caricamento d'acqua
DE4330079C2 (de) 1993-09-06 2000-05-11 Bsh Bosch Siemens Hausgeraete Frontseitig beschickbare Trommelwaschmaschine
CN2372345Y (zh) * 1999-05-12 2000-04-05 海尔集团公司 滚筒洗衣机的喷淋装置
DE102004043671B4 (de) * 2004-09-07 2008-04-10 Miele & Cie. Kg Frontbeschickbare Trommelwaschmaschine mit Wäscheabweiser an der Faltenbalgdichtung
DE102006003416A1 (de) * 2006-01-24 2007-07-26 BSH Bosch und Siemens Hausgeräte GmbH Haushalt-Waschmaschine mit einer drehbar gelagerten Wäschetrommel und Verfahren zum Deodorieren von Kleidung in einer solchen Waschmaschine
KR101257703B1 (ko) * 2006-04-13 2013-04-24 삼성전자주식회사 드럼세탁기
JP2009006081A (ja) * 2007-06-29 2009-01-15 Toshiba Corp 洗濯機
KR20090107164A (ko) * 2008-04-08 2009-10-13 엘지전자 주식회사 세탁기
US8661860B2 (en) 2009-07-31 2014-03-04 Bsh Home Appliances Corporation Door bowl for a household appliance door
KR101635873B1 (ko) * 2009-09-04 2016-07-20 엘지전자 주식회사 세탁장치
JP5873968B2 (ja) * 2011-09-05 2016-03-01 パナソニックIpマネジメント株式会社 洗濯機
US9115461B2 (en) * 2011-12-21 2015-08-25 Whirlpool Corporation Door wash aid dispenser for a laundry treating appliance
DE102013106097B4 (de) 2013-06-12 2022-03-17 Miele & Cie. Kg Verfahren zum Betreiben einer Waschmaschine und Waschmaschine

Patent Citations (1)

* Cited by examiner, † Cited by third party
Publication number Priority date Publication date Assignee Title
CN202116872U (zh) * 2011-06-01 2012-01-18 无锡小天鹅通用电器有限公司 具有门玻璃自清洗功能的滚筒洗衣机

Also Published As

Publication number Publication date
CN107794721A (zh) 2018-03-13
CN107794721B (zh) 2021-07-27
EP3290572A1 (de) 2018-03-07
PL3290572T3 (pl) 2023-01-16
DE102016216391A1 (de) 2018-03-01

Similar Documents

Publication Publication Date Title
EP3290572B1 (de) Wäschepflegegerät mit einer umleitvorrichtung
DE60317274T2 (de) Waschmaschine
DE10227863B4 (de) Trommelwaschmaschine
EP2404539A1 (de) Wasserweiche für ein wasserführendes Haushaltsgerät
DE10245216A1 (de) Trommelwaschmaschine
EP3332059B1 (de) Wäschepflegegerät mit einem zirkulationssystem
EP3301213A1 (de) Waschmaschine
EP3613891B1 (de) Wäschepflegegerät mit einer einlassdüse
EP2022882B1 (de) Trommel für eine Waschmaschine und Waschmaschine
EP2348152B1 (de) Waschmaschine mit Umfluteinrichtung
EP2420609B1 (de) Laugenpumpe für wasserführende Haushaltgeräte und wasserführendes Haushaltgerät
EP3443156B1 (de) Wäschepflegegerät mit einer steuerung
WO2008000591A1 (de) Verfahren zum einbringen von waschmitteln und waschmaschine dafür
EP1643028B1 (de) Laugenbehälter für eine Waschmaschine
DE102010043021A1 (de) Geschirrspülmaschine, insbesondere Haushaltsgeschirrspülmaschine
WO2010066539A1 (de) Hausgerät zur pflege von wäschestücken, mit einer trommel und einer manschette
EP2821539B1 (de) Trommelwaschmaschine mit Unwuchtausgleich und Umflutung
EP1375727B1 (de) Waschmaschine
DE102008035790B4 (de) Trommelwaschmaschine
EP4324973A1 (de) Haushaltsgerät zur pflege von wäschestücken mit spezifischem spülsystem für ein luftleitsystem, sowie verfahren
DE842189C (de) Maschine zum Waschen und Schleudern von Waesche
EP2933366A1 (de) Verfahren zum betreiben einer waschmaschine mit umfluteinrichtung
EP4053323B1 (de) Waschmaschine mit umpumpsystem und verfahren zu deren betrieb
EP3575474A1 (de) Waschtrommel und waschautomat
EP4127293A1 (de) Verfahren und waschautomat

Legal Events

Date Code Title Description
PUAI Public reference made under article 153(3) epc to a published international application that has entered the european phase

Free format text: ORIGINAL CODE: 0009012

STAA Information on the status of an ep patent application or granted ep patent

Free format text: STATUS: THE APPLICATION HAS BEEN PUBLISHED

AK Designated contracting states

Kind code of ref document: A1

Designated state(s): AL AT BE BG CH CY CZ DE DK EE ES FI FR GB GR HR HU IE IS IT LI LT LU LV MC MK MT NL NO PL PT RO RS SE SI SK SM TR

AX Request for extension of the european patent

Extension state: BA ME

STAA Information on the status of an ep patent application or granted ep patent

Free format text: STATUS: REQUEST FOR EXAMINATION WAS MADE

17P Request for examination filed

Effective date: 20180907

RBV Designated contracting states (corrected)

Designated state(s): AL AT BE BG CH CY CZ DE DK EE ES FI FR GB GR HR HU IE IS IT LI LT LU LV MC MK MT NL NO PL PT RO RS SE SI SK SM TR

STAA Information on the status of an ep patent application or granted ep patent

Free format text: STATUS: EXAMINATION IS IN PROGRESS

17Q First examination report despatched

Effective date: 20210528

GRAP Despatch of communication of intention to grant a patent

Free format text: ORIGINAL CODE: EPIDOSNIGR1

STAA Information on the status of an ep patent application or granted ep patent

Free format text: STATUS: GRANT OF PATENT IS INTENDED

RIC1 Information provided on ipc code assigned before grant

Ipc: D06F 37/26 20060101ALN20220518BHEP

Ipc: D06F 37/30 20060101ALN20220518BHEP

Ipc: D06F 39/14 20060101ALI20220518BHEP

Ipc: D06F 39/08 20060101AFI20220518BHEP

RIC1 Information provided on ipc code assigned before grant

Ipc: D06F 37/26 20060101ALN20220603BHEP

Ipc: D06F 37/30 20060101ALN20220603BHEP

Ipc: D06F 39/14 20060101ALI20220603BHEP

Ipc: D06F 39/08 20060101AFI20220603BHEP

INTG Intention to grant announced

Effective date: 20220621

GRAS Grant fee paid

Free format text: ORIGINAL CODE: EPIDOSNIGR3

GRAA (expected) grant

Free format text: ORIGINAL CODE: 0009210

STAA Information on the status of an ep patent application or granted ep patent

Free format text: STATUS: THE PATENT HAS BEEN GRANTED

AK Designated contracting states

Kind code of ref document: B1

Designated state(s): AL AT BE BG CH CY CZ DE DK EE ES FI FR GB GR HR HU IE IS IT LI LT LU LV MC MK MT NL NO PL PT RO RS SE SI SK SM TR

REG Reference to a national code

Ref country code: GB

Ref legal event code: FG4D

Free format text: NOT ENGLISH

REG Reference to a national code

Ref country code: CH

Ref legal event code: EP

Ref country code: AT

Ref legal event code: REF

Ref document number: 1528816

Country of ref document: AT

Kind code of ref document: T

Effective date: 20221115

REG Reference to a national code

Ref country code: DE

Ref legal event code: R096

Ref document number: 502017014025

Country of ref document: DE

REG Reference to a national code

Ref country code: IE

Ref legal event code: FG4D

Free format text: LANGUAGE OF EP DOCUMENT: GERMAN

REG Reference to a national code

Ref country code: DE

Ref legal event code: R084

Ref document number: 502017014025

Country of ref document: DE

REG Reference to a national code

Ref country code: LT

Ref legal event code: MG9D

REG Reference to a national code

Ref country code: NL

Ref legal event code: MP

Effective date: 20221102

PG25 Lapsed in a contracting state [announced via postgrant information from national office to epo]

Ref country code: SE

Free format text: LAPSE BECAUSE OF FAILURE TO SUBMIT A TRANSLATION OF THE DESCRIPTION OR TO PAY THE FEE WITHIN THE PRESCRIBED TIME-LIMIT

Effective date: 20221102

Ref country code: PT

Free format text: LAPSE BECAUSE OF FAILURE TO SUBMIT A TRANSLATION OF THE DESCRIPTION OR TO PAY THE FEE WITHIN THE PRESCRIBED TIME-LIMIT

Effective date: 20230302

Ref country code: NO

Free format text: LAPSE BECAUSE OF FAILURE TO SUBMIT A TRANSLATION OF THE DESCRIPTION OR TO PAY THE FEE WITHIN THE PRESCRIBED TIME-LIMIT

Effective date: 20230202

Ref country code: LT

Free format text: LAPSE BECAUSE OF FAILURE TO SUBMIT A TRANSLATION OF THE DESCRIPTION OR TO PAY THE FEE WITHIN THE PRESCRIBED TIME-LIMIT

Effective date: 20221102

Ref country code: FI

Free format text: LAPSE BECAUSE OF FAILURE TO SUBMIT A TRANSLATION OF THE DESCRIPTION OR TO PAY THE FEE WITHIN THE PRESCRIBED TIME-LIMIT

Effective date: 20221102

Ref country code: ES

Free format text: LAPSE BECAUSE OF FAILURE TO SUBMIT A TRANSLATION OF THE DESCRIPTION OR TO PAY THE FEE WITHIN THE PRESCRIBED TIME-LIMIT

Effective date: 20221102

PG25 Lapsed in a contracting state [announced via postgrant information from national office to epo]

Ref country code: RS

Free format text: LAPSE BECAUSE OF FAILURE TO SUBMIT A TRANSLATION OF THE DESCRIPTION OR TO PAY THE FEE WITHIN THE PRESCRIBED TIME-LIMIT

Effective date: 20221102

Ref country code: LV

Free format text: LAPSE BECAUSE OF FAILURE TO SUBMIT A TRANSLATION OF THE DESCRIPTION OR TO PAY THE FEE WITHIN THE PRESCRIBED TIME-LIMIT

Effective date: 20221102

Ref country code: IS

Free format text: LAPSE BECAUSE OF FAILURE TO SUBMIT A TRANSLATION OF THE DESCRIPTION OR TO PAY THE FEE WITHIN THE PRESCRIBED TIME-LIMIT

Effective date: 20230302

Ref country code: HR

Free format text: LAPSE BECAUSE OF FAILURE TO SUBMIT A TRANSLATION OF THE DESCRIPTION OR TO PAY THE FEE WITHIN THE PRESCRIBED TIME-LIMIT

Effective date: 20221102

Ref country code: GR

Free format text: LAPSE BECAUSE OF FAILURE TO SUBMIT A TRANSLATION OF THE DESCRIPTION OR TO PAY THE FEE WITHIN THE PRESCRIBED TIME-LIMIT

Effective date: 20230203

PG25 Lapsed in a contracting state [announced via postgrant information from national office to epo]

Ref country code: NL

Free format text: LAPSE BECAUSE OF FAILURE TO SUBMIT A TRANSLATION OF THE DESCRIPTION OR TO PAY THE FEE WITHIN THE PRESCRIBED TIME-LIMIT

Effective date: 20221102

PG25 Lapsed in a contracting state [announced via postgrant information from national office to epo]

Ref country code: SM

Free format text: LAPSE BECAUSE OF FAILURE TO SUBMIT A TRANSLATION OF THE DESCRIPTION OR TO PAY THE FEE WITHIN THE PRESCRIBED TIME-LIMIT

Effective date: 20221102

Ref country code: RO

Free format text: LAPSE BECAUSE OF FAILURE TO SUBMIT A TRANSLATION OF THE DESCRIPTION OR TO PAY THE FEE WITHIN THE PRESCRIBED TIME-LIMIT

Effective date: 20221102

Ref country code: EE

Free format text: LAPSE BECAUSE OF FAILURE TO SUBMIT A TRANSLATION OF THE DESCRIPTION OR TO PAY THE FEE WITHIN THE PRESCRIBED TIME-LIMIT

Effective date: 20221102

Ref country code: DK

Free format text: LAPSE BECAUSE OF FAILURE TO SUBMIT A TRANSLATION OF THE DESCRIPTION OR TO PAY THE FEE WITHIN THE PRESCRIBED TIME-LIMIT

Effective date: 20221102

Ref country code: CZ

Free format text: LAPSE BECAUSE OF FAILURE TO SUBMIT A TRANSLATION OF THE DESCRIPTION OR TO PAY THE FEE WITHIN THE PRESCRIBED TIME-LIMIT

Effective date: 20221102

REG Reference to a national code

Ref country code: DE

Ref legal event code: R097

Ref document number: 502017014025

Country of ref document: DE

PG25 Lapsed in a contracting state [announced via postgrant information from national office to epo]

Ref country code: SK

Free format text: LAPSE BECAUSE OF FAILURE TO SUBMIT A TRANSLATION OF THE DESCRIPTION OR TO PAY THE FEE WITHIN THE PRESCRIBED TIME-LIMIT

Effective date: 20221102

Ref country code: AL

Free format text: LAPSE BECAUSE OF FAILURE TO SUBMIT A TRANSLATION OF THE DESCRIPTION OR TO PAY THE FEE WITHIN THE PRESCRIBED TIME-LIMIT

Effective date: 20221102

PLBE No opposition filed within time limit

Free format text: ORIGINAL CODE: 0009261

STAA Information on the status of an ep patent application or granted ep patent

Free format text: STATUS: NO OPPOSITION FILED WITHIN TIME LIMIT

26N No opposition filed

Effective date: 20230803

PG25 Lapsed in a contracting state [announced via postgrant information from national office to epo]

Ref country code: SI

Free format text: LAPSE BECAUSE OF FAILURE TO SUBMIT A TRANSLATION OF THE DESCRIPTION OR TO PAY THE FEE WITHIN THE PRESCRIBED TIME-LIMIT

Effective date: 20221102

PG25 Lapsed in a contracting state [announced via postgrant information from national office to epo]

Ref country code: MC

Free format text: LAPSE BECAUSE OF FAILURE TO SUBMIT A TRANSLATION OF THE DESCRIPTION OR TO PAY THE FEE WITHIN THE PRESCRIBED TIME-LIMIT

Effective date: 20221102

REG Reference to a national code

Ref country code: CH

Ref legal event code: PL

PG25 Lapsed in a contracting state [announced via postgrant information from national office to epo]

Ref country code: MC

Free format text: LAPSE BECAUSE OF FAILURE TO SUBMIT A TRANSLATION OF THE DESCRIPTION OR TO PAY THE FEE WITHIN THE PRESCRIBED TIME-LIMIT

Effective date: 20221102

PG25 Lapsed in a contracting state [announced via postgrant information from national office to epo]

Ref country code: LU

Free format text: LAPSE BECAUSE OF NON-PAYMENT OF DUE FEES

Effective date: 20230816

GBPC Gb: european patent ceased through non-payment of renewal fee

Effective date: 20230816

PG25 Lapsed in a contracting state [announced via postgrant information from national office to epo]

Ref country code: LU

Free format text: LAPSE BECAUSE OF NON-PAYMENT OF DUE FEES

Effective date: 20230816

Ref country code: CH

Free format text: LAPSE BECAUSE OF NON-PAYMENT OF DUE FEES

Effective date: 20230831

REG Reference to a national code

Ref country code: BE

Ref legal event code: MM

Effective date: 20230831

REG Reference to a national code

Ref country code: IE

Ref legal event code: MM4A

PG25 Lapsed in a contracting state [announced via postgrant information from national office to epo]

Ref country code: IT

Free format text: LAPSE BECAUSE OF FAILURE TO SUBMIT A TRANSLATION OF THE DESCRIPTION OR TO PAY THE FEE WITHIN THE PRESCRIBED TIME-LIMIT

Effective date: 20221102

PG25 Lapsed in a contracting state [announced via postgrant information from national office to epo]

Ref country code: IE

Free format text: LAPSE BECAUSE OF NON-PAYMENT OF DUE FEES

Effective date: 20230816

PG25 Lapsed in a contracting state [announced via postgrant information from national office to epo]

Ref country code: GB

Free format text: LAPSE BECAUSE OF NON-PAYMENT OF DUE FEES

Effective date: 20230816

PG25 Lapsed in a contracting state [announced via postgrant information from national office to epo]

Ref country code: IE

Free format text: LAPSE BECAUSE OF NON-PAYMENT OF DUE FEES

Effective date: 20230816

Ref country code: GB

Free format text: LAPSE BECAUSE OF NON-PAYMENT OF DUE FEES

Effective date: 20230816

Ref country code: FR

Free format text: LAPSE BECAUSE OF NON-PAYMENT OF DUE FEES

Effective date: 20230831

PG25 Lapsed in a contracting state [announced via postgrant information from national office to epo]

Ref country code: BE

Free format text: LAPSE BECAUSE OF NON-PAYMENT OF DUE FEES

Effective date: 20230831

REG Reference to a national code

Ref country code: AT

Ref legal event code: MM01

Ref document number: 1528816

Country of ref document: AT

Kind code of ref document: T

Effective date: 20230816

PG25 Lapsed in a contracting state [announced via postgrant information from national office to epo]

Ref country code: AT

Free format text: LAPSE BECAUSE OF NON-PAYMENT OF DUE FEES

Effective date: 20230816

PGFP Annual fee paid to national office [announced via postgrant information from national office to epo]

Ref country code: PL

Payment date: 20240807

Year of fee payment: 8

PG25 Lapsed in a contracting state [announced via postgrant information from national office to epo]

Ref country code: AT

Free format text: LAPSE BECAUSE OF NON-PAYMENT OF DUE FEES

Effective date: 20230816

PG25 Lapsed in a contracting state [announced via postgrant information from national office to epo]

Ref country code: BG

Free format text: LAPSE BECAUSE OF FAILURE TO SUBMIT A TRANSLATION OF THE DESCRIPTION OR TO PAY THE FEE WITHIN THE PRESCRIBED TIME-LIMIT

Effective date: 20221102

PG25 Lapsed in a contracting state [announced via postgrant information from national office to epo]

Ref country code: BG

Free format text: LAPSE BECAUSE OF FAILURE TO SUBMIT A TRANSLATION OF THE DESCRIPTION OR TO PAY THE FEE WITHIN THE PRESCRIBED TIME-LIMIT

Effective date: 20221102

PG25 Lapsed in a contracting state [announced via postgrant information from national office to epo]

Ref country code: CY

Free format text: LAPSE BECAUSE OF FAILURE TO SUBMIT A TRANSLATION OF THE DESCRIPTION OR TO PAY THE FEE WITHIN THE PRESCRIBED TIME-LIMIT; INVALID AB INITIO

Effective date: 20170816

PG25 Lapsed in a contracting state [announced via postgrant information from national office to epo]

Ref country code: HU

Free format text: LAPSE BECAUSE OF FAILURE TO SUBMIT A TRANSLATION OF THE DESCRIPTION OR TO PAY THE FEE WITHIN THE PRESCRIBED TIME-LIMIT; INVALID AB INITIO

Effective date: 20170816

PGFP Annual fee paid to national office [announced via postgrant information from national office to epo]

Ref country code: DE

Payment date: 20250831

Year of fee payment: 9

PGFP Annual fee paid to national office [announced via postgrant information from national office to epo]

Ref country code: TR

Payment date: 20250808

Year of fee payment: 9