EP3085348A1 - Aufstehhilfe sowie damit ausgerüstetes bett - Google Patents

Aufstehhilfe sowie damit ausgerüstetes bett Download PDF

Info

Publication number
EP3085348A1
EP3085348A1 EP16166125.1A EP16166125A EP3085348A1 EP 3085348 A1 EP3085348 A1 EP 3085348A1 EP 16166125 A EP16166125 A EP 16166125A EP 3085348 A1 EP3085348 A1 EP 3085348A1
Authority
EP
European Patent Office
Prior art keywords
stand
column
bed
aid
aid according
Prior art date
Legal status (The legal status is an assumption and is not a legal conclusion. Google has not performed a legal analysis and makes no representation as to the accuracy of the status listed.)
Granted
Application number
EP16166125.1A
Other languages
English (en)
French (fr)
Other versions
EP3085348B1 (de
Inventor
Brigitta Heidingsfelder-Bongard
Current Assignee (The listed assignees may be inaccurate. Google has not performed a legal analysis and makes no representation or warranty as to the accuracy of the list.)
Rehastage GmbH
Original Assignee
Individual
Priority date (The priority date is an assumption and is not a legal conclusion. Google has not performed a legal analysis and makes no representation as to the accuracy of the date listed.)
Filing date
Publication date
Application filed by Individual filed Critical Individual
Priority to PL16166125T priority Critical patent/PL3085348T3/pl
Publication of EP3085348A1 publication Critical patent/EP3085348A1/de
Application granted granted Critical
Publication of EP3085348B1 publication Critical patent/EP3085348B1/de
Active legal-status Critical Current
Anticipated expiration legal-status Critical

Links

Images

Classifications

    • AHUMAN NECESSITIES
    • A61MEDICAL OR VETERINARY SCIENCE; HYGIENE
    • A61GTRANSPORT, PERSONAL CONVEYANCES, OR ACCOMMODATION SPECIALLY ADAPTED FOR PATIENTS OR DISABLED PERSONS; OPERATING TABLES OR CHAIRS; CHAIRS FOR DENTISTRY; FUNERAL DEVICES
    • A61G7/00Beds specially adapted for nursing; Devices for lifting patients or disabled persons
    • A61G7/10Devices for lifting patients or disabled persons, e.g. special adaptations of hoists thereto
    • A61G7/1038Manual lifting aids, e.g. frames or racks
    • AHUMAN NECESSITIES
    • A47FURNITURE; DOMESTIC ARTICLES OR APPLIANCES; COFFEE MILLS; SPICE MILLS; SUCTION CLEANERS IN GENERAL
    • A47CCHAIRS; SOFAS; BEDS
    • A47C21/00Attachments for beds, e.g. sheet holders or bed-cover holders; Ventilating, cooling or heating means in connection with bedsteads or mattresses
    • AHUMAN NECESSITIES
    • A61MEDICAL OR VETERINARY SCIENCE; HYGIENE
    • A61GTRANSPORT, PERSONAL CONVEYANCES, OR ACCOMMODATION SPECIALLY ADAPTED FOR PATIENTS OR DISABLED PERSONS; OPERATING TABLES OR CHAIRS; CHAIRS FOR DENTISTRY; FUNERAL DEVICES
    • A61G7/00Beds specially adapted for nursing; Devices for lifting patients or disabled persons
    • A61G7/05Parts, details or accessories of beds
    • A61G7/053Aids for getting into, or out of, bed, e.g. steps, chairs, cane-like supports

Definitions

  • the invention relates to a stand-up aid for a person in a bed and a bed equipped with it.
  • This prior art mobility aid includes a telescopic handle that is stowed in the non-use position below the bed surface of the bed. In its position of use, this is pulled out from below the lying surface and is opposite to the telescopic direction in the vertical angled slightly above the lying surface.
  • the handle is bow-shaped and can be pivoted about a vertical pivot axis.
  • the handle is fixed by a detent in predetermined positions. To release the detent, it is necessary to lift the handle in the vertical direction to release the engaged locking means from each other before further pivoting is possible.
  • a person sitting on the edge of the bed can be supported for the purpose of getting up (rising).
  • this mobility aid it is necessary that the person is already in a seated position and preferably already the Legs placed next to the bed.
  • Another mobility aid is off DE 203 07 477 U1 known.
  • this mobility aid is located on a substructure of the bed mounted on a movable carriage handle. This serves as well as the mobility assistance DE 297 09 508 U1 for getting up from a bed, which is displaceable in the longitudinal direction of the bed.
  • Yet another auxiliary device, with the help of which a person can get up from a bed, is out DE 197 16 249 A1 known.
  • auxiliary device known from this document is a height-adjustable handle assembly which is connected to the bed frame adjacent to the lying surface.
  • these have the same disadvantages as those in the mobility aid according to DE 297 09 508 U1 already shown.
  • the object of the invention is therefore to propose a stand-up aid, with which not only the erection process for raising from the lying position into a sitting position can be supported, but which are also used as a stand-up aid for supporting a standing-up operation can.
  • a stand-up aid for a person in a bed comprising a column with connection means for connecting the same to a frame part of a bed and one in its position of use extending transversely to the longitudinal extension of the column, connected to the upper end of the column and opposite to this pivotable erecting bar, wherein in the hinged connection between the erecting bar and the column, a blocking mechanism permitting one pivoting direction of the erecting bar and allowing the opposite pivoting direction is activated or the articulated connection is formed by such a locking mechanism.
  • This stand-up aid is connected to a frame part of the bed.
  • the bed to which such a stand-up aid is to be connected will be a hospital or nursing bed.
  • Such beds have frame parts and cross struts of metal profiles, thus frame parts, which are particularly suitable to accommodate the forces acting on such a stand-up in their use forces.
  • the stand-up aid itself comprises a pillar equipped with connection means to such a frame part, an erecting rod and a connecting or articulating member for pivotally connecting the erecting rod to the column, via which connecting member a pivotability of the erection rod in the horizontal direction is made possible.
  • the erection bar itself is located in a plane transverse to the longitudinal extent of the column and is therefore designed to be able to reach over the lying surface.
  • the erecting rod is pivotable relative to the column and can thus be brought from a position in which this engages over the lying surface in a position in which it is aligned parallel to the longitudinal side of the bed or beyond can be further pivoted.
  • the articulated connection between the erection bar and the pillar is designed to permit pivotal movement of the erection bar in one direction when using the stand-up aid to assist in the erection and / or raising operation while blocking or blocking pivotal movement in the opposite direction is.
  • the stand-up aid In many cases you will not need the stand-up aid for the reverse process of setting yourself up on the bed and getting yourself back into the lying position. Should this still be desired, one will provide such a stand-up aid, as is the case in a preferred embodiment, with a releasable locking mechanism, which is anyway preferred. Also in these operations, the erection bar is loaded in the same direction as in the support of erection and placement. In this respect, when using this stand-up aid for sitting down and lying down, you will gradually release the locking mechanism so that the erection bar can be tracked in this direction before you typically move from sitting down to the lying position.
  • such a Aufricht Anlagen is equipped with a switching device for switching the reverse direction.
  • This can be used to adjust due to a different desired locking direction in response to an attachment of the stand-up on the bed and the direction in which a person takes the holding force of the stand-up to complete.
  • Such a locking mechanism may be carried out in the manner of a pawl mechanism, as they are used as tools in ratchets.
  • a locking mechanism and other mechanisms can be used as Sperrklinkemechaniken.
  • the column of the stand-up is expediently made two or more parts.
  • the lowest column part is connected to the frame of the bed.
  • This pillar part can be designed as a hollow profile, so that a second column part can dive into this and is longitudinally displaceable and lockable relative to the first column part.
  • the second pillar member carries the erecting rod.
  • the erection bar is carried by the uppermost column part.
  • the erection bar is designed angled, namely asymmetrical, so that it has a shorter and a longer leg.
  • the erecting bar is pivotally connected to the column in the manner described above.
  • the longer leg of Aufrichtestange then forms the actual handle portion, which engages a user for the use of the stand-up.
  • the angled design of the erection bar has the advantage that when attaching the column directly to the frame of the bed and thus immediately adjacent to the lying surface, the handle portion is at a distance from the edge of the bed, when a person using the Aufricht Gar person sits and their feet has placed on the bottom side ,
  • the Aufrichtestange can be performed as a whole or even with respect to their handle portion as a bracket.
  • the erection bar can be swung out of a horizontal or substantially horizontal use position into a vertical or vertically similar non-use position.
  • the erecting bar can also be used for other purposes, such as attaching an infusion bag.
  • an angled erecting rod it is expedient to allow this pivoting movement in that the shorter leg of the erection rod is pivoted about its longitudinal axis.
  • the connecting member via which the erection bar is connected to the column, has a pivot pin on which the shorter leg of the erection bar is pivotally seated.
  • the erecting bar can be held on a pivot pin by a bolt engaging in a slot-like guide groove of the leg and fixed in the pivot pin of the connecting link.
  • a stand-up aid 1 comprises a pillar 2 and a erecting rod 3 pivotally connected to the pillar 2.
  • the erecting rod 3 is connected to the pillar 2 with the interposition of an articulated member 4.
  • the column 2 of the illustrated embodiment is designed in one piece.
  • the one square cross-sectional area with rounded corners having column 2 is guided in a guide tube section 5.
  • the guide tube section 5 is in the illustrated embodiment, a tube section having the same geometry as the cross-sectional geometry of the column 2, but with an inner diameter, so that this column 2 can dip therein and in the longitudinal direction relative to the guide tube section 5 is displaceable.
  • a clamping screw is used, with which the column 2 can be fixed within the guide tube section 5 (not shown). In this way, the height of the erecting bar 3 and thus its pivoting level can be adjusted.
  • the guide tube section 5 is connected to a plate 6.
  • the plate 6 is part of a connection means for connecting the stand-up aid 1 to the frame of a bed.
  • these connection means comprise a U-shaped sleeve 7, which surrounds a carrier, typically the longitudinal beam or longitudinal spar of a bed. With the sleeve 7, the plate 6 cooperates, in such a way that an inserted into the spar holder 8 frame part of the bed can be clamped therein, so that the column 2 is immovably connected to the frame part.
  • the Aufrichtestange 3 is executed in the illustrated embodiment angled, and that asymmetrical, so that a shorter leg and a longer leg arise.
  • the longer leg of Aufrichtestange 3 serves as a grip portion 9 which a person takes when they sit up with the aid of the stand-up 1 in a bed to which the stand-up 1 is connected, erect and / or would like to get out of this.
  • the shorter leg 10 is connected to the connecting or joint member 4.
  • the erecting rod 3 is pivotable about the longitudinal axis L of the column 2, as this in FIG. 1 indicated by the arrow.
  • the hinge member 4, with the Aufrichtestange 3 in the above Art is pivotally connected to the column 2, comprises a locking mechanism.
  • This locking mechanism is a pawl mechanism, as it is used in principle when using tool ratchets.
  • This locking mechanism is a pivoting movement of the erection bar 3 in the in FIG. 1 shown arrow direction possible, but not in the opposite direction.
  • the joint member 4 has a switching mechanism which can be actuated by means of a switch 11. With this switching mechanism, on the one hand, the locking mechanism can be released, so that then the erection bar 3 is pivotable in both directions. Further, by switching the locking mechanism can be set in the opposite direction acting.
  • the Aufrichtestange 3 is pivotable about the longitudinal axis of its leg 10 by the hinge member 4 carries a partially dipping in the leg 10 pivot pin and against which the erecting rod 3 is pivotable.
  • a slot-like guide 12 is introduced in the leg 10 itself.
  • a bolt 13 which sits in the pivot pin of the joint member 4, held engaging.
  • the pivoting amount of Aufrichtestange 3 about the longitudinal axis of its leg 10 can be limited.
  • position of Aufrichtestange 3 is a further lowering thereby prevented since the bolt 13 on the in FIG. 1 recognizable end of the guide groove 12 is present.
  • the Aufschwenkbetrag the Aufrichtestange 3 is limited.
  • the stand-up aid 1 can also be connected to another side of the bed with its erection bar. Depending on the orientation of bed use then the erection bar and / or the locking mechanism is adjusted accordingly.
  • the stand-up 1 is in the FIGS. 2a, 2b connected to a schematically illustrated frame 14 of a bed 15, otherwise not shown.
  • the Aufsteh Vietnamese 1 is attached to a longitudinal spar of the bed frame 14.
  • the Aufrichtestange 3 extends with its handle portion 9 on the bordered by the frame 14 vide Chemistry16.
  • position of Aufrichtestange 3 is that position from which a person using the Aufsteh Vietnamese 1 takes this person to bring from a prone position to a sitting position.
  • the stand-up aid 1 can also be used as a support.
  • the person who has already moved from the prone position to the seated end position with the aid of the stand-up aid 1 slips toward the edge of the bed, to which the stand-up aid 1 is connected. This is due to the possible in this direction pivoting the erection bar 3 readily possible.
  • FIGS. 3a, 3b show a position of Clothingrichtestange 3
  • a user sits on the edge of the bed and has already placed his feet on the bottom side.
  • FIG. 3 seen, the angled training of Aufrichtestange 3 positively noticeable, since this training leaves a user enough space between In this position, the stand-up aid 1, a person can easily rest on the handle portion 9 and pull up on this from his sitting position in the state or push up.
  • the erecting rod 3 with its handle portion 9 even further than in the FIGS. 3a, 3b can be swung out, so that enough space between the handle portion 9 and the edge of the bed 15 is present in order to be able to step away comfortably.
  • This position of the erector bar 3 of the stand-up 1 is in FIG. 4 shown in a plan view.
  • FIG. 5 yet another position of the stand-up 1 shown.
  • the erection bar 3 is pivoted vertically and is in its non-use position.
  • the erecting rod 3 can be used to hang certain objects, such as infusion bags can.
  • the stand-up 1, when the erection rod 3 is in its use position, for example, in the use position after the FIGS. 2a, 2b also be used to be used as a holder for example, a tray, a Aufstecktisch or the like.
  • stand-up aid 1.1 shown corresponds in terms of their design that of the stand-up 1 of the preceding figures.
  • the stand-up aid 1.1 differs in terms of their connection means for connecting their column 2.1 to the spar 18 of a bed frame or bed frame, otherwise not shown.
  • connecting means a sleeve for connecting the stand-up to a bed frame
  • the connection means of the stand-up aid 1.1 is designed as a clamping enclosure 19.
  • the Klemmein charged 19 has a U-shaped Holmsuit 20 whose both legs 21, 21.1 are directed away from the pillar 2.1 of the stand-up aid 1.1.
  • the spar pad 20 is open at the bottom and is placed on top of the spar 18 from above.
  • the pillar 2.1 of the stand-up aid 1.1 is arranged on the back of the U-shaped Holmfact 20.
  • the spar holder 20 and the column 2.1 are welded together.
  • To fix the Klemmein drawn 19 to the spar 18 is a disposed within the spar holder 20 clamping plate 22 with a planar extension parallel to the legs 21, 21.1.
  • Two clamping screws 23, 23.1 pass through the leg 21 of the spar holder 20, wherein this passage serves as a guide for the clamping screws 23, 23.1.
  • On the clamping screws 23, 23.1 sits, as shown in the illustration FIG. 7 recognizable, a clamping nut 24, which acts to clamp the clamping plate 22 on the spar 18 against the inside of the leg 21.
  • the clamping connection between the spar 18 and the leg 21.1 of the spar holder 20 and the clamping plate 22 is effected by tensioning the clamping nut 24.
  • the spar receptacle 20 is particularly suitable for connection to differently designed bed frames or their longitudinal spars, since the stand-up aid 1.1 is placed with their spar receptacle 20 as a connection means from above on a longitudinal spar. Embracing a longitudinal spar, as provided in the object of the stand-up aid 1 with the cuff comprising a spar, is thus not required when using a clamping collar 19. It is also advantageous that the Klemmein charged 19 may have a certain longitudinal extent, whereby a force is introduced over a larger area in the received therein spar. This is advantageous because act on the connected by means of their pillar 2.1 to the spar holder 20 of the clamping enclosure 19 Aufsteh Cei 1.1 when using the same not inconsiderable torsional forces. In this respect, the Klemmein charged 19 without damage and weight-optimized spars to take into account, are used on this also for connecting a stand-up to a bed frame.
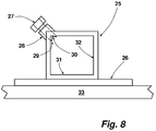
  • FIG. 8 schematically shows in a plan view another way of connecting a stand-up by means of its column to a bed frame.
  • connecting means for connecting the column a frame part of a bed is a column receptacle 25, which is fastened by means of a fitting plate 26 on the outwardly facing side of a spar of a bed frame. This can be done by means of screws or by a joining process.
  • the column receptacle 25 is in FIG. 8 shown in a plan view.
  • In the column holder 25 is a square tube piece with an inner width, in which the column of a stand-up can be used with the necessary movement play.
  • the inner width of the column receptacle 25 is adapted to the edge length of a pillar also having a square cross-sectional area of a stand-up.
  • a special feature of the column holder 25 is that for fixing the column within the column holder 25, a clamping screw 27 is used.
  • the clamping screw 27 engages with its threaded shank in a threaded sleeve 28 formed with a complementary internal thread.
  • the threaded sleeve 28 is disposed on an edge of the column receptacle 25, wherein the axis of the internally threaded bore of the threaded sleeve 28 in alignment with the bisector of the edge adjacent walls of the column support extends.
  • the foot 29 of the clamping screw 27, which is equipped with a rectangular notch 30 in the illustrated embodiment, acts on an edge of a column inserted into the column holder 25.
  • the column used in the column holder 25 is pressed in this way by the clamping screw 27 against the inside of the walls 31, 32.
  • a column of a stand-up aid inserted into the column receptacle 25 is fixed in the two directions of the opening of the column receptacle 25.
  • the height of the stand-up aid is also set up as in the stand-up. 1
  • the invention has been described with reference to a stand-up, which is connected from the direction of a person using the stand-up person to the right side of the bed. It is understood that such a stand-up help course to any, especially the other side of the bed can be connected. In such a case, the person using the righting aid is designed or assembled in mirror symmetry with the same lying direction.

Landscapes

  • Health & Medical Sciences (AREA)
  • Nursing (AREA)
  • Life Sciences & Earth Sciences (AREA)
  • Animal Behavior & Ethology (AREA)
  • General Health & Medical Sciences (AREA)
  • Public Health (AREA)
  • Veterinary Medicine (AREA)
  • Invalid Beds And Related Equipment (AREA)

Abstract

Ein Aufstehhilfe 1 für eine in einem Bett befindliche Person umfasst eine Säule 2 mit Anschlussmitteln zum Anschließen derselben an ein Rahmenteil 14 eines Bettes 15. Zudem umfasst die Aufstehhilfe eine sich in ihrer Benutzungsstellung quer zur Längserstreckung der Säule 2 erstreckende, an das obere Ende der Säule 2 angeschlossen und gegenüber dieser verschwenkbare Aufrichtestange 3. In die gelenkige Verbindung zwischen der Aufrichtestange 3 und der Säule 2 ist ein die eine Schwenkrichtung der Aufrichtestange blockierende und die entgegengesetzte Schwenkrichtung gestattender Sperrmechanismus eingeschaltet oder die gelenkige Verbindung ist durch einen solchen Sperrmechanismus gebildet.

Description

  • Die Erfindung betrifft eine Aufstehhilfe für eine in einem Bett befindliche Person sowie ein damit ausgerüstetes Bett.
  • Für Verletzte oder auch ältere Personen ist es mitunter nicht immer möglich, sich ohne Hilfsmittel aus der liegenden Position in einem Bett in eine sitzende Position aufzurichten und sich anschließend zum Verlassen des Bettes von diesem zu erheben. Um bezüglich des Aufrichtens einer solchen Person ein Hilfsmittel bereitzustellen, verfügen Pflegebetten oftmals über einen daran angebrachten Bettgalgen. Dieser erstreckt sich ausgehend von dem Kopfende des Bettes über die Liegefläche. Angehängt an diesem Bettgalgen ist ein etwa dreieckförmiger Handgriff. Dieser kann zum Unterstützen des Aufrichtvorganges von einer in dem Bett befindlichen liegenden Person ergriffen werden, um sich daran hoch zu ziehen. Eine Unterstützung zum Aufstehen, d. h. zum Unterstützen des Umsetz- und Aufstehprozesses, damit eine Person aus dem Bett aussteigen kann, ist mit einem solchen Hilfsmittel nicht zu erreichen.
  • Neben derartigen Bettgalgen sind auch Mobilitätshilfen bekannt geworden, die das Aufstehen von einem Bett erleichtern sollen. Eine derartige Aufstehhilfe ist beispielsweise aus DE 297 09 508 U1 bekannt. Diese vorbekannte Mobilitätshilfe umfasst einen teleskopierbaren Griff, der in der Nichtbenutzungsstellung unterhalb der Liegefläche des Bettes verstaut ist. In seiner Benutzungsstellung ist dieser von unterhalb der Liegefläche ausgezogen und befindet sich gegenüber der teleskopierbaren Richtung in die Vertikale abgewinkelt etwas oberhalb der Liegefläche. Der Griff ist bügelartig ausgeführt und kann um eine vertikale Schwenkachse verschwenkt werden. Der Griff ist durch eine Rastung in vorbestimmten Stellungen festgesetzt. Zum Lösen der Rastung ist es erforderlich, den Griff in vertikaler Richtung anzuheben, um die miteinander in Eingriff gestellten Rastmitteln voneinander zu lösen, bevor ein weiteres Verschwenken möglich ist. An einem solchen Griff kann sich eine auf dem Bettrand sitzende Person zum Zwecke des Aufstehens (sich Erhebens) abstützen. Um diese Mobilitätshilfe nutzen zu können, ist es jedoch erforderlich, dass die Person sich bereits in sitzender Stellung befindet und vorzugsweise auch bereits die Beine neben die Liegefläche gestellt hat.
  • Eine andere Mobilitätshilfe ist aus DE 203 07 477 U1 bekannt. Bei dieser Mobilitätshilfe befindet sich an einer Unterkonstruktion des Bettes ein auf einem beweglichen Schlitten angebrachter Haltegriff. Dieser dient ebenso wie die Mobilitätshilfe aus DE 297 09 508 U1 zum Aufstehen aus einem Bett, wobei diese in Längsrichtung des Bettes verschiebbar ist. Noch eine weitere Hilfseinrichtung, mit deren Hilfe eine Person aus einem Bett aufstehen kann, ist aus DE 197 16 249 A1 bekannt. Bei der aus diesem Dokument bekannten Hilfseinrichtung handelt es sich um eine höheneinstellbare Griffanordnung, die benachbart zu der Liegefläche an das Bettgestell angeschlossen ist. Diese weisen jedoch dieselben Nachteile auf, wie diese zu der Mobilitätshilfe gemäß DE 297 09 508 U1 bereits aufgezeigt sind.
  • Unerwünscht, jedoch nicht zu vermeiden ist, dass zum selbsttätigen Aufrichten und Aufstehen somit zwei unterschiedliche Mobilitätshilfen benötigt werden - zum Einen ein Bettgalgen für das Aufrichten und zum Anderen eine der vorbeschriebenen Mobilitätshilfen zum Aufstehen. Bettgalgen als Aufrichthilfen werden zwar vielfach eingesetzt, werden jedoch im höchsten Maße als unästhetisch empfunden.
  • Ausgehend von diesem diskutierten Stand der Technik liegt der Erfindung daher die Aufgabe zugrunde, eine Aufstehhilfe vorzuschlagen, mit der nicht nur der Aufrichtprozess zum Aufrichten aus der liegenden Stellung in eine sitzende Stellung unterstützt werden kann, sondern die ebenfalls als Aufstehhilfe zum Unterstützen eines Aufstehvorganges genutzt werden kann.
  • Gelöst wird diese Aufgabe erfindungsgemäß durch eine Aufstehhilfe für eine in einem Bett befindliche Person, umfassend eine Säule mit Anschlussmitteln für das Anschließen derselben an ein Rahmenteil eines Bettes und eine sich in ihrer Benutzungsstellung quer zur Längserstreckung der Säule erstreckende, an das obere Ende der Säule angeschlossene und gegenüber dieser schwenkbare Aufrichtestange, wobei in die gelenkige Verbindung zwischen der Aufrichtestange und der Säule ein die eine Schwenkrichtung der Aufrichtestange blockierender und die entgegengesetzte Schwenkrichtung gestattender Sperrmechanismus eingeschaltet oder die gelenkige Verbindung durch einen solchen Sperrmechanismus gebildet ist.
  • Diese Aufstehhilfe ist an ein Rahmenteil des Bettes angeschlossen. Typischerweise wird es sich bei dem Bett, an das eine solche Aufstehhilfe anzuschließen ist, um ein Kranken- oder Pflegebett handeln. Derartige Betten verfügen über Rahmenteile sowie Querstreben aus Metallprofilen, mithin Rahmenteile, die besonders geeignet sind, um die auf eine solche Aufstehhilfe bei ihrer Benutzung einwirkenden Kräfte aufzunehmen. Die Aufstehhilfe selbst umfasst eine mit Anschlussmitteln an ein solches Rahmenteil ausgerüstete Säule, eine Aufrichtestange und ein Verbindungs- bzw. Gelenkglied zum gelenkigen Anschließen der Aufrichtestange an die Säule, über welches Verbindungsglied eine Verschwenkbarkeit der Aufrichtestange in horizontaler Richtung ermöglicht ist. Die Aufrichtestange selbst befindet sich in einer Ebene quer zur Längserstreckung der Säule und ist daher ausgelegt, über die Liegefläche greifen zu können. Die Aufrichtestange ist gegenüber der Säule verschwenkbar und kann somit aus einer Stellung, in der diese über die Liegefläche greift in eine Stellung gebracht werden, in der diese parallel zur Längsseite des Bettes ausgerichtet ist oder auch darüber hinaus weiter aufgeschwenkt werden kann. Die gelenkige Verbindung zwischen der Aufrichtestange und der Säule ist derart konzipiert, dass eine Schwenkbewegung der Aufrichtestange in die eine Richtung bei einer Benutzung der Aufstehhilfe zum Unterstützen des Aufricht- und/oder Aufstehvorganges möglich ist, während eine Schwenkbewegung in die entgegengesetzte Richtung gesperrt bzw. blockiert ist. Blockiert ist bei einer Benutzung der Aufstehhilfe die Schwenkrichtung der Aufrichtestange, die in Richtung zu der die Aufstehhilfe benutzenden Person gerichtet ist. Aus diesem Grunde kann sich eine die Aufstehhilfe benutzende Person an der Aufrichtestange hochziehen, mithin eine Zugbelastung ausüben. Die Verschwenkbarkeit der Aufrichtestange in die andere, nicht gesperrte Schwenkrichtung erlaubt es, dass die Aufrichtestange, nachdem sich die Person in eine sitzende Stellung gebracht hat, von der Person weggeschwenkt werden kann, um sodann wiederum als Hilfe genutzt werden zu können, damit die zunächst auf der Liegefläche befindliche Sitzposition in eine solche Sitzposition geändert werden kann, aus der sich die Person erheben, mithin aus dem Bett aufstehen kann. Befindet sich die Person in einer sitzenden Stellung, in der die Füße bodenseitig neben dem Bett aufgestellt sind, kann sich die Person an der Aufrichtestange abstützen, um sich in eine Stehposition zu bringen. Ohne Weiteres ist es möglich, dass die Aufrichtestange weiter ausgeschwenkt wird und sich die aufstehende Person auch insofern an dieser hochziehen kann, da eine Schwenkbewegung in die entgegensetzte Richtung blockiert ist. Steht die aufgestandene Person, kann sie sich an der Aufrichtstange stehend festhalten.
  • In vielen Fällen wird man für den umgekehrten Vorgang des sich Auf-das-Bett-Setzens und sich erneut in die Liegend-Position bringen die Aufstehhilfe nicht benötigen. Sollte dieses dennoch gewünscht sein, wird man eine solche Aufstehhilfe, wie dieses in einem bevorzugten Ausführungsbeispiel der Fall ist, mit einem lösbaren Sperrmechanismus ausstatten, was ohnehin bevorzugt ist. Auch bei diesen Vorgängen wird die Aufrichtestange in derselben Richtung belastet wie bei der Unterstützung des Aufrichtens und Aufsetzens. Insofern wird man bei einer Benutzung dieser Aufstehhilfe zum Hinsetzen und zum Liegen schrittweise den Sperrmechanismus lösen, damit in diese Richtung die Aufrichtestange nachgeführt werden kann, bevor man typischerweise sich vom Hinsetzen in die Liegen-Position begibt.
  • Vorzugsweise ist eine solche Aufrichthilfe mit einer Umschalteinrichtung zum Umschalten der Sperrrichtung ausgestattet. Dieses kann genutzt werden, um aufgrund einer unterschiedlich gewünschten Sperrrichtung in Abhängigkeit von einer Anbringung der Aufstehhilfe am Bett und derjenigen Richtung in der eine Person die Haltekraft der Aufstehhilfe in Anspruch nimmt, einzustellen.
  • Ein solcher Sperrmechanismus kann nach Art einer Sperrklinkenmechanik ausgeführt sein, wie diese bei Knarren als Werkzeuge zum Einsatz gelangen. Zur Realisierung des vorbeschriebenen Sperrmechanismus können auch andere Mechaniken als Sperrklinkemechaniken zum Einsatz kommen.
  • Die Säule der Aufstehhilfe ist zweckmäßigerweise zwei- oder auch mehrteilig ausgeführt. Das unterste Säulenteil ist an das Gestell des Bettes angeschlossen. Dieses Säulenteil kann als Hohlprofil ausgeführt sein, sodass ein zweites Säulenteil in dieses eintauchen kann und darin längsverschiebbar und gegenüber dem ersten Säulenteil arretierbar ist. In einem solchen Fall trägt das zweite Säulenteil, sollte die Säule aus zwei Säulenteil bestehen, die Aufrichtestange. Sollte die Säule aus mehr als zwei Teilen bestehen, wird die Aufrichtestange von dem obersten Säulenteil getragen.
  • Vorzugsweise ist die Aufrichtestange gewinkelt ausgeführt, und zwar unsymmetrisch, sodass diese einen kürzeren und einen längeren Schenkel aufweist. Mit dem kürzeren Schenkel ist die Aufrichtestange an die Säule gelenkig in der vorbeschriebenen Art und Weise angeschlossen. Der längere Schenkel der Aufrichtestange bildet sodann den eigentlichen Griffabschnitt, den ein Benutzer für die Benutzung der Aufstehhilfe ergreift. Die abgewinkelte Ausführung der Aufrichtestange hat zum Vorteil, dass bei einer Anbringung der Säule unmittelbar am Rahmen des Bettes und somit unmittelbar benachbart zur Liegefläche sich der Griffabschnitt mit Abstand zum Rand der Liegefläche befindet, wenn eine die Aufrichthilfe benutzende Person sitzt und ihre Füße bodenseitig aufgestellt hat.
  • Die Aufrichtestange kann insgesamt oder auch nur in Bezug auf ihren Griffabschnitt auch als Bügel ausgeführt sein.
  • In einer Weiterbildung ist vorgesehen, dass die Aufrichtestange sich aus einer horizontalen oder wesentlich horizontalen Benutzungsstellung in eine vertikale oder vertikal ähnliche Nichtbenutzungsstellung aufschwenken lässt. In einem solchen Fall kann die Aufrichtestange auch für andere Zwecke genutzt werden, beispielsweise zum Anhängen eine Infusionsbeutels. Bei einer gewinkelt ausgeführten Aufrichtestange ist es zweckmäßig, diese Aufschwenkbewegung dadurch zu ermöglichen, dass der kürzere Schenkel der Aufrichtestange um seine Längsachse verschwenkt wird. Erreichen lässt sich dieses dadurch, dass das Verbindungsglied, über das die Aufrichtestange mit der Säule verbunden ist, einen Schwenkzapfen aufweist, auf dem der kürzere Schenkel der Aufrichtestange schwenkbar sitzt. Gehalten werden kann die Aufrichtestange an einem Schwenkzapfen durch einen in eine langlochartige Führungsnut des Schenkels eingreifenden und in dem Schwenkzapfen des Verbindungsgliedes festgesetzten Bolzen.
  • Nachfolgend ist die Erfindung anhand eines Ausführungsbeispiels unter Bezugnahme auf die beigefügten Figuren beschrieben. Es zeigen:
  • Fig. 1a, 1b:
    Eine perspektivische Ansicht einer Aufstehhilfe aus einer ersten Blickrichtung (Figur 1a) und aus einer zweiten Blickrichtung (Figur 1 b),
    Fig. 2a, 2b:
    eine Draufsicht auf die Aufstehhilfe der Figur 1, angeschlossen an den Rahmen eines Bettes (Figur 2a) sowie in einer perspektivischen Darstellung (Figur 2b), jeweils in einer ersten Stellung der Aufstehhilfe,
    Fig. 3a, 3b:
    eine Draufsicht auf die Aufstehhilfe der Figur 1, angeschlossen an den Rahmen eines Bettes (Figur 3a) sowie in einer perspektivischen Darstellung (Figur 3b), jeweils in einer weiteren Stellung der Aufstehhilfe,
    Fig. 4:
    eine Draufsicht auf die Aufstehhilfe der Figur 1, angeschlossen an den Rahmen eines Bettes in einer noch weiteren Stellung der Aufstehhilfe,
    Fig. 5:
    eine perspektivische Darstellung der an das Bett angeschlossenen Aufstehhilfe in einer Nichtbenutzungsstellung,
    Fig. 6:
    eine perspektivische Ansicht einer Aufstehhilfe, die prinzipiell aufgebaut ist wie diejenige der vorangegangenen Figuren, welche Aufstehhilfe unter Verwendung eines anderen Anschlussmittels an dem Rahmenteil eines Bettgestells angeschlossen ist,
    Fig. 7:
    eine Stirnseitenansicht des Anschlussmittels der Figur 6 und
    Fig. 8:
    eine Draufsicht auf noch ein weiteres Anschlussmittel zum Anschließen einer Aufstehhilfe an ein Bettgestell in einer Draufsicht.
  • Eine Aufstehhilfe 1 umfasst eine Säule 2 sowie eine schwenkbar an die Säule 2 angeschlossene Aufrichtestange 3. Die Aufrichtestange 3 ist unter Zwischenschaltung eines Gelenkgliedes 4 an die Säule 2 angeschlossen.
  • Die Säule 2 des dargestellten Ausführungsbeispiels ist einteilig ausgeführt. Die eine quadratische Querschnittsfläche mit gerundeten Ecken aufweisende Säule 2 ist in einem Führungsrohrabschnitt 5 geführt. Der Führungsrohrabschnitt 5 ist bei dem dargestellten Ausführungsbeispiel ein Rohrabschnitt mit derselben Geometrie wie die Querschnittsgeometrie der Säule 2, jedoch mit einem Innendurchmesser, sodass diese Säule 2 darin eintauchen kann und in Längsrichtung gegenüber dem Führungsrohrabschnitt 5 verschiebbar ist. In eine Wand des Führungsrohrabschnittes 5 ist eine Klemmschraube eingesetzt, mit der die Säule 2 innerhalb des Führungsrohrabschnittes 5 festgesetzt werden kann (nicht dargestellt). Auf diese Weise lässt sich die Höhe der Aufrichtestange 3 und damit ihre Schwenkebene einstellen. Der Führungsrohrabschnitt 5 ist an eine Platte 6 angeschlossen. Die Platte 6 ist Teil eines Anschlussmittels zum Anschließen der Aufstehhilfe 1 an das Gestell eines Bettes. Neben der Platte 6 umfassen diese Anschlussmittel eine U-förmig ausgeführte Manschette 7, die einen Träger, typischerweise den Längsträger bzw. Längsholm eines Bettes umgreift. Mit der Manschette 7 wirkt die Platte 6 zusammen, und zwar dergestalt, dass ein in die Holmaufnahme 8 eingesetztes Rahmenteil des Bettes darin verspannt werden kann, sodass die Säule 2 unverrückbar an das Rahmenteil angeschlossen ist.
  • Die Aufrichtestange 3 ist bei dem dargestellten Ausführungsbeispiel gewinkelt ausgeführt, und zwar unsymmetrisch, sodass sich ein kürzerer Schenkel und ein längerer Schenkel ergeben. Der längere Schenkel der Aufrichtestange 3 dient als Griffabschnitt 9, den eine Person ergreift, wenn sie sich unter Zuhilfenahme der Aufstehhilfe 1 in einem Bett, an das die Aufstehhilfe 1 angeschlossen ist, aufrichten und/oder aus diesem aufstehen möchte. Der kürzere Schenkel 10 ist an das Verbindungs- bzw. Gelenkglied 4 angeschlossen. Die Aufrichtestange 3 ist um die Längsachse L der Säule 2 schwenkbar, wie dieses in Figur 1 durch den Pfeil angedeutet ist.
  • Das Gelenkglied 4, mit dem die Aufrichtestange 3 in der vorbeschriebenen Art verschwenkbar an die Säule 2 angeschlossen ist, umfasst einen Sperrmechanismus. Bei diesem Sperrmechanismus handelt es sich um eine Klinkenmechanik, wie diese grundsätzlich bei der Verwendung von Werkzeugknarren zum Einsatz gelangt. Durch diesen Sperrmechanismus ist eine Schwenkbewegung der Aufrichtestange 3 in der in Figur 1 gezeigten Pfeilrichtung möglich, nicht jedoch in der entgegengesetzten Richtung. Das Gelenkglied 4 verfügt über eine Umschaltmechanik, die mittels eines Schalters 11 betätigt werden kann. Mit dieser Umschaltmechanik kann zum einen der Sperrmechanismus gelöst werden, sodass dann die Aufrichtestange 3 in beide Richtungen verschwenkbar ist. Ferner kann durch die Umschaltung der Sperrmechanismus in die entgegengesetzte Richtung wirkend eingestellt werden.
  • Neben der vorbeschriebenen Verschwenkbarkeit der Aufrichtestange 3 in einer horizontalen Ebene, welches die Benutzungsstellung der Aufrichtestange 3 darstellt, ist diese auch um die Längsachse ihres Schenkels 10 aufschwenkbar. In eine nach oben aufgeschwenkte Stellung wird man die Aufrichtestange 3 bringen, wenn diese nicht benötigt wird. Die aufgerichtete Stellung der Aufrichtestange 3 für die Zwecke eines Aufrichtens und/oder Aufstehens wird im Rahmen dieser Ausführung auch als Nichtbenutzungsstellung angesprochen. Dieses bedeutet nicht, dass in dieser Stellung die aufgerichtete Aufrichtestange nicht für andere Zwecke genutzt werden kann.
  • Verschwenkbar ist die Aufrichtestange 3 um die Längsachse ihres Schenkels 10, indem das Gelenkglied 4 einen in den Schenkel 10 teilweise eintauchenden Schwenkzapfen trägt und gegenüber dem die Aufrichtestange 3 schwenkbar ist. In den Schenkel 10 selbst ist eine langlochartige Führungsnut 12 eingebracht. In dieser ist ein Bolzen 13, der in dem Schwenkzapfen des Gelenkgliedes 4 sitzt, eingreifend gehalten. Dadurch ist der Verschwenkbetrag der Aufrichtestange 3 um die Längsachse seines Schenkels 10 begrenzbar. In der in Figur 1 gezeigten Stellung der Aufrichtestange 3 ist ein weiteres Absenken dadurch verhindert, da der Bolzen 13 an dem in Figur 1 erkennbaren Ende der Führungsnut 12 anliegt. In analoger Weise ist auch der Aufschwenkbetrag der Aufrichtestange 3 begrenzt.
  • Die Aufstehhilfe 1 kann mit ihrer Aufrichtestange auch an eine andere Bettseite angeschlossen werden. Je nach der Ausrichtung der Bettbenutzung ist dann die Aufrichtestange und/oder der Sperrmechanismus entsprechend anzupassen.
  • Die Aufstehhilfe 1 ist in den Figuren 2a, 2b an einen schematisiert dargestellten Rahmen 14 eines im Übrigen nicht näher dargestellten Bettes 15 angeschlossen. Angeschlossen ist die Aufstehhilfe 1 an einen Längsholm des Bettrahmens 14. Die Aufrichtestange 3 erstreckt sich mit ihrem Griffabschnitt 9 über die von dem Rahmen 14 eingefasste Liegefläche16. Diese in den Figuren 2a, 2b gezeigte Stellung der Aufrichtestange 3 ist diejenige Stellung, von der ausgehend eine die Aufstehhilfe 1 nutzende Person diese ergreift, um sich aus einer Liegend-Stellung in eine Sitzend-Stellung zu bringen. Aufgrund des vorbeschriebenen Sperrmechanismus, der zum Unterstützen des Aufrichtens einer Person in Richtung zum Kopfende 17 des Bettes 15 hin eine Schwenkbewegung der Aufrichtestange 3 sperrt, kann sich eine Person an dem Griffabschnitt 9 bequem aus der Liegend-Stellung in eine Sitzend-Stellung hochziehen.
  • Aus der perspektivischen Darstellung der Figur 2 ist ersichtlich, dass die Möglichkeit einer Höheneinrichtung der Aufrichtestange 3 in Abhängigkeit von der Höhe der auf dem Rahmen 14 bzw. Liegefläche 16 befindlichen Matratze sinnvoll ist.
  • Muss eine Person aus dem Bett 15 aufstehen, kann hierfür ebenfalls die Aufstehhilfe 1 unterstützend benutzt werden. Zu diesem Zweck rutscht die Person, die sich bereits unter Zuhilfenahme der Aufstehhilfe 1 aus der Liegend-Position in die Sitzendposition gebracht hat, in Richtung zu dem Bettrand hin, an den die Aufstehhilfe 1 angeschlossen ist. Dieses ist aufgrund der in dieser Richtung möglichen Verschwenkbarkeit der Aufrichtestange 3 ohne Weiteres möglich.
  • Figuren 3a, 3b zeigen eine Stellung der Aufrichtestange 3 der Aufstehhilfe 1, in der ein Benutzer auf dem Rand des Bettes sitzt und bereits seine Füße bodenseitig aufgestellt hat. In dieser Stellung macht sich, wie aus Figur 3 ersichtlich, die gewinkelte Ausbildung der Aufrichtestange 3 positiv bemerkbar, da diese Ausbildung einem Benutzter genügend Platz lässt zwischen dem Rand des Bettes 15 und der Erstreckung des Griffabschnittes 9. In dieser Stellung der Aufstehhilfe 1 kann sich eine Person ohne Weiteres auf den Griffabschnitt 9 stützen und sich an diesem aus seiner sitzenden Position in den Stand hochziehen bzw. hochdrücken.
  • Um ein Verlassen des Bettes 15 zu vereinfachen, ist bei dem dargestellten Ausführungsbeispiel vorgesehen, dass die Aufrichtestange 3 mit ihrem Griffabschnitt 9 noch weiter, als in den Figuren 3a, 3b gezeigt, ausgeschwenkt werden kann, damit genügend Raum zwischen dem Griffabschnitt 9 und dem Rand des Bettes 15 vorhanden ist, um bequem wegtreten zu können. Diese Stellung der Aufrichtestange 3 der Aufstehhilfe 1 ist in Figur 4 in einer Draufsicht gezeigt.
  • Während die Aufstehhilfe 1 in den Figuren 1 bis 4 mit ihrer Aufrichtestange 3 in ihrer Benutzungsstellung gezeigt ist, ist in Figur 5 noch eine weitere Stellung der Aufstehhilfe 1 gezeigt. In dieser ist die Aufrichtestange 3 vertikal aufgeschwenkt und befindet sich in ihrer Nichtbenutzungsstellung. In diese Stellung kann, falls erforderlich, die Aufrichtestange 3 genutzt werden, um daran bestimmte Gegenstände, beispielsweise Infusionsbeutel aufhängen zu können. Bei einer solchen Verwendung der Aufrichtestange 3 wird es als zweckmäßig angesehen, wenn diese in der in Figur 5 gezeigten aufgerichteten Nichtbenutzungsstellung fixiert ist.
  • Die Aufstehhilfe 1 kann, wenn sich die Aufrichtestange 3 in ihrer Benutzungsstellung befindet, beispielsweise in der Benutzungsstellung nach den Figuren 2a, 2b auch genutzt werden, um als Halter für beispielsweise ein Tablett, einen Aufstecktisch oder dergleichen genutzt zu werden.
  • Die in Figur 6 gezeigte Aufstehhilfe 1.1 entspricht hinsichtlich ihrer Ausgestaltung derjenigen der Aufstehhilfe 1 der vorangegangenen Figuren. Die Aufstehhilfe 1.1 unterscheidet sich hinsichtlich ihres Anschlussmittels zum Anschließen ihrer Säule 2.1 an den Holm 18 eines im Übrigen nicht näher dargestellten Bettrahmens bzw. Bettgestells. Während bei der Aufstehhilfe 1 der vorstehenden Figuren als Anschlussmittel eine Manschette zum Anschluss der Aufstehhilfe an ein Bettgestell diente, ist das Anschlussmittel der Aufstehhilfe 1.1 als Klemmeinfassung 19 ausgeführt. Die Klemmeinfassung 19 verfügt über eine U-förmige Holmaufnahme 20, deren beide Schenkel 21, 21.1 von der Säule 2.1 der Aufstehhilfe 1.1 weggerichtet sind. Somit ist die Holmauflage 20 nach unten hin geöffnet und wird von oben auf den Holm 18 aufgesetzt. Die Säule 2.1 der Aufstehhilfe 1.1 ist an dem Rücken der U-förmigen Holmaufnahme 20 angeordnet. Die Holmaufnahme 20 und die Säule 2.1 sind miteinander verschweißt. Zum Festsetzen der Klemmeinfassung 19 an den Holm 18 dient eine innerhalb der Holmaufnahme 20 angeordnete Klemmplatte 22 mit einer flächigen Erstreckung parallel zu den Schenkeln 21, 21.1. Zwei Spannschrauben 23, 23.1 durchgreifen den Schenkel 21 der Holmaufnahme 20, wobei dieser Durchgriff als Führung für die Spannschrauben 23, 23.1 dient. Auf den Spannschrauben 23, 23.1 sitzt, wie aus der Darstellung der Figur 7 erkennbar, eine Spannmutter 24, die zum Verspannen der Klemmplatte 22 an dem Holm 18 gegen die Innenseite des Schenkels 21 wirkt. Der Klemmschluss zwischen dem Holm 18 und dem Schenkel 21.1 der Holmaufnahme 20 und der Klemmplatte 22 wird durch Spannen der Spannmutter 24 bewirkt.
  • Die Holmaufnahme 20 eignet sich in besonderer Weise zum Anschließen an unterschiedlich ausgelegte Bettgestelle bzw. deren Längsholme, da die Aufstehhilfe 1.1 mit ihrer Holmaufnahme 20 als Anschlussmittel von oben auf einen Längsholm aufgesetzt wird. Ein Umfassen eines Längsholms, wie dieses beim Gegenstand der Aufstehhilfe 1 mit der einen Holm umfassenden Manschette vorgesehen ist, ist somit bei Verwendung einer Klemmeinfassung 19 nicht erforderlich. Vorteilhaft ist zudem, dass die Klemmeinfassung 19 eine gewisse Längserstreckung aufweisen kann, wodurch eine Krafteinleitung über eine größere Fläche in den darin aufgenommenen Holm eingeleitet wird. Dieses ist vorteilhaft, da über die mittels ihrer Säule 2.1 an die Holmaufnahme 20 der Klemmeinfassung 19 angebundene Aufstehhilfe 1.1 bei einer Benutzung derselben nicht unbeträchtliche Torsionskräfte wirken. Insofern kann die Klemmeinfassung 19 ohne eine Beschädigung auch gewichtsoptimierter Holme in Kauf zu nehmen, auf diese auch zum Anschließen einer Aufstehhilfe an ein Bettgestell eingesetzt werden.
  • Figur 8 zeigt schematisiert in einer Draufsicht eine weitere Möglichkeit einer Anbindung einer Aufstehhilfe mittels ihrer Säule an ein Bettgestell. Bei dem in Figur 8 gezeigten Anschlussmittel zum Anschließen der Säule an ein Rahmenteil eines Bettes handelt es sich um eine Säulenaufnahme 25, die mittels einer Beschlagplatte 26 an der nach außen weisende Seite eines Holms eines Bettgestells befestigt ist. Dieses kann mittels Schrauben oder auch durch einen Fügeprozess erfolgen. Die Säulenaufnahme 25 ist in Figur 8 in einer Draufsicht gezeigt. Bei der Säulenaufnahme 25 handelt es sich um ein Vierkantrohrstück mit einer Innenweite, in die die Säule einer Aufstehhilfe mit dem notwendigen Bewegungsspiel eingesetzt werden kann. Die Innenweite der Säulenaufnahme 25 ist an die Kantenlänge einer ebenfalls eine quadratische Querschnittsfläche aufweisenden Säule einer Aufstehhilfe angepasst. Von Besonderheit bei der Säulenaufnahme 25 ist, dass zum Fixieren der Säule innerhalb der Säulenaufnahme 25 eine Spannschraube 27 dient. Die Spannschraube 27 greift mit ihrem Gewindeschaft in eine mit einem komplementären Innengewinde ausgebildete Gewindehülse 28 ein. Die Gewindehülse 28 ist an einer Kante der Säulenaufnahme 25 angeordnet, wobei die Achse der Innengewindebohrung der Gewindehülse 28 in der Flucht der Winkelhalbierenden der an der Kante aneinandergrenzenden Wände der Säulenaufnahme verläuft. Dadurch wirkt der Fuß 29 der Spannschraube 27, der bei dem dargestellten Ausführungsbeispiel mit einer rechtwinkligen Auskerbung 30 ausgestattet ist, auf eine Kante einer in die Säulenaufnahme 25 eingesetzten Säule. Die in die Säulenaufnahme 25 eingesetzte Säule wird auf diese Weise durch die Spannschraube 27 gegen die Innenseite der Wände 31, 32 gepresst. Damit ist eine in die Säulenaufnahme 25 eingesetzte Säule einer Aufstehhilfe in den beiden Richtungen der Öffnung der Säulenaufnahme 25 fixiert.
  • Bei Verwendung eines solchen Anschlussmittels ist die Höhe der Aufstehhilfe ebenso einrichtbar wie bei der Aufstehhilfe 1.
  • Auftretende Querkräfte bei einer Benutzung der Aufstehhilfe werden über die Länge der Beschlagplatte 26 großflächig in den angrenzenden Holm 33 eingeleitet.
  • Die Erfindung ist anhand einer Aufstehhilfe beschrieben worden, die aus Blickrichtung einer die Aufstehhilfe nutzenden Person an die rechte Bettseite angeschlossen wird. Es versteht sich, dass eine solche Aufstehhilfe selbstverständlich an beliebige, insbesondere auch die andere Bettseite angeschlossen werden kann. In einem solchen Fall ist bei gleicher Liegerichtung der die Aufrichtehilfe nutzende Person diese spiegelsymmetrisch konzipiert bzw. zusammengesetzt.
  • Die Erfindung ist anhand von Ausführungsbeispielen beschrieben worden. Ohne den Umfang der geltenden Ansprüche zu verlassen, ergeben sich für einen Fachmann zahlreiche weitere Ausgestaltungsmöglichkeiten, die beanspruchte Erfindung umzusetzen. Bezugszeichenliste
    1 Aufstehhilfe 30 Auskerbung
    2 Säule 31 Innenwand
    3 Aufrichtestange 32 Innenwand
    4 Gelenkglied 33 Holm
    5 Unteres Säulenteil L Längsachse
    6 Platte
    7 Manschette
    8 Holmaufnahme
    9 Griffabschnitt
    10 Schenkel
    11 Schalter
    12 Führungsnut
    13 Bolzen
    14 Rahmen
    15 Bett
    16 Liegefläche
    17 Kopfende
    18 Holm
    19 Klemmeinfassung
    20 Holmaufnahme
    21, 21.1 Schenkel
    22 Klemmplatte
    23, 23.1 Spannschraube
    24 Spannmutter
    25 Säulenaufnahme
    26 Beschlagplatte
    27 Spannschraube
    28 Gewindehülse
    29 Fuß

Claims (15)

  1. Aufstehhilfe für eine in einem Bett befindliche Person, umfassend eine Säule (2, 2.1) mit Anschlussmitteln für das Anschließen derselben an ein Rahmenteil (14, 18, 33) eines Bettes (15) und eine sich in ihrer Benutzungsstellung quer zur Längserstreckung der Säule (2, 2.1) erstreckende, an das obere Ende der Säule (2, 2.1) angeschlossene und gegenüber dieser schwenkbare Aufrichtestange (3), wobei in die gelenkige Verbindung zwischen der Aufrichtestange (3) und der Säule (2, 2.1) ein die eine Schwenkrichtung der Aufrichtestange (3) blockierender und die entgegengesetzte Schwenkrichtung gestattender Sperrmechanismus eingeschaltet oder die gelenkige Verbindung durch einen solchen Sperrmechanismus gebildet ist.
  2. Aufstehhilfe nach Anspruch 1, dadurch gekennzeichnet, dass der Sperrmechanismus zum Wechseln der Sperrrichtung umschaltbar ist.
  3. Aufstehhilfe nach Anspruch 1 oder 2, dadurch gekennzeichnet, dass der Sperrmechanismus nach Art einer Sperrklinkenmechanik ausgeführt ist.
  4. Aufstehhilfe nach einem der Ansprüche 1 bis 3, dadurch gekennzeichnet, dass die Aufrichtestange (3) asymmetrisch gewinkelt ist.
  5. Aufstehhilfe nach Anspruch 4, dadurch gekennzeichnet, dass der von der Anbindung der Aufrichtestange (3) an die Säule (2, 2.1) entferntere und längere Schenkel (10) der gewinkelt ausgeführten Aufrichtestange (3) einen Griffabschnitt (9) für einen Benutzer bildet, der sich, wenn der andere, kürzere Schenkel (10) parallel zum Bettrand ausgerichtet ist, sich über die Liegefläche (16) erstreckt.
  6. Aufstehhilfe nach Anspruch 5, dadurch gekennzeichnet, dass der Griffabschnitt als Bügel ausgeführt ist.
  7. Aufstehhilfe nach einem der Ansprüche 4 bis 6, dadurch gekennzeichnet, dass die Aufrichtestange (3) aus einer horizontalen oder im Wesentlichen horizontalen Benutzungsstellung, in welcher horizontalen Ebene die Aufrichtestange (3) verschwenkbar ist und der Sperrmechanismus wirkt, in eine aufgerichtete Nichtbenutzungsstellung schwenkbar ist.
  8. Aufstehhilfe nach Anspruch 7, dadurch gekennzeichnet, dass zum Verstellen der Aufrichtestange (3) aus ihrer Benutzungsstellung in ihre Nichtbenutzungsstellung und umgekehrt der Griffabschnitt (9) um die Längsachse (L) des kürzeren Schenkels (10) der Aufrichtestange (3) verschwenkbar ist.
  9. Aufstehhilfe nach Anspruch 8, dadurch gekennzeichnet, dass die gelenkige Verbindung zwischen der Aufrichtestange (3) und der Säule (2, 2.1) durch ein Verbindungsglied (4) realisiert ist, das einen Schwenkzapfen trägt, der in den kürzeren Schenkel (10) der Aufrichtestange (3) eingreift und die Aufrichtestange (3) um die Längsachse ihres kürzeren Schenkels (10) gegenüber dem Schwenkzapfen verschwenkbar ist, wobei ein in dem Schwenkzapfen gehaltener Bolzen (13) in eine in den Schenkel (10) eingebrachte Führungsnut zum Begrenzen des Schwenkbereiches vorgesehen ist.
  10. Aufstehhilfe nach einem der Ansprüche 1 bis 9, dadurch gekennzeichnet, dass die Anschlussmittel zum Anschließen der Säule (2) an ein Rahmenteil (14) des Bettes (15) eine das Rahmenteil (14) umgreifende und mit dem Rahmenteil (14) verspannbare Manschette (7) umfassen.
  11. Aufstehhilfe nach einem der Ansprüche 1 bis 9, dadurch gekennzeichnet, dass das Anschlussmittel zum Anschließen der Säule (2.1) an ein Rahmenteil (18) eines Bettes eine Klemmeinfassung (19) mit einer von der Säule (2.1) wegweisend offenen Holmaufnahme (20) umfasst, in welche Holmaufnahme (20) eine spannbare Klemmplatte (22) verstellbar angeordnet ist.
  12. Aufstehhilfe nach Anspruch 11, dadurch gekennzeichnet, dass die Holmaufnahme (20) U-förmig ausgeführt ist, wobei die Säule (2.1) der Aufstehhilfe (1.1) an dem Rücken der Holmaufnahme (20) angeschlossen ist.
  13. Aufstehhilfe nach einem der Ansprüche 1 bis 9, dadurch gekennzeichnet, dass die Anschlussmittel zum Anschließen der Säule an ein Rahmenteil des Bettes eine an die Außenseite des Rahmenteiles anbringbare Säulenaufnahme (25) mit einer mehreckigen Öffnung zur Aufnahme einer ebenfalls eckig ausgeführten Säule eine Aufstehhilfe umfasst, welche Säulenaufnahme (25) über eine Spanneinrichtung zum Ausüben einer gegen zumindest zwei Innenwände (31, 32) wirkenden Klemmkraft auf eine darin eingesetzte Säule einer Aufstehhilfe.
  14. Bett ausgerüstet mit einer Aufstehhilfe, dadurch gekennzeichnet, dass die Aufstehhilfe (1, 1.1) mit den Merkmalen eines oder mehrerer der Ansprüche 1 bis 13 ausgeführt ist.
  15. Bett nach Anspruch 1, dadurch gekennzeichnet, dass es sich bei dem Bett um ein Kranken- oder Pflegebett handelt.
EP16166125.1A 2015-04-24 2016-04-20 Aufstehhilfe sowie damit ausgerüstetes bett Active EP3085348B1 (de)

Priority Applications (1)

Application Number Priority Date Filing Date Title
PL16166125T PL3085348T3 (pl) 2015-04-24 2016-04-20 Wysięgnik łóżkowy

Applications Claiming Priority (1)

Application Number Priority Date Filing Date Title
DE202015102058.9U DE202015102058U1 (de) 2015-04-24 2015-04-24 Aufstehhilfe sowie damit ausgerüstetes Bett

Publications (2)

Publication Number Publication Date
EP3085348A1 true EP3085348A1 (de) 2016-10-26
EP3085348B1 EP3085348B1 (de) 2021-07-14

Family

ID=53443567

Family Applications (1)

Application Number Title Priority Date Filing Date
EP16166125.1A Active EP3085348B1 (de) 2015-04-24 2016-04-20 Aufstehhilfe sowie damit ausgerüstetes bett

Country Status (5)

Country Link
US (1) US10272005B2 (de)
EP (1) EP3085348B1 (de)
DE (1) DE202015102058U1 (de)
ES (1) ES2893756T3 (de)
PL (1) PL3085348T3 (de)

Cited By (1)

* Cited by examiner, † Cited by third party
Publication number Priority date Publication date Assignee Title
GB2572652A (en) * 2018-04-07 2019-10-09 Rowland Wood Oliver Improvements in bedside assist handrails and their attachment

Families Citing this family (11)

* Cited by examiner, † Cited by third party
Publication number Priority date Publication date Assignee Title
US11129906B1 (en) 2016-12-07 2021-09-28 David Gordon Bermudes Chimeric protein toxins for expression by therapeutic bacteria
US10285887B2 (en) * 2017-05-07 2019-05-14 FootAnchor LLC Apparatus for rising to a sitting position utilizing a leg anchor
US11116680B2 (en) 2017-09-19 2021-09-14 Stryker Corporation Patient support apparatus for controlling patient ingress and egress
US11052005B2 (en) 2017-09-19 2021-07-06 Stryker Corporation Patient support apparatus with handles for patient ambulation
US11160705B2 (en) 2017-10-20 2021-11-02 Stryker Corporation Adjustable patient support apparatus for assisted egress and ingress
CN109009203A (zh) * 2018-08-29 2018-12-18 江苏兴鑫医用设备有限公司 摄影平床
KR102374728B1 (ko) * 2019-03-06 2022-03-16 전북대학교산학협력단 탈부착형 낙상방지 침대 보조손잡이
CN110507348B (zh) * 2019-08-30 2022-11-29 东软医疗系统股份有限公司 床板锁定装置及扫描床
US11229735B1 (en) 2020-03-03 2022-01-25 Miguel Alves IV pole clamp
CN113907990B (zh) * 2021-10-12 2024-03-19 广东省中医院(广州中医药大学第二附属医院、广州中医药大学第二临床医学院、广东省中医药科学院) 一种正骨用卧位复位辅助装置
US11877968B1 (en) * 2022-04-26 2024-01-23 Marilyn Roberts Extendable safety handle for benches

Citations (8)

* Cited by examiner, † Cited by third party
Publication number Priority date Publication date Assignee Title
US4932090A (en) * 1989-04-12 1990-06-12 Johansson Paul J Movable support bar
DE29709508U1 (de) 1997-05-31 1997-08-28 Vauth-Sagel GmbH & Co, 33034 Brakel Mobilitätshilfe für/an einem Pflegebett
DE19716249A1 (de) 1996-04-23 1997-11-06 Maurer Maschb Gmbh Hilfseinrichtung für behinderte, bettlägerige Patienten
US6039293A (en) * 1996-04-23 2000-03-21 Dipl.-Ing. Klaus Haken Auxiliary device for bed-ridden and disabled patients
DE20307477U1 (de) 2003-05-14 2003-07-10 Wölfel, Rainer, 95183 Trogen Mobilitätshilfe an einem Pflegebett
US20040181877A1 (en) * 1998-09-09 2004-09-23 Troy Miller Assist device for getting into and out of sitting or prone positions on beds and similar furniture
GB2420270A (en) * 2004-10-22 2006-05-24 Simon Griffin A device to aid the user to sit up whilst in bed
US20070044242A1 (en) * 2005-09-01 2007-03-01 Banks Patricia M Providing mobility support

Family Cites Families (7)

* Cited by examiner, † Cited by third party
Publication number Priority date Publication date Assignee Title
US2981959A (en) * 1957-06-27 1961-05-02 Inez U Burnham Supporting device for invalids
US4193147A (en) * 1978-07-10 1980-03-18 Fischer Edwin L Cantilevered lifting and transporting device
US6311942B1 (en) * 1999-03-04 2001-11-06 Lenjoy Engineering, Inc. Bedside cane holder
CA2461339A1 (en) * 2001-10-17 2003-04-24 Gordon Zachary Pendell Apparatus to aid in entering and exiting a bed
US20060130238A1 (en) * 2004-07-16 2006-06-22 Robyn Smith Bed side rail method and apparatus
US7805789B1 (en) * 2009-02-27 2010-10-05 Mark Ronald Dean Assist handle for a bed
US9120208B2 (en) * 2009-10-05 2015-09-01 WAGIC, Inc Handled ratcheting tool with a flip out handle

Patent Citations (8)

* Cited by examiner, † Cited by third party
Publication number Priority date Publication date Assignee Title
US4932090A (en) * 1989-04-12 1990-06-12 Johansson Paul J Movable support bar
DE19716249A1 (de) 1996-04-23 1997-11-06 Maurer Maschb Gmbh Hilfseinrichtung für behinderte, bettlägerige Patienten
US6039293A (en) * 1996-04-23 2000-03-21 Dipl.-Ing. Klaus Haken Auxiliary device for bed-ridden and disabled patients
DE29709508U1 (de) 1997-05-31 1997-08-28 Vauth-Sagel GmbH & Co, 33034 Brakel Mobilitätshilfe für/an einem Pflegebett
US20040181877A1 (en) * 1998-09-09 2004-09-23 Troy Miller Assist device for getting into and out of sitting or prone positions on beds and similar furniture
DE20307477U1 (de) 2003-05-14 2003-07-10 Wölfel, Rainer, 95183 Trogen Mobilitätshilfe an einem Pflegebett
GB2420270A (en) * 2004-10-22 2006-05-24 Simon Griffin A device to aid the user to sit up whilst in bed
US20070044242A1 (en) * 2005-09-01 2007-03-01 Banks Patricia M Providing mobility support

Cited By (2)

* Cited by examiner, † Cited by third party
Publication number Priority date Publication date Assignee Title
GB2572652A (en) * 2018-04-07 2019-10-09 Rowland Wood Oliver Improvements in bedside assist handrails and their attachment
GB2572652B (en) * 2018-04-07 2022-08-24 Rowland Wood Oliver Improvements in bedside assist handrails and their attachment

Also Published As

Publication number Publication date
DE202015102058U1 (de) 2015-05-28
ES2893756T3 (es) 2022-02-10
PL3085348T3 (pl) 2021-12-27
US20160310340A1 (en) 2016-10-27
US10272005B2 (en) 2019-04-30
EP3085348B1 (de) 2021-07-14

Similar Documents

Publication Publication Date Title
EP3085348B1 (de) Aufstehhilfe sowie damit ausgerüstetes bett
EP0369256B1 (de) Gelenkleiter
DE202019005729U1 (de) Klappstuhl, Klappliege und Klappstuhlgestell dafür
DE102005038030B4 (de) Aufrichtrollstuhl
EP0159562A2 (de) Aufrichtstuhl
CH694982A5 (de) Aufrichtrollstuhl.
EP2921151A1 (de) Mobilitätshilfe
EP3233013B1 (de) Faltrollstuhl
DE102014115552B4 (de) Seitengitter für ein Kranken- und/oder Pflegebett
DE102018126293B4 (de) Lattenrost
EP0853936B1 (de) Badelift für Senioren und Behinderte
DE69301722T2 (de) Unterbau für fahrbare Gerüste
DE19828877A1 (de) Stütz- und Ablagevorrichtung
DE1291479B (de) Klappsessel, insbesondere fuer Strand und Garten
CH407452A (de) Krankentisch
DE10342328B4 (de) Höhenverstellbarer Tapeziertisch
DE202005019582U1 (de) Kopfstütze für ein Sitzelement
DE202006006004U1 (de) Bettrahmen
DE3009073A1 (de) Verstellbares liegemoebel
DE10014258B4 (de) Für Kranke bestimmtes Sanitätsbett
DE102017122435B3 (de) Hebevorrichtung
DE4110572A1 (de) Stuetzbock fuer das bauwesen
DE2247228C3 (de) Bett, insbesondere Krankenbett
DE1078305B (de) Zusammenlegbares Ruhebett oder Liege
DE202016105549U1 (de) Aufstehhilfe

Legal Events

Date Code Title Description
PUAI Public reference made under article 153(3) epc to a published international application that has entered the european phase

Free format text: ORIGINAL CODE: 0009012

AK Designated contracting states

Kind code of ref document: A1

Designated state(s): AL AT BE BG CH CY CZ DE DK EE ES FI FR GB GR HR HU IE IS IT LI LT LU LV MC MK MT NL NO PL PT RO RS SE SI SK SM TR

AX Request for extension of the european patent

Extension state: BA ME

STAA Information on the status of an ep patent application or granted ep patent

Free format text: STATUS: REQUEST FOR EXAMINATION WAS MADE

17P Request for examination filed

Effective date: 20170425

RBV Designated contracting states (corrected)

Designated state(s): AL AT BE BG CH CY CZ DE DK EE ES FI FR GB GR HR HU IE IS IT LI LT LU LV MC MK MT NL NO PL PT RO RS SE SI SK SM TR

STAA Information on the status of an ep patent application or granted ep patent

Free format text: STATUS: EXAMINATION IS IN PROGRESS

17Q First examination report despatched

Effective date: 20191213

GRAP Despatch of communication of intention to grant a patent

Free format text: ORIGINAL CODE: EPIDOSNIGR1

STAA Information on the status of an ep patent application or granted ep patent

Free format text: STATUS: GRANT OF PATENT IS INTENDED

INTG Intention to grant announced

Effective date: 20210114

GRAS Grant fee paid

Free format text: ORIGINAL CODE: EPIDOSNIGR3

RAP1 Party data changed (applicant data changed or rights of an application transferred)

Owner name: REHASTAGE GMBH

RIN1 Information on inventor provided before grant (corrected)

Inventor name: HEIDINGSFELDER-BONGARD, BRIGITTA

GRAA (expected) grant

Free format text: ORIGINAL CODE: 0009210

STAA Information on the status of an ep patent application or granted ep patent

Free format text: STATUS: THE PATENT HAS BEEN GRANTED

AK Designated contracting states

Kind code of ref document: B1

Designated state(s): AL AT BE BG CH CY CZ DE DK EE ES FI FR GB GR HR HU IE IS IT LI LT LU LV MC MK MT NL NO PL PT RO RS SE SI SK SM TR

REG Reference to a national code

Ref country code: GB

Ref legal event code: FG4D

Free format text: NOT ENGLISH

REG Reference to a national code

Ref country code: DE

Ref legal event code: R096

Ref document number: 502016013398

Country of ref document: DE

REG Reference to a national code

Ref country code: IE

Ref legal event code: FG4D

Free format text: LANGUAGE OF EP DOCUMENT: GERMAN

REG Reference to a national code

Ref country code: AT

Ref legal event code: REF

Ref document number: 1410083

Country of ref document: AT

Kind code of ref document: T

Effective date: 20210815

REG Reference to a national code

Ref country code: NL

Ref legal event code: FP

REG Reference to a national code

Ref country code: SE

Ref legal event code: TRGR

REG Reference to a national code

Ref country code: LT

Ref legal event code: MG9D

REG Reference to a national code

Ref country code: DE

Ref legal event code: R082

Ref document number: 502016013398

Country of ref document: DE

Representative=s name: HAVERKAMP PATENTANWAELTE PARTG MBB, DE

REG Reference to a national code

Ref country code: NO

Ref legal event code: T2

Effective date: 20210714

PG25 Lapsed in a contracting state [announced via postgrant information from national office to epo]

Ref country code: PT

Free format text: LAPSE BECAUSE OF FAILURE TO SUBMIT A TRANSLATION OF THE DESCRIPTION OR TO PAY THE FEE WITHIN THE PRESCRIBED TIME-LIMIT

Effective date: 20211115

Ref country code: FI

Free format text: LAPSE BECAUSE OF FAILURE TO SUBMIT A TRANSLATION OF THE DESCRIPTION OR TO PAY THE FEE WITHIN THE PRESCRIBED TIME-LIMIT

Effective date: 20210714

Ref country code: BG

Free format text: LAPSE BECAUSE OF FAILURE TO SUBMIT A TRANSLATION OF THE DESCRIPTION OR TO PAY THE FEE WITHIN THE PRESCRIBED TIME-LIMIT

Effective date: 20211014

Ref country code: LT

Free format text: LAPSE BECAUSE OF FAILURE TO SUBMIT A TRANSLATION OF THE DESCRIPTION OR TO PAY THE FEE WITHIN THE PRESCRIBED TIME-LIMIT

Effective date: 20210714

Ref country code: RS

Free format text: LAPSE BECAUSE OF FAILURE TO SUBMIT A TRANSLATION OF THE DESCRIPTION OR TO PAY THE FEE WITHIN THE PRESCRIBED TIME-LIMIT

Effective date: 20210714

Ref country code: HR

Free format text: LAPSE BECAUSE OF FAILURE TO SUBMIT A TRANSLATION OF THE DESCRIPTION OR TO PAY THE FEE WITHIN THE PRESCRIBED TIME-LIMIT

Effective date: 20210714

REG Reference to a national code

Ref country code: ES

Ref legal event code: FG2A

Ref document number: 2893756

Country of ref document: ES

Kind code of ref document: T3

Effective date: 20220210

PG25 Lapsed in a contracting state [announced via postgrant information from national office to epo]

Ref country code: LV

Free format text: LAPSE BECAUSE OF FAILURE TO SUBMIT A TRANSLATION OF THE DESCRIPTION OR TO PAY THE FEE WITHIN THE PRESCRIBED TIME-LIMIT

Effective date: 20210714

Ref country code: GR

Free format text: LAPSE BECAUSE OF FAILURE TO SUBMIT A TRANSLATION OF THE DESCRIPTION OR TO PAY THE FEE WITHIN THE PRESCRIBED TIME-LIMIT

Effective date: 20211015

REG Reference to a national code

Ref country code: DE

Ref legal event code: R097

Ref document number: 502016013398

Country of ref document: DE

PG25 Lapsed in a contracting state [announced via postgrant information from national office to epo]

Ref country code: DK

Free format text: LAPSE BECAUSE OF FAILURE TO SUBMIT A TRANSLATION OF THE DESCRIPTION OR TO PAY THE FEE WITHIN THE PRESCRIBED TIME-LIMIT

Effective date: 20210714

PLBE No opposition filed within time limit

Free format text: ORIGINAL CODE: 0009261

STAA Information on the status of an ep patent application or granted ep patent

Free format text: STATUS: NO OPPOSITION FILED WITHIN TIME LIMIT

PG25 Lapsed in a contracting state [announced via postgrant information from national office to epo]

Ref country code: SM

Free format text: LAPSE BECAUSE OF FAILURE TO SUBMIT A TRANSLATION OF THE DESCRIPTION OR TO PAY THE FEE WITHIN THE PRESCRIBED TIME-LIMIT

Effective date: 20210714

Ref country code: SK

Free format text: LAPSE BECAUSE OF FAILURE TO SUBMIT A TRANSLATION OF THE DESCRIPTION OR TO PAY THE FEE WITHIN THE PRESCRIBED TIME-LIMIT

Effective date: 20210714

Ref country code: RO

Free format text: LAPSE BECAUSE OF FAILURE TO SUBMIT A TRANSLATION OF THE DESCRIPTION OR TO PAY THE FEE WITHIN THE PRESCRIBED TIME-LIMIT

Effective date: 20210714

Ref country code: EE

Free format text: LAPSE BECAUSE OF FAILURE TO SUBMIT A TRANSLATION OF THE DESCRIPTION OR TO PAY THE FEE WITHIN THE PRESCRIBED TIME-LIMIT

Effective date: 20210714

Ref country code: CZ

Free format text: LAPSE BECAUSE OF FAILURE TO SUBMIT A TRANSLATION OF THE DESCRIPTION OR TO PAY THE FEE WITHIN THE PRESCRIBED TIME-LIMIT

Effective date: 20210714

Ref country code: AL

Free format text: LAPSE BECAUSE OF FAILURE TO SUBMIT A TRANSLATION OF THE DESCRIPTION OR TO PAY THE FEE WITHIN THE PRESCRIBED TIME-LIMIT

Effective date: 20210714

26N No opposition filed

Effective date: 20220419

REG Reference to a national code

Ref country code: CH

Ref legal event code: PL

REG Reference to a national code

Ref country code: BE

Ref legal event code: MM

Effective date: 20220430

PG25 Lapsed in a contracting state [announced via postgrant information from national office to epo]

Ref country code: MC

Free format text: LAPSE BECAUSE OF FAILURE TO SUBMIT A TRANSLATION OF THE DESCRIPTION OR TO PAY THE FEE WITHIN THE PRESCRIBED TIME-LIMIT

Effective date: 20210714

Ref country code: LU

Free format text: LAPSE BECAUSE OF NON-PAYMENT OF DUE FEES

Effective date: 20220420

Ref country code: LI

Free format text: LAPSE BECAUSE OF NON-PAYMENT OF DUE FEES

Effective date: 20220430

Ref country code: CH

Free format text: LAPSE BECAUSE OF NON-PAYMENT OF DUE FEES

Effective date: 20220430

PG25 Lapsed in a contracting state [announced via postgrant information from national office to epo]

Ref country code: BE

Free format text: LAPSE BECAUSE OF NON-PAYMENT OF DUE FEES

Effective date: 20220430

PG25 Lapsed in a contracting state [announced via postgrant information from national office to epo]

Ref country code: IE

Free format text: LAPSE BECAUSE OF NON-PAYMENT OF DUE FEES

Effective date: 20220420

REG Reference to a national code

Ref country code: AT

Ref legal event code: MM01

Ref document number: 1410083

Country of ref document: AT

Kind code of ref document: T

Effective date: 20220420

P01 Opt-out of the competence of the unified patent court (upc) registered

Effective date: 20230529

PG25 Lapsed in a contracting state [announced via postgrant information from national office to epo]

Ref country code: AT

Free format text: LAPSE BECAUSE OF NON-PAYMENT OF DUE FEES

Effective date: 20220420

PG25 Lapsed in a contracting state [announced via postgrant information from national office to epo]

Ref country code: HU

Free format text: LAPSE BECAUSE OF FAILURE TO SUBMIT A TRANSLATION OF THE DESCRIPTION OR TO PAY THE FEE WITHIN THE PRESCRIBED TIME-LIMIT; INVALID AB INITIO

Effective date: 20160420

PG25 Lapsed in a contracting state [announced via postgrant information from national office to epo]

Ref country code: MK

Free format text: LAPSE BECAUSE OF FAILURE TO SUBMIT A TRANSLATION OF THE DESCRIPTION OR TO PAY THE FEE WITHIN THE PRESCRIBED TIME-LIMIT

Effective date: 20210714

Ref country code: CY

Free format text: LAPSE BECAUSE OF FAILURE TO SUBMIT A TRANSLATION OF THE DESCRIPTION OR TO PAY THE FEE WITHIN THE PRESCRIBED TIME-LIMIT

Effective date: 20210714

PGFP Annual fee paid to national office [announced via postgrant information from national office to epo]

Ref country code: NL

Payment date: 20240422

Year of fee payment: 9

PG25 Lapsed in a contracting state [announced via postgrant information from national office to epo]

Ref country code: TR

Free format text: LAPSE BECAUSE OF FAILURE TO SUBMIT A TRANSLATION OF THE DESCRIPTION OR TO PAY THE FEE WITHIN THE PRESCRIBED TIME-LIMIT

Effective date: 20210714

PGFP Annual fee paid to national office [announced via postgrant information from national office to epo]

Ref country code: NO

Payment date: 20240419

Year of fee payment: 9

PGFP Annual fee paid to national office [announced via postgrant information from national office to epo]

Ref country code: PL

Payment date: 20240405

Year of fee payment: 9

PGFP Annual fee paid to national office [announced via postgrant information from national office to epo]

Ref country code: SE

Payment date: 20240423

Year of fee payment: 9

PG25 Lapsed in a contracting state [announced via postgrant information from national office to epo]

Ref country code: MT

Free format text: LAPSE BECAUSE OF FAILURE TO SUBMIT A TRANSLATION OF THE DESCRIPTION OR TO PAY THE FEE WITHIN THE PRESCRIBED TIME-LIMIT

Effective date: 20210714

PGFP Annual fee paid to national office [announced via postgrant information from national office to epo]

Ref country code: DE

Payment date: 20250422

Year of fee payment: 10

PGFP Annual fee paid to national office [announced via postgrant information from national office to epo]

Ref country code: GB

Payment date: 20250417

Year of fee payment: 10

Ref country code: ES

Payment date: 20250519

Year of fee payment: 10

PGFP Annual fee paid to national office [announced via postgrant information from national office to epo]

Ref country code: IT

Payment date: 20250422

Year of fee payment: 10

PGFP Annual fee paid to national office [announced via postgrant information from national office to epo]

Ref country code: FR

Payment date: 20250425

Year of fee payment: 10

REG Reference to a national code

Ref country code: SE

Ref legal event code: EUG

REG Reference to a national code

Ref country code: NL

Ref legal event code: MM

Effective date: 20250501

PG25 Lapsed in a contracting state [announced via postgrant information from national office to epo]

Ref country code: NO

Free format text: LAPSE BECAUSE OF NON-PAYMENT OF DUE FEES

Effective date: 20250430

PG25 Lapsed in a contracting state [announced via postgrant information from national office to epo]

Ref country code: NL

Free format text: LAPSE BECAUSE OF NON-PAYMENT OF DUE FEES

Effective date: 20250501

PG25 Lapsed in a contracting state [announced via postgrant information from national office to epo]

Ref country code: SE

Free format text: LAPSE BECAUSE OF NON-PAYMENT OF DUE FEES

Effective date: 20250421