EP2853395B1 - Tintenstrahlkopf und Verfahren zur Herstellung des Tintenstrahlkopfs - Google Patents
Tintenstrahlkopf und Verfahren zur Herstellung des Tintenstrahlkopfs Download PDFInfo
- Publication number
- EP2853395B1 EP2853395B1 EP14183512.4A EP14183512A EP2853395B1 EP 2853395 B1 EP2853395 B1 EP 2853395B1 EP 14183512 A EP14183512 A EP 14183512A EP 2853395 B1 EP2853395 B1 EP 2853395B1
- Authority
- EP
- European Patent Office
- Prior art keywords
- fpc
- lead
- channel
- head chip
- inkjet head
- Prior art date
- Legal status (The legal status is an assumption and is not a legal conclusion. Google has not performed a legal analysis and makes no representation as to the accuracy of the status listed.)
- Not-in-force
Links
- 238000004519 manufacturing process Methods 0.000 title claims description 21
- RYGMFSIKBFXOCR-UHFFFAOYSA-N Copper Chemical compound [Cu] RYGMFSIKBFXOCR-UHFFFAOYSA-N 0.000 claims description 13
- 239000011889 copper foil Substances 0.000 claims description 12
- 238000005452 bending Methods 0.000 claims description 11
- 239000000853 adhesive Substances 0.000 claims description 10
- 230000001070 adhesive effect Effects 0.000 claims description 10
- 238000002788 crimping Methods 0.000 claims description 6
- 238000003825 pressing Methods 0.000 claims description 3
- 239000000976 ink Substances 0.000 description 25
- 238000010586 diagram Methods 0.000 description 21
- 239000000758 substrate Substances 0.000 description 17
- 229920005989 resin Polymers 0.000 description 13
- 239000011347 resin Substances 0.000 description 13
- 238000005187 foaming Methods 0.000 description 10
- 238000003780 insertion Methods 0.000 description 10
- 230000037431 insertion Effects 0.000 description 10
- 239000000463 material Substances 0.000 description 9
- 101000910089 Candida albicans (strain SC5314 / ATCC MYA-2876) Candidapepsin-5 Proteins 0.000 description 8
- 230000015572 biosynthetic process Effects 0.000 description 8
- 238000005516 engineering process Methods 0.000 description 6
- PCHJSUWPFVWCPO-UHFFFAOYSA-N gold Chemical compound [Au] PCHJSUWPFVWCPO-UHFFFAOYSA-N 0.000 description 6
- 239000010931 gold Substances 0.000 description 6
- 229910052737 gold Inorganic materials 0.000 description 6
- 238000007747 plating Methods 0.000 description 6
- 238000005520 cutting process Methods 0.000 description 5
- 239000004642 Polyimide Substances 0.000 description 4
- 230000000694 effects Effects 0.000 description 4
- 238000000034 method Methods 0.000 description 4
- 229920001721 polyimide Polymers 0.000 description 4
- 238000007740 vapor deposition Methods 0.000 description 4
- 239000002184 metal Substances 0.000 description 3
- 229910052751 metal Inorganic materials 0.000 description 3
- 239000004593 Epoxy Substances 0.000 description 2
- 241000276425 Xiphophorus maculatus Species 0.000 description 2
- 239000003086 colorant Substances 0.000 description 2
- 230000032798 delamination Effects 0.000 description 2
- 238000000151 deposition Methods 0.000 description 2
- 238000010030 laminating Methods 0.000 description 2
- 239000002245 particle Substances 0.000 description 2
- 230000009467 reduction Effects 0.000 description 2
- 238000004544 sputter deposition Methods 0.000 description 2
- 230000008859 change Effects 0.000 description 1
- 238000005260 corrosion Methods 0.000 description 1
- 230000007797 corrosion Effects 0.000 description 1
- 230000001419 dependent effect Effects 0.000 description 1
- 230000008021 deposition Effects 0.000 description 1
- 238000011161 development Methods 0.000 description 1
- 230000018109 developmental process Effects 0.000 description 1
- 238000007772 electroless plating Methods 0.000 description 1
- 229920006332 epoxy adhesive Polymers 0.000 description 1
- 239000002923 metal particle Substances 0.000 description 1
- 238000005192 partition Methods 0.000 description 1
- 238000000059 patterning Methods 0.000 description 1
- 230000008569 process Effects 0.000 description 1
- 230000001737 promoting effect Effects 0.000 description 1
- 230000005855 radiation Effects 0.000 description 1
- 238000010008 shearing Methods 0.000 description 1
- 238000000638 solvent extraction Methods 0.000 description 1
Images
Classifications
-
- B—PERFORMING OPERATIONS; TRANSPORTING
- B41—PRINTING; LINING MACHINES; TYPEWRITERS; STAMPS
- B41J—TYPEWRITERS; SELECTIVE PRINTING MECHANISMS, i.e. MECHANISMS PRINTING OTHERWISE THAN FROM A FORME; CORRECTION OF TYPOGRAPHICAL ERRORS
- B41J2/00—Typewriters or selective printing mechanisms characterised by the printing or marking process for which they are designed
- B41J2/005—Typewriters or selective printing mechanisms characterised by the printing or marking process for which they are designed characterised by bringing liquid or particles selectively into contact with a printing material
- B41J2/01—Ink jet
- B41J2/135—Nozzles
- B41J2/16—Production of nozzles
- B41J2/1621—Manufacturing processes
- B41J2/1623—Manufacturing processes bonding and adhesion
-
- B—PERFORMING OPERATIONS; TRANSPORTING
- B41—PRINTING; LINING MACHINES; TYPEWRITERS; STAMPS
- B41J—TYPEWRITERS; SELECTIVE PRINTING MECHANISMS, i.e. MECHANISMS PRINTING OTHERWISE THAN FROM A FORME; CORRECTION OF TYPOGRAPHICAL ERRORS
- B41J2/00—Typewriters or selective printing mechanisms characterised by the printing or marking process for which they are designed
- B41J2/005—Typewriters or selective printing mechanisms characterised by the printing or marking process for which they are designed characterised by bringing liquid or particles selectively into contact with a printing material
- B41J2/01—Ink jet
- B41J2/135—Nozzles
- B41J2/14—Structure thereof only for on-demand ink jet heads
- B41J2/14201—Structure of print heads with piezoelectric elements
- B41J2/14209—Structure of print heads with piezoelectric elements of finger type, chamber walls consisting integrally of piezoelectric material
-
- B—PERFORMING OPERATIONS; TRANSPORTING
- B41—PRINTING; LINING MACHINES; TYPEWRITERS; STAMPS
- B41J—TYPEWRITERS; SELECTIVE PRINTING MECHANISMS, i.e. MECHANISMS PRINTING OTHERWISE THAN FROM A FORME; CORRECTION OF TYPOGRAPHICAL ERRORS
- B41J2/00—Typewriters or selective printing mechanisms characterised by the printing or marking process for which they are designed
- B41J2/005—Typewriters or selective printing mechanisms characterised by the printing or marking process for which they are designed characterised by bringing liquid or particles selectively into contact with a printing material
- B41J2/01—Ink jet
- B41J2/135—Nozzles
- B41J2/16—Production of nozzles
- B41J2/1607—Production of print heads with piezoelectric elements
- B41J2/1609—Production of print heads with piezoelectric elements of finger type, chamber walls consisting integrally of piezoelectric material
-
- B—PERFORMING OPERATIONS; TRANSPORTING
- B41—PRINTING; LINING MACHINES; TYPEWRITERS; STAMPS
- B41J—TYPEWRITERS; SELECTIVE PRINTING MECHANISMS, i.e. MECHANISMS PRINTING OTHERWISE THAN FROM A FORME; CORRECTION OF TYPOGRAPHICAL ERRORS
- B41J2/00—Typewriters or selective printing mechanisms characterised by the printing or marking process for which they are designed
- B41J2/005—Typewriters or selective printing mechanisms characterised by the printing or marking process for which they are designed characterised by bringing liquid or particles selectively into contact with a printing material
- B41J2/01—Ink jet
- B41J2/135—Nozzles
- B41J2/14—Structure thereof only for on-demand ink jet heads
- B41J2002/14362—Assembling elements of heads
-
- B—PERFORMING OPERATIONS; TRANSPORTING
- B41—PRINTING; LINING MACHINES; TYPEWRITERS; STAMPS
- B41J—TYPEWRITERS; SELECTIVE PRINTING MECHANISMS, i.e. MECHANISMS PRINTING OTHERWISE THAN FROM A FORME; CORRECTION OF TYPOGRAPHICAL ERRORS
- B41J2/00—Typewriters or selective printing mechanisms characterised by the printing or marking process for which they are designed
- B41J2/005—Typewriters or selective printing mechanisms characterised by the printing or marking process for which they are designed characterised by bringing liquid or particles selectively into contact with a printing material
- B41J2/01—Ink jet
- B41J2/135—Nozzles
- B41J2/14—Structure thereof only for on-demand ink jet heads
- B41J2002/14491—Electrical connection
-
- B—PERFORMING OPERATIONS; TRANSPORTING
- B41—PRINTING; LINING MACHINES; TYPEWRITERS; STAMPS
- B41J—TYPEWRITERS; SELECTIVE PRINTING MECHANISMS, i.e. MECHANISMS PRINTING OTHERWISE THAN FROM A FORME; CORRECTION OF TYPOGRAPHICAL ERRORS
- B41J2202/00—Embodiments of or processes related to ink-jet or thermal heads
- B41J2202/01—Embodiments of or processes related to ink-jet heads
- B41J2202/11—Embodiments of or processes related to ink-jet heads characterised by specific geometrical characteristics
Definitions
- the present invention relates to an inkjet head and a method for producing inkjet head and particularly relates to the inkjet head that is facilitated in alignment of a lead-out electrode formed on a rear face of a head chip with an FPC (flexible printed circuit) and is high in reliability of electric connection between the lead-out electrode and the FPC and the method for producing the inkjet head.
- FPC flexible printed circuit
- the inkjet head of the type having a hexahedral head chip including a straight-shaped channel ranging from a front face to a rear face of the head chip is known.
- Such an inkjet head is of the type that a partition wall between adjacent channels configures a driving wall including a piezoelectric element, the driving wall is subjected to shearing deformation by applying a predetermined voltage to driving electrodes formed on the both faces of the driving wall to afford a pressure for ejection to ink in each channel.
- Japanese Patent Application Laid-Open No. 2011-183574 proposes a technology of affixing the FPC to a surface of a platy lead-out member and adhering the lead-out member with the FPC affixed to the rear face of the head chip such that the lead-out electrode formed on the rear face of the head chip is electrically connected directly with the FPC so as to lead out the FPC in a rearward direction of the head chip by the lead-out member.
- PCT International Publication No. WO2011/074412 proposes a technology of forming a groove in the rear face of the head chip along a channel row, arranging an end of the lead-out electrode on a side face in the groove and electrically connecting the FPC directly with the lead-out electrode in the groove by inserting one end of the FPC into the groove so as to lead out the other end of the FPC in the rearward direction of the head chip.
- the back-face side of the FPC in the groove is filled with a foaming resin material and pressing force working in a direction that the FPC comes into electric connection with the lead-out electrode is applied to the FPC by foaming the foaming resin material, thereby attaining certainty of electric connection.
- US 2007/030316 A1 deals with an inkjet head having a head chip, including driving walls composed of a piezoelectric element and channels arranged alongside alternatively, an outlet port and an inlet port provided on front and rear surfaces respectively for each channel, and a driving electrode to apply a drive voltage to a driving wall formed inside the channel, wherein the head chip jets ink in a channel from a nozzle by causing shear deformation to the driving wall by applying voltage to the electrode.
- each of the above-mentioned technologies has a configuration that the lead-out member and the foaming resin material are present in the rear of the electric connection part where the lead-out electrode is electrically connected with the wiring on the FPC. Since the FPC is firmly fixed to the lead-out member and the foaming resin material, a load is liable to impose on a firmly fixed face due to a difference in thermal expansion coefficient between the both and it may sometimes lead to delamination of the FPC.
- one subject of the present invention is to provide an inkjet head that is facilitated in alignment of the lead-out electrode with the FPC, is high in reliability of electric connection between the lead-out electrode and the FPC and is free from load exertion on the FPC while making use of advantages of the inkjet head adapted to electrically connect the FPC with the lead-out electrode formed on the rear face of the head chip.
- another subject of the present invention is to provide a method for producing the inkjet head that is facilitated in alignment of the lead-out electrode with the FPC, is high in reliability of electric connection between the lead-out electrode and the FPC and is free from load exertion on the FPC while making use of advantages of the inkjet head adapted to electrically connect the FPC with the lead-out electrode formed on the rear face of the head chip.
- an inkjet head as set out in independent claim 1 and a method for producing an inkjet head as set out in independent claim 13.
- Advantageous developments are defined in the dependent claims.
- the inkjet head that is facilitated in alignment of the lead-out electrode with the FPC, is high in reliability of electric connection between the lead-out electrode and the FPC and is free from load exertion on the FPC while making use of advantages of the inkjet head adapted to electrically connect the FPC with the lead-out electrode formed on the rear face of the head chip.
- the method for producing the inkjet head that is facilitated in alignment of the lead-out electrode with the FPC, is high in reliability of electric connection between the lead-out electrode and the FPC and is free from load exertion on the FPC while making use of advantages of the inkjet head adapted to electrically connect the FPC with the lead-out electrode formed on the rear face of the head chip.
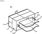
- FIG. 1 illustrates one example of an inkjet head according to an embodiment of the present invention, that is, a perspective view of the inkjet head when viewed from the back-face side.
- FIG. 2 is an end face diagram illustrating one example of a section along the (ii)-(ii) line in FIG. 1 .
- FIG. 3 is a partial back face diagram illustrating one example of a head chip.
- FIG. 4 is a plan view illustrating one example of an FPC in a developed state.
- FIG. 5 is a partial sectional diagram illustrating one example of the FPC.
- H1 is an inkjet head
- 1 is a head chip
- 2 is a nozzle plate to be bonded to a front face 1a of the head chip
- 3 is an FPC (flexible printed circuit) to be bonded to a rear face 1b of the head chip
- 4 is a common flow path member that supplies ink to the head chip 1.
- the head chip 1 is configured by a hexahedron that includes two channel rows of rows A and B.
- the upper channel row is defined as the row A and the lower channel row is defined as the row B in FIG. 2 and FIG. 3 .
- channels 11 and driving walls 12 each partitioning the adjacent two channels 11 and 11 are alternately arranged side by side.
- the driving wall 12 entirely or partially includes a piezoelectric element.
- Each channel 11 opens on the front face 1a and the rear face 1b of the head chip 1 in a rectangular shape and is formed straight ranging from the front face 1a to the rear face 1b.
- driving electrodes 13 are respectively formed on at least the surfaces of the driving walls 12 in wall faces facing inside the respective channels 11.
- the driving electrode 13 may be formed on at least the surface of the driving wall 12, in the present embodiment, the driving electrodes 13 are formed respectively over the both driving walls 12 and 12 that face inside the channel and each wall face 11a that connects together the driving walls 12 and 12.
- the driving wall 12 that is sandwiched between one pair of driving electrodes 13 and 13 is shear-deformed by applying a drive signal of a predetermined voltage from a not illustrated drive circuit to each driving electrode 13.
- the volume in the channel 11 is changed and hence a pressure change for ejection is afforded to ink supplied into the channel 11, and ink droplets are ejected through nozzles 21 in the nozzle plate 2 that has been bonded to the front face 1a of the head chip 1.
- a face on the side that the nozzles 21 are arranged and the ink is ejected is defined as a "front face” and a face on the opposite side is defined as a “rear face”.
- a direction going away from the rear face 1b of the head chip 1 is defined as a “rearward direction” and a direction that is parallel with the front face 1a or the rear face 1b of the head chip 1 and goes away from the head chip 1 is defined as a "lateral direction" of the head chip 1.
- the head chip 1 in the present embodiment, an example of the head chip 1 that all the channels 11 in each channel row are ejection channels that eject the ink droplets through the nozzles 21 is illustrated.
- the head chip may be of the type that each channel row is configured by alternately arranging the ejection channels that eject the ink droplets and dummy channels that do not eject the ink droplets side by side.
- the nozzles 21 are not formed in the nozzle plate 2 at positions corresponding to the dummy channels.
- a lead-out electrode 14 is formed on the rear face 1b of the head chip 1 for every channel 11.
- 14A denotes the lead-out electrode in the channel row A
- 14B denotes the lead-out electrode in the channel row B.
- One end of each of the lead-out electrodes 14A, 14B is electrically connected with the corresponding driving electrode 13 on a wall face 11a in each channel 11 and the other ends thereof respectively extend toward the center of the rear face 1b of the head chip 1 and stay leaving a space between them and without coming into contact with each other.
- the FPC 3 is bonded into a region where the lead-out electrodes 14A, 14B are formed on the rear face 1b of the head chip 1.
- wirings 32 respectively corresponding to the lead-out electrodes 14A, 14B are arrayed on one base film 31 formed with a flexible resin film such as polyimide and so forth as illustrated in FIG. 4 .
- 32A denotes a wiring corresponding to the lead-out electrode 14A
- 32B denotes a wiring corresponding to the lead-out electrode 14B.
- the respective wirings 32A are arranged side by side with a pitch corresponding to that of the lead-out electrodes 14A in the channel row A and the respective wirings 32B are arranged side by side with a pitch corresponding to that of the lead-out electrodes 14B in the channel row B.
- One ends of the wirings 32A, 32B are arranged leaving a space between them and without coming into contact with each other with a middle part of the FPC 3 interposed and the other ends thereof are allocated so as to extend toward the opposite ends of the FPC 3. Therefore, there is no possibility that the wirings 32A, 32B corresponding to the respective channel rows may be mutually short-circuited even when the space between the adjacent channels 11 in each channel row is narrowed.
- the FPC 3 includes cover lays 33 each formed with a flexible resin film such as polyimide and so forth and disposed so as to sandwich each of the wirings 32A, 32B between each of the cover lays and the base film 31.
- the cover lay 33 is laminated over a region other than a connection region 34 that functions as an electric connection part between each of the wirings 32A, 32B and each of the lead-out electrodes 14A, 14B and a connection region (not illustrated) that functions as an electric connection part with a drive circuit. Therefore, one-end terminal parts 32Aa, 32Ba of the respective wirings 32A, 32B are arrayed in the above-mentioned connection region 34 so as to face each other without coming into contact with each other.
- each of the lead-out electrodes 14A, 14B be electrically connected directly with each of the terminal parts 32Aa, 32Ba of the wirings 32A, 32B on the FPC 3 on the rear face 1b of the head chip 1.
- "Directly" means that another electric relay member is not interposed between each of the lead-out electrodes 14A, 14B and each of the terminal parts 32Aa, 34Ba of the wirings 32A, 32B on the FPC 3 with the exception of a measure (also a conductive particle is included when an adhesive that contains the conductive particle is used) adapted to mutually adhere the both. Owing to such electric connection of the FPC 3 directly with each of the lead-out electrodes 14A, 14B, the structure is simplified, the number of components is not increased and thus cost reduction becomes possible.
- an ACP an anisotropic conductive paste
- an ACF an anisotropic conductive film
- the both ends of the FPC 3 are bent in a vertical direction relative to the rear face 1b of the head chip 1 from the vicinity of the electric connection part between the FPC 3 and each of the lead-out electrodes 14A, 14B and respectively extend in the rear direction of the head chip 1 from between the two channel rows.
- the FPC 3 includes a space S that nothing is present in the rear of the electric connection part (the connection region 34) between the FPC 3 and each of the lead-out electrodes 14A, 14B.
- the FPC 3 neither closes the inlet of any channel 11 on the rear face 1b of the head chip 1 nor comes near the rear side of the inlet by extending from between the two channel rows in the rearward direction of the head chip 1. Therefore, labor taken for forming an opening for supplying ink into the channel 11 in the FPC 3 is not necessary. In addition, since protrusion of the FPC 3 in the lateral direction of the head chip 1 is suppressed, it becomes possible to make the inkjet head H1 compact.
- Bent parts 30A, 30B of the FPC 3 are disposed in the vicinity of the electric connection part between the FPC 3 and each of the lead-out electrodes 14A, 14B and in the connection region 34 where the cover lay 33 is not present.
- the bent parts 30A, 30B are rounded (so as to have R-shaped parts) and the FPC 3 is gently bent by this rounding. Therefore, it is possible to reduce loads imposed on the wirings 32A, 32B when bending the FPC 3 on a part that is not covered with the cover lay 33. Formation of the R-shaped parts is preferable in order to further improve the reliability of electric connection.
- a fillet 5a formed with the adhesive (the ACP 5) is formed over the outer sides of the bent parts 30A, 30B and the rear face 1b of the head chip 1 by applying a sufficient amount of the ACP 5 between the FPC 3 and the head chip 1.
- the outer sides of the bent parts 30A, 30B of the FPC 3 are fixed by the fillet 5a, it is possible to increase the adhesion strength of the FPC 3.
- formation of the fillet 5a is preferable from the viewpoint of further improving the reliability of electric connection.
- the fillet 5a may be formed by further applying the adhesive such as the ACP, an epoxy-based adhesive and so forth onto the outer sides of the bent parts 30A, 30B by a dispenser and so forth after the FPC 3 has been bonded to the rear face 1b of the head chip 1.
- Copper foil is mainly used for the wirings 32A, 32B of the FPC 3.
- gold plating 322 is directly deposited onto a surface of copper foil 321 on each of the terminal parts 32Aa, 32Ba to be electrically connected with each of the lead-out electrodes 14A, 14B. It becomes possible to further improve the reliability of electric connection by depositing the gold plating 322 onto the surface.
- the copper foil used for the wirings 32A, 32B of the FPC 3 be a rolled copper foil. Since the rolled copper foil is excellent in flexibility and is easily bent, it becomes possible to more readily perform bending on the FPC 3.
- the common flow path member 4 is bonded, with the adhesive, to the rear face 1b of the head chip 1 apart from the electric connection part between each of the wirings 32A, 32B of the FPC 3 and each of the lead-out electrodes 14A, 14B.
- the common flow path member 4 is formed so as to surround the FPC 3 that extends from the rear face 1b of the head chip 1 in the rearward direction and an insertion hole 42 into which the FPC 3 is to be inserted is formed in a central part of the common flow path member 4. Parts located in the rear beyond the bent parts 30A, 30B of the FPC 3 are not fixed to the common flow path member 4.
- the FPC 3 extends in the rearward direction of the head chip 1 through the insertion hole 42 in the common flow path member 4. Owing to this, since expansion of the FPC 3 is blocked with the insertion hole 42 even when force acting in a direction of expanding the FPC 3 outward is exerted onto the FPC 3, there is no possibility that the force may affect a connected state of the electric connection part between the FPC 3 and each of the lead-out electrodes 14A, 14B. Formation of the insertion hole 42 is preferable in order to further improve the reliability of electric connection between the FPC 33 and each of the lead-out electrodes 14A, 14B.
- An ink flow 41 that communicates with all the channels 11 in the two channel rows of the head chip 1 to enable common supply of the ink to the respective channels 11 is formed in the common flow path member 4. That is, the ink flow path 41 is annularly formed so as to thoroughly surround the FPC 3.
- 41a is an ink inlet and 41b is an ink outlet.
- the common flow path member 4 Since the common flow path member 4 is arranged on the outside beyond the FPC 3 that has been bent in the rearward direction of the head chip 1, the FPC 3 is completely isolated from the ink flow path 41 of the common flow path member 4. Thus, there is no possibility of occurrence of troubles (disconnection, corrosion, short-circuit and so forth) caused by direct contact of each of the wirings 32A, 32B on the FPC 3 with the ink and the common flow path member 4 does not obstruct the space S formed in the rear of the electric connection part of the FPC 3 with each lead-out electrode.
- the size of the outermost periphery of a surface of the common flow path member 4 to be bonded to the rear face 1b of the head chip 1 is made the same as the size of the outer periphery of the rear face 1b and the common flow path member 4 does not protrude in the lateral direction of the head chip 1. Therefore, it becomes possible to make the inkjet head H1 more compact in conjunction with the fact that the FPC 3 does not protrude in the lateral direction.
- each of the wirings 32A, 32B on the FPC 3 is electrically connected directly with each of the lead-out electrodes 14A, 14B formed on the rear face 1b of the head chip 1, the reliability of electric connection is high. Since the FPC 3 includes the space S in the rear of the electric connection part and a member that is separately provided so as to fill the rear of the electric connection part of the FPC 3 such as the existing lead-out member, the foaming resin material and so forth is not present, it is possible to promote cost reduction as much.
- the space S formed in the rear of the electric connection part of the FPC 3 is effective also from the viewpoint of improving heat radiation of the head chip 1.
- the common flow path member 4 does not protrude in the lateral direction, it is possible to further increase the number of channel rows readily by laminating the inkjet heads H1 in plural as illustrated in FIG. 6 . In this case, it is possible to readily apply the drive signal from the drive circuit also to the lead-out electrodes 14A, 14B in the channel row that is arranged on the inner side by the FPC 3 that extends in the rearward direction of the head chip 1.
- the two inkjet heads H1 are laminated to form an inkjet head H2 that includes four channel rows, it is possible to readily increase the number of channel rows to six rows, eight rows and so forth by further increasing the number of the inkjet heads H1 to be laminated.
- the plurality of inkjet heads H1 are laminated to form the inkjet head H2 in this way, it may be configured so as to provide one nozzle plate 2 for the ink jet head H2.
- an inkjet head H3 that includes only one channel row.
- an FPC 3' the FPC having a halved structure formed by cutting the FPC 3 illustrated in FIG. 4 along the center of the connection region 34 may be used.
- the FPC 3' in the above-mentioned case is bent from the vicinity of the electric connection part with the lead-out electrode 14, extends toward the rear of the head chip 1 and includes the space S in the rear of the electric connection part.
- the common flow path member 4 is bonded so as to cover the inlets of all the channels 11 to a position apart from the electric connection part of the FPC 3' without firmly fixing parts located in the rear beyond the bent part 30 of the FPC 3' and the inkjet head H3 has the same advantageous effects as the inkjet head H1.
- an inkjet head H4 including the odd-number (three rows, five rows and so forth) of channel rows by laminating the inkjet head H1 including the even number (two rows, four rows and so forth) of channel rows on the inkjet head H3 including one channel row as illustrated in FIG. 8 .
- the inkjet head H4 so configured may be also configured to be provided with one nozzle plate 2.
- one common flow path member may be provided for all the channel rows obtained after the plurality of head chips 1 have been laminated so as to be used in common among the above-mentioned channel rows, not limited to provision of one common flow path member 4 for each of the head chips 1 so laminated.
- the inkjet head when the inkjet head includes two or more channel rows, it is also possible to provide a separate common flow path member for every one channel row regardless of the number of the head chips 1.
- the plurality of common flow path members are provided for one inkjet head as mentioned above, it is also possible to eject inks of different colors by one inkjet head, for example, by supplying the inks of different colors for every common flow path member.
- FIG. 9 illustrates one example of an inkjet head H5 according to an embodiment of the present invention that an FPC 6 having another configuration is used in place of the FPC 3 of the inkjet head H1. Since the parts with the same numerals as those in FIG. 2 are the same constitutional parts as those in FIG. 2 , here, description thereof is omitted by adopting the description on the configuration in FIG. 2 .
- the FPC 6 is the same as the FPC 3 in the point that a cover lay 63 formed with the flexible resin film made of polyimide and so forth is laminated so as to sandwich wirings 62A, 62B respectively corresponding to the lead-out electrodes 14A, 14B on the rear face 1b of the head chip 1 between it and a base film 61 formed with the flexible resin film made of polyimide and so forth.
- the FPC 6 is different from the FPC 3 in the point that the cover lay 63 is also formed on the connection region with each of the lead-out electrodes 14A, 14B and is arranged so as to face the space S side.
- Through-holes 61a, 61a are respectively formed through the base film 61 of the FPC 6 on parts respectively corresponding to the lead-out electrodes 14A, 14B.
- One-end sides of the wirings 62A, 62B are led out from one face (the face on which the cover lay 63 is to be laminated) to the other face (the face opposite to the lead-out electrodes 14A, 14B) to respectively form terminal parts 62Aa, 62Ba along the surface of the base film 61.
- each of the terminal parts 62Aa, 62Ba that are arranged on the other face of the base film 61 is electrically connected with each of the corresponding lead-out electrodes 14A, 14B, and is bent in the vicinity of the electric connection part thereof and extends in the rearward direction of the head chip 1. Accordingly, also the FPC does not come near the inlet of any channel 11 and thus does not close the inlet.
- bent parts 60A, 60B of the FPC 6 may be rounded (may have R-shaped parts) as in the case of the FPC 3 in FIG. 2 .
- the electric connection part including the terminal parts 62Aa, 62Ba and the vicinity thereof are covered with the cover lay 63, such an advantageous effect is obtained that the load caused by bending is hardly imposed on the wirings 62A, 62B by the bent parts 60A, 60B of the FPC 6 with no necessity of provision of the R-shaped parts.
- the cover lay 63 may not necessarily be formed over the entire surface of the FPC 6 and the cover lay 63 may be formed so as to cover at least the electric connection part including the terminal parts 62Aa, 62Ba and the bent parts 60A, 60B located in the vicinity thereof.
- FIG. 10 illustrates one example of an inkjet head H6 that the head chip 1 includes four channel rows A to D.
- FIG. 11 is a partial back-face diagram illustrating one example of the head chip 1 of the inkjet head H6. Since the parts with the same numerals as those in FIG. 2 and FIG. 3 are the same constitutional parts as those in FIG. 2 and FIG. 3 , here, description thereof is omitted by adopting the description on the configurations in FIG. 2 and FIG. 3 .
- Ends of the lead-out electrode 14B, 14C from the channels 11 in the inner rows B, C extend toward the center of the rear face 1b and stay by leaving a space between them without coming into contact with each other on the rear face 1b of the head chip 1 of the inkjet head H6 as illustrated in FIG. 11 .
- the lead-out electrode 14A from each channel 11 in the row A is arranged side by side with an end of the lead-out electrode 14B in the row B passing through between the channels 11 in the row B and a lead-out electrode 14D from each channel 11 in the row D is arranged side by side with an end of a lead-out electrode 14C in the row C passing through between the channels 11 in the row C. Therefore, the ends of all the lead-out electrodes 14A to 14D in the four channel rows are arrayed on a central part of the rear face 1b of the head chip 1.
- wirings corresponding to the lead-out electrodes 14A to 14D may be formed on the FPC 3. Then, it is possible to electrically connect each of all the lead-out electrodes 14A to 14D in the four channel rows with each of the corresponding wirings by one FPC 3 by bonding the FPC 3 to the central part of the rear face 1b of the head chip 1 as illustrated in FIG. 10 .
- the FPC 6 illustrated in FIG. 9 may be used as the FPC for the inkjet head H6.
- the channel 11 and the driving wall 12 are formed to be arranged side by side by grinding a plurality of grooves in parallel from an upper surface of a substrate 101 including a piezoelectric element and the driving electrode 13 is formed on the entire of an inner surface of each channel 11. Then, one cover substrate 102 is laminated on the substrate 101 so as to close an upper part of each channel 11, thereby forming one large-sized channel substrate 100 ( FIG. 12A ).
- two channel substrates 100 that have been formed in a similar manner are prepared and bonded together such that the cover substrate 102 is located on the outer side, thereby producing a large-sized channel substrate 200 including two channel rows ( FIG. 12B ).
- the head chips 1, 1 and so forth each including the two channel rows are produced by cutting (fully cutting) the large-sized channel substrate 200 along a plurality of cut lines c, c and so forth along a direction orthogonal to a length-wise direction of the channels 11 ( FIG. 13 ). It is possible to adjust a driving length of the channel 11 of each head chip 1 depending on a space between the adjacent ones of the cut lines c, c and so forth.
- the lead-out electrodes 14A, 14B that are provided for every channel 11 and one end of each of which is electrically connected to the driving electrode 13 in each channel 11 as illustrated in FIG. 3 are pattern-formed on the rear face 1b of the head chip 1 that includes the two channel rows (a first step).
- the lead-out electrodes 14A, 14B it is possible to adopt a well-known patterning technology of performing exposure/developing treatment using a dry film, formation of a metal film by a vapor deposition method and removal of the dry film after formation of the metal film.
- formation of the lead-out electrodes 14A, 14B may be performed by a sputtering method in place of the vapor deposition.
- the sputtering method is preferable because since the metal particles fly in a random direction, it is possible to form the metal film deep into the channel 22 without changing the direction in particular.
- lead-out electrodes 14A, 14B by an electroless plating method.
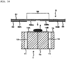
- the ACP 5 is applied onto the rear face 1b of the head chip 1 so as to cover the lead-out electrodes 14A, 14B and the connection region 34 of the FPC 3 is superposed on the rear face 1a ( FIG. 14 ).
- the wirings 32A, 32B are formed in advance on the base film 31 as illustrated in FIG. 4 and the cover lay 33 is laminated so as to sandwich each of the wirings 32A, 32B between the cover lay 33 and the base film 31.
- the cover lay 33 is not formed on the connection region 34 and the terminal parts 32Aa, 32Ba of the wirings 32A, 32B are exposed onto the connection region 34.
- the FPC 3 is arranged and superposed on the rear face 1b of the head chip 1 such that the terminal parts 32Aa, 32Ba face the rear face 1b of the head chip 1.
- 300 is a camera used to observe the FPC 3 from behind the head chip 1 upon alignment.
- the lead-out member and the foaming resin material that have been ever used for bonding the FPC 3 to the rear face 1b of the head chip 1 are not used and it is not configured to form the groove and to insert the FPC into the groove, it is possible to assure a wide space that nothing is present in the rear of the FPC 3 upon alignment and hence it is possible to readily observe the FPC 3 from behind the head chip 1 by using the camera 300 in this way.
- the camera 300 is capable of capturing an image of the wirings 32A, 32B in the connection region 34 and the lead-out electrodes 14A, 14B through the base film 31 of the FPC 3 and projects the image so captured onto a not illustrated monitor screen. It is possible for an operator to readily and surely perform alignment of each wiring of the FPC 3 with each lead-out electrode by observing the monitor screen. Thereby, it becomes possible to improve the reliability of electric connection between each of the wirings 32A, 32B of the FPC 3 and each of the lead-out electrodes 14A, 14B.
- each of the wirings 32A, 32B of the FPC 3 and each of the lead-out electrodes 14A, 14B are crimped together (a third step, FIG. 16 ).
- 400 is a crimp jig that is preferably used upon crimping.
- the crimp jig 400 is formed with a platy member whose thickness is thinner than a space between the channel rows of the head chip 1.
- a leading end of the crimp jig 400 adapted to perform crimping in abutment against the FPC 3 is configured as a flatly formed leading end face 401 and side faces 402, 402 disposed adjacent to the leading end face 401 are configured by faces that are vertical to the rear face 1b of the head chip 1 so as to extend toward the rear of the head chip 1.
- the crimp jig 400 crimps each of the terminal parts 32Aa, 32Ba of the wirings 32A, 32B onto each of the lead-out electrodes 14A, 14B by pressing the leading end face 401 against the FPC 3 from the back-face side of the connection region 34 of the FPC 3 at a predetermined pressure.
- the both ends of the FPC 3 are bent from the part that is not covered with the cover lay 33 in the vicinity of the electric connection part with each of the lead-out electrodes 14A, 14B so as to extend in the rearward direction of the head chip 1 along the side faces 402, 402 of the crimp jig 400 while maintaining a crimped state (a fourth step).
- Both corner parts 401a, 401a of the leading end face 401 of the crimp jig 400 are rounded (so as to have R-shaped parts) by being subjected to rounding processing. Thereby, when bending the FPC 3 along the side faces 402, 402 of the crimp jig 400, it is possible to readily form the R-shaped parts without making the bent parts 30A, 30B (see FIG. 2 ) of the FPC 3 sharp-angled.
- the ACP 5 between the rear face 1b of the head chip 1 and the FPC 3 is applied in a sufficient amount, it will be possible for the ACP 5 to form the fillets 5a, 5a on the electric connection part by going around and cutting into also the outer sides of the bent parts 30A, 30B of the FPC 3 as illustrated in FIG. 2 upon crimping and bonding using the crimp jig 400.
- fillets 5a, 5a when formation of the fillets 5a, 5a is insufficient for reasons of the little amount of the applied ACP 5 and so forth, it is preferable to form the fillets 5a by applying an additional adhesive such as the ACP, an epoxy adhesive and so forth to the outer sides of the bent parts 30A, 30B by using a dispenser 500 and so forth after the FPC 3 has been bent or after the crimp jig has been removed as described later as illustrated in FIG. 17 .
- an additional adhesive such as the ACP, an epoxy adhesive and so forth
- the crimp jig 400 is removed. Thereby, the space S that nothing is present is formed in the rear of the electric connection part between the FPC 3 and each of the lead-out electrodes 14A, 14B. Therefore, it does not happen that the load is imposed on the FPC 3 caused by the difference in thermal expansion coefficient between the FPC 3 and the lead-out electrode as in the case of using the existing lead-out member and the foaming resin material.
- the common flow path member 4 that has been formed in advance into a shape with the insertion hole 42 is bonded to the rear face 1b of the head chip 1 apart from the electric connection part between the FPC 3 and each of the lead-out electrodes 14A, 14B (a fifth step, FIG. 18 ).
- the both ends of the FPC 3 that has been bonded such that the both ends extend in the rearward direction of the head chip 1 are inserted into the insertion hole 42 in the common flow path member 4 and the common flow path member 4 is bonded to the rear face 1b of the head chip 1 with the epoxy-based adhesive and so forth such that the inlets of all the channels 11 in each channel row are covered with the ink flow path 41.
- the FPC 3 is simply inserted into the insertion hole 42 in the common flow path member 4 and is not firmly fixed to an inner surface of the insertion hole 42, and the space S in the rear of the FPC 3 is not closed.
- the nozzle plate 2 is configured to be bonded to the front face 1a of the head chip 1 as illustrated in FIG. 18 , the nozzle plate 2 may be bonded to the front face 1a after the head chip 1 has been cut apart from the channel substrate 200 and before the FPC 3 is superposed on the head chip 1.
- the compact inkjet head H1 including the two channel rows that makes it possible to electrically connect the FPC 3 directly to each of the lead-out electrodes 14A, 14B on the rear face 1b of the head chip 1 readily. Since electric connection of the FPC 3 is performed directly to each of the lead-out electrodes 14A, 14B and also alignment of the FPC 3 with each of the lead-out electrodes 14A, 14B is facilitated, it becomes possible to perform highly reliable electric connection.
- the plurality of the inkjet heads H1 may be laminated.
- the common flow path member is to be used in common among all the channel rows, after the plurality of the head chips 1 each being in a state that the FPC 3 has already been bonded and the common flow path member 4 is not yet bonded have been laminated, one common flow path member that includes the insertion hole into which each FPC 3 is separately inserted and includes therein the ink flow path that is common among all the channel rows may be bonded to the head chip 1.
- inkjet head H3 that includes one channel row illustrated in FIG. 7 in the same way by cutting the chip head 1 apart from the channel substrate 100 illustrated in FIG. 12A and bonding the FPC 3' that includes only one wiring 32 to the head chip 1.
- the head chip 1 of the inkjet head H6 illustrated in FIG. 11 when the head chip 1 of the inkjet head H6 illustrated in FIG. 11 is to be formed, two sets of the head chips 1 in each of which one more substrate 101 has been laminated on a lower surface of the channel substrate 100 illustrated in FIG. 12A such that the channels 11 are oriented in the same direction are prepared and the lead-out electrodes 14A to 14D may be formed on the rear face 1b of the cut apart head chip 1 as illustrated in FIG. 11 after these sets have been bonded such that the cover substrate 102 is located on the outer side.
Landscapes
- Engineering & Computer Science (AREA)
- Manufacturing & Machinery (AREA)
- Particle Formation And Scattering Control In Inkjet Printers (AREA)
Claims (18)
- Tintenstrahlkopf, aufweisend:einen Kopfchip (1), der eine Kanalreihe umfasst, in welcher eine Antriebswand (12) einschließlich eines piezoelektrischen Elements und ein Kanal (11) Seite an Seite alternierend angeordnet sind, und wobei ein Auslass und ein Einlass des Kanals jeweils an einer Vorderseite (1a) und einer Rückseite (1b) angeordnet ist und eine Antriebselektrode (13) an einer Wandseite (11a) der dem Inneren des Kanals zugewandten Antriebswand ausgebildet ist, wobeieine Anschlusselektrode (14, 14A bis 14D), die mit der Antriebselektrode in dem Kanal elektrisch verbunden ist, an der Rückseite des Kopfchips für jeden Kanal ausgebildet ist, und eine Verdrahtung (32, 32A, 32B, 62A, 62B) einer FPC (3, 3', 6) mit der Anschlusselektrode elektrisch verbunden ist, und die Verdrahtung der FPC mit der Anschlusselektrode direkt elektrisch verbunden ist, um dadurch zu ermöglichen, dass ein direkter elektrischer Verbindungsabschnitt zwischen der Anschlusselektrode und der Verdrahtung an der Rückseite des Kopfchips ausgebildet wird, unddie FPC von der Umgebung eines elektrischen Verbindungsabschnitts zwischen der Anschlusselektrode und der Verdrahtung gebogen ist und sich in einer Rückwärtsrichtung des Kopfchips erstreckt und einen Raum (S) in dem hinteren Teil des elektrischen Verbindungsabschnitts umfasst.
- Tintenstrahlkopf nach Anspruch 1, wobei
ein gemeinsames Strömungspfadelement (4), das einen Tintenströmungspfad (41) ausbildet, der den Kanälen (11) in der Kanalreihe gemeinsam bereitgestellt ist, an einem Abschnitt, der von dem elektrischen Verbindungsabschnitt entfernt ist, an der Rückseite (1b) des Kopfchips (1) gebondet ist. - Tintenstrahlkopf nach Anspruch 2, wobei
die FPC (3, 3', 6) nicht fest mit dem gemeinsamen Strömungspfadelement (4) fixiert ist. - Tintenstrahlkopf nach Anspruch 1, 2 oder 3, wobei
die Kanalreihen in einer Vielzahl Seite an Seite angeordnet sind, und
sich die FPC (3, 3', 6) zwischen den beiden benachbarten Kanalreihen in der Rückwärtsrichtung des Kopfchips (1) erstreckt. - Tintenstrahlkopf nach Anspruch 4, wobei
Verdrahtungen (32, 32A, 32B, 62A, 62B), die jeweils mit den Anschlusselektroden (14, 14A bis 14D) in zumindest den beiden benachbarten Kanalreihen elektrisch verbunden sind, auf der FPC (3, 3', 6) ausgebildet sind. - Tintenstrahlkopf nach Anspruch 5, wobei
die Verdrahtung (32, 32A, 32B, 62A, 62B), die mit der Anschlusselektrode (14, 14A bis 14D) in einer der Kanalreihen elektrisch zu verbinden ist, und die Verdrahtung, die mit der Anschlusselektrode in der anderen der Kanalreihen elektrisch zu verbinden ist, angeordnet sind, um sich von dem in der Mitte der FPC (3, 3', 6) angeordneten elektrischen Verbindungsabschnitt gegenseitig zu gegenüberliegenden Enden der FPC zu erstrecken, und sich die beiden Enden der FPC jeweils in die Rückwärtsrichtung des Kopfchips (1) erstrecken. - Tintenstrahlkopf nach einem der Ansprüche 1 bis 6, wobei
die FPC (3, 3', 6) mit einer Abdeckschicht (33, 63), mit Ausnahme des elektrischen Verbindungsabschnitts, versehen ist, und an einem Abschnitt gebogen ist, der nicht mit der Abdeckschicht in der Umgebung des elektrischen Verbindungsabschnitts abgedeckt ist, und der gebogene Abschnitt (30, 30A, 30B, 60A, 60B) mit dem R-förmigen Abschnitt versehen ist. - Tintenstrahlkopf nach einem der Ansprüche 1 bis 7, wobei
eine Oberfläche eines Anschlussabschnitts (32a, 32Aa, 32Ba, 62Aa, 62Ba) von jeder Verdrahtung (32, 32A, 32B, 62A, 62B) auf der FPC (3, 3', 6), die mit der Anschlusselektrode (14, 14A bis 14D) elektrisch zu verbinden ist, goldbeschichtet ist, ohne eine Verstärkungsverarbeitung mit Ni auf einer Oberfläche einer Kupferfolie (321) durchzuführen. - Tintenstrahlkopf nach Anspruch 8, wobei
die Kupferfolie (321) eine gerollte Kupferfolie ist. - Tintenstrahlkopf nach einem der Ansprüche 1 bis 6, wobei
auf der FPC (3, 3', 6) ein Durchgangsloch (61a) in einem Trägerfilm (31, 61) ausgebildet ist, wobei jede Verdrahtung (32, 32A, 32B, 62A, 62B) von einer Oberfläche des Trägerfilms zu der anderen Oberfläche des Trägerfilms durch das Durchgangsloch herausführt und mit der Anschlusselektrode (14, 14A bis 14D) auf der anderen Oberfläche elektrisch verbunden ist, und eine Abdeckschicht (33, 63) auf der einen Oberfläche vorgesehen ist, um zumindest den elektrischen Verbindungsabschnitt und einen gebogenen Abschnitt (30, 30A, 30B, 60A, 60B) in der Umgebung des elektrischen Verbindungsabschnitts abzudecken. - Tintenstrahlkopf nach einem der Ansprüche 1 bis 10, wobei
die FPC (3, 3', 6) mit der Anschlusselektrode (14, 14A bis 14D) mit einer ACF oder einer ACP (5) elektrisch verbunden ist. - Tintenstrahlkopf nach einem der Ansprüche 1 bis 11, wobei
eine Leiste (5a), die mit einem Haftmittel ausgebildet ist, über der äußeren Seite eines gebogenen Abschnitts (30, 30A, 30B, 60A, 60B) der FPC (3, 3', 6) und der Rückseite (1b) des Kopfchips (1) ausgebildet ist. - Verfahren zum Herstellen eines Tintenstrahlkopfes, in dieser Reihenfolge aufweisend:Vorbereiten eines Kopfchips (1), der eine Kanalreihe umfasst, in welcher eine Antriebswand (12) einschließlich eines piezoelektrischen Elements und ein Kanal (11) Seite an Seite alternierend angeordnet sind, und wobei ein Auslass und ein Einlass des Kanals jeweils an einer Vorderseite (1a) und einer Rückseite (1b) angeordnet ist und eine Antriebselektrode (13) an einer Wandseite (11a) der dem Inneren des Kanals zugewandten Antriebswand ausgebildet ist, und Ausbilden einer Anschlusselektrode (14, 14A bis 14D), die mit der Antriebselektrode in dem Kanal elektrisch verbunden ist und für jeden Kanal an der Rückseite des Kopfchips vorgesehen ist;Überlagern einer FPC (3, 3', 6) auf der Rückseite des Kopfchips und Überwachen der FPC hinter dem Kopfchip, wodurch die Anschlusselektrode mit einer auf der FPC vorgesehenen Verdrahtung (32, 32A, 32B, 62A, 62B) ausgerichtet wird;Zusammencrimpen und dann direktes elektrisches Verbinden der Verdrahtung auf der FPC und der Anschlusselektrode, die so zueinander ausgerichtet sind, dass dadurch ein direkter elektrischer Verbindungsabschnitt zwischen der Anschlusselektrode und der Verdrahtung ausgebildet wird; undBiegen der FPC, damit sie sich aus der Umgebung eines elektrischen Verbindungsabschnitts mit der Anschlusselektrode in einer Rückwärtsrichtung des Kopfchips erstreckt.
- Verfahren zum Herstellen des Tintenstrahlkopfes nach Anspruch 13, ferner aufweisend:Bonden eines gemeinsamen Strömungspfadelements (4), das einen Tintenströmungspfad (41), der den Kanälen (11) in der Kanalreihe gemeinsam bereitgestellt ist, an der Rückseite (1b) des Kopfchips (1) von dem elektrischen Verbindungsabschnitt entfernt ausbildet, einem Biegen der FPC (3, 3', 6) folgend.
- Verfahren zum Herstellen des Tintenstrahlkopfes nach Anspruch 13 oder 14, wobei
beim Zusammencrimpen der Verdrahtung (32, 32A, 32B, 62A, 62B) und der Anschlussverdrahtung ein Crimpen durchgeführt wird, indem eine vordere Endseite einer Crimpvorrichtung (400) gegen den elektrischen Verbindungsabschnitt von der Rückflächenseite der FPC (3, 3', 6) gedrückt wird. - Verfahren zum Herstellen des Tintenstrahlkopfes nach Anspruch 15, wobei
die Crimpvorrichtung (400) eine Seitenfläche (402), die sich zu der Rückseite des Kopfchips (1) erstreckt, neben der vorderen Endfläche aufweist, und
beim Biegen der FPC (3, 3', 6), nachdem die FPC gebogen worden ist, um sich in der Rückwärtsrichtung des Kopfchips entlang der Seitenfläche der Crimpvorrichtung zu erstrecken, die Crimpvorrichtung entfernt wird. - Verfahren zum Herstellen des Tintenstrahlkopfes nach einem der Ansprüche 13 bis 16, wobei
beim Ausrichten der Anschlusselektrode (14, 14A bis 14D) mit der Verdrahtung (32, 32A, 32B, 62A, 62B), nachdem eine ACF oder eine ACP (5) an der Rückseite (1b) des Kopfchips (1) bereitgestellt worden ist, um die Anschlusselektrode abzudecken, die FPC (3, 3', 6) auf der Rückseite des Kopfchips überlagert wird. - Verfahren zum Herstellen des Tintenstrahlkopfes nach einem der Ansprüche 13 bis 17, wobei
beim Biegen der FPC (3, 3', 6), nachdem die FPC gebogen worden ist, eine Leiste (5a), die mit einem Haftmittel ausgebildet ist, über der äußeren Seite des gebogenen Abschnitts (30, 30A, 30B, 60A, 60B) und der Rückseite (1b) des Kopfchips (1) ausgebildet wird.
Applications Claiming Priority (1)
| Application Number | Priority Date | Filing Date | Title |
|---|---|---|---|
| JP2013201557A JP6281221B2 (ja) | 2013-09-27 | 2013-09-27 | インクジェットヘッド及びインクジェットヘッドの製造方法 |
Publications (2)
| Publication Number | Publication Date |
|---|---|
| EP2853395A1 EP2853395A1 (de) | 2015-04-01 |
| EP2853395B1 true EP2853395B1 (de) | 2017-01-11 |
Family
ID=51492843
Family Applications (1)
| Application Number | Title | Priority Date | Filing Date |
|---|---|---|---|
| EP14183512.4A Not-in-force EP2853395B1 (de) | 2013-09-27 | 2014-09-04 | Tintenstrahlkopf und Verfahren zur Herstellung des Tintenstrahlkopfs |
Country Status (2)
| Country | Link |
|---|---|
| EP (1) | EP2853395B1 (de) |
| JP (1) | JP6281221B2 (de) |
Families Citing this family (2)
| Publication number | Priority date | Publication date | Assignee | Title |
|---|---|---|---|---|
| JP6374785B2 (ja) * | 2014-12-24 | 2018-08-15 | エスアイアイ・プリンテック株式会社 | 液体噴射ヘッドの製造装置、液体噴射ヘッドの製造方法、及び液体噴射ヘッド |
| JPWO2024048526A1 (de) * | 2022-08-29 | 2024-03-07 |
Family Cites Families (9)
| Publication number | Priority date | Publication date | Assignee | Title |
|---|---|---|---|---|
| US5535494A (en) * | 1994-09-23 | 1996-07-16 | Compaq Computer Corporation | Method of fabricating a piezoelectric ink jet printhead assembly |
| JP2002127422A (ja) * | 2000-05-17 | 2002-05-08 | Konica Corp | インクジェットヘッド |
| US20060290744A1 (en) * | 2005-06-25 | 2006-12-28 | Lee Jao-Cheol | Wire bonding structure to electrically connect a printhead chip to a flexible printed circuit of an ink cartridge and method thereof |
| JP4984661B2 (ja) * | 2005-08-02 | 2012-07-25 | コニカミノルタホールディングス株式会社 | インクジェットヘッドの製造方法及びインクジェットヘッド |
| JP5198105B2 (ja) * | 2008-03-25 | 2013-05-15 | 日本メクトロン株式会社 | 多層フレキシブルプリント配線板の製造方法 |
| JP2010240850A (ja) * | 2009-04-01 | 2010-10-28 | Seiko Epson Corp | 液滴吐出ヘッド、液滴吐出ヘッドの製造方法、及び液滴吐出装置 |
| EP2514597B1 (de) * | 2009-12-18 | 2014-10-08 | Konica Minolta IJ Technologies, Inc. | Tintenstrahlkopf |
| JP2011167964A (ja) * | 2010-02-19 | 2011-09-01 | Seiko Epson Corp | 液体噴射ヘッド |
| JP5413249B2 (ja) | 2010-03-04 | 2014-02-12 | コニカミノルタ株式会社 | 液体噴出装置 |
-
2013
- 2013-09-27 JP JP2013201557A patent/JP6281221B2/ja not_active Expired - Fee Related
-
2014
- 2014-09-04 EP EP14183512.4A patent/EP2853395B1/de not_active Not-in-force
Also Published As
| Publication number | Publication date |
|---|---|
| EP2853395A1 (de) | 2015-04-01 |
| JP6281221B2 (ja) | 2018-02-21 |
| JP2015066746A (ja) | 2015-04-13 |
Similar Documents
| Publication | Publication Date | Title |
|---|---|---|
| JP5447238B2 (ja) | インクジェットヘッド | |
| JP2009226677A (ja) | インクジェットヘッド | |
| JP5846278B2 (ja) | インクジェットヘッド | |
| EP2853395B1 (de) | Tintenstrahlkopf und Verfahren zur Herstellung des Tintenstrahlkopfs | |
| JP4961711B2 (ja) | インクジェットヘッド用貫通電極付き基板の製造方法及びインクジェットヘッドの製造方法 | |
| US9375920B2 (en) | Liquid ejection head | |
| JP5034593B2 (ja) | 駆動回路付き配線基板の構造および液滴吐出ヘッド | |
| JP2006035584A (ja) | インクジェットヘッド | |
| JP4984960B2 (ja) | 液滴吐出装置及びその製造方法 | |
| JP5413249B2 (ja) | 液体噴出装置 | |
| JP2010201870A (ja) | 配線基板の接合構造及び接合構造の製造方法 | |
| JP2000263781A (ja) | インクジェット記録装置 | |
| JP7520666B2 (ja) | 液体噴射ヘッドおよび液体噴射記録装置 | |
| EP2578408A1 (de) | Tintenstrahlkopf und herstellungsverfahren für einen tintenstrahlkopf | |
| EP3175989B1 (de) | Tintenstrahlkopf und drucker | |
| EP4570504A1 (de) | Flüssigkeitsausstosskopf | |
| JP7346150B2 (ja) | インクジェット記録ヘッドおよびインクジェット記録装置 | |
| JP2005066924A (ja) | インクジェットヘッド | |
| JP2007062082A (ja) | インクジェットヘッド及びその製造方法 | |
| JP2007076062A (ja) | インクジェットヘッドの製造方法 | |
| JP2002052712A (ja) | インク噴射装置 | |
| JP2015000484A (ja) | 液体吐出ヘッド | |
| JP2016030402A (ja) | 液体噴射ヘッドの製造方法及び液体噴射ヘッド | |
| JP6421820B2 (ja) | インクジェットヘッド、インクジェット記録装置及びインクジェットヘッドの製造方法 | |
| JP2006341385A (ja) | インクジェット記録ヘッド |
Legal Events
| Date | Code | Title | Description |
|---|---|---|---|
| PUAI | Public reference made under article 153(3) epc to a published international application that has entered the european phase |
Free format text: ORIGINAL CODE: 0009012 |
|
| 17P | Request for examination filed |
Effective date: 20140904 |
|
| AK | Designated contracting states |
Kind code of ref document: A1 Designated state(s): AL AT BE BG CH CY CZ DE DK EE ES FI FR GB GR HR HU IE IS IT LI LT LU LV MC MK MT NL NO PL PT RO RS SE SI SK SM TR |
|
| AX | Request for extension of the european patent |
Extension state: BA ME |
|
| R17P | Request for examination filed (corrected) |
Effective date: 20150930 |
|
| RBV | Designated contracting states (corrected) |
Designated state(s): AL AT BE BG CH CY CZ DE DK EE ES FI FR GB GR HR HU IE IS IT LI LT LU LV MC MK MT NL NO PL PT RO RS SE SI SK SM TR |
|
| GRAP | Despatch of communication of intention to grant a patent |
Free format text: ORIGINAL CODE: EPIDOSNIGR1 |
|
| INTG | Intention to grant announced |
Effective date: 20160704 |
|
| GRAS | Grant fee paid |
Free format text: ORIGINAL CODE: EPIDOSNIGR3 |
|
| GRAJ | Information related to disapproval of communication of intention to grant by the applicant or resumption of examination proceedings by the epo deleted |
Free format text: ORIGINAL CODE: EPIDOSDIGR1 |
|
| GRAL | Information related to payment of fee for publishing/printing deleted |
Free format text: ORIGINAL CODE: EPIDOSDIGR3 |
|
| GRAP | Despatch of communication of intention to grant a patent |
Free format text: ORIGINAL CODE: EPIDOSNIGR1 |
|
| INTC | Intention to grant announced (deleted) | ||
| GRAA | (expected) grant |
Free format text: ORIGINAL CODE: 0009210 |
|
| INTG | Intention to grant announced |
Effective date: 20161117 |
|
| AK | Designated contracting states |
Kind code of ref document: B1 Designated state(s): AL AT BE BG CH CY CZ DE DK EE ES FI FR GB GR HR HU IE IS IT LI LT LU LV MC MK MT NL NO PL PT RO RS SE SI SK SM TR |
|
| REG | Reference to a national code |
Ref country code: GB Ref legal event code: FG4D |
|
| REG | Reference to a national code |
Ref country code: CH Ref legal event code: EP |
|
| REG | Reference to a national code |
Ref country code: AT Ref legal event code: REF Ref document number: 860893 Country of ref document: AT Kind code of ref document: T Effective date: 20170115 |
|
| REG | Reference to a national code |
Ref country code: IE Ref legal event code: FG4D |
|
| REG | Reference to a national code |
Ref country code: DE Ref legal event code: R096 Ref document number: 602014006159 Country of ref document: DE |
|
| REG | Reference to a national code |
Ref country code: LT Ref legal event code: MG4D |
|
| REG | Reference to a national code |
Ref country code: NL Ref legal event code: MP Effective date: 20170111 |
|
| REG | Reference to a national code |
Ref country code: AT Ref legal event code: MK05 Ref document number: 860893 Country of ref document: AT Kind code of ref document: T Effective date: 20170111 |
|
| PG25 | Lapsed in a contracting state [announced via postgrant information from national office to epo] |
Ref country code: NL Free format text: LAPSE BECAUSE OF FAILURE TO SUBMIT A TRANSLATION OF THE DESCRIPTION OR TO PAY THE FEE WITHIN THE PRESCRIBED TIME-LIMIT Effective date: 20170111 |
|
| REG | Reference to a national code |
Ref country code: FR Ref legal event code: PLFP Year of fee payment: 4 |
|
| PG25 | Lapsed in a contracting state [announced via postgrant information from national office to epo] |
Ref country code: FI Free format text: LAPSE BECAUSE OF FAILURE TO SUBMIT A TRANSLATION OF THE DESCRIPTION OR TO PAY THE FEE WITHIN THE PRESCRIBED TIME-LIMIT Effective date: 20170111 Ref country code: NO Free format text: LAPSE BECAUSE OF FAILURE TO SUBMIT A TRANSLATION OF THE DESCRIPTION OR TO PAY THE FEE WITHIN THE PRESCRIBED TIME-LIMIT Effective date: 20170411 Ref country code: LT Free format text: LAPSE BECAUSE OF FAILURE TO SUBMIT A TRANSLATION OF THE DESCRIPTION OR TO PAY THE FEE WITHIN THE PRESCRIBED TIME-LIMIT Effective date: 20170111 Ref country code: HR Free format text: LAPSE BECAUSE OF FAILURE TO SUBMIT A TRANSLATION OF THE DESCRIPTION OR TO PAY THE FEE WITHIN THE PRESCRIBED TIME-LIMIT Effective date: 20170111 Ref country code: GR Free format text: LAPSE BECAUSE OF FAILURE TO SUBMIT A TRANSLATION OF THE DESCRIPTION OR TO PAY THE FEE WITHIN THE PRESCRIBED TIME-LIMIT Effective date: 20170412 Ref country code: IS Free format text: LAPSE BECAUSE OF FAILURE TO SUBMIT A TRANSLATION OF THE DESCRIPTION OR TO PAY THE FEE WITHIN THE PRESCRIBED TIME-LIMIT Effective date: 20170511 |
|
| PG25 | Lapsed in a contracting state [announced via postgrant information from national office to epo] |
Ref country code: PT Free format text: LAPSE BECAUSE OF FAILURE TO SUBMIT A TRANSLATION OF THE DESCRIPTION OR TO PAY THE FEE WITHIN THE PRESCRIBED TIME-LIMIT Effective date: 20170511 Ref country code: ES Free format text: LAPSE BECAUSE OF FAILURE TO SUBMIT A TRANSLATION OF THE DESCRIPTION OR TO PAY THE FEE WITHIN THE PRESCRIBED TIME-LIMIT Effective date: 20170111 Ref country code: RS Free format text: LAPSE BECAUSE OF FAILURE TO SUBMIT A TRANSLATION OF THE DESCRIPTION OR TO PAY THE FEE WITHIN THE PRESCRIBED TIME-LIMIT Effective date: 20170111 Ref country code: BG Free format text: LAPSE BECAUSE OF FAILURE TO SUBMIT A TRANSLATION OF THE DESCRIPTION OR TO PAY THE FEE WITHIN THE PRESCRIBED TIME-LIMIT Effective date: 20170411 Ref country code: LV Free format text: LAPSE BECAUSE OF FAILURE TO SUBMIT A TRANSLATION OF THE DESCRIPTION OR TO PAY THE FEE WITHIN THE PRESCRIBED TIME-LIMIT Effective date: 20170111 Ref country code: AT Free format text: LAPSE BECAUSE OF FAILURE TO SUBMIT A TRANSLATION OF THE DESCRIPTION OR TO PAY THE FEE WITHIN THE PRESCRIBED TIME-LIMIT Effective date: 20170111 Ref country code: SE Free format text: LAPSE BECAUSE OF FAILURE TO SUBMIT A TRANSLATION OF THE DESCRIPTION OR TO PAY THE FEE WITHIN THE PRESCRIBED TIME-LIMIT Effective date: 20170111 Ref country code: PL Free format text: LAPSE BECAUSE OF FAILURE TO SUBMIT A TRANSLATION OF THE DESCRIPTION OR TO PAY THE FEE WITHIN THE PRESCRIBED TIME-LIMIT Effective date: 20170111 |
|
| REG | Reference to a national code |
Ref country code: DE Ref legal event code: R097 Ref document number: 602014006159 Country of ref document: DE |
|
| PG25 | Lapsed in a contracting state [announced via postgrant information from national office to epo] |
Ref country code: RO Free format text: LAPSE BECAUSE OF FAILURE TO SUBMIT A TRANSLATION OF THE DESCRIPTION OR TO PAY THE FEE WITHIN THE PRESCRIBED TIME-LIMIT Effective date: 20170111 Ref country code: EE Free format text: LAPSE BECAUSE OF FAILURE TO SUBMIT A TRANSLATION OF THE DESCRIPTION OR TO PAY THE FEE WITHIN THE PRESCRIBED TIME-LIMIT Effective date: 20170111 Ref country code: CZ Free format text: LAPSE BECAUSE OF FAILURE TO SUBMIT A TRANSLATION OF THE DESCRIPTION OR TO PAY THE FEE WITHIN THE PRESCRIBED TIME-LIMIT Effective date: 20170111 Ref country code: IT Free format text: LAPSE BECAUSE OF FAILURE TO SUBMIT A TRANSLATION OF THE DESCRIPTION OR TO PAY THE FEE WITHIN THE PRESCRIBED TIME-LIMIT Effective date: 20170111 Ref country code: SK Free format text: LAPSE BECAUSE OF FAILURE TO SUBMIT A TRANSLATION OF THE DESCRIPTION OR TO PAY THE FEE WITHIN THE PRESCRIBED TIME-LIMIT Effective date: 20170111 |
|
| PLBE | No opposition filed within time limit |
Free format text: ORIGINAL CODE: 0009261 |
|
| STAA | Information on the status of an ep patent application or granted ep patent |
Free format text: STATUS: NO OPPOSITION FILED WITHIN TIME LIMIT |
|
| PG25 | Lapsed in a contracting state [announced via postgrant information from national office to epo] |
Ref country code: DK Free format text: LAPSE BECAUSE OF FAILURE TO SUBMIT A TRANSLATION OF THE DESCRIPTION OR TO PAY THE FEE WITHIN THE PRESCRIBED TIME-LIMIT Effective date: 20170111 Ref country code: SM Free format text: LAPSE BECAUSE OF FAILURE TO SUBMIT A TRANSLATION OF THE DESCRIPTION OR TO PAY THE FEE WITHIN THE PRESCRIBED TIME-LIMIT Effective date: 20170111 |
|
| 26N | No opposition filed |
Effective date: 20171012 |
|
| PG25 | Lapsed in a contracting state [announced via postgrant information from national office to epo] |
Ref country code: SI Free format text: LAPSE BECAUSE OF FAILURE TO SUBMIT A TRANSLATION OF THE DESCRIPTION OR TO PAY THE FEE WITHIN THE PRESCRIBED TIME-LIMIT Effective date: 20170111 |
|
| REG | Reference to a national code |
Ref country code: CH Ref legal event code: PL |
|
| PG25 | Lapsed in a contracting state [announced via postgrant information from national office to epo] |
Ref country code: MC Free format text: LAPSE BECAUSE OF FAILURE TO SUBMIT A TRANSLATION OF THE DESCRIPTION OR TO PAY THE FEE WITHIN THE PRESCRIBED TIME-LIMIT Effective date: 20170111 |
|
| REG | Reference to a national code |
Ref country code: IE Ref legal event code: MM4A |
|
| REG | Reference to a national code |
Ref country code: BE Ref legal event code: MM Effective date: 20170930 |
|
| PG25 | Lapsed in a contracting state [announced via postgrant information from national office to epo] |
Ref country code: LU Free format text: LAPSE BECAUSE OF NON-PAYMENT OF DUE FEES Effective date: 20170904 |
|
| REG | Reference to a national code |
Ref country code: FR Ref legal event code: PLFP Year of fee payment: 5 |
|
| PG25 | Lapsed in a contracting state [announced via postgrant information from national office to epo] |
Ref country code: IE Free format text: LAPSE BECAUSE OF NON-PAYMENT OF DUE FEES Effective date: 20170904 Ref country code: CH Free format text: LAPSE BECAUSE OF NON-PAYMENT OF DUE FEES Effective date: 20170930 Ref country code: LI Free format text: LAPSE BECAUSE OF NON-PAYMENT OF DUE FEES Effective date: 20170930 |
|
| PG25 | Lapsed in a contracting state [announced via postgrant information from national office to epo] |
Ref country code: BE Free format text: LAPSE BECAUSE OF NON-PAYMENT OF DUE FEES Effective date: 20170930 |
|
| PG25 | Lapsed in a contracting state [announced via postgrant information from national office to epo] |
Ref country code: MT Free format text: LAPSE BECAUSE OF NON-PAYMENT OF DUE FEES Effective date: 20170904 |
|
| PG25 | Lapsed in a contracting state [announced via postgrant information from national office to epo] |
Ref country code: HU Free format text: LAPSE BECAUSE OF FAILURE TO SUBMIT A TRANSLATION OF THE DESCRIPTION OR TO PAY THE FEE WITHIN THE PRESCRIBED TIME-LIMIT; INVALID AB INITIO Effective date: 20140904 |
|
| PG25 | Lapsed in a contracting state [announced via postgrant information from national office to epo] |
Ref country code: CY Free format text: LAPSE BECAUSE OF FAILURE TO SUBMIT A TRANSLATION OF THE DESCRIPTION OR TO PAY THE FEE WITHIN THE PRESCRIBED TIME-LIMIT Effective date: 20170111 |
|
| PG25 | Lapsed in a contracting state [announced via postgrant information from national office to epo] |
Ref country code: MK Free format text: LAPSE BECAUSE OF FAILURE TO SUBMIT A TRANSLATION OF THE DESCRIPTION OR TO PAY THE FEE WITHIN THE PRESCRIBED TIME-LIMIT Effective date: 20170111 |
|
| PG25 | Lapsed in a contracting state [announced via postgrant information from national office to epo] |
Ref country code: TR Free format text: LAPSE BECAUSE OF FAILURE TO SUBMIT A TRANSLATION OF THE DESCRIPTION OR TO PAY THE FEE WITHIN THE PRESCRIBED TIME-LIMIT Effective date: 20170111 |
|
| PG25 | Lapsed in a contracting state [announced via postgrant information from national office to epo] |
Ref country code: AL Free format text: LAPSE BECAUSE OF FAILURE TO SUBMIT A TRANSLATION OF THE DESCRIPTION OR TO PAY THE FEE WITHIN THE PRESCRIBED TIME-LIMIT Effective date: 20170111 |
|
| PGFP | Annual fee paid to national office [announced via postgrant information from national office to epo] |
Ref country code: GB Payment date: 20200826 Year of fee payment: 7 Ref country code: DE Payment date: 20200826 Year of fee payment: 7 Ref country code: FR Payment date: 20200715 Year of fee payment: 7 |
|
| REG | Reference to a national code |
Ref country code: DE Ref legal event code: R119 Ref document number: 602014006159 Country of ref document: DE |
|
| GBPC | Gb: european patent ceased through non-payment of renewal fee |
Effective date: 20210904 |
|
| PG25 | Lapsed in a contracting state [announced via postgrant information from national office to epo] |
Ref country code: GB Free format text: LAPSE BECAUSE OF NON-PAYMENT OF DUE FEES Effective date: 20210904 Ref country code: FR Free format text: LAPSE BECAUSE OF NON-PAYMENT OF DUE FEES Effective date: 20210930 Ref country code: DE Free format text: LAPSE BECAUSE OF NON-PAYMENT OF DUE FEES Effective date: 20220401 |